JP2005309456A - 撮像装置 - Google Patents

撮像装置 Download PDF

Info

Publication number
JP2005309456A
JP2005309456A JP2005149702A JP2005149702A JP2005309456A JP 2005309456 A JP2005309456 A JP 2005309456A JP 2005149702 A JP2005149702 A JP 2005149702A JP 2005149702 A JP2005149702 A JP 2005149702A JP 2005309456 A JP2005309456 A JP 2005309456A
Authority
JP
Japan
Prior art keywords
unit
imaging
display
display unit
imaging apparatus
Prior art date
Legal status (The legal status is an assumption and is not a legal conclusion. Google has not performed a legal analysis and makes no representation as to the accuracy of the status listed.)
Pending
Application number
JP2005149702A
Other languages
English (en)
Inventor
Chisato Yoshida
千里 吉田
Sachi Shimoyasu
佐知 下保
Yu Hirono
遊 広野
Hiroyuki Suzuki
博之 鈴木
Current Assignee (The listed assignees may be inaccurate. Google has not performed a legal analysis and makes no representation or warranty as to the accuracy of the list.)
Sony Corp
Original Assignee
Sony Corp
Priority date (The priority date is an assumption and is not a legal conclusion. Google has not performed a legal analysis and makes no representation as to the accuracy of the date listed.)
Filing date
Publication date
Application filed by Sony Corp filed Critical Sony Corp
Priority to JP2005149702A priority Critical patent/JP2005309456A/ja
Publication of JP2005309456A publication Critical patent/JP2005309456A/ja
Pending legal-status Critical Current

Links

Images

Landscapes

  • Studio Devices (AREA)
  • Stroboscope Apparatuses (AREA)
  • Camera Bodies And Camera Details Or Accessories (AREA)

Abstract

【課題】ストロボ付きの撮像装置において、様々なアングルでの撮影を、装置を把持する手の角度を変えたり、持ち変えることなく簡単に行える撮像装置を提供する。
【解決手段】レンズユニット4とストロボユニット5を一体に備える撮影部2と、この撮影部2によって撮影された画像を表示する表示手段3aを備える表示部3と、を有する撮像装置において、撮影部2を表示部3に対し180°回転可能に設け、この撮影部2によって表示部3の前面側と後面側の双方向のストロボ撮影を可能とする。
【選択図】 図1


Description

本発明は、撮影した画像を内蔵記録媒体等に記録するようにした撮像装置に関する。
従来、レンズユニットを通して撮影された画像を記録媒体としての内蔵メモリ又は装填メモリーカードに記録するように構成した撮像装置としてデジタルカメラがあり、このデジタルカメラには撮影された画像を表示する表示画面を備えた表示部が設けられている。
このような表示部を有するデジタルカメラは、この表示部の表示画面にレンズユニットがとらえた被写体の映像が映り、この映像を見ながら撮影することになる。
そして、このデジタルカメラには、暗いところ、逆光での撮影に便利なようにストロボを備えたものがあり、このストロボはレンズユニットと共に表示部に固定されている。
このように、撮影された画像を内蔵メモリ等にデジタル記録するように構成したデジタルカメラ等の撮像装置は、比較的大型であり、レンズユニットとストロボユニットの取付筐体は表示部と一体化されているため、ローアングルやハイアングルで撮影する場合に、装置を把持する手の角度を変えなくてはならず、不便を感じていた。
特に、表示画面を備えたデジタルカメラは、この表示画面が液晶ディスプレイにより構成されてカメラ本体の後面側に取付けられ、垂直画面となっており、撮影においては、この垂直画面を眼から離れた状態で見ることになるので、ローアングルやハイアングルで撮影する場合には、装置を把持する手の角度を大きく変えたり、把持位置を変えることになり、感触が損なわれたり、またシャッター操作等の操作性も損なわれる不具合がある。
本発明はかかる点に鑑みてなされたもので、様々なアングルで撮影する場合に装置を把持する手の角度を変えたり、持ち変えることなく撮影を行え、特にストロボ発光撮影に最適な撮像装置を提供することを目的とする。
上記目的を達成するために本発明による撮像装置は、
レンズユニットとストロボユニットを一体に備える撮影部と、
前記撮影部によって撮影された画像を表示する表示手段を備える表示部と、を有し、
前記表示部は前面部および後面部を有し、当該前面部および当該後面部に少なくとも開口する開口部が形成され、
前記表示手段は前記前面部または前記後面部のいずれか一方に配され、
前記撮影部は、前記表示部とほぼ同厚とされるとともに前記開口部の幅とほぼ同幅とされ、前記開口部に前記表示部に対して180°回転可能に設けられ、
前記撮影部が、前記前面部および前記後面部のうち前記表示手段が設けられた方向および当該方向と反対の方向の双方を撮影可能であることを特徴とするものである。
上記の如く構成される本発明の撮像装置は、様々なアングルで撮影する場合は、表示部に対して撮影部を180°の範囲で回転させることにより、装置を把持する手の角度を変えることなく、また、持ち変えることなく、自由なアングルでストロボ発光による撮影が可能になる。
以下、本発明による撮像装置の実施の形態例を図面を参照して説明する。
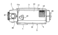
図1は撮像装置の実施例であるビデオスチルカメラの前面側斜視図、図2は後面側斜視図、図3は平面図、図4は側面図、図5は下面側斜視図である。この図1〜図5において1はカメラ本体、2は撮影部、3はカメラ本体の表示部を示し、カメラ本体1には記録媒体であるフラッシュメモリーを備えた記録再生装置が内蔵され、表示部3の後面側のほぼ中央部に画像の表示手段である表示画面3aが配設されており、また、撮影部2はレンズユニット4とストロボユニット5が横方向に所要間隔を置いて配置されて、カメラ本体1の上部に上下方向に回転可能に取付けられている。
以下、図6及び図7に示すカメラ本体1及び撮影部2の分解斜視部、図8及び図9に示す画像表示部3の縦断面図及び横断面図を参照して本例のビデオスチルカメラを詳細に説明する。
先ず表示部3を構成するカメラ本体1は、図6に示すように、外筐11が前面パネル12と後面パネル13を合体して形成される。この前面パネル12と後面パネル13は、前面部12aと後面部13aに対して外筐11の周面部の前後半分に相当する上面部12bと13b、底面部12cと13c、左右両側面部12d,12eと13d,13eを有する筐状に形成されており、この前面パネル12と後面パネル13の上面部12bと13bには右側面部12e,13e側寄りに凹面部12b,13bを形成して外筐11の上部に開口部である凹部11aを形成している。また、後面パネル13の後面部13aのほぼ中央部には、表示画面3aの表出窓14が形成されている。
このように形成される外筐11内に記録媒体としてのフラッシュメモリーを備えた記録再生装置6及び表示部3の構成部品が内蔵されている。
この記録再生装置6は、装置組立基板61の前面側に記録媒体としてのフラッシュメモリーを搭載したコア基板62をマルチコネクター63を介して支持し、後面側に映像回路を搭載したビデオ基板64を支持して構成されている。この記録再生装置6には、赤外線データ送受信器65が備えられ、この送受信器65は端子基板66を介して装置組立基板61に取付けられており、また、ビデオ基板64には、映像回路と接続されてカメラメニューを操作するスイッチ付きロータリーエンコーダーの操作ダイヤル(以下、メニュージョグダイヤルという)67が搭載され、ビデオ出力端子68と直流電源入力端子69が電源端子板70に搭載されてこの端子板70を介して取付けられている。
このように構成される記録再生装置6は、前面パネル12内に取付けられてメニュージョグダイヤル67の一部が後面パネル13の右側面部13eに形成した長孔15から突出され、また、ビデオ出力端子68と電源入力端子69は長孔15の下方に位置して穿孔された透孔16と17の内側に臨ませてあり、また、赤外線データ送受信器65は前面パネル12の前面部12aの左側部に設けられた透明窓18に内側から対応させてある。
また、表示画面3aは、液晶ディスプレイ31とバックライトとしての平面管32と光量を増量するプリズムシート33とから成るもので、図8及び図9に示すように、液晶ディスプレイ31をフレーム34に収納してホルダー35に嵌合し、内面側にプリズムシート33を配置してこのプリズムシート33の内面側に、取付板36に取付けられた平面管32を、取付板36をホルダー35に嵌着することにより配置して構成し、また、取付板36の外面側には平面管32のリード線となるフレキシブル配線板37が導出されて前述した電源端子板70に接続されるようになっている。
このように構成される表示画面3aは、液晶ディスプレイ31とバックライトとしての平面管32とがプリズムシート33を介在して一体的に組立てられると共に液晶ディスプレイ31と平面管32との間は密封状態になって塵埃の侵入が防止され、液晶ディスプレイ31は平面管32により確実に照明されて画像が鮮明に表示される。
そして、このように構成される表示画面3aは、外筐11の後面パネル13内に取付けられて、図2に示すように液晶ディスプレイ31の表面側である画面が後面部13aの表出窓14に臨み表出される。
また、後面パネル13内には、カメラ本体1の右側部側に位置して操作釦群7が釦取付板8により取付けられてフレキシブル配線板9により前述したビデオ基板19に接続され映像回路を操作するように構成されている。
この操作釦群7は、ストロボ撮影する場合に操作するフラッシュ釦71、メニュー操作を中止する場合に操作するリターン釦72、セルフタイマー撮影をする場合に操作するセルフタイマー釦73、表示画面を反転、すなわち、画面を90°毎に回転操作する反転釦74、表示画面を簡易表示→詳細表示→表示なしの順に切換え操作する画面表示釦75及び撮影した画像の再生をしながら撮影する場合に操作するレビュー釦76から構成されて、それぞれの釦71〜76の押圧部は後面パネル13の後面部13aに表示窓14の側部に位置して穿孔された釦窓孔19から突出されている。
次に、撮影部2は、図7に示すように外筐21が前述したカメラ本体1の外筐11とほぼ同厚とされるとともに凹部11aの幅とほぼ同幅で前側キャビネット22と後側キャビネット23とを合体して形成される。この前側キャビネット22は、前面部22aの全周縁に一体に比較的低い高さの周面部22bを形成したものであり、また後側キャビネット23は、後面側から上下面側にかけた主面部23aをほぼ横倒U字状に形成してこの主面部23aの両側縁に側面部23b,23cを立上げ形成したものである。
この前側キャビネット22と後側キャビネット23を合体して形成される外筐21内にホルダー24を嵌合固定してレンズユニット4とストロボユニット5を取付けることにより撮影部2を構成している。
すなわち、ホルダー24は外筐21の前側キャビネット22内に嵌合される保持板部25とこの保持板部25の両側に後方へ突設されて後側キャビネット23の両側部に嵌合される脚板部26,27とから形成されて、保持板部25にはレンズユニット4に対応するレンズ窓28とストロボユニット5に対応するストロボ窓29が横方向に所要間を置いて形成されており、このストロボ窓29は発光窓29aと受光窓29bに分かれている。また、脚板部26,27の外側面には軸受ボス26a,27aを中心軸線を一致させて突出形成してある。
このように形成されるホルダー24は、レンズユニット4とストロボユニット5を保持板部25の内側に両脚板部26と27の間に位置して横方向に所要間隔で取付けるもので、レンズユニット4は、パンフォーカス及びマクロ撮影可能なレンズ機構41に個体映像素子(以下CCDという)を組み合わせてレンズホルダー42に取付けて構成されており、レンズホルダー42の後部にはCCDの回路基板43が固定されて前述した記録再生装置6のコア基板62側へ接続されるフレキシブル配線板44が導出され、またレンズ機構41側からもコア基板62側へ接続されるフレキシブル配線板45が導出されている。
このように構成されるレンズユニット4は、レンズホルダー42において、ホルダー24の保持板部25の内面側にレンズ窓28に対応させて取付け、このレンズ窓28の前面側にはレンズ保護透明板46がフレーム47を介して取付ける。このレンズ保護透明板46はフレーム47と共に前面キャビネット22のレンズ窓22aに臨む。また、外筐21の後側キャビネット23の主面部23aには左側部上面にレンズユニット4のマクロ撮影切換レバー48が備えられ、右側部の周面に指掛け部49が設けられている。
また、ストロボユニット5は、例えばキセノン管等のストロボ発光灯51を保持した反射板52をストロボホルダー53内に嵌合固定し、このストロボホルダー53をストロボ基板54に取付けてストロボ発光灯51を電源回路に接続することにより構成されている。また、ストロボ基板54にはストロボ発光量を調整するための受光素子55が実装されて、この受光素子55はストロボホルダー53の側部に取付けた保持筒56に嵌挿保持されており、ストロボ基板54から前述した記録再生装置6のビデオ基板64側と電源端子板70側に接続されるフレキシブル配線板57とリード線58が導出されている。
このように構成されるストロボユニット5はストロボホルダー53において、ホルダー24の保持板部25の内面側にストロボ窓29、詳しくは、ストロボ発光灯51側を発光窓29aに対応させ、受光素子55側を受光窓29bに対応させて取付け、発光窓29a及び受光窓29bにはそれぞれ保護透明板59a及び59bを嵌着する。この保護透明板59a及び59bは前面キャビネット22のストロボ窓22a及び22aに臨む。
以上のように構成される撮影部2は、カメラ本体1の外筐11に形成された凹部11aに嵌合してホルダー24の両脚板部26,27の軸受ボス26a,27aを、凹部11aの両内側面に前後面パネル12,13に跨がって形成された挿通孔11a,11aに挿通して外筐11内の上部両側に配設された軸部材に回転可能に軸支すると共に、レンズユニット4側のフレキシブル配線板44,45を一方、すなわち、左側部の挿通孔11aから、また、ストロボユニット5側のフレキシブル配線板57,58を他方、すなわち、右側部の挿通孔11aからそれぞれ外筐11内に挿入して前述したコア基板62側とビデオ基板64、電源端子板70側に接続する。
また、カメラ本体1の外筐11の一方側、すなわち、左側部の軸部材81は支持部材82に取付けられており、また、他方側、すなわち、右側部の軸部材は外筐11の右側面に軸支されロックレバー83に取付けられてロック機構を介して前述したホルダー24の右側脚板部27の軸受ボス27aを軸支している。
このカメラ本体1の外筐11内の左側上部には、前述した支持部材82に隣接してシャッタースイッチ84が取付部材85に取付けられて配置されており、このシャッタースイッチ84を操作するシャッター釦86が外筐11の左側上面に表出されている。また、カメラ本体1の外筐11の左側面には、電源/ファンクションダイヤル87が取付けられて、前述した記録再生装置6のビデオ基板64側とフレキシブル配線板89により接続されており、この電源/ファンクションダイヤル87は、電源のオン・オフ操作、再生操作及びオート撮影・マニュアル撮影切換操作するように構成されている。
また、カメラ本体1の外筐11の下部には、図1及び図6に示すように電池ケース91が配設されて、この内端部には電池端子板92が取付けられ、前述した電源端子板70にリード線93により接続されており、また、外端部は外筐11の左側面部の下部に開口されて電池蓋94が取付けられている。この電池ケース91に電源として収納する電池としては充電電池、例えば充電式リチウムイオン電池95が用いられる。
また、この電池ケース91の下面側には、図5に示すように三脚用ねじ穴96、画面明るさ調節用ダイヤル97、リセットボタン98及び後述する乾電池アダプターの爪掛け部99が配設されている。
以上のように構成される本例のビデオスチルカメラの電源としては乾電池を使用できるようになっており、この乾電池を使用するには図10に示す乾電池アダプター101が用いられる。
この乾電池アダプター101は、単3形乾電池100が4本収納される筐状主体102に電池接続端子板となる電池蓋103を備えると共にカメラ本体1側に接続するプラグ104付きリード線105を導出して構成されて、筐状主体102の上面に、カメラ本体1側の爪掛け部99に係合される係合爪106を突設すると共に三脚用ねじ穴96に螺合する締付けねじ107を回転可能に取付けてある。
この乾電池アダプター101はカメラ本体1の下面側、すなわち、電池ケース91の下面に、係合爪106を爪掛け部99に係合して締付けねじ107を三脚用ねじ穴96に螺合して締付けることにより固定し、リード線105のプラグ104をカメラ本体1側の直流電源入力端子69に透孔17を通して差し込むことにより電気的に接続する。これにより単3形乾電池100がカメラ本体1の電源となる。
以上のように構成されるビデオスチルカメラは、電源をオンさせてファンクションダイヤル87を回転操作してオート撮影に合わせることにより、表示部3の表示画面3aに、被写体の撮影部2のレンズユニット4がとらえた映像が映り、この状態でシャッター84をシャッター釦86を介して押すことにより撮影される。この撮影した静止画像を表示部3の表示画面3aに映すと共に記録再生装置6において記録される。
また、ファンクションダイヤル87をマニュアル撮影に合わせることにより、カメラメニューで明るさ、シャッタースピード、画質など調節した後、シャッター84を押して撮影する。またマクロ撮影する場合は、マクロ撮影切換レバー48を切換操作してレンズユニット4をマクロ撮影側に切換える。そして、ストロボ撮影する場合は、フラッシュボタン71を押圧操作した後、前述の場合と同様にシャッター84を押すことによりストロボ撮影が行える。
また、各種のメニューによりこれに対応した撮影を行い記録することができる。
そして、撮影記録した後、ファンクションダイヤル87を再生に合わせることにより撮影した静止画が再生されて表示部3の表示画面3aに映し出される。
また、撮影し、記録された静止画は赤外線データ送受信器65を通して、赤外線データ送受信器を備えたビデオスチルカメラ、パーソナルコンピュータ等に送信してダビングし、また、デジタルプリンタに送信してプリントすることができる。
以上のように撮影した静止画を表示部3の表示画面3aに映し、記録再生装置6において記録、再生する本例のビデオスチルカメラは、撮影部2がカメラ本体1の表示部3に対して上下方向に回転可能に構成されているので、ロックレバー83を操作してカメラ本体1に対する撮影部2のロックを解除することにより、撮影部2を回転して所望の角度に変化させた状態で再びロックして角度を変えた位置の撮影を行うことができ、また、撮影部2をカメラ本体1の表示部3に対して180°回転させることにより表示部3の表示画面3aと向き合って撮影でき、すなわち、撮影者自身を撮影しながら画像を見ることができる。
このように角度を変えた撮影は、カメラ本体1の角度を変えることなく行えるのでカメラ本体1を把持する手の角度を変えることなく、また、表示部3の表示画面3aを見る角度を変えることなく行える。
そして、この角度を変えた撮影においても、ストロボユニット5はレンズユニット4と一対的に回転し、角度が変わるのでストロボ撮影を通常位置での撮影と全く同様に行うことができる。
このようにカメラ本体1に対して回転される撮影部2は、カメラ本体1に対して両側で回転支持されていることにより、常に安定して回転されて、所望の角度位置で確実に係止でき、角度を変えた撮影、すなわち、ローアングルやハイアングルでの撮影を振れが生じることなく、撮影部がカメラ本体と一体形のカメラと同様に確実に撮影することができる。
そして、カメラ本体1に対して回転される撮影部2のレンズユニット4とストロボユニット5をそれぞれ、カメラ本体1の記録再生装置6側へ電気的に接続するレンズユニット4側のフレキシブル配線板44,45とストロボユニット5側のフレキシブル配線板57、リード線58はカメラ本体1の外筐1の異なる側部、すなわち、左側部と右側部を通して導入されるので、両者が不用意に接触するおそれがなく、ストロボユニット5の発光時に発生する機械的ノイズがレンズユニット4の画像信号に悪影響を与えることなく、鮮明な静止画像を記録再生することができる。
また、表示画面3aの液晶ディスプレイ31とバックライトとしての平面管32とは密封構造で合体されていることにより、塵埃等が侵入するおそれがなく、画面3aに常に鮮明な静止画像を映し出すことができる。
以上、本発明の実施の形態の一例を説明したが、本発明はこの例に限定されるものではなく、本発明の趣旨を逸脱しない範囲で種々変更できるものである。
例えば、カメラ本体1及び撮影部2の形状は図示のものに限ることなく、レンズユニット4とストロボユニット5とを横方向に所要間隔で配置した撮影部2をカメラ本体1に対して両側から支持する構成であればよい。
また、記録再生装置6の構成も図示のものに限定されるものではなく、記録媒体としてメモリーカードを使用するように構成することができる。また、表示部3はカメラ本体1に対して着脱可能とする構成にしてもよい。
そして、本発明は各種のデジタルスチルカメラに適用できるものである。
以上のように本発明によるビデオスチルカメラは、レンズユニットとストロボユニットを同一の筐体に配置して、カメラ本体に対して上下方向に回転可能に取付けたことにより、カメラ本体を把持する手の角度を変えたり、また、持ち変えることなく上下方向及び前後方向に自由な角度でストロボ発光による撮影が可能で、暗いところ、また逆光でのローアングルやハイアングルの撮影を確実に行うことができる。
本発明の実施例であるビデオスチルカメラの一例の前面側斜視図である。 図1に示すビデオスチルカメラの乾電池アダプターを取付けた状態の後面側斜視図である。 図1に示すビデオスチルカメラの平面図である。 図1に示すビデオスチルカメラの右側面図である。 図1に示すビデオスチルカメラの下面側斜視図で、乾電池アダプターを取外した状態を示すものである。 図1に示すビデオスチルカメラのカメラ本体の分解斜視図である。 図1に示すビデオスチルカメラの撮影部の分解斜視図である。 図1に示すビデオスチルカメラの画像表示部の拡大縦断面図である。 図1に示すビデオスチルカメラの画像表示部の拡大横断面図である。 本発明によるビデオスチルカメラに用いる一例の乾電池アダプターの電池蓋を開いた状態の斜視図である。
符号の説明
1…カメラ本体、2…撮影部、3…表示部、3a…表示画面(表示手段)、4…レンズユニット、5…ストロボユニット、11…外筐、11a…凹部(開口部)、12…前面パネル、13…後面パネル、22…前側キャビネット、23…後側キャビネット、26a,27a…軸受ボス、31…液晶ディスプレイ、32…平面管(バックライト)、44,45,57…フレキシブル配線板、55…受光素子、58…リード線、67…操作ダイヤル、74…反転釦

Claims (13)

  1. レンズユニットとストロボユニットを一体に備える撮影部と、
    前記撮影部によって撮影された画像を表示する表示手段を備える表示部と、を有し、
    前記表示部は前面部および後面部を有し、当該前面部および当該後面部に少なくとも開口する開口部が形成され、
    前記表示手段は前記前面部または前記後面部のいずれか一方に配され、
    前記撮影部は、前記表示部とほぼ同厚とされるとともに前記開口部の幅とほぼ同幅とされ、前記開口部に前記表示部に対して180°回転可能に設けられ、
    前記撮影部が、前記前面部および前記後面部のうち前記表示手段が設けられた方向および当該方向と反対の方向の双方を撮影可能であることを特徴とする撮像装置。
  2. 前記撮影部は前記レンズユニットと上記ストロボユニットとを横方向に所要間隔を置いて配置したことを特徴とする請求項1に記載の撮像装置。
  3. 前記撮影部は両側部において前記表示部に対して軸着されることを特徴とする請求項1に記載の撮像装置。
  4. 前記レンズユニットと前記ストロボユニットのそれぞれのリード配線部材を前記表示部に互いに異なる側部から導入するようにしたことを特徴とする請求項3に記載の撮像装置。
  5. 前記表示手段は液晶ディスプレイとバックライト部材とを密封状に組合せて構成したことを特徴とする請求項1に記載の撮像装置。
  6. 前記撮影部は、前記開口部にほぼ水平に配置されることを特徴とする請求項1に記載の撮像装置。
  7. 前記表示部は前面パネルと後面パネルとを有し、前記撮影部と前記表示部との接続配線は、前記前面パネルと後面パネルとの間に配置されることを特徴とする請求項1に記載の撮像装置。
  8. 前記表示部は前面パネルと後面パネルとを有し、前記撮影部は、前記表示部の前面パネルと後面パネルとの間に配置されるボスを有することを特徴とする請求項7に記載の撮像装置。
  9. 前記撮影部と前記表示部とは、2箇所の取付け部にて取付けられ、前記取付け部は、軸部材と、該軸部材の周囲に回転可能に配置され、前記表示部の外筐の内側に固定される支持部材と、を有することを特徴とする請求項7に記載の撮像装置。
  10. 前記撮影部は前側キャビネットと後側キャビネットとを有し、前記撮影部と前記表示部との接続配線は、前記前側キャビネットと後側キャビネットとの間に配置されることを特徴とする請求項1に記載の撮像装置。
  11. 前記撮影部は、前記ストロボユニットの発光量を調整するための受光手段を有することを特徴とする請求項1に記載の撮像装置。
  12. 前記表示手段の表示を反転する反転手段を有することを特徴とする請求
    項1に記載の撮像装置。
  13. 電源の操作、撮影切換操作または撮影メニュー切替操作のうち少なくともいずれか一つを行う操作ダイヤルをさらに備えることを特徴とする請求項1に記載の撮像装置。
JP2005149702A 2005-05-23 2005-05-23 撮像装置 Pending JP2005309456A (ja)

Priority Applications (1)

Application Number Priority Date Filing Date Title
JP2005149702A JP2005309456A (ja) 2005-05-23 2005-05-23 撮像装置

Applications Claiming Priority (1)

Application Number Priority Date Filing Date Title
JP2005149702A JP2005309456A (ja) 2005-05-23 2005-05-23 撮像装置

Related Parent Applications (1)

Application Number Title Priority Date Filing Date
JP21761696A Division JP4001958B2 (ja) 1996-08-19 1996-08-19 撮像装置

Related Child Applications (1)

Application Number Title Priority Date Filing Date
JP2007340168A Division JP2008148341A (ja) 2007-12-28 2007-12-28 撮像装置

Publications (1)

Publication Number Publication Date
JP2005309456A true JP2005309456A (ja) 2005-11-04

Family

ID=35438232

Family Applications (1)

Application Number Title Priority Date Filing Date
JP2005149702A Pending JP2005309456A (ja) 2005-05-23 2005-05-23 撮像装置

Country Status (1)

Country Link
JP (1) JP2005309456A (ja)

Similar Documents

Publication Publication Date Title
JP4001958B2 (ja) 撮像装置
KR20040032724A (ko) 디지털 스틸 카메라 일체형 디지털 캠코더
JPH1188750A (ja) 電子カメラ
JP4315213B2 (ja) ビューファインダーおよび撮像装置
JPH11355618A (ja) 電子ビューファインダー
JP2002062578A (ja) カメラ撮影用ホルダ
JP3919321B2 (ja) 撮像装置
JP2008148341A (ja) 撮像装置
JP2807616B2 (ja) モニタ付きカメラ一体型記録装置
JP4307484B2 (ja) 撮像装置
JP2005309456A (ja) 撮像装置
JP4266750B2 (ja) 電子カメラ
JP3347048B2 (ja) モニタ付きカメラ一体型記録装置
KR970010479B1 (ko) 프로젝터 기능을 갖는 무비카메라 시스템
JP2004297561A (ja) デジタルカメラ用画像観察アタッチメント
JP3398075B2 (ja) 電子式カメラ
JPH11258671A (ja) 撮像装置及び電子機器の筐体構造
JP2005260949A (ja) 撮像装置の前面ケース
JPH118791A (ja) 電子的撮像装置
KR20050090782A (ko) 수동초점키를 갖는 영상촬영장치
JP2003032528A (ja) デジタルカメラ用クレードル
JP2011041118A (ja) 撮像装置
JPH1117991A (ja) 電子的撮像装置
JP2000184255A (ja) カメラバック式電子撮像ユニット
JP2001203923A (ja) 電子カメラ

Legal Events

Date Code Title Description
A131 Notification of reasons for refusal

Free format text: JAPANESE INTERMEDIATE CODE: A131

Effective date: 20071030

A521 Request for written amendment filed

Free format text: JAPANESE INTERMEDIATE CODE: A523

Effective date: 20071228

A02 Decision of refusal

Free format text: JAPANESE INTERMEDIATE CODE: A02

Effective date: 20080408