JP2005299935A - 空気調和装置 - Google Patents
空気調和装置 Download PDFInfo
- Publication number
- JP2005299935A JP2005299935A JP2004111864A JP2004111864A JP2005299935A JP 2005299935 A JP2005299935 A JP 2005299935A JP 2004111864 A JP2004111864 A JP 2004111864A JP 2004111864 A JP2004111864 A JP 2004111864A JP 2005299935 A JP2005299935 A JP 2005299935A
- Authority
- JP
- Japan
- Prior art keywords
- refrigerant
- compressor
- heat exchanger
- water supply
- hot water
- Prior art date
- Legal status (The legal status is an assumption and is not a legal conclusion. Google has not performed a legal analysis and makes no representation as to the accuracy of the status listed.)
- Pending
Links
Images
Landscapes
- Central Heating Systems (AREA)
- Heat-Pump Type And Storage Water Heaters (AREA)
Abstract
【課題】 冷暖房運転、給湯運転、蓄冷運転、冷暖房給湯運転等が行えるととも、冷媒回路の構成を簡素化した空気調和装置を提供することを目的とする。
【解決手段】 第一圧縮機3と第一四方弁4と、送風ファン5aを備えた室外熱交換器5と第一電子膨張弁7aと、送風ファン6aを備えた室内熱交換器6とを順次接続してメインサイクル1とし、第二圧縮機9と第二四方弁10と第三四方弁11と、給湯用熱交換器13と、送風ファン12aを備えた補助熱交換器12と、第三電子膨張弁14a,第四電子膨張弁14b及び第五電子膨張弁14cと、給湯タンク16とを接続してサブサイクル2とし、これらメインサイクル1とサブサイクル2とを前記カスケードコンデンサ15にて熱的に連結する。
【選択図】図1
【解決手段】 第一圧縮機3と第一四方弁4と、送風ファン5aを備えた室外熱交換器5と第一電子膨張弁7aと、送風ファン6aを備えた室内熱交換器6とを順次接続してメインサイクル1とし、第二圧縮機9と第二四方弁10と第三四方弁11と、給湯用熱交換器13と、送風ファン12aを備えた補助熱交換器12と、第三電子膨張弁14a,第四電子膨張弁14b及び第五電子膨張弁14cと、給湯タンク16とを接続してサブサイクル2とし、これらメインサイクル1とサブサイクル2とを前記カスケードコンデンサ15にて熱的に連結する。
【選択図】図1
Description
本発明は、空気調和装置に関わり、より詳細には、冷暖房運転、給湯運転、蓄冷運転、冷暖房給湯運転等の多モードの運転が行えるとともに、三方弁あるいは逆止弁等の配管部材を極力削減して、簡素な冷媒回路とした構成に関する。
従来の空気調和装置の一例として、例えば図10で示すような蓄熱式冷凍空調装置があり、同蓄熱式冷凍空調装置は、空調ユニット30と冷凍ユニット31とを蓄熱槽32により連結して構成されている。前記空調ユニット30は、第一圧縮機33aと第一室外熱交換器34と膨張弁38と室内熱交換器35と、複数の三方弁40と、複数の逆止弁39とにより構成され、前記冷凍ユニット31は、第二圧縮機33bと第二室外熱交換器36と膨張弁38と蒸発器37と、複数の三方弁40と、複数の逆止弁39とのより構成されており、これら空調ユニット30と冷凍ユニット31とは、上記したように熱交換器32a及び熱交換器32bを内蔵し、水等の蓄熱材を貯留した前記蓄熱槽32により連結されている(例えば特許文献1参照)。
冷房運転時、前記第一圧縮機33aから吐出された冷媒は前記第一室外熱交換器34に流入し凝縮して熱を放出する。凝縮した冷媒は続いて前記膨張弁38により断熱膨張し前記室内熱交換器35に流入して蒸発し、蒸発した冷媒は前記第一圧縮機33aに還流するようになっている。暖房運転時、前記第一圧縮機33aから吐出された冷媒は、前記三方弁40を介して前記室内熱交換器35に流入して凝縮する。凝縮した冷媒は逆止弁39を介して前記膨張弁38により断熱膨張され、低温低圧となって前記蓄熱槽32の熱交換器32aに流入し、同蓄熱槽32に貯留された蓄熱材を冷却した後、前記第一圧縮機33aに還流するようになっている。
前記冷凍ユニット31においては、前記第二圧縮機33bから吐出された冷媒は、前記蓄熱槽32の前記熱交換器32bに流入し、凝縮して貯留された蓄熱材を加熱する。凝縮
した冷媒は続いて前記膨張弁38により断熱膨張され前記蒸発器37に流入し、同蒸発器37で蒸発して、周囲の被冷却物を冷却した後、前記第二圧縮機33bに還流するようになっている。又、これら説明した以外にも種々の冷媒の流れがあり、冷暖房運転、給湯運転、蓄冷運転、冷暖房給湯運転等が行えるとともに、前記蓄熱槽に蓄熱した温熱、又は冷熱を冷暖房運転あるいは冷凍運転の補助熱として利用できるようになっている。
した冷媒は続いて前記膨張弁38により断熱膨張され前記蒸発器37に流入し、同蒸発器37で蒸発して、周囲の被冷却物を冷却した後、前記第二圧縮機33bに還流するようになっている。又、これら説明した以外にも種々の冷媒の流れがあり、冷暖房運転、給湯運転、蓄冷運転、冷暖房給湯運転等が行えるとともに、前記蓄熱槽に蓄熱した温熱、又は冷熱を冷暖房運転あるいは冷凍運転の補助熱として利用できるようになっている。
しかしながら、上記した冷媒回路は、冷暖房運転、給湯運転、蓄冷運転、冷暖房給湯運転等の多モード運転が行えるが、例えば冷房運転から暖房運転に切換える際、前記第一室外熱交換器34と前記第一圧縮機33aとの間の三方弁40を切換えるとともに、前記室内熱交換器35と前記第一圧縮機33aとの間の三方弁40を切換えて、冷媒の流路を変更する必要がある。これは給湯運転あるいは蓄冷運転に切換える際も同様であり、このため多数の前記三方弁40、逆止弁39が冷媒回路の構成上必要とされ回路が複雑となりコストの上昇を招いていた。
本発明は、上記問題点に鑑み、冷暖房運転、給湯運転、蓄冷運転、冷暖房給湯運転等が行えるととも、三方弁あるいは逆止弁等の使用数を極力低減して冷媒回路を簡素化した空気調和装置を提供することを目的とする。
本発明は、上記課題を解決するため、第一圧縮機、第一流路切換手段、室外熱交換器、減圧手段及び室内熱交換器を接続してメインサイクルとし、第二圧縮機と第二流路切換手段及び第三流路切換手段と、第一冷媒間熱交換手段と、補助熱交換器と、所要の減圧手段とを接続してサブサイクルとし、これらメインサイクルとサブサイクルとを第二冷媒間熱交換手段により熱的に連結して冷媒回路を構成する。又、前記第二圧縮機から吐出された冷媒は、前記第一冷媒間熱交換手段に流入し、同第一冷媒間熱交換手段に循環してくる水を加熱して凝縮し、続いて断熱膨張されて前記補助熱交換器に流入し、蒸発した後、前記第二圧縮機に還流して給湯運転を行う構成となっている。又、前記第二圧縮機から吐出された冷媒は、前記補助熱交換器に流入し、熱を放出して凝縮し、続いて断熱膨張され、前記第一冷媒間熱交換手段に流入して、同第一冷媒間熱交換手段に循環する水を冷却した後、前記第二圧縮機に還流して蓄冷運転を行う構成となっている。又、前記第一圧縮機から吐出された冷媒は、前記室外熱交換器にて凝縮し、続いて断熱膨張されて前記室内熱交換器に流入し、蒸発して前記第一圧縮機に還流する一方、前記第二圧縮機から吐出された冷媒は、前記第一冷媒間熱交換手段に流入し、同第一冷媒間熱交換手段に循環する水を加熱して凝縮し、続いて断熱膨張され前記補助熱交換器にて蒸発した後、前記第二圧縮機に還流して冷房給湯運転を行う構成となっている。又、前記第一圧縮機から吐出された冷媒は、前記第二冷媒間熱交換手段に流入し、同第二冷媒間熱交換手段に循環する前記サブサイクルの冷媒を加熱して凝縮し、続いて断熱膨張され前記室内熱交換器に流入して蒸発した後、前記第一圧縮機に還流する一方、加熱された前記サブサイクルの冷媒は前記第二圧縮機に流入して更に圧縮され、前記第一冷媒間熱交換手段に流入し、同第一冷媒間熱交換手段に循環する水を加熱して凝縮し、断熱膨張した後、再び前記第二冷媒間熱交換手段に流入して冷房給湯運転を行う構成となっている。
本発明によると、第一圧縮機と第一四方弁と、送風ファンを備えた室外熱交換器と第一電子膨張弁と、送風ファンを備えた室内熱交換器とを順次接続してメインサイクルとし、、第二圧縮機と第二四方弁と第三四方弁と、給湯用熱交換器と、送風ファンを備えた補助熱交換器とカスケードコンデンサと、第三電子膨張弁、第四電子膨張弁及び第五電子膨張弁と、給湯タンクとを接続してサブサイクルとし、これらメインサイクルとサブサイクルとを連結することにより、三方弁あるいは逆止弁等の配管部材を極力要さない簡素化した冷媒回路を構成でき、冷暖房運転、給湯運転、蓄冷運転、冷暖房給湯運転等が行える空気調和装置とすることができる。
以下、本発明の実施の形態を、添付図面に基づいた実施例として詳細に説明する。
図1は、本発明による空気調和装置の冷媒回路図であり、図2〜図9は各種運転における冷媒の流れを示す冷媒回路図である。
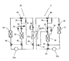
本発明による空気調和装置は、図1(A)で示すように、メインサイクル1とサブサイクル2とを、第二冷媒間熱交換手段として使用されるカスケードコンデンサ15により連結して構成されている。前記メインサイクル1は、第一圧縮機3と、流路切換手段として使用される第一四方弁4と、送風ファン5aを備えた室外熱交換器5と、減圧手段として使用される第一電子膨張弁7aと、送風ファン6aを備えた室内熱交換器6とを順次接続して構成され、これは冷暖房を行える通常のエアコンと同構成である。前記サブサイクル2は、第二圧縮機9と、流路切換手段として使用される第二四方弁10及び第三四方弁11と、第一冷媒間熱交換手段として使用される給湯用熱交換器13と、送風ファン12aを備えた補助熱交換器12と、第三電子膨張弁14a、第四電子膨張弁14b及び第五電子膨張弁14cとで冷媒回路を構成するとともに、前記給湯用熱交換器13と給湯タンク16とを水循環回路により接続している。
流路切換手段として使用される前記第一四方弁4、前記第二四方弁10及び前記第三四方弁11は、図1(B)で示すように、夫々第一ポートから第四ポートまでの接続口を備え、これら接続口の連通を切換えられるようになっている。これら四方弁は夫々第一ポートと第二ポートが連通し、第三ポートと第四ポートが連通された状態を、状態1とし、第二ポートと第三ポートが連通し、第一ポートと第四ポートが連通された状態を、状態2とする。
前記サブサイクル2の構成について詳細に説明する。前記第二圧縮機9の吐出側は、前記第二四方弁10の第二ポート10bに接続され、同第二四方弁10の第三ポート10cは第三四方弁11の第二ポート11bに接続されている。同第三四方弁11の第三ポート11cは前記給湯用熱交換器13の一側に接続され、同給湯用熱交換器13の他側は前記第三電子膨張弁14aを介して分岐し、分岐した一方は前記第四電子膨張弁14bを介して前記補助熱交換器12の一側に接続され、分岐した他方は前記第五電子膨張弁14cを介して前記カスケードコンデンサ15の一側に接続されている。前記補助熱交換器12の他側は前記第三四方弁11の第一ポート11aに接続され、又、前記カスケードコンデンサ15の他側は前記第二四方弁10の第一ポート10aに夫々接続されており、同第二四方弁10の第四ポート10dと前記第三四方弁11の第四ポート11dとは合流して前記第二圧縮機9の吸込側に接続されている。
又、前記メインサイクル1の前記室外熱交換器5の一側は三方弁8aを介して前記カスケードコンデンサ15の一側に接続され、他側は二方弁8bと第二電子膨張弁7bとを介して前記カスケードコンデンサ15の他側に夫々接続されている。
前記給湯タンク16と前記給湯用熱交換器13とは、給水ポンプ17と制御弁18とを備えた前記給湯用熱交換器13に水を送出する配管19と、同給湯用熱交換器13により熱交換された水を前記給湯タンク16に還流される配管20とにより接続され、又、前記給湯タンク16には、これに新たな水を供給する給水管16aと、熱交換された水を他の機器に供給する供給管16bとが設けられている。
前記メインサイクル1と、前記サブサイクル2とは、図2で示すように、前記室外熱交換器5の両側に接続された前記三方弁8aと前記二方弁8bに、前記カスケードコンデンサ15の両側に接続された配管を繋げば連結することができるようになっており、通常のエアコンと同態様であり、設置済である前記メインサイクル1に、前記サブサイクル2を連結すれば、空気調和装置として追加設置できるようになっている。
次に、各種運転における冷媒の流れについて説明する。冷房運転を行う場合は、図2(B)で示すように、前記第一圧縮機3は起動されるが前記第二圧縮機9は停止状態となる。前記第一四方弁4は状態2に設定され、前記第一電子膨張弁7aは絞り状態に設定される。前記第一圧縮機3から吐出された高温高圧の冷媒は、図2(A)の実線矢印で示すように、前記第一四方弁4を介して前記室外熱交換器5に流入し、熱を放出して凝縮する。凝縮した冷媒は続いて前記電子膨張弁7bにより断熱膨張され低温低圧となって前記室内熱交換器6に流入し、周囲を流れる空気の熱を吸収して蒸発する。蒸発した冷媒は前記第一四方弁4を介して前記第一圧縮機3の吸込側に還流するようになっている。又、前記室内熱交換器6にて冷却された空気は前記送風ファン6aにより室内に送出され、これを冷房するようになっている
暖房運転を行う場合は、前記第一四方弁3は状態1に切換られる。他の機器は冷房運転と同じ状態である。前記第一圧縮機3から吐出された高温高圧の冷媒は、図2(A)の破線矢印で示すように、前記第一四方弁4を介して前記室内熱交換器6に流入し、同室内熱交換器6にて熱を放出して凝縮する。凝縮した冷媒は続いて前記電子膨張弁7bにより断熱膨張され低温低圧となって前記室外熱交換器5に流入し、周囲の熱を吸収して蒸発する。蒸発した冷媒は前記第一四方弁4を介して前記第一圧縮機3の吸込側に還流するようになっている。又、前記室内熱交換器6にて加熱された空気は前記送風ファン6aにより室内に送出され、これを暖房するようになっている。
次に、夏場等の比較的気温の高い状態における通常の給湯運転について説明する。図3(B)で示すように、前記第二圧縮機9は起動されるが前記第一圧縮機3は停止状態となる。前記第二四方弁10と前記第三四方弁11は共に状態2に設定され、前記第三電子膨張弁14aは全開状態に設定され、前記第四電子膨張弁14bは絞り状態に設定される。
又、前記給水ポンプ17は運転状態となる。前記第二圧縮機9から吐出された高温高圧の冷媒は、図3(A)の矢印で示すように、前記第二四方弁10と前記第三四方弁11とを介して前記給湯用熱交換器13に流入し、同給湯用熱交換器13に循環してくる水と熱交換してこれを加熱する。加熱することにより凝縮した冷媒は続いて前記第三電子膨張弁14aを通り、前記第四電子膨張弁14bにより断熱膨張され低温低圧となって前記補助熱交換器12に流入する。同補助熱交換器12に流入した冷媒は熱を吸収して蒸発し、蒸発した冷媒は前記第三四方弁11を介して前記第二圧縮機9の吸込側に還流するようになっている。又、前記給水ポンプ17により前記給湯タンク16から前記給湯用熱交換器13に送出された水は、上記したように高温高圧の冷媒により加熱され、温水となって前記給湯タンク16に還流し、これに貯留されるようになっている。
又、前記給水ポンプ17は運転状態となる。前記第二圧縮機9から吐出された高温高圧の冷媒は、図3(A)の矢印で示すように、前記第二四方弁10と前記第三四方弁11とを介して前記給湯用熱交換器13に流入し、同給湯用熱交換器13に循環してくる水と熱交換してこれを加熱する。加熱することにより凝縮した冷媒は続いて前記第三電子膨張弁14aを通り、前記第四電子膨張弁14bにより断熱膨張され低温低圧となって前記補助熱交換器12に流入する。同補助熱交換器12に流入した冷媒は熱を吸収して蒸発し、蒸発した冷媒は前記第三四方弁11を介して前記第二圧縮機9の吸込側に還流するようになっている。又、前記給水ポンプ17により前記給湯タンク16から前記給湯用熱交換器13に送出された水は、上記したように高温高圧の冷媒により加熱され、温水となって前記給湯タンク16に還流し、これに貯留されるようになっている。
次に、冬場等の低外気温時での給湯運転について説明する。図5(B)で示すように、前記第一圧縮機3と前記第二圧縮機9とは共に運転状態となる。前記第一四方弁4、前記第二四方弁10及び前記第三四方弁11は共に状態2に設定され、前記第一電子膨張弁7aは閉鎖される一方、前記第二電子膨張弁7bは絞り状態に設定され、前記第三電子膨張弁14aは全開状態に、前記第四電子膨張弁14bは閉鎖状態に、前記第五電子膨張弁14cは絞り状態に夫々設定される。前記第一圧縮機3から吐出された高温高圧の冷媒は、図5(A)の矢印で示すように、前記第一四方弁4を介して前記カスケードコンデンサ15に流入し、同カスケードコンデンサ15に循環してくる前記サブサイクル2の冷媒と熱交換してこれを加熱する。加熱することにより凝縮した冷媒は続いて前記第二電子膨張弁7bにより断熱膨張され低温低圧となって前記室内熱交換器6に流入し、流入した冷媒は蒸発して、前記第一圧縮機3の吸込側に還流するようになっている。
前記カスケードコンデンサ15により加熱された前記サブサイクル2の冷媒は前記第二圧縮機9に流入し、同第二圧縮機9により圧縮されて更に高温高圧となる。高温高圧となった冷媒は、前記第二四方弁10と前記第三四方弁11とを介して前記給湯用熱交換器13に流入し、同給湯用熱交換器13に循環してくる水と熱交換を行いこれを加熱するようになっている。加熱して凝縮した冷媒は前記第五電子膨張弁14cにより断熱膨張した後、再び前記カスケードコンデンサ15に流入し、熱を吸収して蒸発し、前記第二圧縮機9の吸込側に還流するようになっている。又、前記給水ポンプ17により前記給湯タンク16から前記給湯用熱交換器13に送出された水は、上記したように高温高圧の冷媒により加熱され、高温の温水となって前記給湯タンク16に還流し、これに貯留されるようになっている。
次に、前記給湯タンク16に貯留された水を冷却する蓄冷運転について説明する。図6(B)で示すように、前記第二圧縮機9は起動されるが前記第一圧縮機3は停止状態となる。前記第二四方弁10は状態2に、前記第三四方弁11は状態1に夫々設定され、前記第三電子膨張弁14aは絞り状態に、前記第四電子膨張弁14bは全開状態に夫々設定される。又、前記給水ポンプ17は運転状態となる。前記第二圧縮機9から吐出された高温高圧の冷媒は、図6(A)の矢印で示すように、前記第二四方弁10と前記第三四方弁11とを介して前記補助熱交換器12に流入し、熱を放出して凝縮する。凝縮した冷媒は続いて前記第四電子膨張弁14bを通り、前記第三電子膨張弁14bにより断熱膨張され低温低圧となって前記給湯用熱交換器13に流入する。流入した冷媒は同給湯用熱交換器13に循環してくる水と熱交換してこれを冷却する。冷却することにより蒸発した冷媒は前記第三四方弁11を介して前記第二圧縮機9の吸込側に還流するようになっている。又、前記給水ポンプ17により前記給湯タンク16ら前記給湯用熱交換器13に送出された水は、上記したように蒸発する冷媒により冷却され、冷水となって前記給湯タンク16に還流し、これに貯留されるようになっている。
次に、冷房運転と給湯運転とを併用する冷房給湯運転について説明する。同冷房給湯運転には2通りの運転方式があり、まず第一の方式について説明する。第一の方式では、図7(B)で示すように、前記第一圧縮機3と前記第二圧縮機9は共に運転状態となる。前記第一四方弁4、第二四方弁10及び前記第三四方弁11は共に状態2に設定され、前記第一電子膨張弁7aは絞り状態に、前記第二電子膨張弁7bは閉鎖状態に夫々設定され、前記第三電子膨張弁14aは全開状態に、前記第四電子膨張弁14bは絞り状態に、前記第五電子膨張弁14cは閉鎖状態に夫々設定される。前記第一圧縮機3から吐出された高温高圧の冷媒は、図7(A)の矢印で示すように、前記第一四方弁4を介して前記室外熱交換器5に流入し、熱を放出して凝縮する。凝縮した冷媒は続いて前記第二電子膨張弁7bにより断熱膨張され低温低圧となって前記室内熱交換器6に流入し、周囲を流れる空気の熱を吸収して蒸発する。蒸発した冷媒は前記第一四方弁4を介して前記第一圧縮機3の吸込側に還流するようになっている。又、前記室内熱交換器6にて冷却された空気は前記送風ファン6aにより室内に送出され、これを冷房するようになっている。前記第二圧縮機9から吐出された高温高圧の冷媒は、図7(A)の矢印で示すように、前記第二四方弁10と前記第三四方弁11とを介して前記給湯用熱交換器13に流入し、同給湯用熱交換器13に循環してくる水と熱交換してこれを加熱する。加熱することにより凝縮した冷媒は続いて前記第三電子膨張弁14aを通り、前記第四電子膨張弁14bにより断熱膨張され低温低圧となって前記補助熱交換器12に流入する。同補助熱交換器12に流入した冷媒は熱を吸収して蒸発し、蒸発した冷媒は前記第三四方弁11を介して前記第二圧縮機9の吸込側に還流するようになっている。又、前記給水ポンプ17により前記給湯タンク16から前記給湯用熱交換器13に送出された水は、上記したように高温高圧の冷媒により加熱され、温水となって前記給湯タンク16に還流し、これに貯留されるようになっている。
前記メインサイクル1と前記サブサイクル2とで個別に冷媒が流れることにより、冷房運転と給湯運転とを併用できるようになっている。
前記メインサイクル1と前記サブサイクル2とで個別に冷媒が流れることにより、冷房運転と給湯運転とを併用できるようになっている。
次に、冷房給湯運転の第二の方式について説明する。第二の方式では、図8(B)で示すように、前記第一圧縮機3と前記第二圧縮機9は共に運転状態となる。前記第一四方弁4、第二四方弁10及び前記第三四方弁11は共に状態2に設定され、前記第一電子膨張弁7aは絞り状態あるいは閉鎖状態に、前記第二電子膨張弁7bは絞り状態に夫々設定され、前記第三電子膨張弁14aは全開状態に、前記第四電子膨張弁14bは閉鎖状態に、前記第五電子膨張弁14cは絞り状態に夫々設定される。前記第一圧縮機3から吐出された高温高圧の冷媒は、図8(A)の矢印で示すように、前記第一四方弁4を介して前記カスケードコンデンサ15に流入し、同カスケードコンデンサ15に循環してくる前記サブサイクル2の冷媒と熱交換してこれを加熱する。加熱することにより凝縮した冷媒は続いて前記第二電子膨張弁7bにより断熱膨張され低温低圧となって前記室内熱交換器6に流入し、流入した冷媒は蒸発して、前記第一圧縮機3の吸込側に還流するようになっている。この際、前記第一電子膨張弁7aは絞り状態あるいは閉鎖状態に間欠的に制御され、冷媒の凝縮量を調整するようになっている。
前記カスケードコンデンサ15により加熱された前記サブサイクル2の冷媒は前記第二圧縮機9に流入し、同第二圧縮機9により圧縮されて更に高温高圧となる。高温高圧となった冷媒は、前記第二四方弁10と前記第三四方弁11とを介して前記給湯用熱交換器13に流入し、同給湯用熱交換器13に循環してくる水と熱交換を行いこれを加熱するようになっている。加熱して凝縮した冷媒は前記第五電子膨張弁14cにより断熱膨張した後、再び前記カスケードコンデンサ15に流入し、熱を吸収して蒸発し、前記第二圧縮機9の吸込側に還流するようになっている。又、前記給水ポンプ17により前記給湯タンク16から前記給湯用熱交換器13に送出された水は加熱され、温水となって前記給湯タンク16に還流し、これに貯留されるようになっている。
次に、暖房給湯運転について説明する。図9(B)で示すように、前記第一圧縮機3と前記第二圧縮機9は共に運転状態となる。前記第一四方弁4は状態1に設定される一方、第二四方弁10及び前記第三四方弁11は状態2に設定され、前記第一電子膨張弁7aは絞り状態に、前記第二電子膨張弁7bは閉鎖状態に夫々設定され、前記第三電子膨張弁14aは全開状態に、前記第四電子膨張弁14bは絞り状態に、前記第五電子膨張弁14cは閉鎖状態に夫々設定される。前記第一圧縮機3から吐出された高温高圧の冷媒は、図9(A)の矢印で示すように、前記第一四方弁4を介して前記室内熱交換器6に流入し、同室内熱交換器6にて熱を放出して凝縮する。凝縮した冷媒は続いて前記電子膨張弁7bにより断熱膨張され低温低圧となって前記室外熱交換器5に流入し、周囲の熱を吸収して蒸発する。蒸発した冷媒は前記第一四方弁4を介して前記第一圧縮機3の吸込側に還流するようになっている。前記第二圧縮機9から吐出された高温高圧の冷媒は、前記第二四方弁10と前記第三四方弁11とを介して前記給湯用熱交換器13に流入し、同給湯用熱交換器13に循環してくる水と熱交換してこれを加熱する。加熱することにより凝縮した冷媒は続いて前記第三電子膨張弁14aを通り、前記第四電子膨張弁14bにより断熱膨張され低温低圧となって前記補助熱交換器12に流入する。同補助熱交換器12に流入した冷媒は熱を吸収して蒸発し、蒸発した冷媒は前記第三四方弁11を介して前記第二圧縮機9の吸込側に還流するようになっている。又、前記給水ポンプ17により前記給湯タンク16から前記給湯用熱交換器13に送出された水は加熱され、温水となって前記給湯タンク16に還流し、これに貯留されるようになっている。前記メインサイクル1で暖房運転を、前記サブサイクル2で給湯運転を個別に行うことにより、暖房能力及び給湯能力をどちらも低下させることなく円滑に運転が行えるようになっている。
上記したように、三方弁あるいは逆止弁等の配管部材を極力要さない簡素化した冷媒回路構成にもかかわらず、冷暖房運転、給湯運転、蓄冷運転、冷暖房給湯運転等が行えるととも、通常のエアコンと同構成のメインサイクルと、サブサイクルとを組み合わせて構成できる、あるいは追加装備して構成することのできる空気調和装置とすることができる。
1 メインサイクル
2 サブサイクル
3 第一圧縮機
4 第一四方弁
5 室外熱交換器
5a 送風ファン
6 室内熱交換器
6a 送風ファン
7a 第一電子膨張弁
7b 第二電子膨張弁
8a 三方弁
8b 二方弁
9 第二圧縮機
10 第二四方弁
11 第三四方弁
12 補助熱交換器
12a 送風ファン
13 給湯用熱交換器
14a 第三電子膨張弁
14b 第四電子膨張弁
14c 第五電子膨張弁
15 カスケードコンデンサ
16 給湯タンク
16a 給水管
16b 供給管
17 給水ポンプ
18 制御弁
19、20 配管
2 サブサイクル
3 第一圧縮機
4 第一四方弁
5 室外熱交換器
5a 送風ファン
6 室内熱交換器
6a 送風ファン
7a 第一電子膨張弁
7b 第二電子膨張弁
8a 三方弁
8b 二方弁
9 第二圧縮機
10 第二四方弁
11 第三四方弁
12 補助熱交換器
12a 送風ファン
13 給湯用熱交換器
14a 第三電子膨張弁
14b 第四電子膨張弁
14c 第五電子膨張弁
15 カスケードコンデンサ
16 給湯タンク
16a 給水管
16b 供給管
17 給水ポンプ
18 制御弁
19、20 配管
Claims (5)
- 第一圧縮機、第一流路切換手段、室外熱交換器、減圧手段及び室内熱交換器を接続してメインサイクルとし、第二圧縮機と第二流路切換手段及び第三流路切換手段と、第一冷媒間熱交換手段と、補助熱交換器と、所要の減圧手段とを接続してサブサイクルとし、これらメインサイクルとサブサイクルとを第二冷媒間熱交換手段により連結して冷媒回路を構成することを特徴とする空気調和装置
- 前記第二圧縮機から吐出された冷媒は、前記第一冷媒間熱交換手段に流入し、同第一冷媒間熱交換手段に循環してくる水を加熱して凝縮し、続いて断熱膨張されて前記補助熱交換器に流入し、蒸発した後、前記第二圧縮機に還流して給湯運転を行うことを特徴とする請求項1に記載の空気調和装置。
- 前記第二圧縮機から吐出された冷媒は、前記補助熱交換器に流入し、熱を放出して凝縮し、続いて断熱膨張され、前記第一冷媒間熱交換手段に流入して、同第一冷媒間熱交換手段に循環する水を冷却した後、前記第二圧縮機に還流して蓄冷運転を行うことを特徴とする請求項1に記載の空気調和装置。
- 前記第一圧縮機から吐出された冷媒は、前記室外熱交換器にて凝縮し、続いて断熱膨張されて前記室内熱交換器に流入し、蒸発して前記第一圧縮機に還流する一方、前記第二圧縮機から吐出された冷媒は、前記第一冷媒間熱交換手段に流入し、同第一冷媒間熱交換手段に循環する水を加熱して凝縮し、続いて断熱膨張され前記補助熱交換器にて蒸発した後、前記第二圧縮機に還流して冷房給湯運転を行うことを特徴とする請求項1に記載の空気調和装置。
- 前記第一圧縮機から吐出された冷媒は、前記第二冷媒間熱交換手段に流入し、同第二冷媒間熱交換手段に循環する前記サブサイクルの冷媒を加熱して凝縮し、続いて断熱膨張され前記室内熱交換器に流入して蒸発した後、前記第一圧縮機に還流する一方、加熱された前記サブサイクルの冷媒は前記第二圧縮機に流入して更に圧縮され、前記第一冷媒間熱交換手段に流入し、同第一冷媒間熱交換手段に循環する水を加熱して凝縮し、断熱膨張した後、再び前記第二冷媒間熱交換手段に流入して冷房給湯運転を行うことを特徴とする請求項1に記載の空気調和装置。
Priority Applications (1)
| Application Number | Priority Date | Filing Date | Title |
|---|---|---|---|
| JP2004111864A JP2005299935A (ja) | 2004-04-06 | 2004-04-06 | 空気調和装置 |
Applications Claiming Priority (1)
| Application Number | Priority Date | Filing Date | Title |
|---|---|---|---|
| JP2004111864A JP2005299935A (ja) | 2004-04-06 | 2004-04-06 | 空気調和装置 |
Publications (1)
| Publication Number | Publication Date |
|---|---|
| JP2005299935A true JP2005299935A (ja) | 2005-10-27 |
Family
ID=35331685
Family Applications (1)
| Application Number | Title | Priority Date | Filing Date |
|---|---|---|---|
| JP2004111864A Pending JP2005299935A (ja) | 2004-04-06 | 2004-04-06 | 空気調和装置 |
Country Status (1)
| Country | Link |
|---|---|
| JP (1) | JP2005299935A (ja) |
Cited By (25)
| Publication number | Priority date | Publication date | Assignee | Title |
|---|---|---|---|---|
| JP2009150620A (ja) * | 2007-12-21 | 2009-07-09 | Toshiba Carrier Corp | 2元ヒートポンプ式空気調和装置 |
| JP2010276230A (ja) * | 2009-05-27 | 2010-12-09 | Sanyo Electric Co Ltd | 冷凍装置 |
| CN102003834A (zh) * | 2010-11-23 | 2011-04-06 | 扬州碧源空调设备有限公司 | 多功能空气源热水及空调热泵机组 |
| JP2011127878A (ja) * | 2009-12-21 | 2011-06-30 | Mitsubishi Electric Corp | 温水熱源機 |
| WO2011104877A1 (ja) * | 2010-02-26 | 2011-09-01 | 株式会社 日立製作所 | 空調給湯システム |
| WO2011108068A1 (ja) * | 2010-03-01 | 2011-09-09 | 株式会社 日立製作所 | 空調給湯システム |
| CN102235775A (zh) * | 2010-04-23 | 2011-11-09 | Lg电子株式会社 | 热泵式热水供给装置 |
| CN102252445A (zh) * | 2010-05-20 | 2011-11-23 | Lg电子株式会社 | 与热泵关联的热水供应装置 |
| WO2012014306A1 (ja) * | 2010-07-29 | 2012-02-02 | 株式会社 日立製作所 | 空調給湯システム |
| CN102466374A (zh) * | 2010-11-01 | 2012-05-23 | Lg电子株式会社 | 热泵式热水供给装置 |
| GB2486646A (en) * | 2010-12-20 | 2012-06-27 | Sublogic Mfg Ltd | Method and Apparatus for Cascade Refrigeration and for Central Heating Hot Water Supply |
| WO2012114462A1 (ja) * | 2011-02-22 | 2012-08-30 | 株式会社日立製作所 | 空調給湯システム及び空調給湯システムの制御方法 |
| WO2012114461A1 (ja) | 2011-02-22 | 2012-08-30 | 株式会社日立製作所 | 空調給湯システム及び空調給湯システムの制御方法 |
| WO2012114450A1 (ja) | 2011-02-22 | 2012-08-30 | 株式会社日立製作所 | 空調給湯システム |
| WO2013080297A1 (ja) | 2011-11-29 | 2013-06-06 | 株式会社日立製作所 | 空調給湯システム |
| KR20130081437A (ko) * | 2012-01-09 | 2013-07-17 | 엘지전자 주식회사 | 캐스케이드 히트펌프 장치 |
| WO2013128668A1 (ja) | 2012-03-02 | 2013-09-06 | 株式会社 日立製作所 | 排熱回収システムおよびその運転方法 |
| CN103842733A (zh) * | 2011-09-30 | 2014-06-04 | 大金工业株式会社 | 热水供应空调系统 |
| KR20140094673A (ko) * | 2013-01-18 | 2014-07-30 | 엘지전자 주식회사 | 히트 펌프 |
| CN103994600A (zh) * | 2013-02-19 | 2014-08-20 | 吕瑞强 | 冷热源互补多功能空调热水器 |
| CN104654688A (zh) * | 2015-02-11 | 2015-05-27 | 吕瑞强 | 冷热源互补多功能空调热水机的控制系统 |
| CN112944522A (zh) * | 2021-04-07 | 2021-06-11 | 南京天加环境科技有限公司 | 一种空调、地暖、生活热水三联供系统 |
| EP4257893A4 (en) * | 2020-12-01 | 2024-05-15 | Daikin Industries, Ltd. | REFRIGERATION CYCLE SYSTEM |
| CN118935772A (zh) * | 2024-09-20 | 2024-11-12 | 深圳市英维克科技股份有限公司 | 一种冷却设备 |
| US12385675B2 (en) | 2020-05-08 | 2025-08-12 | Daikin Industries, Ltd. | Refrigeration cycle apparatus |
-
2004
- 2004-04-06 JP JP2004111864A patent/JP2005299935A/ja active Pending
Cited By (51)
| Publication number | Priority date | Publication date | Assignee | Title |
|---|---|---|---|---|
| JP2009150620A (ja) * | 2007-12-21 | 2009-07-09 | Toshiba Carrier Corp | 2元ヒートポンプ式空気調和装置 |
| US8991204B2 (en) | 2009-05-27 | 2015-03-31 | Panasonic Intellectual Property Management Co., Ltd. | Refrigerating apparatus |
| JP2010276230A (ja) * | 2009-05-27 | 2010-12-09 | Sanyo Electric Co Ltd | 冷凍装置 |
| JP2011127878A (ja) * | 2009-12-21 | 2011-06-30 | Mitsubishi Electric Corp | 温水熱源機 |
| WO2011104877A1 (ja) * | 2010-02-26 | 2011-09-01 | 株式会社 日立製作所 | 空調給湯システム |
| EP2541170A4 (en) * | 2010-02-26 | 2015-02-25 | Hitachi Ltd | HOT WATER SUPPLY SYSTEM FOR AN AIR-CONDITIONING SYSTEM |
| JP5335131B2 (ja) * | 2010-02-26 | 2013-11-06 | 株式会社日立製作所 | 空調給湯システム |
| WO2011108068A1 (ja) * | 2010-03-01 | 2011-09-09 | 株式会社 日立製作所 | 空調給湯システム |
| CN102770725A (zh) * | 2010-03-01 | 2012-11-07 | 株式会社日立制作所 | 空气调节热水供给系统 |
| JP5373964B2 (ja) * | 2010-03-01 | 2013-12-18 | 株式会社日立製作所 | 空調給湯システム |
| CN102770725B (zh) * | 2010-03-01 | 2015-04-08 | 株式会社日立制作所 | 空气调节热水供给系统 |
| CN102235775A (zh) * | 2010-04-23 | 2011-11-09 | Lg电子株式会社 | 热泵式热水供给装置 |
| US8850837B2 (en) | 2010-04-23 | 2014-10-07 | Lg Electronics Inc. | Heat pump type speed heating apparatus |
| CN102235775B (zh) * | 2010-04-23 | 2014-06-18 | Lg电子株式会社 | 热泵式热水供给装置 |
| EP2381192A3 (en) * | 2010-04-23 | 2015-07-08 | LG Electronics, Inc. | Heat pump type speed heating apparatus |
| CN102252445A (zh) * | 2010-05-20 | 2011-11-23 | Lg电子株式会社 | 与热泵关联的热水供应装置 |
| US9347683B2 (en) | 2010-05-20 | 2016-05-24 | Lg Electronics Inc. | Hot water supply apparatus associated with heat pump |
| WO2011145779A1 (en) * | 2010-05-20 | 2011-11-24 | Lg Electronics Inc. | Hot water supply device associated with heat pump |
| US9416990B2 (en) | 2010-05-20 | 2016-08-16 | Lg Electronics Inc. | Hot water supply apparatus associated with heat pump |
| KR101190492B1 (ko) | 2010-05-20 | 2012-10-12 | 엘지전자 주식회사 | 히트펌프 연동 급탕장치 |
| CN103026150B (zh) * | 2010-07-29 | 2015-06-03 | 株式会社日立制作所 | 空调热水供给系统 |
| EP2600081A4 (en) * | 2010-07-29 | 2015-12-30 | Hitachi Ltd | AIR CONDITIONING AND HOT WATER SUPPLY SYSTEM |
| WO2012014306A1 (ja) * | 2010-07-29 | 2012-02-02 | 株式会社 日立製作所 | 空調給湯システム |
| CN103026150A (zh) * | 2010-07-29 | 2013-04-03 | 株式会社日立制作所 | 空调热水供给系统 |
| JP5572711B2 (ja) * | 2010-07-29 | 2014-08-13 | 株式会社日立製作所 | 空調給湯システム |
| CN102466374A (zh) * | 2010-11-01 | 2012-05-23 | Lg电子株式会社 | 热泵式热水供给装置 |
| CN102466374B (zh) * | 2010-11-01 | 2015-03-25 | Lg电子株式会社 | 热泵式热水供给装置 |
| CN102003834A (zh) * | 2010-11-23 | 2011-04-06 | 扬州碧源空调设备有限公司 | 多功能空气源热水及空调热泵机组 |
| GB2486646A (en) * | 2010-12-20 | 2012-06-27 | Sublogic Mfg Ltd | Method and Apparatus for Cascade Refrigeration and for Central Heating Hot Water Supply |
| JP5492347B2 (ja) * | 2011-02-22 | 2014-05-14 | 株式会社日立製作所 | 空調給湯システム及び空調給湯システムの制御方法 |
| WO2012114450A1 (ja) | 2011-02-22 | 2012-08-30 | 株式会社日立製作所 | 空調給湯システム |
| JP5629367B2 (ja) * | 2011-02-22 | 2014-11-19 | 株式会社日立製作所 | 空調給湯システム |
| JPWO2012114450A1 (ja) * | 2011-02-22 | 2014-07-07 | 株式会社日立製作所 | 空調給湯システム |
| WO2012114462A1 (ja) * | 2011-02-22 | 2012-08-30 | 株式会社日立製作所 | 空調給湯システム及び空調給湯システムの制御方法 |
| WO2012114461A1 (ja) | 2011-02-22 | 2012-08-30 | 株式会社日立製作所 | 空調給湯システム及び空調給湯システムの制御方法 |
| CN103842733A (zh) * | 2011-09-30 | 2014-06-04 | 大金工业株式会社 | 热水供应空调系统 |
| EP2767773A4 (en) * | 2011-09-30 | 2015-07-08 | Daikin Ind Ltd | HOT WATER SUPPLY SYSTEM, AIR CONDITIONING |
| JPWO2013080297A1 (ja) * | 2011-11-29 | 2015-04-27 | 株式会社日立製作所 | 空調給湯システム |
| WO2013080297A1 (ja) | 2011-11-29 | 2013-06-06 | 株式会社日立製作所 | 空調給湯システム |
| KR101852797B1 (ko) * | 2012-01-09 | 2018-06-07 | 엘지전자 주식회사 | 캐스케이드 히트펌프 장치 |
| KR20130081437A (ko) * | 2012-01-09 | 2013-07-17 | 엘지전자 주식회사 | 캐스케이드 히트펌프 장치 |
| WO2013128668A1 (ja) | 2012-03-02 | 2013-09-06 | 株式会社 日立製作所 | 排熱回収システムおよびその運転方法 |
| KR20140094673A (ko) * | 2013-01-18 | 2014-07-30 | 엘지전자 주식회사 | 히트 펌프 |
| KR102042218B1 (ko) * | 2013-01-18 | 2019-11-07 | 엘지전자 주식회사 | 히트 펌프 |
| CN103994600A (zh) * | 2013-02-19 | 2014-08-20 | 吕瑞强 | 冷热源互补多功能空调热水器 |
| CN104654688A (zh) * | 2015-02-11 | 2015-05-27 | 吕瑞强 | 冷热源互补多功能空调热水机的控制系统 |
| US12385675B2 (en) | 2020-05-08 | 2025-08-12 | Daikin Industries, Ltd. | Refrigeration cycle apparatus |
| EP4257893A4 (en) * | 2020-12-01 | 2024-05-15 | Daikin Industries, Ltd. | REFRIGERATION CYCLE SYSTEM |
| US12410956B2 (en) | 2020-12-01 | 2025-09-09 | Daikin Industries, Ltd. | Refrigeration cycle system |
| CN112944522A (zh) * | 2021-04-07 | 2021-06-11 | 南京天加环境科技有限公司 | 一种空调、地暖、生活热水三联供系统 |
| CN118935772A (zh) * | 2024-09-20 | 2024-11-12 | 深圳市英维克科技股份有限公司 | 一种冷却设备 |
Similar Documents
| Publication | Publication Date | Title |
|---|---|---|
| JP2005299935A (ja) | 空気調和装置 | |
| JP4556453B2 (ja) | ヒートポンプ給湯エアコン | |
| CN110425764B (zh) | 换热系统及控制方法 | |
| CN103620325B (zh) | 空气调节装置 | |
| EP3982059B1 (en) | Heat management system | |
| KR20110056180A (ko) | 냉장 및 냉동 복합 공조시스템 | |
| JP6827550B2 (ja) | 外気空調システムおよび制御方法 | |
| JP6883186B2 (ja) | ヒートポンプシステム | |
| JP2005249319A (ja) | ヒートポンプ給湯エアコン | |
| JP3882056B2 (ja) | 冷凍空調装置 | |
| US20130061622A1 (en) | Refrigerating and air-conditioning apparatus | |
| JP2014126350A (ja) | 空気調和機 | |
| JP4258363B2 (ja) | 冷凍空調装置、冷凍空調装置の運転方法 | |
| JP2009270773A (ja) | 冷熱システム | |
| KR20220085243A (ko) | 차량용 냉각 시스템 | |
| JP2006292313A (ja) | 地中熱利用装置 | |
| JP2006010137A (ja) | ヒートポンプシステム | |
| JP2001317831A (ja) | 空気調和機 | |
| JP2004156806A (ja) | 温冷熱システム | |
| JP4270555B2 (ja) | 再熱除湿型空気調和機 | |
| JP2001263848A (ja) | 空気調和機 | |
| CN114046612A (zh) | 具有双蒸发温度的空调\地暖\地冷多联系统 | |
| EP3290827A1 (en) | Defrosting without reversing refrigerant cycle | |
| KR101173736B1 (ko) | 냉장 및 냉동 복합 공조시스템 | |
| JP2005233476A (ja) | ヒートポンプ給湯エアコン |