JP2005299344A - 側溝床版用残存型枠 - Google Patents

側溝床版用残存型枠 Download PDF

Info

Publication number
JP2005299344A
JP2005299344A JP2004121129A JP2004121129A JP2005299344A JP 2005299344 A JP2005299344 A JP 2005299344A JP 2004121129 A JP2004121129 A JP 2004121129A JP 2004121129 A JP2004121129 A JP 2004121129A JP 2005299344 A JP2005299344 A JP 2005299344A
Authority
JP
Japan
Prior art keywords
floor slab
residual
concrete
mold plate
side groove
Prior art date
Legal status (The legal status is an assumption and is not a legal conclusion. Google has not performed a legal analysis and makes no representation as to the accuracy of the status listed.)
Pending
Application number
JP2004121129A
Other languages
English (en)
Inventor
Shigeaki Suzuki
繁明 鈴木
Current Assignee (The listed assignees may be inaccurate. Google has not performed a legal analysis and makes no representation or warranty as to the accuracy of the list.)
YAMAICHI YOGYO KK
Original Assignee
YAMAICHI YOGYO KK
Priority date (The priority date is an assumption and is not a legal conclusion. Google has not performed a legal analysis and makes no representation as to the accuracy of the date listed.)
Filing date
Publication date
Application filed by YAMAICHI YOGYO KK filed Critical YAMAICHI YOGYO KK
Priority to JP2004121129A priority Critical patent/JP2005299344A/ja
Publication of JP2005299344A publication Critical patent/JP2005299344A/ja
Pending legal-status Critical Current

Links

Images

Landscapes

  • Sewage (AREA)

Abstract

【課題】残存型枠板とコンクリートとの間の剥離がおきにくい構造としたものであり、耐久性が大幅に向上するとともに、残存型枠板を薄肉化することにより、製品自体を軽量にして搬入および施工が容易であり、かつ構造的に堅牢な側溝用床版を提供しようとするものである。
【解決手段】残存型枠板を下面に設け、当該型枠板の上面に鉄筋を配筋してコンクリートを打設して成る側溝床版用残存型枠において、前記残存型枠板の前記コンクリートとの接合表面に断面形状において、上部が幅広の逆テーパ部を有する補強リブを複数個設けたことを特徴とする請求項1に記載の側溝床版用残存型枠。
【選択図】 図1

Description

本発明は側溝用床版を構築する際に、工事現場においてコンクリートを打設する時の残存型枠として最適に使用するものである。
従来、側溝床版用残存型枠としての大型の側溝の上面に被せる蓋体を工事現場において形成するものとして、ガラス繊維等で補強された薄肉セメント板を残存型枠板として使用するもの(特開平2−153135号公報、特許文献1参照)や、また上記先行技術の強度不足を解消するために、残存型枠板を下面に設け、その残存型枠板の上方に鉄筋を配筋してコンクリートを打設した側溝床版用残存型枠において、前記残存型枠板を繊維強化セメントにより形成し、前記コンクリートとの接合表面に断面形状がほぼ台形またはほぼ三角形の補強リブを複数個設けるもの(特開平9−013486号公報、特許文献2参照)が知られている。
特開平2−153135号公報 特開平9−013486号公報
しかしながら上記従来の特許文献2の方法においては、残存型枠板と打設したコンクリートとのなじみが悪く、部材間で剥離して鉄筋腐食その他のトラブルが発生しやすいという問題があった。
特にコストや取り扱いやすさ等を勘案して残存型枠板を薄肉化すればするほど、コンクリートの打設時や使用時に側溝床版用残存型枠自体がたわみ、より部材間での剥離が起きやすくなってしまう。
そこでこの発明は上記課題を解消するため、残存型枠板とコンクリートとの間の剥離がおきにくい構造としたものであり、耐久性が大幅に向上するとともに、残存型枠板を薄肉化することにより、製品自体を軽量にして搬入および施工が容易であり、かつ構造的に堅牢な側溝用床版を提供しようとするものである。
すなわちこの発明の側溝床版用残存型枠は、残存型枠板を下面に設け、該残存型枠板の上面に鉄筋を配筋してコンクリートを打設して成る側溝用床版において、前記残存型枠板の前記コンクリートとの接合表面に、断面形状において上部が幅広の逆テーパ部を有する補強リブを複数個設けたことを特徴とするものである。
この発明の側溝床版用残存型枠は、繊維補強レジンコンクリートからなることをも特徴とするものである。
この発明の側溝床版用残存型枠は、前記補強リブ内に補強部材を挿入したことをも特徴とするものである。
この発明の側溝床版用残存型枠は、前記補強部材がFRP製棒状材であることをも特徴とするものである。
この発明の側溝床版用残存型枠は、前記残存型枠板の適所に、上部もしくは下部からサポート部材を張り渡して支持もしくは牽引することを可能とする連結部を設けたことをも特徴とするものである。
この発明の側溝床版用残存型枠は、前記残存型枠板の連結部が、治具取付孔からなることをも特徴とするものである。
繊維補強レジンコンクリートにより形成された残存型枠板は、繊維補強レジンコンクリートの特性である高い引張強度と断面形状による曲げ強さも高く、なおかつ軽量化されることから、型枠支保工の組立・解体を必要とせず容易に敷設できる。また打設コンクリートとの接合表面形状により、打設コンクリートと一体となって挙動する。これにより従来の現場打ち鉄筋コンクリート製の側溝用床版と比べ大幅な施工性の合理化が可能である。
以下図面に基いて、この発明の側溝床版用残存型枠の実施の形態を詳細に説明する。
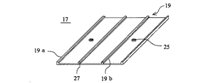
図1はこの発明の側溝床版用残存型枠の1実施例を示す残存型枠板の斜視図、図2(a)はその平面図、(b)はその側面図、図3(a)は残存型枠板の板面に設けた第1のリブの拡大断面図、(b)は第2のリブの拡大断面図、図4(a)は残存型枠板の板面に設けた第1のリブの別の例を示す拡大断面図、(b)は第2のリブの別の例を示す拡大断面図、図5は治具取付孔を示す概略断面図、図6は残存型枠板を下部で支持する場合の設置状態を示す斜視図、図7は残存型枠板を上部から牽引する場合の設置状態を示す斜視図である。
図1ないし図7にしたがってこの発明の側溝床版用残存型枠の一実施例について説明する。この実施例は、側溝用床版として大型の側溝の上に被せる床版を現場において製作する場合を例とする。11は側溝本体であり、この側溝本体11は例えば溝幅が700〜2500mm程度の大型のものが使用される(図6および図7参照)。
図1ないし図5において、13は側溝本体1の上方に左右対向して形成された床版搭載部である。また17は残存型枠板であり、この残存型枠板17は前記側溝本体11の前記床版搭載部13の上面に載置され、構築すべき側溝用床版としての床版21の下面に捨型枠材として使用されるものであり、この残存型枠板17は側溝本体11の開口部15を塞ぐようになっている。
前記残存型枠板17は、繊維補強レジンコンクリートにより予め工場において平面ほぼ矩形に形成される。残存型枠板17は、高い曲げ強度と剛性を有して床版21の下側部分を専有する大きさとし、かつコンクリートと密接に一体化するために、床版21に配筋される鉄筋を被覆して鉄筋の腐蝕防止やコンクリートの中性化を抑制し、しかもコンクリートCとの接合表面には、断面形状において上部が幅広の逆テーパ部を有する補強リブ19が複数本設けられている。
前記繊維補強レジンコンクリートに使用される繊維として好適なものは、ガラス繊維が使用されるほか、炭素繊維、金属繊維、合成繊維が使用される。
前記補強リブ19の大きさは、残存型枠板17の平面の大きさの大小に応じて自由に設定できる。なお図2(a),(b)において、補強リブ19は残存型枠板2の上面に4本形成され、このうち2本の補強リブ19aは残存型枠板17の左右端に形成され、且つ残りの2本の補強リブ19aが内方に適宜の間隔をあけて外側の前記補強リブ19aに対して平行に形成される。
そして図3(a)、(b)に示すように、第1の補強リブ19aは、外側端面を垂直に、また内側端面をくの字状に形成され、かつ上部は面取りされている。
また図4(a)、(b)に示すように、第2の補強リブ19bは、両側端面をくの字状に形成され、かつ上部は面取りされて円弧状断面に形成されている。
いずれにしても断面形状において上部が幅広の逆テーパ部20を有しており、打設したコンクリートがこの逆テーパ部20に係合して残存型枠板17に強固に密着するようになっている。
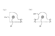
23は前記補強リブ19内に挿入される補強部材としての補強筋であり、この補強筋23は前記補強リブ19の強度を一層強く確保するためのものであり、例えば外径が約6〜12mm程度のFRP製棒状材が使用される。そして図示においては補強筋23は1本が挿入されているが、複数本であってもよい。しかも補強リブ19は、残存型枠板17が単なる板状のほぼ同一厚さのものに比べて荷重に対する高い曲げ剛性を増し、上面に打設されるコンクリートの水平剪断力に対する耐力をもたせ、剛性を高める機能をも備えている。
残存型枠板17は、その適所に治具取付孔25等からなる連結部が形成されている。そしてこの治具取付孔25には残存型枠板17を下から支持する支持ボルト27をネジ付けたり、残存型枠板17を上から支持する吊下げボルト29をネジ付けることができるようになっている。
コンクリート25は図6のように、下から治具取付孔25に取り付けた支持ボルト27で支持された残存型枠板17の上方に、例えば路面と一体的に打設される。
また残存型枠板17の幅方向の両側に側枠31を設置し、その上部に横桁33を介して吊下げボルト29を吊下げ、治具取付孔25に取り付けた吊下げボルト29で牽引した残存型枠板17上にコンクリート25が打設される。
このコンクリートが養生、固化された後に残存型枠板17と一体化した側溝用床版21が現場において形成される。
この際、残存型枠板17はコンクリートパネルとは異なり、繊維補強レジンコンクリート等により形成されているので、軽量であり、剛性は高くなる。
この発明は、上記側溝本体の上面に形成した床版搭載部内に載置可能に収容される蓋体のみならず、また橋梁の桁間に掛渡される床板、建物のスラブ等にも使用することが可能である。
この発明の側溝床版用残存型枠の1実施例を示す残存型枠板の斜視図である。 (a)はその平面図、(b)はその側面図である。 (a)は残存型枠板の板面に設けた第1のリブの拡大断面図、(b)は第2のリブの拡大断面図である。 (a)は残存型枠板の板面に設けた第1のリブの別の例を示す拡大断面図、(b)は第2のリブの別の例を示す拡大断面図、である。 治具取付孔を示す概略断面図である。 残存型枠板を下部で支持する場合の設置状態を示す斜視図である。 残存型枠板を上部から牽引する場合の設置状態を示す斜視図である。
符号の説明
11 側溝本体
13 床版搭載部
15 開口部
17 残存型枠板
19,19a,19b 補強リブ
20 逆テーパ部
21 床版
23 補強筋
25 治具取付孔
27 支持ボルト
29 吊下げボルト
31 側枠
33 横桁

Claims (6)

  1. 残存型枠板を下面に設け、当該型枠板の上面に鉄筋を配筋してコンクリートを打設して成る側溝床版用残存型枠において、前記残存型枠板の前記コンクリートとの接合表面に断面形状において、上部が幅広の逆テーパ部を有する補強リブを複数個設けたことを特徴とする請求項1に記載の側溝床版用残存型枠。
  2. 前記残存型枠板が繊維補強レジンコンクリートからなることを特徴とする請求項1に記載の側溝床版用残存型枠。
  3. 前記補強リブ内に補強部材を挿入したことを特徴とする請求項1または2に記載の側溝床版用残存型枠。
  4. 前記補強部材がFRP製棒状材であることを特徴とする請求項1ないし3のいずれかに記載の側溝床版用残存型枠。
  5. 前記残存型枠板の適所に、上部もしくは下部からサポート部材を張り渡して支持もしくは牽引することを可能とする連結部を設けたことを特徴とする請求項1ないし4のいずれかに記載の側溝床版用残存型枠。
  6. 前記残存型枠板の連結部が、治具取付孔からなることを特徴とする請求項5に記載の側溝床版用残存型枠。
JP2004121129A 2004-04-16 2004-04-16 側溝床版用残存型枠 Pending JP2005299344A (ja)

Priority Applications (1)

Application Number Priority Date Filing Date Title
JP2004121129A JP2005299344A (ja) 2004-04-16 2004-04-16 側溝床版用残存型枠

Applications Claiming Priority (1)

Application Number Priority Date Filing Date Title
JP2004121129A JP2005299344A (ja) 2004-04-16 2004-04-16 側溝床版用残存型枠

Publications (1)

Publication Number Publication Date
JP2005299344A true JP2005299344A (ja) 2005-10-27

Family

ID=35331224

Family Applications (1)

Application Number Title Priority Date Filing Date
JP2004121129A Pending JP2005299344A (ja) 2004-04-16 2004-04-16 側溝床版用残存型枠

Country Status (1)

Country Link
JP (1) JP2005299344A (ja)

Cited By (3)

* Cited by examiner, † Cited by third party
Publication number Priority date Publication date Assignee Title
CN102888957A (zh) * 2012-08-15 2013-01-23 杨众 一种预制轻型板式楼梯
JP2019052507A (ja) * 2017-09-19 2019-04-04 株式会社大林組 コンクリート製埋設型枠及びコンクリート製埋設型枠と後打ちコンクリートとの一体化方法
CN116043666A (zh) * 2022-12-13 2023-05-02 海洋石油工程股份有限公司 钢纤维混凝土-gfrp叠合板组合梁及其施工方法

Cited By (4)

* Cited by examiner, † Cited by third party
Publication number Priority date Publication date Assignee Title
CN102888957A (zh) * 2012-08-15 2013-01-23 杨众 一种预制轻型板式楼梯
JP2019052507A (ja) * 2017-09-19 2019-04-04 株式会社大林組 コンクリート製埋設型枠及びコンクリート製埋設型枠と後打ちコンクリートとの一体化方法
JP7034433B2 (ja) 2017-09-19 2022-03-14 株式会社大林組 コンクリート製埋設型枠及びコンクリート製埋設型枠と後打ちコンクリートとの一体化方法
CN116043666A (zh) * 2022-12-13 2023-05-02 海洋石油工程股份有限公司 钢纤维混凝土-gfrp叠合板组合梁及其施工方法

Similar Documents

Publication Publication Date Title
WO2008133460A1 (en) Composite concrete column and construction method using the same
KR100854224B1 (ko) 반단면 프리캐스트 캔틸레버 바닥판 및 그 시공방법
JP4028831B2 (ja) 取り外し可能支保工梁
KR101186053B1 (ko) 선가설 프리캐스트 콘크리트 슬래브를 이용한 현장타설 철근콘크리트 보의 시공방법
KR20170014821A (ko) 프리캐스트 코어를 이용한 상부구조물을 가지는 사장교의 시공방법 및 그에 의해 시공되는 사장교
KR102000534B1 (ko) 거푸집 겸용 고내구성 텍스타일 보강 패널을 이용한 철근콘크리트 구조물 시공방법
KR101482523B1 (ko) 안전휀스 설치 구성을 가지는 조립식 노듈러 거더, 이를 이용한 교량 및 그 시공방법
JP2014109152A (ja) 梁部材および床構造
JP4073746B2 (ja) 波形鋼板ウェブ橋の架設方法
JPH04228710A (ja) 橋梁用道路スラブ
JP2005299344A (ja) 側溝床版用残存型枠
JP6517121B2 (ja) 埋設型枠
KR100728106B1 (ko) 교량 바닥판의 캔틸레버부 설치구조 및 시공방법
KR100462966B1 (ko) 합성형 거더교의 단면형상을 개선한 p.s.c u-거더
JP2006169730A (ja) コンクリート橋桁とその成形方法
JP2002339496A (ja) スラブの構築方法および天井の構築方法
KR20070107495A (ko) 거푸집 조립체 및 이를 이용한 건축물 시공 방법
JPH0913486A (ja) コンクリート構造体
JPH10110498A (ja) ハーフプレキャスト床版およびこれを用いた中空フラットスラブの構築方法
KR100650444B1 (ko) 교량의 캔틸레버부 시공방법
JPH04333705A (ja) コンクリート床版用繊維強化樹脂製永久型枠、コンクリート床版の施工法及び繊維強化樹脂−鉄筋コンクリート合成床版
KR20220011044A (ko) 탈착식 거푸집용 철근 고정구 및 이를 이용한 탈착식 거푸집 구조
KR100588350B1 (ko) 교량 슬래브의 중앙분리대측 측단부 시공방법 및 그에적용되는 상부브래킷
KR20050112913A (ko) 벽 및 슬라브 시공시스템 및 이를 이용한 시공방법
JP2004176299A (ja) 段差付き床スラブ構造体

Legal Events

Date Code Title Description
A621 Written request for application examination

Free format text: JAPANESE INTERMEDIATE CODE: A621

Effective date: 20070413

A977 Report on retrieval

Free format text: JAPANESE INTERMEDIATE CODE: A971007

Effective date: 20090306

A131 Notification of reasons for refusal

Free format text: JAPANESE INTERMEDIATE CODE: A131

Effective date: 20090716

A521 Written amendment

Free format text: JAPANESE INTERMEDIATE CODE: A523

Effective date: 20090817

A02 Decision of refusal

Free format text: JAPANESE INTERMEDIATE CODE: A02

Effective date: 20091104