JP2005299330A - ショベルのドーザ - Google Patents
ショベルのドーザ Download PDFInfo
- Publication number
- JP2005299330A JP2005299330A JP2004120588A JP2004120588A JP2005299330A JP 2005299330 A JP2005299330 A JP 2005299330A JP 2004120588 A JP2004120588 A JP 2004120588A JP 2004120588 A JP2004120588 A JP 2004120588A JP 2005299330 A JP2005299330 A JP 2005299330A
- Authority
- JP
- Japan
- Prior art keywords
- force
- blade
- dozer
- soil
- discharge
- Prior art date
- Legal status (The legal status is an assumption and is not a legal conclusion. Google has not performed a legal analysis and makes no representation as to the accuracy of the status listed.)
- Pending
Links
- 239000002689 soil Substances 0.000 claims abstract description 67
- 238000003825 pressing Methods 0.000 claims abstract description 15
- 230000007423 decrease Effects 0.000 claims description 9
- 238000004364 calculation method Methods 0.000 description 6
- 238000007599 discharging Methods 0.000 description 3
- 238000009412 basement excavation Methods 0.000 description 2
- 238000004140 cleaning Methods 0.000 description 2
- 238000007689 inspection Methods 0.000 description 2
- 238000004519 manufacturing process Methods 0.000 description 2
- 230000000052 comparative effect Effects 0.000 description 1
- 230000008602 contraction Effects 0.000 description 1
- 238000010586 diagram Methods 0.000 description 1
- 238000009826 distribution Methods 0.000 description 1
- 230000000694 effects Effects 0.000 description 1
- 230000002452 interceptive effect Effects 0.000 description 1
- 238000010408 sweeping Methods 0.000 description 1
- 230000007704 transition Effects 0.000 description 1
Images
Classifications
-
- E—FIXED CONSTRUCTIONS
- E02—HYDRAULIC ENGINEERING; FOUNDATIONS; SOIL SHIFTING
- E02F—DREDGING; SOIL-SHIFTING
- E02F3/00—Dredgers; Soil-shifting machines
- E02F3/04—Dredgers; Soil-shifting machines mechanically-driven
- E02F3/76—Graders, bulldozers, or the like with scraper plates or ploughshare-like elements; Levelling scarifying devices
- E02F3/7609—Scraper blade mounted forwardly of the tractor on a pair of pivoting arms which are linked to the sides of the tractor, e.g. bulldozers
Landscapes
- Engineering & Computer Science (AREA)
- Mechanical Engineering (AREA)
- Mining & Mineral Resources (AREA)
- Civil Engineering (AREA)
- General Engineering & Computer Science (AREA)
- Structural Engineering (AREA)
- Operation Control Of Excavators (AREA)
- Cleaning In General (AREA)
- Conveying And Assembling Of Building Elements In Situ (AREA)
- Paper (AREA)
- Control Of Motors That Do Not Use Commutators (AREA)
- Shovels (AREA)
Abstract
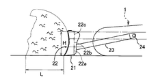
【解決手段】 ブレード面22を、次の要件を満足する形状に設定した。
A) 土をブレード面22に沿って押し上げる押し上げ力Fuを発生させること。
B) 上部に放出面22cを有し、この放出面22cで押し上げ力Fuが、押し上げた土を前方に回す前方上向きの放出力を発生させること。
C) 放出面22cにおいて放出力を発生させることによって生じる下向きの押し付け力Fdの総和ΣFdと、上記押し上げ力Fuの総和ΣFuとの関係が、
ΣFu>ΣFd
となること。
D) 上記押し上げ力Fuをプラス値とし、放出面に土が当たることによって生じる押し上げ力の減少分と、押し付け力Fdとをマイナス値として、放出面の最終部分での値がプラスとなること。
【選択図】 図2
Description
ΣFu>ΣFd
となること。
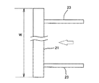
W=4.4〜5.7×H
の関係に設定されたものである。
(i) この放出力の源である押上げ力の総和ΣFuが、押し付け力Fdの総和ΣFdよりも大きくなり、
(ii) 押し上げ力Fuをプラス値とし、放出面に土が当たることによって生じる押し上げ力の減少分と、押し付け力Fdとをマイナス値として、放出面の最終部分での値がプラスとなる
ようにブレード面の形状を設定したから、放出力を十分大きくとることができる。
W=4.4〜5.7×H
に設定するのが望ましい。
ΣFu>ΣFd
となること。
ΣFu≒ΣFd(比率は54%:46%)
となるのに対し、本発明の実施形態によると、
ΣFu>ΣFd(比率は79%:21%)
となり、押し上げ力Fuの総和ΣFuが押し下げ力Fdの総和ΣFdを圧倒的に上回ることとなる。
7810×(29.99/30.00)21−105
によってNO5での実質押し上げ力7650.512を求める。
W=4.4〜5.7×H
に設定するのが望ましいことが計算によって確認された。
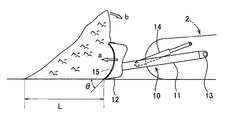
21 ブレード
22 ブレード面
22a ブレード面下部
22b ブレード面中間部
22c ブレード面上部(放出面)
23 ドーザアーム
24 アーム支軸(ドーザアームの取付点)
Claims (6)
- 下部走行体にドーザアームを介してブレードが地面に対してすくい角をもって取付けられ、このブレードを接地させた状態で上記下部走行体を走行させることにより、ブレード面で排土作業を行なうショベルのドーザにおいて、上記ブレード面が次の要件を満足する形状に設定されたことを特徴とするショベルのドーザ。
A) 土をブレード面に沿って押し上げる押し上げ力Fuを発生させること。
B) 上部に放出面を有し、この放出面で上記押し上げ力Fuが、押し上げた土を前方に回す前方上向きの放出力を発生させること。
C) 上記放出面において放出力を発生させることによって生じる下向きの押し付け力Fdの総和ΣFdと、上記押し上げ力の総和ΣFuとの関係が、
ΣFu>ΣFd
となること。
D) 上記押し上げ力Fuをプラス値とし、放出面に土が当たることによって生じる押し上げ力の減少分と、押し付け力Fdとをマイナス値として、放出面の最終部分での値がプラスとなること。 - 押し上げ力の総和ΣFuと押し付け力Fdの総和ΣFdの比率がほぼ8:2となるようにブレード面の形状が設定されたことを特徴とする請求項1記載のショベルのドーザ。
- ブレード面が、曲率の異なる複数の曲面が連続する面として形成されたことを特徴とする請求項1または2記載のショベルのドーザ。
- ブレードが、下部走行体に対するドーザアームの取付点を中心として上下方向に移動可能に設けられ、上記ドーザアームの取付点の高さ位置が、ブレード接地状態で放出面の高さ範囲内に設定されたことを特徴とする請求項1乃至3のいずれか1項に記載のショベルのドーザ。
- ブレード面の高さ寸法Hと幅寸法Wとが、
W=4.4〜5.7×H
の関係に設定されたことを特徴とする請求項1乃至4のいずれか1項に記載のショベルのドーザ。 - ブレードが下部走行体の進行方向と直交して設けられたことを特徴とする請求項1乃至5のいずれか1項に記載のショベルのドーザ。
Priority Applications (6)
| Application Number | Priority Date | Filing Date | Title |
|---|---|---|---|
| JP2004120588A JP2005299330A (ja) | 2004-04-15 | 2004-04-15 | ショベルのドーザ |
| EP05102879A EP1586711B1 (en) | 2004-04-15 | 2005-04-12 | Excavator with dozer unit |
| DE602005023931T DE602005023931D1 (de) | 2004-04-15 | 2005-04-12 | Bagger mit Planiereinheit |
| AT05102879T ATE483859T1 (de) | 2004-04-15 | 2005-04-12 | Bagger mit planiereinheit |
| US11/103,548 US7048072B2 (en) | 2004-04-15 | 2005-04-12 | Excavator |
| CNB2005100652684A CN100371540C (zh) | 2004-04-15 | 2005-04-15 | 挖掘机 |
Applications Claiming Priority (1)
| Application Number | Priority Date | Filing Date | Title |
|---|---|---|---|
| JP2004120588A JP2005299330A (ja) | 2004-04-15 | 2004-04-15 | ショベルのドーザ |
Publications (1)
| Publication Number | Publication Date |
|---|---|
| JP2005299330A true JP2005299330A (ja) | 2005-10-27 |
Family
ID=34939245
Family Applications (1)
| Application Number | Title | Priority Date | Filing Date |
|---|---|---|---|
| JP2004120588A Pending JP2005299330A (ja) | 2004-04-15 | 2004-04-15 | ショベルのドーザ |
Country Status (6)
| Country | Link |
|---|---|
| US (1) | US7048072B2 (ja) |
| EP (1) | EP1586711B1 (ja) |
| JP (1) | JP2005299330A (ja) |
| CN (1) | CN100371540C (ja) |
| AT (1) | ATE483859T1 (ja) |
| DE (1) | DE602005023931D1 (ja) |
Families Citing this family (4)
| Publication number | Priority date | Publication date | Assignee | Title |
|---|---|---|---|---|
| BE1019294A4 (nl) * | 2010-04-16 | 2012-05-08 | Lille Allenbroer Leo Alix De | Vlakstelmechanisme en machine omvattende een dergelijk mechanisme. |
| CN105484304B (zh) * | 2014-09-16 | 2018-08-03 | 徐工集团工程机械股份有限公司 | 一种铲掘系统及包含该铲掘系统的平地机 |
| US9945096B2 (en) | 2016-02-10 | 2018-04-17 | Deere & Company | Force-based work vehicle blade pitch control |
| CN106467421A (zh) * | 2016-09-27 | 2017-03-01 | 机科发展科技股份有限公司 | 铲泥板翻堆机 |
Citations (5)
| Publication number | Priority date | Publication date | Assignee | Title |
|---|---|---|---|---|
| JPH04231523A (ja) * | 1990-12-28 | 1992-08-20 | Iseki & Co Ltd | 超小型ショベルカーの排土装置 |
| JP2532631Y2 (ja) * | 1991-11-08 | 1997-04-16 | 新キャタピラー三菱株式会社 | ブレード装置 |
| JP2001040692A (ja) * | 1999-07-30 | 2001-02-13 | Hitachi Constr Mach Co Ltd | 断面形状くの字型のカッティングエッジを装着した地均し作業を行う建設機械のブレードの構造 |
| JP2001049685A (ja) * | 1999-08-05 | 2001-02-20 | Isao Kenmochi | 油圧ショベルのブレード装置 |
| JP2001355254A (ja) * | 2000-06-14 | 2001-12-26 | Echigo Shoji Kk | 駆動車に設けられた排土体に付設する集土体 |
Family Cites Families (20)
| Publication number | Priority date | Publication date | Assignee | Title |
|---|---|---|---|---|
| US2169606A (en) * | 1936-02-15 | 1939-08-15 | Emsco Derrick & Equip Co | Bulldozer attachment for tractors |
| US3685592A (en) * | 1970-09-15 | 1972-08-22 | Case Co J I | Fluid cushioned dozer blade |
| US4019587A (en) * | 1976-05-17 | 1977-04-26 | Caterpillar Tractor Co. | Work vehicle having variable curvature blade assembly |
| FR2450913A1 (fr) * | 1979-03-08 | 1980-10-03 | Takeuchi Manufacturing Cy Ltd | Pelle retrocaveuse giratoire a lame |
| DE3039364A1 (de) * | 1980-10-18 | 1982-05-19 | Dr.Ing.H.C. F. Porsche Ag, 7000 Stuttgart | Raeum- und abstuetzschild fuer bergefahrzeuge, insbesondere fuer bergepanzer |
| DE3043153A1 (de) * | 1980-11-15 | 1982-06-03 | Hanomag GmbH, 3000 Hannover | Mit einem schneidmesser versehener planierschild fuer erdbewegungsmaschinen |
| DE8528068U1 (de) * | 1985-10-02 | 1985-11-14 | Straus, Reinhold, 6950 Mosbach | Planiergerät mit Planierschild, insbesondere für Raupenfahrzeuge |
| DE3644497A1 (de) * | 1986-12-24 | 1988-07-07 | Schaeff Karl Gmbh & Co | Mehrzweckschild an einem baggerfahrzeug |
| US5018284A (en) * | 1987-03-31 | 1991-05-28 | Japan as represented by Director of Construction Machinery Works of Hokkaido Development Bureau | Snow plow for vehicles |
| CN2139596Y (zh) * | 1992-12-01 | 1993-08-04 | 负建军 | 可调铲面多功能推土机 |
| DE59406556D1 (de) * | 1993-06-11 | 1998-09-03 | Zaugg Ag Eggiwil | Schneepflug |
| CA2109172C (en) * | 1993-10-25 | 2005-02-01 | 177197 Canada Ltee | Snow plow with deformable moldboard |
| US5950141A (en) * | 1996-02-07 | 1999-09-07 | Komatsu Ltd. | Dozing system for bulldozer |
| JP3378479B2 (ja) * | 1997-09-19 | 2003-02-17 | 株式会社クボタ | 旋回作業機のトラックフレーム |
| CN2318269Y (zh) * | 1997-12-18 | 1999-05-12 | 张文明 | 一种带三角锥体的推土铲 |
| CN2375673Y (zh) * | 1999-05-20 | 2000-04-26 | 王志文 | 耐磨推土铲 |
| JP2002322688A (ja) * | 2001-04-25 | 2002-11-08 | Wakichi Kaneko | 上水道水凍結防止器 |
| JP2002322668A (ja) * | 2001-04-27 | 2002-11-08 | Hitachi Constr Mach Co Ltd | 旋回式建設機械及び該機械による傾斜地での作業方法 |
| CN2506701Y (zh) * | 2001-05-18 | 2002-08-21 | 黄河工程机械集团有限责任公司 | 推土机组合式铲刀 |
| JP4023392B2 (ja) | 2003-05-29 | 2007-12-19 | コベルコ建機株式会社 | ドーザ装置付き油圧ショベル |
-
2004
- 2004-04-15 JP JP2004120588A patent/JP2005299330A/ja active Pending
-
2005
- 2005-04-12 EP EP05102879A patent/EP1586711B1/en not_active Expired - Lifetime
- 2005-04-12 AT AT05102879T patent/ATE483859T1/de not_active IP Right Cessation
- 2005-04-12 DE DE602005023931T patent/DE602005023931D1/de not_active Expired - Lifetime
- 2005-04-12 US US11/103,548 patent/US7048072B2/en not_active Expired - Fee Related
- 2005-04-15 CN CNB2005100652684A patent/CN100371540C/zh not_active Expired - Fee Related
Patent Citations (5)
| Publication number | Priority date | Publication date | Assignee | Title |
|---|---|---|---|---|
| JPH04231523A (ja) * | 1990-12-28 | 1992-08-20 | Iseki & Co Ltd | 超小型ショベルカーの排土装置 |
| JP2532631Y2 (ja) * | 1991-11-08 | 1997-04-16 | 新キャタピラー三菱株式会社 | ブレード装置 |
| JP2001040692A (ja) * | 1999-07-30 | 2001-02-13 | Hitachi Constr Mach Co Ltd | 断面形状くの字型のカッティングエッジを装着した地均し作業を行う建設機械のブレードの構造 |
| JP2001049685A (ja) * | 1999-08-05 | 2001-02-20 | Isao Kenmochi | 油圧ショベルのブレード装置 |
| JP2001355254A (ja) * | 2000-06-14 | 2001-12-26 | Echigo Shoji Kk | 駆動車に設けられた排土体に付設する集土体 |
Also Published As
| Publication number | Publication date |
|---|---|
| CN100371540C (zh) | 2008-02-27 |
| EP1586711A3 (en) | 2006-12-13 |
| EP1586711A2 (en) | 2005-10-19 |
| ATE483859T1 (de) | 2010-10-15 |
| CN1683721A (zh) | 2005-10-19 |
| EP1586711B1 (en) | 2010-10-06 |
| US20050230129A1 (en) | 2005-10-20 |
| US7048072B2 (en) | 2006-05-23 |
| DE602005023931D1 (de) | 2010-11-18 |
Similar Documents
| Publication | Publication Date | Title |
|---|---|---|
| JP5566542B1 (ja) | 掘削バケット及び作業車両 | |
| CN1711399A (zh) | 作业机械用刮板及具有该刮板的建筑·土木机械 | |
| EP2466014B1 (en) | Linkage arrangement | |
| US20090178817A1 (en) | Blade device for working machine and working machine mounting blade device | |
| JP2005299330A (ja) | ショベルのドーザ | |
| JP4689252B2 (ja) | 作業機械用ブレード装置と同ブレード装置を備えた作業機械 | |
| WO2007032191A1 (ja) | 作業機械用ブレード装置およびこれが搭載された作業機械 | |
| CN209260793U (zh) | 一种带有碎土装置的推土机 | |
| CN212926214U (zh) | 一种推铲 | |
| CN101258290B (zh) | 用于工程机械的铲刀装置及搭载有该装置的工程机械 | |
| CN205257823U (zh) | 一种销轴更换装置和港口起重机 | |
| CN208501766U (zh) | 边沟一次成型用挖斗 | |
| CN108487367B (zh) | 一种平地机和推土机及犁雪机用刀头 | |
| CN211006808U (zh) | 一种新型推土铲 | |
| CN214656723U (zh) | 一种用于铲雪机上的铲雪板 | |
| CN221399147U (zh) | 一种适用于路基排水沟施工的挖斗 | |
| CN204139240U (zh) | 挖掘机铲的平齿装置 | |
| CN212358405U (zh) | 移动式整平装置 | |
| CN204098102U (zh) | 一种可调整宽度的平地机 | |
| CN221298012U (zh) | 一种可调角度的推土机 | |
| CN204753670U (zh) | 带铲刀的成槽机抓斗和成槽机 | |
| CN218200423U (zh) | 刮板输送机中部槽防飘溜装置 | |
| CN211898630U (zh) | 一种渠道成型装置 | |
| CN209457065U (zh) | 一种用于排水沟槽快速开挖修坡的一体化施工装置 | |
| CN210066861U (zh) | 一种自动调节铲斗水平的场地平整用推土机 |
Legal Events
| Date | Code | Title | Description |
|---|---|---|---|
| A621 | Written request for application examination |
Free format text: JAPANESE INTERMEDIATE CODE: A621 Effective date: 20061222 |
|
| A977 | Report on retrieval |
Free format text: JAPANESE INTERMEDIATE CODE: A971007 Effective date: 20090821 |
|
| A131 | Notification of reasons for refusal |
Free format text: JAPANESE INTERMEDIATE CODE: A131 Effective date: 20100406 |
|
| A521 | Request for written amendment filed |
Free format text: JAPANESE INTERMEDIATE CODE: A523 Effective date: 20100604 |
|
| A131 | Notification of reasons for refusal |
Free format text: JAPANESE INTERMEDIATE CODE: A131 Effective date: 20110222 |
|
| A02 | Decision of refusal |
Free format text: JAPANESE INTERMEDIATE CODE: A02 Effective date: 20110906 |
