JP2005298214A - 給紙装置 - Google Patents
給紙装置 Download PDFInfo
- Publication number
- JP2005298214A JP2005298214A JP2005072654A JP2005072654A JP2005298214A JP 2005298214 A JP2005298214 A JP 2005298214A JP 2005072654 A JP2005072654 A JP 2005072654A JP 2005072654 A JP2005072654 A JP 2005072654A JP 2005298214 A JP2005298214 A JP 2005298214A
- Authority
- JP
- Japan
- Prior art keywords
- paper
- sheet
- height
- uppermost
- suction mechanism
- Prior art date
- Legal status (The legal status is an assumption and is not a legal conclusion. Google has not performed a legal analysis and makes no representation as to the accuracy of the status listed.)
- Pending
Links
- 238000001514 detection method Methods 0.000 claims description 12
- 238000011143 downstream manufacturing Methods 0.000 claims description 11
- 230000007423 decrease Effects 0.000 claims description 2
- 239000000463 material Substances 0.000 description 8
- 238000000034 method Methods 0.000 description 5
- JOYRKODLDBILNP-UHFFFAOYSA-N Ethyl urethane Chemical compound CCOC(N)=O JOYRKODLDBILNP-UHFFFAOYSA-N 0.000 description 3
- 238000007664 blowing Methods 0.000 description 3
- 210000000078 claw Anatomy 0.000 description 3
- 238000012840 feeding operation Methods 0.000 description 3
- 238000001179 sorption measurement Methods 0.000 description 3
- 238000011144 upstream manufacturing Methods 0.000 description 3
- 229910052782 aluminium Inorganic materials 0.000 description 2
- XAGFODPZIPBFFR-UHFFFAOYSA-N aluminium Chemical compound [Al] XAGFODPZIPBFFR-UHFFFAOYSA-N 0.000 description 2
- 229920001971 elastomer Polymers 0.000 description 2
- 229910052751 metal Inorganic materials 0.000 description 2
- 239000002184 metal Substances 0.000 description 2
- 239000005060 rubber Substances 0.000 description 2
- 238000000926 separation method Methods 0.000 description 2
- 244000043261 Hevea brasiliensis Species 0.000 description 1
- 238000013459 approach Methods 0.000 description 1
- 239000000919 ceramic Substances 0.000 description 1
- 238000010586 diagram Methods 0.000 description 1
- 239000013013 elastic material Substances 0.000 description 1
- 239000000203 mixture Substances 0.000 description 1
- 229920003052 natural elastomer Polymers 0.000 description 1
- 229920001194 natural rubber Polymers 0.000 description 1
- 239000000123 paper Substances 0.000 description 1
- 239000000088 plastic resin Substances 0.000 description 1
- 238000007790 scraping Methods 0.000 description 1
- 229910001220 stainless steel Inorganic materials 0.000 description 1
- 239000010935 stainless steel Substances 0.000 description 1
- 229920003051 synthetic elastomer Polymers 0.000 description 1
- 239000005061 synthetic rubber Substances 0.000 description 1
Images
Landscapes
- Sheets, Magazines, And Separation Thereof (AREA)
Abstract
【課題】 印刷機やラミネ一夕一等の加工機において、安価で簡素な構成により確実に最上位の用紙を繰り出すことが可能な給紙装置を提供する。
【解決手段】 吸着機構4の近傍に用紙押さえ手段Pを設ける。吸着機構4が用紙Sを吸着する際に用紙押さえ手段Pが用紙Sを押さえ付ける。この押さえ付けによって用紙Sのカール部分がほぼ平面になり、吸着機構4が最上位の用紙S1を吸着し易くなると共に、真の用紙最上面高さが高さセンサZ、Zにより検出されるので、用紙最上面を吸着機構4の吸着し易い高さに常に保つことができる。
【選択図】 図13
【解決手段】 吸着機構4の近傍に用紙押さえ手段Pを設ける。吸着機構4が用紙Sを吸着する際に用紙押さえ手段Pが用紙Sを押さえ付ける。この押さえ付けによって用紙Sのカール部分がほぼ平面になり、吸着機構4が最上位の用紙S1を吸着し易くなると共に、真の用紙最上面高さが高さセンサZ、Zにより検出されるので、用紙最上面を吸着機構4の吸着し易い高さに常に保つことができる。
【選択図】 図13
Description
本発明は、印刷機や各種光沢加工機(以下、便宜上、単にラミネ一夕という)等において、上流の紙乗せ台に積載された複数の用紙からその最上位の枚葉用紙を一枚ずつ下流の工程へ繰り出すための給紙装置に関する。
従来、前記の印刷機やラミネ一夕は、印刷や光沢加工を施す用紙を一枚ずつ繰り出す給紙装置を工程の最上流に配置している。このような給紙装置は、加工を施す用紙を工程の最上流に積載しておき、前記積載されている複数の用紙の最上面に位置する用紙を一枚ずつ、吸着パッドやフィードローラ等の用紙繰り出し手段により下流の加工工程へ繋がる搬送経路へ繰り出している。
ところで、前記のように加工を施すために積載された複数の用紙は、サイズ、種類、紙目、周囲の環境(温度や湿度)等に起因して、殆どの場合カールを起こしている。そして、このような用紙のカールは、当然、用紙繰り出し手段により最上面から確実に用紙を一枚ずつ繰り出す際に不具合を引き起こすのである。
前記のような条件でも確実に一枚ずつ最上位の用紙を繰り出す手段として、特開2003−171022号公報や実開平6−59346号公報に各種手段が開示されている。
特開2003−171022号公報
実開平6−59346号公報
前記の特開2003−171022号公報に開示された給紙装置は、紙置き台上に載置された印刷用紙の下面における中央部を支持する第1の支持部材と、印刷用紙の下面におけるコーナー部を支持する第2の支持部材と、紙置き台上に載置された印刷用紙の上面の高さ位置を検出する高さセンサと、高さセンサからの信号に基づいて回転するモータの駆動により昇降する昇降ねじとを備えるもので、最上位の用紙を常に水平に保つものである。
しかし、前記給紙装置は、用紙のカール形状が比較的単純で規則性がある場合には有効に機能するものの、凹凸が用紙全体に渡って複数個所に不規則に発生するような場合は、限られた高さセンサで全表面状態を確認して最上位の用紙を常に水平に制御することは不可能である。仮に高さセンサによる全表面状態の確認ができたとしても、全ての凹凸に下面の支持部材を対応させることは技術的に困難である。
一方、前記実開平6−59346号公報に開示された印刷機給紙装置では、枚葉紙束の上部に吹き出しノズルからエアーが噴出され、それにより浮上した最上位の枚葉紙が吸着フットで吸着されて印刷工程に搬送される。浮上した枚葉紙の量は2個所の光電センサによって検出され、枚葉紙にカールが生じている場合、その傾斜角が求められる。枚葉紙にカールが生じていては、吸着フットの吸着面が枚葉紙に対して平行に位置せず、吸着フットによる確実な吸着ができない。そこで、本従来技術では、駆動モータを駆動させ、傾斜角に応じて吸着フットを回動させて、吸着面を枚葉紙に平行に位置させるものである。
しかし、前記印刷機給紙装置は、複数の高さセンサやその信号に制御されて複雑な動作をする部材を必要とするため、精密且つ極めて高価で大掛かりな装置となる。
従って、本発明の解決するべき課題は、かかる問題に鑑み、印刷機やラミネ一夕一等の加工機において、安価で簡素な構成により確実に最上位の用紙を繰り出すことが可能な給紙装置を提供することにある。
上記課題を解決するために本発明の給紙装置は、紙乗せ台に積載された複数の用紙からその最上位の用紙を一枚ずつ下流の工程へ用紙繰り出し手段により順次繰り出す給紙装置において、
前記用紙繰り出し手段の作動に適合する複数用紙の目標の最上面高さを設定すると共に前記用紙の繰り出しに伴って低下する複数用紙の実際の最上面高さを高さセンサで検出し、前記高さセンサの検出信号に基づいて紙乗せ台を上昇させると共にそれによって前記実際の最上面高さを前記目標の最上面高さに自動的に保持するようにした制御機構と、前記制御機構における高さセンサ及び用紙繰り出し手段の各作動に際して複数用紙の最上面を下方に押さえ付けて平面化する用紙押さえ手段とを設けたことを特徴としている。
前記用紙繰り出し手段の作動に適合する複数用紙の目標の最上面高さを設定すると共に前記用紙の繰り出しに伴って低下する複数用紙の実際の最上面高さを高さセンサで検出し、前記高さセンサの検出信号に基づいて紙乗せ台を上昇させると共にそれによって前記実際の最上面高さを前記目標の最上面高さに自動的に保持するようにした制御機構と、前記制御機構における高さセンサ及び用紙繰り出し手段の各作動に際して複数用紙の最上面を下方に押さえ付けて平面化する用紙押さえ手段とを設けたことを特徴としている。
前記構成によれば最小限の高さセンサで確実に最上位の用紙高さを検出し、それにより吸着機構が最良に機能する用紙最上面の高さを常に保つことにより、下流への連続繰り出しが可能になるのである。
前記用紙押さえ手段が、例えば、複数用紙の最上面を用紙繰り出し方向に対してほぼ直角の横幅方向に沿って配置されていてもよく、また高さセンサが、例えば、用紙押さえ手段又はその近傍に、用紙の繰り出し方向に対してほぼ直角の横幅方向に沿って配置されていてもよい。前記用紙押さえ手段が、用紙繰り出し手段と連動して作動するように構成してもよい。
前記用紙繰り出し手段としては、例えば、紙乗せ台に積載された複数の用紙からその最上位の用紙を吸着して下流の工程に繰り出すようにした吸着機構を好適に採用することができる。
ところで給紙装置に閲し、本発明者は、既に特願2003−201396号(特開2005−8404号)において、各種用紙に対応した極めて効率的な給紙装置を提供しているが、その動作を以下に説明する。
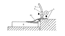
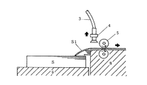
図1及び図2に示すように、ストッカ9には複数の用紙Sが積載され、その最上位の用紙S1の上方に用紙繰り出し手段としての吸着機構4が配置されている。この吸着機構4は、チューブ3によりエアーコンプレッサ(図示省略)と連結されており、その先端には前記最上位の用紙S1を吸引して吸い付けるゴム製の吸盤が設けられている。そして、ストッカ9の右側における下流工程方向には搬送テーブル8が近接して配置されている。この搬送テーブル8には、吸着機構4により一枚ずつ移送されてくる前記最上位の用紙S1を右側の下流工程へ送り出すための搬送ローラ5、5が上下に配置されている。なお、複数の用紙を捌いて最上位の用紙S1一枚のみを搬送テーブル8に移送するための補助手段として、積載されている用紙Sの間に、搬送テーブル8から用紙S側面に向けて吹き出すエアーブロー10により空気を送り込み、特に吸着機構4付近の密着した用紙の間に空気層を形成して、一枚一枚分離し易くしたり、また二枚目以降の用紙が最上位の用紙S1と一緒に持ち上げられないように用紙端部を引っ掛ける爪6を設けたり、さらに誤って複数の用紙を持ち上げたときに二枚目以降の用紙を掻き落とすためのブラシ7等を設けたりする。
図3に示すように、吸着機構4に吸引された用紙S1は、前記の爪6やブラシ7の捌き作用に助けられて二枚目以降の用紙から分離され、それによってこの用紙S1のみが持ち上げられる。その後、図4に示すように、吸着機構4が、用紙S1を吸着したまま、右側の下流工程へ搬送するための搬送テーブル8へと移動し、用紙S1の先端部分が、上下の搬送ローラ5、5の間におさまる位置で、図5に示すように、吸着機構4と共に搬送テーブル8の上面へ降下し、所定の位置に配置される。そして、上部搬送ローラ5が降下し、用紙S1の先端部分を上下の搬送ローラ5、5の間に挟み込むのである。続いて、図6に示すように、吸着を解除した吸着機構4は用紙S1を残して上昇し、残された用紙S1は、搬送ローラ5、5の回転により右側の下流の工程へと搬送される。なお、前記構成に代えて、搬送されてきた用紙S1の先端部分が、常時閉じられた状態にある接触した一対の搬送ローラ5、5の間に挟み込まれるように構成することもできる。
なお、前記供給手段では、吸着機構4が吸着した用紙S1を上下の搬送ローラ5、5間に移動させる際に用紙S1の進行方向前側端部が垂れ下がった場合に、それが搬送テーブル8の角に突き当たり、折れ曲がって紙詰まり等の事故を起こさないように、用紙S1の前側端部を持ち上げ角度を付けて移動させるようにしている。そしてさらに、例えば搬送テーブル8における吸着機構4が通過する側の角を斜面にして、垂れ下がった用紙S1の前側端部が突き当たらないような構造も採用可能としている。
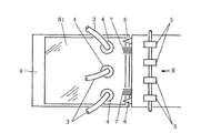
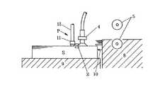
前記供給手段では、例えば図7に示すように、図1中のX方向から見た場合、積載された複数の用紙の最上面と同じ高さ又はほぼ同じ高さに、繰り出し方向にほぼ直角の横幅方向に沿って、前記用紙最上面の高さを光線の導通により検出し得るように光電式の高さセンサZ、Zを配置しておけばよく、これによって吸着機構4の作動に適合する複数用紙の目標の最上面高さが設定されたことになる。吸着機構4は丁度高さセンサZ、Zの検出高さ付近で程良く吸着動作が行えるように調整されており、実際の用紙の最上面高さが用紙の連続繰り出しにより前記目標の最上面高さ、即ち高さセンサ検出高さまで低下し或いはそれより低下した場合に、高さセンサZ、Zが用紙の最上面を検出する位置或いはそれを若干超える一定の位置までストッカ9が上昇するようにしておけば、ストレスのない円滑な用紙の連続繰り出しが可能になるのである。
しかるに前記のような構成の場合、例えば図8及び図9に示すように用紙がカールを起こしていると、高さセンサZ、Zが用紙最上面の見掛けの高さを検出してしまい、正しい高さを検出することができない。従って、このような場合、真の用紙最上面は吸着機構4の適性な動作位置まで上昇していないことになり、そのため吸着機構4は首尾良く吸着動作を行えず、吸着ミスを起こして作業の中断や紙詰まり等を発生させるのである。
本発明では、前記のような場合に高さセンサが誤って前記見掛けの最上面高さを検出しないように、カールして変形した用紙最上面を上方から用紙押さえ手段により下方に押し付けることにより真の最上面を形成させ、その最上面高さを高さセンサで検出して、用紙最上面を吸着機構が十分に機能する正しい高さに保つようにするものである。
前記用紙押さえ手段の形状、構造や材質、取り付け位置等に格別な制限はない。
前記用紙押さえ手段の形状としては、例えば横長の押さえ部材を用紙繰り出し方向に対してほぼ直角の横幅方向に沿って形成する場合、その断面は円、楕円、それらの組み合わせ、三角、四角、それ以上の多角形やその他直線や曲線の組み合わせからなるもの等が採用できる。また、前記横長の押さえ部材が、長手方向全てに渡って同一の断面形状を呈する必要はなく、さらに必ずしも連続している必要もなく、各要所を部分的に押さえ付けるものであってもよい。
前記用紙押さえ手段の形状としては、例えば横長の押さえ部材を用紙繰り出し方向に対してほぼ直角の横幅方向に沿って形成する場合、その断面は円、楕円、それらの組み合わせ、三角、四角、それ以上の多角形やその他直線や曲線の組み合わせからなるもの等が採用できる。また、前記横長の押さえ部材が、長手方向全てに渡って同一の断面形状を呈する必要はなく、さらに必ずしも連続している必要もなく、各要所を部分的に押さえ付けるものであってもよい。
前記用紙押さえ手段の材質としては、例えば公知の金属、プラスチック樹脂、紙、セラミック、合成ゴム、天然ゴム及びそれらの混合材等で剛性及び/又は弾性を備えたものを好適に使用することができる。また、前記用紙押さえ手段において、部分的に剛性を備えた材質を採用し、残りの部分に弾性を備えた材質を組み合わせても構わず、例えば全体をアルミやステンレス等の金属で構成し、最上位の用紙と接触する部分にウレタンやスポンジ等のクッション性のある材質を貼付する等して該用紙と弾力的に接触させ、最上位の用紙を効果的に下方に押し付けると共にその押し付け時に最上位の用紙表面に傷や汚れを生じさせないようにしてもよい。
また、前記用紙押さえ手段における最上位の用紙と接触する部分以外の何れかの部分に、前記と同様の目的でバネ等によるクッション性を付与しておいても構わない。
前記用紙押さえ手段の取り付け位置としては、高さセンサの検出方向に沿ってその前後何れの位置を押さえても構わず、場合によっては複数の用紙押さえ手段を取り付けても構わない。そして、用紙押さえ手段を複数配置した場合、何れかの中間位置で高さセンサによる検出が行われていてもよい。用紙押さえ手段は、高さセンサの検出を妨げないようにする必要があり、例えば高さセンサが光電式の場合にそれから放射される光線を跨ぐような形状を採用してもよい。用紙押さえ手段が光線を透過させる透明や半透明な材質からなる場合には、該用紙押さえ手段と高さセンサの両者が同じ場所に形成されていても構わない。
なお、用紙押さえ手段又はその近傍に吸着機構の吸着位置を設定しておけば、用紙押さえ手段の近辺の用紙最上面が強制的に押さえ付けられて平面に近づくため、吸着機構の機能もより果たし易くなるという二重の効果が望める。
本発明によれば、印刷機やラミネ一夕一等の加工機の給紙装置において、安価で簡素な用紙押さえ手段を設けるだけで容易に真の用紙最上面の高さが検知可能となり、それによって用紙繰り出し手段が十分機能する用紙最上面の適正な位置を常に保持することができ、大掛かりで複雑且つ高価な構成を用いることなく、最上位の用紙を確実に繰り出すことが可能となる。
また、本発明によれば、用紙押さえ手段に押さえ付けられた用紙最上面は平面に近くなるため、その近辺に用紙繰り出し手段を作用させることによりより効果的な繰り出し動作が可能になる。
以下に、発明の実施の形態を実施例に基づき図面を参照して説明する。
図1は、基本的な給紙装置の要部概念平面図、図2〜6は、基本的な給紙装置における用紙繰り出し動作を経時的に説明するものであり、図2は、吸着機構が最上位の用紙を吸着した状態を示す要部概念側面図、図3は、吸着機構が最上位の用紙を吸着して持ち上げた状態を示す要部概念側面図、図4は、吸着機構が最上位の用紙を吸着し持ち上げつつ搬送テーブル上方の所定位置に移動した状態を示す要部概念側面図、図5は、吸着機構が最上位の用紙を吸着しつつ搬送テーブル上の所定位置に降下した状態を示す要部概念側面図、図6は、吸着機構が最上位の用紙の吸着を解除すると共に該用紙を搬送ローラによる搬送に供した状態を示す要部概念側面図である。
図1は、基本的な給紙装置の要部概念平面図、図2〜6は、基本的な給紙装置における用紙繰り出し動作を経時的に説明するものであり、図2は、吸着機構が最上位の用紙を吸着した状態を示す要部概念側面図、図3は、吸着機構が最上位の用紙を吸着して持ち上げた状態を示す要部概念側面図、図4は、吸着機構が最上位の用紙を吸着し持ち上げつつ搬送テーブル上方の所定位置に移動した状態を示す要部概念側面図、図5は、吸着機構が最上位の用紙を吸着しつつ搬送テーブル上の所定位置に降下した状態を示す要部概念側面図、図6は、吸着機構が最上位の用紙の吸着を解除すると共に該用紙を搬送ローラによる搬送に供した状態を示す要部概念側面図である。
図7は、図1〜6に示す基本的な給紙装置に高さセンサを設けた構成の給紙装置において、用紙最上面にカールがない場合の高さセンサの検出位置を図1中のX方向から見た要部概念背面図、図8は、図7に示す給紙装置において、用紙最上面に下方に湾曲したカールがある場合の高さセンサの検出位置を図1中のX方向から見た要部概念背面図、図9は、図7に示す給紙装置において、用紙最上面に上方に湾曲したカールがある場合の高さセンサの検出位置を図1中のX方向から見た要部概念背面図である。
図10は、図1〜6に示す基本的な給紙装置に高さセンサと用紙押さえ手段とを設けた構成の、本発明の実施例に係る給紙装置の要部概念平面図、図11は図10に示す給紙装置の要部概念側面図である。
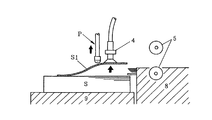
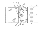
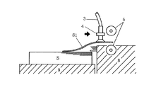
図12〜14は、図10〜11に示す本発明の実施例に係る給紙装置における用紙押さえ動作及び用紙繰り出し動作を経時的に説明するものであり、図12は、用紙最上面に下方に湾曲したカールがある場合の用紙押さえ手段の作動準備状態を図10中のY方向から見た要部概念背面図、図13は、下方に湾曲したカールがある用紙最上位の用紙押さえ手段による押し付け状態とその状態における高さセンサの検出位置とを図10中のY方向から見た要部概念背面図、図14は、最上位の用紙を吸着機構により吸着して繰り出す動作を示す要部概念側面図である。
図10及び11に示すように、本発明に係る給紙装置の用紙押さえ手段Pは、吸着機構4の左側に配置されたアルミからなる断面四角状のバー11(下部に蒲鉾型のウレタンからなるクッション材が装着されている。)と、それを固定する2本の支柱12から構成される。本実施例では、前記用紙押さえ手段Pは吸着機構4と連動して作動するように構成され、従って、該用紙押さえ手段Pが、例えば吸着機構4をその本体部分に固定している部材(図示省略)と直接、或いは支柱12を介して図示されていない何れかの部分を介して連結されていても構わない。なお、前記のように連動する構成に代えて、前記用紙押さえ手段Pと吸着機構4とが、互いに独立して動作を行っても構わない。なお、前記のように、断面四角状のバー11下部に蒲鉾型のウレタンからなるクッション材が装着される代わりに、例えば、前記バー11より薄手の板状体にゴムが貼着されてもよい。
図12に示すように、吸着機構4と用紙押さえ手段Pは、当初、両外側が上向きにカールしている用紙Sの上方に配置されている。そして、図13に示すように、吸着機構4が最上位の用紙S1を吸着するために降下すると同時に用紙押さえ手段Pも降下し、それによって前記用紙押さえ手段Pが用紙Sの両外側のカールを押さえ付け、結果的に用紙Sがほぼ平面状態になり、その状態で吸着機構4は最上位の用紙S1を容易に吸着することができる。この時の状態は、丁度図10及び11に示される状態に一致する。
本実施例においても、既述のように、複数の用紙を捌いて最上位の用紙S1一枚のみを搬送テーブル8に移送するための補助手段として、積載されている用紙Sの間に、搬送テーブル8から用紙S側面に向けて吹き出すエアーブロー10により空気を送り込み、特に吸着機構4付近の密着した用紙の間に空気層を形成して、一枚一枚分離し易くしてもよい。
このようなエアーブロー機構では、元来、そのエアーブロー10が弱すぎると、所期の作用効果が発揮されないので用紙Sは良好に分離されず、一方、そのエアーブロー10が強すぎると、用紙Sがばらばらになって位置ずれの原因になるが、本発明に係る給紙装置に前記エアーブロー機構が採用された場合は、用紙Sが用紙押さえ手段Pにより下方に押さえ付けられているため、エアーブロー10を強くしても用紙Sがばらばらになって位置ずれを起こすことはない。この場合、用紙Sにおける用紙押さえ手段Pより右側、即ちエアーブロー10の吹き出し側にある用紙S部分は分離されて良好に捌かれ、一方、用紙押さえ手段Pより左側、即ちエアーブロー10の吹き出し側と反対の側にある用紙S部分は用紙押さえ手段Pの押さえ付けによりエアーブロー10が遮断されて通過しないので安定に位置決めされ、ばらつきが防止されるのである。
なお、前記動作前に、吸着機構4が適正に作動し得る用紙最上面の真の高さが設定されていなければならない。そのためには、予め用紙押さえ手段を一度稼働させておいて、用紙最上面の真の高さを設定しておく必要がある。用紙高さの制御態様として、例えば、前記設定高さより若干低い位置に光線が導通し得るように高さセンサZ、Zを配置しておき、用紙の連続繰り出しにより用紙最上面高さが高さセンサZ、Zの前記光線高さより低下した場合に、制御機構Cによりストッカ9を上昇させると共に該用紙最上面高さを元の高さに復帰させるように制御してもよい。
なお、図9に示すように、仮に用紙Sが中央部分を頂点に両外側が下向きにカールしていたとしても、用紙押さえ手段Pが下降して中央部分を下方へ押さえ付けるため、結果的には図13や図10〜11に示すように、吸着機構4がほぼ平面状態にされた最上位の用紙S1を吸着することになる。このような原理は、他の複雑なカールの場合にも共通しており、用紙押さえ手段Pの存在により、前記と同様に、吸着機構4はほぼ平面状態となった最上位の用紙S1を確実に吸着することができる。
また、前記のように、吸着機構4と同時に下降する用紙押さえ手段Pが、その動作中に最上位の用紙S1をほぼ平面状態にする際に、高さセンサZ、Zがその平面状態の真の最上面を検出するために、最上位の用紙S1は常に吸着機構4が最良の機能を発揮する高さに保たれるのである。
その後、図14に示すように、吸着機構4は、最上位の用紙S1を吸着したまま用紙押さえ手段Pと同時に上昇し、図4、5及び6に経時的に示す動作に沿って最上位の用紙S1を下流の工程に繰り出すのである。
このようにして、本発明の給紙装置によれば、仮に複雑にカールした用紙であっても、用紙押さえ手段Pの作用により、常に吸着機構4が最良の機能を発揮する高さに最上面の位置を保つことができ、カールが押さえられて平面状態の真の最上面が形成されるので、吸着機構4が確実に最上位の用紙S1を吸着することができるのである。
なお、本発明は上記実施例に限定されるものではない。例えば、高さセンサの形式等は実施例中の形式に限定されることはなく透過型、反射型、ミラー反射型、その他公知の形式を採用することができる。また、最上位の用紙の繰り出し手段として本実施例では吸着機構を採用しているが、それ以外にフィードローラ等による繰出し手段等、公知の方法を採用し得ることはいうまでもない。
本発明は、印刷機やラミネ一夕等の光沢加工機における給紙装置等、上流の紙乗せ台に積載された複数の用紙からその最上位の枚葉用紙を一枚ずつ下流の工程へ繰り出すに際して、真の最上面を高さセンサ等で検出する必要がある幅広い分野において利用することが可能である。
S、S1 用紙
Z 高さセンサ
P 用紙押さえ手段
C 制御機構
3 チューブ
4 吸着機構
5 搬送ローラ
6 爪
7 ブラシ
8 搬送テーブル
9 ストッカ
10 エアーブロー
11 バー
12 支柱
Z 高さセンサ
P 用紙押さえ手段
C 制御機構
3 チューブ
4 吸着機構
5 搬送ローラ
6 爪
7 ブラシ
8 搬送テーブル
9 ストッカ
10 エアーブロー
11 バー
12 支柱
Claims (5)
- 紙乗せ台に積載された複数の用紙からその最上位の用紙を一枚ずつ下流の工程へ用紙繰り出し手段により順次繰り出すようにした給紙装置において、
前記用紙繰り出し手段の作動に適合する複数用紙の目標の最上面高さを設定すると共に前記用紙の繰り出しに伴って低下する複数用紙の実際の最上面高さを高さセンサで検出し、前記高さセンサの検出信号に基づいて紙乗せ台を上昇させると共にそれによって前記実際の最上面高さを前記目標の最上面高さに自動的に保持するようにした制御機構と、前記制御機構における高さセンサ及び用紙繰り出し手段の各作動に際して複数用紙の最上面を下方に押さえ付けて平面化する用紙押さえ手段とを設けたことを特徴とする給紙装置。 - 用紙押さえ手段が、複数用紙の最上面を用紙繰り出し方向に対してほぼ直角の横幅方向に沿って配置された請求項1に記載の給紙装置。
- 高さセンサが、用紙押さえ手段又はその近傍に、用紙の繰り出し方向に対してほぼ直角の横幅方向に沿って配置された請求項1に記載の給紙装置。
- 用紙繰り出し手段が、紙乗せ台に積載された複数の用紙からその最上位の用紙を吸着して下流の工程に繰り出すようにした吸着機構からなる請求項1に記載の給紙装置。
- 用紙押さえ手段が、用紙繰り出し手段と連動して作動する請求項1〜4の何れかに記載の給紙装置。
Priority Applications (1)
| Application Number | Priority Date | Filing Date | Title |
|---|---|---|---|
| JP2005072654A JP2005298214A (ja) | 2004-03-16 | 2005-03-15 | 給紙装置 |
Applications Claiming Priority (2)
| Application Number | Priority Date | Filing Date | Title |
|---|---|---|---|
| JP2004117356 | 2004-03-16 | ||
| JP2005072654A JP2005298214A (ja) | 2004-03-16 | 2005-03-15 | 給紙装置 |
Publications (1)
| Publication Number | Publication Date |
|---|---|
| JP2005298214A true JP2005298214A (ja) | 2005-10-27 |
Family
ID=35330223
Family Applications (1)
| Application Number | Title | Priority Date | Filing Date |
|---|---|---|---|
| JP2005072654A Pending JP2005298214A (ja) | 2004-03-16 | 2005-03-15 | 給紙装置 |
Country Status (1)
| Country | Link |
|---|---|
| JP (1) | JP2005298214A (ja) |
Cited By (4)
| Publication number | Priority date | Publication date | Assignee | Title |
|---|---|---|---|---|
| JP2021042017A (ja) * | 2019-09-09 | 2021-03-18 | 株式会社喜和ホールディングス | シート分離装置 |
| KR20210031148A (ko) * | 2019-09-11 | 2021-03-19 | 주식회사 디에이테크놀로지 | 이차전지 셀 제조용 전극 픽앤플레이스 장치 및 방법 |
| CN115656044A (zh) * | 2022-10-27 | 2023-01-31 | 郑州市毛庄印刷有限公司 | 一种印刷质量自动检测系统 |
| JP2023533974A (ja) * | 2020-07-09 | 2023-08-07 | コーニング インコーポレイテッド | 基板装置及び方法 |
-
2005
- 2005-03-15 JP JP2005072654A patent/JP2005298214A/ja active Pending
Cited By (6)
| Publication number | Priority date | Publication date | Assignee | Title |
|---|---|---|---|---|
| JP2021042017A (ja) * | 2019-09-09 | 2021-03-18 | 株式会社喜和ホールディングス | シート分離装置 |
| KR20210031148A (ko) * | 2019-09-11 | 2021-03-19 | 주식회사 디에이테크놀로지 | 이차전지 셀 제조용 전극 픽앤플레이스 장치 및 방법 |
| KR102256369B1 (ko) * | 2019-09-11 | 2021-05-27 | 주식회사 디에이테크놀로지 | 이차전지 셀 제조용 전극 픽앤플레이스 장치 및 방법 |
| JP2023533974A (ja) * | 2020-07-09 | 2023-08-07 | コーニング インコーポレイテッド | 基板装置及び方法 |
| JP7734180B2 (ja) | 2020-07-09 | 2025-09-04 | コーニング インコーポレイテッド | 基板装置及び方法 |
| CN115656044A (zh) * | 2022-10-27 | 2023-01-31 | 郑州市毛庄印刷有限公司 | 一种印刷质量自动检测系统 |
Similar Documents
| Publication | Publication Date | Title |
|---|---|---|
| CN107010432B (zh) | 片材供给装置 | |
| CN202072319U (zh) | 薄片件供给装置 | |
| JP7091028B2 (ja) | エア給紙装置、エア給紙装置における給紙台昇降制御方法 | |
| CN110872024A (zh) | 图像检查装置 | |
| JP6988508B2 (ja) | 熱可塑性繊維強化プラスチックシートの搬送方法、搬送装置、及び搬送システム | |
| JP2007297150A (ja) | シート材取り出し供給装置及びシート材取り出し供給方法 | |
| JP7204284B2 (ja) | 媒体供給装置 | |
| JP5098780B2 (ja) | 紙葉類の供給装置、紙葉類の供給方法、及び、区分装置 | |
| JP3952448B2 (ja) | 積重ねたシートのピックアップ方法と同装置 | |
| JP2003171022A (ja) | 給紙装置 | |
| JP2005298214A (ja) | 給紙装置 | |
| JP3801973B2 (ja) | シート給送装置及び画像形成装置 | |
| CN111204601B (zh) | 介质供给装置 | |
| JP2016216210A (ja) | 金属製の枚葉シートのフィード装置 | |
| JP2021050016A (ja) | ラベル貼付装置 | |
| JP2021017333A (ja) | 制御装置および給送装置 | |
| KR101151581B1 (ko) | 용지 공급 장치 | |
| JP2019147687A (ja) | 給紙装置 | |
| JP2006069728A (ja) | 自動給紙装置 | |
| CN114537804A (zh) | 一种小册子分页装置和方法 | |
| JP2021102482A (ja) | ラベル受け渡し装置 | |
| JP2001039556A (ja) | 給紙装置 | |
| JPH09301559A (ja) | 紙葉類分離装置 | |
| JP5969729B1 (ja) | ラベル貼付装置 | |
| JP7461757B2 (ja) | 媒体供給装置 |