JP2005297853A - トレーラ - Google Patents

トレーラ Download PDF

Info

Publication number
JP2005297853A
JP2005297853A JP2004119219A JP2004119219A JP2005297853A JP 2005297853 A JP2005297853 A JP 2005297853A JP 2004119219 A JP2004119219 A JP 2004119219A JP 2004119219 A JP2004119219 A JP 2004119219A JP 2005297853 A JP2005297853 A JP 2005297853A
Authority
JP
Japan
Prior art keywords
floor
loading platform
concave groove
trailer
shaped
Prior art date
Legal status (The legal status is an assumption and is not a legal conclusion. Google has not performed a legal analysis and makes no representation as to the accuracy of the status listed.)
Pending
Application number
JP2004119219A
Other languages
English (en)
Inventor
Kenji Yoshitani
健二 芳谷
Yuji Nawata
雄次 縄田
Masahiko Kaneko
雅彦 金子
Taiji Yamada
泰治 山田
Current Assignee (The listed assignees may be inaccurate. Google has not performed a legal analysis and makes no representation or warranty as to the accuracy of the list.)
Tokyu Car Corp
JFE Logistics Corp
Original Assignee
Tokyu Car Corp
JFE Logistics Corp
Priority date (The priority date is an assumption and is not a legal conclusion. Google has not performed a legal analysis and makes no representation as to the accuracy of the date listed.)
Filing date
Publication date
Application filed by Tokyu Car Corp, JFE Logistics Corp filed Critical Tokyu Car Corp
Priority to JP2004119219A priority Critical patent/JP2005297853A/ja
Publication of JP2005297853A publication Critical patent/JP2005297853A/ja
Pending legal-status Critical Current

Links

Images

Landscapes

  • Loading Or Unloading Of Vehicles (AREA)

Abstract

【課題】 コイル状重量物の搬送が可能なトレーラを様々な用途に使用可能とする。また、コイル状重量物の荷役作業の円滑化を図る。
【解決手段】 可動式の床板22の姿勢を変化させることで、平床とV字状床との転換を行う。床板22の、荷台の幅方向中央部に設けた凹溝24に覆い被さる部分を、凹溝24に落し込むことによってV字状床を構成するので、V字状床の形成時におけるコイル状重量物74L、74Sの搭載高さを低く抑えることが可能となる。よって、コイル状重量物の荷役作業をより円滑に行うことが可能となる。しかも、コイル状重量物の積載時における、トレーラの重心を低く抑え、より安定した走行が可能となる。
【選択図】 図5

Description

本発明は、コイル状重量物の搬送が可能なトレーラに関するものである。
従来から、コイル状重量物の搬送が可能な荷台を備えたトレーラが発明されている(例えば、特許文献1参照。)。
米国特許第6190100号明細書
本発明は、コイル状重量物の搬送が可能なトレーラを様々な用途に使用可能とすることにある。また、コイル状重量物の荷役作業をより円滑に行うことを可能とすることにある。
上記課題を解決するための、本発明に係るトレーラは、床構成部材の姿勢を変更することによって、平床またはV字状床を形成可能な荷台を備えることを特徴とするものである。
本発明によれば、貨物の荷役作業時に、床構成部材の姿勢を変更することのみによって、汎用性の高い平床と、V字状床、すなわち、コイル状重量物の外周面を下方から挟み込むようにして支持することで搭載時の安定性を高めることが可能な床とを、1台のトレーラでありながら、必要に応じて使い分けることが可能となる。
また、当該トレーラにおいて、荷台の少なくとも一部に、荷台の幅方向中央部で二分割された可動式の床板を備え、当該床板に水平姿勢を取らせることで前記平床が形成され、 当該床板の荷台外側端部が荷台中央側端部に比して高い傾斜姿勢を取らせることで前記V字状床が形成されるものである。
この構成によれば、可動式の床板の姿勢を変化させることで、荷台の形状を平床とV字状床との転換が可能となる。
また、当該トレーラにおいて、荷台の幅方向中央部を荷台前後方向に延びる凹溝を備え、前記床板は、その一部が前記凹溝に覆い被さるように配置されていることが望ましい。
本発明によれば、床板の、荷台の幅方向中央部に設けた凹溝に覆い被さる部分を、凹溝に落し込むことによってV字状床を構成することが可能となり、V字状床の形成時における貨物の搭載高さを低く抑えることが可能となる。また、床板の凹溝に覆い被さる部分以外の部分は、凹溝から斜め上方へと突出し、広い面積の傾斜面を形成することとなるので、コイル状重量物の直径が比較的小径の物から比較的大径の物まで、適切な部位を安定支持することが可能となる。
さらに、前記凹溝を構成する面には、前記V字状床の形成時に前記床板の下面の一部が密着するための、荷台幅方向外側から荷台幅方向中央部へ向けて下降する傾斜面が含まれることが望ましい。
この構成により、床板の下面の一部が凹溝の傾斜面に当接し、前記V字状床の形成時における、前記床板の姿勢の安定性を高めることが可能となる。
さらに、前記凹溝の外縁を構成する稜線が、前記床板の姿勢変化時の回転中心として機能することが望ましい。
この構成は、荷台の構造物に床板をヒンジ結合することなく、床板の姿勢変化を可能とするものであり、ヒンジを用いた場合に憂慮される当該ヒンジへの荷重の集中が生じ得ず、可動式の床板の可動機構の信頼性を高めることができる。
さらに、当該トレーラが、前記床板の姿勢変化に係るアクチュエータを備えることが望ましい。このアクチュエータによって、荷台の形状を平床とV字状床との間で転換させる作業の、容易化を図ることができる。
加えて、前記V字状床の形成時における前記床板の姿勢変化を阻止するための、前記床板下面に挿入されるストッパを備えることが望ましい。
このストッパによって、前記V字状床の形成時における前記床板の姿勢変化を阻止し、前記V字状床の形成時における、前記床板の姿勢の安定性をより一層高めることが可能となる。
また、本発明の一実施例として、前記トレーラが、前記ストッパの未装着状態を表示する警報手段を備えることとしてもよい。
この警報手段によって、前記V字状床の形成時における作業者の点検作業の簡便化を図ることができる。
具体的には、前記警報手段は、前記ストッパの存在を検知して開放するエアバルブと、当該エアバルブを介して供給されるエアにより作動するエアシリンダと、当該エアシリンダに駆動され、ストッパの装着未完了時に荷台上に突出し、装着完了時に荷台下に格納される表示部材とを備えるものとすることができる。
本発明によれば、エア駆動によって荷台下に格納される表示部材により、ストッパの装着完了を作業者に明確に認知させることができる。
また、上記各構成とは異なり、当該トレーラにおいて、荷台の少なくとも一部に設けられた、荷台の幅方向中央部を荷台前後方向に延びる断面V字状の凹溝と、荷台の幅方向で対称形をなし、前記凹溝を構成する傾斜面に自らの傾斜面を密着させた状態で前記凹溝内に格納可能なブロック対とを備え、当該ブロック対が前記凹溝内に格納された状態で前記平床が形成され、前記ブロック対が前記凹溝の外縁に沿って荷台上に載置された状態で、前記ブロック対の傾斜面と前記凹溝の傾斜面とにより前記V字状床が構成されるものとすることも可能である。
本発明によれば、ブロック対の姿勢を変化させることのみによって、汎用性の高い平床と、V字状床とを、1台のトレーラでありながら、必要に応じて使い分けることが可能となる。しかも、V字状床を構成する傾斜面が凹溝の傾斜面とブロック対の傾斜面との連続面として形成されることから、広い面積の傾斜面を形成することとなり、コイル状重量物の直径が比較的小径の物から比較的大径の物まで、適切な部位を安定支持することが可能となる。また、V字状床の底部は凹溝の底部でもあることから、V字状床は荷台に落し込まれるように構成されることとなり、V字状床の形成時における貨物の搭載高さを低く抑えることが可能となる。
また、かかるトレーラは、前記V字状床の構成時に、前記ブロック対の位置を固定するステーキを着脱自在に備えることが望ましい。
本発明によれば、前記V字状床の構成時に、ステーキによってブロック対の位置を固定することで、前記V字状床の形成時における、ブロック対の安定性をより一層高めることが可能となる。
なお、上記各構成を備える低床式トレーラとすることで、V字状床の形成時における貨物の搭載高さをより低く抑えることができる。
本発明はこのように構成したので、コイル状重量物の搬送が可能なトレーラを様々な用途に使用可能とすることが可能となる。また、コイル状重量物の荷役作業をより円滑に行うことが可能となる。
以下、本発明を実施するための最良の形態を添付図面に基づいて説明する。なお、従来技術と同一部分、若しくは相当する部分については同一符号で示し、詳しい説明を省略する。
図1および図2には、本発明の実施の形態に係るトレーラ12を示している。このトレーラ12は、いわゆる低床式トレーラであり、床構成部材の姿勢を変更することによって、平床またはV字状床を形成可能な荷台14を備えるものである。図示のトレーラ12は、荷台14の前方寄りの一定範囲には第1の床形状転換構造16を備え、荷台14の後方寄りの一定範囲には第2の床形状転換構造18を備えている。また、荷台14は、図1に示すように、電動開閉式の幌20によって覆われている。
まず、第1の床形状転換構造16について、図2〜図9を参照しながら説明する。
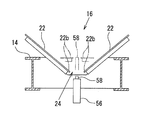
第1の床形状転換構造16は、荷台14の少なくとも一部に、荷台の幅方向中央部で二分割された可動式の床板22を備えている。そして、図4(a)、図5(a)に示すように、床板22に水平姿勢を取らせることで平床が形成される。一方、図4(b)、図5(b)に示すように、床板22の荷台外側端部22aが荷台中央側端部22bに比して高い傾斜姿勢を取らせることで、V字状床が形成されるものである。
また、荷台14には、幅方向中央部を荷台前後方向に延びる凹溝24が設けられている。この凹溝24は、荷台14を構成する複数の横根太26の、荷台幅方向中央部に、荷台幅方向外側から荷台幅方向中央部へ向けて下降する傾斜面28aを有する凹部28(図4(a)、図5(a)参照)を形成し、各横根太26の凹部28を荷台前後方向につなぐようにして板材30で覆うことにより、形成されている。したがって、凹溝24は、各横根太26の凹部28を構成する傾斜面28aに倣った、板材30からなる傾斜面30aをその構成面として有している。そして、床板22は、図4(a)、図5(a)に示すように、その一部が凹溝24に覆い被さるように配置されている。
また、第1の床形状転換構造16は、床板22の姿勢変化に係るアクチュエータ32を備えている。アクチュエータ32は、図4に示すように、高圧エアを受けてシリンダロッド34aを伸長させるエアシリンダ34と、内部に封入されたスプリングによってシリンダロッド36aを伸長させ、エアシリンダ34のシリンダロッド34aを押戻すスプリングシリンダ36と、シリンダロッド34a、36aの伸縮動作を、コネクティングロッド38の昇降動作に変換するリンク機構40とを備えている。なお、コネクティングロッド38は、床板22の荷台外側端部22aと、凹溝24の外縁を構成する稜線24aとの間で、床板22の下面に対し軸着されている。図示の例では、このアクチュエータ32は床板22一枚につき一箇所づつ設けられている。
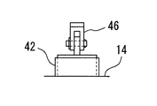
さらに、図5に示すように、床板22の荷台外側端部22aと、凹溝24の外縁を構成する稜線24aとの間の、床板22の下面には、ガイドポスト42が軸着されている。ガイドポスト42は、荷台14に固定されたガイドスリーブ44の内部を上下に摺動自在となっており、ガイドポスト42がガイドスリーブ44内を昇降することにより、床板22に所定の姿勢変化を誘導するガイド手段として機能する。なお、ガイドポスト42は、図3(a)に示すように、床板22一枚につき三箇所づつ設けられている。また、図6には、ガイドポスト42と床板22の下面とをつなぐジョイント46を拡大して示している。
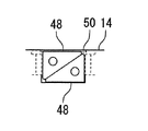
また、第1の床形状転換構造16は、図4(c)に示すように、V字状床の形成時における床板22の姿勢変化を阻止するための、床板22の下面と荷台14との間に挿入されるストッパ48を備えている。ストッパ48は三角形のブロックである。また、未使用時、すなわち、平床の形成時には、ストッパ48は荷台14に形成された収納ポケット50(図3(b)、図7)に、二個一組で収納され、使用時、すなわちV字状溝の形成時には収納ポケット50から取り出され、床板22の荷台外側端部22aと、凹溝24の外縁を構成する稜線24aとの間の、床板22の下面と荷台14との間の複数箇所(図3の例では床板22一枚につき8箇所)に挿入されることで、床板22の全体が安定支持される。なお、図4(c)に示すように、荷台14には、床板22の下面および荷台14に対するストッパ48の密着状態を維持するため、ストッパ48の位置決め用突起52が固定されている。
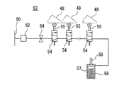
さらに、第1の床形状転換構造16は、図8にその概略的構成を示すように、ストッパ48の未装着状態を表示するための警報手段53を、必要に応じて設けることもできる。警報手段53の警報手段は、床板22の下面と荷台14との間の複数箇所に挿入されたストッパ48の存在を、各挿入箇所毎に検知して、開放状態となるエアバルブ54(本実施の形態では、ストッパ48の全数と同数(8×2=16箇所)だけ設けられている。)と、エアバルブ54を介して供給されるエアにより作動するエアシリンダ56と、エアシリンダ56に駆動される表示部材58を備えている。なお、図示の例では、エアシリンダ56のシリンダロッドを表示部材58として用いている。
エアバルブ54は、三ポート二位置切換弁でかつ常時閉の弁であるが、ストッパ48が所定の位置に挿入されることで、開放位置へと切り替わるように、ストッパ48の検出杆55を備えている。なお、ストッパ55の検出は、センサ等を用い電気的に行うことも可能であり、その場合には、エアバルブ54にも電磁バルブを採用する。さらに、エアバルブ54に対し、トレーラ12に既存のエア供給ライン60(ブレーキサプライライン等)から、プロテクションバルブ62、手動コック64を介して、高圧エアが供給される回路構成を有している。
エアシリンダ56の内部には、表示部材58を常時上方へと付勢するためのコイルスプリング57が設けられており、通常は、表示部材58は図9に仮想線で示すように荷台14上に突出し、その先端部が、平床形成時に水平姿勢をとる床板22の、荷台中央側端部22bの隙間に隠れるような状態となっている。しかしながら、V字状床の形成時には、床板22は荷台中央側端部22bを凹溝24に落ち込むことで、表示部材58は凹溝24の底面から上方へと突出した状態が、明確に視認されることとなる。
一方、手動コック64を開放して、エアバルブ54に高圧エアを供給すると、エアバルブ54が全て開状態にあるとき(すなわち、全てのストッパ48の装着完了時。)には、高圧エアはエアシリンダ56へと供給され、コイルスプリング57の付勢力に抗して、表示部材58を下方へと押し下げる。よって、表示部材58は図9に実線で示すように、荷台14の凹24の更に下方(荷台下)に格納される。他方、複数のエアバルブの54の一つでも閉状態にあるとき(すなわち、ストッパ48の装着未完了時。)には、高圧エアはエアシリンダ56へは供給されず、表示部材58は、凹溝24の底面から上方へと突出した状態が維持される。
続いて、トレーラ12の、第2の床形状転換構造18について、図2、図10、図11を参照しながら説明する。
第2の床形状転換構造18は、荷台14の少なくとも一部に設けられた、荷台14の幅方向中央部を荷台前後方向に延びる断面V字状の凹溝24を備えている。凹溝24については、第1の床形状転換構造16と同様であることから、詳しい説明を省略する。そして、第2の床形状転換構造18は、荷台14の幅方向で対称形をなし、凹溝24を構成する傾斜面30aに自らの傾斜面66a、66aを密着させた状態で、凹溝24内に格納可能なブロック対66を備えている。また、ブロック対66、66は、図10(b)に符号A〜Kを付して示すように、荷台14の前後方向に等間隔となるように、複数対(図示の例では11対)設けられている。
そして、図11(a)に示すように、ブロック対66、66が凹溝24内に格納された状態で平床が形成され、図11(b)に示すように、ブロック対66、66が凹溝24の外縁(稜線24a)に沿って平床上に載置された状態で、ブロック対66、66の傾斜面66a、66aと凹溝24の傾斜面30aとによりV字状床が構成される。
なお、図10(b)に示すように、V字状床の形成時には、ブロック対66、66の傾斜面66a、66aは、一定間隔で帯状に立ちあがり、一定幅の帯状のコイル支持体を構成するものであるが、図10(a)に示すように平床の形成時には、凹溝24の全体を覆い隠すことが可能となるように、ブロック対66、66の水平面66b、66bには、カバープレート68、68が固定されている。なおカバープレート68は、各ブロック66、66毎に独立して設ける必要はなく、図10(a)に示す例では、カバープレート68Bにはブロック対66B、66Cが固定され、カバープレート68Dにはブロック対66E、66Fが固定され、カバープレート68Fにはブロック対66H、66Iが固定されており、カバープレートの数は全部で十六枚(8×2=16)となっている。
さらに、第2の床形状転換構造18は、図10(b)、図11(b)に示すV字状床の構成時に、カバープレート68、68の位置決めを行うことによってブロック対66、66の位置を固定するための、複数のステーキ70を、着脱自在に備えている。なお、ステーキ70は、荷台14に設けられたステーキポケット72に対し、向きを変えて指し込むことで、図11(a)に示すように荷台14の下方に隠れる格納状態と、図11(b)に示す突出状態とを変更することができる。そして、図11(b)に示す突出状態では、ステーキ70の位置決め突起70aが、カバープレート68、68、またはブロック対66、66の鉛直面66c、66cと当接し、ブロック対66、66の位置を固定することができる。
なお、図示の例では、ブロック対66、66の姿勢を、図11(a)に示す格納状態と、図11(b)に示す突出状態との間で変更する際には、作業者が、カバープレート68、68と一体になったブロック対66、66を各々持上げて、向きおよび載置場所を変更する作業手順をとるものである。しかしながら、例えば、ブロック対66、66を凹溝24の稜線24aにおいて荷台14に軸着することとすれば、カバープレート68、68と共にブロック対66、66を回転させることによって、格納状態と突出状態との変更が可能となる。なお、この場合には、ブロック対66、66の回転作業時にブロック対66、66同士が干渉しないように、ブロック対66、66の鉛直面66c、66cの形状を若干切り欠く必要がある。
上記構成をなす本発明の実施の形態により得られる作用効果は、以下の通りである。まず、本発明の実施の形態に係る第1、第2の床形状転換構造16、18よれば、貨物の荷役作業時に、床構成部材(床板22若しくはブロック対66,66)の姿勢を変更することのみによって、汎用性の高い平床と、V字状床、すなわち、図5(b)、図11(b)に二点鎖線で示すコイル状重量物74L、74Sの外周面を、下方から挟み込むようにして支持することで搭載時の安定性を高めることが可能な床とを、1台のトレーラ12でありながら、必要に応じて使い分けることが可能となる。
そして、第1の床形状転換構造16の場合には、可動式の床板22の姿勢を変化させることで、荷台の形状を平床とV字状床との間で転換することが可能となる。
しかも、床板22の、荷台の幅方向中央部に設けた凹溝24に覆い被さる部分を、図4(b)、図5(b)に示すように、凹溝24に落し込むことによってV字状床を構成することが可能となるので、V字状床の形成時におけるコイル状重量物74L、74Sの搭載高さを低く抑えることが可能となる。よって、コイル状重量物の荷役作業をより円滑に行うことが可能となる。しかも、コイル状重量物の積載時における、トレーラ12の重心を低く抑え、より安定した走行が可能となる。
また、床板22の凹溝24に覆い被さる部分以外の部分は、図4(b)、図5(b)に示すように、凹溝から斜め上方へと突出し、広い面積の傾斜面を形成することとなるので、コイル状重量物の直径が比較的小径の物74Sから比較的大径の物74Lまで、床板22を適切な部位に当接させ、これらの貨物を安定支持することが可能となる。
なお、凹溝24の断面形状は図示の例に限定されるものではないが、凹溝24を構成する面には、V字状床の形成時に床板22の下面の一部が密着するための、荷台幅方向外側から荷台幅方向中央部へ向けて下降する傾斜面30aが含まれることで、床板22の下面の一部が凹溝24の傾斜面30aに当接し、V字状床の形成時における、床板22の姿勢の安定性をより高めることができる。
さらに、第1の床形状転換構造16では、凹溝24の外縁を構成する稜線24aが、床板の姿勢変化時の回転中心として機能するものである。この構成によれば、荷台14の構造物に床板22をヒンジ結合することなく、床板22の姿勢変化を可能とし、ヒンジを用いた場合に憂慮される当該ヒンジへの荷重の集中が生じ得ず、可動式の床板22の、可動機構の信頼性をより高めることに貢献している。
なお、床板22には、ガイドスリーブ44内を昇降するガイドポスト42が軸着されていることにより、床板22を荷台14にヒンジ結合することなく、床板22に所定の姿勢変化を誘導することが可能となっている。
また、床板22の姿勢変化に係るアクチュエータ32を備えることで、荷台の形状を平床とV字状床との間で転換させる作業の容易化を図ることができる。なお、当該転換作業にアクチュエータを用いることなく、人力によって行うこととすれば、第1の床形状転換構造16はより簡素なものとなる。
また、第1の床形状転換構造16では、ストッパ48によって、V字状床の形成時における床板22の姿勢変化を阻止し、V字状床の形成時における、前記床板の姿勢の安定性をより一層高めている。
さらに、第1の床形状転換構造16に、ストッパ48の未装着状態を表示する警報手段53を設けることとすれば、V字状床の形成時における作業者の点検作業の簡便化を図ることができる。警報手段53は、ストッパ48の存在を検知して開放するエアバルブ54と、エアバルブ54を介して供給されるエアにより作動するエアシリンダ56と、エアシリンダ56に駆動され、ストッパ48の装着未完了時に荷台14上に突出し、装着完了時に荷台下に格納される表示部材58とを備えるものであり、エア駆動によって荷台下に格納される表示部材58により、ストッパの装着完了を作業者に明確に認知させることができる。
一方、第2の床形状転換構造18によっても、ブロック対66、66の姿勢を変化させることのみによって、汎用性の高い平床(図10(a)、図11(a))と、V字状床(図11(a)、図11(b))とを、1台のトレーラ12でありながら、必要に応じて使い分けることが可能となる。
しかも、V字状床を構成する傾斜面が凹溝24の傾斜面24aとブロック対66、66の傾斜面66a、66aとの連続面として形成されることから、広い面積の傾斜面を形成することとなり、コイル状重量物の直径が比較的小径の物74Sから比較的大径の物74Lまで、傾斜面24aまたは傾斜面66aを適切な部位に当接させ、これらの貨物を安定支持することが可能となる。また、V字状床の底部は凹溝24の底部でもあることから、V字状床の底部は荷台14に落し込まれるように構成されることとなり、V字状床の形成時における貨物の搭載高さを低く抑えることが可能となる。よって、コイル状重量物の荷役作業をより円滑に行うことが可能となる。また、コイル状重量物の積載時における、トレーラ12の重心を低く抑え、より安定した走行が可能となる。
さらに、V字状床の構成時には、ステーキ70によってブロック対66、66の位置を固定することで、V字状床の形成時における、ブロック対の安定性をより一層高めることが可能となる。
なお、本発明の実施の形態では、第1の床形状転換構造16、第2の床形状転換構造18を、1台の低床式トレーラ12に組み込んだ例を示しているが、いずれか一方の構造に統一してトレーラに組み込むこととしても良い。特に、第1の床形状転換構造16に統一した場合には、床形状の転換作業が容易となる。一方、第2の床形状転換構造18に統一した場合には、低床式トレーラ12への適用が容易となる。
いずれにしても、コイル状重量物の搬送時における荷役作業をより円滑に行うことを可能としつつ、必要に応じて荷台14の形状を平床に転換することで、様々な積荷の搬送が可能となり、1台のトレーラ12を、様々な用途に使用することが可能となる。
本発明の実施の形態に係るトレーラの側面図である。 図1に示すトレーラの平面図である。 本発明の実施の形態に係る、第1の床形状転換構造の詳細図であり、(a)はトレーラの幅方向の半分のみを示す平面図、(b)は(a)の側面図である。 図3(a)のA−A線における断面図であり、(a)は平床の形成時を、(b)はV字状の床の形成時を、(c)はV字状の床の形成時においてストッパを挿入した状態を、夫々示している。 図3(a)のB−B線における断面図であり、(a)は平床の形成時を、(b)はV字状の床の形成時を示している。 第1の床形状転換構造の、ガイドポストと床板の下面とをつなぐジョイントを示す拡大図である。 第1の床形状転換構造の、荷台に形成された収納ポケットに格納されるストッパを示す図である。 第1の床形状転換構造の、ストッパの未装着状態を表示するための警報手段を示す概略図である。 図8に示す警報手段の作動状態を示す模式図である。 本発明の実施の形態に係る、第2の床形状転換構造を備えたトレーラの荷台の平面図であり、(a)は平床の形成時を、(b)はV字状の床形成時を示している。 本発明の実施の形態に係る、第2の床形状転換構造を備えたトレーラの荷台の断面を示すものであり、(a)は図10(a)のA線における断面図、(b)は図10(b)のB線における断面図である。
符号の説明
12:トレーラ、14:荷台、16:第1の床形状転換構造、18:第2の床形状転換構造、22:床板、22a:荷台外側端部、22b:荷台中央側端部、24:凹溝、24a:稜線、30a:傾斜面、32:アクチュエータ、34:エアシリンダ、34a:シリンダロッド、36:スプリングシリンダ、36a:シリンダロッド、38:コネクティングロッド、40:リンク機構、42:ガイドポスト、44:ガイドスリーブ、48:ストッパ、53:警報手段、54:エアバルブ、56:エアシリンダ、57:コイルスプリング、58:表示部材、66:ブロック対、66a:傾斜面、68:カバープレート、70:ステーキ

Claims (12)

  1. 床構成部材の姿勢を変更することによって、平床またはV字状床を形成可能な荷台を備えることを特徴とするトレーラ。
  2. 荷台の少なくとも一部に、荷台の幅方向中央部で二分割された可動式の床板を備え、
    当該床板に水平姿勢を取らせることで前記平床が形成され、
    当該床板の荷台外側端部が荷台中央側端部に比して高い傾斜姿勢を取らせることで前記V字状床が形成されることを特徴とする請求項1記載のトレーラ。
  3. 荷台の幅方向中央部を荷台前後方向に延びる凹溝を備え、前記床板は、その一部が前記凹溝に覆い被さるように配置されていることを特徴とする請求項2記載のトレーラ。
  4. 前記凹溝を構成する面には、前記V字状床の形成時に前記床板の下面の一部が密着するための、荷台幅方向外側から荷台幅方向中央部へ向けて下降する傾斜面が含まれることを特徴とする請求項3記載のトレーラ。
  5. 前記凹溝の外縁を構成する稜線が、前記床板の姿勢変化時の回転中心として機能することを特徴とする請求項2から4のいずれか1項記載のトレーラ。
  6. 前記床板の姿勢変化に係るアクチュエータを備えることを特徴とする請求項2から5のいずれか1項記載のトレーラ。
  7. 前記V字状床の形成時における前記床板の姿勢変化を阻止するための、前記床板下面に挿入されるストッパを備えることを特徴とする請求項2から6のいずれか1項記載のトレーラ。
  8. 前記ストッパの未装着状態を表示する警報手段を備えることを特徴とする請求項7記載のトレーラ。
  9. 前記警報手段は、前記ストッパの存在を検知して開放するエアバルブと、当該エアバルブを介して供給されるエアにより作動するエアシリンダと、当該エアシリンダに駆動され、ストッパの装着未完了時に荷台上に突出し、装着完了時に荷台下に格納される表示部材とを備えることを特徴とする請求項8記載のトレーラ。
  10. 荷台の少なくとも一部に設けられた、荷台の幅方向中央部を荷台前後方向に延びる断面V字状の凹溝と、荷台の幅方向で対称形をなし、前記凹溝を構成する傾斜面に自らの傾斜面を密着させた状態で前記凹溝内に格納可能なブロック対とを備え、
    当該ブロック対が前記凹溝内に格納された状態で前記平床が形成され、
    前記ブロック対が前記凹溝の外縁に沿って荷台上に載置された状態で、前記ブロック対の傾斜面と前記凹溝の傾斜面とにより前記V字状床が構成されることを特徴とする請求項1記載のトレーラ。
  11. 前記V字状床の構成時に、前記ブロック対の位置を固定するステーキを着脱自在に備えることを特徴とする請求項10記載のトレーラ。
  12. 請求項1から11のいずれか1項記載の低床式トレーラ。
JP2004119219A 2004-04-14 2004-04-14 トレーラ Pending JP2005297853A (ja)

Priority Applications (1)

Application Number Priority Date Filing Date Title
JP2004119219A JP2005297853A (ja) 2004-04-14 2004-04-14 トレーラ

Applications Claiming Priority (1)

Application Number Priority Date Filing Date Title
JP2004119219A JP2005297853A (ja) 2004-04-14 2004-04-14 トレーラ

Publications (1)

Publication Number Publication Date
JP2005297853A true JP2005297853A (ja) 2005-10-27

Family

ID=35329912

Family Applications (1)

Application Number Title Priority Date Filing Date
JP2004119219A Pending JP2005297853A (ja) 2004-04-14 2004-04-14 トレーラ

Country Status (1)

Country Link
JP (1) JP2005297853A (ja)

Citations (4)

* Cited by examiner, † Cited by third party
Publication number Priority date Publication date Assignee Title
JPS49112314A (ja) * 1973-02-14 1974-10-25
JPS60176838A (ja) * 1984-02-22 1985-09-10 Shin Meiwa Ind Co Ltd 運搬車
JPS6234830A (ja) * 1985-08-08 1987-02-14 ベルテイル・イサクソン 円形状物の転動防止装置
JPS63115841U (ja) * 1987-01-22 1988-07-26

Patent Citations (4)

* Cited by examiner, † Cited by third party
Publication number Priority date Publication date Assignee Title
JPS49112314A (ja) * 1973-02-14 1974-10-25
JPS60176838A (ja) * 1984-02-22 1985-09-10 Shin Meiwa Ind Co Ltd 運搬車
JPS6234830A (ja) * 1985-08-08 1987-02-14 ベルテイル・イサクソン 円形状物の転動防止装置
JPS63115841U (ja) * 1987-01-22 1988-07-26

Similar Documents

Publication Publication Date Title
US4754709A (en) Railroad car for containers having guides for the containers
ES2433366T3 (es) Contenedor de transporte con carga y método de estibación de carga en un contenedor de transporte
WO2007018672A3 (en) Cargo container handling system and associated method
US20140027321A1 (en) Container
JP2008505040A (ja) 船荷移送方法及び装置
US6537009B1 (en) Handler for container ship
CN108367698A (zh) 用于集装箱的运输车辆
US6637351B1 (en) Shipping pallet with retractable rails
US5927228A (en) Self-righting inflatable life-raft
JP3280632B2 (ja) コイル状重量物用パレット及び輸送容器へのコイル状重量物積載パレットの収納構造体
JP2005297853A (ja) トレーラ
WO2002049875A8 (fr) Camionnette a cabine avancee et a plate-forme de transport de marchandises ou de personnes
CN113620160A (zh) 一种货运空铁集装箱运输承载装置及其吊装方法
US20170217696A1 (en) Lift beam system
CN101304898B (zh) 负载运送箱体
CN100519329C (zh) 货船上的货物处理装置和系统
JP5570624B2 (ja) 自動車運搬船の倉内構造
DE60306545D1 (de) Behälter für schuttgut und ihn umfassendes transportsystem
JP3414781B2 (ja) 船の水平移動式荷役設備
JP4221325B2 (ja) 車輌積付け方法およびその装置
WO2018101959A1 (en) Transportation trailer with space frame
FI20011345A7 (fi) Painavan lastin, kuten teräsrullien, kuljetustaso
JP3121486U (ja) 無蓋コンテナ
US20050163602A1 (en) Pallet and conveyor system for loading onto transport
JP2007190999A (ja) 船舶

Legal Events

Date Code Title Description
A621 Written request for application examination

Free format text: JAPANESE INTERMEDIATE CODE: A621

Effective date: 20070410

A977 Report on retrieval

Free format text: JAPANESE INTERMEDIATE CODE: A971007

Effective date: 20091125

A131 Notification of reasons for refusal

Effective date: 20091216

Free format text: JAPANESE INTERMEDIATE CODE: A131

A521 Written amendment

Effective date: 20100215

Free format text: JAPANESE INTERMEDIATE CODE: A523

A131 Notification of reasons for refusal

Effective date: 20100421

Free format text: JAPANESE INTERMEDIATE CODE: A131

A02 Decision of refusal

Free format text: JAPANESE INTERMEDIATE CODE: A02

Effective date: 20100901