JP2005297618A - 車両用計器パネルの多重報知装置 - Google Patents
車両用計器パネルの多重報知装置 Download PDFInfo
- Publication number
- JP2005297618A JP2005297618A JP2004112669A JP2004112669A JP2005297618A JP 2005297618 A JP2005297618 A JP 2005297618A JP 2004112669 A JP2004112669 A JP 2004112669A JP 2004112669 A JP2004112669 A JP 2004112669A JP 2005297618 A JP2005297618 A JP 2005297618A
- Authority
- JP
- Japan
- Prior art keywords
- display
- instrument panel
- vehicle
- blinking
- display contents
- Prior art date
- Legal status (The legal status is an assumption and is not a legal conclusion. Google has not performed a legal analysis and makes no representation as to the accuracy of the status listed.)
- Pending
Links
- 230000004397 blinking Effects 0.000 claims abstract description 28
- 239000003086 colorant Substances 0.000 claims abstract description 7
- 238000001514 detection method Methods 0.000 claims description 12
- 230000003247 decreasing effect Effects 0.000 description 2
- 238000010586 diagram Methods 0.000 description 2
- 238000009792 diffusion process Methods 0.000 description 2
- 238000004904 shortening Methods 0.000 description 2
- 230000036626 alertness Effects 0.000 description 1
- 230000005540 biological transmission Effects 0.000 description 1
- 239000000446 fuel Substances 0.000 description 1
- 230000000007 visual effect Effects 0.000 description 1
Images
Landscapes
- Instrument Panels (AREA)
- Devices For Indicating Variable Information By Combining Individual Elements (AREA)
- Indicating Measured Values (AREA)
Abstract
【課題】一つの表示部で切り替え表示を行う場合に、表示内容の重要度によって重み付けをした表示をすることにより、重要度の大きい表示内容を確実且つ迅速に把握できるようにした車両用多重報知装置を提供すること。
【解決手段】車両の状態を検出するセンサ(シフト位置検出手段16等その他)が複数設けられ、前記複数のセンサに応じた表示内容をそれぞれ異なる色で印刷した表示9窓が車両の計器パネル4に設けられ、前記計器パネル4の背面側に前記表示内容の色に応じた光源(第1,第2光源13,14)がそれぞれ配設されている。また、車両用計器パネルの多重報知装置は、前記複数のセンサからの検出状態に応じて前記光源のいずれか一つを選択して点滅表示させる制御回路(演算制御回路15)を備えている。しかも、前記制御回路(演算制御回路15)は、前記複数の光源のうち前記複数の表示内容の重要度の大きいものに対応する光源の点滅条件を他の表示内容に対応する光源の点滅条件と異なる制御をするように設定されている。
【選択図】 図7
【解決手段】車両の状態を検出するセンサ(シフト位置検出手段16等その他)が複数設けられ、前記複数のセンサに応じた表示内容をそれぞれ異なる色で印刷した表示9窓が車両の計器パネル4に設けられ、前記計器パネル4の背面側に前記表示内容の色に応じた光源(第1,第2光源13,14)がそれぞれ配設されている。また、車両用計器パネルの多重報知装置は、前記複数のセンサからの検出状態に応じて前記光源のいずれか一つを選択して点滅表示させる制御回路(演算制御回路15)を備えている。しかも、前記制御回路(演算制御回路15)は、前記複数の光源のうち前記複数の表示内容の重要度の大きいものに対応する光源の点滅条件を他の表示内容に対応する光源の点滅条件と異なる制御をするように設定されている。
【選択図】 図7
Description
この発明は、車両の状態を乗員に知らせる一つの表示窓(表示枠)内に複数の報知内容を設定した車両用計器パネルの多重報知装置に関するものである。
自動車等の車両においては、計器パネルに車両の状態を乗員に知らせる警告灯や表示灯の表示部を複数設けているのが普通である。この表示灯としては例えばハイビーム表示灯,リヤフォグランプ表示灯,A/Tポジション表示灯,スリップ表示灯,接近表示灯等その他の表示灯があり、又、警告灯としては例えばエアバッグ警告灯,燃料残量警告灯,半ドア警告灯,シートベルト警告灯,ブレーキ警告灯等その他種々の警告灯がある。このような警告灯は、注意を喚起するために警告時に点滅表示させるのが一般的である。
しかも、従来から複数の警告灯のいくつか、例えば2つを一つの表示部に重ねて設定すると共に、2つの警告灯を異なる色で切り替えて点滅表示することが知られている(例えば、特許文献1参照)。
特開2001−100679号公報
ところで、このような2つの警告灯を異なる色で切り替えて点滅表示する際、その点滅表示はいずれも同じ周期で行うようにしているのが一般的である。
しかしながら、例えば通常のブレーキ操作と経済速度を維持するためのクルーズの警告では、一般的にブレーキの警告の方が重要度が高く、この際の視認時間が短くなるため、ブレーキのための警告であることが確実且つ迅速に把握できるようにするのが望ましい。
そこで、この発明は、一つの表示部で切り替え表示を行う場合に、表示内容の重要度によって重み付けをした表示をすることにより、重要度の大きい表示内容を確実且つ迅速に把握できるようにした車両用多重報知装置を提供することを目的とするものである。
この目的を達成するため、請求項1の発明は、車両の状態を検出するセンサが複数設けられ、前記複数のセンサに応じた表示内容をそれぞれ異なる色で印刷した表示窓が車両の計器パネルに設けられ、前記計器パネルの背面側に前記表示内容の色に応じた光源がそれぞれ配設されていると共に、前記複数のセンサからの検出状態に応じて前記光源のいずれか一つを選択して点滅表示させる制御回路を備える車両用計器パネルの多重報知装置であって、前記制御回路は、前記複数の光源のうち前記複数の表示内容の重要度の大きいものに対応する光源の点滅条件を他の表示内容に対応する光源の点滅条件と異なる制御をするように設定されていることを特徴とする。
この構成によれば、一つの表示部で切り替え表示を行う場合に、表示内容の重要度によって重み付けをした表示をするようにしているので、重要度の大きい表示内容を確実且つ迅速に把握できる。即ち、例えば、一つの表示部で切り替え表示を行う場合に、表示内容の重要度によって重み付けをし、重要度の大きい表示内容の点滅時間を重要度の小さい表示内容の点滅時間よりも長くしたり又は短くしたり、重要度の大きい表示内容の点滅回数を重要度の小さい表示内容の点滅回数よりも多くしたり又は少なくしたりすることで、重要度の大きい表示内容を確実且つ迅速に把握できる。
以下、この発明の実施の形態を図面に基づいて説明する。
[構成]
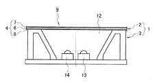
図1において、1は自動車(車両)の計器装置である、2は計器装置1のアッパハウジング、3は計器装置1のロアハウジングである。
[構成]
図1において、1は自動車(車両)の計器装置である、2は計器装置1のアッパハウジング、3は計器装置1のロアハウジングである。
アッパハウジング2は、図1に示した計器パネル4と、計器パネル4の側縁及び下縁に沿って一体に設けられたフランジ5を有する。尚、このフランジ5の先端部には計器パネル4を覆う透明カバー(図示せず)が取り付けられる。また、計器パネル4にはスピードメータ6やその他のメータ類が設けられる。
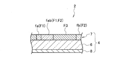
また、計器パネル4は、図4,図5に示したように透明なパネル本体(ベースパネル)6と、このパネル本体6の表面に印刷された多色印刷層7と、パネル本体6の裏面に設けられた拡散印刷層8を有する。
しかも、計器パネル4には図1に示したような表示窓(表示枠)9が設けられる。この表示窓9の部分には、図2,図3に示したような表示内容、本実施例ではパーキングの「P」と言う文字を含むカラーフィルタ(表示内容)F1と、リリースの「RELEASE」と言う文字のカラーフィルタ(表示内容)F2と、黒色の遮光フィルタF3が印刷されている。
尚、カラーフィルタF1は、「P」と言う文字フィルタLa、「P」と言う文字フィルタを囲むリングフィルタLbと、リングフィルタの左右に設けられた円弧フィルタLcを有する。
このパーキングの「P」の文字を含むカラーフィルタF1のうちリリースの「RELEASE」と言う文字のカラーフィルタF2と重なっていない第1フィルタ部faは、図6の赤色(Red)特性線10で示した赤色の光りが透過可能に設けられている。また、リリースの「RELEASE」と言う文字のカラーフィルタF2のうちパーキングの「P」の文字を含むカラーフィルタF1と重なっていない第2フィルタ部fbは、図6の青色(Blue)特性線11で示した青色の光りが透過可能に設けられている。
更に、パーキングの「P」の文字を含むカラーフィルタF1とリリースの「RELEASE」と言う文字フィルタF2の重なっている第3フィルタ部fabは赤色(Red)の光り及び青色(Blue)の光りが透過可能に設けられている。
しかも、図4に示したように、ロアハウジング3には表示窓9に対応して光源室12が形成されている。そして、光源室12内には、赤色発光ダイオード(赤色LED)からなる第1光源13と、青色発光ダイオード(青色LED)からなる第2光源14が配設されている。この第1光源13は図6の発光特性線13aで示した赤色の発光特性を有し、第2光源14は図6の発光特性線14aで示した青色の発光特性を有する。
そして、この第1,第2光源13,14は図7に示した演算制御回路15により作動制御されるようになっている。また、この演算制御回路15には、図示しないシフトレバーで変速操作される変速装置(図示せず)の変速位置を検出するシフト位置検出手段16からの検出信号が入力されるようになっている。さらに、演算制御回路15には、図示しないシフトレバーのロック解除ボタンを押したときにONされるスイッチ17からの検出信号が入力されるようになっている。
[作用]
次に、この様な構成の車両用多重報知装置の作用を説明する。
[作用]
次に、この様な構成の車両用多重報知装置の作用を説明する。
このような構成においては、シフトレバーがパーキング位置にあるのをシフト位置検出手段16が検出すると、シフト位置検出手段16からパーキング位置検出信号が演算制御回路15に入力される。また、シフトレバーのロック解除ボタンを押して、シフトレバーをドライブレンジ側に操作可能にすると、スイッチ17がONされて、このON信号が演算制御回路15に入力される。
そして、演算制御回路15は、シフト位置検出手段16からパーキング位置検出信号を受けると、第1光源13を時間t1の間隔で所定回数mだけ点滅させ、第1光源13からの赤色の光りを拡散印刷層8に点滅照射する。これにより、カラーフィルタF1すなわち、「P」と言う文字フィルタLa、「P」と言う文字フィルタを囲むリングフィルタLbと、リングフィルタの左右に設けられた円弧フィルタLcが時間t1の間隔で所定回数mだけ赤色の点滅をする。
また、演算制御回路15は、シフトレバーのロック解除ボタンで操作されるスイッチ17からON信号を受けると、第2光源14を時間t2の間隔で所定回数nだけ点滅させて、第2光源14からの青色の光りを拡散印刷層8に点滅照射する。これにより、リリースの「RELEASE」と言う文字のカラーフィルタF2が時間t2の間隔で所定回数nだけ青色の点滅をする。尚、図2,図3において実線はカラーフィルタF1,F2の点灯状態を示し、破線はカラーフィルタF1,F2消灯状態を示す。
ここで、例えば、パーキングの表示内容の方がリリース(シフトレバーのロック解除)の表示内容より重要度が高い場合は、カラーフィルタF1の点滅間隔(時間t1)をカラーフィルタF2の点滅間隔(時間t2)よりも長くする。
また、パーキングの表示内容よりもリリース(シフトレバーのロック解除)の方が重要度が高い場合は、カラーフィルタF2の点滅間隔(時間t2)をカラーフィルタF1の点滅間隔(時間t1)よりも長くする。
しかも、演算制御回路15によりカラーフィルタF1,F2を交互に点滅表示させる場合に、重要度が高い表示内容を所定回点滅表示させた後に重要度が低い表示内容を1回点滅表示させるという動作を繰り返させる。
即ち、パーキングの表示内容の方がリリース(シフトレバーのロック解除)の表示内容より重要度が高い場合は、重要度が高いカラーフィルタF1(表示内容)を所定回点滅表示させた後に重要度が低いカラーフィルタF2(表示内容)を1回点滅表示させるという動作を繰り返させる。また、パーキングの表示内容よりもリリース(シフトレバーのロック解除)の方が重要度が高い場合は、重要度が高いカラーフィルタF2(表示内容)を所定回点滅表示させた後に重要度が低いカラーフィルタF1(表示内容)を1回点滅表示させるという動作を繰り返させる。
このように、切替表示の場合の表示内容の重要度によって重み付けし、重要度の大きいワーニング(警告)の表示時間を重要度の低いワーニング(警告)の表示時間より長くしている。このように重要度の高い表示内容の表示時間を長くすることや表示回数(点滅回数)を多くすることで、重要度の高い表示内容は重要度の低い表示内容より多くの注意を喚起することができる。
また、このような2重表示は数多くある表示内容の分散を防ぎ、このようにある固定された範囲に表示することで注意の喚起を向上させると共に、計器のレイアウトの成立性を向上させる効果がある。このようにすることで、同一箇所のワーニング表示での欠点である、常時表示ができないことによる注意喚起の低下を防止し、ワーニングやインジケータの本来の機能である注意の喚起を満足させることができる。
(その他)
以上説明した実施例では、パーキング「P」とシフトレバーのロック解除「RELEASE」の例で説明したが、必ずしもこれに限定されるものではない。
(その他)
以上説明した実施例では、パーキング「P」とシフトレバーのロック解除「RELEASE」の例で説明したが、必ずしもこれに限定されるものではない。
例えば、ブレーキとクルーズの警告では、一般的にブレーキ警告の重要度が高く、ブレーキ警告の視認時間が短い。この場合、ブレーキの警告(ワーニング)を0.7秒、クルーズを0.3秒点滅させたりするか、ブレーキの警告(ワーニング)を2回だけ点滅した後にクルーズを1回点滅させる動作を繰り返させる。この両者の組み合わせで点滅表示を行うようにしても良い。
このように重要度の高いワーニングの表示時間を長くすることや表示回数(点滅回数)を多くすることで、重要度の高いワーニングの表示は重要度の低いワーニングより多くの注意を喚起することができる。
また、上述した例では、2種類のワーニングの表示について説明したが、必ずしも2種類である必要はない。即ち、2種類以上のワーニングの点灯時間や点滅回数を多くすることで、ワーニングに重み付けし、重要度に応じて点滅時間を長くしたり(短くしたり)、重要度に応じて点滅回数を多くしたり(少なくしたり)することもできる。
尚、車両の状態を乗員に知らせる警告灯や表示灯、インジケータ等の表示部を複数設けている。この表示灯としては例えばハイビーム表示灯,リヤフォグランプ表示灯,スリップ表示灯,接近表示灯等その他の表示灯があり、又、警告灯としては例えばエアバッグ警告灯,燃料残量警告灯,半ドア警告灯,シートベルト警告灯等その他種々の警告灯がある。このような警告灯や表示灯、インジケータ等にも上述した構成を適用することができる。この場合も、表示灯や警告灯のためのセンサが車両各部に設けられ、このセンサからの検出信号が演算制御回路15に入力される。そして、演算制御回路15が各センサからの検出信号に応じて上述したような制御を行うように設定する。
以上説明したように、この発明の実施の形態の車両用計器パネルの多重報知装置には、車両の状態を検出するセンサ(シフト位置検出手段16等その他)が複数設けられ、前記複数のセンサに応じた表示内容をそれぞれ異なる色で印刷した表示9窓が車両の計器パネル4に設けられ、前記計器パネル4の背面側に前記表示内容の色に応じた光源(第1,第2光源13,14)がそれぞれ配設されている。また、車両用計器パネルの多重報知装置は、前記複数のセンサからの検出状態に応じて前記光源のいずれか一つを選択して点滅表示させる制御回路(演算制御回路15)を備えている。しかも、前記制御回路(演算制御回路15)は、前記複数の光源のうち前記複数の表示内容の重要度の大きいものに対応する光源の点滅条件を他の表示内容に対応する光源の点滅条件と異なる制御をするように設定されている。
この構成によれば、一つの表示部で切り替え表示を行う場合に、表示内容の重要度によって重み付けをした表示をするようにしているので、重要度の大きい表示内容を確実且つ迅速に把握できる。即ち、例えば、一つの表示部で切り替え表示を行う場合に、表示内容の重要度によって重み付けをし、重要度の大きい表示内容の点滅時間を重要度の小さい表示内容の点滅時間よりも長くしたり又は短くしたり、重要度の大きい表示内容の点滅回数を重要度の小さい表示内容の点滅回数よりも多くしたり又は少なくしたりすることで、重要度の大きい表示内容を確実且つ迅速に把握できる。
この発明の実施の形態の車両用計器パネルの多重報知装置において、前記点滅条件は点滅時間であるようにしたので、重要度の大きい表示内容を確実且つ迅速に把握できる。
この発明の実施の形態の車両用計器パネルの多重報知装置において、前記点滅条件は点滅回数であるようにしたので、重要度の大きい表示内容を確実且つ迅速に把握できる。
16…シフト位置検出手段(センサ)
9…表示
4…計器パネル
13…第1光源
14…第2光源
15…演算制御回路(制御回路)
F1…カラーフィルタ
F2…カラーフィルタ
9…表示
4…計器パネル
13…第1光源
14…第2光源
15…演算制御回路(制御回路)
F1…カラーフィルタ
F2…カラーフィルタ
Claims (3)
- 車両の状態を検出するセンサが複数設けられ、前記複数のセンサに応じた表示内容をそれぞれ異なる色で印刷した表示窓が車両の計器パネルに設けられ、前記計器パネルの背面側に前記表示内容の色に応じた光源がそれぞれ配設されていると共に、前記複数のセンサからの検出状態に応じて前記光源のいずれか一つを選択して点滅表示させる制御回路を備える車両用計器パネルの多重報知装置であって、
前記制御回路は、前記複数の光源のうち前記複数の表示内容の重要度の大きいものに対応する光源の点滅条件を他の表示内容に対応する光源の点滅条件と異なる制御をするように設定されていることを特徴とする車両用計器パネルの多重報知装置。 - 前記点滅条件は点滅時間であることを特徴とする請求項1に記載の車両用計器パネルの多重報知装置。
- 前記点滅条件は点滅回数であることを特徴とする請求項1に記載の車両用計器パネルの多重報知装置。
Priority Applications (1)
| Application Number | Priority Date | Filing Date | Title |
|---|---|---|---|
| JP2004112669A JP2005297618A (ja) | 2004-04-07 | 2004-04-07 | 車両用計器パネルの多重報知装置 |
Applications Claiming Priority (1)
| Application Number | Priority Date | Filing Date | Title |
|---|---|---|---|
| JP2004112669A JP2005297618A (ja) | 2004-04-07 | 2004-04-07 | 車両用計器パネルの多重報知装置 |
Publications (1)
| Publication Number | Publication Date |
|---|---|
| JP2005297618A true JP2005297618A (ja) | 2005-10-27 |
Family
ID=35329713
Family Applications (1)
| Application Number | Title | Priority Date | Filing Date |
|---|---|---|---|
| JP2004112669A Pending JP2005297618A (ja) | 2004-04-07 | 2004-04-07 | 車両用計器パネルの多重報知装置 |
Country Status (1)
| Country | Link |
|---|---|
| JP (1) | JP2005297618A (ja) |
Cited By (8)
| Publication number | Priority date | Publication date | Assignee | Title |
|---|---|---|---|---|
| JP2009184470A (ja) * | 2008-02-05 | 2009-08-20 | Honda Motor Co Ltd | 車両用情報表示装置 |
| JP2010282445A (ja) * | 2009-06-05 | 2010-12-16 | Yazaki Corp | 警報器 |
| WO2014108988A1 (ja) * | 2013-01-11 | 2014-07-17 | 日産自動車株式会社 | 車両用表示制御装置及び車両用表示制御方法 |
| JP2015000693A (ja) * | 2013-06-18 | 2015-01-05 | 日産自動車株式会社 | 車両用表示装置 |
| JP2015009656A (ja) * | 2013-06-28 | 2015-01-19 | 日産自動車株式会社 | 車両用表示装置及び車両用表示方法 |
| JP2015511410A (ja) * | 2011-12-22 | 2015-04-16 | コヴィディエン リミテッド パートナーシップ | 警報および表示機能を有する遠隔監視システム用の無線中継モジュール |
| US9495511B2 (en) | 2011-03-01 | 2016-11-15 | Covidien Lp | Remote monitoring systems and methods for medical devices |
| JP2017150999A (ja) * | 2016-02-25 | 2017-08-31 | 日本精機株式会社 | 表示装置 |
-
2004
- 2004-04-07 JP JP2004112669A patent/JP2005297618A/ja active Pending
Cited By (9)
| Publication number | Priority date | Publication date | Assignee | Title |
|---|---|---|---|---|
| JP2009184470A (ja) * | 2008-02-05 | 2009-08-20 | Honda Motor Co Ltd | 車両用情報表示装置 |
| JP2010282445A (ja) * | 2009-06-05 | 2010-12-16 | Yazaki Corp | 警報器 |
| US9495511B2 (en) | 2011-03-01 | 2016-11-15 | Covidien Lp | Remote monitoring systems and methods for medical devices |
| JP2015511410A (ja) * | 2011-12-22 | 2015-04-16 | コヴィディエン リミテッド パートナーシップ | 警報および表示機能を有する遠隔監視システム用の無線中継モジュール |
| WO2014108988A1 (ja) * | 2013-01-11 | 2014-07-17 | 日産自動車株式会社 | 車両用表示制御装置及び車両用表示制御方法 |
| JP5915777B2 (ja) * | 2013-01-11 | 2016-05-11 | 日産自動車株式会社 | 車両用表示制御装置及び車両用表示制御方法 |
| JP2015000693A (ja) * | 2013-06-18 | 2015-01-05 | 日産自動車株式会社 | 車両用表示装置 |
| JP2015009656A (ja) * | 2013-06-28 | 2015-01-19 | 日産自動車株式会社 | 車両用表示装置及び車両用表示方法 |
| JP2017150999A (ja) * | 2016-02-25 | 2017-08-31 | 日本精機株式会社 | 表示装置 |
Similar Documents
| Publication | Publication Date | Title |
|---|---|---|
| US8022818B2 (en) | Warning apparatus for a motor vehicle | |
| JP4254719B2 (ja) | 車両用表示装置 | |
| US5786772A (en) | Vehicle blind spot detection display system | |
| JP6750523B2 (ja) | 車載装置 | |
| US10871221B2 (en) | Shift by wire gear shift actuator | |
| JP6078032B2 (ja) | 車載用警告装置 | |
| JP2009096380A (ja) | 車両用表示装置 | |
| JP6411014B2 (ja) | 車輌ドア開報知照明装置 | |
| JP2018034614A (ja) | 自動車状態報知装置及び自動車 | |
| JP2005297618A (ja) | 車両用計器パネルの多重報知装置 | |
| US7199703B2 (en) | Seatbelt use indicating apparatus and method | |
| JP6421290B1 (ja) | 自動車用表示盤による文字図形で喚起する表示方法。 | |
| JP2009255676A (ja) | シートベルト警告装置 | |
| JP2008292219A (ja) | 車両用計器 | |
| JP5979449B2 (ja) | 警光灯制御システムおよび警光灯制御システムを含む車両、警光灯制御システムのプログラム | |
| EP2853433B1 (en) | Button selection trace light indicator | |
| JP2016130104A (ja) | 車両用計器 | |
| JP2008132814A (ja) | 車室内空気状態報知装置 | |
| KR20140052040A (ko) | 차량용 디스플레이 장치 | |
| JP7569579B2 (ja) | ブレーキ状態表示装置 | |
| JP4735845B2 (ja) | 車両用インスツルメントパネルの照明制御装置 | |
| JP4102477B2 (ja) | 車両の警報音報知装置 | |
| JP2007099046A (ja) | 車両用警告表示装置 | |
| JP5062124B2 (ja) | 車両用表示装置 | |
| EP2138351B1 (de) | Warneinrichtung für ein Kraftfahrzeug |
Legal Events
| Date | Code | Title | Description |
|---|---|---|---|
| A621 | Written request for application examination |
Free format text: JAPANESE INTERMEDIATE CODE: A621 Effective date: 20070329 |
|
| A131 | Notification of reasons for refusal |
Free format text: JAPANESE INTERMEDIATE CODE: A131 Effective date: 20090203 |
|
| A02 | Decision of refusal |
Free format text: JAPANESE INTERMEDIATE CODE: A02 Effective date: 20090602 |