JP2005296891A - 排水処理方法 - Google Patents
排水処理方法 Download PDFInfo
- Publication number
- JP2005296891A JP2005296891A JP2004120527A JP2004120527A JP2005296891A JP 2005296891 A JP2005296891 A JP 2005296891A JP 2004120527 A JP2004120527 A JP 2004120527A JP 2004120527 A JP2004120527 A JP 2004120527A JP 2005296891 A JP2005296891 A JP 2005296891A
- Authority
- JP
- Japan
- Prior art keywords
- tank
- treatment
- concentration
- anaerobic
- wastewater
- Prior art date
- Legal status (The legal status is an assumption and is not a legal conclusion. Google has not performed a legal analysis and makes no representation as to the accuracy of the status listed.)
- Pending
Links
Images
Classifications
-
- Y—GENERAL TAGGING OF NEW TECHNOLOGICAL DEVELOPMENTS; GENERAL TAGGING OF CROSS-SECTIONAL TECHNOLOGIES SPANNING OVER SEVERAL SECTIONS OF THE IPC; TECHNICAL SUBJECTS COVERED BY FORMER USPC CROSS-REFERENCE ART COLLECTIONS [XRACs] AND DIGESTS
- Y02—TECHNOLOGIES OR APPLICATIONS FOR MITIGATION OR ADAPTATION AGAINST CLIMATE CHANGE
- Y02E—REDUCTION OF GREENHOUSE GAS [GHG] EMISSIONS, RELATED TO ENERGY GENERATION, TRANSMISSION OR DISTRIBUTION
- Y02E50/00—Technologies for the production of fuel of non-fossil origin
- Y02E50/30—Fuel from waste, e.g. synthetic alcohol or diesel
Landscapes
- Purification Treatments By Anaerobic Or Anaerobic And Aerobic Bacteria Or Animals (AREA)
Abstract
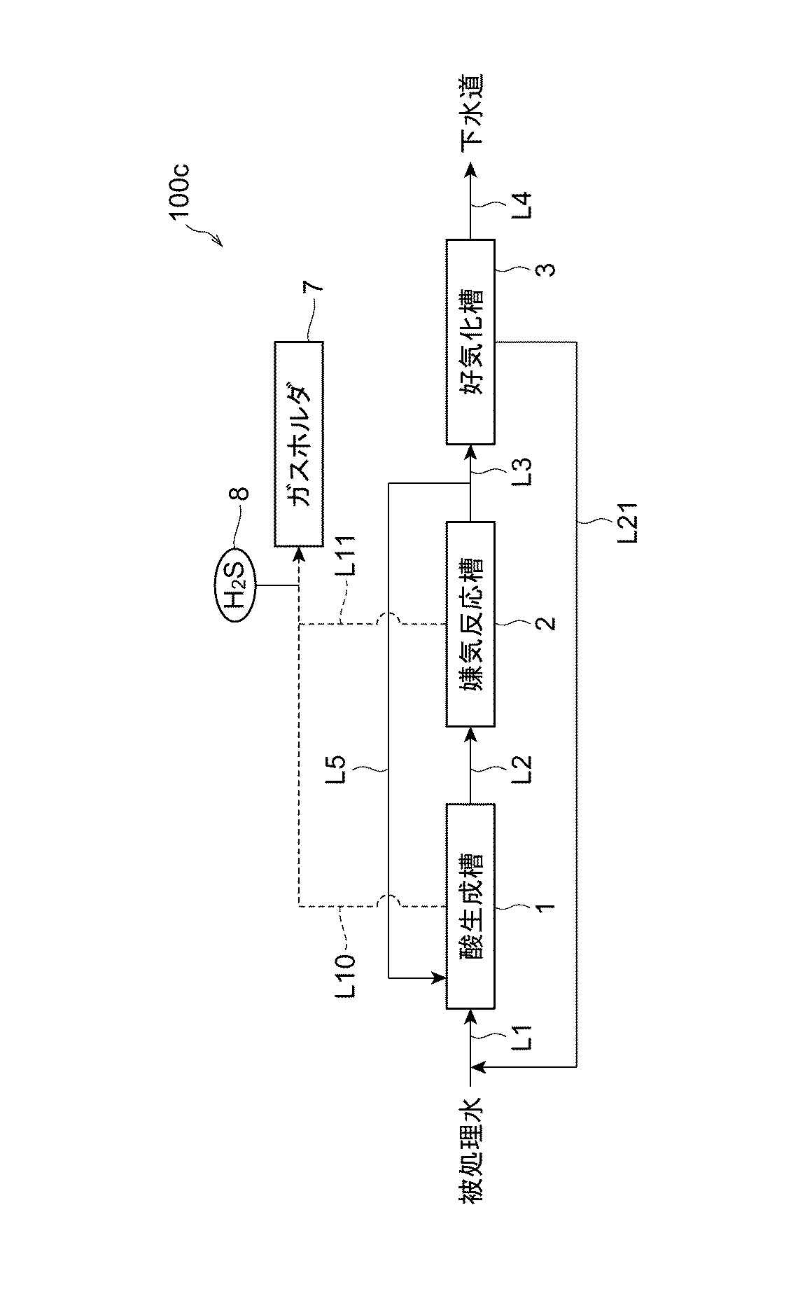
【解決手段】 被処理水を嫌気性微生物により嫌気性処理する嫌気反応槽2を用いて処理する排水処理方法であって、ラインL1から導入される被処理水のCODcr/SO4を1.7未満として処理を行う。ここで、前段の酸生成槽1の滞留時間は0.5〜2時間とし、嫌気性反応槽2の滞留時間は1〜4時間とするとよい。
【選択図】 図1
Description
H2S⇔HS-+H+⇔S2-+2H+ …(2)
4H2+2O2→4H2O …(3)
本実施形態では、CODcr/SO4濃度比が1.7未満の排水を嫌気性生物処理することにより、硫酸還元反応の進行を抑制し、反応に寄与するSO4 2−イオンの量を半分以下に抑える。このため、バイオガス中のH2S濃度を2%以下に抑えることができ、嫌気性微生物を阻害することがない。また、バイオガス中のH2S濃度を低く維持できるため、バイオガスを資源として利用する場合に、配管等の腐食を抑制できる。得られたバイオガスを精製する必要がある場合でも、H2S濃度が低いため、脱硫負荷が小さく、脱硫処理のコストを低減できる。処理水は1〜4時間の平均滞留時間を経て、一部が酸生成槽1へと返送され、残りは、好気化槽3へと送られる。滞留時間がこれより短いとCODcrの分解が不十分である一方、これより長いと硫酸還元反応が進行する可能性があるからである。
これによって、BOD値をさらに、数十mg/l減少させて下水道へと放流するレベルまで浄化する。
Claims (3)
- 硫酸イオンを含有する有機性排水を処理する排水処理方法であって、
導入する被処理水のCODcr/SO4濃度比が1.7未満の条件で、嫌気性生物処理を行うことを特徴とする排水処理方法。 - 前記嫌気性生物処理の後、好気化処理を行うことを特徴とする請求項1記載の排水処理方法。
- 前記嫌気性生物処理により発生したバイオガス中のH2S濃度を測定し、H2S濃度が所定値を超えた場合は、好気化処理後の排水を嫌気性生物処理の前段に戻すことを特徴とする請求項2記載の排水処理方法。
Priority Applications (1)
| Application Number | Priority Date | Filing Date | Title |
|---|---|---|---|
| JP2004120527A JP2005296891A (ja) | 2004-04-15 | 2004-04-15 | 排水処理方法 |
Applications Claiming Priority (1)
| Application Number | Priority Date | Filing Date | Title |
|---|---|---|---|
| JP2004120527A JP2005296891A (ja) | 2004-04-15 | 2004-04-15 | 排水処理方法 |
Publications (1)
| Publication Number | Publication Date |
|---|---|
| JP2005296891A true JP2005296891A (ja) | 2005-10-27 |
Family
ID=35329082
Family Applications (1)
| Application Number | Title | Priority Date | Filing Date |
|---|---|---|---|
| JP2004120527A Pending JP2005296891A (ja) | 2004-04-15 | 2004-04-15 | 排水処理方法 |
Country Status (1)
| Country | Link |
|---|---|
| JP (1) | JP2005296891A (ja) |
Cited By (5)
| Publication number | Priority date | Publication date | Assignee | Title |
|---|---|---|---|---|
| JP2007319842A (ja) * | 2006-06-05 | 2007-12-13 | Sumitomo Heavy Industries Environment Co Ltd | 排水臭気の除去方法及び排水臭気の除去装置 |
| JP2012081403A (ja) * | 2010-10-08 | 2012-04-26 | Swing Corp | 有機性排水処理装置および処理方法 |
| JP2013176746A (ja) * | 2012-02-29 | 2013-09-09 | Swing Corp | 有機性排水の処理方法及び処理装置 |
| CN105884126A (zh) * | 2012-11-02 | 2016-08-24 | 黄文龙 | 去除颗粒的固态污染物的污水预处理分流及分离工艺 |
| JP2018164891A (ja) * | 2017-03-28 | 2018-10-25 | 住友重機械エンバイロメント株式会社 | 水処理装置 |
Citations (7)
| Publication number | Priority date | Publication date | Assignee | Title |
|---|---|---|---|---|
| JPS57187097A (en) * | 1981-05-15 | 1982-11-17 | Ebara Infilco Co Ltd | Treatment of organic waste water |
| JPS58146496A (ja) * | 1982-02-26 | 1983-09-01 | Dowa Koei Kk | 有機廃水中のcodの除去方法 |
| JPH0847696A (ja) * | 1994-08-04 | 1996-02-20 | Kurita Water Ind Ltd | 嫌気性生物反応ガスの脱硫装置 |
| JPH10156385A (ja) * | 1996-12-02 | 1998-06-16 | Sumitomo Heavy Ind Ltd | 硫酸根含有有機性廃水の処理方法 |
| JPH10249383A (ja) * | 1997-03-14 | 1998-09-22 | Sumitomo Heavy Ind Ltd | 硫酸根含有有機性廃水の処理方法 |
| JPH11319880A (ja) * | 1998-05-14 | 1999-11-24 | Kankyo Eng Co Ltd | 有機性排水の生物学的処理方法 |
| JP2003136089A (ja) * | 2001-11-05 | 2003-05-13 | Kenji Kida | 硫化水素発生抑制方法 |
-
2004
- 2004-04-15 JP JP2004120527A patent/JP2005296891A/ja active Pending
Patent Citations (7)
| Publication number | Priority date | Publication date | Assignee | Title |
|---|---|---|---|---|
| JPS57187097A (en) * | 1981-05-15 | 1982-11-17 | Ebara Infilco Co Ltd | Treatment of organic waste water |
| JPS58146496A (ja) * | 1982-02-26 | 1983-09-01 | Dowa Koei Kk | 有機廃水中のcodの除去方法 |
| JPH0847696A (ja) * | 1994-08-04 | 1996-02-20 | Kurita Water Ind Ltd | 嫌気性生物反応ガスの脱硫装置 |
| JPH10156385A (ja) * | 1996-12-02 | 1998-06-16 | Sumitomo Heavy Ind Ltd | 硫酸根含有有機性廃水の処理方法 |
| JPH10249383A (ja) * | 1997-03-14 | 1998-09-22 | Sumitomo Heavy Ind Ltd | 硫酸根含有有機性廃水の処理方法 |
| JPH11319880A (ja) * | 1998-05-14 | 1999-11-24 | Kankyo Eng Co Ltd | 有機性排水の生物学的処理方法 |
| JP2003136089A (ja) * | 2001-11-05 | 2003-05-13 | Kenji Kida | 硫化水素発生抑制方法 |
Cited By (5)
| Publication number | Priority date | Publication date | Assignee | Title |
|---|---|---|---|---|
| JP2007319842A (ja) * | 2006-06-05 | 2007-12-13 | Sumitomo Heavy Industries Environment Co Ltd | 排水臭気の除去方法及び排水臭気の除去装置 |
| JP2012081403A (ja) * | 2010-10-08 | 2012-04-26 | Swing Corp | 有機性排水処理装置および処理方法 |
| JP2013176746A (ja) * | 2012-02-29 | 2013-09-09 | Swing Corp | 有機性排水の処理方法及び処理装置 |
| CN105884126A (zh) * | 2012-11-02 | 2016-08-24 | 黄文龙 | 去除颗粒的固态污染物的污水预处理分流及分离工艺 |
| JP2018164891A (ja) * | 2017-03-28 | 2018-10-25 | 住友重機械エンバイロメント株式会社 | 水処理装置 |
Similar Documents
| Publication | Publication Date | Title |
|---|---|---|
| CN207933226U (zh) | 一种工业废水处理系统 | |
| CN1304305C (zh) | 含有硫化合物的废水的甲烷发酵处理方法及装置 | |
| CN101817617A (zh) | 一种焦化废水综合处理工艺 | |
| MX2011008591A (es) | Metodo y dispositivo para depurar efluentes. | |
| KR20090008518A (ko) | 축산폐수처리를 위한 고효율 축산 폐수 처리장치 및 이를 이용한 방법 | |
| JP5143524B2 (ja) | 食品製造排水の処理方法および処理装置 | |
| JP4017657B1 (ja) | 有機物含有排水の処理方法 | |
| Kłodowska et al. | Effect of citric acid on the efficiency of the removal of nitrogen and phosphorus compounds during simultaneous heterotrophic-autotrophic denitrification (HAD) and electrocoagulation | |
| CN105366887B (zh) | 炼油厂废水综合处理工艺 | |
| CN105271614B (zh) | 一种芬顿试剂与过硫酸氢钾及微生物联合处理舱底水的方法 | |
| CN101343129B (zh) | 用于造纸制浆中段废水脱色的预处理工艺 | |
| JP2005296891A (ja) | 排水処理方法 | |
| CN103124698B (zh) | 含对苯二甲酸的排水的厌氧性处理方法及处理装置 | |
| CN211198890U (zh) | 一种工业废水的处理系统 | |
| JP4655974B2 (ja) | 廃水の処理方法および処理装置 | |
| KR101728866B1 (ko) | 고농도 하폐수 처리 장치 | |
| CN108164085A (zh) | 一种催化剂高盐废水深度脱氮系统及方法 | |
| JP5802578B2 (ja) | 水処理装置、及び水処理方法 | |
| JP2005185967A (ja) | 有機性廃水の処理方法及び処理装置 | |
| JP2005288371A (ja) | 排水処理方法 | |
| CN111153564A (zh) | 一种乳化液废水的处理系统及处理方法 | |
| JP2005329377A (ja) | 有機性廃水の嫌気性処理装置、及び嫌気性処理方法 | |
| JP2014018744A (ja) | 排水処理システム | |
| CN211999346U (zh) | 一种乳化液废水的处理系统 | |
| JP6533676B2 (ja) | 水処理装置及び水処理方法 |
Legal Events
| Date | Code | Title | Description |
|---|---|---|---|
| A621 | Written request for application examination |
Free format text: JAPANESE INTERMEDIATE CODE: A621 Effective date: 20070406 |
|
| A711 | Notification of change in applicant |
Free format text: JAPANESE INTERMEDIATE CODE: A712 Effective date: 20070628 |
|
| RD01 | Notification of change of attorney |
Free format text: JAPANESE INTERMEDIATE CODE: A7421 Effective date: 20071011 |
|
| A977 | Report on retrieval |
Free format text: JAPANESE INTERMEDIATE CODE: A971007 Effective date: 20081031 |
|
| A131 | Notification of reasons for refusal |
Free format text: JAPANESE INTERMEDIATE CODE: A131 Effective date: 20100126 |
|
| A02 | Decision of refusal |
Free format text: JAPANESE INTERMEDIATE CODE: A02 Effective date: 20100608 |
