JP2005296624A - 角膜レーザ外科療法のビーム誘導システムおよび方法 - Google Patents

角膜レーザ外科療法のビーム誘導システムおよび方法 Download PDF

Info

Publication number
JP2005296624A
JP2005296624A JP2004367331A JP2004367331A JP2005296624A JP 2005296624 A JP2005296624 A JP 2005296624A JP 2004367331 A JP2004367331 A JP 2004367331A JP 2004367331 A JP2004367331 A JP 2004367331A JP 2005296624 A JP2005296624 A JP 2005296624A
Authority
JP
Japan
Prior art keywords
laser beam
medium
beam path
mirror
laser
Prior art date
Legal status (The legal status is an assumption and is not a legal conclusion. Google has not performed a legal analysis and makes no representation as to the accuracy of the status listed.)
Granted
Application number
JP2004367331A
Other languages
English (en)
Other versions
JP4837910B2 (ja
Inventor
Ralf Kessler
ケスラー ラルフ
Frieder Loesel
ローゼル フリーダー
Thomas Sauter
ザオター トマス
Current Assignee (The listed assignees may be inaccurate. Google has not performed a legal analysis and makes no representation or warranty as to the accuracy of the list.)
20/10
20 10 Perfect Vision GmbH
Original Assignee
20/10
20 10 Perfect Vision Optische Geraete GmbH
Priority date (The priority date is an assumption and is not a legal conclusion. Google has not performed a legal analysis and makes no representation as to the accuracy of the date listed.)
Filing date
Publication date
Application filed by 20/10, 20 10 Perfect Vision Optische Geraete GmbH filed Critical 20/10
Publication of JP2005296624A publication Critical patent/JP2005296624A/ja
Application granted granted Critical
Publication of JP4837910B2 publication Critical patent/JP4837910B2/ja
Anticipated expiration legal-status Critical
Expired - Lifetime legal-status Critical Current

Links

Images

Classifications

    • GPHYSICS
    • G02OPTICS
    • G02BOPTICAL ELEMENTS, SYSTEMS OR APPARATUS
    • G02B26/00Optical devices or arrangements for the control of light using movable or deformable optical elements
    • G02B26/08Optical devices or arrangements for the control of light using movable or deformable optical elements for controlling the direction of light
    • G02B26/0816Optical devices or arrangements for the control of light using movable or deformable optical elements for controlling the direction of light by means of one or more reflecting elements
    • AHUMAN NECESSITIES
    • A61MEDICAL OR VETERINARY SCIENCE; HYGIENE
    • A61FFILTERS IMPLANTABLE INTO BLOOD VESSELS; PROSTHESES; DEVICES PROVIDING PATENCY TO, OR PREVENTING COLLAPSING OF, TUBULAR STRUCTURES OF THE BODY, e.g. STENTS; ORTHOPAEDIC, NURSING OR CONTRACEPTIVE DEVICES; FOMENTATION; TREATMENT OR PROTECTION OF EYES OR EARS; BANDAGES, DRESSINGS OR ABSORBENT PADS; FIRST-AID KITS
    • A61F9/00Methods or devices for treatment of the eyes; Devices for putting in contact-lenses; Devices to correct squinting; Apparatus to guide the blind; Protective devices for the eyes, carried on the body or in the hand
    • A61F9/007Methods or devices for eye surgery
    • A61F9/008Methods or devices for eye surgery using laser
    • A61F9/00825Methods or devices for eye surgery using laser for photodisruption
    • A61F9/0084Laser features or special beam parameters therefor
    • AHUMAN NECESSITIES
    • A61MEDICAL OR VETERINARY SCIENCE; HYGIENE
    • A61FFILTERS IMPLANTABLE INTO BLOOD VESSELS; PROSTHESES; DEVICES PROVIDING PATENCY TO, OR PREVENTING COLLAPSING OF, TUBULAR STRUCTURES OF THE BODY, e.g. STENTS; ORTHOPAEDIC, NURSING OR CONTRACEPTIVE DEVICES; FOMENTATION; TREATMENT OR PROTECTION OF EYES OR EARS; BANDAGES, DRESSINGS OR ABSORBENT PADS; FIRST-AID KITS
    • A61F9/00Methods or devices for treatment of the eyes; Devices for putting in contact-lenses; Devices to correct squinting; Apparatus to guide the blind; Protective devices for the eyes, carried on the body or in the hand
    • A61F9/007Methods or devices for eye surgery
    • A61F9/008Methods or devices for eye surgery using laser
    • A61F2009/00861Methods or devices for eye surgery using laser adapted for treatment at a particular location
    • A61F2009/00872Cornea

Landscapes

  • Health & Medical Sciences (AREA)
  • Physics & Mathematics (AREA)
  • Ophthalmology & Optometry (AREA)
  • Optics & Photonics (AREA)
  • Biomedical Technology (AREA)
  • Nuclear Medicine, Radiotherapy & Molecular Imaging (AREA)
  • Surgery (AREA)
  • Engineering & Computer Science (AREA)
  • General Physics & Mathematics (AREA)
  • Heart & Thoracic Surgery (AREA)
  • Vascular Medicine (AREA)
  • Life Sciences & Earth Sciences (AREA)
  • Animal Behavior & Ethology (AREA)
  • General Health & Medical Sciences (AREA)
  • Public Health (AREA)
  • Veterinary Medicine (AREA)
  • Laser Surgery Devices (AREA)

Abstract

【課題】角膜レーザ外科療法において、レーザ・ビームを目標組織の焦点に誘導する装置および方法を提供する。
【解決手段】レーザ・ビームを生成する際、レーザ・ビームの中心ビーム路からの発散は、光学誘導コンポーネントを順次配置構成することにより、最小になる。順番に、ビームは最初に、z走査器具の中心へと案内され、これは焦点を媒体中でz方向に移動させる。次に、ビームは第1検流計ミラーの中心へと通過し、これはx方向に焦点の移動を導入する。次に、第2検流計ミラーが、ビームを第3検流計ミラーの中心へと再案内することにより、x方向の移動を補償し、ここでy方向で焦点の移動が導入される。
【選択図】図2

Description

本発明は概ね角膜レーザ外科療法を実行するシステムおよび方法に関する。特に、本発明は角膜レーザ外科療法を実行するためにレーザ・ビームを光学的に誘導するシステムおよび方法に関する。本発明は特に、しかし排他的ではなく、角膜レーザ外科療法のために、ビーム路をシステムの光学コンポーネント上にほぼセンタリングしたまま、レーザ・ビームを媒体中の焦点へと光学的に誘導するシステムとして有用である。
角膜レーザ外科療法は、多くの予め決定した焦点の連なりにレーザ・ビームを移動させ、集束させる(つまり誘導する)必要がある。実行すべき特定の外科措置に応じて、このような予め決定した焦点は媒体(目標組織)上にあるか、媒体内にある。いずれの場合も、所期の目的は、予め決定したパターンに従い目標組織を光変更(photoalter)することである。例えば屈折性外科療法では、目標組織は通常、人間の目の角膜の間質組織であり、レーザ・ビームの誘導は、レーザ・システムの光学コンポーネント(つまりレンズおよびミラー)の移動、傾斜または再位置合わせによって達成される。
現在使用されているレーザ外科療法システムは通常、ビームがシステムを通過するにつれ、レーザ・ビームを移動させ、案内するよう操作される二重ミラーの組合せを含む。この組合せの中で、一方のミラーは、レーザ・ビームの焦点が目標組織のx−y面のx方向に移動するよう動作する。これで、他方のミラーは、焦点が目標組織のx−y面のy方向に移動するよう動作する。その結果、このような動作ごとに、レーザ・ビームは必然的にシステムを通る中心路から離れた方向に向けられる。さらに、この効果は累積的である。したがって、レーザ・ビームが動作して、特定のレーザ外科療法パターンに合わせて「x」および「y」の動作を実行するにつれ、ビーム路の中心が、システムの下流にある光学コンポーネントの中心から外れることになる。何らかのポイントで、これらの動作を組み合わせた効果が、レーザ・システムの光学的効率および外科的精度を大幅に低下させることがある。
以上を鑑みて、レーザ外科療法中に媒体中の焦点へとレーザ・ビームを誘導する装置で、ビームがシステムを通過するにつれ、レーザ・ビームの動作を補償して、ビームがシステムの光学コンポーネント上にほぼセンタリングした状態を維持する装置を提供することが、本発明の目的である。本発明のさらに別の目的は、角膜レーザ外科療法中に媒体中の焦点へとレーザ・ビームを誘導する装置で、目標組織中でレーザ・ビームの焦点が「x」、「y」および「z」方向に移動する間、光学要素の中心からのレーザ・ビームの変位を最小にする装置を提供することである。本発明のさらに別の目的は、角膜レーザ外科療法中に媒体中の焦点へとレーザ・ビームを誘導するために、使用しやすく、相対的に単純に製造され、費用効果が比較的高い装置を提供することである。
本発明によると、ビーム路に沿って媒体中の焦点までレーザ・ビームを誘導する装置は、ビーム路に沿ってレーザ・ビームを生成するレーザ光源を含む。また、レーザ・ビームを誘導するために、ビーム路に沿って第1、第2および第3走査機構が順番に配置される。この3つの走査機構を組み合わせた効果は、媒体(目標組織)中のx−y面上で焦点の動作を生成することである。本発明の好ましい実施形態では、第1、第2および第3走査機構は検流計ミラーである。この3つの走査機構に加えて、本発明の装置は、x−y面に直角であるz方向でレーザ・ビームの焦点を動作させるz走査器具も含む。本発明の一つの実施形態では、器具は音声コイル・サブアセンブリである。代替実施形態では、器具は能動ミラーである。
本発明で意図したように、システムの光学コンポーネントの中心からのレーザ・ビームの発散または変位は、ビーム路に沿って光学コンポーネントを適切に配置し、第3走査機構を組み込むことによって最小になる。特に、z走査器具は、最初にレーザ光源の後に整列して配置され、器具の中心でレーザ・ビームを受けるよう位置決めされる。これで、z走査器具により、レーザ・ビームは集束または発散して、ビームの焦点面のz方向動作を実行する。次に、z走査器具は、ビームを第1検流計ミラーの中心に向かって送る。光学的に、第1検流計ミラーは、ビーム路上に位置決めされて、第1検流計ミラーが「θ」の角度だけ回転するたびに、x−y面上でx方向での変化を実行する。次に、第2検流計ミラーがビーム路上で位置決めされ、第1検流計ミラーによってビーム路の発散が導入されると、それを全て補償する。特に、これは第2検流計ミラーを「2θ」の角度だけ回転し、ビーム路を第3検流計ミラーの中心に再案内することによって実行される。次に、第3ミラーを「φ」の角度だけ回転し、x−y面上でのy方向での変化を実行することができる。
構造的に、第1、第2および第3検流計ミラーの個々の回転軸線は、全てビーム路に対して直角である。さらに、第1および第2検流計ミラーの回転軸線は、相互に平行である。しかし、第3検流計ミラーの回転軸線は、第1および第2検流計ミラー双方の回転軸線に対して直角である。検流計ミラーの組合せの中で、第1ミラーと第2ミラー間の中心間距離が、第2ミラーと第3ミラー間の中心間距離と等しいことも重要である。本発明で開示するように、「中心間」距離とは、ビーム路内で光学的に位置合わせされた任意の2つのミラーの反射表面の幾何学的中心間の距離と定義される。
装置は、電子的通信でz走査器具および3つの検流計ミラーのそれぞれと接続されたコンピュータ制御装置も含むことが好ましい。これを接続した状態で、コンピュータ制御装置は、z走査器具の作用およびミラーの回転を一斉に制御する。したがって、コンピュータ制御装置は、レーザ外科療法中に媒体中の目標組織のx−y−zボリュームにおいてレーザ・ビームの焦点の動作を制御することができる。さらに、コンピュータ制御装置は、光学コンポーネントの光学特性(例えばレンズの像面湾曲)、さらに走査された媒体の光学特性(例えば屈折率)を考慮に入れるようプログラムすることができる。
レーザ・ビームが上記で開示した光学コンポーネントを通過した後、ビームが媒体に入る前に、レーザ・ビームが集束レンズのほぼ中心付近に入射することが重要である。その達成を補助するため、装置は、ビーム路上で誘導用光学部品より下流に位置決めされたリレー光学部品を含む。また、本発明の好ましい実施形態では、レーザ・ビームを集束レンズへと案内するために、リレーと集束レンズとの間に2色性回転ミラーを配置することができる。また、顕微鏡を2色性回転ミラーを通して導入し、レーザ外科療法の措置中に患者の目を見るため、レーザ・ビームと位置合わせすることができる。
本発明の新規の特徴、さらに本発明自体は、その構造および動作の両方について、添付図面を添付説明と組み合わせて考慮することにより、最もよく理解され、ここで同様の参照文字は同様の部品を指す。
角膜レーザ外科療法を実行するシステムを図1に示し、概ね10とする。図示のように、システム10は、患者18の目16に向かってビーム路に沿ってレーザ・ビーム14を案内する外科用レーザ・ユニット12を含む。また、システム10は、患者18の目16を外科用レーザ・ユニット12と位置合わせする台20を含む。さらに、コンピュータ制御装置22は、レーザ外科療法の措置を監視し、制御するために、電気ケーブル24を介して外科用レーザ・ユニット12と電子的に連絡する。
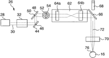
次に図2を参照すると、本発明により媒体中の焦点へとレーザ・ビーム14を誘導する光学装置が図示され、概ね26とされる。一般に、装置26は外科用レーザ・ユニット12の一体部品である。いかなる場合も、図示のように装置26は、レーザ・ビーム14を生成し、ビーム路30に沿って目16に向かってこれを案内するレーザ光源28を含む。レーザ光源28は、フェムト秒レーザ光源28、つまり約1ミクロンの波長、約100〜1000フェムト秒の範囲のパルス継続時間、および0.1から100mJの範囲のパルス・エネルギを有するレーザ・ビーム14を生成するレーザ光源であることが好ましい。
図2で示すように、本発明の装置26は、z方向に焦点を移動するためにビーム路30上で位置決めされたz走査器具32を含む。しばらく図3Aおよび図3Bを参照すると、z走査器具32の2つの代替実施形態が図示されている。図3Aでは、音声コイル・サブアセンブリ32’が、ビーム路30に固定状態で位置決めされたレンズ34を含む。レンズ34は平凸レンズであることが好ましい。また、サブアセンブリ32’は、長手方向軸線40を画定する動作可能な直線スライド38を有する音声コイル36を含む。図示のように、長手方向軸線40はビーム路30に平行である。さらに、好ましくは平凹レンズであるレンズ42は、ビーム路30に沿って直線スライド38とともに前後に動作するよう、これに装着する。図3Bで示すように、z走査器具32の代替実施形態は能動ミラー32”である。特に、ミラー32”は、「Method for Programming an Active Mirror to Mimic a Wavefront」と題されJ. Billeに対して発行された米国特許第6,220,707号で開示されたタイプでよい。図3Bを参照して認識されるように、ミラー32”は複数の個々の切子面を有し、そのうち切子面43が例示されている。切子面43は、能動ミラー32”の表面の形状を変化させて、光の入射ビーム14を変更するよう別個に動作できることが重要である。ビーム路30上のz走査器具32の位置、つまりレーザ光源28の後で装置26の残りの光学素子より上流の位置により、ビーム14は装置32の中心を通過することができ、これはビーム14を目16の焦点に集束する場合に望ましい。
z走査器具32に加えて、装置26は走査機構44を含み、これは検流計ミラーであることが好ましく、ミラー44を「θ」の角度だけ回転するようビーム路30上で位置決めされる。ミラー44は、ビーム路30に対して直角である回転軸線46を有する。ビーム路30上では走査機構48も位置決めされ、これも検流計ミラーであることが好ましい。本発明によって予想されるように、ミラー48は、ビーム路30に対して直角であり、ミラー44の回転軸線46に平行である回転軸線50を有する。図4で示すように、ミラー48は、「2θ」の角度だけ回転するよう位置決めされる。さらに、走査機構52はミラー48と光学的に整列するよう、ビーム路30上で位置決めされる。本発明の好ましい実施形態では、走査機構52は検流計ミラーであり、角度「φ」だけ回転するようビーム路30上で位置決めされる。図2および図4で、ミラー52が、回転軸線46および50の両方に対して直角であり、ビーム路30に対して直角である回転軸線54を有することが分かる。構造的に、ミラー44の中心56とミラー48の中心58との間の距離「d1」(図4)は、中心58とミラー52の中心60との間の距離「d2」と等しい。
ビーム路30に沿って続けると、図2から装置26がz走査器具32とミラー44、48および52との両方の下流に位置決めされたリレー62を含むことが分かる。図示のように、リレー62は複数のレンズを有し、そのうちレンズ64aおよび64bが例示されている。リレー62に加えて、ビーム14がリレー62を出る時、レーザ・ビーム14を目16に向かって案内するため、2色性回転ミラー66が位置決めされている。特に、回転ミラー66は、リレー62の後でビーム路30上に連続して位置決めされ、ミラー66は、ビーム路30に対してほぼ45°の角度で配向される。2色性ミラー66に加えて、本発明の装置26は、レーザ外科療法措置中に患者18の目16を見るため、2色性回転ミラー66およびビーム路30と光学的に整列する顕微鏡68を含む。
さらに図2を参照すると、装置26は、レーザ・ビーム14を目16の焦点に集束するために位置決めされた集束レンズ70も含む。特に、集束レンズ70は、回転ミラー66の下流で位置決めされる。図2で示すように、集束レンズ70はレンズ多重線(multiplet)である。さらに、本発明で想定されるように、集束レンズ70は中心軸線72を画定する。リレー62は、検流計ミラー52を集束レンズ70の表面上に光学的に描像するため、集束レンズ70の上流に位置することが分かる。言い換えると、集束レンズ70を通過する前にリレー62を通るビーム14の正味効果は、検流計ミラー62および集束レンズ70が光学的に結合することである。
本発明の動作時には、レーザ光源28が、目16に向かって案内されるレーザ・ビーム14を生成する。特に、レーザ・ビーム14を目16の特定の層、つまり媒体内の焦点へと誘導する。本発明から予想されるように、媒体は直交x−y−z座標系を画定し、そのうち図5および図6の座標系74が例示されている。図5および図6を交互参照して分かるように、媒体16は目16の角膜76であり、座標系74のx−y面は、目16の光学軸線78に対して垂直である。図5および図6でさらに示すように、座標系74のz軸線は、光学軸線78とほぼ一致する。
さらに本発明の動作を考察すると、レーザ・ビーム14はレーザ光源28を出て、ビーム路30に沿ってz走査器具32に向かって進む。本発明の一つの実施形態(図3A)では、コンピュータ制御装置22が、音声コイル・サブアセンブリ32’の直線スライド38を案内して、長手方向軸線40に沿って軸方向に規定の距離だけ移動させる。その結果、直線スライド38に装着したレンズ42も軸方向に移動する。機能的に、静止レンズ34に対して集束レンズ42が移動するので、ビーム14がレンズ42の移動方向に応じて発散または収束する。ビーム14の発散または収束の結果、座標系のx−y面は、z軸線に沿って効果的に移動し、面の焦点に集束する。ビームの発散および収束は、能動ミラー32”の使用など、当技術分野で知られている他の手段で達成してもよい。特に、レーザ・ビーム14が能動ミラー32”に到達する前に、コンピュータ制御装置22は、ミラー32”の個々の切子面、例えば43の動作を指示し、z軸線に沿った焦点に集束させる。
レーザ・ビーム14は、z走査器具32を出た後、続いてビーム路30に沿って第1検流計ミラー44に向かう。図2および図4の相互参照から分かるように、レーザ・ビーム14はミラー44の中心に向かって案内される。図4で示したように、ミラー44は、コンピュータ制御装置22によって指示されたように、回転軸線46の周囲で「θ」の角度だけ回転する。レーザ・ビーム14がミラー44から反射すると、ビーム14の入射角度に対するミラー44の配向により、角膜76の焦点がこれに対応してx方向に移動する。特に、焦点は、座標系74のx−y面のx軸に沿って、回転角度「θ」と比例する距離「Δx」だけ移動する。
ミラー44の回転と共同して、ミラー48は「2θ」の角度だけ回転軸線50の周囲で回転する。レーザ・ビーム14がミラー48から反射すると、レーザ・ビーム14は、ミラー44の回転によって導入された「Δx」の動作を維持しながら、ビーム路30をミラー52の中心と整列させるよう補償される。この方法で、レーザ・ビーム14はミラー52の中心から反射し、ビーム14はy方向に移動する。特に、ミラー52は、コンピュータ制御装置22に指示されて、回転軸線54の周囲で角度「φ」だけ回転する。その結果、ミラー52が角度「φ」だけ回転すると、ビーム14の焦点がx−y面のy軸線に沿って直線距離「Δy」だけ移動する。
再び図2を参照すると、レーザ・ビーム14は第3ミラー52で反射し、リレー62に入る。リレー62内で、レーザ・ビーム14はレンズ64aおよび64bを通過し、その間ビーム路30は、レーザ・ビーム14が集束レンズ70に入射した場合に集束レンズ70の中心軸線72上にセンタリングするよう位置決めされる。特に、レーザ・ビーム14は、レンズ64aおよび64bによって集束し、y方向ミラー52を集束レンズ70と一致するよう光学的に位置決めする。したがって、ミラー52は、ビーム14が集束レンズ70に当たる前に、ビーム14の入射角度を変化させる。しかし、ビーム14がミラー52から反射し、リレー62を通過する時、ビーム14が集束レンズ70の中心から離れる横方向の移動はない。レーザ・ビーム14がリレー62を出て、回転ミラー66から反射する時、回転ミラー66は、ビーム14を集束レンズ70に向かって案内する。集束レンズ70において、レーザ・ビーム14はレンズ70の中心区間に当たる。レーザ・ビーム14が集束レンズ70を通過する時、レーザ・ビーム14は、目16の角膜76の望ましい焦点に集束する。レーザ外科療法措置の過程を通して、システムのオペレータ(図示せず)は、2色性回転ミラー66と整列した顕微鏡68を通して、患者18の目16を見ることができる。
本明細書で図示し、詳細に開示した角膜レーザ外科療法の特定のビーム誘導システムは、目的を達成し、前述したような利点を提供することが十分にできるが、これは本発明の現在好ましい実施形態の例示にすぎず、請求の範囲に記載されたものを除き、本明細書で示した構造または設計の詳細に制限がないことを理解されたい。
角膜レーザ外科療法を実行するために本発明を組み込んだシステムの立面図である。 媒体中の焦点へとレーザ・ビームを誘導するため、本発明による装置の光学コンポーネントの略図である。 本発明のz走査器具、特に音声コイル・サブアセンブリの一実施形態の略図である。 本発明のz走査機構、特に能動ミラーの代替実施形態の代表図である。 本発明によりレーザ・ビームを誘導する検流計ミラーの機能的レイアウトである。 直交座標系を画定する媒体(目標組織)の区間の斜視図である。 人間の目の断面図である。
符号の説明
10 システム
12 外科用レーザ・ユニット
14 レーザ・ビーム
16 目
18 患者
20 台
22 コンピュータ制御装置
24 電気ケーブル
26 装置
28 レーザ光源
30 ビーム路
32 z走査器具
32’ 音声コイル・サブアセンブリ
32” 能動ミラー
34 レンズ
38 直線スライド
43 切子面
44 ミラー
46 回転軸線
48 走査機構
50 回転軸線
52 走査機構
54 回転軸線
56 中心
58 中心
60 中心
62 リレー
64 レンズ
66 回転ミラー
68 顕微鏡
70 集束レンズ
72 中心軸線
74 座標系
76 角膜
78 光学軸線

Claims (5)

  1. レーザ・ビームを媒体の焦点に誘導する装置で、媒体が直交x−y−z座標系を画定し、
    レーザ・ビームをビーム路に沿って媒体へと案内するレーザ光源と、
    レーザ・ビームを媒体のx方向に移動させるため、ビーム路上で位置決めされた第1走査機構と、
    レーザ・ビームの動作をx方向で補償するために、ビーム路上で位置決めされた第2走査機構と、
    レーザ・ビームを媒体のy方向に移動させるため、ビーム路上で位置決めされた第3走査機構と、
    焦点をz方向に移動させるz走査器具と、
    レーザ・ビームを媒体のx−y面の焦点に向かって誘導するために、前記第1、前記第2および前記第3走査機構、および前記z走査器具の動作を一斉に制御する手段とを備える装置。
  2. 前記第1走査機構、前記第2走査機構、および前記第3走査機構が検流計ミラーである、請求項1に記載の装置。
  3. 目標組織を通してレーザ・ビームの焦点を移動させる方法で、
    レーザ・ビームをビーム路に沿ってz走査器具の中心に案内するステップを含み、z走査器具が、焦点の位置を目標組織内でz方向で変化させるために動作可能であり、さらに、
    レーザ・ビームをz走査器具の中心から第1走査機構の中心へと通過させるステップを含み、第1走査機構が、ビーム路を変更し、目標組織の焦点の位置にx方向の変化を導入するよう回転可能であり、さらに、
    レーザ・ビームを第3走査機構の中心に再案内することにより、変更したビーム路を補償させるために第2走査機構を回転するステップを含み、第3走査機構が、ビーム路を変更し、目標組織の焦点の位置にy方向の変化を導入するよう回転可能である方法。
  4. レーザ・ビームが、ビーム路上に位置決めされた集束レンズを通過し、前記集束レンズが中心軸線を画定して、ビーム路は、レーザ・ビームが前記集束レンズに入射すると、前記集束レンズの中心軸線にほぼセンタリングされる、請求項3に記載の方法。
  5. レーザ・ビームを媒体の焦点に誘導する方法で、媒体が直交x−y−z座標系を画定し、
    レーザ・ビームをビーム路に沿って媒体へと案内するよう、レーザ光源を起動するステップと、
    焦点をz方向に移動させるため、レーザ・ビームをz走査器具へと案内するステップと、
    第1検流計ミラーを第1回転軸線の周囲で角度「θ」だけ回転させるステップと、
    第2検流計ミラーを第2回転軸線の周囲で角度「2θ」だけ回転させるステップと、
    第3検流計ミラーを第3回転軸線の周囲で角度「φ」だけ回転させるステップと、
    レーザ・ビームを焦点に向かって媒体のx−y面で誘導するために、前記z走査器具、および前記第1、前記第2および前記第3検流計ミラーの回転を一斉に制御するステップとを含む方法。
JP2004367331A 2004-04-09 2004-12-20 角膜レーザ外科療法のビーム誘導システムおよび方法 Expired - Lifetime JP4837910B2 (ja)

Applications Claiming Priority (2)

Application Number Priority Date Filing Date Title
US821402 2004-04-09
US10/821,402 US7618415B2 (en) 2004-04-09 2004-04-09 Beam steering system for corneal laser surgery

Publications (2)

Publication Number Publication Date
JP2005296624A true JP2005296624A (ja) 2005-10-27
JP4837910B2 JP4837910B2 (ja) 2011-12-14

Family

ID=34912732

Family Applications (1)

Application Number Title Priority Date Filing Date
JP2004367331A Expired - Lifetime JP4837910B2 (ja) 2004-04-09 2004-12-20 角膜レーザ外科療法のビーム誘導システムおよび方法

Country Status (3)

Country Link
US (2) US7618415B2 (ja)
EP (1) EP1584310A1 (ja)
JP (1) JP4837910B2 (ja)

Cited By (9)

* Cited by examiner, † Cited by third party
Publication number Priority date Publication date Assignee Title
JP2009172374A (ja) * 2008-01-21 2009-08-06 Ziemer Holding Ag 眼組織治療装置
JP2010072645A (ja) * 2008-09-16 2010-04-02 Sie Ag Surgical Instrument Engineering レーザ光線を偏向させる装置および方法
JP2013500130A (ja) * 2009-07-29 2013-01-07 アルコン レンゼックス, インコーポレーテッド 眼科手術用レーザのための光学システム
JP2013500132A (ja) * 2009-07-29 2013-01-07 アルコン レンゼックス, インコーポレーテッド 眼科手術用レーザのための複数のスキャナを備えた光学システム
JP2013500131A (ja) * 2009-07-29 2013-01-07 アルコン レンゼックス, インコーポレーテッド 眼科手術用レーザのための光学システム
JP2013500133A (ja) * 2009-07-29 2013-01-07 アルコン レンゼックス, インコーポレーテッド 眼科手術用レーザのための、可動レンズ付光学システム
KR101243998B1 (ko) 2008-04-22 2013-03-18 웨이브라이트 게엠베하 안구 수술용 레이저-광학 장치
US8979264B2 (en) 2008-09-16 2015-03-17 Sie Ag, Surgical Instrument Engineering Device and method for deflecting a laser beam
JP2015109988A (ja) * 2009-07-29 2015-06-18 アルコン レンゼックス, インコーポレーテッド 眼科手術用レーザのための光学システム

Families Citing this family (40)

* Cited by examiner, † Cited by third party
Publication number Priority date Publication date Assignee Title
US7238176B2 (en) * 2004-04-29 2007-07-03 20/10 Perfect Vision Optische Geraete Gmbh Method for intrastromal photodisruption of dome-shaped surfaces
US20070106285A1 (en) 2005-11-09 2007-05-10 Ferenc Raksi Laser scanner
US20070219541A1 (en) * 2006-03-14 2007-09-20 Intralase Corp. System and method for ophthalmic laser surgery on a cornea
US9028069B2 (en) * 2006-07-21 2015-05-12 Ziemer Holding Ag Ophthalmological device
DE102006046370B4 (de) 2006-09-29 2025-07-17 Carl Zeiss Meditec Ag Vorrichtung und Verfahren zur Materialverarbeitung unter Verwendung eines transparenten Kontaktelements
ES2655204T3 (es) 2007-09-06 2018-02-19 Alcon Lensx, Inc. Fijación de objetivo precisa de foto-disrupción quirúrgica
US20090118716A1 (en) * 2007-11-07 2009-05-07 Intralase, Inc. System and method for scanning a pulsed laser beam
US8409179B2 (en) * 2007-12-17 2013-04-02 Technolas Perfect Vision Gmbh System for performing intrastromal refractive surgery
US9108270B2 (en) 2008-01-02 2015-08-18 Amo Development, Llc System and method for scanning a pulsed laser beam
US9101446B2 (en) 2008-01-02 2015-08-11 Intralase Corp. System and method for scanning a pulsed laser beam
EP2359178B1 (de) 2008-12-19 2014-04-23 Deutsches Krebsforschungszentrum Verfahren und vorrichtung zur dynamischen verlagerung eines lichtstrahls gegenüber einer den lichtstrahl fokussierenden optik
US8267925B2 (en) * 2009-07-29 2012-09-18 Alcon Lensx, Inc. Optical system for ophthalmic surgical laser
US8679100B2 (en) * 2009-07-29 2014-03-25 Alcon Lensx, Inc. Optical system with multiple scanners for ophthalmic surgical laser
CA2773984C (en) 2009-09-14 2018-08-21 Memorial Sloan-Kettering Cancer Center Apparatus, system and method for providing laser steering and focusing for incision, excision and ablation of tissue in minimally-invasive surgery
US8506559B2 (en) * 2009-11-16 2013-08-13 Alcon Lensx, Inc. Variable stage optical system for ophthalmic surgical laser
KR101315736B1 (ko) 2011-05-30 2013-10-14 주식회사 한빛나노바이오테크 펨토레이저를 이용한 안구 치료 장치
JP2014522284A (ja) * 2011-06-09 2014-09-04 クリストファー ホルヴァト 眼科手術のためのレーザー伝送システム
US9931712B2 (en) * 2012-01-11 2018-04-03 Pim Snow Leopard Inc. Laser drilling and trepanning device
US10182943B2 (en) 2012-03-09 2019-01-22 Alcon Lensx, Inc. Adjustable pupil system for surgical laser systems
US8852177B2 (en) 2012-03-09 2014-10-07 Alcon Lensx, Inc. Spatio-temporal beam modulator for surgical laser systems
US9629750B2 (en) 2012-04-18 2017-04-25 Technolas Perfect Vision Gmbh Surgical laser unit with variable modes of operation
US9587804B2 (en) 2012-05-07 2017-03-07 Chia Ming Chen Light control systems and methods
KR101542680B1 (ko) * 2013-01-03 2015-08-06 주식회사 나노포토닉스 삼차원 광학적 조향장치와 유한한 크기의 물체면을 가지는 대물 렌즈 및 그로부터 출력되는 발산광의 발산각과 빔 직경을 동시에 조절할 수 있는 z 스캐너
EP2756828B1 (de) * 2013-01-16 2019-02-27 Ziemer Ophthalmic Systems AG Ophthalmologische Vorrichtung zur Behandlung von Augengewebe
US10245180B2 (en) 2013-01-16 2019-04-02 Ziemer Ophthalmic Systems Ag Ophthalmological device for treating eye tissue
US11653874B2 (en) 2013-02-01 2023-05-23 Acceleritas Corporation Method and system for characterizing tissue in three dimensions using multimode optical measurements
JP6338255B2 (ja) 2013-03-13 2018-06-06 オプティメディカ・コーポレイションOptimedica Corporation レーザ手術システム用の自由浮動型患者インターフェース
US9849032B2 (en) 2013-03-13 2017-12-26 Optimedica Corporation Laser eye surgery system
EP3014407A4 (en) 2013-06-28 2017-08-02 Chia Ming Chen Controlling device operation according to hand gestures
US9717118B2 (en) 2013-07-16 2017-07-25 Chia Ming Chen Light control systems and methods
EP2837368A3 (en) * 2013-08-17 2015-07-22 Nidek Co., Ltd. Ophthalmic laser surgical apparatus
WO2015057306A1 (en) * 2013-08-30 2015-04-23 Nowatzyk Andreas G Optical beam scanning system having a synthetic center of beam rotation
US10406967B2 (en) 2014-04-29 2019-09-10 Chia Ming Chen Light control systems and methods
RU2563448C1 (ru) * 2014-05-22 2015-09-20 Общество С Ограниченной Ответственностью "Оптосистемы" Офтальмохирургическая лазерная система
US9995627B2 (en) * 2014-07-31 2018-06-12 Smiths Detection Inc. Raster optic device for optical hyper spectral scanning
EP3858305B1 (en) 2015-06-23 2024-04-17 AMO Development, LLC Compact ultra-short pulsed laser eye surgery workstation
EP3579797B1 (en) 2017-02-09 2024-11-27 Norlase Aps Apparatus for photothermal ophthalmic treatment
WO2018146070A2 (en) 2017-02-09 2018-08-16 Norlase Aps Apparatus for photothermal ophthalmic treatment
DE102018208752B4 (de) * 2018-06-04 2024-08-22 Fraunhofer-Gesellschaft zur Förderung der angewandten Forschung e.V. Vorrichtung und Verfahren zur Bearbeitung zur Bearbeitung schwer zugänglicher Werkstücke sowie Verwendung einer Vorrichtung
DE102020113693B4 (de) * 2020-05-20 2023-02-23 Schwind Eye-Tech-Solutions Gmbh Strahlablenkeinrichtung für eine Laservorrichtung, Laservorrichtung, Verfahren zum Erzeugen eines Lasermusters sowie Computerprogramm und computerlesbares Medium

Citations (6)

* Cited by examiner, † Cited by third party
Publication number Priority date Publication date Assignee Title
JPH01262836A (ja) * 1988-02-02 1989-10-19 Intelligent Surgical Lasers Inc レーザービームを焦点合せする装置及び方法
DE4026130A1 (de) * 1990-08-17 1992-02-20 Siemens Ag Einrichtung zur ablenkung eines lichtstrahls
JPH05228673A (ja) * 1992-02-18 1993-09-07 Toshiba Corp レ−ザ−加工装置
JPH06246470A (ja) * 1993-03-02 1994-09-06 Hitachi Constr Mach Co Ltd 高速レーザ加工装置
JP2001272618A (ja) * 2000-03-24 2001-10-05 Shibaura Mechatronics Corp スキャニング光学ユニット
JP2002178182A (ja) * 2000-12-14 2002-06-25 Hitachi Via Mechanics Ltd レーザ加工装置

Family Cites Families (38)

* Cited by examiner, † Cited by third party
Publication number Priority date Publication date Assignee Title
US3973825A (en) * 1974-12-30 1976-08-10 Xerox Corporation Flat field scanning system
FR2341128A1 (fr) * 1976-02-16 1977-09-09 Essilor Int Dispositif d'orientation d'un miroir pour instrument de nivellement a laser
JPS6025133B2 (ja) * 1976-04-28 1985-06-17 旭光学工業株式会社 マニピユレタ−
US4099880A (en) * 1976-08-11 1978-07-11 Tsutomu Kano Method and an apparatus for stereoscopic measurement utilizing a three-dimensional image
US4091274A (en) * 1976-12-22 1978-05-23 United Technologies Corporation Active laser mirror system
US4277381A (en) * 1977-11-29 1981-07-07 Exxon Research & Engineering Co. Process for the formation of elastomeric blends of a sulfonated elastomeric polymer
DE3001244A1 (de) * 1979-01-16 1980-07-24 Canon Kk Fokussierungssystem fuer eine augengrundkamera
DE3422143A1 (de) * 1984-06-14 1985-12-19 Josef Prof. Dr. Bille Geraet zur wafer-inspektion
DE3427611A1 (de) * 1984-07-26 1988-06-09 Bille Josef Laserstrahl-lithograph
US4725709A (en) * 1984-09-25 1988-02-16 Siemens Aktiengesellschaft Apparatus having a sweep arrangement for non-contacting modification of an article
GB2179176A (en) * 1985-08-14 1987-02-25 Philip Howard Butler Apparatus for moving a plane mirror
DE3685577D1 (de) * 1985-09-11 1992-07-09 Rodenstock Instr Vorrichtung zur erzeugung eines laserstrahlflecks einstellbarer groesse.
US4849859A (en) * 1986-04-22 1989-07-18 Kabushiki Kaisha Morita Seisakusho Laser-type handpiece
DE3620744A1 (de) * 1986-06-20 1987-12-23 Rodenstock Instr Vorrichtung zur behandlung des auges mit einem laser
US5206763A (en) * 1989-05-09 1993-04-27 Macken John A Corrective optics for rectangular laser beams
US5152759A (en) * 1989-06-07 1992-10-06 University Of Miami, School Of Medicine, Dept. Of Ophthalmology Noncontact laser microsurgical apparatus
JPH04356038A (ja) * 1991-01-17 1992-12-09 Pioneer Electron Corp 色分解・合成光学系
US5168491A (en) * 1991-02-25 1992-12-01 Olympus Optical Co., Ltd. Method for controlling radiation power of a laser beam irradiated onto a recording medium
AU671607B2 (en) * 1991-11-06 1996-09-05 Shui T. Lai Corneal surgery device and method
IL100664A0 (en) * 1992-01-15 1992-09-06 Laser Ind Ltd Method and apparatus for controlling a laser beam
US20020002369A1 (en) * 1993-08-23 2002-01-03 Hood Larry L. Method and apparatus for modifying visual acuity by moving a focal point of energy within a cornea
US5480396A (en) * 1994-12-09 1996-01-02 Simon; Gabriel Laser beam ophthalmological surgery method and apparatus
US6074382A (en) * 1997-08-29 2000-06-13 Asah Medico A/S Apparatus for tissue treatment
US6165170A (en) * 1998-01-29 2000-12-26 International Business Machines Corporation Laser dermablator and dermablation
JP3848492B2 (ja) * 1998-09-04 2006-11-22 株式会社ニデック 角膜手術装置
US6547397B1 (en) * 2000-04-19 2003-04-15 Laser Projection Technologies, Inc. Apparatus and method for projecting a 3D image
US6875951B2 (en) * 2000-08-29 2005-04-05 Mitsubishi Denki Kabushiki Kaisha Laser machining device
EP1372552B1 (de) * 2001-03-27 2017-03-01 WaveLight GmbH Vorrichtung zur bearbeitung und diagnose von augengewebe
US6770546B2 (en) * 2001-07-30 2004-08-03 Semiconductor Energy Laboratory Co., Ltd. Method of manufacturing semiconductor device
US6610051B2 (en) * 2001-10-12 2003-08-26 20/10 Perfect Vision Optische Geraete Gmbh Device and method for performing refractive surgery
US6751033B2 (en) * 2001-10-12 2004-06-15 Intralase Corp. Closed-loop focal positioning system and method
TW555612B (en) * 2001-11-15 2003-10-01 Mitsubishi Electric Corp Laser machining apparatus
US6666857B2 (en) * 2002-01-29 2003-12-23 Robert F. Smith Integrated wavefront-directed topography-controlled photoablation
JP3822188B2 (ja) * 2002-12-26 2006-09-13 日立ビアメカニクス株式会社 多重ビームレーザ穴あけ加工装置
TWI275439B (en) * 2003-05-19 2007-03-11 Mitsubishi Electric Corp Laser processing apparatus
US7796243B2 (en) * 2004-06-09 2010-09-14 National Research Council Of Canada Detection and monitoring of changes in mineralized tissues or calcified deposits by optical coherence tomography and Raman spectroscopy
US8049135B2 (en) * 2004-06-18 2011-11-01 Electro Scientific Industries, Inc. Systems and methods for alignment of laser beam(s) for semiconductor link processing
US7923306B2 (en) * 2004-06-18 2011-04-12 Electro Scientific Industries, Inc. Semiconductor structure processing using multiple laser beam spots

Patent Citations (6)

* Cited by examiner, † Cited by third party
Publication number Priority date Publication date Assignee Title
JPH01262836A (ja) * 1988-02-02 1989-10-19 Intelligent Surgical Lasers Inc レーザービームを焦点合せする装置及び方法
DE4026130A1 (de) * 1990-08-17 1992-02-20 Siemens Ag Einrichtung zur ablenkung eines lichtstrahls
JPH05228673A (ja) * 1992-02-18 1993-09-07 Toshiba Corp レ−ザ−加工装置
JPH06246470A (ja) * 1993-03-02 1994-09-06 Hitachi Constr Mach Co Ltd 高速レーザ加工装置
JP2001272618A (ja) * 2000-03-24 2001-10-05 Shibaura Mechatronics Corp スキャニング光学ユニット
JP2002178182A (ja) * 2000-12-14 2002-06-25 Hitachi Via Mechanics Ltd レーザ加工装置

Cited By (9)

* Cited by examiner, † Cited by third party
Publication number Priority date Publication date Assignee Title
JP2009172374A (ja) * 2008-01-21 2009-08-06 Ziemer Holding Ag 眼組織治療装置
KR101243998B1 (ko) 2008-04-22 2013-03-18 웨이브라이트 게엠베하 안구 수술용 레이저-광학 장치
JP2010072645A (ja) * 2008-09-16 2010-04-02 Sie Ag Surgical Instrument Engineering レーザ光線を偏向させる装置および方法
US8979264B2 (en) 2008-09-16 2015-03-17 Sie Ag, Surgical Instrument Engineering Device and method for deflecting a laser beam
JP2013500130A (ja) * 2009-07-29 2013-01-07 アルコン レンゼックス, インコーポレーテッド 眼科手術用レーザのための光学システム
JP2013500132A (ja) * 2009-07-29 2013-01-07 アルコン レンゼックス, インコーポレーテッド 眼科手術用レーザのための複数のスキャナを備えた光学システム
JP2013500131A (ja) * 2009-07-29 2013-01-07 アルコン レンゼックス, インコーポレーテッド 眼科手術用レーザのための光学システム
JP2013500133A (ja) * 2009-07-29 2013-01-07 アルコン レンゼックス, インコーポレーテッド 眼科手術用レーザのための、可動レンズ付光学システム
JP2015109988A (ja) * 2009-07-29 2015-06-18 アルコン レンゼックス, インコーポレーテッド 眼科手術用レーザのための光学システム

Also Published As

Publication number Publication date
US20080147051A1 (en) 2008-06-19
US7662147B2 (en) 2010-02-16
US20050228366A1 (en) 2005-10-13
EP1584310A1 (en) 2005-10-12
US7618415B2 (en) 2009-11-17
JP4837910B2 (ja) 2011-12-14

Similar Documents

Publication Publication Date Title
JP4837910B2 (ja) 角膜レーザ外科療法のビーム誘導システムおよび方法
US11020272B2 (en) Laser scanner
CN109963535B (zh) 集成式眼科手术系统
JP5019794B2 (ja) 眼組織を破壊するための眼科用装置
JP6127090B2 (ja) 走査装置
US8088124B2 (en) System and method for precise beam positioning in ocular surgery
JPH0412976B2 (ja)
RU2747034C2 (ru) Прибор и способ обработки кожи на основе излучения
JP2012529312A (ja) 眼科レーザ手術用装置
US10092446B2 (en) Laser scanner apparatus and method
US10010451B2 (en) Ophthalmic laser surgical apparatus
CN118356297A (zh) 多波长医疗激光系统
WO2009101696A1 (ja) 眼球運動の視軸照射軸同軸化追尾装置の作動方法
JP2007253200A (ja) レーザ溶接装置およびレーザ焦点位置調整方法
JP2013078398A (ja) 眼科用レーザ手術装置
US20250318955A1 (en) System and methods for treating glaucoma with laser pulses
WO2014074934A2 (en) Laser scanner apparatus and method

Legal Events

Date Code Title Description
A621 Written request for application examination

Free format text: JAPANESE INTERMEDIATE CODE: A621

Effective date: 20071101

A711 Notification of change in applicant

Free format text: JAPANESE INTERMEDIATE CODE: A711

Effective date: 20100202

A521 Request for written amendment filed

Free format text: JAPANESE INTERMEDIATE CODE: A821

Effective date: 20100202

A131 Notification of reasons for refusal

Free format text: JAPANESE INTERMEDIATE CODE: A131

Effective date: 20100702

A977 Report on retrieval

Free format text: JAPANESE INTERMEDIATE CODE: A971007

Effective date: 20100701

A601 Written request for extension of time

Free format text: JAPANESE INTERMEDIATE CODE: A601

Effective date: 20101004

A602 Written permission of extension of time

Free format text: JAPANESE INTERMEDIATE CODE: A602

Effective date: 20101007

A521 Request for written amendment filed

Free format text: JAPANESE INTERMEDIATE CODE: A523

Effective date: 20101029

A02 Decision of refusal

Free format text: JAPANESE INTERMEDIATE CODE: A02

Effective date: 20110401

A521 Request for written amendment filed

Free format text: JAPANESE INTERMEDIATE CODE: A523

Effective date: 20110729

A911 Transfer to examiner for re-examination before appeal (zenchi)

Free format text: JAPANESE INTERMEDIATE CODE: A911

Effective date: 20110808

TRDD Decision of grant or rejection written
A01 Written decision to grant a patent or to grant a registration (utility model)

Free format text: JAPANESE INTERMEDIATE CODE: A01

Effective date: 20110916

A01 Written decision to grant a patent or to grant a registration (utility model)

Free format text: JAPANESE INTERMEDIATE CODE: A01

A61 First payment of annual fees (during grant procedure)

Free format text: JAPANESE INTERMEDIATE CODE: A61

Effective date: 20110929

FPAY Renewal fee payment (event date is renewal date of database)

Free format text: PAYMENT UNTIL: 20141007

Year of fee payment: 3

R150 Certificate of patent or registration of utility model

Ref document number: 4837910

Country of ref document: JP

Free format text: JAPANESE INTERMEDIATE CODE: R150

Free format text: JAPANESE INTERMEDIATE CODE: R150

R250 Receipt of annual fees

Free format text: JAPANESE INTERMEDIATE CODE: R250

R250 Receipt of annual fees

Free format text: JAPANESE INTERMEDIATE CODE: R250

R250 Receipt of annual fees

Free format text: JAPANESE INTERMEDIATE CODE: R250

R250 Receipt of annual fees

Free format text: JAPANESE INTERMEDIATE CODE: R250

R250 Receipt of annual fees

Free format text: JAPANESE INTERMEDIATE CODE: R250

R250 Receipt of annual fees

Free format text: JAPANESE INTERMEDIATE CODE: R250

R250 Receipt of annual fees

Free format text: JAPANESE INTERMEDIATE CODE: R250

R250 Receipt of annual fees

Free format text: JAPANESE INTERMEDIATE CODE: R250

R250 Receipt of annual fees

Free format text: JAPANESE INTERMEDIATE CODE: R250

R250 Receipt of annual fees

Free format text: JAPANESE INTERMEDIATE CODE: R250

R250 Receipt of annual fees

Free format text: JAPANESE INTERMEDIATE CODE: R250

EXPY Cancellation because of completion of term