JP2005296562A - 鏡視下手術用円柱形ガーゼと挿入用筒型器具 - Google Patents
鏡視下手術用円柱形ガーゼと挿入用筒型器具 Download PDFInfo
- Publication number
- JP2005296562A JP2005296562A JP2004142920A JP2004142920A JP2005296562A JP 2005296562 A JP2005296562 A JP 2005296562A JP 2004142920 A JP2004142920 A JP 2004142920A JP 2004142920 A JP2004142920 A JP 2004142920A JP 2005296562 A JP2005296562 A JP 2005296562A
- Authority
- JP
- Japan
- Prior art keywords
- gauze
- cavity
- cylindrical
- removal
- port
- Prior art date
- Legal status (The legal status is an assumption and is not a legal conclusion. Google has not performed a legal analysis and makes no representation as to the accuracy of the status listed.)
- Pending
Links
- 238000003780 insertion Methods 0.000 title claims abstract description 17
- 230000037431 insertion Effects 0.000 title claims abstract description 17
- 238000002674 endoscopic surgery Methods 0.000 title abstract description 9
- 238000001356 surgical procedure Methods 0.000 claims abstract 2
- 239000007788 liquid Substances 0.000 abstract description 8
- 239000008280 blood Substances 0.000 abstract description 5
- 210000004369 blood Anatomy 0.000 abstract description 5
- 230000000740 bleeding effect Effects 0.000 abstract description 4
- 208000032843 Hemorrhage Diseases 0.000 abstract 2
- 230000002093 peripheral effect Effects 0.000 abstract 2
- 238000000605 extraction Methods 0.000 description 4
- 230000023597 hemostasis Effects 0.000 description 4
- 239000000306 component Substances 0.000 description 2
- 239000000284 extract Substances 0.000 description 2
- 210000000683 abdominal cavity Anatomy 0.000 description 1
- 210000003815 abdominal wall Anatomy 0.000 description 1
- 238000010521 absorption reaction Methods 0.000 description 1
- 239000012503 blood component Substances 0.000 description 1
- 238000002192 cholecystectomy Methods 0.000 description 1
- 238000004140 cleaning Methods 0.000 description 1
- 238000012321 colectomy Methods 0.000 description 1
- 230000029142 excretion Effects 0.000 description 1
- 239000012530 fluid Substances 0.000 description 1
- 210000004185 liver Anatomy 0.000 description 1
- 210000000779 thoracic wall Anatomy 0.000 description 1
Images
Classifications
-
- A—HUMAN NECESSITIES
- A61—MEDICAL OR VETERINARY SCIENCE; HYGIENE
- A61F—FILTERS IMPLANTABLE INTO BLOOD VESSELS; PROSTHESES; DEVICES PROVIDING PATENCY TO, OR PREVENTING COLLAPSING OF, TUBULAR STRUCTURES OF THE BODY, e.g. STENTS; ORTHOPAEDIC, NURSING OR CONTRACEPTIVE DEVICES; FOMENTATION; TREATMENT OR PROTECTION OF EYES OR EARS; BANDAGES, DRESSINGS OR ABSORBENT PADS; FIRST-AID KITS
- A61F13/00—Bandages or dressings; Absorbent pads
- A61F13/15—Absorbent pads, e.g. sanitary towels, swabs or tampons for external or internal application to the body; Supporting or fastening means therefor; Tampon applicators
- A61F13/36—Surgical swabs, e.g. for absorbency or packing body cavities during surgery
-
- A—HUMAN NECESSITIES
- A61—MEDICAL OR VETERINARY SCIENCE; HYGIENE
- A61F—FILTERS IMPLANTABLE INTO BLOOD VESSELS; PROSTHESES; DEVICES PROVIDING PATENCY TO, OR PREVENTING COLLAPSING OF, TUBULAR STRUCTURES OF THE BODY, e.g. STENTS; ORTHOPAEDIC, NURSING OR CONTRACEPTIVE DEVICES; FOMENTATION; TREATMENT OR PROTECTION OF EYES OR EARS; BANDAGES, DRESSINGS OR ABSORBENT PADS; FIRST-AID KITS
- A61F13/00—Bandages or dressings; Absorbent pads
- A61F13/01—Non-adhesive bandages or dressings
- A61F13/01021—Non-adhesive bandages or dressings characterised by the structure of the dressing
Landscapes
- Health & Medical Sciences (AREA)
- Animal Behavior & Ethology (AREA)
- Life Sciences & Earth Sciences (AREA)
- Veterinary Medicine (AREA)
- Engineering & Computer Science (AREA)
- Biomedical Technology (AREA)
- Heart & Thoracic Surgery (AREA)
- Vascular Medicine (AREA)
- Public Health (AREA)
- General Health & Medical Sciences (AREA)
- Nuclear Medicine, Radiotherapy & Molecular Imaging (AREA)
- Surgery (AREA)
- Epidemiology (AREA)
- Absorbent Articles And Supports Therefor (AREA)
- Surgical Instruments (AREA)
Abstract
【課題】鏡視下手術を施行する場合に、出血時の止血や血液除去にガーゼを挿入して使用することが多い。しかしガーゼは、腔内でその辺縁がほつれ、ガーゼの一部が腔内に遺残し、術後重大な合併症を併発する危険性がある。また腔内外でのガーゼを出し入れは、細いポートを介するため容易ではなく時間も要する。さらに使用後の摘出時にガーゼに染み込んだ液体が腔の内外を連絡するポートの出口でしぼられて腔内に逆流することが多い。
【解決手段】
1/4に切ったガーゼをロール状に丸め、ガーゼの辺縁を内側に折り込むことで、ほつれたガーゼが表面から消失し、腔内に遺残しないようにする。糸で3箇所結紮して円柱型の形態を保ち、挿入・摘出を容易とする。ロール状ガーゼ用の筒状器具を用いることで挿入・摘出はさらに容易になり、ガーゼに染み込んだ血液や浸出液が腔内へ逆流するのを防ぐ。
【選択図】図1
【解決手段】
1/4に切ったガーゼをロール状に丸め、ガーゼの辺縁を内側に折り込むことで、ほつれたガーゼが表面から消失し、腔内に遺残しないようにする。糸で3箇所結紮して円柱型の形態を保ち、挿入・摘出を容易とする。ロール状ガーゼ用の筒状器具を用いることで挿入・摘出はさらに容易になり、ガーゼに染み込んだ血液や浸出液が腔内へ逆流するのを防ぐ。
【選択図】図1
Description
本発明は、鏡視下手術用のガーゼとその挿入器具に関する。
鏡視下手術は細い挿入口を介し、特殊な鏡視下手術用の器具を使用して手術を行うものである。そのため、より安全で、使いやすい製品の開発が望まれる。
腔内での止血や貯留液除去に安全で挿入しやすいガーゼの開発が必要である。従来の挿入口の太さを変えないで、誰にでも容易に使用できる製品開発が望まれる。
以下図2により説明する。今日、鏡視下手術施行時に、出血した血液の除去や止血のため、通常の1/4の大きさのガーゼ1を腔外5から腔内6へ、体壁4を貫通させたポート2を介して挿入する。腔内6では鉗子3でガーゼ1を把持し、圧迫することで止血処置をしたり、拭き取ることで液体成分20を除去する。
しかしガーゼ1は、腔内でその切断面がほつれ、その一部が腔内に遺残して重大な合併症を併発する危険性がある。また従来のガーゼは挿入時、細いポート2を介するため、挿入は簡単ではないし、摘出時にガーゼに吸い込んだ血液などの水分が細い挿入口で搾られ、腔内に漏れることが多い。
以上の課題を解決するために、第一発明は、ガーゼを円柱形として腔内に挿入しやすくすることを特徴とする鏡視下手術用ガーゼである。
また第二発明は、1/4に切ったガーゼをさらに1/3に折り、ガーゼの辺縁を内側に折り込むことでガーゼのほつれる部分を表面からなくし、糸でまわりを結紮してロール状にすることを特徴とする鏡視下手術用ガーゼである。
また第二発明は、1/4に切ったガーゼをさらに1/3に折り、ガーゼの辺縁を内側に折り込むことでガーゼのほつれる部分を表面からなくし、糸でまわりを結紮してロール状にすることを特徴とする鏡視下手術用ガーゼである。
さらに第三発明は、第一発明、第二発明のガーゼ挿入を容易にし、摘出時、吸収した液体を腔内に逆流させないことを特徴とする筒型器具である。
第一発明、または第二発明によれば、鏡視下手術時に、ガーゼの挿入・摘出が容易となり、ほつれたガーゼを使用する必要がなくなり安全性が向上する。
第三発明によれば、ガーゼの挿入・摘出がさらに容易となり、ガーゼの摘出時に染み込んだ液体が腔内に逆流しなくなる。
以下、本発明の実施の形態を図1〜9により説明する。
図3において、7は通常使用しているガーゼで、大きさは縦29.0cm、横30.0cmである。それを8の如く1/4、縦約14.5cm横約15.0cmに切断して使用する。
1/4ガーゼを9のように縦方向で内側に折り三重構造にする。腔内で紛失しても見つかるように、10のごとくX線に映る糸があらかじめ織り込まれている。
図4の11,12のように上下をそれぞれ内側に折り、図5、13のように内側にロール状に丸め、円柱形にする。
図6の14のように両端と中央を手術用絹糸で結紮して形状を保つと15のような、ほぼ円柱状の形態となる。長さ5cm、太さ0.9cm。
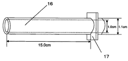
ガーゼを挿入・摘出するための器具は図7の16のように筒状の形状で、鏡視下手術用の1.2cmポートから挿入できるように外径は1.1cmとした。17のように器具全体が腔内に入り込まないようにストッパーを装着する。
図8の2は腔の内外を連絡するポートで、その内側に筒型器具16が挿入され、筒型器具の先端はポートを介して腔内に至る。あらかじめ筒内に挿入しておいた円柱形ガーゼ15は、鉗子挿入口18を介して挿入された鏡視下手術用の鉗子で19の方向に押し込むことで、腔内に挿入される。
腔内では図1のように鉗子3で円柱形ガーゼ15を把持して操作し、20のような出血の止血や液体の吸収、清拭に使用する。
使用後は、図9のように鉗子3で円柱形ガーゼ15の端を把持して、挿入時に使用した筒状器具16の中に戻して筒状器具ごと腔外5に摘出する。こうすると円柱形ガーゼ15に染みんだ液体は、腔内に逆流しない。
腹腔鏡下胆嚢摘出術や腹腔鏡補助下結腸切除術で使用している。肝臓からの出血の止血や腹腔内にたまった液体成分の排泄に有用である。
1 辺縁がほつれた1/4カットガーゼ
2 腔の内外を連絡するポート
3 把持鉗子
4 腹壁や胸壁などの体壁
5 腔外
6 腔内
7 通常のガーゼ
8 1/4の大きさのガーゼ
9 内側に三等分に折る
10 織り込まれたX線に映る糸
11 ガーゼの上部1/3
12 ガーゼの下部1/3
13 ロール状に丸められたガーゼ
14 結紮糸
15 円柱形ガーゼ
16 円柱形ガーゼ挿入用筒型器具
17 ストッパー
18 鉗子挿入口
19 挿入時に鉗子で押し込む方向
20 血液、貯留液などの液体成分
2 腔の内外を連絡するポート
3 把持鉗子
4 腹壁や胸壁などの体壁
5 腔外
6 腔内
7 通常のガーゼ
8 1/4の大きさのガーゼ
9 内側に三等分に折る
10 織り込まれたX線に映る糸
11 ガーゼの上部1/3
12 ガーゼの下部1/3
13 ロール状に丸められたガーゼ
14 結紮糸
15 円柱形ガーゼ
16 円柱形ガーゼ挿入用筒型器具
17 ストッパー
18 鉗子挿入口
19 挿入時に鉗子で押し込む方向
20 血液、貯留液などの液体成分
Claims (3)
- 円柱形で挿入が容易なことを特徴とする鏡視下手術用ガーゼ。
- ガーゼをロール状に丸めたことを特徴とする請求項1記載の鏡視下手術用ガーゼ
- 請求項1記載のガーゼ挿入を容易にすることを特徴とする筒型器具。
Priority Applications (1)
| Application Number | Priority Date | Filing Date | Title |
|---|---|---|---|
| JP2004142920A JP2005296562A (ja) | 2004-04-11 | 2004-04-11 | 鏡視下手術用円柱形ガーゼと挿入用筒型器具 |
Applications Claiming Priority (1)
| Application Number | Priority Date | Filing Date | Title |
|---|---|---|---|
| JP2004142920A JP2005296562A (ja) | 2004-04-11 | 2004-04-11 | 鏡視下手術用円柱形ガーゼと挿入用筒型器具 |
Publications (1)
| Publication Number | Publication Date |
|---|---|
| JP2005296562A true JP2005296562A (ja) | 2005-10-27 |
Family
ID=35328801
Family Applications (1)
| Application Number | Title | Priority Date | Filing Date |
|---|---|---|---|
| JP2004142920A Pending JP2005296562A (ja) | 2004-04-11 | 2004-04-11 | 鏡視下手術用円柱形ガーゼと挿入用筒型器具 |
Country Status (1)
| Country | Link |
|---|---|
| JP (1) | JP2005296562A (ja) |
Cited By (7)
| Publication number | Priority date | Publication date | Assignee | Title |
|---|---|---|---|---|
| WO2009084688A1 (ja) * | 2007-12-28 | 2009-07-09 | Nippon Medical School Foundation | 鏡視下手術用の臓器間スペーサー |
| WO2010150874A1 (ja) * | 2009-06-26 | 2010-12-29 | 学校法人日本医科大学 | 手術用臓器間スペーサー |
| US20110028930A1 (en) * | 2008-11-21 | 2011-02-03 | N.B.R. New Biotechnology Research | Surgical instrument for operations on the spinal column |
| JP2012139322A (ja) * | 2010-12-28 | 2012-07-26 | Hokkaido Univ | 医療用糸付きガーゼ |
| JP2013183751A (ja) * | 2012-03-05 | 2013-09-19 | Osaki Medical Co Ltd | 内視鏡下手術用吸収材カートリッジ |
| EP2908885A4 (en) * | 2012-10-17 | 2016-06-22 | Covidien Lp | LAPAROSCOPIC OUTPUT DEVICE |
| JP2021194483A (ja) * | 2020-06-18 | 2021-12-27 | 国立大学法人東海国立大学機構 | 手術補助具 |
-
2004
- 2004-04-11 JP JP2004142920A patent/JP2005296562A/ja active Pending
Cited By (16)
| Publication number | Priority date | Publication date | Assignee | Title |
|---|---|---|---|---|
| US8944991B2 (en) | 2007-12-28 | 2015-02-03 | Nippon Medical School Foundation | Inter-organ spacer for use in endoscopic surgery |
| JP2013163031A (ja) * | 2007-12-28 | 2013-08-22 | Nippon Medical School | 鏡視下手術用の臓器間スペーサー |
| WO2009084688A1 (ja) * | 2007-12-28 | 2009-07-09 | Nippon Medical School Foundation | 鏡視下手術用の臓器間スペーサー |
| JP2011120952A (ja) * | 2007-12-28 | 2011-06-23 | Nippon Medical School | 鏡視下手術用の臓器間スペーサー |
| JP2011139905A (ja) * | 2007-12-28 | 2011-07-21 | Nippon Medical School | 鏡視下手術用の臓器間スペーサー |
| JP4936205B2 (ja) * | 2007-12-28 | 2012-05-23 | 学校法人日本医科大学 | 鏡視下手術用の臓器間スペーサー |
| CN102600022A (zh) * | 2007-12-28 | 2012-07-25 | 学校法人日本医科大学 | 镜视下手术用的脏器间隔离物 |
| US8663101B2 (en) * | 2008-11-21 | 2014-03-04 | N.B.R. New Biotechnology Research | Surgical instrument for operations on the spinal column |
| US20110028930A1 (en) * | 2008-11-21 | 2011-02-03 | N.B.R. New Biotechnology Research | Surgical instrument for operations on the spinal column |
| EP2381853B1 (en) * | 2008-11-21 | 2016-01-13 | Giuseppe Calvosa | Surgical instrument for operations on the spinal column |
| WO2010150874A1 (ja) * | 2009-06-26 | 2010-12-29 | 学校法人日本医科大学 | 手術用臓器間スペーサー |
| JPWO2010150874A1 (ja) * | 2009-06-26 | 2012-12-10 | 学校法人日本医科大学 | 手術用臓器間スペーサー |
| JP2012139322A (ja) * | 2010-12-28 | 2012-07-26 | Hokkaido Univ | 医療用糸付きガーゼ |
| JP2013183751A (ja) * | 2012-03-05 | 2013-09-19 | Osaki Medical Co Ltd | 内視鏡下手術用吸収材カートリッジ |
| EP2908885A4 (en) * | 2012-10-17 | 2016-06-22 | Covidien Lp | LAPAROSCOPIC OUTPUT DEVICE |
| JP2021194483A (ja) * | 2020-06-18 | 2021-12-27 | 国立大学法人東海国立大学機構 | 手術補助具 |
Similar Documents
| Publication | Publication Date | Title |
|---|---|---|
| KR101893987B1 (ko) | 복강경 수술용 조직 적출 장치 | |
| US8328841B2 (en) | Embolization coil delivery systems and methods | |
| JP2004016818A (ja) | シーリング装置 | |
| US20160310647A1 (en) | Nasal fluid management device | |
| US9408756B2 (en) | Nasal fluid management device | |
| CN206777356U (zh) | 一种卵圆孔未闭介入缝合手术器械 | |
| CN101583318A (zh) | 收集鞘及其使用方法 | |
| JP2005296562A (ja) | 鏡視下手術用円柱形ガーゼと挿入用筒型器具 | |
| US10507031B2 (en) | Tissue bag and method of removing excised tissue | |
| WO2009142605A1 (en) | Device for atraumatic introduction of a means into a tubular organ of a living being | |
| US20160296382A1 (en) | Methods and Devices for Controlling Hemorrhage During Minimally Invasive Surgical Procedures | |
| JP5128672B2 (ja) | 内視鏡用圧排体 | |
| CN117017373A (zh) | 一种微创手术用组织取出器械 | |
| US20060074436A1 (en) | Methods and apparatus for hollow body structure resection | |
| JP7814387B2 (ja) | ステントグラフト摘出のための装置および方法 | |
| CN112790803B (zh) | 一种胸外科用腔镜双排式血管缝合器 | |
| CN219940714U (zh) | 一种带吸引器功能的椎板咬骨钳 | |
| IT202000016426A1 (it) | Dispositivo percutaneo per il serraggio di un vaso sanguigno | |
| CN104622536B (zh) | 用于将深静脉血栓取除器与动力装置相连的快换连接头 | |
| Bermejo-Fenoll et al. | Instrument for biopsy of oral lesions: an improved chalazion forceps | |
| RU106094U1 (ru) | Устройство для удаления камней из внепеченочных желчных протоков | |
| JP2003102738A (ja) | トロカール用補助部品及びトロカール並びに内視鏡用装置 | |
| CN215457885U (zh) | 系列胆道镜帽 | |
| FR3100124A1 (fr) | Dispositif chirurgical comportant une tige présentant à son extrémité distale un manchon déformable entourant ladite tige | |
| CN201135475Y (zh) | 一种穿刺器套管 |