JP2005296472A - インデックスカッター - Google Patents

インデックスカッター Download PDF

Info

Publication number
JP2005296472A
JP2005296472A JP2004119577A JP2004119577A JP2005296472A JP 2005296472 A JP2005296472 A JP 2005296472A JP 2004119577 A JP2004119577 A JP 2004119577A JP 2004119577 A JP2004119577 A JP 2004119577A JP 2005296472 A JP2005296472 A JP 2005296472A
Authority
JP
Japan
Prior art keywords
index
base material
cutter
index cutter
document
Prior art date
Legal status (The legal status is an assumption and is not a legal conclusion. Google has not performed a legal analysis and makes no representation as to the accuracy of the status listed.)
Granted
Application number
JP2004119577A
Other languages
English (en)
Other versions
JP4596811B2 (ja
Inventor
Makoto Noguchi
誠 野口
Yasuhisa Mizutani
耕久 水谷
Current Assignee (The listed assignees may be inaccurate. Google has not performed a legal analysis and makes no representation or warranty as to the accuracy of the list.)
Makoto Orisaki InterWorks Laboratories
Original Assignee
Makoto Orisaki InterWorks Laboratories
Priority date (The priority date is an assumption and is not a legal conclusion. Google has not performed a legal analysis and makes no representation as to the accuracy of the date listed.)
Filing date
Publication date
Application filed by Makoto Orisaki InterWorks Laboratories filed Critical Makoto Orisaki InterWorks Laboratories
Priority to JP2004119577A priority Critical patent/JP4596811B2/ja
Priority to CNA2005800192157A priority patent/CN101014453A/zh
Priority to PCT/JP2005/007131 priority patent/WO2005099978A1/ja
Priority to US11/578,380 priority patent/US7617756B2/en
Priority to KR1020067023616A priority patent/KR100846817B1/ko
Priority to TW94111909A priority patent/TWI267455B/zh
Publication of JP2005296472A publication Critical patent/JP2005296472A/ja
Application granted granted Critical
Publication of JP4596811B2 publication Critical patent/JP4596811B2/ja
Anticipated expiration legal-status Critical
Expired - Fee Related legal-status Critical Current

Links

Images

Classifications

    • BPERFORMING OPERATIONS; TRANSPORTING
    • B26HAND CUTTING TOOLS; CUTTING; SEVERING
    • B26FPERFORATING; PUNCHING; CUTTING-OUT; STAMPING-OUT; SEVERING BY MEANS OTHER THAN CUTTING
    • B26F1/00Perforating; Punching; Cutting-out; Stamping-out; Apparatus therefor
    • B26F1/02Perforating by punching, e.g. with relatively-reciprocating punch and bed
    • B26F1/12Perforating by punching, e.g. with relatively-reciprocating punch and bed to notch margins of work
    • BPERFORMING OPERATIONS; TRANSPORTING
    • B26HAND CUTTING TOOLS; CUTTING; SEVERING
    • B26FPERFORATING; PUNCHING; CUTTING-OUT; STAMPING-OUT; SEVERING BY MEANS OTHER THAN CUTTING
    • B26F1/00Perforating; Punching; Cutting-out; Stamping-out; Apparatus therefor
    • B26F1/32Hand-held perforating or punching apparatus, e.g. awls
    • BPERFORMING OPERATIONS; TRANSPORTING
    • B26HAND CUTTING TOOLS; CUTTING; SEVERING
    • B26BHAND-HELD CUTTING TOOLS NOT OTHERWISE PROVIDED FOR
    • B26B1/00Hand knives with adjustable blade; Pocket knives
    • B26B1/02Hand knives with adjustable blade; Pocket knives with pivoted blade
    • BPERFORMING OPERATIONS; TRANSPORTING
    • B26HAND CUTTING TOOLS; CUTTING; SEVERING
    • B26BHAND-HELD CUTTING TOOLS NOT OTHERWISE PROVIDED FOR
    • B26B13/00Hand shears; Scissors
    • B26B13/06Hand shears; Scissors characterised by the shape of the blades
    • B26B13/10Hand shears; Scissors characterised by the shape of the blades for producing wavy, zig-zag, or like cuts
    • BPERFORMING OPERATIONS; TRANSPORTING
    • B26HAND CUTTING TOOLS; CUTTING; SEVERING
    • B26FPERFORATING; PUNCHING; CUTTING-OUT; STAMPING-OUT; SEVERING BY MEANS OTHER THAN CUTTING
    • B26F1/00Perforating; Punching; Cutting-out; Stamping-out; Apparatus therefor
    • B26F1/32Hand-held perforating or punching apparatus, e.g. awls
    • B26F1/36Punching or perforating pliers
    • BPERFORMING OPERATIONS; TRANSPORTING
    • B42BOOKBINDING; ALBUMS; FILES; SPECIAL PRINTED MATTER
    • B42FSHEETS TEMPORARILY ATTACHED TOGETHER; FILING APPLIANCES; FILE CARDS; INDEXING
    • B42F21/00Indexing means; Indexing tabs or protectors therefor
    • B42F21/12Sheets, papers, or cards having edges cut away to facilitate indexing, e.g. thumb cuts on books
    • BPERFORMING OPERATIONS; TRANSPORTING
    • B26HAND CUTTING TOOLS; CUTTING; SEVERING
    • B26FPERFORATING; PUNCHING; CUTTING-OUT; STAMPING-OUT; SEVERING BY MEANS OTHER THAN CUTTING
    • B26F1/00Perforating; Punching; Cutting-out; Stamping-out; Apparatus therefor
    • B26F1/32Hand-held perforating or punching apparatus, e.g. awls
    • B26F1/36Punching or perforating pliers
    • B26F2001/365Punching or perforating pliers hand held pliers with handles
    • YGENERAL TAGGING OF NEW TECHNOLOGICAL DEVELOPMENTS; GENERAL TAGGING OF CROSS-SECTIONAL TECHNOLOGIES SPANNING OVER SEVERAL SECTIONS OF THE IPC; TECHNICAL SUBJECTS COVERED BY FORMER USPC CROSS-REFERENCE ART COLLECTIONS [XRACs] AND DIGESTS
    • Y10TECHNICAL SUBJECTS COVERED BY FORMER USPC
    • Y10STECHNICAL SUBJECTS COVERED BY FORMER USPC CROSS-REFERENCE ART COLLECTIONS [XRACs] AND DIGESTS
    • Y10S83/00Cutting
    • Y10S83/904Book index cutting
    • YGENERAL TAGGING OF NEW TECHNOLOGICAL DEVELOPMENTS; GENERAL TAGGING OF CROSS-SECTIONAL TECHNOLOGIES SPANNING OVER SEVERAL SECTIONS OF THE IPC; TECHNICAL SUBJECTS COVERED BY FORMER USPC CROSS-REFERENCE ART COLLECTIONS [XRACs] AND DIGESTS
    • Y10TECHNICAL SUBJECTS COVERED BY FORMER USPC
    • Y10STECHNICAL SUBJECTS COVERED BY FORMER USPC CROSS-REFERENCE ART COLLECTIONS [XRACs] AND DIGESTS
    • Y10S83/00Cutting
    • Y10S83/917Notching
    • YGENERAL TAGGING OF NEW TECHNOLOGICAL DEVELOPMENTS; GENERAL TAGGING OF CROSS-SECTIONAL TECHNOLOGIES SPANNING OVER SEVERAL SECTIONS OF THE IPC; TECHNICAL SUBJECTS COVERED BY FORMER USPC CROSS-REFERENCE ART COLLECTIONS [XRACs] AND DIGESTS
    • Y10TECHNICAL SUBJECTS COVERED BY FORMER USPC
    • Y10TTECHNICAL SUBJECTS COVERED BY FORMER US CLASSIFICATION
    • Y10T83/00Cutting
    • Y10T83/869Means to drive or to guide tool
    • Y10T83/8776Constantly urged tool or tool support [e.g., spring biased]
    • Y10T83/8785Through return [noncutting] stroke
    • Y10T83/8786Oscillating tool
    • YGENERAL TAGGING OF NEW TECHNOLOGICAL DEVELOPMENTS; GENERAL TAGGING OF CROSS-SECTIONAL TECHNOLOGIES SPANNING OVER SEVERAL SECTIONS OF THE IPC; TECHNICAL SUBJECTS COVERED BY FORMER USPC CROSS-REFERENCE ART COLLECTIONS [XRACs] AND DIGESTS
    • Y10TECHNICAL SUBJECTS COVERED BY FORMER USPC
    • Y10TTECHNICAL SUBJECTS COVERED BY FORMER US CLASSIFICATION
    • Y10T83/00Cutting
    • Y10T83/869Means to drive or to guide tool
    • Y10T83/8798With simple oscillating motion only
    • Y10T83/8799Plural tool pairs
    • Y10T83/8801Plural tools on single oscillating arm [i.e., tool holder]
    • YGENERAL TAGGING OF NEW TECHNOLOGICAL DEVELOPMENTS; GENERAL TAGGING OF CROSS-SECTIONAL TECHNOLOGIES SPANNING OVER SEVERAL SECTIONS OF THE IPC; TECHNICAL SUBJECTS COVERED BY FORMER USPC CROSS-REFERENCE ART COLLECTIONS [XRACs] AND DIGESTS
    • Y10TECHNICAL SUBJECTS COVERED BY FORMER USPC
    • Y10TTECHNICAL SUBJECTS COVERED BY FORMER US CLASSIFICATION
    • Y10T83/00Cutting
    • Y10T83/869Means to drive or to guide tool
    • Y10T83/8798With simple oscillating motion only
    • Y10T83/8817Axially entending cutting edge
    • Y10T83/8818Axially progressing cut
    • YGENERAL TAGGING OF NEW TECHNOLOGICAL DEVELOPMENTS; GENERAL TAGGING OF CROSS-SECTIONAL TECHNOLOGIES SPANNING OVER SEVERAL SECTIONS OF THE IPC; TECHNICAL SUBJECTS COVERED BY FORMER USPC CROSS-REFERENCE ART COLLECTIONS [XRACs] AND DIGESTS
    • Y10TECHNICAL SUBJECTS COVERED BY FORMER USPC
    • Y10TTECHNICAL SUBJECTS COVERED BY FORMER US CLASSIFICATION
    • Y10T83/00Cutting
    • Y10T83/929Tool or tool with support
    • Y10T83/9411Cutting couple type
    • Y10T83/9423Punching tool
    • Y10T83/9428Shear-type male tool
    • Y10T83/9435Progressive cutting

Landscapes

  • Life Sciences & Earth Sciences (AREA)
  • Forests & Forestry (AREA)
  • Engineering & Computer Science (AREA)
  • Mechanical Engineering (AREA)
  • Perforating, Stamping-Out Or Severing By Means Other Than Cutting (AREA)
  • Knives (AREA)

Abstract

【課題】 書類等に切り込みインデックスを形成することができるインデックスカッターを提供する。コンパクトであって携帯性を向上することができるインデックスカッターを提供する。
【解決手段】 平板インデックスカッターIの第2の基材2を準備位置に回動させた後に、書類20の用紙21の側辺21aを第1の基材1の正面1aに嵌合凸部5側から乗せるとともに、同側辺21aを第2の基材2の背面2bに当接させて位置決めをする。次に、第2の基材2を切断位置に回動させて、第1及び第2の基材1,2に形成した第1及び第2刃部7,10によって側辺21aに切り込みインデックス22を形成する。これによって、書類20は、各用紙21にそれぞれ切り込みインデックス22を形成することで、書類20を項目毎に分類することができる。
【選択図】 図4

Description

本発明は、インデックスカッターに関する。
従来、書類等の各ページに記載されている内容を識別するためのインデックスの1つとして、貼付用インデックスが知られている。一般に、この貼付用インデックスは、紙又はプラスチック等からなる台紙と、同台紙の一端に糊等を付着させた接着部とからなる。そして、貼付用インデックスは、その台紙の一部が書類の小口から突出するように、接着部を介して同書類の任意のページに貼り付けられていた。このように貼付用インデックスが貼り付けられた書類では、同書類の小口から突出した貼付用インデックスに従うことで、所望の内容が記載されているページを視認することができるようになっていた。
しかしながら、この貼付用インデックスは、書類に貼り付けられる量が多くなると、貼付用インデックス同士が混同し、同書類の各ページの識別が困難となり、さらに、この書類を封筒等に収容し難いことや、貼付用インデックスが手指に当たる等の問題があった。このため、百科事典等の製本の小口に形成されている切り込みインデックスを書類等にも採用することが要望されている。一般に、この切り込みインデックスは、円弧状の刃先を有する突きノミによって小口を穿つことで形成されていたが、この突きノミは、外形が大きく嵩張り、また刃先が露出しているため携帯することが困難であった。
本発明は、上記した課題を解決するためのものであって、その第1の目的は、取り扱いが簡単で書類等に切り込みインデックスを形成することができるインデックスカッターを提供する。また、第1の目的に加えて第2の目的は、コンパクトであって携帯性を向上することができるインデックスカッターを提供することにある。
本発明のインデックスカッターは、用紙に切り込みインデックスを形成するインデックスカッターであって、平板状の第1の基材の一端部と、平板状の第2の基材の一端部を互いに回動可能に連結するとともに、前記第1の基材に第1刃部を形成し前記第2の基材に第2刃部を形成し、前記第1の基材及び前記第2の基材の相対回動に伴って前記第1刃部及び前記第2刃部にて前記用紙に切り込みインデックスを切り欠き形成するように構成した。
これによれば、インデックスカッターは、第1の基材又は第2の基材を回動させただけで、第1刃部と第2刃部が協働して用紙に切り込みインデックスを形成する。これによって、書類にも切り込みインデックスを簡単に形成することができ、書類を項目毎に分類することができる。また、書類の各用紙にそれぞれ切り込みインデックスを形成しておくことで、例えば各用紙が混ざってしまった場合には、同切り込みインデックスを割印的目印として、各用紙を項目毎に選別することが可能となる。さらに、第1の基材及び第2の基材を平板状に構成したことにより、インデックスカッターはコンパクトとなって机等に省スペースに載置することができる。
このインデックスカッターの全長は、96ミリメートル前後に形成される。
これによれば、インデックスカッターの全長は、A4サイズの用紙の長さの略三分の一となっている。従って、このインデックスカッターを用いることによって、用紙を容易に
三つ折りにすることができる。さらに、全長を96ミリメートル前後とすることでインデックスカッターはコンパクトに形成されるので、同インデックスカッターの携帯性を向上することができる。
このインデックスカッターは、日本工業規格に準拠して製造されたパンチャーによって用紙に形成されるパンチ孔の形成位置を示す位置確認孔を備えた。
これによれば、パンチ孔の形成の際に、位置確認孔によって用紙に形成されるパンチ孔の形成位置を確認することができる。即ち、用紙に記載された文字等を、パンチ孔の形成によって損なうかどうかを確認することができる。この結果、本発明のインデックスカッターを用いることで用紙に記載された文字等が欠損することを抑制し、同用紙に正確にパンチ孔を形成することができる。
本発明によれば、書類等に切り込みインデックスを簡単に形成することができる。
以下、本発明を具体化した一実施形態を図1〜図7に従って説明する。
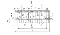
図1は、本実施形態の平板インデックスカッターの構成を説明するための正面図である。図2は、平板インデックスカッターの準備位置及び切断位置を説明するための側面図である。図3は、同図1におけるA―A線方向の断面図である。
図1に示すように、平板インデックスカッターIは、鋼、ステンレス、アルミ等の金属からなる扁平であって厚さが2.5ミリメートルの平板状に形成された第1の基材1と第2の基材2とを備えていて、その全長Lが96ミリメートルとなるように構成されている。この第1の基材1と第2の基材2は、図1において、同第1及び第2の基材1,2の正面1a,2a及び背面1b,2bがそれぞれ平滑な面を成すように、その一端部に貫設された連結ピン3,4を介して互いに連結されている。そして、図2に示すように、第1及び第2の基材1,2は、連結ピン3,4を回動中心とした相対回動ができるようになっている。
前記第1の基材1の一端部(上述した第2の基材2との連結部側)には、図1における前記第2の基材2方向に向けて、略円弧状の嵌合凸部5が突出形成されている。この嵌合凸部5には、図3に示すように、その側面に前記背面1bから前記正面1aにかけて第2の基材2の方向に傾斜する傾斜部6を備えている。このように傾斜部6を形成することによって、嵌合凸部5の前記正面1a側の先端部には第1刃部7が2段刃に形成されている。
一方、第2の基材2の一端部(上述した第1の基材1との連結部側)には、略円弧状の嵌合凹部8が凹設されている。
この嵌合凹部8は、第1及び第2の基材1,2を連結させた際に、前記嵌合凸部5と嵌合するようになっている。嵌合凹部8には、図3に示すように、その側面に断面円弧状の逃げ溝9が凹設されている。この逃げ溝9は、第1及び第2の基材1,2の相対回動の際に、第1刃部7が移動するための溝であって、同逃げ溝9を形成することによって、嵌合凹部8の背面2b側の先端部には第2刃部10が形成されている。この第2刃部10は、第1及び第2の基材1,2が、互いに相対回動した際に第1刃部7と協働して用紙を切断するようになっている。
このように構成することによって、例えば、第2の基材2を、図2において実線で示す位置(準備位置)から、同図2において2点鎖線で示す位置(切断位置)まで相対回動させると、この回動に伴って、第1刃部7及び第2刃部は両側から順に中央部へと交差しな
がら摺動する。このとき、第1刃部7は、第2刃部10と交差した後に逃げ溝9内を移動するので、嵌合凸部5と嵌合凹部8は回動の際には互いに引っ掛かることがない。即ち、第1及び第2の基材1,2は互いに引っ掛かることなく滑らかに相対回動可能となっている。
平板インデックスカッターIの正面Ia(第1及び第2の基材の正面1a,2a)には、1ミリメートルピッチの目盛りS1と、5ミリメートルピッチの目盛りS2と、10ミリメートルピッチの目盛りS3とが刻設されていて、同平板インデックスカッターI自身を定規として使用可能となっている。さらに、平板インデックスカッターIの正面Ia(第1の基材1の正面1a)には、同平板インデックスカッターIを長手方向に2等分する位置、即ち両端部から48ミリメートルの位置に中心線Cが刻設されている。
また、平板インデックスカッターIには、図1に示すように、その両端部に第1及び第2位置確認孔11,12がそれぞれ形成されている。詳しくは、第1位置確認孔11は、第1の基材1の他端部に正面1aから背面1bに貫通形成されていて、第2位置確認孔12は、第2の基材2の他端部に正面2aから背面2bに貫通形成されている。第1及び第2位置確認孔11,12は、それぞれ6ミリメートルの直径であって、各中心点11a,12aが、平板インデックスカッターIの縁部13から12ミリメートルの距離D1に位置している。さらに、図1において、第1及び第2位置確認孔11,12は、前記中心線Cを中心に対称位置に形成されているといともに、中心点11a,12a間の間隔D2が80ミリメートルとなっていて、いわゆる日本工業規格(JIS規格)のパンチピッチに準拠している。
次に、上記したように構成された平板インデックスカッターIの使用方法について図4〜図7に従って説明する。
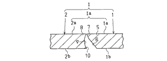
まず、平板インデックスカッターIを使用して書類に切り込みインデックスを形成する方法について図4(a)〜(c)、図5(a)及び図5(b)に従って説明する。図4(a)〜図4(c)は、平板インデックスカッターIの使用方法を説明するための斜視図である。図5(a)は、本実施形態の書類を示す平面図であって図5(b)は、切り込みインデックスの形成された同書類を説明するための平面図である。
図5(a)に示すように、書類20は用紙21を複数枚備えている。この用紙21は、A4サイズの日本工業規格に準拠したものであって、その長さが297ミリメートル、幅が210ミリメートルとなっている。これら各用紙21は同図5(a)における左端部に設けられ貫通孔HをリングRにて貫通係止されて書類20を形成している。書類20は、リングRを支点として各用紙21を見開きで閲覧できるようなっている。
そして、図4(a)に示すように、平板インデックスカッターIの第2の基材2を準備位置に回動させた後に、用紙21の側辺21aを第1の基材1の正面1aに嵌合凸部5側から乗せるとともに、同側辺21aを同第2の基材2の背面2bに当接させて位置決めをする。次に、図4(b)に示すように、第2の基材2を切断位置に回動させる。この側辺21aは、互いに交差しようとする第1及び第2刃部7,10によって切断される。即ち、側辺21aは、嵌合凸部5及び嵌合凹部8に沿って切断されて、図4(c)に示すように切り込みインデックス22が形成される。これに従って順に、図5(b)に示すように、書類20の各用紙21にそれぞれ切り込みインデックス22を形成することで、同書類20にインデックスを付与して項目毎に分類することができる。
次に、平板インデックスカッターIを用いてA4サイズの用紙21を三つ折りにする方法について図6(a)〜図6(d)に従って説明する。図6(a)〜図6(d)は、平板インデックスカッターIの使用方法を説明するための斜視図である。上述したようにA4
サイズの用紙21は、その長さが297ミリメートルとなっている。即ち、平板インデックスカッターIの全長L(96ミリメートル)は、同用紙21の略三分の一の長さとなっている。
まず、図6(a)に示すように、平板インデックスカッターIを用紙21の長手方向の同図6aにおける手前左隅部に、同平板インデックスカッターIの縁部13側の左隅部が重なるように位置決めをする。さらに、平板インデックスカッターIの右端部を支点として、用紙21の側辺21b側を図6(a)における矢印B1方向に移動させるとともに、同用紙21を同平板インデックスカッターIの右端部に指等で押え当てる。これによって、図6(b)に示すように、用紙21の平板インデックスカッターIとの当接箇所には、折れスジ30が形成される。そして、用紙21を、この折れスジ30を目安として、同用紙21に側辺21cと平行な折れ線31を折れスジ30から延出形成するように、同用紙21の両端を揃えるとともに側辺21c側を図6(b)における矢印B2方向に折る。これによって、図6(c)に示すように、用紙21に折り込み辺21dが形成される。さらに、用紙21を、その側辺21b側がこの折り込み辺21dを若干覆うように同図6(c)における矢印B3方向に折ることで、図6(d)に示すように同用紙21を容易に三つ折りにすることができる。
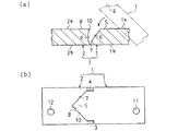
次に、平板インデックスカッターIを用いて、日本工業規格に準拠して製造されたパンチャーによって形成されるパンチ孔の形成箇所を確認する方法について図7に従って説明する。図7は、平板インデックスカッターIの使用方法を説明するための平面図である。上述したように、平板インデックスカッターIの第1及び第2位置確認孔11、12は、日本工業規格のパンチピッチに準拠している。
まず、図7に示すように、用紙21を二つ折りにすることで同用紙21に中心線32を形成する。そして、この中心線32と、平板インデックスカッターIの中心線Cが一致するように、同平板インデックスカッターIを用紙21の上に図7における手前側の側辺に沿って乗せる。このとき平板インデックスカッターIの第1及び第2位置確認孔11,12は、同用紙21の側辺にパンチ孔の形成位置を示すことができる。
以上、上記した本実施形態によれば、以下の効果を奏する。
(1)本実施形態の平板インデックスカッターIは、平板状に形成された第1の基材1と第2の基材2に第1及び第2刃部7,10を形成した。そして、第1の基材1と第2の基材2とを相対回動させることで、各種用紙に切り込みインデックス22を形成できるように構成した。これによって、書類20に、上述した従来の貼付用インデックスに比べてコンパクトにインデックスを付与することができる。また、書類20の各用紙21に切り込みインデックス22を形成しておくことで、例えばリングRの係止が解除されて各用紙21が混ざってしまった場合であっても、同切り込みインデックス22を割印的目印として、各用紙21を項目毎に選別することができる。
(2)本実施形態の平板インデックスカッターIでは、全長Lを96ミリメートルとして、A4サイズである用紙21の長さの略三分の一となるように構成した。このように構成することによって、平板インデックスカッターIを用いて用紙21を容易に三つ折りにすることができる。さらに、全長Lを96ミリメートルとしたことで、コンパクトとなり平板インデックスカッターIの携帯性を向上させることができる。
(3)本実施形態の平板インデックスカッターIの第1及び第2位置確認孔11,12では、日本工業規格に準拠し製造されたパンチャーによって形成されるパンチ孔の形成位置を確認できるように構成した。これによって、パンチャーによるパンチ孔の形成の際に、第1及び第2位置確認孔11,12によって、用紙21に形成されるパンチ孔の形成位
置を確認することができる。即ち、用紙21に文字等が記載されていた場合、パンチ孔の形成によってこの文字等が損なわれるかどうかを確認することができる。これによって、平板インデックスカッターIを用いることで、用紙21に記載された文字等が欠損することを抑制し、用紙21に安心して正確にパンチ孔を形成することができる。
(4)本実施形態では、平板インデックスカッターIを平板状であって2.5ミリメートルの厚さと96ミリメートルの全長Lとを有するように構成した。これによって、平板インデックスカッターIを机上等に省スペースに載置することができ、さらに、平板インデックスカッターIの上に書類20等を重ねて載置することもできる。また、第1及び第2の基材1,2を鋼、ステンレス、アルミ等の金属から構成したことによって、平板インデックスカッターIは、携帯性を維持できる程度であって、机上等で用紙21を押えることができる重さを有することができた。即ち、平板インデックスカッターIはペーパーウエイトとして使用することもできる。
尚、発明の実施の形態は、上記各実施形態に限定されるものではなく、以下のように変更してもよい。
・本実施形態では、書類20の各用紙21に切り込みインデックス22を形成したが、この限りではなく、各用紙21に切り込みインデックス22を形成した後に、同用紙21をリングRにて係止して書類20を形成してもよい。
・本実施形態では、平板インデックスカッターIの全長Lを書類20(A4サイズ)の長さの略三分の一の長さに形成したが、この限りではなく、他のサイズの用紙に適用できるように適宜変更してもよい。従って、例えば、B5サイズの用紙を三つ折りすることができるように、長さを略三分の一である85ミリメートルに変更してもよい。
・本実施形態の平板インデックスカッターIは、第1及び第2位置確認孔11,12を設けたが、この限りではなく、同第1及び第2位置確認孔11,12を設けなくてもよい。・本実施形態の平板インデックスカッターIの第1及び第2位置確認孔11,12は、日本工業規格のパンチピッチに準拠して構成したが、この限りではなく、これに加えてISO規格のパンチピッチに準拠して構成してもよい。また、ISO規格のパンチピッチのみに準拠して構成してもよい。
・本実施形態では、第1及び第2の基材1,2の厚さをそれぞれ2.5ミリメートルとして、平板インデックスカッターIの厚さを2.5ミリメートルとなるように構成したが、この限りではなく、同平板インデックスカッターIの厚さを適宜変更してもよい。特に、この厚さは、2.5ミリメートルから3.3ミリメートルの範囲であることが望ましい。・本実施形態の平板インデックスカッターIは、目盛りS1〜S3を設けたが、この限りではなく、設けなくてもよい。
・本実施形態では、第1の基材1の第1刃部7は正面1a側に形成したが、図8(a)に示すように、傾斜部6の向きを逆にし、背面1b側に形成してもよい。従って、第2の基材2の第2刃部10は正面2a側となる。そして、第1の基材1を、第2の基材2の背面2b側に回動させて2点鎖線に示す準備位置とし、同第1の基材1の背面1bと、同第2の基材2の正面2aの間に用紙21の側辺21aを配置した状態から元の位置(切断位置)に回動させれば、前記と同様に同用紙21の側辺21aに切り込みインデックス22を形成することができる。
・本実施形態では、第1及び第2刃部7,10の形状を、第1の基材1の嵌合凸部5と第2の基材2の嵌合凹部8の形状に応じて円弧状に形成した。これを、図8(b)に示すように、第1の基材1の嵌合凸部5と第2の基材2の嵌合凹部8の形状をV字状にし、第1及び第2刃部7,10の形状をV字状等その他形状で実施してもよい。
本実施形態の平板インデックスカッターの構成を説明するための正面図。 同平板インデックスカッターの準備位置及び切断位置を説明するための側面図。 同図1におけるA−A線方向の断面図。 (a)同平板インデックスカッターの使用方法を説明するための斜視図。(b)同平板インデックスカッターの使用方法を説明するための斜視図。(c)同平板インデックスカッターの使用方法を説明するための斜視図。 (a)本実施形態の書類を説明するための平面図。(b)切り込みインデックスの形成された同書類を説明するための平面図。 (a)同平板インデックスカッターの使用方法を説明するための斜視図。(b)同平板インデックスカッターの使用方法を説明するための斜視図。(c)同平板インデックスカッターの使用方法を説明するための斜視図。(d)同平板インデックスカッターの使用方法を説明するための斜視図。 同平板インデックスカッターの使用方法を説明するための平面図。 (a)本発明のインデックスカッターの別例を説明する図1のA−A線方向の断面図。(b)本発明のインデックスカッターの別例を説明するための正面図。
符号の説明
1…第1の基材、2…第2の基材、7…第1刃部、10…第2刃部、11,12…位置確認孔、21…用紙、22…切り込みインデックス、I…平板インデックスカッター、L…平板インデックスカッターの全長。

Claims (3)

  1. 用紙に切り込みインデックスを形成するインデックスカッターであって、
    平板状の第1の基材の一端部と、平板状の第2の基材の一端部を互いに回動可能に連結するとともに、前記第1の基材に第1刃部を形成し前記第2の基材に第2刃部を形成し、前記第1の基材及び前記第2の基材の相対回動に伴って前記第1刃部及び前記第2刃部にて前記用紙に切り込みインデックスを切り欠き形成するように構成したことを特徴とするインデックスカッター。
  2. 請求項1に記載のインデックスカッターにおいて、
    前記インデックスカッターの全長は、96ミリメートル前後に形成されることを特徴とするインデックスカッター。
  3. 請求項1又は2に記載のインデックスカッターにおいて、
    前記インデックスカッターは、日本工業規格に準拠して製造されたパンチャーによって用紙に形成されるパンチ孔の形成位置を示す位置確認孔を備えたことを特徴とするインデックスカッター。
JP2004119577A 2004-04-14 2004-04-14 インデックスカッター Expired - Fee Related JP4596811B2 (ja)

Priority Applications (6)

Application Number Priority Date Filing Date Title
JP2004119577A JP4596811B2 (ja) 2004-04-14 2004-04-14 インデックスカッター
CNA2005800192157A CN101014453A (zh) 2004-04-14 2005-04-13 索引刀具
PCT/JP2005/007131 WO2005099978A1 (ja) 2004-04-14 2005-04-13 インデックスカッター
US11/578,380 US7617756B2 (en) 2004-04-14 2005-04-13 Index cutter
KR1020067023616A KR100846817B1 (ko) 2004-04-14 2005-04-13 인덱스 커터
TW94111909A TWI267455B (en) 2004-04-14 2005-04-14 Index cutter

Applications Claiming Priority (1)

Application Number Priority Date Filing Date Title
JP2004119577A JP4596811B2 (ja) 2004-04-14 2004-04-14 インデックスカッター

Publications (2)

Publication Number Publication Date
JP2005296472A true JP2005296472A (ja) 2005-10-27
JP4596811B2 JP4596811B2 (ja) 2010-12-15

Family

ID=35149843

Family Applications (1)

Application Number Title Priority Date Filing Date
JP2004119577A Expired - Fee Related JP4596811B2 (ja) 2004-04-14 2004-04-14 インデックスカッター

Country Status (6)

Country Link
US (1) US7617756B2 (ja)
JP (1) JP4596811B2 (ja)
KR (1) KR100846817B1 (ja)
CN (1) CN101014453A (ja)
TW (1) TWI267455B (ja)
WO (1) WO2005099978A1 (ja)

Families Citing this family (2)

* Cited by examiner, † Cited by third party
Publication number Priority date Publication date Assignee Title
CN102452189A (zh) * 2010-10-28 2012-05-16 潘同卫 一种制作可折叠标签的方法-刻签
JP6120162B2 (ja) * 2013-04-25 2017-04-26 孝次郎 近藤 つめ掛け加工装置

Citations (3)

* Cited by examiner, † Cited by third party
Publication number Priority date Publication date Assignee Title
JPS62201697U (ja) * 1986-06-11 1987-12-22
JPH0240372U (ja) * 1988-09-12 1990-03-19
US6647842B1 (en) * 1997-05-29 2003-11-18 Ariel Krasik-Geiger Calibrated angle and depth scissors

Family Cites Families (12)

* Cited by examiner, † Cited by third party
Publication number Priority date Publication date Assignee Title
US775568A (en) * 1904-10-03 1904-11-22 Caldwell Mfg Co Manicure implement.
US1125577A (en) * 1914-01-10 1915-01-19 Joseph P Manypenny Finger-nail clipper.
US4033037A (en) * 1975-06-26 1977-07-05 Cooley Jerry A Method and means for punching sheet members
JPS62152698A (ja) 1985-06-11 1987-07-07 メリツク インダストリ−ズ,インコ−ポレイテツド カ−ドフアイルパンチ及びカ−ドマウント部材
US4917523A (en) * 1985-06-11 1990-04-17 Merrick Industries, Inc. Card file mounting member
JPS62201697A (ja) 1986-02-28 1987-09-05 Hitachi Plant Eng & Constr Co Ltd 有機性廃液の嫌気性処理方法
JPS6397324A (ja) 1986-10-14 1988-04-28 Fuji Kiko Co Ltd プ−リ−の成形方法
JPS6397324U (ja) * 1986-12-11 1988-06-23
JPH0445678Y2 (ja) * 1988-09-08 1992-10-27
JPH0637480B2 (ja) 1988-10-29 1994-05-18 田辺製薬株式会社 ナフトチアゼピン誘導体
JP3481765B2 (ja) * 1995-03-31 2003-12-22 セイコーエプソン株式会社 カッター構造及びカッター製造方法並びにテープ端部の整形切断装置
IES20000537A2 (en) * 2000-07-05 2002-02-06 Paul Mcgrath A device for use in preparation of animation cells

Patent Citations (3)

* Cited by examiner, † Cited by third party
Publication number Priority date Publication date Assignee Title
JPS62201697U (ja) * 1986-06-11 1987-12-22
JPH0240372U (ja) * 1988-09-12 1990-03-19
US6647842B1 (en) * 1997-05-29 2003-11-18 Ariel Krasik-Geiger Calibrated angle and depth scissors

Also Published As

Publication number Publication date
JP4596811B2 (ja) 2010-12-15
US7617756B2 (en) 2009-11-17
US20070163411A1 (en) 2007-07-19
TW200536723A (en) 2005-11-16
KR20060128059A (ko) 2006-12-13
KR100846817B1 (ko) 2008-07-16
TWI267455B (en) 2006-12-01
WO2005099978A1 (ja) 2005-10-27
CN101014453A (zh) 2007-08-08

Similar Documents

Publication Publication Date Title
US5511316A (en) Stencil for cutting sandpaper
US20010045022A1 (en) Cutting template and method of using same
JP4968792B2 (ja) パンチ
WO2011052150A1 (ja) 紙綴じ具
JP4596811B2 (ja) インデックスカッター
US20060027062A1 (en) Hexagon and shape cutting template
US6560891B1 (en) Punch tool alignment device
JP3619658B2 (ja) 紙片への切り込み又は浮き出し成形方法
CN102666042B (zh) 使用共同刀刃的模切刀
JPH0523600Y2 (ja)
JP2575128Y2 (ja) 切断装置
JP6232529B1 (ja) 綴じ部を有するシート及びその綴じ方法
JP3132946U (ja) 折り罫成型シート
KR200383767Y1 (ko) 라벨 용지
JP3126884U (ja) 穿孔パンチ
US20060244254A1 (en) Template and method for making a template
JP2009255416A (ja) インデックスシート
JP3079038U (ja) 丸鋸定規
JP3070628U (ja) バインディングツ―ル
JP3081601U (ja) 書類貼着用紙
JP6025377B2 (ja)
JP2009045695A (ja) パンチ
CN110524630A (zh) 简单模具多次模切纸质品方法
JP3163426U (ja) パンチ
JP2006212129A (ja) 幣束作成補助具

Legal Events

Date Code Title Description
A621 Written request for application examination

Free format text: JAPANESE INTERMEDIATE CODE: A621

Effective date: 20070323

A131 Notification of reasons for refusal

Free format text: JAPANESE INTERMEDIATE CODE: A131

Effective date: 20100316

A521 Written amendment

Free format text: JAPANESE INTERMEDIATE CODE: A523

Effective date: 20100517

RD02 Notification of acceptance of power of attorney

Free format text: JAPANESE INTERMEDIATE CODE: A7422

Effective date: 20100517

RD04 Notification of resignation of power of attorney

Free format text: JAPANESE INTERMEDIATE CODE: A7424

Effective date: 20100521

TRDD Decision of grant or rejection written
A01 Written decision to grant a patent or to grant a registration (utility model)

Free format text: JAPANESE INTERMEDIATE CODE: A01

Effective date: 20100824

A01 Written decision to grant a patent or to grant a registration (utility model)

Free format text: JAPANESE INTERMEDIATE CODE: A01

A61 First payment of annual fees (during grant procedure)

Free format text: JAPANESE INTERMEDIATE CODE: A61

Effective date: 20100921

R150 Certificate of patent or registration of utility model

Free format text: JAPANESE INTERMEDIATE CODE: R150

FPAY Renewal fee payment (event date is renewal date of database)

Free format text: PAYMENT UNTIL: 20131001

Year of fee payment: 3

R250 Receipt of annual fees

Free format text: JAPANESE INTERMEDIATE CODE: R250

LAPS Cancellation because of no payment of annual fees