JP2005294840A - フィールド高さ及び瞳の変更を許容する照明システム及び方法 - Google Patents

フィールド高さ及び瞳の変更を許容する照明システム及び方法 Download PDF

Info

Publication number
JP2005294840A
JP2005294840A JP2005103165A JP2005103165A JP2005294840A JP 2005294840 A JP2005294840 A JP 2005294840A JP 2005103165 A JP2005103165 A JP 2005103165A JP 2005103165 A JP2005103165 A JP 2005103165A JP 2005294840 A JP2005294840 A JP 2005294840A
Authority
JP
Japan
Prior art keywords
illumination beam
zoom
pupil
lens
field
Prior art date
Legal status (The legal status is an assumption and is not a legal conclusion. Google has not performed a legal analysis and makes no representation as to the accuracy of the status listed.)
Pending
Application number
JP2005103165A
Other languages
English (en)
Inventor
Scott D Coston
ディー コストン スコット
Richard J Guerra
ジェイ ギェラ リチャード
Current Assignee (The listed assignees may be inaccurate. Google has not performed a legal analysis and makes no representation or warranty as to the accuracy of the list.)
ASML Holding NV
Original Assignee
ASML Holding NV
Priority date (The priority date is an assumption and is not a legal conclusion. Google has not performed a legal analysis and makes no representation as to the accuracy of the date listed.)
Filing date
Publication date
Priority claimed from US10/812,978 external-priority patent/US7079321B2/en
Application filed by ASML Holding NV filed Critical ASML Holding NV
Publication of JP2005294840A publication Critical patent/JP2005294840A/ja
Pending legal-status Critical Current

Links

Images

Landscapes

  • Exposure And Positioning Against Photoresist Photosensitive Materials (AREA)
  • Exposure Of Semiconductors, Excluding Electron Or Ion Beam Exposure (AREA)

Abstract

【課題】望ましくはシステムの放射効率を維持しながら、照明ビームのフィールド高さ及び瞳の両方を、可能ならば連続的に(動的に)変化させることができるシステム及び方法を提供する。
【解決手段】照明ビームのフィールド高さを発生するフィールド規定素子(FDE)と、照明ビームのフィールド高さの変更を許容する第1ズーム系と、照明ビームの瞳を発生する瞳規定素子(PDE)と、照明ビームの瞳の変更を許容する第2ズーム系とが設けられており、この場合、照明ビームが物体平面を照明するために使用される。
【選択図】図7

Description

本発明は概してリソグラフィツールにおいて使用されることができる照明システムに関する。
リソグラフィは、基板、半導体ウェハ、フラットパネルディスプレイ(ガラス基板)及び同様のものの上にパターンを形成するために使用されることができる。説明しやすくするために、本明細書における説明は半導体の製造に基づいてすることにする。リソグラフィでは、パターニングされるフィーチャの寸法に応じて様々な光の波長が使用され、半導体ウェハ上にパターンをイメージングする。リソグラフィ技術を使用してダイオード、トランジスタ及び集積回路等の多くのタイプの半導体デバイスを製造することができる。
リソグラフィシステムは一般的に、パターンを投影光学系を介して露光系において半導体ウェハにイメージングするために照明系を有しており、この照明系は、パターンを含むパターンジェネレータ(例えばレチクル(マスクとも呼ばれる)、空間的光変調器又はコントラスト装置(デジタルミラーデバイス、格子光弁、液晶ディスプレイ)、又は同様のもの、以下で全てパターンジェネレータと呼ばれる)を照明する。一般的に、照明系はパターンジェネレータの領域を照明し、投影光学系は、照明された領域の像をウェハ上に投影する。
半導体デバイス製造技術が進歩するにしたがって、半導体デバイスを製造するために使用されるリソグラフィシステムの各構成要素に対する要求がますます高まっている。これは、パターンジェネレータを照明するために使用される照明系を含む。例えば、パターンジェネレータを均一な放射照度を有する照明フィールドで照明することが必要である。ステップ・アンド・スキャンリソグラフィでは、照明フィールドの寸法が種々異なる用途に合わせて調整されることができるように、ウェハスキャン方向に対して垂直な方向で照明フィールドの寸法を連続的に変化させることも必要である。ウェハ処理スループットをしばしば制限する1つの要因は、照明系から利用可能なエネルギの量である。その結果、エネルギの損失なしに照明フィールドの寸法を変化させることが必要である。
照明フィールドの寸法が変化させられるときに、パターンジェネレータにおける照明フィールドの角分布及び特性を保存することが重要である。この目的を達するために、照明系は、照明フィールドの寸法が変化させられる時に、パターンジェネレータにおける実質的に一定の開口数でのテレセントリック照明を維持しなければならない。幾つかの照明系は、パターンジェネレータの前に位置決めされた、アレイ等の散乱光学素子を有している。散乱光学素子は所望の角光分布を生ぜしめ、この角光分布は引き続きイメージングされるか又はパターンジェネレータに中継される。このような照明系において、照明フィールドの寸法が変化させられる時に、散乱光学素子、及びこれに対応してパターンジェネレータにおける実質的に一定の開口数においてテレセントリック照明を維持することが必要である。
標準的なズームレンズは照明フィールドの寸法を変化させることができる。しかしながら、標準的なズームレンズでは、画像の倍率、及びこれに対応して照明フィールドの寸法は、角倍率に反比例する。したがって、画像の寸法をファクタMだけ増大する標準的なズームレンズは、不利なことに、開口数をファクタ1/Mだけ減少させ、照明フィールドの角分布を保存しない。
慣用の系において、一定の放射効率を維持しながら、フィールド高さ又は瞳のうちの一方のみが変化されることができる。したがって、フィールド高さを連続的に変化させる能力を有するシステムにおいて、一定の瞳を形成するためにハードアパーチュアが挿入され、このことは放射効率を低減する。同様に、連続的に変化する瞳を有するシステムは、フィールド高さを低減するためにハードアパーチュアを必要とし、このことはやはり放射効率を低減する。
したがって、必要とされているのは、望ましくはシステムの放射効率を維持しながら、照明ビームのフィールド高さ及び瞳の両方を、可能ならば連続的に(動的に)変化させることができるシステム及び方法である。
本発明の実施形態は、第1及び第2のズーム系を使用することによってフィールド高さを連続的に(動的に)変更若しくは変化させかつ瞳を連続的に(動的に)変更若しくは変化させる能力を生ぜしめるシステム及び方法を提供する。第1のズーム系は、照明瞳角度の一定の範囲を生ぜしめる装置において適当なフィールド形状及び寸法を生ぜしめるために使用されることができ、第2のズーム系は、瞳の形状及び寸法を変化させるために使用されることができる。
本発明の別の実施形態は、フィールド規定エレメントと、瞳規定エレメントと、第1及び第2のズーム系とを有するシステムを提供する。フィールド規定エレメント(FDE)は照明ビームのフィールド高さを生ぜしめる。第1のズーム系は、照明ビームのフィールド高さの変更を許容する。瞳規定エレメント(PDE)は照明ビームの瞳を生ぜしめる。第2のズーム系は照明ビームの瞳の変更を許容する。幾つかの用途において、照明ビームは、リソグラフィ又はマスクレスリソグラフィにおいて、パターンジェネレータを含む物体平面を照明するために使用されることができる。
本発明のさらに別の実施形態は、放射効率が維持されるように、照明ビームのフィールド高さを変化させるための装置と、照明ビームの瞳を変化させるための装置とを有している。システムは、以下のもののうちの1つ又は2つ以上を含んでいてもよい:照明ビームを転送するための装置、照明ビームの特性を測定しかつ制御信号を発生するための装置、フィールド高さを変化させるための装置と瞳を変化させるための装置とのうちの少なくとも1つを、制御信号の値に基づき制御するための装置。
上記実施形態は、フィールド高さの範囲と瞳の範囲とに亘ってより高い放射効率を許容することができ、これは、リソグラフィ製造プロセスの融通性を増大し、リソグラフィツールごとの瞳及びフィールド高さの合致を改良する。
本発明の別の特徴及び利点並びに本発明の様々な実施形態の構造及び動作は、添付図面を参照して以下に詳細に説明される。
本明細書に組み込まれ、明細書の一部を構成した添付図面は本発明を示しており、詳細な説明と相俟って、本発明の原理を説明し、当業者が発明を形成及び使用することを可能にするために働く。
本発明は添付図面を参照して説明される。図面において、同一の参照符号は同一の又は機能上類似のエレメントを示している。さらに、参照符号の左側の数字は、その参照符号が最初に示されている図面を表している。
概略
本発明はここでは特定の用途のための例示的な実施形態に関して説明されるが、発明がこの実施形態に限定されないことが理解されるべきである。ここに提供された開示へのアクセスを有する当業者は、発明の範囲内での付加的な修正、用途及び実施形態、並びに本発明が著しく役立つ付加的な分野を認識するであろう。
本発明の実施形態は、物体フィールドを照明するビームのフィールド高さ及び瞳の両方を(可能ならば連続的及び/又は動的に)変化させる方法及びシステムを提供する。1つの例において、物体フィールドは、例えばリソグラフィ又はマスクレスリソグラフィシステムにおいて、この物体フィールドに位置決めされたパターンジェネレータ(例えば、レチクル、空間的光変調器又は同様のもの)を有することができる。システム及び方法は、フィールド規定エレメント、瞳規定エレメント、及び第1及び第2のズーム系を使用することができる。フィールド規定エレメント(FDE)は照明ビームのフィールド高さを生ぜしめることができる。第1のズーム系は照明ビームのフィールド高さの変化を許容することができる。瞳規定エレメント(PDE)は照明ビームの瞳を生ぜしめることができる。第2のズーム系は、照明ビームの瞳の変化を許容することができる。
典型的な環境:リソグラフィシステム
図1は、本発明が実施されることができる典型的な環境を示している。光学系100は、光ビーム113を生ぜしめる照明源101(例えば光源、レーザ等)を有している。光113はビームコンディショナ102においてコンディショニングされ、ビームコンディショナはコンディショニングされた光103を照明光学系104へ伝送する。照明光学系104は、コンディショニングされた光103から照明光を形成し、照明光は、パターンジェネレータ106(例えば、1つ又は2つ以上のレチクル、空間的光変調器又は同様のもの)を含むことができる物体平面を照明する。パターンジェネレータ106は、照明光をパターニングしパターニングされた露出光を形成するために使用され、露出光は投影光学系108を介して基板110(例えば、半導体ウェハ、フラットパネルディスプレイのガラス基板又は同様のもの)に投影される。パターンジェネレータ106は透過型又は反射型であってよい。
照明源101は、可視光、極紫外光、深紫外光等のあらゆる波長、又は可視領域又は可視領域外のその他のあらゆる波長を有する光ビーム113を発生するレーザであってよい。本発明の実施例は、248ナノメートル(nm)、193nm及び157nmを含むがこれらに限定されない波長を使用する。そのうえ、照明源はパルスレーザ又は連続発振レーザであってよい。
1つの実施形態において、ビームコンディショナ102は、規定された断面を有する平行にされたビームを形成することができる。これは、屈折光学系又は反射光学系等のビーム拡大器を使用して行われる。
図2aは、本発明によるパターンジェネレータ106を含むことができる、物体平面を照明するための照明系200の実施形態を示している。説明を簡単にするために、レチクル(“デリミッタ”とも呼ばれる)がパターンジェネレータ106のために使用される。しかしながら、その他のパターンジェネレータ106が本発明の範囲内で考えられる(例えば、コントラスト装置、空間的光変調器及び同様のもの)。
照明光学系104は照明系200を含むことができる。照明系200は、フィールドを形成する回折アレイ又は屈折アレイであることができる第1の装置210と、瞳を形成する回折アレイ又は屈折アレイであることができる第2の装置と、第1のフィールドアレイ210と第2の瞳アレイ212との間の光路に配置されたコンデンサ系220とを含むことができる。照明系200の1つの実施形態において、上記光学素子は光軸209に沿って配置されている。
第1のフィールドアレイ210は、コンディショニングされた光103を処理する。様々な実施形態において、第1のフィールドアレイ210は、二重の回折アレイ、回折格子又は、第1、第2、第3等の順序での光の通過を許容するマイクロレンズアセンブリであってよい。第1のフィールドアレイ210は、それぞれの順序が種々異なる角度での光の通過を示すように、光を回折することができる。第1のフィールドアレイ210は、照明系200に進入するコンディショニングされた光103のための空間的及び一時的なコヒーレンス処理を提供することができる。さらに、第1のフィールドアレイ210は、光の高い透過を提供することができる。
コンデンサ系220からの光213a〜213dは第2の瞳アレイ212に入射する。第2の瞳アレイ212は、デリミッタフィールド228を形成するために、衝突する光のマグニチュードを変化させる。デリミッタフィールド228の寸法及び/又は形状は、どれだけ多くの光がレチクル106に入射しているかを示している。第2の瞳アレイ212は、二重回折アレイであってもよく、かつ/又は回折格子又はマイクロレンズアセンブリを含むことができる。第2の瞳アレイ212は、空間的及び一時的なコヒーレンス処理を提供することができる。また、第2の瞳アレイ212は光の高い透過を許容することができる。
コンデンサ系220は、デリミッタフィールド228の寸法を変化させるために、照明系200を通過する光を許容することができる。1つの実施形態において、コンデンサ系220は、コンデンサ系220を通過する光のマグニチュードとデリミッタフィールド228の寸法とを変化させる複数のレンズを含むことができる。コンデンサ系220における複数のレンズは光のマグニチュードを膨張及び/又は減少させることができる。コンデンサ系220は複数のシリンドリカルレンズ及び/又はクロスシリンドリカルレンズを含んでいてよい。コンデンサ系220の様々な実施形態が以下に図3a〜図4dを参照して説明される。
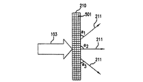
図5a及び図5bはそれぞれ本発明による第1の回折アレイ210の典型的な回折格子実施形態の側面図及び正面図を示している。コンディショニングされた光103は第1のフィールドアレイ210の回折格子501を通過する。図5aに示したように、回折格子501はコンディショニングされた光103を光軸209(図2a)に関して種々異なる角度α,α及びαで伝送する。
図6a及び図6Bはそれぞれ本発明による第1のフィールドアレイ210の別の実施形態の正面図及び側面図を示している。この実施形態では、第1のフィールドアレイ210は複数のマイクロレンズ601を含んでいる。図6bに示したようにマイクロレンズ601は様々な構成で配置することができる。第1のフィールドアレイ210は、可変に整列させられた複数のマイクロレンズアセンブリ601を含むことができる。マイクロレンズ601はY軸に対して平行にかつ/又はX軸に対して平行に配置することができる。図6bに示したように、マイクロレンズ601はコンディショニングされた光103を受け取り、これを光軸209(図2a)に関して様々な角度β,β及びβで伝送する。
再び図2aを参照すると、コンディショニングされた光103は光軸209に沿ってレチクル106に向かって送られる。第1のフィールドアレイ210はコンディショニングされた光103を受け取る。コンディショニングされた光103を処理した後、第1のフィールドアレイ210は光211a〜211dをコンデンサ系220に向かって送る。光211a〜211dは、パターンジェネレータ106を介してこの光に付与されたパターンを含んでいる。第1のフィールドアレイ210を通過した後、光211a〜211dは開口数215を有する。開口数215はデリミッタフィールド228の寸法及び/又は形状を示している。開口数(NA)215は以下のように定義される:
NA=n・sin(θ
この公式で、nは光伝搬媒体(この場合には空気)の屈折率であり、θはデリミッタフィールド228を形成する光によって形成された、屈折される角度である。したがって、開口数(NA)215のサイズはデリミッタフィールド228の寸法を制御する。すなわち、開口数215が大きくなるほど、デリミッタフィールド228が大きくなる。開口数215の形状もデリミッタフィールド228の形状を制御する。例えば、図2aに示した実施形態において、開口数215は矩形であるので、デリミッタフィールド228は矩形である。別の実施例として、図2bに示した実施形態では、開口数215はアーチ状であるので、デリミッタフィールド228はアーチ状である。開口数215及び対応するデリミッタフィールド228のその他の形状及び寸法が可能である。すなわち、第1のフィールドアレイ210を、光211があらゆる寸法及び/又は形状の開口数215を有するように修正することができる。これにより、光213は引き続き対応する寸法及び形状のデリミッタフィールド228を形成することができる。
第1のフィールドアレイ210は光211を光軸209に沿ってコンデンサ系220に向かって伝送する。コンデンサ系220はデリミッタフィールド228の寸法を変化させるために使用することができる。コンデンサシステム220はクロススキャン方向でズーム可能なフィールドを形成することができる。例えば、図2aに示したようにスキャン方向は光軸209に沿っていることができるか、又はX方向では、この図におけるクロススキャン方向はX軸に沿っている。コンデンサ系220は、ズーム可能なフィールドを形成するためにアナモルフィックであってよい。すなわち、コンデンサ系220を通過する光はY方向でデリミッタフィールド228の寸法を変化させることができる。コンデンサ系220を通過する光が、デリミッタフィールド228の寸法を変化させながら、コンデンサ系220は、第2の瞳アレイ212に入射する光の角分布を保存若しくは維持することもできる。デリミッタフィールド228の寸法(ひいてはレチクル106に入射する光の量)が変化させられながら、コンデンサシステム220は、光の均一な放射束密度(単位表面積あたりに入射する放射束)を維持することができる。例えば、コンデンサ系220を通過する光は、約11mm〜約26mmの範囲でデリミッタフィールド228を変化させることができる。デリミッタフィールド228の寸法及び/又は形状は、用途に応じて特定されてよい。コンデンサ系220の様々な実施形態が、図3a〜図4dを参照して説明される。
コンデンサ系
本発明の1つの実施形態によれば、デリミッタフィールド228の寸法が変化させられながら、コンデンサ系220はレチクル106に入射する光の所定の角分布を実質的に保存及び維持することができる。このために、デリミッタフィールド228の寸法が変化させられながら、コンデンサ系220は開口数215でテレセントリック照明を維持することができる。デリミッタフィールド228の寸法が変化させられながら、コンデンサ系220は、照明系200によってレチクル106に伝達される均一な放射照度及び所定の量のエネルギをも維持することができる。コンデンサ系200の動作はさらに以下に説明される。
図3a〜図3dは本発明の実施形態による4レンズ型コンデンサ系220を示しているのに対し、図4a〜図4dは本発明の別の実施形態による5レンズ型コンデンサ系220を示している。
レンズコンデンサ系
図3aは本発明の実施形態による4レンズ型コンデンサ系220を示している。4レンズ型コンデンサ系220は、入口レンズ301と、出口レンズ303と、ズームレンズ区分310とを有することができる。ズームレンズ区分310は光軸209に沿って入口レンズ301と出口レンズ303との間に配置されている。ズームレンズ区分310は第1ズームレンズ311と第2ズームレンズ312とを含むことができる。
この実施形態において、入口レンズ301と出口レンズ303とは定置のレンズであり、ズームレンズ区分310は、入口レンズ301と出口レンズ303との間で光軸209に沿って並進することができる。第1ズームレンズ311は入口レンズ301と第2ズームレンズ312との間で光軸209に沿って並進することができる。第2ズームレンズ312は第1ズームレンズ311と出口レンズ303との間で光軸209に沿って並進することができる。第1ズームレンズ311及び/又は第2ズームレンズ312を光軸209に沿って並進させることによって、ズームレンズ区分310は入口レンズ301と出口レンズ303との間で光軸209に沿って並進する。
入口レンズ301と、第1ズームレンズ311と、第2ズームレンズ312と、出口レンズ303との間の個々の距離を調整することによって、コンデンサ系220は、このコンデンサ系220を通過する光を集束させる。集束された光は、第2の回折アレイ212を通過する前に照明フィールド350を形成する。照明フィールド350は、レチクル106に形成されるデリミッタフィールド228の寸法を決定するために使用することができる。ここで使用されているように、集束された光は、拡大された又は減じられたマグニチュードを有する光を意味する。コンデンサ系220から出た集束された光は、照明フィールド350の寸法を変化させることができる。さらに、入口レンズ301と、第1ズームレンズ311と、第2ズームレンズ312と、出口レンズ303との屈折力も、コンデンサ系220を通過する光のマグニチュード、ひいては照明フィールド350の寸法に影響することができる。照明フィールド350の寸法に応じて、入口レンズ301と、出口レンズ303と、第1ズームレンズ311と、第2ズームレンズ312とは正又は負の屈折力を有することができる。
1つの実施形態において、入口レンズ301及び出口レンズ303は、クロススキャン方向に(若しくはX軸及びY軸に沿って)光学パワーを有するシリンドリカルレンズであってよく、第1ズームレンズ311及び第2ズームレンズ312は、スキャン方向に(若しくはY軸に沿って又はX軸に沿って)光学パワーを有するシリンドリカルレンズであってよい。
1つの実施形態において、コンデンサ系220の動作中にエネルギ損失及び/又はズームレンズグループ310におけるレンズの運動範囲を最小限に抑制するために、ズームレンズグループ310におけるレンズのクロススキャン光学パワーの比は、約1:−0.3〜約1:−0.8の範囲であってよい。択一例において、コンデンサ系220におけるレンズはクロスシリンドリカルレンズであってよい。
図3dは、本発明の実施形態によるコンデンサ系220の対応する光学面を備えた光学素子を示している。入口レンズ301は光学面2及び3を有しており、第1ズームレンズ311は光学面4及び5を有しており、第2ズームレンズ312は光学面6及び7を有しており、出口レンズ303は光学面8及び9を有している。光学素子は、物体平面と像面との間に配置されている。上記の表1A及び1Bは、コンデンサ系220における各光学素子(入口レンズ301、第1ズームレンズ311、第2ズームレンズ312、出口レンズ303)の光学特性、例えば厚さ、半径、材料及びその他を示している。
4レンズ型コンデンサ系における光路
再び図3aを参照すると、ズームレンズ区分310の第1実施形態が示されている。光211はコンデンサ系220の入口レンズ301に入射する。入口レンズ301は光211のマグニチュードを変化させる。ここで使用される場合、光のマグニチュードを変化させるという用語は、光のマグニチュードを拡大及び/又は低減することを意味する。入口レンズ301によって屈折させられた後、光211は第1の集束された光372になる。ここで使用される場合、集束された光という用語は、拡大された及び/又は低減されたマグニチュードを有する光を意味する。入口レンズ301は、第1の集束された光372をズームレンズ区分310に向ける。
ズームレンズ区分310の第1ズームレンズ311は、位置320aにあるときに、第1の集束された光372を受け取る。第1ズームレンズ311は第1の集束された光372のマグニチュードを変化させる。第1ズームレンズ311によって屈折された後、第1の集束された光372は第2の集束された光373になる。第1ズームレンズ311は第2の集束された光373を、位置321aにある第2ズームレンズ312に向ける。
第2ズームレンズ312は第2の集束された光373を受け取る。第2ズームレンズ312は第2の集束された光373のマグニチュードを変化させる。第2ズームレンズ312によって屈折された後、第2の集束された光373は第3の集束された光374になる。第2ズームレンズ312は第3の集束された光374を出口レンズ303に向ける。
出口レンズ303は第3の集束された光374を受け取る。出口レンズ303は第3の集束された光374のマグニチュードを変化させる。出口レンズ303によって屈折された後、第3の集束された光374は集束された光213になる。出口レンズ303は集束された光213を第2の回折アレイ212に向ける。集束された光213は第2の回折アレイ212に進入する前に照明フィールド350aを形成する。照明フィールド350aの寸法は、少なくとも第1ズームレンズ311の位置320aと、第2ズームレンズ312の位置321aとに依存する。
図3bは本発明の第2の実施形態によるズームレンズ区分310を示している。この実施形態において、第1ズームレンズ311は位置320bにあり、第2ズームレンズ312は位置321bにある。コンデンサ系220はレンズ311及び312の位置に基づき照明フィールド350bを形成する。照明フィールド350bは、図3aの照明フィールド350aとは異なる寸法を有することができる。
図3cは本発明の第3実施形態によるズームレンズ区分310を示している。この実施形態において、第1ズームレンズ311が位置320cにあり、第2ズームレンズ312が位置321cにある。コンデンサ系220はレンズ311及び312の位置決めに基づき照明フィールド350cを形成する。照明フィールド350cは、図3aの照明フィール350a及び図3bの350bとは異なる寸法を有することができる。
5レンズ型コンデンサ系
図4aは本発明の実施形態による5レンズ型コンデンサ系220を示している。この実施形態において、5レンズ型コンデンサ系220は、入口レンズ301と、出口レンズ303と、ズームレンズ区分410とを有している。ズームレンズ区分410は、入口レンズ301と出口レンズ303との間に光軸209に沿って配置されている。ズームレンズ区分410は、第1ズームレンズ411と、第2ズームレンズ412と、第3ズームレンズ413とを有している。
この実施形態において、入口レンズ301と出口レンズ303とは定置のレンズであり、ズームレンズ区分410は入口レンズ301と出口レンズ303との間を光軸209に沿って並進することができる。第1ズームレンズ411は入口レンズ301と第2ズームレンズ412との間を光軸209に沿って並進することができる。第2ズームレンズ412は第1ズームレンズ411と第3ズームレンズ413との間を光軸209に沿って並進することができる。第3ズームレンズ413は第2ズームレンズ412と出口レンズ303との間を光軸209に沿って並進することができる。第1ズームレンズ411、第2ズームレンズ412及び/又は第3ズームレンズ413を光軸209に沿って並進させることによって、ズームレンズ区分410が光軸209に沿って入口レンズ301と出口レンズ303との間を並進する。
入口レンズ301と、第1ズームレンズ411と、第2ズームレンズ412と、第3ズームレンズ413と、出口レンズ303との間の個々の距離を調整することによって、コンデンサ系220は、コンデンサ系220を通過する光を集束させることができる。集束された光は、集束された光が第2の回折アレイ212を通過する前に照明フィールド450を形成する。コンデンサ系220から出た集束された光は、照明フィールド450の寸法を変化させることができる。さらに、入口レンズ301と、第1ズームレンズ411と、第2ズームレンズ412と、第3ズームレンズ413と、出口レンズ303との屈折力は、コンデンサ系220を通過する光のマグニチュード、ひいては照明フィールド450の寸法にも影響することができる。照明フィールド450は、レチクル106に形成されたデリミッタフィールド228の寸法を部分的に決定する。
照明フィールド450の寸法に応じて、入口レンズ301と、出口レンズ303と、第1ズームレンズ411と、第2ズームレンズ412と、第3ズームレンズ413とは正又は負の屈折力を有することができる。入口レンズ301と出口レンズ303とは、クロススキャン方向で(又はX軸及びY軸に沿って)光学パワーを有するシリンドリカルレンズであることができる。第1ズームレンズ411と、第2ズームレンズ412と、第3ズームレンズ413とは、スキャニング方向で(又はY軸に沿って又はX軸に沿って)光学パワーを有するシリンドリカルレンズであることができる。1つの実施形態において、コンデンサ系220の動作中にズームレンズ区分401のエネルギ損失及び/又はレンズの動作範囲を最小限に抑制するために、ズームレンズ区分410におけるレンズのクロススキャン光学パワーの比は、約1:−0.3〜約1:−0.8であることができる。択一的な実施形態では、コンデンサ系220におけるレンズはクロスシリンドリカルレンズであることができる。
図4dはコンデンサ系220の対応する光学面を備えた光学素子を示している。入口レンズ301は光学面2及び3を有している。第1ズームレンズ411は光学面4及び5を有している。第2ズームレンズ412は光学面6及び7を有している。第3ズームレンズ413は光学面8及び9を有している。出口レンズ303は光学面10及び11を有している。光学素子は物体平面と像面との間に配置されている。上に示された表2A及び2Bは、コンデンサ系220における各光学素子(入口レンズ301、第1ズームレンズ411、第2ズームレンズ412、第3ズームレンズ413、出口レンズ303)の光学特性、例えば厚さ、半径、材料及びその他を示している。
5レンズ型コンデンサ系における光路
再び図4aを参照すると、本発明の第1実施形態によるズーム系410が示されている。この実施形態において、光211はコンデンサ系220の入口レンズ301に入射する。入口レンズ301は、光211のマグニチュードを変化させる。入口レンズ301によって屈折された後、光211は第1の集束された光472になる。入口レンズ301は第1の集束された光472をズームレンズ区分410に向ける。
ズームレンズ区分410の第1ズームレンズ411は、位置420aにある間、第1の集束された光472を受け取る。第1ズームレンズ411は第1の集束された光472のマグニチュードを変化させる。第1ズームレンズ411によって屈折された後、第1の集束された光472は第2の集束された光472になる。第1ズームレンズ411は第2の集束された光472を、位置421aにある第2ズームレンズ412に向ける。
第2ズームレンズ412は、位置421aにある間、第2の集束された光473を受け取る。第2ズームレンズ412は第2の集束された光473のマグニチュードを変化させる。第2ズームレンズ412によって屈折させられた後、第2の集束された光473は第3の集束された光474になる。第2ズームレンズ412は第3の集束された光474を、位置422aにある第3ズームレンズ413に向ける。
第3ズームレンズ413は、位置422aにある間、第3の集束された光474を受け取る。第3ズームレンズ413は第3の集束された光474のマグニチュードを変化させる。第3ズームレンズ413によって屈折された後、第3の集束された光474は第4の集束された光475になる。第3ズームレンズ413は第4の集束された光475を出口レンズ303に向ける。
出口レンズ303は第3の集束された光475を受け取る。出口レンズ303は第4の集束された光475のマグニチュードを変化させる。出口レンズ303によって屈折させられた後、第4の集束された光475は集束された光213になる。出口レンズ303は集束された光213を第2の回折アレイ212に向ける。集束された光213は、第2の回折アレイ212に進入する前に照明フィールド450aを形成する。照明フィールド450aの寸法は、少なくとも部分的に、第1ズームレンズ411の位置420aと、第2ズームレンズ412の位置421aと、第3ズームレンズ413の位置422aとによって決定される。
図4bは本発明の第2実施形態によるズームレンズ系410を示している。この実施形態において、第1ズームレンズ411は位置420bにあり、第2ズームレンズ412は位置421bにあり、第3ズームレンズ413は位置422bにある。コンデンサ系220はレンズ411,412及び413の位置に基づき照明フィールド450bを形成する。照明フィールド450bは図4aの照明フィールド450aとは異なる寸法を有することができる。
図4cは本発明の第3実施形態によるズーム系410を示している。この実施形態において、第1ズームレンズ411は位置420cを有しており、第2ズームレンズ412は位置421cを有しており、第3ズームレンズ413は位置422cを有している。コンデンサ系220はレンズ411,412及び413の位置に基づき照明フィールド450cを形成している。照明フィールド450cは、図4aの照明フィールド450a及び図4bの照明フィールド450bとは異なる寸法を有することができる。
フィールド高さ及び瞳の両方の変化を許容する系
上述のように、上の様々な実施形態及び系は連続的に可変のフィールド高さを許容するが、連続的に可変の瞳は許容しない。しかしながら、幾つかの用途において、ツールはよりフレキシブルである必要がありかつ両方を行う能力を有する必要がある。図7及び図8に示した系は両方の動作を行うことができる。
図7は本発明の実施形態による光学系700を示している。光学系700は照明光学系104(図1)に配置することができる。光学系700はフィールド規定素子(FDE)702において光ビーム103を受け取る。
FDE702の全ての点において、ビーム704が発生され、これらのビームは照明ビーム720のフィールド高さを確立し、この照明ビームは、パターンジェネレータ106を有する物体平面を照明するために使用される。ビーム704はフィールド形状(例えば矩形、アーチ状等)を有しておりかつNA=αを有している。第1ズーム系706は焦点距離Fを有しており、ビーム704の基本形状を、瞳規定素子(PDE)708における寸法Fαに拡大する。これにより、第1ズーム系706のズーム(及び焦点距離F)を変化させることにより、光学系700は、照明ビーム720のフィールド高さを(可能ならば連続的に又は動的に)変化させる。
PDE708の全ての点において、ビーム710が発生され、これらのビームはNA=βを有しておりかつ照明ビーム720の瞳形状(例えば円形、双極子等)を確立する。第2ズーム系712はビーム710を受け取り、倍率Mを有する。第2ズーム系712は、瞳NAをMβに、フィールド寸法をFα/Mに拡大及び再成形する。したがって、第1ズーム系712のズーム(及び倍率M)を変化させることにより、光学系700は照明ビーム720の瞳を(可能であれば連続的に又は動的に)変化させる。
組み合わせると、第1ズーム系706及び第2ズーム系712のズームを変化させることは、フィールド高さ(Fα/M)及び瞳(Mβ)の両方を変化させる。例えば、物体平面における照明ビーム720のNAはMによって制御されることができ、物体平面における照明ビーム720の寸法はFを使用して再設定することができる。これにより、図2a〜図4dに示された系と比較して、様々な用途に適応するという観点においてよりフレキシブルなより正確な系が提供される。
系700の1つの実施形態において、フィールド高さ及び瞳の一方又は両方の動的な変化を許容するために、照明ビーム720の特性(例えば波面)を測定するために光検出システム222を使用することができる。検出システム722は、照明ビーム720の一部を検出器又はセンサ726に向ける光学素子724(例えばビームスプリッタ)を含むことができる。センサ726は、照明ビーム720が所望の特性を示すように、ズーム系の運動を制御するためにズーム系706及び/又は712に接続されることができる。これは検出システムの1つの例でしかなく、この説明を読むことにより当業者に明らかになるようにその他の検出システムを使用することができることが認識されるであろう。したがって、その他の形式検出システムが本発明の範囲内で考えられる。
図8は本発明の実施形態による光学系800を示している。光学系800は照明光学系104(図1)に配置されることができる。光学系800はPDE802において光ビーム103を受け取る。
PDE802の全ての点においてビーム804が発生され、これらのビームは照明ビーム820の瞳形状(例えば円形、双極子等)を確立し、照明ビームは、パターンジェネレータ106を有する物体平面を照明するために使用される。ビーム804はNA=βを有する。第1のズーム系806は焦点距離Fを有しており、瞳を寸法Fβに拡大及び再成形する。したがって、第1ズーム系806のズーム(及び焦点距離F)を変化させることにより、光学系800は照明ビーム820の瞳を(可能ならば連続的に又は動的に)変化させる。
FDE808の全ての点において、ビーム810が発生され、これらのビームは照明ビーム820のフィールド高さを確立する。ビーム810はフィールド形状(例えば矩形、アーチ状等)を有しておりかつNA=αを有している。第2のズーム系812はFの焦点距離を有しており、中間像平面830におけるビーム810の形状をFα及びNA=Fβ/Fに拡大する。したがって、第2のズーム系812のズーム(及び焦点距離F)を変化させることにより、光学系800は照明ビーム820のフィールド高さを(可能ならば連続的に又は動的に)変化させる。
この実施形態において、システム800は中間平面830とパターンジェネレータ106との間にリレー系840をも有している。リレー系840は、倍率Mを備えた中間像平面830における照明ビーム820のパターン及びNAを再結像することができる。
組み合わせると、第1ズーム系806と第2ズーム系812とのズームを変化させることによって、照明ビーム820の瞳(Fβ)とフィールド高さ(Fα及びNA=Fβ/F)とを変化させることができる。例えば、中間像平面830における照明ビーム820の寸法はFを使用して制御されることができ、次いでNAはFを使用して再設定されることができる。これにより、図2a〜図4dに示された系と比較して、様々な用途に適応するという観点においてよりフレキシブルなより正確なシステムが提供される。
システム800の1つの実施形態において、照明ビーム820の特性(例えば波面等)を測定するために光検出システム822を使用することができる。検出システム822は、照明ビーム820の一部を検出器若しくはセンサ826に向ける光学装置824(例えばビームスプリッタ)を含むことができる。センサ826は、照明ビーム820が所望の特性を示すように、ズーム系の運動を制御するためにズーム系806及び/又は812に接続されることができる。これは検出システムの1つの例でしかなく、この説明を読むことにより当業者に明白なその他の検出システムを使用することができることが認識されるであろう。したがって、本発明の範囲内でその他の形式の検出システムが考えられる。
図7及び図8に示された両実施形態においては、システム700又は800を組み込んだ用途に基づき確立されるように、あらゆる所望のフィールド高さ及び瞳範囲を使用することができる。例えば、1つの用途の場合、フィールド高さにおける分散(variance)は、元々のフィールド高さの約2.5〜約5倍であることができ、瞳における分散(variance)は、元々の瞳の約4〜約5倍であることができる。しかしながら、その他の用途の場合、本発明の範囲内でその他の範囲も考えられる。
所望のズーム動作が達成されるように第1ズーム系706及び806及び第2ズーム系712及び812は様々な数及び形式の光学素子を有していることができることが認識されるであろう。したがって、これらのズーム系のための光学素子の様々な組み合わせが本発明の範囲内で考えられる。
結論
本発明の方法、系及びコンポーネントの実施形態の例がここに説明された。他にも述べたように、これらの実施形態の例は、限定のためではなく例示のためにのみ説明されている。その他の実施形態が可能でありかつ発明によってカバーされる。このような実施形態は、ここに含まれた教えに基づき当業者に明白になるであろう。したがって、本発明の広さ及び範囲は、上述の典型的な実施形態の何れによっても限定されるべきではなく、請求項及び請求項の均等物に基づいてのみ定義されるべきである。
本発明のリソグラフィシステムのための環境の例を示している。 本発明による照明系の実施形態を示している。 本発明による照明系の別の実施形態を示している。 本発明による、第1のレンズ位置における図2a及び図2bの照明系の4レンズ型コンデンサ系の実施形態を示している。 本発明による、第2のレンズ位置における、図3に示された4レンズ型コンデンサ系を示している。 本発明による、第3のレンズ位置における、図3aに示された4レンズ型コンデンサ系を示している。 本発明による、図3a〜図3cに示された4レンズ型コンデンサ系の対応する光学面と共に、複数の光学素子を示している。 本発明による、第1レンズ位置における図2a及び図2bの照明系の5レンズ型コンデンサ系の実施形態を示している。 本発明による、第2レンズ位置における図4aに示された5レンズ型コンデンサ系を示している。 本発明による、第3レンズ位置における図4aに示された5レンズ型コンデンサ系を示している。 本発明による、図4a〜図4cに示された5レンズ集光システムの対応する光学面と共に複数の光学素子を示している。 本発明による、回折アレイ内の回折格子の側面図である。 本発明による、回折アレイ内の回折格子の上面図である。 本発明による、回折アレイ内のマイクロレンズアセンブリの上面図である。 本発明による、回折アレイ内のマイクロレンズアセンブリの側面図である。 本発明の実施形態による、フィールド高さ及び瞳を連続的に変化させる系を示している。 本発明の実施形態による、フィールド高さ及び瞳を連続的に変化させる系を示している。
符号の説明
100 光学系、 101 照明源、 102 ビームコンディショナ、 103 光、 104 照明光学系、 106 パターンジェネレータ、 108 投影光学系、 113 光ビーム、 200 照明系、 209 光軸、 210 第1の装置、 211 光、 212 第2の瞳アレイ、 211a〜211d,213a〜213d 光、 215 開口数、 220 コンデンサ系、 228 デリミッタフィールド、 301 入口レンズ、 303 出口レンズ、 311 第1ズームレンズ、 312 第2ズームレンズ、 350 照明フィールド、 372 第1の集束された光、 373 第2の集束された光、 374 第3の集束された光、 410 スー無レンズ区分、 411 第1ズームレンズ、 412 第2ズームレンズ、 413 第3ズームレンズ、 450 照明フィールド、 501 回折格子、 601 マイクロレンズ、 700 光学系、 702 フィールド規定素子、 704 ビーム、 706 第1ズーム系、 708 瞳規定素子、 710 ビーム、 720 照明ビーム、 722 検出システム、 726 センサ、 800 システム、 806 第1ズーム系、 812 第2ズーム系、 820 照明ビーム、 830 中間平面、 840 リレー系

Claims (21)

  1. 照明ビームのフィールド高さを発生するフィールド規定素子(FDE)と、
    照明ビームのフィールド高さの変更を許容する第1ズーム系と、
    照明ビームの瞳を発生する瞳規定素子(PDE)と、
    照明ビームの瞳の変更を許容する第2ズーム系とが設けられており、この場合、照明ビームが物体平面を照明するために使用されることを特徴とする、システム。
  2. FDE及びPDEが回折光学素子である、請求項1記載のシステム。
  3. FDE及びPDEが屈折光学素子である、請求項1記載のシステム。
  4. 物体平面の前に配置されたリレー系が設けられている、請求項1記載のシステム。
  5. 照明ビームがFDE又はPDEによって受け取られる前に均質化されるように配置されたビーム均質化装置が設けられている、請求項1記載のシステム。
  6. FDEがPDEよりも物体平面の近くに配置されている、請求項1記載のシステム。
  7. PDEがFDEよりも物体平面の近くに配置されている、請求項1記載のシステム。
  8. 物体平面に配置されたパターンジェネレータが設けられている、請求項1記載のシステム。
  9. 物体平面に配置されたレチクル、コントラスト装置又は空間的光変調器のうちの1つが設けられている、請求項1記載のシステム。
  10. 物体平面に配置された反射形パターンジェネレータが設けられている、請求項1記載のシステム。
  11. 物体平面に配置された透過性パターンジェネレータが設けられている、請求項1記載のシステム。
  12. 第1ズーム系がフィールド高さを元々のフィールド高さの約2.5〜約4倍に変化させる、請求項1記載のシステム。
  13. 第2ズーム系が瞳を元々の瞳の約4〜約5倍に変化させる、請求項1記載のシステム。
  14. 第1ズーム系又は第2ズーム系のうちの少なくとも一方のためのズーム値を制御するために使用される、照明ビームの波面を測定する検出システムが設けられている、請求項1記載のシステム。
  15. 第1ズーム系又は第2ズーム系のうちの少なくとも一方のためのズーム値を制御するために使用される、照明ビームの特性を測定する検出システムが設けられている、請求項1記載のシステム。
  16. 照明ビームのフィールド高さを変化させるための手段と、
    照明ビームの瞳を変化させるための手段が設けられており、これにより、放射効率が連続的に維持されるようになっていることを特徴とする、システム。
  17. 照明ビームを転送するための手段が設けられている、請求項16記載のシステム。
  18. 照明ビームの特性を測定しかつ制御信号を発生するための手段と、
    制御信号の値に基づいて、フィールド高さを変化させるための手段又は瞳を変化させるための手段のうちの少なくとも一方を制御するための手段が設けられている、請求項16記載のシステム。
  19. (a)照明ビームのフィールド高さを変化させ、
    (b)放射効率が維持されるように、照明ビームの瞳を変化させることを特徴とする、方法。
  20. (c)照明ビームを転送する、請求項19記載のシステム。
  21. (c)照明ビームの特性を測定し、
    (d)測定に基づき制御信号を発生し、
    (e)制御信号の値に基づきステップ(a)又は(b)のうちの少なくとも一方を制御する、請求項19記載のシステム。
JP2005103165A 2004-03-31 2005-03-31 フィールド高さ及び瞳の変更を許容する照明システム及び方法 Pending JP2005294840A (ja)

Applications Claiming Priority (1)

Application Number Priority Date Filing Date Title
US10/812,978 US7079321B2 (en) 2001-10-18 2004-03-31 Illumination system and method allowing for varying of both field height and pupil

Publications (1)

Publication Number Publication Date
JP2005294840A true JP2005294840A (ja) 2005-10-20

Family

ID=35327359

Family Applications (1)

Application Number Title Priority Date Filing Date
JP2005103165A Pending JP2005294840A (ja) 2004-03-31 2005-03-31 フィールド高さ及び瞳の変更を許容する照明システム及び方法

Country Status (1)

Country Link
JP (1) JP2005294840A (ja)

Cited By (1)

* Cited by examiner, † Cited by third party
Publication number Priority date Publication date Assignee Title
JP2007243172A (ja) * 2006-02-17 2007-09-20 Asml Netherlands Bv マイクロリソグラフィにおける光学システム用フォトンシーブ

Citations (10)

* Cited by examiner, † Cited by third party
Publication number Priority date Publication date Assignee Title
JPH07201729A (ja) * 1993-12-13 1995-08-04 Carl Zeiss:Fa マイクロリソグラフィ用投影露光装置の照明手段
JPH086175A (ja) * 1994-06-17 1996-01-12 Carl Zeiss:Fa 照明システム
JPH097940A (ja) * 1995-05-24 1997-01-10 Svg Lithography Syst Inc フォトリソグラフィー用ハイブリッド照明系
JPH11121355A (ja) * 1997-10-09 1999-04-30 Nikon Corp 投影露光装置および露光方法
JP2000173918A (ja) * 1998-11-30 2000-06-23 Carl Zeiss:Fa Euvマイクロリソグラフィ用照明装置
JP2000182933A (ja) * 1998-12-17 2000-06-30 Nikon Corp 照明光学装置および該照明光学装置を備えた露光装置
JP2001135560A (ja) * 1999-11-04 2001-05-18 Nikon Corp 照明光学装置、該照明光学装置を備えた露光装置、および該露光装置を用いたマイクロデバイス製造方法
JP2003178970A (ja) * 2001-10-18 2003-06-27 Asml Us Inc マイクロリソグラフィで利用される最新式照射システム
JP2003523641A (ja) * 2000-02-16 2003-08-05 エイエスエムエル ユーエス, インコーポレイテッド フォトリソグラフィで用いるズーム照明系
JP2004031949A (ja) * 2002-06-11 2004-01-29 Asml Holding Nv マイクロリソグラフィー系、マイクロリソグラフィー用の照明系及び基板を露光する方法

Patent Citations (10)

* Cited by examiner, † Cited by third party
Publication number Priority date Publication date Assignee Title
JPH07201729A (ja) * 1993-12-13 1995-08-04 Carl Zeiss:Fa マイクロリソグラフィ用投影露光装置の照明手段
JPH086175A (ja) * 1994-06-17 1996-01-12 Carl Zeiss:Fa 照明システム
JPH097940A (ja) * 1995-05-24 1997-01-10 Svg Lithography Syst Inc フォトリソグラフィー用ハイブリッド照明系
JPH11121355A (ja) * 1997-10-09 1999-04-30 Nikon Corp 投影露光装置および露光方法
JP2000173918A (ja) * 1998-11-30 2000-06-23 Carl Zeiss:Fa Euvマイクロリソグラフィ用照明装置
JP2000182933A (ja) * 1998-12-17 2000-06-30 Nikon Corp 照明光学装置および該照明光学装置を備えた露光装置
JP2001135560A (ja) * 1999-11-04 2001-05-18 Nikon Corp 照明光学装置、該照明光学装置を備えた露光装置、および該露光装置を用いたマイクロデバイス製造方法
JP2003523641A (ja) * 2000-02-16 2003-08-05 エイエスエムエル ユーエス, インコーポレイテッド フォトリソグラフィで用いるズーム照明系
JP2003178970A (ja) * 2001-10-18 2003-06-27 Asml Us Inc マイクロリソグラフィで利用される最新式照射システム
JP2004031949A (ja) * 2002-06-11 2004-01-29 Asml Holding Nv マイクロリソグラフィー系、マイクロリソグラフィー用の照明系及び基板を露光する方法

Cited By (1)

* Cited by examiner, † Cited by third party
Publication number Priority date Publication date Assignee Title
JP2007243172A (ja) * 2006-02-17 2007-09-20 Asml Netherlands Bv マイクロリソグラフィにおける光学システム用フォトンシーブ

Similar Documents

Publication Publication Date Title
US6991877B2 (en) Exposure method and apparatus
US6934009B2 (en) Illumination apparatus, illumination-controlling method, exposure apparatus, device fabricating method
US7126757B2 (en) Illumination apparatus, exposure apparatus using the same, and device fabricating method
CN102301281B (zh) 用于微光刻的照明系统
US9933704B2 (en) Microlithography illumination optical system and microlithography projection exposure apparatus including same
JP2007150295A (ja) ラスタ要素を有する光学装置、及びこの光学装置を有する照射システム
JP4805797B2 (ja) 照明光学システム
JP5585761B2 (ja) マイクロリソグラフィのための光学要素及び照明光学系
US6775069B2 (en) Advanced illumination system for use in microlithography
KR101712299B1 (ko) 마이크로리소그래피 투영 노광 장치의 조명 시스템
US7079321B2 (en) Illumination system and method allowing for varying of both field height and pupil
US6707537B2 (en) Projection exposure system
JP3997199B2 (ja) 露光方法及び装置
JP4051473B2 (ja) 照明光学装置および該照明光学装置を備えた露光装置
JP6457754B2 (ja) 投影リソグラフィのための照明光学ユニット
JP2008182244A (ja) マイクロリソグラフ投影露光装置の照明系用光インテグレータ
US8300211B2 (en) Catadioptric projection objective
JP2007242775A (ja) 露光装置及びデバイス製造方法
JP2002057081A (ja) 照明光学装置並びに露光装置及び露光方法
JP2005294840A (ja) フィールド高さ及び瞳の変更を許容する照明システム及び方法
JP2002222757A (ja) 露光装置、デバイス製造方法及びデバイス
CN107592919B (zh) 微光刻投射曝光设备的照明系统
JP6365723B2 (ja) 反射結像光学系、結像方法、露光装置、露光方法、およびデバイス製造方法
JP2001035777A (ja) 照明光学装置および該照明光学装置を備えた露光装置
WO2003041134A1 (en) Illumination optical device, exposure device, and exposure method

Legal Events

Date Code Title Description
RD04 Notification of resignation of power of attorney

Free format text: JAPANESE INTERMEDIATE CODE: A7424

Effective date: 20060914

A521 Written amendment

Free format text: JAPANESE INTERMEDIATE CODE: A821

Effective date: 20060915

RD02 Notification of acceptance of power of attorney

Free format text: JAPANESE INTERMEDIATE CODE: A7422

Effective date: 20060919

A521 Written amendment

Free format text: JAPANESE INTERMEDIATE CODE: A523

Effective date: 20061215

A977 Report on retrieval

Free format text: JAPANESE INTERMEDIATE CODE: A971007

Effective date: 20071225

A131 Notification of reasons for refusal

Free format text: JAPANESE INTERMEDIATE CODE: A131

Effective date: 20080108

A521 Written amendment

Free format text: JAPANESE INTERMEDIATE CODE: A523

Effective date: 20080222

A02 Decision of refusal

Free format text: JAPANESE INTERMEDIATE CODE: A02

Effective date: 20080812

A521 Written amendment

Free format text: JAPANESE INTERMEDIATE CODE: A523

Effective date: 20081210

A521 Written amendment

Free format text: JAPANESE INTERMEDIATE CODE: A523

Effective date: 20081211

A911 Transfer of reconsideration by examiner before appeal (zenchi)

Free format text: JAPANESE INTERMEDIATE CODE: A911

Effective date: 20081218

A912 Removal of reconsideration by examiner before appeal (zenchi)

Free format text: JAPANESE INTERMEDIATE CODE: A912

Effective date: 20090123