JP2005294812A - リン化硼素系半導体素子 - Google Patents

リン化硼素系半導体素子 Download PDF

Info

Publication number
JP2005294812A
JP2005294812A JP2005061866A JP2005061866A JP2005294812A JP 2005294812 A JP2005294812 A JP 2005294812A JP 2005061866 A JP2005061866 A JP 2005061866A JP 2005061866 A JP2005061866 A JP 2005061866A JP 2005294812 A JP2005294812 A JP 2005294812A
Authority
JP
Japan
Prior art keywords
type
layer
boron phosphide
based semiconductor
ohmic electrode
Prior art date
Legal status (The legal status is an assumption and is not a legal conclusion. Google has not performed a legal analysis and makes no representation as to the accuracy of the status listed.)
Granted
Application number
JP2005061866A
Other languages
English (en)
Other versions
JP4658643B2 (ja
Inventor
Michiya Odawara
道哉 小田原
Takashi Udagawa
隆 宇田川
Current Assignee (The listed assignees may be inaccurate. Google has not performed a legal analysis and makes no representation or warranty as to the accuracy of the list.)
Resonac Holdings Corp
Original Assignee
Showa Denko KK
Priority date (The priority date is an assumption and is not a legal conclusion. Google has not performed a legal analysis and makes no representation as to the accuracy of the date listed.)
Filing date
Publication date
Application filed by Showa Denko KK filed Critical Showa Denko KK
Priority to JP2005061866A priority Critical patent/JP4658643B2/ja
Publication of JP2005294812A publication Critical patent/JP2005294812A/ja
Application granted granted Critical
Publication of JP4658643B2 publication Critical patent/JP4658643B2/ja
Anticipated expiration legal-status Critical
Expired - Fee Related legal-status Critical Current

Links

Images

Landscapes

  • Electrodes Of Semiconductors (AREA)
  • Led Devices (AREA)

Abstract

【課題】 p形リン化硼素系半導体層上に接触抵抗の充分に低いp形オーミック電極を安定して形成することができるようにする。
【解決手段】 この発明のリン化硼素系半導体発光素子10(11)は、少なくともp形リン化硼素系半導体層104とその上に形成したp形オーミック電極105と備えるリン化硼素系半導体素子であって、p形オーミック電極105を、ニッケルと硼素との合金から構成した、ことを特徴としている。
【選択図】 図2

Description

本発明は、少なくともp形リン化硼素系半導体層とその上に形成したp形オーミック電極と備えるリン化硼素系半導体素子に関するものである。
従来から、n形またはp形のリン化硼素(BP)系半導体層を利用して、発光ダイオード(LED)やレーザダイオード(LD)等のリン化硼素系半導体発光素子が作製されている(例えば特許文献1参照)。リン化硼素系半導体とは、此処では、硼素(元素記号:B)とリン(元素記号:P)との双方を必須の構成元素として含むIII−V族化合物半導体である。
米国特許第6069021号公報
リン化硼素系半導体発光素子は、例えばn形またはp形のリン化硼素系半導体層からなるコンタクト層に、オーミック電極を設けて作製される。p形のリン化硼素系半導体層に設けるp形オーミック電極は、従来から、金(Au)・亜鉛(Zn)合金から構成されている(例えば特許文献2参照)。アルミニウム(Al)単体からp形オーミック電極を形成する例も知られている(例えば非特許文献1参照)。また、リン化硼素系半導体に単量体のリン化硼素を用い、そのリン化硼素半導体層上に、ニッケル(Ni)からオーミック電極を形成できるのは公知である(例えば特許文献3参照)。
特開平2−288388号公報 ドイツ特許第1162486号公報 K.Shohno他、ジャーナル オブ クリスタル グロース(J.Crystal Growth)、第24/25巻、1974年(オランダ)、193頁
しかし、従来の電極材料では、p形リン化硼素系半導体層上に、接触抵抗の充分に低いp形オーミック電極を安定して形成できない。このため、例えばLEDでは、順方向電圧(Vf)の低下させるに妨げとなっているし、LDでは、閾値電圧(Vth)を低減させるのを困難としている。
本発明は、上記に鑑みてなされたもので、p形リン化硼素系半導体層上に接触抵抗の充分に低いp形オーミック電極を安定して形成することができるリン化硼素系半導体素子を提供することを目的とする。
1)上記目的を達成するために、第1の発明は、少なくともp形リン化硼素系半導体層とその上に形成したp形オーミック電極とを備えるリン化硼素系半導体素子において、上記p形オーミック電極を、ニッケルと硼素との合金から構成した、ことを特徴としている。
2)第2の発明は、上記した1)項に記載の発明の構成に加えて、上記p形オーミック電極は、硼素の重量含有率が0%を超え25%未満である、ことを特徴としている。
3)第3の発明は、上記した1)項または2)項に記載の発明の構成に加えて、上記p形リン化硼素系半導体層は、伝導形を制御するための不純物を故意に添加しないアンドープのリン化硼素から構成されている、ことを特徴としている。
本発明では、p形リン化硼素系半導体層の表面に接触させて設けるp形オーミック電極をニッケルと硼素との合金膜から構成することとしたので、低接触抵抗のオーミック電極を形成することができ、したがって、順方向電圧を低くし、且つ素子駆動電流を効率的に発光層に平面的に拡散させることができ、発光強度を高くすることができる。
以下にこの発明の実施の形態を詳細に説明する。
本発明に係るp形リン化硼素系半導体とは、硼素(B)とリン(P)とを必須の構成元素とするIII族化合物半導体である。例えば、BαAlβGaγIn1-α-β-γ1-δAsδ(0<α≦1、0≦β<1、0≦γ<1、0<α+β+γ≦1、0≦δ<1である。また、BαAlβGaγIn1-α-β-γ1-δδ(0<α≦1、0≦β<1、0≦γ<1、0<α+β+γ≦1、0≦δ<1)である。またp形の単量体リン化硼素(BP)、p形リン化硼素・ガリウム・インジウム(組成式BαGaγIn1-α-γP:0<α≦1、0≦γ<1)である。また、p形窒化リン化硼素(組成式BP1-δδ:0≦δ<1)やp形砒化リン化硼素(組成式Bα1-δAsδ)等の複数のV族元素を含む混晶である。
p形リン化硼素系半導体層は、ハロゲン法、ハイドライド法やMOCVD(有機金属化学的気相堆積)法により形成できる。また、分子線エピタキシャル法でも形成できる。
p形の単量体のリン化硼素層(BP層)は、トリエチル硼素(分子式:(C253B)とホスフィン(分子式:PH3)を原料とするMOCVD法で形成することができ、形成温度としては、1000℃〜1200℃の温度が適する。形成時の原料供給比率(=PH3/(C253B)は、10〜50とするのが適する。不純物を故意に添加しないアンドープのp形BP層は不純物の拡散に因る他層の変性を回避するのに効果がある。形成温度、V/III比率に加えて、形成速度を精密に制御すれば、禁止帯幅を2.8eV以上とする広禁止帯幅のp形リン化硼素層を形成することができる。
本発明に係るリン化硼素系半導体素子は、結晶基板上に形成されたp形リン化硼素系半導体層を利用して構成する。p形リン化硼素系半導体層を設ける結晶基板は、リン化硼素系半導体素子によって、n形またはp形伝導性、または高抵抗或いは絶縁性の結晶材料から選択する。例えば、電気絶縁性のサファイア(α−Al23単結晶)や炭化珪素(SiC)、また高抵抗の珪素(Si)単結晶は、pn接合型トランジスタ用途の基板として好適に利用することができる。多結晶シリコンは、pn接合型太陽電池用途の基板材料として利用することができる。pn接合型LEDやLD等のリン化硼素系半導体発光素子或いは受光素子には、導電性の立方晶3C型、或いは六方晶4Hまたは6H型炭化珪素(SiC)単結晶、リン化ガリウム(GaP)単結晶などを基板として利用することができる。基板を単結晶材料とすると、結晶性のp形リン化硼素系半導体層を得るのに優位となるが、ホウケイ酸ガラス等の非晶質材料も基板として利用できる。
上記基板の表面に、直接接合させたのとは別に、基板上に形成したIII−V族化合物半導体層上に設けたp形リン化硼素系半導体層も、リン化硼素系半導体発光素子を構成するのに利用できる。p形リン化硼素系半導体層を設けるためのIII−V族化合物半導体層としては、リン化アルミニウム・ガリウム・インジウム混晶(組成式AlXGaYInZP:0≦X,Y,Z≦1、X+Y+Z=1)や窒化アルミニウム・ガリウム・インジウム混晶(組成式AlαGaβInγN:0≦α、β,γ≦1、α+β+γ=1)を例示できる。また、単量体のリン化硼素やリン化硼素・ガリウム混晶(組成式BαGaγP:0<α≦1、0≦γ<1、α+γ=1)等のリン化硼素系半導体層を例示できる。
ウルツ鉱結晶型(Wurtzite)のn形窒化ガリウム(GaN)層と、それにヘテロ(異種)接合させたp形リン化硼素系半導体層とからなるpn接合構造体は、pn接合型LEDを構成するのに貢献できる。特に、室温での禁止帯幅を2.8eV以上とするp形リン化硼素系半導体層を利用すれば、発光透過層を兼用するクラッド層を備えたヘテロ接合構造の発光部を構成できる。
p形リン化硼素系半導体層を備えたpn接合型ヘテロ構造の構成例として、表面を(111)−結晶面とするn形(111)−Si単結晶を基板とし、その導電性基板の(111)−表面上に形成したn形窒化ガリウム(GaN)から成るn形III−V族化合物半導体層と、インジウム組成比(=1−X)を相違する相(phase)からなる多相構造のn形窒化ガリウム・インジウム(組成式GaXIn1-XN:0≦X≦1)とからなる発光層、及びアンドープでp形のリン化硼素からなるp形リン化硼素系半導体層から構成される発光部を例示できる。また、電気絶縁性の(0001)−サファイア基板上に設けた、n形GaY1InZ1N(0<Y1≦1、0≦Z1<1、Y1+Z1=1)クラッド層と、n形GaY2InZ2N(0≦Y2<Y1,Z1<Z2≦1、Y2+Z2=1)発光層と、室温での禁止帯幅を約4.2eVとするアンドープのp形リン化硼素からなるクラッド層とから構成される発光部を例示できる。
p形リン化硼素系半導体層を含む発光素子にあって、発光層は、例えば、n形の窒化ガリウム・インジウム(組成式GaYInZN:0≦Y,Z≦1、Y+Z=1)から構成する。特に、インジウム組成(=Z)を相違する複数の結晶相から成る多相構造GaYInZN(0<Y,Z<1、Y+Z=1)は高い発光強度をもたらす発光層を構成するのに好適に利用できる。また、n形またはp形窒化リン化ガリウム(組成式GaP1-δδ:0≦δ<1)より構成できる。発光層は、これらの層を井戸(well)層とする単一(SQW)或いは多重量子井戸(MQW)構造から構成できる。多重量子井戸構造の発光層とするのにあって、上記のn形III−V族化合物半導体からなるクラッド層に接して設ける層は、バリア(barrier)層或いは井戸層の何れであっても構わない。多重量子井戸構造の発光層をなす最終端も、バリア層或いは井戸層の何れでも差し支えはない。
p形リン化硼素系半導体層の表面に設けるオーミック電極は、本発明では、ニッケル(Ni)と硼素(B)との混合組成物(Ni1-XX合金)から構成する。Ni1-XX合金を用いると、従来の金(Au)合金の場合よりも更に、接触抵抗の低いp形オーミック電極を形成できる。特に、不純物を故意に添加(ドーピング)していないアンドープの単量体のp形リン化硼素層について、良好なオーミック接触性が得られる。アンドープで単量体のp形のリン化硼素層は、成長温度及びV/III比率を上記の好適な範囲に設定することで簡便に得ることができる。
p形オーミック電極は、硼素(B)の重量含有比率を、特に、25%未満とするNi1-XX(0<X≦0.25)合金から構成するのが望ましい。Ni1-XX合金中の硼素の重量含有率は、通常の比色分析法、蛍光X線分析法、固体質量分析法、オージェ(Auger)分析法等の元素定量分析法を利用して求められる。硼素を含むNi1-XX(0<X)合金からは、オーミック接触性に優れ、尚且つ、耐熱性のあるp形オーミック電極を形成することができる。
図1にアンドープp形リン化硼素層の表面に対向して設けたNi0.950.05合金からなる平面平行電極間の電流−電圧(I−V)特性を例示する。同図に例示する如く、低電圧及び低電流領域での印加電圧に対して電流が良好な直線性をもって変化する様は、Ni・B合金からは、p形リン化硼素系半導体について、オーミック接触性に優れるオーミック電極がもたらされることを明示している。
本発明に係るp形オーミック電極は、要は、p形リン化硼素系半導体層に接触する部位がNi1-XX合金から構成されていれば効果が発揮される。例えば、p形リン化硼素系半導体層に接する部位をNi0.800.20合金層とし、その上に中間層としてニッケル(Ni)層が配置され、更に、その上層として結線用途の金(Au)層を設けたNi0.800.20/Ni/Au3層重層構造電極を構成できる。重層構造のp形オーミック電極の中間層は、電極を構成する金属相互の拡散やp形リン化硼素系半導体をなすリン(P)等の構成元素の上層への拡散を低減するための機能層である。中間層は、Niの他、モリブデン(Mo)、タングステン(W)、白金(Pt)、チタン(Ti)等の高い融点の金属材料から構成できる。例えば、Ni0.900.10/Ti(中間層)/Al(上層)3層重層構成や、Ni0.980.02/Ti(中間層)/Pt(中間層)/Al(上層)4層重層構成からなるp形オーミック電極を例示できる。
p形オーミック電極を構成するためのNi1-XX合金層は、通常のスパッタリング手段、鍍金(メッキ)手段等により形成できる。これらの手段において、p形リン化硼素系半導体層の表面を、公知のフォトリソグラフィー技術を駆使してパターニングを施したフォトレジスト材料で選択的に被覆しておけば、所望の形状のp形オーミック電極を形成できる。例えば、選択的にパターニングを施して、所望の位置に所望の形状に露出させたp形リン化硼素系半導体層の表面に、高周波スパッタ手段でNi1-XX合金層を形成する。その後、レジスト材料をリフトオフ手段で剥離すれば、所望の形状の合金層を所望の位置に残置させられる。
p形リン化硼素系半導体層の表面の全体に、一旦、Ni1-XX合金層を形成した後、公知のパターニング技術を利用しても所望の形状のp形オーミック電極を形成することができる。Ni1-XX合金層からは、Ni単体から構成した場合に比較して、p形リン化硼素系半導体層との密着性に優れるオーミック電極を形成できる。このため、リフトオフ手段に依っても所望の外形のp形オーミック電極を形成するのに貢献できる。
p形オーミック電極は、種々の形状に形成することができる。一般的な円形や楕円形、また正方形や長方形などの方形となすことができる。また、LEDにあっては、p形オーミック電極を、p形リン化硼素系半導体層の表面の略全体に素子駆動電流を平面的に広範囲に亘り拡散できる形状とするのが好適である。例えば、櫛形状、格子状或いは網目状等とするのが好適である。p形リン化硼素層の表面に分散させて小型(小面積)のp形オーミック電極を配置した後、互いに孤立した小型の電極を互いに電気的に導通する、例えば、インジウム・錫複合酸化物(ITO)透明導電性電極を介して素子駆動電流を流通させても、素子駆動電流を拡散するのに効果を上げられる。この小型オーミック電極を分散させて設ける構成にあって、小型電極は一方でp形リン化硼素系半導体層に接し、他方で透明導電性電極に電気的に導通させて設ける必要がある。外部への発光の取り出し効率を向上させるために、小型オーミック電極を部分的に残存させたp形リン化硼素系半導体層に接触させて設けても構わない。
所望の形状に加工した後、Ni1-XX合金層にオーミック性を付与するための合金化(アロイング:alloying)熱処理を施す必要は必ずしもない。アロイ処理を敢えて施す場合は、アロイ温度はp形リン化硼素系半導体層の表面からのリンの脱離を防止するため、約500℃以下とするのが望ましい。アロイ雰囲気は、リンと揮発性物質を形成し易い水素(H2)よりも、窒素(N2)、アルゴン(Ar)等の不活性ガスが適する。アロイのための時間は、数分間から数10分間の範囲が適する。
p形リン化硼素系半導体層、特にアンドープの単量体のp形リン化硼素の表面に接触する様に設けた、ニッケルと硼素との合金膜は、p形リン化硼素系半導体層について良好なオーミック接触性をもたらす作用を有する。
p形リン化硼素系半導体層、特にアンドープの単量体のp形リン化硼素の表面に接触する様に設けた、硼素の重量含有率を25%以下とするニッケルと硼素との合金膜は、p形リン化硼素系半導体層について特に良好なオーミック接触性をもたらす作用を有する。
p形リン化硼素半導体層の表面にニッケル・硼素(Ni・B)合金からなるp形オーミック電極を設けてリン化硼素半導体LEDを構成する場合を例にして本発明を具体的に説明する。
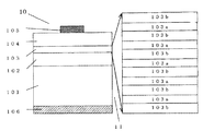
図2にダブルヘテロ(DH)接合構造のLED10を作製するために使用した積層構造体11の断面構造を模式的に示す。積層構造体11は、リン(P)ドープn形(111)−珪素(Si)単結晶基板101上に、アンドープでn形のリン化硼素(BP)からなる下部クラッド層102、n形窒化ガリウム・インジウム(Ga0.90In0.10N)井戸層103aと窒化ガリウム(GaN)障壁層103bとを5周期で重層させた多重量子井戸構造の発光層103、アンドープでp形のリン化硼素からなる上部クラッド層104を、順次、堆積して形成した。
アンドープのn形及びp形リン化硼素層102,104は、トリエチル硼素(分子式:(C253B)を硼素(B)源とし、ホスフィン(分子式:PH3)をリン源とする常圧(略大気圧)有機金属気相エピタキシー(MOVPE)手段を利用して形成した。n形リン化硼素層102は925℃で、p形リン化硼素層104は1025℃で、V/III比率(=PH3/(C253B供給濃度比率)を10として形成した。発光層103は、トリメチルガリウム(分子式:(CH33Ga)/NH3/H2反応系常圧MOCVD手段により、800℃で形成した。井戸層103aを構成する上記の窒化ガリウム・インジウム層は、インジウム組成を相違する複数の相から構成される多相構造から構成し、その平均的なインジウム組成は0.10(=10%)であった。井戸層103a及び障壁層103bの層厚は、各々、5nm及び10nmとした。
上部クラッド層104をなすアンドープのp形リン化硼素層104のキャリア(正孔)濃度は2×1019cm-3とし、層厚は720nmとした。同層104の室温での抵抗率は5×10-2Ω・cmであった。また、p形リン化硼素層104の室温での禁止帯幅は3.2eVであったため、発光層103からの発光を外部へ透過するための窓層を兼用するp形クラッド層として利用した。
p形上部クラッド層をなすp形リン化硼素層104の表面の全面に、通常の高周波スパッタリング法及び電子ビーム蒸着法に依り、ニッケル・硼素(Ni0.750.25)合金膜、チタン(Ti)膜、及び金(Au)膜を順次、被着させた。次に、結線用の台座電極を兼ねるp形オーミック電極105を設ける領域に限り、底面部をNi0.750.25合金膜とする上記の3層重層電極を残置させるために、公知のフォトリソグラフィー技術を利用して選択的にパターニングを施した。次に、一般的な高周波プラズマエッチング手段に依りp形台座電極105とする以外の領域に在るNi0.750.25合金膜をエッチングして除去し、p形リン化硼素層104の表面を露出させた。
フォトレジスト材を剥離した後、再び、チップに裁断するための格子状の溝を設けるために選択的パターニングを施した。然る後、塩素を含むハロゲン系混合ガスを利用したプラズマドライエッチング手法に依り、上記のパターニングを施した領域に限定して、p形リン化硼素層104を選択的にエッチングで除去し、裁断用の溝を形成した。
一方、珪素単結晶基板101の裏面の全面には、一般の真空蒸着法に依り金(Au)膜を被着させてn形オーミック電極(負電極)106を形成した。Si単結晶基板101の(111)−結晶表面に直交する<110>結晶方位に平行に設けた、線幅を50μmとする上記の帯状の溝に沿って劈開し、一辺を350μmとする正方形のLEDチップ10とした。
本発明では、p形オーミック電極105の底面部を、上部クラッド層104をなすp形リン化硼素層との密着性に優れるニッケル・硼素(Ni・B)合金膜から構成したため、結線時に於いても、p形リン化硼素層104から剥離しない台座電極を兼ねるp形オーミック電極105とすることができた。また、p形オーミック電極105の底面部を、p形リン化硼素層に対して特に、小さな接触抵抗を与えるNi・B合金膜から構成したため、順方向電流を20mAとした際の順方向電圧(Vf)は3.1Vと低値となった。一方、逆方向電流を10μAとした際の逆方向電圧は9.5Vと高値となった。
p形及びn形オーミック電極105、106の間に、順方向に20mAの素子駆動電流を流通してLEDチップ10の発光特性を確認した。LED10からは中心の波長を440nmとする青色帯光が放射された。発光スペクトルの半値幅は210ミリエレクトロンボルト(単位:meV)であった。また、高いキャリア濃度で低抵抗のアンドープp形リン化硼素層から上部クラッド層を構成することとし、且つ、アンドープのp形リン化硼素の表面に接触させて低接触抵抗のNi・B合金膜を含むp形オーミック電極を設けることとしたので、素子駆動電流を台座電極の射影領域以外の発光領域に充分に拡散でき、発光層の略全面から発光がもたらされた。このため、一般的な積分球を利用して測定される樹脂モールド以前のチップ状態での輝度は11ミリカンデラ(mcd)に達した。
ニッケル・硼素合金電極の電流・電圧特性を例示する図である。 実施例に記載の積層構造体の断面構造を示す模式図である。
符号の説明
10 LEDチップ
11 積層構造体
101 珪素単結晶基板
102 下部クラッド層(n形リン化硼素層)
103 発光層
103a 井戸層
103b 障壁層
104 上部クラッド層(p形リン化硼素層)
105 p形オーミック電極(p形台座電極)
106 n形オーミック電極

Claims (3)

  1. 少なくともp形リン化硼素系半導体層とその上に形成したp形オーミック電極とを備えるリン化硼素系半導体素子において、
    上記p形オーミック電極を、ニッケルと硼素との合金から構成した、ことを特徴とするリン化硼素系半導体素子。
  2. 上記p形オーミック電極は、硼素の重量含有率が0%を超え25%未満である、請求項1に記載のリン化硼素系半導体素子。
  3. 上記p形リン化硼素系半導体層は、伝導形を制御するための不純物を故意に添加しないアンドープのリン化硼素から構成されている、請求項1または2に記載のリン化硼素系半導体素子。
JP2005061866A 2004-03-08 2005-03-07 リン化硼素系半導体素子 Expired - Fee Related JP4658643B2 (ja)

Priority Applications (1)

Application Number Priority Date Filing Date Title
JP2005061866A JP4658643B2 (ja) 2004-03-08 2005-03-07 リン化硼素系半導体素子

Applications Claiming Priority (2)

Application Number Priority Date Filing Date Title
JP2004063749 2004-03-08
JP2005061866A JP4658643B2 (ja) 2004-03-08 2005-03-07 リン化硼素系半導体素子

Publications (2)

Publication Number Publication Date
JP2005294812A true JP2005294812A (ja) 2005-10-20
JP4658643B2 JP4658643B2 (ja) 2011-03-23

Family

ID=35327348

Family Applications (1)

Application Number Title Priority Date Filing Date
JP2005061866A Expired - Fee Related JP4658643B2 (ja) 2004-03-08 2005-03-07 リン化硼素系半導体素子

Country Status (1)

Country Link
JP (1) JP4658643B2 (ja)

Citations (3)

* Cited by examiner, † Cited by third party
Publication number Priority date Publication date Assignee Title
US3054936A (en) * 1959-10-16 1962-09-18 Monsanto Chemicals Transistor
JPH05102066A (ja) * 1991-10-04 1993-04-23 Fujitsu Ltd 半導体素子の製造装置
JP2000101139A (ja) * 1998-09-25 2000-04-07 Toshiba Corp 半導体発光素子及びその製造方法並びに半導体発光装置

Patent Citations (3)

* Cited by examiner, † Cited by third party
Publication number Priority date Publication date Assignee Title
US3054936A (en) * 1959-10-16 1962-09-18 Monsanto Chemicals Transistor
JPH05102066A (ja) * 1991-10-04 1993-04-23 Fujitsu Ltd 半導体素子の製造装置
JP2000101139A (ja) * 1998-09-25 2000-04-07 Toshiba Corp 半導体発光素子及びその製造方法並びに半導体発光装置

Also Published As

Publication number Publication date
JP4658643B2 (ja) 2011-03-23

Similar Documents

Publication Publication Date Title
JP4023121B2 (ja) n型電極、III族窒化物系化合物半導体素子、n型電極の製造方法、及びIII族窒化物系化合物半導体素子の製造方法
CN102246326B (zh) 半导体发光元件
JP2005244207A (ja) 窒化ガリウム系化合物半導体発光素子
JP3567926B2 (ja) pn接合型リン化硼素系半導体発光素子、その製造方法および表示装置用光源
JP4063801B2 (ja) 発光ダイオード
JP4439400B2 (ja) リン化硼素系半導体発光素子、その製造方法及び発光ダイオード
JP3724267B2 (ja) Iii族窒化物半導体発光素子
JP2001077414A (ja) Iii族窒化物半導体発光素子
JP2000353820A (ja) 窓層を備えたAlGaInP発光素子
JP2003124518A (ja) 窒化ガリウム系半導体発光素子及びその製造方法
US7538361B2 (en) Ohmic electrode structure, compound semiconductor light emitting device having the same, and LED lamp
JPH10308533A (ja) 窒化ガリウム系化合物半導体発光素子およびその製造方法ならびに発光装置
JP4658643B2 (ja) リン化硼素系半導体素子
JP4030534B2 (ja) 化合物半導体発光素子およびその製造方法
JP4030513B2 (ja) オーミック電極構造、それを備えた化合物半導体発光素子及びledランプ
CN100413106C (zh) 化合物半导体发光器件
CN1934717B (zh) 化合物半导体发光二极管
JP4039187B2 (ja) 半導体発光素子
JP4502691B2 (ja) p形オーミック電極構造、それを備えた化合物半導体発光素子及びLEDランプ
JP2002246645A (ja) Iii族窒化物半導体発光ダイオード
JP4376361B2 (ja) AlGaInP発光ダイオード
KR100638148B1 (ko) 보론 포스파이드계 반도체 발광소자 및 그 제조방법
TWI251944B (en) Resistance electrode structure, compound semiconductor light emitting device having the same, and LED lamp
JP4518881B2 (ja) p形オーミック電極、それを備えた化合物半導体素子、化合物半導体発光素子及びそれらの製造方法
JP4757514B2 (ja) 化合物半導体発光ダイオード

Legal Events

Date Code Title Description
A621 Written request for application examination

Free format text: JAPANESE INTERMEDIATE CODE: A621

Effective date: 20080107

A977 Report on retrieval

Free format text: JAPANESE INTERMEDIATE CODE: A971007

Effective date: 20100615

A131 Notification of reasons for refusal

Free format text: JAPANESE INTERMEDIATE CODE: A131

Effective date: 20100622

A521 Written amendment

Free format text: JAPANESE INTERMEDIATE CODE: A523

Effective date: 20100820

TRDD Decision of grant or rejection written
A01 Written decision to grant a patent or to grant a registration (utility model)

Free format text: JAPANESE INTERMEDIATE CODE: A01

Effective date: 20101221

A01 Written decision to grant a patent or to grant a registration (utility model)

Free format text: JAPANESE INTERMEDIATE CODE: A01

A61 First payment of annual fees (during grant procedure)

Free format text: JAPANESE INTERMEDIATE CODE: A61

Effective date: 20101224

FPAY Renewal fee payment (prs date is renewal date of database)

Free format text: PAYMENT UNTIL: 20140107

Year of fee payment: 3

R150 Certificate of patent (=grant) or registration of utility model

Free format text: JAPANESE INTERMEDIATE CODE: R150

LAPS Cancellation because of no payment of annual fees