JP2005294679A - 太陽電池セル - Google Patents
太陽電池セル Download PDFInfo
- Publication number
- JP2005294679A JP2005294679A JP2004109798A JP2004109798A JP2005294679A JP 2005294679 A JP2005294679 A JP 2005294679A JP 2004109798 A JP2004109798 A JP 2004109798A JP 2004109798 A JP2004109798 A JP 2004109798A JP 2005294679 A JP2005294679 A JP 2005294679A
- Authority
- JP
- Japan
- Prior art keywords
- interconnector
- back surface
- electrode
- solder
- collecting electrode
- Prior art date
- Legal status (The legal status is an assumption and is not a legal conclusion. Google has not performed a legal analysis and makes no representation as to the accuracy of the status listed.)
- Pending
Links
Images
Classifications
-
- Y—GENERAL TAGGING OF NEW TECHNOLOGICAL DEVELOPMENTS; GENERAL TAGGING OF CROSS-SECTIONAL TECHNOLOGIES SPANNING OVER SEVERAL SECTIONS OF THE IPC; TECHNICAL SUBJECTS COVERED BY FORMER USPC CROSS-REFERENCE ART COLLECTIONS [XRACs] AND DIGESTS
- Y02—TECHNOLOGIES OR APPLICATIONS FOR MITIGATION OR ADAPTATION AGAINST CLIMATE CHANGE
- Y02E—REDUCTION OF GREENHOUSE GAS [GHG] EMISSIONS, RELATED TO ENERGY GENERATION, TRANSMISSION OR DISTRIBUTION
- Y02E10/00—Energy generation through renewable energy sources
- Y02E10/50—Photovoltaic [PV] energy
Landscapes
- Photovoltaic Devices (AREA)
Abstract
【課題】従来の有鉛ハンダを使用している太陽電池では、有鉛ハンダを無鉛ハンダへ変更した場合、裏面集電電極とインターコネクタの接着後や、裏面集電電極とインターコネクタとのハンダ溶着部分からセルの割れやインターコネクタのハガレが発生し、太陽電池セルの性能および品質に悪影響を与えるという課題があった。
【解決手段】無鉛ハンダ処理をした際にハンダの付着量を確保する構成によりセルの割れやインターコネクタのハガレが発生しない太陽電池セルを提供するものである。
【選択図】図5
【解決手段】無鉛ハンダ処理をした際にハンダの付着量を確保する構成によりセルの割れやインターコネクタのハガレが発生しない太陽電池セルを提供するものである。
【選択図】図5
Description
本発明は、無鉛ハンダにて裏面電極を被覆された太陽電池セルとインターコネクタとのハンダ溶着方法に関するものである。
従来のハンダ処理については、たとえば、特許文献1で開示している太陽電池及びその製造方法において、コレクター電極にハンダたまり部を形成することにより、ハンダの付着量を増加させるインターコネクタの接着強度手段等が知られていた。昨今ハンダは接合材料として使われているが、ハンダに含まれる鉛が生態系や人体に悪影響を及ぼすことが近年指摘されてきたため、電子部品や半導体部品などは、ハンダの無鉛化が進められており、太陽電池においても同様である。
そこで従来の太陽電池のハンダ処理について図6に基づいて説明をする。図6は従来型太陽電池セルにインターコネクタをハンダ溶着した状態を示す裏面側の平面図である。図6に示すように、従来型裏面集電電極102の線幅は、線幅が狭い部分を有した構成であったが、このハンダ被覆処理は有鉛ハンダでおこなっていたため、インターコネクタ14の取付による割れ・ハガレといった問題は発生しなかったが、無鉛ハンダを使用した場合には、従来型裏面集電電極102の形状の線幅が細い部分では、インターコネクタ14を接着した場合に端部の強度が弱くハガレが発生するケースもある。
特開2000−188409号公報
従来の有鉛ハンダを使用している太陽電池では、太陽電池セルにおける集電電極とセル同士を連結するインターコネクタとを有鉛ハンダ溶着にて接着させている。そして、有鉛ハンダを無鉛ハンダへ変更した場合、裏面集電電極とインターコネクタの接着後や、裏面集電電極とインターコネクタとのハンダ溶着部分からセルの割れやインターコネクタのハガレが発生し、太陽電池セルの性能および品質に悪影響を与えるという課題があった。
本発明は、従来の課題を解決するものであり、無鉛ハンダ処理のた際にハンダの付着量を確保する構成によりセルの割れやインターコネクタのハガレが発生しない太陽電池セルを提供することを目的としている。
請求項1記載の本発明は、結晶シリコン基板の受光面側に順次、拡散層、反射防止膜が積層され、同結晶シリコン基板の裏面側に、順次当該結晶シリコン基板と同伝導型の裏面電界層、裏面電極が積層され、かつ、前記受光面側に、光起電力を収集するためのバスバー電極とその各バスバー電極に対し直角に一定間隔で配列された複数本の細いグリッド電極で形成される表面集電電極と、前記裏面側に表面集電電極に対し、反対極性で形成される裏面集電電極とからなる太陽電池セルにおいて、裏面集電電極のハンダ被覆処理が無鉛ハンダにて構成され、前記裏面集電電極の線幅が、溶接するインターコネクタの幅よりも広く、かつ均一な線幅であることを特徴とする。
請求項2記載の本発明は、請求項1記載の太陽電池セルにおいて、裏面集電電極へ溶接するインターコネクタ端部の位置が、インターコネクタ長手方向の裏面集電電極端部から5.0mm以上の間隔を設けていることを特徴とする。
請求項3記載の本発明は、請求項1記載の太陽電池セルにおいて、裏面集電電極の外部接続への出口部分近傍の線幅が広く形成されていることを特徴とする。
請求項4記載の本発明は、請求項1記載の太陽電池セルにおいて、裏面集電電極へ溶接するインターコネクタ端部の位置が、インターコネクタ長手方向の裏面集電電極端部から5.0mm以上の間隔を設け、かつ前記裏面集電電極の外部接続への出口部分近傍の線幅が広く形成されていることを特徴とする。
請求項5記載の本発明は、請求項1から請求項4いずれかに記載の太陽電池セルにおいて、裏面集電電極へ溶接するインターコネクタの厚み(銅厚)が100μm以下であることを特徴とする。
以上の説明から本発明によれば、裏面集電電極を無鉛ハンダにて被覆処理した太陽電池セルへのインターコネクタ溶着後や、インターコネクタを溶着させた太陽電池セルに発生する割れやハガレを防止することが可能となる。
本発明の第1の実施の形態は、太陽電池セルにおいて裏面集電電極のハンダ被覆処理が無鉛ハンダにて構成され、前記裏面集電電極の線幅が、溶接するインターコネクタの幅よりも広く、かつ均一な線幅である構成としたものである。この構成により、接着面積が拡大し、裏面集電電極とインターコネクタのハンダ接着部分のハンダ付着量を増加して、接着強度を向上させたものである。
本発明の第2の実施の形態は、第1の実施の形態における太陽電池セルにおいて、裏面集電電極へ溶接するインターコネクタ端部の位置が、インターコネクタ長手方向の裏面集電電極端部から5.0mm以上の間隔を設けて溶接する構成としたものである。これにより、インターコネクタの線端部でのハンダの強度不足等の問題を避けている。
本発明の第3の実施の形態は、第1の実施の形態における太陽電池セルにおいて、裏面集電電極の外部接続への出口部分近傍の線幅が広い構成としたものである。この構成により、最も強度のかかる裏面集電電極の出口部分近傍のハンダ付着量を増加して、接着強度を向上させたものである。
本発明の第4の実施の形態は、第1の実施形態である太陽電池セルにおいて、裏面集電電極へ溶接するインターコネクタ端部の位置が、インターコネクタ長手方向の裏面集電電極端部から5.0mm以上の間隔を設け、かつ前記裏面集電電極の外部接続への出口部分近傍の線幅が広い構成としたものである。これにより、インターコネクタの線端部でのハンダの強度不足等の問題を解決し、かつ裏面集電電極の出口部分近傍のハンダ付着量を増加して接着強度を向上させたものである。
本発明の第5の実施の形態は、第1から第4の実施の形態における太陽電池セルにおいて、表面集電電極と裏面集電電極へ溶接するインターコネクタの厚み(銅厚)が100μm以下の構成とし、温度負荷によるインターコネクタ内部の銅板の伸縮を緩和させるようにしたものである。
以下、本発明の実施例について図面を参照しながら説明する。
(実施例1)
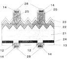
本発明の実施例1について、図1から図2に基づいて説明をおこなう。図1は本発明の実施例1にて太陽電池セルにインターコネクタをハンダ溶着した裏面側の状態を示す平面図、図2は図1の太陽電池セル11のA−A断面図である。
本発明の実施例1について、図1から図2に基づいて説明をおこなう。図1は本発明の実施例1にて太陽電池セルにインターコネクタをハンダ溶着した裏面側の状態を示す平面図、図2は図1の太陽電池セル11のA−A断面図である。
図1に示すように、太陽電池セル11の裏面には裏面電極13と裏面集電電極12が2本それぞれ印刷され、その裏面集電電極12の表面はハンダ被覆されている。そして、裏面集電電極12の線幅は、太陽電池セル同士を接続するインターコネクタ14の線幅の左右に一定の幅を設けた構成としている。
また、図2は図1の太陽電池セル11のA−A断面図である。結晶シリコン基板21の受光面側に順次、拡散層22、反射防止膜23が積層され、同結晶シリコン基板の裏面側に、順次当該結晶シリコン基板21と同伝導型の裏面電界層24、裏面電極13が積層され、かつ、前記受光面側に、光起電力を収集するため表面集電電極25と、前記裏面側に、表面集電電極25に対し反対極性で形成される裏面集電電極12とからなり、その裏面集電電極12の線幅は、前記インターコネクタ14の線幅の左右に一定の幅を設けている。そして、裏面集電電極12のハンダ被覆処理28上にハンダ溶着にてインターコネクタ14が取付けられた構成となっている。
このインターコネクタ14の取り付けは、太陽電池セル11を加熱し、そのハンダを溶かし、溶けたハンダの上に、インターコネクタ14を置いて加圧することで接着される際、インターコネクタ14の線幅の左右にもハンダを付着させている。
そのため、セルの割れやインターコネクタのハガレの原因の一つと考えられる温度負荷によるインターコネクタの伸縮が発生しても、インターコネクタ14を接着した時に長手方向の両端面のハンダ付着量が増加しているため、接着強度が向上し、割れやハガレを抑制できる。
つまり、従来の有鉛ハンダと無鉛ハンダを比べると、有鉛ハンダのほうが柔らかい性質を持っているため、ハンダ接着面積が少なくても十分な接着力を確保できていた。しかし、ハンダが無鉛ハンダの場合には、有鉛ハンダに比べて、硬くもろい性質を持っているため、インターコネクタ14の伸縮による応力が吸収できず、結晶シリコン基板21へダメージを与えるためセル割れやハガレ発生に対してハンダ付着量を確保する構成としたものである。
(実施例2)
実施例2は、実施例1と裏面集電電極12にインターコネクタ14を取り付ける位置が相違し、実施例1で説明したものと同じ記号等は省略するものとする。
実施例2は、実施例1と裏面集電電極12にインターコネクタ14を取り付ける位置が相違し、実施例1で説明したものと同じ記号等は省略するものとする。
図3は本発明の実施例2にて太陽電池セルにインターコネクタ14をハンダ溶着した状態を示す裏面側の平面図である。図3に示すように、インターコネクタ14を裏面集電電極12に取り付ける位置を、裏面集電電極12の端部から5.0mm以上L1の間隔を設けて接着している。
これにより、裏面集電電極12の端部からのセルの割れやインターコネクタのハガレの原因の一つと考えられる温度負荷によるインターコネクタの伸縮が発生した場合でも、インターコネクタ14の端部と裏面集電電極12の端部が離れた位置にあるため、応力が分散され、かつハンダ付着量の増加により、接着強度も向上するため、割れやハガレを抑制することができる。
(実施例3)
実施例3は、実施例1と裏面集電電極12に対して出口部分が拡大した出口拡大部42の構成が相違したものであり、実施例1で説明したものと同じ記号等は省略する。
実施例3は、実施例1と裏面集電電極12に対して出口部分が拡大した出口拡大部42の構成が相違したものであり、実施例1で説明したものと同じ記号等は省略する。
図4は本発明の実施例3にて太陽電池セルにインターコネクタをハンダ溶着した状態を示す裏面側の平面図である。図4に示す裏面集電電極12の出口拡大部42は、インターコネクタ14を外部接続に取り出す出口側で、裏面集電電極12の一部の線幅が出口近傍で左右に拡張された構成となっている。
これにより、インターコネクタ14の裏面集電電極12の出口拡大部42では、セルの割れやインターコネクタのハガレの原因と考えられる温度負荷によるインターコネクタの伸縮が発生した場合でも、拡大した部分へのハンダ付着量が増加して接着強度が向上するため、割れやハガレを抑制できる。
(実施例4)
実施例4は、実施例1と裏面集電電極12にインターコネクタ14を取り付ける位置および裏面集電電極12に対して出口部分が拡大した出口拡大部42の構成が相違したものであり、実施例1で説明したものと同じ記号等は省略する。
実施例4は、実施例1と裏面集電電極12にインターコネクタ14を取り付ける位置および裏面集電電極12に対して出口部分が拡大した出口拡大部42の構成が相違したものであり、実施例1で説明したものと同じ記号等は省略する。
図5は本発明の実施例4にて太陽電池セルにインターコネクタをハンダ溶着した状態を示す裏面側の平面図である。
図5は、本発明において解決しようとする課題に対し、最も有効な実施例を示した太陽電池セル裏面側の平面図である。図5に示すようにインターコネクタ14の取付位置が、裏面集電電極12の端部から5.0mm以上L1の間隔を設けて接着を行い、併せてインターコネクタ14が外部接続する側の裏面集電電極12の一部の線幅が大きく拡大された形状となっている。これにより、裏面集電電極12の両側の端部において、割れやハガレを抑制できる構成としたものである。
本発明は、プリント基板のハンダ処理にも展開できるものである。
11 太陽電池セル
12 裏面集電電極
13 裏面電極
14 インターコネクタ
21 結晶シリコン基板
22 拡散層
23 反射防止膜
24 裏面電界層
25 表面集電電極
28 ハンダ被覆処理
L1 5.0mm以上
41 裏面電極出口拡大部仕様太陽電池セル
42 出口拡大部
101 従来型太陽電池セル
102 従来型裏面集電電極
103 従来型裏面電極
12 裏面集電電極
13 裏面電極
14 インターコネクタ
21 結晶シリコン基板
22 拡散層
23 反射防止膜
24 裏面電界層
25 表面集電電極
28 ハンダ被覆処理
L1 5.0mm以上
41 裏面電極出口拡大部仕様太陽電池セル
42 出口拡大部
101 従来型太陽電池セル
102 従来型裏面集電電極
103 従来型裏面電極
Claims (5)
- 結晶シリコン基板の受光面側に順次、拡散層、反射防止膜が積層され、同結晶シリコン基板の裏面側に、順次当該結晶シリコン基板と同伝導型の裏面電界層、裏面電極が積層され、かつ、前記受光面側に、光起電力を収集するためのバスバー電極とその各バスバー電極に対し直角に一定間隔で配列された複数本の細いグリッド電極で形成される表面集電電極と、前記裏面側に表面集電電極に対し、反対極性で形成される裏面集電電極とからなる太陽電池セルにおいて、裏面集電電極のハンダ被覆処理が無鉛ハンダにて構成され、前記裏面集電電極の線幅が、溶接するインターコネクタの幅よりも広く、かつ均一な線幅であることを特徴とする太陽電池セル。
- 裏面集電電極へ溶接するインターコネクタ端部の位置が、インターコネクタ長手方向の前記裏面集電電極端部から5.0mm以上の間隔を設けていることを特徴とする請求項1記載
の太陽電池セル。 - 裏面集電電極の外部接続への出口部分近傍の線幅が広く形成されていることを特徴とする請求項1記載の太陽電池セル。
- 裏面集電電極へ溶接するインターコネクタ端部の位置が、インターコネクタ長手方向の前記裏面集電電極端部から5.0mm以上の間隔を設け、かつ前記裏面集電電極の外部接続への出口部分近傍の線幅が広く形成されていることを特徴とする請求項1記載の太陽電池セル。
- 裏面集電電極へ溶接するインターコネクタの厚みが100μm以下であることを特徴とする請求項1から請求項4いずれかに記載の太陽電池セル。
Priority Applications (1)
| Application Number | Priority Date | Filing Date | Title |
|---|---|---|---|
| JP2004109798A JP2005294679A (ja) | 2004-04-02 | 2004-04-02 | 太陽電池セル |
Applications Claiming Priority (1)
| Application Number | Priority Date | Filing Date | Title |
|---|---|---|---|
| JP2004109798A JP2005294679A (ja) | 2004-04-02 | 2004-04-02 | 太陽電池セル |
Publications (1)
| Publication Number | Publication Date |
|---|---|
| JP2005294679A true JP2005294679A (ja) | 2005-10-20 |
Family
ID=35327247
Family Applications (1)
| Application Number | Title | Priority Date | Filing Date |
|---|---|---|---|
| JP2004109798A Pending JP2005294679A (ja) | 2004-04-02 | 2004-04-02 | 太陽電池セル |
Country Status (1)
| Country | Link |
|---|---|
| JP (1) | JP2005294679A (ja) |
Cited By (7)
| Publication number | Priority date | Publication date | Assignee | Title |
|---|---|---|---|---|
| WO2008069035A1 (ja) * | 2006-11-28 | 2008-06-12 | Sanyo Electric Co., Ltd. | 太陽電池モジュール |
| CN102328140A (zh) * | 2011-08-12 | 2012-01-25 | 无锡尚品太阳能电力科技有限公司 | 电池片的单片焊接工艺 |
| CN102687279A (zh) * | 2009-11-13 | 2012-09-19 | 三菱电机株式会社 | 太阳能电池单元 |
| CN104148758A (zh) * | 2014-08-14 | 2014-11-19 | 无锡尚品太阳能电力科技有限公司 | 含银加厚焊带与电池片的单焊工艺 |
| JP2015070260A (ja) * | 2013-09-27 | 2015-04-13 | エルジー エレクトロニクス インコーポレイティド | 太陽電池 |
| JP2018531505A (ja) * | 2015-10-20 | 2018-10-25 | アルタ デバイセズ, インコーポレイテッドAlta Devices, Inc. | ストレス耐性が強化された太陽電池におけるフロントメタルコンタクトの形成 |
| JP2020047925A (ja) * | 2018-09-18 | 2020-03-26 | エルジー エレクトロニクス インコーポレイティド | 太陽電池及びこれを含む太陽電池パネル |
-
2004
- 2004-04-02 JP JP2004109798A patent/JP2005294679A/ja active Pending
Cited By (14)
| Publication number | Priority date | Publication date | Assignee | Title |
|---|---|---|---|---|
| JPWO2008069035A1 (ja) * | 2006-11-28 | 2010-03-18 | 三洋電機株式会社 | 太陽電池モジュール |
| US8754324B2 (en) | 2006-11-28 | 2014-06-17 | Sanyo Electric Co., Ltd. | Solar cell module |
| WO2008069035A1 (ja) * | 2006-11-28 | 2008-06-12 | Sanyo Electric Co., Ltd. | 太陽電池モジュール |
| CN102687279B (zh) * | 2009-11-13 | 2015-08-19 | 三菱电机株式会社 | 太阳能电池单元 |
| CN102687279A (zh) * | 2009-11-13 | 2012-09-19 | 三菱电机株式会社 | 太阳能电池单元 |
| US9196775B2 (en) | 2009-11-13 | 2015-11-24 | Mitsubishi Electric Corporation | Solar battery cell |
| CN102328140A (zh) * | 2011-08-12 | 2012-01-25 | 无锡尚品太阳能电力科技有限公司 | 电池片的单片焊接工艺 |
| JP2015070260A (ja) * | 2013-09-27 | 2015-04-13 | エルジー エレクトロニクス インコーポレイティド | 太陽電池 |
| US11139406B2 (en) | 2013-09-27 | 2021-10-05 | Lg Electronics Inc. | Solar cell |
| CN104148758A (zh) * | 2014-08-14 | 2014-11-19 | 无锡尚品太阳能电力科技有限公司 | 含银加厚焊带与电池片的单焊工艺 |
| JP2018531505A (ja) * | 2015-10-20 | 2018-10-25 | アルタ デバイセズ, インコーポレイテッドAlta Devices, Inc. | ストレス耐性が強化された太陽電池におけるフロントメタルコンタクトの形成 |
| JP2020047925A (ja) * | 2018-09-18 | 2020-03-26 | エルジー エレクトロニクス インコーポレイティド | 太陽電池及びこれを含む太陽電池パネル |
| JP7120977B2 (ja) | 2018-09-18 | 2022-08-17 | エルジー エレクトロニクス インコーポレイティド | 太陽電池及びこれを含む太陽電池パネル |
| US11569394B2 (en) | 2018-09-18 | 2023-01-31 | Shangrao Jinko Solar Technology Development Co Ltd | Solar cell and solar cell panel including the same |
Similar Documents
| Publication | Publication Date | Title |
|---|---|---|
| JP3548246B2 (ja) | 光起電力素子及びその製造方法 | |
| KR101954476B1 (ko) | 후방-접촉 태양 전지를 위한 깍지끼움형 포일 상호 연결부 | |
| US9515200B2 (en) | Photovoltaic module | |
| JP5053380B2 (ja) | 太陽電池パネル | |
| JP4080414B2 (ja) | インターコネクタ、インターコネクタ付き太陽電池セル、太陽電池ストリング、太陽電池モジュール、太陽電池ストリングの製造方法 | |
| JP2004247402A (ja) | 太陽電池モジュールおよびその製造方法 | |
| CA2680595A1 (en) | Solar cell, method for manufacturing solar cells, and electric conductor track | |
| CN108258074A (zh) | 太阳能电池组合体 | |
| JP2005252062A (ja) | 太陽電池装置 | |
| JP2006059991A (ja) | 太陽電池モジュール及びその製造方法 | |
| CN102099925A (zh) | 用于太阳能模块和半导体器件的焊接支承座 | |
| CN103403882A (zh) | 太阳能电池模块及其制造方法 | |
| JP5436697B2 (ja) | 太陽電池モジュールおよびその製造方法 | |
| JP2012084560A (ja) | 結晶系太陽電池モジュール | |
| WO2011152309A1 (ja) | 太陽電池モジュール及びその製造方法 | |
| JP2005294679A (ja) | 太陽電池セル | |
| JP2004363293A (ja) | 太陽電池モジュール及びその製造方法 | |
| CN102441717A (zh) | 高效薄膜太阳能电池的焊接方法 | |
| JPH02235379A (ja) | 太陽電池モジュール | |
| CN120568870B (zh) | 太阳能电池及其制备方法、光伏组件 | |
| JP2005191201A (ja) | 太陽電池素子接続用インナーリード及び太陽電池モジュール並びに太陽電池モジュールの製造方法 | |
| CN223584626U (zh) | 一种电池片以及电池组件 | |
| CN116581201B (zh) | 一种光伏组件制备方法、焊带部件及光伏组件 | |
| JP5142955B2 (ja) | 太陽電池素子および太陽電池モジュール | |
| JP4543650B2 (ja) | 太陽電池セルの電極構造 |