JP2005294580A - 半導体素子封止装置および半導体素子封止方法 - Google Patents

半導体素子封止装置および半導体素子封止方法 Download PDF

Info

Publication number
JP2005294580A
JP2005294580A JP2004108373A JP2004108373A JP2005294580A JP 2005294580 A JP2005294580 A JP 2005294580A JP 2004108373 A JP2004108373 A JP 2004108373A JP 2004108373 A JP2004108373 A JP 2004108373A JP 2005294580 A JP2005294580 A JP 2005294580A
Authority
JP
Japan
Prior art keywords
cavity
sealing
pressure
resin
sealing resin
Prior art date
Legal status (The legal status is an assumption and is not a legal conclusion. Google has not performed a legal analysis and makes no representation as to the accuracy of the status listed.)
Granted
Application number
JP2004108373A
Other languages
English (en)
Other versions
JP4481705B2 (ja
Inventor
Hisayuki Tsuruta
久幸 鶴田
Current Assignee (The listed assignees may be inaccurate. Google has not performed a legal analysis and makes no representation or warranty as to the accuracy of the list.)
NEC Electronics Corp
Original Assignee
NEC Electronics Corp
Priority date (The priority date is an assumption and is not a legal conclusion. Google has not performed a legal analysis and makes no representation as to the accuracy of the date listed.)
Filing date
Publication date
Application filed by NEC Electronics Corp filed Critical NEC Electronics Corp
Priority to JP2004108373A priority Critical patent/JP4481705B2/ja
Publication of JP2005294580A publication Critical patent/JP2005294580A/ja
Application granted granted Critical
Publication of JP4481705B2 publication Critical patent/JP4481705B2/ja
Anticipated expiration legal-status Critical
Expired - Fee Related legal-status Critical Current

Links

Images

Landscapes

  • Moulds For Moulding Plastics Or The Like (AREA)
  • Injection Moulding Of Plastics Or The Like (AREA)
  • Encapsulation Of And Coatings For Semiconductor Or Solid State Devices (AREA)

Abstract

【課題】 摺動部材がキャビティ面から離れた状態でキャビティの一部に封止樹脂が注入され、摺動部材よりも面積の狭い射出部が、キャビティに最終的な封止圧力を印加することによって、封止コストの上昇を抑制しつつ、パッケージの信頼性向上を図る技術を提供する。
【解決手段】 半導体チップ126を封止する最終的な圧力を、キャビティブロック106や上下の封止金型よりも面積の狭いプランジャ108により加えている。このため、パスカルの原理により、キャビティ105に同じ圧力を加えるときの動力が小さくてすむ。したがって、キャビティに過剰な圧力印加装置を設ける必要がなく、また、圧力を印加する際のエネルギーコストを低減することができる。この結果、半導体チップ126を封入して半導体パッケージを製造するコストの上昇を抑制することができる。
【選択図】 図1

Description

本発明は、半導体素子封止装置および半導体素子封止方法に関する。
金型を用いて封止樹脂により半導体素子を所定の厚さに封止する従来の封止技術においては、封止樹脂の未充填の抑制や、封止樹脂内のボイド発生の抑制などが要求されている。
こうした要求に対応し、特許文献1に代表されるように、まず、溶融した封止樹脂を所定の厚さよりも厚めに注入して半導体素子を仮封止し、次に溶融した封止樹脂が硬化する前に封止樹脂を圧縮して半導体素子を封止する技術が知られている。この封止技術においては、溶融した封止樹脂が厚めに注入されているために、封止樹脂を圧縮した際に、余剰樹脂を受け入れるための捨てキャビティが必要となる。
特開平6−260518号公報
しかしながら、背景技術の項で説明したような封止技術においては、樹脂を注入するプランジャよりも面積の広い可動キャビティで最終的な封止圧力を印加していたため、大きな動力が必要になるためコストの上昇を招いていた。また、樹脂の充填完了後に、可動キャビティで樹脂を圧縮し、捨てキャビティに樹脂を流し出すため、樹脂流出に伴い、半導体素子を接合するワイヤ流れが生じ、半導体パッケージの信頼性低下を招いていた。
また、樹脂の充填完了後に、可動キャビティで樹脂を圧縮していたため、モールド厚のバラツキが生じ、半導体パッケージの信頼性低下を招いていた。
本発明は、上記事情に鑑みなされたものであって、半導体素子を封止する技術において、封止コストの上昇を抑制しつつ、半導体パッケージの信頼性向上を図ることを目的とする。
本発明によれば、上金型および下金型と、上金型および下金型によって形成され、その内部に半導体素子が載置されるキャビティに、封止樹脂を注入する射出部と、上金型または下金型に摺動可能に設けられ、キャビティの容積を可変とする摺動部材と、キャビティ内の樹脂圧力を検知する圧力検知部と、摺動部材の位置を制御する制御部と、を有し、制御部は、キャビティ内に封止樹脂が注入される前の状態においては、キャビティ面から離れた位置に摺動部材を保持し、キャビティ空間の一部に封止樹脂が充填され、圧力検知部によって検知された樹脂圧力が所定の圧力値を超えたとき、摺動部材をキャビティ面を構成する位置まで移動させ、射出部は、摺動部材がキャビティ面を構成する位置に保持された状態で、キャビティ内を封止樹脂で満たすとともに、キャビティ内の封止樹脂へ印加する圧力を増加させることを特徴とする半導体素子封止装置が提供される。
また、圧力検知部は、射出部に設けられていてもよいし、摺動部材に設けられていてもよいし、キャビティ内に設けられていてもよい。
本発明によれば、上金型および下金型と、上金型および下金型によって形成され、その内部に半導体素子が載置されるキャビティに、封止樹脂を注入する射出部と、上金型または下金型に摺動可能に設けられ、キャビティの容積を可変とする摺動部材と、キャビティ内の樹脂圧力を検知する圧力検知部とを有する半導体素子封止装置を用いた半導体素子封止方法であって、キャビティ内に封止樹脂が注入される前の状態においては、キャビティ面から離れた位置に摺動部材を保持する第一工程と、キャビティ空間の一部に封止樹脂が充填され、圧力検知部によって検知された樹脂圧力が所定の圧力値を超えたとき、摺動部材をキャビティ面を構成する位置まで移動させる第二工程と、摺動部材がキャビティ面を構成する位置に保持された状態で、キャビティ内を封止樹脂で満たす第三工程と、少なくとも上記第二工程の後、射出部がキャビティ内の封止樹脂へ印加する圧力を増加する工程とを含むことを特徴とする半導体素子封止方法が提供される。
本発明によれば、摺動部材がキャビティ面から離れた状態でキャビティの一部に封止樹脂が注入され、摺動部材よりも面積の狭い射出部が、キャビティに最終的な封止圧力を印加することによって、半導体パッケージの封止コストの上昇を抑制しつつ、半導体パッケージの信頼性向上を図ることができる。
本発明において、キャビティ面とは、半導体素子を封止樹脂により封止する成型面のことをいう。また、キャビティ面は、例えば、本発明の半導体素子封止装置により製造される封止パッケージの形状の設計により決定される。
本発明によれば、摺動部材がキャビティ面から離れた状態でキャビティの一部に封止樹脂が注入され、摺動部材よりも面積の狭い射出部が、キャビティに最終的な封止圧力を印加することによって、封止コストの上昇を抑制しつつ、半導体パッケージの信頼性向上を図る技術を提供することができる。
以下、本発明の実施形態について図面を参照して説明する。なお、すべての図面において、同様の構成要素には同一の符号を付し、以下の説明において詳細な説明を適宜省略する。
実施の形態
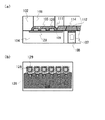
図1は、本実施形態に係る半導体パッケージ封止金型100の構成を示す断面図である。
半導体パッケージ封止金型100は、上部封止金型102、下部封止金型104、キャビティ105、ポット107、プランジャ108、キャビティプレス部(不図示)、ゲート111から構成されている。
上部封止金型102は、キャビティブロック106と、プランジャ108から半導体パッケージ封止金型100への封止樹脂116の通り道となる、ゲート111、カル部112、ランナー部114とを有している。ここで、キャビティブロック106の上部に、不図示のコントロール部を備えるキャビティプレス部が設けられており、そのキャビティプレス部により、キャビティブロック106は上下にスライドする。キャビティブロック106がスライドすることにより、キャビティの容積が変化するようになっている。ここで、上部封止金型102を構成する材料としては耐熱性、強度、耐摩耗性などに優れた材料であればよい。
下部封止金型104上に、半導体チップ126が搭載された基板128を載置する。ここで、半導体チップ126および基板128は、ワイヤ129によりボンディングされている。下部封止金型104を構成する材料としては耐熱性、強度、耐磨耗性などに優れた材料であればよい。また、半導体チップ126を載置する基板128を構成する材料としては、たとえば、エポキシ樹脂、BTレジン、ポリイミドなどの樹脂材料が挙げられる。
封止樹脂116としては、熱溶融性の樹脂などが用いられる。
キャビティ105は、上部封止金型102と下部封止金型104とに囲まれた領域であり、この領域に封止樹脂116を射出することにより、半導体チップ126を封止する。
プランジャ108は、封止樹脂116を射出し、キャビティに封止樹脂116を注入する機能を有しており、構成する材料としては、たとえば、鋼などが用いられる。また、図2に示すように、たとえば、4本のプランジャ108の下に、圧力調整機構123が設けられ、射出ユニット124を構成している。
圧力調整機構123は、後述する図3に示すように、その内部に圧力センサ119およびバネ120を備える。ここで、圧力センサ119は、プランジャ108が封止樹脂116を射出する際に、反力を受けたバネ120の撓みによって封止樹脂116の充填圧力を検知する。これにより、キャビティ内の樹脂圧力が検知される。
図3は、射出・加圧部の拡大図である。ここで、図2の射出ユニット124は図中縦方向に装着されている。射出ユニット124は、その下に位置する射出駆動部121のサーボモータの駆動により上昇し、プランジャ108を押し上げて、ポット107内の封止樹脂116を射出する。また、プレス駆動部125は下部封止金型104をクランプする機能を有する。
ポット107内には溶融された封止樹脂116が入っており、プランジャ108によって押し出されることにより、封止樹脂116がカル部112へ射出される。
コントロール部は、図4に示すように、圧力センサ119と、圧力センサ119からの情報をもとにキャビティブロック106および射出駆動部121を動作させる制御部122とから構成されている。
制御部122を用いたコントロール部によるキャビティブロック106および射出駆動部121の制御は以下のように行う。
圧力センサ119により検知されるプランジャ108の受ける反力が所定の圧力値より小さいときには、プランジャ108は、射出駆動部121により、カル部112とランナー部114とを経由して、封止樹脂116をキャビティ105へ射出する。そして、それと同時に、キャビティブロック106を、キャビティ面(成型面)から離れた位置に保持する。また、圧力センサ119により検知されるプランジャ108の受ける反力が所定のキャビティブロック動作設定圧力値を超えたときには、キャビティブロック106をキャビティ面にスライドさせる。そして、圧力センサ119により検知されるプランジャ108が封止樹脂116から受ける反力が所定の射出完了圧力設定値に到達したときには、射出駆動部121にプランジャ108の動作を停止させて、封止樹脂116の硬化完了までの間、封止樹脂116に加える圧力を保持させることで、半導体チップ126を封止するための最終的な圧力を加えさせる。
キャビティ105内の基板128上に搭載された半導体チップ126の封止は、たとえば、以下のようにして行う。
図5(a)〜(c)に示すように、下部封止金型104上に半導体チップ126が搭載された基板128を載置する。このとき、キャビティ105の容積を大きくするため、コントロール部により、キャビティブロック106は、キャビティ面から離れた位置、たとえば、0.1〜0.2mm程度、上部に保持される。ここで、上部封止金型102、下部封止金型104は、キャビティ105内に注入される封止樹脂116を溶融させるために、電熱ヒーターなどを用いて、たとえば、170〜180℃程度の温度に熱せられている。
図6(a)〜(b)に示すように、前述のコントロール部および射出駆動部121により、プランジャ108は、カル部112とランナー部114とを経由して、ポット107内で溶融された封止樹脂116をキャビティ105内に射出し、封止樹脂116が半導体チップ126および基板128上に流入する。
図7に示すように、封止樹脂116のキャビティ105内への充填が終了する直前に、前述の圧力センサ119により検知したキャビティ105内の封止樹脂116の充填圧力情報をもとにしたコントロール部により、キャビティブロック106は、下方向にスライドすることによって、半導体チップ126を封止する際の所定の位置に移動する。そして、前述の圧力センサ119により検知されるプランジャ108が封止樹脂116から受ける反力が所定の射出完了圧力設定値に到達したときには、コントロール部は、射出駆動部121にプランジャ108の動作を停止させて、封止樹脂116の硬化完了までの間、封止樹脂116に加える圧力を保持させることで、半導体チップ126を封止するための最終的な圧力を加えさせる。ここで、半導体チップ126のパッケージ厚としては、好ましくは、0.3mmから1.2mm程度が用いられる。
封止が完了した半導体パッケージを半導体パッケージ封止金型100から取り外す時には、たとえば、キャビティ105内壁に、直径が1〜2mm程度の複数のエジェクトピン(不図示)を配置し、半導体パッケージ封止金型100が開くのと同時にエジェクトピンが飛び出して、半導体パッケージを離型させる方法などが用いられる。この方法は、上部封止金型102にエジェクトプレートを配置して、このプレートをバネで保持し、上部封止金型102がプレスのクランプによって閉まる際にバネが撓み、エジェクトピンが固定される。半導体パッケージの成型が完了し、半導体パッケージ封止金型100が開く際に、撓んだバネが戻る力を利用して、半導体パッケージを排出する方法である。
以下、本実施形態における半導体パッケージ封止金型100の効果について記載する。
本実施形態においては、半導体チップ126に最終的な封止圧力を加える直前、つまり封止樹脂116の注入が完了する直前に、キャビティブロック106をスライドさせて、キャビティ105をキャビティ面にセッティングする。このため、封止樹脂116の注入完了時には、キャビティ105の容積は半導体チップ126を封止する際の容積となっているため、封止樹脂116をキャビティ105内に過剰に注入する必要がない。それゆえ、キャビティブロック106がキャビティ面よりも上部にセッティングされているキャビティ105内を封止樹脂で充填する特許文献1記載のパッケージ技術において必要であった、余剰な封止樹脂を捨てキャビティに流出させる装置や工程を設けなくてもよい。したがって、余剰な封止樹脂が捨てキャビティに流出する際に生じていた、封止樹脂の流れによる半導体チップや基板に設けられるワイヤの流れが発生しない。また、余剰な封止樹脂を半導体パッケージ封止金型に注入する必要がない。この結果、半導体チップ126を封入して半導体パッケージを製造するコストの上昇を抑制しつつ、半導体パッケージの信頼性を向上させることが可能となる。
また、封止樹脂116の注入が完了する直前に、キャビティブロック106をスライドさせて、キャビティ105をキャビティ面にセッティングするため、余剰な封止樹脂116がキャビティ105内に注入されない。ここで、特許文献1に代表される従来技術においては、余剰な封止樹脂を含めて半導体チップを封止する最終的な圧力を印加していたために、モールド厚のバラツキが生じることがあった。これに対して、本実施形態においては、余剰な封止樹脂116がキャビティ105内に入る前に、キャビティ105をキャビティ面にセッティングするので、半導体チップ126上の封止樹脂116の厚さのバラツキを低減することができ、その後で半導体チップ126を封止する最終的な圧力を印加するので、半導体チップ126のモールド厚のバラツキを低減することができる。この結果、半導体パッケージの信頼性を向上させることが可能となる。
また、本実施形態においては、封止樹脂116がキャビティ105内に注入される前においては、キャビティブロック106はキャビティ面から離れた位置にセッティングされている。このため、半導体チップ126とキャビティとの間にスペースを設けることができる。したがって、封止樹脂116がキャビティ105内に注入される際に、半導体チップ126の上部に封止樹脂116を隙間なく、流れ込むようにすることができる。この結果、半導体パッケージにおけるボイドの発生を抑制することができる。
また、本実施形態においては、半導体チップ126を封止する最終的な圧力を、キャビティブロック106や上下の封止金型よりも面積の狭いプランジャ108により加えている。このため、キャビティブロックなど上下の封止金型本体を加圧することによって半導体チップを封止する最終的な圧力を印加する特許文献1記載のパッケージ技術と比較して、パスカルの原理により、キャビティ105に同じ圧力を加えるときの動力が小さくてすむ。したがって、キャビティに過剰な圧力印加装置を設ける必要がなく、また、圧力を印加する際のエネルギーコストを低減することができる。この結果、半導体チップ126を封入して半導体パッケージを製造するコストの上昇を抑制することができる。
以上、発明の好適な実施の形態を説明した。しかし、本発明は上述の実施の形態に限定されず、当業者が本発明の範囲内で上述の実施形態を変形可能なことはもちろんである。
たとえば、上記実施形態においては、上部封止金型102にキャビティブロック106を設ける形態について説明したが、下部封止金型104にキャビティブロック106を設けてもよい。
また、上記実施形態においては、半導体チップ126を封止する形態について説明したが、他の半導体素子を封止してもよい。
また、上記実施形態においては、圧力センサ119を圧力調整機構123内に設けた形態について説明したが、上部封止金型102の内壁、下部封止金型104の内壁、キャビティブロック106の内壁などに圧力センサを設けてもよい。
また、上記実施形態においては、圧力調整機構123内にバネ120を設けて、バネの撓みによりプランジャ108の受ける反力を検知する形態について説明したが、油圧によってプランジャ108の受ける反力を検知してもよい。
また、上記実施形態においては、半導体チップ126を搭載した基板128を用いた形態について説明したが、たとえば、半導体チップ126を搭載したテープなどであってもよい。
また、上記実施形態においては、エジェクトピンを用いて、半導体パッケージを半導体パッケージ封止金型100から排出する形態について説明したが、上部封止金型102のキャビティ105側の面に離型フィルムを設け、この離型フィルムを金型の吸引機構で吸引固定し、半導体チップの封入後に、半導体パッケージ封止金型が片開きになった時に、自然に半導体パッケージが上部封止金型から剥離する方法を用いてもよい。
また、封止が完了した半導体パッケージを半導体パッケージ封止金型100から取り外す時に、クランプ状態のままで、キャビティブロック106を上方にスライドさせて、半導体パッケージをキャビティブロック106から剥離させ、その後、金型が開いたときにキャビティブロック106を下方にスライドさせることで半導体パッケージを離型させてもよい。こうすることにより、金型を開く前に、キャビティブロック106と半導体パッケージの封止樹脂116とを剥離することができる。したがって、半導体パッケージを離型させる際のストレスを低減することができる。この結果、半導体パッケージの信頼性を向上させることができる。
また、上記実施形態においては、射出ユニット124に4本のプランジャが設けられている形態について説明したが、それ以外の数のプランジャが設けられていてもよい。
実施例1
本実施例は、図7におけるコントロール部の制御動作の一例を示す図である。本実施例では、コントロール部は、キャビティ内樹脂圧力、プランジャ108およびキャビティブロック106を、図8に示すように制御する。
図8(a)は、本発明におけるキャビティ内樹脂圧力と経過時間との関係を示すグラフである。このグラフより、本発明においては、プランジャにより最終圧力を印加することがわかる。図8(b)は、本発明におけるキャビティブロックおよびプランジャの動作状態を示すグラフである。このグラフより、本発明においては、キャビティブロックは、プランジャによる圧力印加開始の直前に動作を開始し、圧力印加開始時には動作を停止していることがわかる。
比較例1
図9(a)は、特許文献1記載の技術におけるキャビティ内樹脂圧力と経過時間との関係を示すグラフである。このグラフより、特許文献1記載の技術においては、途中までプランジャで加圧し、キャビティブロックで最終圧力まで加圧することがわかる。図9(b)は、特許文献1記載の技術におけるキャビティブロックおよびプランジャの動作状態を示すグラフである。このグラフより、特許文献1記載の技術においては、キャビティブロックは、プランジャによる圧力印加終了後に動作を開始し、最終圧力を印加した後に動作を停止していることがわかる。
実施例1の構成によれば、半導体チップ126に最終的な封止圧力を加える直前、つまり封止樹脂116の注入が完了する直前に、キャビティブロック106をスライドさせて、キャビティ105をキャビティ面にセッティングする。このため、封止樹脂116の注入完了時には、キャビティ105の容積は半導体チップ126を封止する際の容積となっているため、封止樹脂116をキャビティ105内に過剰に注入する必要がない。それゆえ、キャビティブロック106がキャビティ面よりも上部にセッティングされているキャビティ105内を封止樹脂で充填する特許文献1記載のパッケージ技術において必要であった、余剰な封止樹脂を捨てキャビティに流出させる装置や工程を設けなくてもよい。したがって、余剰な封止樹脂が捨てキャビティに流出する際に生じていた、封止樹脂の流れによる半導体チップや基板に設けられるワイヤの流れが発生しない。また、余剰な封止樹脂を半導体パッケージ封止金型に注入する必要がない。また、余剰な封止樹脂116がキャビティ105内に入る前に、キャビティ105をキャビティ面にセッティングするので、半導体チップ126上の封止樹脂116の厚さのバラツキを低減することができ、その後で半導体チップ126を封止する最終的な圧力を印加するので、半導体チップ126のモールド厚のバラツキを低減することができる。この結果、半導体チップ126を封入して半導体パッケージを製造するコストの上昇を抑制しつつ、半導体パッケージの信頼性を向上させることが可能となる。
本実施形態に係る半導体チップ封止装置を説明するための断面図である。 本実施形態に係る半導体チップ封止装置を説明するための拡大図である。 本実施形態に係る半導体チップ封止装置を説明するための拡大図である。 本実施形態に係る半導体チップ封止装置を説明するためのブロック図である。 本実施形態に係る半導体チップ封止工程を説明するための断面図である。 本実施形態に係る半導体チップ封止工程を説明するための断面図である。 本実施形態に係る半導体チップ封止工程を説明するための断面図である。 実施例に係る半導体チップ封止工程のデータである。 実施例に係る半導体チップ封止工程のデータである。
符号の説明
100 半導体パッケージ封止金型
102 上部封止金型
104 下部封止金型
105 キャビティ
106 キャビティブロック
107 ポット
108 プランジャ
111 ゲート
112 カル部
114 ランナー部
116 封止樹脂
119 圧力センサ
120 バネ
121 射出駆動部
122 制御部
123 圧力調整機構
124 射出ユニット
125 プレス駆動部
126 半導体チップ
128 基板
129 ワイヤ

Claims (5)

  1. 上金型および下金型と、
    前記上金型および下金型によって形成され、その内部に半導体素子が載置されるキャビティに、封止樹脂を注入する射出部と、
    前記上金型または下金型に摺動可能に設けられ、前記キャビティの容積を可変とする摺動部材と、
    前記キャビティ内の樹脂圧力を検知する圧力検知部と、
    前記摺動部材の位置を制御する制御部と、
    を有し、
    前記制御部は;
    前記キャビティ内に封止樹脂が注入される前の状態においては、キャビティ面から離れた位置に前記摺動部材を保持し、
    前記キャビティ空間の一部に封止樹脂が充填され、前記圧力検知部によって検知された樹脂圧力が所定の圧力値を超えたとき、前記摺動部材を前記キャビティ面を構成する位置まで移動させ、
    前記射出部は;
    前記摺動部材が前記キャビティ面を構成する位置に保持された状態で、前記キャビティ内を前記封止樹脂で満たすとともに、前記キャビティ内の前記封止樹脂へ印加する圧力を増加させることを特徴とする半導体素子封止装置。
  2. 請求項1に記載の半導体素子封止装置において、
    前記圧力検知部は、前記射出部に設けられることを特徴とする半導体素子封止装置。
  3. 請求項1に記載の半導体素子封止装置において、
    前記圧力検知部は、前記摺動部材に設けられることを特徴とする半導体素子封止装置。
  4. 請求項1に記載の半導体素子封止装置において、
    前記圧力検知部は、前記キャビティ内に設けられることを特徴とする半導体素子封止装置。
  5. 上金型および下金型と、
    前記上金型および下金型によって形成され、その内部に半導体素子が載置されるキャビティに、封止樹脂を注入する射出部と、
    前記上金型または下金型に摺動可能に設けられ、前記キャビティの容積を可変とする摺動部材と、
    前記キャビティ内の樹脂圧力を検知する圧力検知部と、
    を有する半導体素子封止装置を用いた半導体素子封止方法であって、
    前記キャビティ内に封止樹脂が注入される前の状態においては、キャビティ面から離れた位置に前記摺動部材を保持する第一工程と、
    前記キャビティ空間の一部に封止樹脂が充填され、前記圧力検知部によって検知された樹脂圧力が所定の圧力値を超えたとき、前記摺動部材を前記キャビティ面を構成する位置まで移動させる第二工程と、
    前記摺動部材が前記キャビティ面を構成する位置に保持された状態で、前記キャビティ内を前記封止樹脂で満たす第三工程と、
    少なくとも前記第二工程の後、前記射出部が前記キャビティ内の前記封止樹脂へ印加する圧力を増加する工程と、
    を含むことを特徴とする半導体素子封止方法。
JP2004108373A 2004-03-31 2004-03-31 半導体素子封止装置および半導体素子封止方法 Expired - Fee Related JP4481705B2 (ja)

Priority Applications (1)

Application Number Priority Date Filing Date Title
JP2004108373A JP4481705B2 (ja) 2004-03-31 2004-03-31 半導体素子封止装置および半導体素子封止方法

Applications Claiming Priority (1)

Application Number Priority Date Filing Date Title
JP2004108373A JP4481705B2 (ja) 2004-03-31 2004-03-31 半導体素子封止装置および半導体素子封止方法

Publications (2)

Publication Number Publication Date
JP2005294580A true JP2005294580A (ja) 2005-10-20
JP4481705B2 JP4481705B2 (ja) 2010-06-16

Family

ID=35327166

Family Applications (1)

Application Number Title Priority Date Filing Date
JP2004108373A Expired - Fee Related JP4481705B2 (ja) 2004-03-31 2004-03-31 半導体素子封止装置および半導体素子封止方法

Country Status (1)

Country Link
JP (1) JP4481705B2 (ja)

Cited By (5)

* Cited by examiner, † Cited by third party
Publication number Priority date Publication date Assignee Title
JP2008277470A (ja) * 2007-04-27 2008-11-13 Asahi Engineering Kk 半導体パッケージの製造方法及び製造装置
JP2009190400A (ja) * 2008-01-19 2009-08-27 Apic Yamada Corp トランスファ成形方法及びトランスファ成形装置
JP2012080039A (ja) * 2010-10-06 2012-04-19 Mitsubishi Electric Corp 半導体装置の製造方法
TWI618612B (zh) * 2011-07-29 2018-03-21 Apic Yamada Corporation 模塑模具以及使用該模具之樹脂模塑裝置
JP2020100114A (ja) * 2018-12-25 2020-07-02 住友ベークライト株式会社 モールド成形用離型フィルム及びモールド成形方法

Cited By (6)

* Cited by examiner, † Cited by third party
Publication number Priority date Publication date Assignee Title
JP2008277470A (ja) * 2007-04-27 2008-11-13 Asahi Engineering Kk 半導体パッケージの製造方法及び製造装置
JP2009190400A (ja) * 2008-01-19 2009-08-27 Apic Yamada Corp トランスファ成形方法及びトランスファ成形装置
JP2012080039A (ja) * 2010-10-06 2012-04-19 Mitsubishi Electric Corp 半導体装置の製造方法
TWI618612B (zh) * 2011-07-29 2018-03-21 Apic Yamada Corporation 模塑模具以及使用該模具之樹脂模塑裝置
JP2020100114A (ja) * 2018-12-25 2020-07-02 住友ベークライト株式会社 モールド成形用離型フィルム及びモールド成形方法
JP7251135B2 (ja) 2018-12-25 2023-04-04 住友ベークライト株式会社 モールド成形用離型フィルム及びモールド成形方法

Also Published As

Publication number Publication date
JP4481705B2 (ja) 2010-06-16

Similar Documents

Publication Publication Date Title
US6080354A (en) Resin molding method in which a movable cavity piece allows a direct resin feed
TWI593538B (zh) 樹脂成型模具與樹脂成型裝置
JP5776094B2 (ja) 樹脂モールド方法および樹脂モールド装置
JP5352896B2 (ja) トランスファ成形方法及びトランスファ成形装置
JP5774545B2 (ja) 樹脂封止成形装置
US6438826B2 (en) Electronic component, method of sealing electronic component with resin, and apparatus therefor
CN101271850A (zh) 树脂密封方法、树脂密封模和树脂密封设备
EP1126516A2 (en) Electronic component, method of sealing electronic component with resin, and apparatus therefor
JP2010173083A (ja) 電子部品の樹脂封止成形方法及び装置
JP2012248780A (ja) 樹脂封止方法
JPH10199907A (ja) 樹脂封止方法および樹脂封止金型装置
US20010030382A1 (en) Ultra mold for encapsulating very thin packages
JP4481705B2 (ja) 半導体素子封止装置および半導体素子封止方法
JP4217572B2 (ja) 樹脂モールド方法および樹脂モールド装置
TW200531238A (en) Resin sealing apparatus and resin sealing method
KR20190017684A (ko) 수지 성형품의 반송 기구, 수지 성형 장치 및 수지 성형품의 제조 방법
JP5776093B2 (ja) 樹脂封止装置
CN1765017A (zh) 用封装材料封装固定在托板上电子器件的装置和方法
JP4749707B2 (ja) 樹脂成形型及び樹脂成形方法
JPH08192438A (ja) 半導体集積回路装置の製造方法およびそれに用いるモールド装置
JP2007301950A (ja) 熱硬化性樹脂の成形方法及び成形装置
JPH09262876A (ja) 成型方法及び半導体集積回路装置用パッケージの成型方法並びに成型装置
JP3844195B2 (ja) ウェハーの樹脂封止装置
JP6966406B2 (ja) 電子制御装置、同製造装置、及び同製造方法
JP2003133351A (ja) 樹脂封止装置及び樹脂封止方法

Legal Events

Date Code Title Description
A621 Written request for application examination

Free format text: JAPANESE INTERMEDIATE CODE: A621

Effective date: 20070112

A977 Report on retrieval

Free format text: JAPANESE INTERMEDIATE CODE: A971007

Effective date: 20080818

A131 Notification of reasons for refusal

Free format text: JAPANESE INTERMEDIATE CODE: A131

Effective date: 20090901

A521 Request for written amendment filed

Free format text: JAPANESE INTERMEDIATE CODE: A523

Effective date: 20091102

TRDD Decision of grant or rejection written
A01 Written decision to grant a patent or to grant a registration (utility model)

Free format text: JAPANESE INTERMEDIATE CODE: A01

Effective date: 20100223

A01 Written decision to grant a patent or to grant a registration (utility model)

Free format text: JAPANESE INTERMEDIATE CODE: A01

A61 First payment of annual fees (during grant procedure)

Free format text: JAPANESE INTERMEDIATE CODE: A61

Effective date: 20100318

FPAY Renewal fee payment (event date is renewal date of database)

Free format text: PAYMENT UNTIL: 20130326

Year of fee payment: 3

R150 Certificate of patent or registration of utility model

Ref document number: 4481705

Country of ref document: JP

Free format text: JAPANESE INTERMEDIATE CODE: R150

Free format text: JAPANESE INTERMEDIATE CODE: R150

FPAY Renewal fee payment (event date is renewal date of database)

Free format text: PAYMENT UNTIL: 20130326

Year of fee payment: 3

S533 Written request for registration of change of name

Free format text: JAPANESE INTERMEDIATE CODE: R313533

FPAY Renewal fee payment (event date is renewal date of database)

Free format text: PAYMENT UNTIL: 20130326

Year of fee payment: 3

R350 Written notification of registration of transfer

Free format text: JAPANESE INTERMEDIATE CODE: R350

FPAY Renewal fee payment (event date is renewal date of database)

Free format text: PAYMENT UNTIL: 20130326

Year of fee payment: 3

FPAY Renewal fee payment (event date is renewal date of database)

Free format text: PAYMENT UNTIL: 20140326

Year of fee payment: 4

R250 Receipt of annual fees

Free format text: JAPANESE INTERMEDIATE CODE: R250

S531 Written request for registration of change of domicile

Free format text: JAPANESE INTERMEDIATE CODE: R313531

R350 Written notification of registration of transfer

Free format text: JAPANESE INTERMEDIATE CODE: R350

LAPS Cancellation because of no payment of annual fees