JP2005294468A - 位置決め装置、露光装置及びデバイス製造方法 - Google Patents

位置決め装置、露光装置及びデバイス製造方法 Download PDF

Info

Publication number
JP2005294468A
JP2005294468A JP2004106245A JP2004106245A JP2005294468A JP 2005294468 A JP2005294468 A JP 2005294468A JP 2004106245 A JP2004106245 A JP 2004106245A JP 2004106245 A JP2004106245 A JP 2004106245A JP 2005294468 A JP2005294468 A JP 2005294468A
Authority
JP
Japan
Prior art keywords
movers
mover
auxiliary
positioning device
auxiliary moving
Prior art date
Legal status (The legal status is an assumption and is not a legal conclusion. Google has not performed a legal analysis and makes no representation as to the accuracy of the status listed.)
Withdrawn
Application number
JP2004106245A
Other languages
English (en)
Inventor
Atsushi Kimura
篤史 木村
Nobushige Korenaga
伸茂 是永
Hiroyoshi Kubo
博義 久保
Current Assignee (The listed assignees may be inaccurate. Google has not performed a legal analysis and makes no representation or warranty as to the accuracy of the list.)
Canon Inc
Original Assignee
Canon Inc
Priority date (The priority date is an assumption and is not a legal conclusion. Google has not performed a legal analysis and makes no representation as to the accuracy of the date listed.)
Filing date
Publication date
Application filed by Canon Inc filed Critical Canon Inc
Priority to JP2004106245A priority Critical patent/JP2005294468A/ja
Priority to US11/091,673 priority patent/US20050218335A1/en
Priority to EP05251985A priority patent/EP1582932A3/en
Publication of JP2005294468A publication Critical patent/JP2005294468A/ja
Withdrawn legal-status Critical Current

Links

Images

Classifications

    • GPHYSICS
    • G03PHOTOGRAPHY; CINEMATOGRAPHY; ANALOGOUS TECHNIQUES USING WAVES OTHER THAN OPTICAL WAVES; ELECTROGRAPHY; HOLOGRAPHY
    • G03FPHOTOMECHANICAL PRODUCTION OF TEXTURED OR PATTERNED SURFACES, e.g. FOR PRINTING, FOR PROCESSING OF SEMICONDUCTOR DEVICES; MATERIALS THEREFOR; ORIGINALS THEREFOR; APPARATUS SPECIALLY ADAPTED THEREFOR
    • G03F7/00Photomechanical, e.g. photolithographic, production of textured or patterned surfaces, e.g. printing surfaces; Materials therefor, e.g. comprising photoresists; Apparatus specially adapted therefor
    • G03F7/70Microphotolithographic exposure; Apparatus therefor
    • G03F7/70691Handling of masks or workpieces
    • G03F7/70733Handling masks and workpieces, e.g. exchange of workpiece or mask, transport of workpiece or mask

Landscapes

  • Physics & Mathematics (AREA)
  • General Physics & Mathematics (AREA)
  • Exposure And Positioning Against Photoresist Photosensitive Materials (AREA)
  • Exposure Of Semiconductors, Excluding Electron Or Ion Beam Exposure (AREA)
  • Linear Motors (AREA)
  • Container, Conveyance, Adherence, Positioning, Of Wafer (AREA)

Abstract

【課題】平面部を有する固定子の上で移動する2つの可動子を有する位置決め装置において、該2つの可動子のスワップ(入れ替え)を可能にしつつ該2つの可動子が目標位置から逸脱して移動することを防止する。
【解決手段】第1、第2領域を含む平面部を有する固定子2と、前記平面部の上で移動する第1、第2可動子11a、11bと、第1、第2可動子11a、11bの位置を規制する規制機構とを備える。第1、第2可動子11a、11bは、固定子2との間に作用するローレンツ力により目標位置に駆動される。前記規制機構は、第1領域内に位置する可動子が目標位置から逸脱しないように該可動子の位置を規制する第1規制部311と、第2領域内に位置する可動子が目標位置から逸脱しないように該可動子の位置を規制する第2規制部411とを含む。
【選択図】図1

Description

本発明は、平面上で移動する2つの可動子を備える位置決め装置、該位置決め装置を適用した露光装置、及び、該露光装置を利用したデバイス製造方法に関する。
図52に特許文献1(特開2003−257851号公報)に開示されたステージ装置の平面図を示す。このステージ装置は、固定磁石群(不図示)を有する固定子10と可動コイル群(不図示)を有する可動子17からなる平面モータを備えており、可動子17は、固定子10上の平面内でXY方向に移動する。可動子17は、ガイドがないため固定子10に対して回転自在である。可動子17の回転量が大きくなると制御不能に陥るため、可動子17の回転防止するための機構が必要である。
回転防止機構100は、ガイド52に沿ってY方向に移動するアクチュエータ36及びアクチュエータ36に取り付けられたバー110を備えている。可動子17には、バー110を部分的に囲むように配置されたスリーブ120が取り付けられており、バー110に沿ってスライドすることができる。
このような構成により、可動子17がX方向へ動くとバー110に沿ってスリーブ120がスライドし、可動子17がY方向に動くとアクチュエータ36もY方向に相当量動き、それにより可動子17は回転防止機構100からの妨げを受けることなく自由に移動することができる。可動子17がZ軸回りに回転しようとしても、スリーブ120の両端部がバー110に接触して回転できない。
可動子17とアクチュエータ36との間には、可動子17のコイル等に電力を供給するためのケーブル37が設けられている。可動子17がY方向に移動したときは、それとともにアクチュエータ36も移動するので、ケーブル37のループ形状は変化せず、可動子17はケーブル37による負荷変動を受けることがない。回転防止機構100にはエンコーダ125、127が設けられており、可動子17のアライメント調整等で使用されている。
特開2003−257851号公報
近年、半導体露光装置に用いるウエハステージ装置として、ツインステージ、すなわち2つのステージを備え、一方を露光用、他方をアライメント用として利用しながら、1枚のウエハの露光が終了すると、2つのステージをスワップ(入れ替え)させる方式が提案されている。この方式を用いると、露光とアライメントを並行して行うことができるので従来のシングルステージ装置と比較してスループットが向上する。ところが、図52の構成のステージをツインステージに適用しようとしても、回転防止機構100が設けられているためにスワップ動作を行うことができない。
本発明は、上記の課題認識を基礎としてなされたものであり、例えば、平面部を有する固定子の上で移動する2つの可動子を有する位置決め装置において、該2つの可動子のスワップ(入れ替え)を可能にしつつ該2つの可動子が目標位置から逸脱して移動することを防止する目的とする。
本発明の位置決め装置は、第1、第2領域を含む平面部を有する固定子と、前記平面部の上で移動する第1、第2可動子と、前記第1、第2可動子の位置を規制する規制機構とを備える。前記第1、第2可動子は、前記第1、第2可動子と前記固定子との間に作用する力により目標位置に駆動される。前記規制機構は、前記第1、第2可動子のうち前記第1領域内に位置する可動子が目標位置から逸脱しないように該可動子の位置を規制する第1規制部と、前記第1、第2可動子のうち前記平面部上の第2領域内に位置する可動子が目標位置から逸脱しないように該可動子の位置を規制する第2規制部とを含む。
本発明の好適な実施形態によれば、前記第1領域と前記第2領域とは部分的に重複しうる。
本発明の好適な実施形態によれば、前記第1、第2規制部は、前記第1、第2可動子が目標位置に位置する状態においては、前記第1、第2可動子に接触しないように構成されることが好ましい。
本発明の好適な実施形態によれば、前記第1、第2可動子は、それぞれ係合部を含み、各可動子が目標位置から逸脱することが前記係合部と前記第1又は第2規制部との接触により規制されることが好ましい。
本発明の好適な実施形態によれば、前記規制機構は、前記第1領域と前記第2領域との間で前記第1、第2可動子が交換される際に、前記係合部、及び/又は、前記第1及び第2規制部を移動させる駆動機構を含むことが好ましい。
本発明の好適な実施形態によれば、前記第1、第2可動子は、それぞれ少なくとも第1、第2係合部を含み、前記第2領域から前記第1領域内に駆動された可動子については前記第1係合部及び前記第1規制部によって該可動子の位置を規制し、前記第1領域から前記第2領域に駆動された可動子については前記第2係合部及び前記第2規制部によって該可動子の位置を規制することができる。
本発明の好適な実施形態によれば、前記係合部は、例えば、凹部、凸部又は穴を含みうる。
本発明の好適な実施形態によれば、前記第1規制部は、前記第1、第2可動子のうち前記第1領域内に位置する可動子とともに移動する第1補助移動体に設けられ、前記第2規制部は、前記第1、第2可動子のうち前記第2領域内に位置する可動子とともに移動する第2補助移動体に設けられうる。前記第1、第2補助移動体は、例えば、両者間の距離が変化する方向に移動可能に構成されうる。前記第1、第2規制部は、例えば、それぞれ前記第1、第2補助移動体の長手方向に沿って延びており、前記第1、第2補助移動体は、例えば、前記第1、第2可動子が前記長手方向に沿って移動するときは停止し、前記第2、第2可動子が前記長手方向に直交する方向に沿って移動するときは前記第1、第2可動子とともに前記長手方向に移動する。或いは、前記第1規制部は、前記第1領域内に位置する可動子とともに前記第1補助移動体の長手方向に移動可能に構成され、前記第2規制部は、前記第2領域内に位置する可動子とともに前記第2補助移動体の長手方向に沿って移動可能に構成されてもよい。
本発明の好適な実施形態によれば、前記第1、第2補助移動体は、前記長手方向における前記第1、第2可動子の移動範囲を規制するストッパーを有することが好ましい。
本発明の好適な実施形態によれば、前記位置決め装置は、前記第1、第2補助移動体の移動範囲を規制する第2ストッパを備えることが好ましい。
本発明の好適な実施形態によれば、前記位置決め装置は、第1方向と直交する第2方向に沿って延びるように配置され、前記第1、第2可動子のうち前記第1領域内に位置する可動子とともに前記第1方向に沿って移動する第1補助移動体と、前記第2方向に沿って延びるように配置され、前記第1、第2可動子のうち前記第2領域内に位置する可動子とともに前記第1方向に沿って移動する第2補助移動体と、前記第1領域内であって前記第1補助移動体と前記第2補助移動体との間に前記第1方向に沿って延びるように配置された第1、第2固定体と、前記第2領域内であって前記第1補助移動体と前記第2補助移動体との間に前記第1方向に沿って延びるように配置された第2固定体とを更に備えることが好ましい。ここで、前記第1規制部は、前記第1領域内の可動子の位置を規制するように前記第1補助移動体及び前記第1固定体に設けられ、前記第2規制部は、前記第2領域内の可動子の位置を規制するように前記第2補助移動体及び前記第2固定体に設けられうる。
本発明の好適な実施形態によれば、前記第1、第2規制部と前記係合部とが接触しうる部分は、前記係合部が前記第1、第2規制部に接触したときに前記係合部が前記第1、第2規制部に対して滑り動くように構成されることが好ましい。
本発明の好適な実施形態によれば、前記第1、第2規制部と前記係合部とは、ローラーを介して接触するように構成されることが好ましい。
本発明の好適な実施形態によれば、前記第1、第2規制部は、それぞれ複数の片に分割された構造を有し、分割された複数の片は、独立して駆動されることが好ましい。
本発明の好適な実施形態によれば、電源が遮断された場合においても前記第1、第2規制部によって前記第1、第2可動子の位置が規制されるように前記第1、第2規制部及び前記第1、第2可動子が構成されることが好ましい。
本発明の好適な実施形態によれば、前記第1、第2可動子の少なくとも一方は、互いを識別するための識別部を有することが好ましい。
本発明の好適な実施形態によれば、前記位置決め装置は、前記第1、第2可動子の位置が前記第1、第2規制部によって規制されていることを確認するセンサを更に備えることが好ましい。
本発明の好適な実施形態によれば、第1段階で、第1方向に沿った線上に並んでいる前記第1、第2可動子を前記第1方向に直交する第2方向に沿ってそれぞれ反対方向に移動させ、次いで、第2段階で、前記第1、第2可動子を前記第1方向に沿ってそれぞれ反対方向に移動させ、次いで、第3段階で、前記第1、第2可動子が前記線上に再び並ぶように前記第1、第2可動子を前記第2方向に沿ってそれぞれ反対方向に移動させ、これによって前記第1、第2可動子の位置が入れ替えられることが好ましい。
本発明の好適な実施形態によれば、前記第2方向に延び互いに対向する第1、第2補助移動体を更に備え、前記第1、第2規制部は、それぞれ前記第1、第2補助移動体に設けられ、前記第1段階では、前記第1、第2補助移動体を静止させた状態で、前記第1、第2規制部によって前記第1、第2可動子の位置を規制しながら前記第1、第2可動子を前記第2方向に沿って移動させ、前記第2段階では、前記第1、第2補助移動体を前記第1方向に沿って移動させるとともに前記第1、第2規制部によって前記第1、第2可動子の位置を規制しながら前記第1、第2可動子を前記第2方向に沿って移動させ、前記第3段階では、前記第1、第2補助移動体を静止させた状態で、前記第1、第2規制部によって前記第1、第2可動子の位置を規制しながら前記第1、第2可動子を前記第2方向に沿って移動させることが好ましい。ここで、前記第2段階では、前記第1、第2可動子が前記第2方向に沿った線上に並ぶ位置まで前記第1、第2可動子を前記第1方向に沿って移動させ、前記第2段階から前記第3段階に移行する際に、前記第1、第2可動子の位置をそれぞれ規制すべき前記第1、第2規制部を入れ替えることができる。
本発明の好適な実施形態によれば、前記位置決め装置は、前記第2方向に延び互いに対向する第1、第2補助移動体と、前記第1、第2補助移動体の間に前記第1方向に沿って配置された第1、第2固定体とを更に備え、前記第1規制部は、前記第1補助移動体及び前記第1固定体に設けられ、前記第2規制部は、前記第2補助移動体及び前記第2固定体に設けられうる。ここで、前記第1段階では、前記第1、第2補助移動体を静止させた状態で、前記第1、第2補助移動体に設けられた前記第1、第2規制部によって前記第1、第2可動子の位置を規制しながら前記第1、第2可動子を前記第2方向に沿って移動させ、
前記第2段階では、前記第1、第2補助移動体を前記第1方向に沿って移動させるとともに前記第1、第2補助移動体に設けられた前記第1、第2規制部によって前記第1、第2可動子の位置を規制しながら前記第1、第2可動子を前記第1方向に沿って移動させ、その後、前記第1、第2移動体を静止させ、前記第1、第2固定体に設けられた前記第1、前記第1、第2固定体に設けられた前記第1、第2規制部によって前記第1、第2可動子の位置を規制しながら前記第1、第2可動子を前記第1方向に沿って移動させ、前記第3段階では、前記第1、第2補助移動体を静止させた状態で、前記第1、第2補助移動体に設けられた前記第1、第2規制部によって前記第1、第2可動子の位置を規制しながら前記第1、第2可動子を前記第2方向に沿って移動させることができる。
本発明の露光装置は、感光剤が塗布された基板の該基板にパターンの潜像を形成する露光装置に関する。前記露光装置は、第1、第2ステージを有し、前記第1、第2ステージ上に基板を保持してそれぞれ位置決めする上記の位置決め装置と、前記第1、第2ステージのうち露光領域内に位置するステージ上に保持された基板上の感光剤に潜像パターンを形成するパターン形成部とを備え、前記第1、第2可動子がそれぞれ前記第1、第2ステージを含む。
本発明のデバイス製造方法は、上記の露光装置を用いて、感光剤が塗布された基板の該感光剤に潜像パターンを形成する工程と、前記潜像パターンを現像する工程とを含む。
本発明によれば、例えば、平面部を有する固定子の上で移動する2つの可動子を有する位置決め装置において、該2つの可動子のスワップ(入れ替え)を可能にしつつ該2つの可動子が目標位置から逸脱して移動することを防止するとできる。
以下、添付図面を参照しながら本発明の好適な実施形態を説明する。
(第1実施形態)
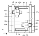
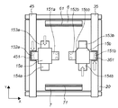
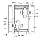
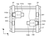
図1〜図6は、本発明の第1実施形態のウエハステージ装置の概略図である。図1〜図6において、(a)は平面図、(b)は側面図であり、ステージの動きを段階を追って示している。
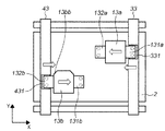
図1を参照して位置決め装置としてのウエハステージ装置の構成を説明する。ウエハステージ装置は、2つのステージ(テーブル)を有するツインステージ構成を有する。具体的には、ウエハステージ装置は、不図示の固定コイル群を含んで構成され平面部を有する固定子2と、不図示の可動磁石群を含で構成され該平面部上で移動する2つの可動子11a、11bとを具備している。2つの可動子11a、11bは、それぞれウエハを保持することができるステージ(テーブル)11a、11bを含んで構成されている。固定子2と可動子11aによって1つの平面モータが構成され、固定子2と可動子11bによって1つの平面モータが構成される。これらの平面モータは、ローレンツ力によって可動子11a、11bを目標位置に駆動(又は目標軌跡に沿って駆動)する。平面モータは、2軸のリニアモータによって可動子を2次元駆動する構成に対して、構造が簡単であることが特徴である。なお、平面モータは、ローレンツ力を利用した方式に限られず、他の方式、例えば、リニアパルスモータのような可変磁気抵抗(磁気吸引力)を利用する方式によっても構成されうる。
固定子2上における可動子11a、11bの移動領域は、露光領域30と、アライメント領域40と、それらによって挟まれたスワップ(入れ替え)領域50とを含み、2つの可動子11a、11bは、スワップ領域50を通って露光領域30とアライメント領域40との間で行き来することができる。
2つの可動子11a、11bには、不図示のバーミラーが搭載されており、干渉計によってそれらの位置が計測され、その計測結果に基づいて目標位置に駆動される。可動子11aの側面には回転防止部材111a、112aが、可動子11bの側面には回転防止部材(他の観点では異常移動防止部材、以下同じ)111b、112bが設けられており、これらは凹部(係合部)を有し、可動子に対して、互いに独立して上下動できる構造になっている。また、補助バー(補助移動体)31、41は、不図示の駆動機構によりガイド5に沿ってX方向に移動可能に配置されている。この駆動機構は、例えば、補助バー31、41に磁石群を設け、固定子2との相互作用(ローレンツ力)で補助バー31、41を駆動するように構成することができる。補助バー31、41は、それぞれ凸部(規制部)311、411を有し、可動子11a、11bの回転防止部材111a、112aの凹部と非接触状態で係合することができる。ここで、非接触状態での係合とは、可動子11a、11bが目標位置(正規の位置)から逸脱して移動(例えば、回転、暴走等によって、このような移動が起こりうる)した場合には、係合部(ここでは、回転防止部材の凹部)と規制部(ここでは、補助バーに設けられた凸部)とが接触するが、可動子11a、11bが目標位置の許容範囲内に位置する場合には、係合部と規制部とが接触しない位置関係を言う。
例えば、図7の分解斜視図に示すように、回転防止部材111aが可動子11aに対して上下動することで回転防止部材111aの凹部111aaと補助バー31の凸部311とが必要なときに非接触状態で係合する。補助バーは、干渉計によってその位置が計測されその位置が制御され、可動子と同期して、凹部(係合部)と凸部(規制部)との非接触状態を維持しながら、移動することができる。通常は、可動子11aがX方向に動くと補助バー31もX方向に相当量動き、凹部111aaと補助バー凸部311が接触することはないが、何らかの異常で可動子11aが暴走したときは凹部111aaが補助バー凸部311に接触し、可動子11aの動きを規制することができる。
なお、補助バー31、41の凸部は、補助バー31、41がガイド5によって回転しないように規制されているので、可動子11a、11bの回転及びX方向並進を規制することができるが、Y方向並進に対してはフリーである。そこで、補助バー31、41を可動子11a、11bについてのY方向のストッパーとして機能するように、例えば、端部(例えば、凸部311の端部)を図7の311aのような形状にし、回転防止部材111aが端部311aに衝突するように構成することが好ましい。もちろん、ストッパーは、このような構造に限定されるものではなく、例えば、ショックアブソーバーを設けてもよい。また、補助バー31、41が暴走したときのために、図1に示すように補助バー31、41のX方向ストロークの両端部に、X方向のストッパーとして、例えばショックアブソーバー5aを設けることが好ましい。
現実の暴走時には、可動子11a、11bが回転して回転防止部材111a、112a、111b、112bの凹部のエッジと補助バー31、41の凸部が衝突し、その後、回転防止部材111a、112a、111b、112bの凹部が補助バー31、41の凸部に沿ってY方向に滑ろうとする。そのため、凹部と凸部が破損、かじりあるいは摩耗することが懸念される。
図8は、回転防止部材111aの凹部と補助バー31の凸部311が非接触状態で係合している時の詳細平面図を示している。図8に示す例では、可動子回転防止部材111aの両脇にストッパー111abが設けてられている。ストッパー111abは、凹部の内面の代わりに係合部として機能する。ストッパー111abは、例えば、緩衝性を有し、及び/又は、摩擦係数の小さい材料(ストッパーが凸部に対して滑り動くために十分に摩擦係数が低い材料)で構成されることが好ましい。ストッパー111abと補助バー31の凸部311とのギャップh1〜h4は、回転防止部材111aの凹部111aaと補助バー31の凸部311とのギャップhより小さく、回転防止部材111aの凹部111aaと補助バー31の凸部311とが衝突したり、かじったりすることがない。
図9は、図8のストッパー111abの代わりにベアリング(ローラー)111acを設けた例であり、ベアリング111acは、外輪部と内輪部とを有し、図9において、外輪部が横方向に転動可能なように、内輪部が支持部材111adを介して回転防止部材111aに固定されている。ベアリングの外輪部は、凹部の内面の代わりに係合部として機能する。ベアリング111acの外輪部と補助バー31の凸部311とのギャップh5〜h8は、回転防止部材111aの凹部111aaと補助バー31の凸部311とのギャップhより小さく、回転防止部材凹部111aaと補助バー凸部311が衝突したり、かじったりすることがない。
一方の可動子11bには、識別部としてC面取り部11bbが設けられており、補助バー31、41には、C面取り部11bbの有無を判別するセンサ(不図示)が配置され、どちらの可動子とどちらの補助バーとが係合しているかを識別することができる。その理由は、例えば、可動子に搭載されるバーミラーの変形が2つの可動子の間で異なると露光時の干渉計による位置制御の補正の仕方が2つの可動子の間で異なることになり、可動子(ステージ)が暴走し干渉計にリセットがかかったときにどちらの可動子がどちらの補助バーに係合しているかがわからないと適切な補正ができないからである。可動子の識別部は、C面取り部11bbに限定されるものではなく、例えば、パターンの異なる識別マークを2つの可動子にそれぞれ設け、そのパターンを光学センサで認識するようなタイプでもよい。
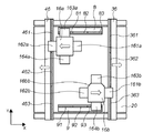
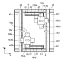
次に、図1〜図6を参照してウエハステージ装置、特に2つの可動子(ステージ)及び補助バーの動きを説明する。図1は、ステージを含むように構成された可動子11aに真空チャックなどによって保持されたウエハ(基板)に対して露光領域30で露光処理が完了し、それと並行して、ステージを含むように構成された可動子11b上のウエハがアライメント領域40でアライメント調整を完了した状態であり、回転防止部材111aの凹部(係合部)が補助バー31の凸部(規制部)311に、回転防止部材112bの凹部(係合部)が補助バー41の凸部(規制部)411に非接触状態で係合している。図において、ハッチングが施された回転防止部材は、図1(b)に示すように、下方位置(非接触状態での係合が可能な高さ)に下がっており補助バーの凸部に非接触状態で係合している。この状態で、2つの可動子11a、11bのスワップ動作が開始される。まず、図1において、矢印の方向に可動子11a、11bが動き始める。
次に、図2に示すように、可動子11aは、+Y方向の移動を終えて−X方向に動き始める。それと連動して補助バー31も−X方向に動き始める。同様に、可動子11bは、−Y方向の移動を終えて+X方向に動き始める。補助バー41もそれに連動して+X方向に動き始める。
図3は、可動子11a、11bがスワップ領域50まで移動した状態を示している。ここで、可動子11a、11b及び補助バー31、41が一時的に停止し、図4に示すように、回転防止部材111aと112bが上方位置(補助バーの凸部によって規制されない高さ)に上がり、回転防止部材111bと112aが下方位置に下がる。すなわち、可動子11aと可動子11bが入れ替わり、ここから先は、可動子11aは補助バー41と、可動子11bは補助バー31とともに動くことになる。
ここで、補助バー31に設けられた凸部311によって可動子の位置を規制することができる領域が第1領域であり、補助バー41に設けられた凸部411によって可動子の位置を規制することができる領域が第2領域である。換言すると、第1領域内に位置する可動子は、補助バー31に設けられた凸部311によって、目標位置から逸脱しないように位置が規制され、第2領域内に位置する可動子は、補助バー41に設けられた凸部411によって、目標位置から逸脱しないように位置が規制される。
図5は、可動子11aがアライメント領域40まで移動し、可動子11bが露光領域30まで移動した状態を示している。補助バー31、41もそれに伴って移動している。そして、図6に示すように、可動子11a、11bがそれぞれ矢印の方向へ移動することで図1の状態(ただし、2つの可動子は入れ替わっている)に戻る。なお、露光が完了したウエハは、例えば図5における可動子11aの位置において、ロボットハンドによって新たなウエハと交換される。
このようにして1サイクルが終了するが、この1サイクルの間、可動子が動いているときは、回転防止部材の凹部(係合部)と補助バーの凸部(規制部)とが必ず何処かで非接触状態で係合している。この実施形態は、回転防止部材の凹部が上下動するタイプであるが、暴走時に非常停止のために装置の電源をOFFにしたときは、回転防止部材の凹部が下方位置に下がって補助バーの凸部と係合するようになっており、いかなるときも暴走によって可動子の姿勢が大きく変動して制御不能になることはない。また、電源をONして復帰させるときは、回転防止部材の凹部と補助バーの凸部が係合しているかどうかを認識するセンサを設けていれば、複数ヵ所で係合している状態(図3、図4の状態で電源OFFしたとき)においても、復帰時に何処の係合を開放すればよいかを特定することができる。
(第2実施形態)
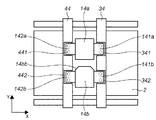
図10〜図15は、本発明の第2実施形態のウエハステージ装置の概略図である。図10〜図15において、(a)は平面図、(b)は側面図であり、ステージの動きを段階を追って示している。図10から図15において、図1から図6に示された符号と同じ符号で示された部分は第1実施形態の構成要素と同じものであるので必要がない限り説明を省略する。
ウエハステージ装置は、それぞれステージを含むように構成された可動子12a、12bを有する。一方の可動子12bには、2個の可動子と補助バーとの組合せを識別するために、識別部としてのC面取り部12bbが設けられている。可動子12aの側面には回転防止部材121a、122aが、可動子12bの側面には回転防止部材121b、122bが設けられており、これらは凹部(係合部)を有している。補助バー32、42は、不図示の駆動機構によりガイド5に沿ってX方向に移動可能に配置されている。この駆動機構は、例えば、補助バー32、42に磁石群を設け、固定子2との相互作用で補助バー32、42を駆動するように構成することができる。補助バー32には凸部(規制部)321、322、補助バー42には凸部(規制部)421、422が長手方向中央部で分断されて設けられ、それぞれ補助バーに対して、互いに独立して上下動できる構造になっている。これは、凸部(規制部)が複数片に分割され、独立して駆動可能に構成された構造の一例である。
例えば、図16の分解斜視図に示すように、補助バー32の凸部322が上下動することで回転防止部材121aの凹部121aaと補助バー32の凸部322が必要なときに非接触状態で係合する。通常は、可動子12aがX方向に動くと補助バー32もX方向に相当量動き、凹部121aaと補助バー凸部322が接触することはないが、何らかの異常で可動子12aが暴走したときは凹部121aaが補助バー凸部322に接触し、可動子の動きを規制することができる。
なお、補助バー32、42の凸部は補助バー32、42がガイド5によって回転しないように規制されているので、可動子の回転及びX方向並進を規制することができるが、Y方向並進に対してはフリーである。そこで、補助バー32、42を可動子12a、12bについてのY方向のストッパーとして機能するように、例えば、端部(例えば、凸部の端部))を図16の322aのような形状にして、回転防止部材121aが端部322aに衝突するように構成することが好ましい。もちろん、ストッパーは、このような構造に限定されるものではなく、例えば、ショックアブソーバーを設けてもよい。また、補助バー32、42が暴走したときのために、図10に示すように補助バーのX方向ストロークの両端部に、X方向のストッパーとして、例えばショックアブソーバー5aを設けることが好ましい。
また、第1実施形態として図8及び図9に参照して説明したように、回転防止部材には、回転防止部材の凹部と補助バー凸部とが衝突したり、かじったりすることがないように回転防止部材の両脇に、ストッパー又はベアリング(ローラー)を設けることが好ましい。
次に、図10〜図15を参照してウエハステージ装置、特に可動子(ステージ)及び補助バーの動きを説明する。図10は、ステージを含むように構成された可動子12aに真空チャックなどによって保持されたウエハに対して露光領域30で露光処理が完了し、それと並行して、ステージを含むように構成された可動子12b上のウエハがアライメント領域40でアライメント調整を完了した状態であり、回転防止部材121aが補助バー32の凸部321及び322に、回転防止部材122bが補助バー42の凸部421及び422に非接触状態で係合している。図において、ハッチングを施した補助バーの凸部は、上方位置に上がって回転防止部材の凹部に非接触状態で係合していることを示す。この状態で、2つの可動子12a、12bのスワップ動作が開示される。まず、図10において、矢印の方向に可動子12a、12bが動き始める。
次に、図11に示すように、可動子12aは、回転防止部材121aが補助バー32の凸部321に非接触状態で係合した状態で+Y方向に移動する。その間に、補助バー凸部322は下方位置に下がる。そして、可動子12aは、+Y方向移動を終えると−X方向に動き始め、それと連動して補助バー32も−X方向に動き始める(図中矢印)。同様に、可動子12bは、回転防止部材122bが補助バー42の凸部422に非接触状態で係合した状態で−Y方向に移動する。その間に、補助バー42の凸部421は下方位置に下がる。そして、可動子12bは、−Y方向移動を終えると+X方向に動き始め、それと連動して補助バー42も+X方向に動き始める(図中矢印)。
図12は、可動子12a、12bがスワップ領域50まで移動した状態を示している。ここで、可動子12a、12b及び補助バー32、42は一時的に停止し、図13に示すように、補助バー32、42の凸部322、421が上方位置に上がり、補助バー32、42の321、422が下方位置に下がる。すなわち、可動子12aと12bが入れ替わり、ここから先は、可動子12aは補助バー42と、可動子12bは補助バー32とともに動くことになる。
ここで、補助バー32に設けられた凸部321、322によって可動子の位置を規制することができる領域が第1領域であり、補助バー42に設けられた凸部421、422によって可動子の位置を規制することができる領域が第2領域である。換言すると、第1領域内に位置する可動子は、補助バー32に設けられた凸部321、322によって、目標位置から逸脱しないように位置が規制され、第2領域内に位置する可動子は、補助バー42に設けられた凸部421、422によって、目標位置から逸脱しないように位置が規制される。
図14は、可動子12aがアライメント領域40まで移動し、可動子12bが露光領域30まで移動した状態を示している。補助バー32、42もそれに伴って移動している。そして、図15に示すように、可動子12a、12bがそれぞれ矢印の方向へ移動することで図10の状態(ただし、2つの可動子は入れ替わっている)に戻る。
このようにして1サイクルが終了するが、この1サイクルの間、可動子が動いているときは、回転防止部材の凹部と補助バー凸部とが必ず何処かで非接触状態で係合している。この実施形態は、補助バーの凸部が上下動するタイプであるが、暴走時に非常停止のために装置の電源をOFFにしたときは、補助バーの凸部が上方位置に移動して回転防止部材の凹部と係合するようになっており、いかなるときも暴走によって可動子の姿勢が大きく変動して制御不能になることはない。また、電源をONして復帰させるときは、回転防止部材の凹部と補助バーの凸部が係合しているかどうかを認識するセンサを設けていれば、複数ヶ所で係合している状態(図12、図13の状態で電源OFFしたとき)においても、復帰時に何処の係合を開放すればよいかを特定することができる。
更に、この実施形態では、回転防止部材を駆動する必要がないため、可動子側への給電を抑えることができる。
(第3実施形態)
図17〜図24は、本発明の第3実施形態のウエハステージ装置の概略平面図であり、ステージの動きを段階を追って示している。
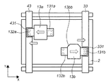
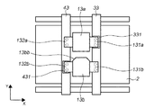
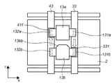
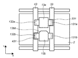
ウエハステージ装置は、それぞれステージを含むように構成された可動子13a、13bを有する。一方の可動子13bには、2個の可動子と補助バーとの組合せを識別するために識別部としてのC面取り部13bbが設けられている。可動子13aの側面には回転防止部材131a、132aが、可動子13bの側面には回転防止部材131b、132bが設けられ、これらは穴(係合部)を有している。補助バー33、43は、不図示の駆動機構によりガイド5に沿ってX方向に移動可能に配置されている。この駆動機構は、例えば、補助バー33、43に磁石群を設け、固定子2との相互作用で補助バー33、43を駆動するように構成することができる。補助バー33にはスライド部材331、補助バー43にはスライド部材431が設けられており、それぞれ補助バー33、43に対して不図示の駆動機構によりY方向に移動することができる。
例えば、図25の分解斜視図に示すように、スライド部材331に設けられた2つの突起(規制部)331aが上下動することで、回転防止部材131aの2つの穴(係合部)131aaと突起(規制部)331aが必要なときに非接触状態で係合する。補助バー及びスライド部材は、干渉計によってその位置が計測されてその計測結果に基づいて駆動され、通常は、可動子13aがX方向に動くと補助バー33もX方向に相当量動き、可動子13aがY方向に動くとスライド部材331もY方向に相当量動くので、穴131aaと突起331aが接触することはない。しかしながら、何らかの異常で可動子13aが暴走したときは穴131aaの内面が突起331aに接触し、可動子の動きを規制することができる。
なお、スライド部材331、431の突起331a、431aは、補助バー33、43がガイド5によって回転しないように規制されているので、可動子の回転、X方向並進及びY方向並進を規制することができる。また、スライド部材331、431は、補助バー33、43に対してY方向についてフリーであるため、図25に示すように、補助バー33の端部331bがストッパーとして機能するようにしている。もちろん、ストッパーは、このような構造に限定されるものではなく、例えば、ショックアブソーバーを設けてもよい。また、補助バー33、43が暴走したときのために、図17に示すように、補助バーのX方向のストローク両端部に、X方向のストッパーとして、例えばショックアブソーバー5aを設けることが好ましい。
次に、図17〜図24を参照してウエハステージ装置、特に可動子(ステージ)及び補助バーの動きを説明する。図17は、ステージを含むように構成された可動子13aに真空チャックなどによって保持されたウエハに対して露光領域30で露光処理が完了し、それと並行して、ステージを含むように構成された可動子13b上のウエハがアライメント領域40でアライメント調整を完了した状態であり、回転防止部材131aの穴(係合部)がスライド部材331の突起(規制部)に、回転防止部材132bの穴(係合部)がスライド部材431の突起(規制部)に非接触状態で係合している。図において、ハッチングを施したスライド部材は、その突起(規制部)が上方位置に移動して回転防止部材の穴(係合部)に非接触状態で係合していることを示す。この状態で、2つの可動子13a、13bのスワップ動作が開始される。まず、図17おいて、矢印の方向に可動子13a、13bが動き始め、それと連動してスライド部材331、431も動き始める。
次に、図18に示すように、可動子13aは、回転防止部材131aの穴がスライド部材331の突起に非接触状態で係合した状態で+Y方向に移動し、それと連動してスライド部材331も+Y方向に移動する。可動子13aは、+Y方向移動を終えると−X方向に動き始め、それと連動して補助バー33も−X方向に動き始める(図中矢印)。ただし、スライド部材331は停止する。同様に、可動子13bは、回転防止部材132bの穴がスライド部材431の突起に非接触状態で係合した状態で−Y方向に移動し、それと連動してスライド部材431も−Y方向に移動する。可動子13bは、−Y方向移動を終えると+X方向に動き始め、それと連動して補助バー43も+X方向に動き始める(図中矢印)。ただし、スライド部材431は停止する。
図19は、可動子13a、13bがスワップ領域50まで移動した状態を示している。ここで、可動子13a、13b及び補助バー33、43は一時的に停止し、図20に示すように、スライド部材331と431の突起が下方位置に下がり、回転防止部材131a、132bとの非接触状態での係合が解除される。そして、図21に矢印で示すように、スライド部材331、431が−Y方向、+Y方向に移動し、図22に示すように、スライド部材331、431の突起を上方位置に上がり回転防止部材132aの穴がスライド部材431の突起に、回転防止部材131bの穴がスライド部材331の突起に非接触状態で係合する。すなわち、可動子13aと13bが入れ替わり、ここから先は、可動子13aは補助バー43と、可動子13bは補助バー33とともに動くことになる。
ここで、補助バー33に沿って移動するスライド部材331に設けられた突起(規制部)によって可動子の位置を規制することができる領域が第1領域であり、補助バー43に沿って移動するスライド部材431に設けられた突起(規制部)によって可動子の位置を規制することができる領域が第2領域である。換言すると、第1領域内に位置する可動子は、補助バー33に沿って移動するスライド部材331に設けられた突起(規制部)によって、目標位置から逸脱しないように位置が規制され、第2領域内に位置する可動子は、補助バー43に沿って移動するスライド部材431に設けられた突起(規制部)によって、目標位置から逸脱しないように位置が規制される。
図23は、可動子13aがアライメント領域40まで移動し、可動子13bが露光領域30まで移動した状態を示している。補助バー33、43もそれに伴って移動している。そして、図24に示すように、可動子13a、13b及びスライド部材331、431がそれぞれ矢印の方向へ移動することで図17の状態(ただし、可動子は入れ替わっている)に戻る。
このようにして1サイクルが終了するが、この1サイクルの間、可動子が動いているときは、回転防止部材の穴(係合部)とスライド部材の突起(規制部)とが必ず何処かで非接触状態で係合しているので、いかなるときも暴走によって可動子の姿勢が大きく変動して制御不能になることはない。また、この実施形態では、スライド部材が補助バー上をY方向に自走するので、可動子に電力を供給するケーブルをスライド部材を介して可動子に取り付ければ、ケーブルによる負荷変動を可動子が受けない。
(第4実施形態)
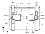
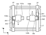
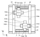
図26〜図32は、本発明の第4実施形態のウエハステージ装置の概略平面図であり、ステージの動きを段階を追って示している。
ウエハステージ装置は、それぞれステージを含むように構成された可動子14a、14bを有する。一方の可動子14bには、2個の可動子と補助バーとの組合せを識別するために識別部としてのC面取り部14bbが設けられている。可動子14aの側面には回転防止部材141a、142aが、可動子14bの側面には回転防止部材141b、142bが設けられ、それらは穴(係合部)を有している。補助バー34、44は、不図示の駆動機構によりガイド5に沿ってX方向に移動可能に配置されている。この駆動機構は、例えば、補助バー34にはスライド部材341及び342、補助バー44にはスライド部材441及び442が設けられており、それぞれ補助バー34、44に対して不図示の駆動機構によりY方向に移動することができる。
可動子と補助バーの構成は第3実施形態(図25)と同様であり、通常は、回転防止部材の穴(係合部)とスライド部材の突起(規制部)は非接触状態で係合しているが、何らかの異常で可動子が暴走したときは回転防止部材の穴(係合部)がスライド部材の突起(規制部)に接触し、可動子の動きを規制することができる。
なお、スライド部材341、342、441、442の突起は、補助バー34、44がガイド5によって回転しないように規制されているので、可動子の回転、X方向並進及びY方向並進を規制することができる。また、スライド部材341、342、441、442は、補助バー34、44に対してY方向についてフリーであるため、図25に示すように、補助バー33と同様に補助バーの端部がストッパーとして機能するようにしている。もちろん、ストッパーは、このような構造に限定されるものではなく、例えば、ショックアブソーバーを設けてもよい。また、補助バー34、44が暴走したときのために、図26に示すように、補助バー34、44のX方向ストロークの両端部に、X方向のストッパーとして、例えばショックアブソーバー5aを設けることが好ましい。
次に、図26〜図32を参照してウエハステージ装置、特に可動子(ステージ)及び補助バーの動きを説明する。図26は、ステージを含むように構成された可動子14aに真空チャックなどによって保持されたウエハに対して露光領域30で露光処理が完了し、それと並行して、ステージを含むように構成された可動子14b上のウエハがアライメント領域40でアライメント調整を完了した状態であり、回転防止部材141aの穴(係合部)がスライド部材341の突起(規制部)に、回転防止部材142bの穴(係合部)がスライド部材442の突起(規制部)に非接触状態で係合している。図において、ハッチングを施したスライド部材は、その突起(規制部)が上方位置に上がって回転防止部材の穴(係合部)に係合していることを示している。この状態で、2つの可動子がスワップ動作が開始される。まず、図26において、矢印の方向に可動子14a、14bが動き始め、それと連動してスライド部材341、442も動き始める。
次に、図27に示すように、可動子14aは、回転防止部材141aの穴がスライド部材341に非接触状態で係合した状態で+Y方向に移動し、それと連動してスライド部材341も+Y方向に移動する。可動子14aは、+Y方向移動を終えると−X方向に動き始め、それと連動して補助バー34も−X方向に動き始める(図中矢印)。ただし、スライド部材341は停止する。同様に、可動子14bは、回転防止部材142bの穴がスライド部材442に非接触状態で係合した状態で−Y方向に移動し、それと連動してスライド部材442も−Y方向に移動する。可動子14bは、−Y方向移動を終えると+X方向に動き始め、それと連動して補助バー44も+X方向に動き始める(図中矢印)。ただし、スライド部材442は停止する。
図28は、可動子14a、14bがスワップ領域50まで移動した状態を示している。このとき、スライド部材342は、あらかじめ回転防止部材141bと非接触状態で係合可能な位置に移動しておくとよい。同様にスライド部材441は、あらかじめ回転防止部材142aと非接触状態で係合可能な位置に移動しておくとよい。ここで、可動子14a、14b及び補助バー34、44は一時的に停止し、図29に示すように、スライド部材341と442の突起が下方位置に下がり、スライド部材342と441の突起が上方位置に上がる。すなわち、可動子14aと14bが入れ替わり、ここから先は、可動子14aは補助バー44と、可動子14bは補助バー34とともに動くことになる。
ここで、補助バー34に沿って移動するスライド部材341、342に設けられた突起(規制部)によって可動子の位置を規制することができる領域が第1領域であり、補助バー44に沿って移動するスライド部材441、442に設けられた突起(規制部)によって可動子の位置を規制することができる領域が第2領域である。換言すると、第1領域内に位置する可動子は、補助バー34に沿って移動するスライド部材341、342に設けられた突起(規制部)によって、目標位置から逸脱しないように位置が規制され、第2領域内に位置する可動子は、補助バー44に沿って移動するスライド部材441、442に設けられた突起(規制部)によって、目標位置から逸脱しないように位置が規制される。
図30は、可動子14aがアライメント領域40まで移動し、可動子14bが露光領域30まで移動した状態を示している。補助バー34、44もそれに伴って移動している。そして、図31に示すように、可動子14a、14b及びスライド部材342、441がそれぞれ矢印の方向へ移動することで図26の状態(ただし、可動子は入れ替わっている)に戻る。
この実施形態では、1つの補助バーに2つのスライド部材が設けられているので、第3実施形態(図21参照)のように2つの可動子が左右入れ替わる時にスライド部材が移動する必要がないので、スループットが向上する。
このようにして1サイクルが終了するが、この1サイクルの間、可動子が動いているときは、回転防止部材の穴(係合部)とスライド部材の突起(規制部)とが必ず何処かで非接触状態で係合している。この実施形態では、スライド部材の突起が上下動するタイプであるが、暴走時に非常停止のために装置の電源をOFFにしたときは、スライド部材の突起が上方位置に上がり可動子回転防止部材の穴と係合するようになっており、いかなるときも暴走によって可動子の姿勢が大きく変動して制御不能になることはない。また、電源をONして復帰させるとき可動子回転防止部材の穴とスライド部材の突起が係合しているかどうかを認識するセンサを設けていれば、複数ヶ所で係合している状態(図28、図29の状態で電源OFFしたとき)においても、復帰時に何処の係合を開放すればよいかを特定することができる。ただし、図32に示すように、2サイクル目の動きを1サイクル目と同じ方向(図中矢印)にしようとすると、スライド部材341及び442がスライド部材342及び441によって補助バーの端に押し出され不都合が生じてしまう。そこで、可動子14aと14bは、1サイクルごとに逆回りにされることが好ましい。
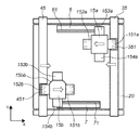
(第5実施形態)
図33〜図42は、本発明の第4実施形態のウエハステージ装置の概略平面図であり、ステージの動きを段階を追って示している。ウエハステージ装置は、固定子20と、2つの可動子15a、15bを有する。固定子20と可動子15aによって平面モータが構成され、固定子20と可動子15bによって平面モータが構成される。一方の可動子15bには、2個の可動子と補助バーとの組合せを識別するために識別部としてのC面取り部15bbが設けられている。
可動子15aの側面には回転防止部材151a、152a、153a、154aが、可動子15bの側面には回転防止部材151b、152b、153b、154bが設けられている。それらのうち、回転防止部材151a、152a、151b、152bは、図25の131aと同じく2つの穴(係合部)を有しており、回転防止部材153a、154a、153b、154bは、図16の121aと同じく凹部(係合部)を有している。
補助バー35、45は、不図示の駆動機構によりガイド51に沿ってX方向に移動可能に配置されている。この駆動機構は、例えば、補助バー35、45に磁石群を設け、固定子2との相互作用で補助バー35、45を駆動するように構成することができる。図25の突起(規制部)331aのように、補助バー35には2つの突起(規制部)を有するスライド部材351、補助バー45には2つの突起(規制部)を有するスライド部材451が設けられており、それぞれ補助バーに対して不図示の駆動機構によりY方向に移動することができる。固定バー6、7は、それぞれ固定バー6、7に対して上下動する凸部61、71を有する。
スライド部材351、451に設けられた突起(規制部)が上下動することで回転防止部材151a、152a、151b、152bの穴(係合部)とスライド部材351、451の突起(規制部)が必要なときに非接触状態で係合し、また、固定バー6、7に設けられた凸部(規制部)61、71が上下動することで回転防止部材153a、154a、153b、154bの凹部(係合部)と固定バー6、7bの凸部(規制部)61、71が必要なときに非接触状態で係合する。
なお、回転防止部材151a、152a、151b、152bの穴が補助バー35、45のスライド部材351、451の突起と係合しているとき、スライド部材351、451の突起は、補助バー35、45がガイド51によって回転しないように規制されているので、可動子15a、15bの回転、X方向並進及びY方向並進を規制することができる。また、スライド部材351、451は、補助バー35、45に対してY方向についてフリーであるため、図25に示す補助バー33と同様に、補助バー35、45の端部がストッパーとして機能するようにしている。もちろん、ストッパーは、このような構造に限定されるものではなく、例えば、ショックアブソーバーを設けてもよい。また、補助バー35、45が暴走したときのために、図33に示すように、補助バーのX方向ストロークの両端部にショックアブソーバー51aを設け、X方向のストッパーとしている。
回転防止部材153a、154a、153b、154bの凹部が固定バー6、7の凸部61、71と係合しているときは、固定バー6、7の凸部61、71は、可動子15a、15bの回転及びY方向並進を規制することができるが、X方向並進に対してはフリーであるため、ストッパーとして機能するように、端部を例えば図16の322aのような形状にすることが好ましい。もちろん、ストッパーは、このような構造に限定されるものではなく、例えば、ショックアブソーバーを設けてもよい。また、第1実施形態として図8及び図9を参照して説明したように、回転防止部材153a、154a、153b、154bには、回転防止部材の凹部と固定バーの凸部が衝突したり、かじったりすることがないように、回転防止部材の両脇にストッパー又はベアリングを設けることが好ましい。
次に、図33〜図42を参照してウエハステージ装置、特に可動子(ステージ)、補助バー及び固定バーの動きを説明する。図33は、ステージを含むように構成された可動子15aに真空チャックなどによって保持されたウエハに対して露光領域301で露光処理が完了し、それと並行して、ステージを含むように構成された可動子15b上のウエハがアライメント領域401でアライメント調整を完了した状態であり、回転防止部材151aの穴(係合部)がスライド部材351の突起(規制部)に、回転防止部材152bの穴(係合部)がスライド部材451の突起(規制部)に非接触状態で係合している。図において、ハッチングを施されたスライド部材は、その突起が上方位置に上がって回転防止部材の穴に非接触状態で係合していることを示している。この状態で、2つの可動子が左右入れ替わる動作が開始される。まず、図において、矢印の方向に可動子15a、15bが動き始め、それと連動してスライド部材351、451も動き始める。
次に、図34に示すように、可動子15aは回転防止部材151aの穴がスライド部材351の突起に非接触状態で係合した状態で+Y方向に移動し、それと連動してスライド部材351も+Y方向に移動する。可動子15aは、+Y方向移動を終えると−X方向に動き始め、それと連動して補助バー35も−X方向に動き始める(図中矢印)。ただし、スライド部材351は停止する。このとき、固定バー6の凸部61は、下方位置に下がっているが、上方位置に上がることにより回転防止部材153aと非接触状態で係合することができる位置関係にある。同様に、可動子15bは、回転防止部材152bの穴がスライド部材451に非接触状態で係合した状態で−Y方向に移動し、それと連動してスライド部材451も−Y方向に移動する。可動子15bは、−Y方向移動を終えると+X方向に動き始め、それと連動して補助バー45も+X方向に動き始める(図中矢印)。ただし、スライド部材451は停止する。このとき、固定バー7の凸部71は、下方位置に下がっているが、上方位置に上がることにより回転防止部材154bと非接触状態で係合することができる位置関係にある。
次に、図35に示すように、固定バー6、7の凸部61、71が上方位置に上がり、凸部61は回転防止部材153aに、凸部71は回転防止部材154bに非接触状態で係合する(固定バーの凸部の上昇がハッチングで示されている)。この状態では、スライド部材351、451と回転防止部材151a、152bとの係合している。
次に、図36に示すように、スライド部材351、451の突起が下方位置に下がり、補助バー35、45と可動子15a、15bとの係合が解除され、補助バー35、45は減速する(減速は、短い矢印で示されている)。
次に、図37に示すように、可動子15a、15bはスワップ領域501に入り引続きX方向に移動しているが、補助バー35、45は所定の位置で停止する。そして、図38に示すように、可動子15a、15bをスワップさせるためにスライド部材351、451が矢印の方向へ移動する。次に、図39に示すように、スライド部材351、451が所定の位置に移動したら補助バー35、45が矢印の方向に動き始める(短い矢印で示されている)。
次に、図40に示すように、補助バー35、45と可動子15b、15aが連動して動く状態になり、スライド部材351、451の突起が上方位置に上がり、それぞれ回転防止部材151b、152aと非接触状態で係合する。すなわち、可動子15aと15bが入れ替わり、ここから先は、可動子15aは補助バー45と、可動子15bは補助バー35とともに動くことになる。
ここで、補助バー35に沿って移動するスライド部材351に設けられた突起(規制部)及び固定バー6に設けられた凸部(規制部)61によって可動子の位置を規制することができる領域が第1領域であり、補助バー45に沿って移動するスライド部材451に設けられた突起(規制部)及び固定バー7に設けられた凸部(規制部)71によって可動子の位置を規制することができる領域が第2領域である。換言すると、第1領域内に位置する可動子は、補助バー35に沿って移動するスライド部材351に設けられた突起(規制部)及び固定バー6に設けられた凸部(規制部)61によって、目標位置から逸脱しないように位置が規制され、第2領域内に位置する可動子は、補助バー45に沿って移動するスライド部材451に設けられた突起(規制部)及び固定バー7に設けられた凸部(規制部)71によって、目標位置から逸脱しないように位置が規制される。
図41は、可動子15aがアライメント領域401まで移動し、可動子15bが露光領域301まで移動して、固定バー凸部61、71が下方位置に下がり、可動子15a、15bが−Y方向、+Y方向に動ける状態になったことを示している。補助バー35、45もそれに伴って移動している。
次に、図42に示すように、可動子15a、15b及びスライド部材351、451がそれぞれ矢印の方向へ移動することで図31の状態(ただし、可動子は入れ替わっている)に戻る。
このようにして1サイクルが終了するが、この1サイクルの間、可動子が動いているときは、可動子の回転防止部材の穴又は凹部(係合部)とスライド部材又は固定バーの突起又は凸部(規制部)が必ず何処かで非接触状態で係合している。この実施形態では、暴走時に非常停止のために装置の電源をOFFにしたときは、スライド部材の突起及び固定バーの凸部が上方位置に上がり回転防止部材の穴や凹部と係合するようになっており、いかなるときも暴走によって可動子の姿勢が大きく変動して制御不能になることはない。また、電源をONして復帰させるとき回転防止部材の穴や凹部とスライド部材の突起や固定バーの凸部が係合しているかどうかを認識するセンサを設けていれば、複数ヶ所で係合している状態(図35、図40の状態で電源OFFしたとき)においても、復帰時に何処の係合を開放すればよいかを特定することができる。また、この実施形態では、固定バー6、7を設けることによりスワップ動作中にステージの動きを停止させる必要がないので、スループットの更なる向上がはかれる。
この実施形態では、補助バー35、45にY方向に移動できるスライド部材351、451を設け、固定バー6、7に上下動のみする凸部61、71を設けているが、固定バーの凸部をX方向にスライドできるタイプにしても良いし、補助バーの凸部を上下動だけするタイプにしてもよい。
(第6実施形態)
図43〜図51は、本発明の第6実施形態のウエハステージ装置の概略平面図であり、ステージの動きを段階を追って示している。ウエハステージ装置は、固定子20と、2つの可動子16a、16bを有する。固定子20と可動子16aによって平面モータが構成され、固定子20と可動子16bによって平面モータが構成される。一方の可動子16bには、2個の可動子と補助バー又は固定バーとの組合せを識別するために識別子としてのC面取り部16bbを設けている。
可動子16aの側面には回転防止部材161a、162a、163a、164aが、可動子16bの側面には回転防止部材161b、162b、163b、164bが設けられている。これらの回転防止部材は、すべて図16の回転防止部材121aと同じく凹部(係合部)を有している。
補助バー36、46は、不図示の駆動機構によりガイド51に沿ってX方向に移動可能に配置されている。この駆動機構は、例えば、補助バー36、46に磁石群を設け、固定子2との相互作用で補助バー36、46を駆動するように構成することができる。補助バー36には凸部(規制部)361、362、363、補助バー46には凸部(規制部)461、462、463が設けられている。凸部361、363、461、463は、それぞれ補助バーに対して、独立して上下動できる構造になっている。一方、凸部362、462は、上方位置に固定されている。
ウエハステージ装置には、更に固定バー8、9が設けられている。固定バー8には凸部(規制部)81、82、83、固定バー9には凸部(規制部)91、92、93が設けられている。凸部81、83、91、93は、それぞれ固定バーに対して、独立して上下動できる構造になっている。一方、凸部82、92は、上位置に固定されている。
可動子の回転防止部材の凹部と補助バー又は固定バーの凸部の構成は図16と同様であり、通常は、回転防止部材の凹部と補助バーの凸部は非接触状態で係合しているが、何らかの異常で可動子が暴走したときは回転防止部材の凹部が補助バー凸部に接触し、可動子の動きを規制することができる。
なお、可動子回転防止部材の凹部が補助バー凸部と係合しているときは、補助バーの凸部は補助バーがガイド51によって回転しないように規制されているので、可動子の回転及びX方向並進を規制することができるが、Y方向並進に対してはフリーであるためストッパーとして機能するように端部を例えば図16の322aのような形状にすることが好ましい。もちろん、ストッパーは、このような構造に限定されるものではなく、例えば、ショックアブソーバーを設けてもよい。同様に、回転防止部材の凹部が固定バー凸部と係合しているときは、固定バーの凸部は可動子の回転及びY方向並進を規制することができるが、X方向並進に対してはフリーであるためストッパーとして機能するように端部を例えば図16の322aのような形状にすることが好ましい。さらに、補助バー36、46が暴走したときのために、図43に示すように、補助バーのX方向ストロークの両端部に、X方向のストッパーとして、例えばショックアブソーバー51aを設けることが好ましい。
また、第1実施形態として図及び図9を参照して説明したように、回転防止部材161a、162a、163a、164a、161b、162b、163b、164bには、回転防止部材の凹部と補助バーの凸部又は固定バーの凸部が衝突したり、かじったりすることがないように、回転防止部材の両脇にストッパー又はベアリングを設けることが好ましい。
次に、図43〜図51を参照してウエハステージ装置、特に可動子(ステージ)、補助バー及び固定バーの動きを説明する。図43は、ステージを含むように構成された可動子16aに真空チャックなどによって保持されたウエハに対して露光領域301で露光処理が完了し、それと並行して、ステージを含むように構成された可動子16b上のウエハがアライメント領域401でアライメント調整を完了した状態であり、回転防止部材161aの凹部(係合部)が補助バー凸部(規制部)362に、回転防止部材162bの凹部(係合部)が補助バー凸部(規制部)462に非接触状態で係合している。図43において、ハッチングが施された凸部(規制部)は、上方位置に上がっていることを示している。この状態で、2つの可動子のスワップ動作が開始される。まず、図において、矢印の方向に可動子16a、16bが動き始める。
次に、図44に示すように、可動子16aは、回転防止部材161aの凹部が補助バー36の凸部362、361に非接触状態で係合した状態で+Y方向に移動する。可動子16aは、+Y方向移動を終えると−X方向に動き始め、それと連動して補助バー36も−X方向に動き始める(図中矢印)。このとき、固定バー8の凸部83は、下方位置に下がっているが、上方位置に上がることにより回転防止部材163aと非接触状態で係合することができる位置関係にある。同様に、可動子16bは、回転防止部材162bの凹部が補助バー46の凸部462、463に非接触状態で係合した状態で−Y方向に移動する。可動子16bは、−Y方向移動を終えると+X方向に動き始め、それと連動して補助バー46も+X方向に動き始める(図中矢印)。このとき、固定バー9の凸部91は、下方位置に下がっているが、上方位置に上がることにより回転防止部材164bと非接触状態で係合することができる位置関係にある。
次に、図45に示すように、固定バー8、9の凸部83、91が上方位置に上がり、凸部83は回転防止部材163aに、凸部91は回転防止部材164bに非接触状態で係合する。この状態では、補助バー36の凸部361、463と回転防止部材161a、162bとも非接触状態で係合している。次に、図46に示すように、補助バー36、46の凸部361、463が下方位置に下がり、補助バー36、46と可動子16a、16bとの非接触状態での係合が解除され、補助バー36、46は減速する(減速は、短い矢印で示されている)。
次に、図47に示すように、可動子16a、16bは、スワップ領域501に入り引続きX方向に移動しているが、補助バー36、46は所定の位置で停止する(このとき、補助バー36、46の凸部361、463は、上方位置の位置に戻っている)。次に、図48に示すように、補助バー36、46が矢印の方向に動き始める(短い矢印で示されている)このとき、補助バー凸部363、461は、下方位置に下がっている。
次に、図49に示すように、補助バー36、46と可動子16a、16bが連動して動く状態になり、補助バー凸部363、461が上方位置に上がり、それぞれ回転防止部材161b、162aと非接触状態で係合する。すなわち、可動子16aと可動子16bが入れ替わり、ここから先は、可動子16aは補助バー46と、可動子16bは補助バー36とともに動くことになる。
ここで、補助バー36に凸部(規制部)361、362、363及び固定バー8に設けられた凸部81、82、83によって可動子の位置を規制することができる領域が第1領域であり、補助バー46に設けられた凸部(規制部)461、462、463及び固定バー9に設けられた凸部(規制部)91、92、93によって可動子の位置を規制することができる領域が第2領域である。換言すると、第1領域内に位置する可動子は、補助バー36に凸部(規制部)361、362、363及び固定バー8に設けられた凸部81、82、83によって、目標位置から逸脱しないように位置が規制され、第2領域内に位置する可動子は、補助バー46に設けられた凸部(規制部)461、462、463及び固定バー9に設けられた凸部(規制部)91、92、93によって、目標位置から逸脱しないように位置が規制される。
図50は、可動子16aがアライメント領域401まで移動し、可動子16bが露光領域301まで移動して、固定バー8、9の凸部81、93が下方位置に下がり、可動子16a、16bが−Y方向、+Y方向に動ける状態になったことを示している。補助バー36、46もそれに伴って移動している。そして、図51のように可動子16a、16bがそれぞれ矢印の方向へ移動することで図33の状態(ただし、2つの可動子は入れ替わっている)に戻る。
このようにして1サイクルが終了するが、この1サイクルの間、可動子が動いているときは、可動子の回転防止部材の凹部(係合部)と補助バー又は固定バーの凸部(規制部)が必ず何処かで非接触状態で係合している。この実施形態では、暴走時に非常停止のために装置の電源をOFFにしたときは、補助バーの凸部及び固定バーの凸部が上方位置に上がり可動子回転防止部材の凹部と係合するようになっており、いかなるときも暴走によって可動子の姿勢が大きく変動して制御不能になることはない。また、電源をONして復帰させるとき、回転防止部材の凹部と補助バーの凸部や固定バーの凸部が係合しているかどうかを認識するセンサを設けていれば、複数ヶ所で係合している状態(図45、図49の状態で電源OFFしたとき)においても、復帰時に何処の係合を開放すればよいかを特定認識することができる。
第1〜第6実施形態では、係合部及び規制部が上下動するタイプを示したが、これに限定されるものでなく、例えば左右に移動してもよい。また、第1〜第6実施形態では、可動子側に凹部、バー側に凸部を設けた例を示したが、可動子側に凸部、バー側に凹部を設けてもよい。
(露光装置への適用例)
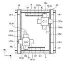
図53は、上記の各実施形態に代表されるツインステージ構成のウエハステージ装置を適用した露光装置の概略構成を示す図である。図53に例示的に示す露光装置は、上記の各実施形態に代表されるウエハステージ装置200を備えている。ここで、ウエハステージ装置200は、平面部を有する固定子SM上に2つのステージ(可動子)ST1、ST2を有し、平面部上で2つのステージST1、ST2を駆動することができる。ステージST1、ST2が平面部上で移動することができる領域には、露光領域と、アライメント領域と、それらの間のスワップ領域を含み、一方のステージが露光領域内で露光に利用されているときに、他方のステージがアライメント領域内でアライメントに利用されることができる。また、2つのステージST1、ST2は、スワップ領域において互いの位置を入れ替えることができる。ステージST1、ST2は、目標位置から逸脱しないように、上記のような係合部及び規制部を含んで構成されうる規制機構によって位置が規制される。正常状態においては、係合部と規制部とが接触することはなく、係合部と規制部とは、ステージST1、ST2が目標位置から逸脱しようとする異常状態において接触し、その逸脱を防止する。
露光領域内に位置するステージに保持されている、感光剤が塗布されたウエハ(基板)には、レチクルステージRSによって保持されたレチクル(原版)Rのパターンが投影光学系OPを通して投影され、感光剤に当該パターンに対応する潜像パターンが形成される。レチクルRは、照明光学系100によって照明される。
このような構成に代えて、電子ビーム等の荷電粒子ビームでウエハを走査しながら感光剤に潜像パターンを描画する方式を採用することもできる。
(デバイス製造方法)
次に上記の露光装置を利用した半導体デバイスの製造プロセスを説明する。図54は、半導体デバイスの全体的な製造プロセスのフローを示す図である。ステップ1(回路設計)では半導体デバイスの回路設計を行なう。ステップ2(マスク作製)では設計した回路パターンに基づいてマスクを作製する。一方、ステップ3(ウエハ製造)ではシリコン等の材料を用いてウエハを製造する。ステップ4(ウエハプロセス)は前工程と呼ばれ、上記のマスクとウエハを用いて、リソグラフィ技術によってウエハ上に実際の回路を形成する。次のステップ5(組み立て)は後工程と呼ばれ、ステップ4によって作製されたウエハを用いて半導体チップ化する工程であり、アッセンブリ工程(ダイシング、ボンディング)、パッケージング工程(チップ封入)等の組立て工程を含む。ステップ6(検査)ではステップ5で作製された半導体デバイスの動作確認テスト、耐久性テスト等の検査を行なう。こうした工程を経て半導体デバイスが完成し、これを出荷(ステップ7)する。
図55は、上記ウエハプロセスの詳細なフローを示す図である。ステップ11(酸化)ではウエハの表面を酸化させる。ステップ12(CVD)ではウエハ表面に絶縁膜を成膜する。ステップ13(電極形成)ではウエハ上に電極を蒸着によって形成する。ステップ14(イオン打込み)ではウエハにイオンを打ち込む。ステップ15(レジスト処理)ではウエハに感光剤を塗布する。ステップ16(露光)では上記の露光装置によってウエハ上の感光剤に回路パターンの潜像を形成する。ステップ17(現像)では露光したウエハを現像する。ステップ18(エッチング)では現像したレジスト像以外の部分を削り取る。ステップ19(レジスト剥離)ではエッチングが済んで不要となったレジストを取り除く。これらのステップを繰り返し行なうことによって、ウエハ上に多重に回路パターンを形成する。
本発明の第1実施形態のツインステージ装置を示す概略図である。 本発明の第1実施形態のツインステージ装置を示す概略図である。 本発明の第1実施形態のツインステージ装置を示す概略図である。 本発明の第1実施形態のツインステージ装置を示す概略図である。 本発明の第1実施形態のツインステージ装置を示す概略図である。 本発明の第1実施形態のツインステージ装置を示す概略図である。 図1における可動子と補助バーの構成例を示す分解斜視図である。 図1における回転防止部材の凹部(係合部)と補助バーの凸部(規制部)の構成例を示す図である。 図1における回転防止部材の凹部(係合部)と補助バーの凸部(規制部)の他の構成例を示す図である。 本発明の第2実施形態のツインステージ装置を示す概略図である。 本発明の第2実施形態のツインステージ装置を示す概略図である。 本発明の第2実施形態のツインステージ装置を示す概略図である。 本発明の第2実施形態のツインステージ装置を示す概略図である。 本発明の第2実施形態のツインステージ装置を示す概略図である。 本発明の第2実施形態のツインステージ装置を示す概略図である。 図10における回転防止部材の凹部(係合部)と補助バーの凸部(規制部)の構成例を示す図である。 本発明の第3実施形態のツインステージ装置を示す概略図である。 本発明の第3実施形態のツインステージ装置を示す概略図である。 本発明の第3実施形態のツインステージ装置を示す概略図である。 本発明の第3実施形態のツインステージ装置を示す概略図である。 本発明の第3実施形態のツインステージ装置を示す概略図である。 本発明の第3実施形態のツインステージ装置を示す概略図である。 本発明の第3実施形態のツインステージ装置を示す概略図である。 本発明の第3実施形態のツインステージ装置を示す概略図である。 図17における回転防止部材の凹部(係合部)と補助バーの凸部(規制部)の構成例を示す図である。 本発明の第4実施形態のツインステージ装置を示す概略図である。 本発明の第4実施形態のツインステージ装置を示す概略図である。 本発明の第4実施形態のツインステージ装置を示す概略図である。 本発明の第4実施形態のツインステージ装置を示す概略図である。 本発明の第4実施形態のツインステージ装置を示す概略図である。 本発明の第4実施形態のツインステージ装置を示す概略図である。 本発明の第4実施形態のツインステージ装置を示す概略図である。 本発明の第5実施形態のツインステージ装置を示す概略図である。 本発明の第5実施形態のツインステージ装置を示す概略図である。 本発明の第5実施形態のツインステージ装置を示す概略図である。 本発明の第5実施形態のツインステージ装置を示す概略図である。 本発明の第5実施形態のツインステージ装置を示す概略図である。 本発明の第5実施形態のツインステージ装置を示す概略図である。 本発明の第5実施形態のツインステージ装置を示す概略図である。 本発明の第5実施形態のツインステージ装置を示す概略図である。 本発明の第5実施形態のツインステージ装置を示す概略図である。 本発明の第5実施形態のツインステージ装置を示す概略図である。 本発明の第6実施形態のツインステージ装置を示す概略図である。 本発明の第6実施形態のツインステージ装置を示す概略図である。 本発明の第6実施形態のツインステージ装置を示す概略図である。 本発明の第6実施形態のツインステージ装置を示す概略図である。 本発明の第6実施形態のツインステージ装置を示す概略図である。 本発明の第6実施形態のツインステージ装置を示す概略図である。 本発明の第6実施形態のツインステージ装置を示す概略図である。 本発明の第6実施形態のツインステージ装置を示す概略図である。 本発明の第6実施形態のツインステージ装置を示す概略図である。 従来例におけるステージ装置の概略平面図。 露光装置の概略構成を示す図である。 デバイス製造方法を示す図である。 デバイス製造方法を示す図である。
符号の説明
2,10,20...平面モータ固定子
11a,11b,12a,12b,13a,13b,14a,14b,
15a,15b,16a,16b,17...平面モータ可動子
111a,112a,111b,112b,121a,122a,121b,122b,131a,
132a,131b,132b,141a,142a,141b,142b,151a,152a,
153a,154a,151b,152b,153b,154b,161a,162a,
163a,164a,161b,162b,163b,164b...回転防止部材
31,41,32,42,33,43,34,44,35,45,36,46...補助バー
311,411,321,322,421,422,361,362,363,461,462,463...補助バー凸部
331,431,341,342,441,442,351,451...補助バースライド部材
6,7,8,9...固定バー
61,71,81,82,83,91,92,93...固定バー凸部
5,51,52...リニアガイド
5a,51a...ショックアブソーバー
30,301...露光領域
40,401...アライメント領域
50,501...スワップ領域

Claims (26)

  1. 第1、第2領域を含む平面部を有する固定子と、
    前記平面部の上で移動する第1、第2可動子と、
    前記第1、第2可動子の位置を規制する規制機構とを備え、
    前記第1、第2可動子は、前記第1、第2可動子と前記固定子との間に作用する力により目標位置に駆動され、
    前記規制機構は、
    前記第1、第2可動子のうち前記第1領域内に位置する可動子が目標位置から逸脱しないように該可動子の位置を規制する第1規制部と、
    前記第1、第2可動子のうち前記平面部上の第2領域内に位置する可動子が目標位置から逸脱しないように該可動子の位置を規制する第2規制部とを含む、
    ことを特徴とする位置決め装置。
  2. 前記第1領域と前記第2領域とは部分的に重複していることを特徴とする請求項1に記載の位置決め装置。
  3. 前記第1、第2規制部は、前記第1、第2可動子が目標位置に位置する状態においては、前記第1、第2可動子に接触しないように構成されていることを特徴とする請求項1又は請求項2に記載の位置決め装置。
  4. 前記第1、第2可動子は、それぞれ係合部を含み、各可動子が目標位置から逸脱することが前記係合部と前記第1又は第2規制部との接触により規制されることを特徴とする請求項1乃至請求項3のいずれか1項に記載の位置決め装置。
  5. 前記規制機構は、前記第1領域と前記第2領域との間で前記第1、第2可動子が交換される際に、前記係合部、及び/又は、前記第1及び第2規制部を移動させる駆動機構を含むことを特徴とする請求項4に記載の位置決め装置。
  6. 前記第1、第2可動子は、それぞれ少なくとも第1、第2係合部を含み、前記第2領域から前記第1領域内に駆動された可動子については前記第1係合部及び前記第1規制部によって該可動子の位置を規制し、前記第1領域から前記第2領域に駆動された可動子については前記第2係合部及び前記第2規制部によって該可動子の位置を規制することを特徴とする請求項1乃至請求項3のいずれか1項に記載の位置決め装置。
  7. 前記係合部は、凹部、凸部又は穴を含むことを特徴とする請求項4乃至請求項6のいずれか1項に記載の位置決め装置。
  8. 前記第1規制部は、前記第1、第2可動子のうち前記第1領域内に位置する可動子とともに移動する第1補助移動体に設けられ、前記第2規制部は、前記第1、第2可動子のうち前記第2領域内に位置する可動子とともに移動する第2補助移動体に設けられていることを特徴とする請求項1乃至請求項7のいずれか1項に記載の位置決め装置。
  9. 前記第1、第2補助移動体は、両者間の距離が変化する方向に移動可能に構成されていることを特徴とする請求項8に記載の位置決め装置。
  10. 前記第1、第2規制部は、それぞれ前記第1、第2補助移動体の長手方向に沿って延びており、前記第1、第2補助移動体は、前記第1、第2可動子が前記長手方向に沿って移動するときは停止し、前記第2、第2可動子が前記長手方向に直交する方向に沿って移動するときは前記第1、第2可動子とともに前記長手方向に移動することを特徴とする請求項9に記載の位置決め装置。
  11. 前記第1規制部は、前記第1領域内に位置する可動子とともに前記第1補助移動体の長手方向に移動可能に構成され、前記第2規制部は、前記第2領域内に位置する可動子とともに前記第2補助移動体の長手方向に沿って移動可能に構成されていることを特徴とする請求項9に記載の位置決め装置。
  12. 前記第1、第2補助移動体は、前記長手方向における前記第1、第2可動子の移動範囲を規制するストッパーを有することを特徴とする請求項8乃至請求項11のいずれか1項に記載の位置決め装置。
  13. 前記第1、第2補助移動体の移動範囲を規制する第2ストッパを更に備えることを特徴とする請求項8乃至請求項12のいずれか1項に記載の位置決め装置。
  14. 第1方向と直交する第2方向に沿って延びるように配置され、前記第1、第2可動子のうち前記第1領域内に位置する可動子とともに前記第1方向に沿って移動する第1補助移動体と、
    前記第2方向に沿って延びるように配置され、前記第1、第2可動子のうち前記第2領域内に位置する可動子とともに前記第1方向に沿って移動する第2補助移動体と、
    前記第1領域内であって前記第1補助移動体と前記第2補助移動体との間に前記第1方向に沿って延びるように配置された第1、第2固定体と、
    前記第2領域内であって前記第1補助移動体と前記第2補助移動体との間に前記第1方向に沿って延びるように配置された第2固定体と、
    を更に備え、前記第1規制部は、前記第1領域内の可動子の位置を規制するように前記第1補助移動体及び前記第1固定体に設けられ、前記第2規制部は、前記第2領域内の可動子の位置を規制するように前記第2補助移動体及び前記第2固定体に設けられていることを特徴とする請求項1乃至請求項7のいずれか1項に記載の位置決め装置。
  15. 前記第1、第2規制部と前記係合部とが接触しうる部分は、前記係合部が前記第1、第2規制部に接触したときに前記係合部が前記第1、第2規制部に対して滑り動くように構成されていることを特徴とする請求項4乃至請求項6のいずれか1項に記載の位置決め装置。
  16. 前記第1、第2規制部と前記係合部とは、ローラーを介して接触するように構成されていることを特徴とする請求項4乃至請求項6のいずれか1項に記載の位置決め装置。
  17. 前記第1、第2規制部は、それぞれ複数の片に分割された構造を有し、分割された複数の片は、独立して駆動されることを特徴とする請求項1乃至請求項16のいずれか1項に記載の位置決め装置。
  18. 電源が遮断された場合においても前記第1、第2規制部によって前記第1、第2可動子の位置が規制されるように前記第1、第2規制部及び前記第1、第2可動子が構成されていることを特徴とする請求項1乃至請求項17のいずれか1項に記載の位置決め装置。
  19. 前記第1、第2可動子の少なくとも一方は、互いを識別するための識別部を有することを特徴とする請求項1乃至請求項18のいずれか1項に記載の位置決め装置。
  20. 前記第1、第2可動子の位置が前記第1、第2規制部によって規制されていることを確認するセンサを更に備えることを特徴とする請求項1乃至請求項19のいずれか1項に記載の位置決め装置。
  21. 第1段階で、第1方向に沿った線上に並んでいる前記第1、第2可動子を前記第1方向に直交する第2方向に沿ってそれぞれ反対方向に移動させ、
    次いで、第2段階で、前記第1、第2可動子を前記第1方向に沿ってそれぞれ反対方向に移動させ、
    次いで、第3段階で、前記第1、第2可動子が前記線上に再び並ぶように前記第1、第2可動子を前記第2方向に沿ってそれぞれ反対方向に移動させ、
    これによって前記第1、第2可動子の位置が入れ替えられることを特徴とする請求項1に記載の位置決め装置。
  22. 前記第2方向に延び互いに対向する第1、第2補助移動体を更に備え、前記第1、第2規制部は、それぞれ前記第1、第2補助移動体に設けられ、
    前記第1段階では、前記第1、第2補助移動体を静止させた状態で、前記第1、第2規制部によって前記第1、第2可動子の位置を規制しながら前記第1、第2可動子を前記第2方向に沿って移動させ、
    前記第2段階では、前記第1、第2補助移動体を前記第1方向に沿って移動させるとともに前記第1、第2規制部によって前記第1、第2可動子の位置を規制しながら前記第1、第2可動子を前記第2方向に沿って移動させ、
    前記第3段階では、前記第1、第2補助移動体を静止させた状態で、前記第1、第2規制部によって前記第1、第2可動子の位置を規制しながら前記第1、第2可動子を前記第2方向に沿って移動させる、
    ことを特徴とする請求項21に記載の位置決め装置。
  23. 前記第2段階では、前記第1、第2可動子が前記第2方向に沿った線上に並ぶ位置まで前記第1、第2可動子を前記第1方向に沿って移動させ、前記第2段階から前記第3段階に移行する際に、前記第1、第2可動子の位置をそれぞれ規制すべき前記第1、第2規制部を入れ替えることを特徴とする請求項22に記載の位置決め装置。
  24. 前記第2方向に延び互いに対向する第1、第2補助移動体と、
    前記第1、第2補助移動体の間に前記第1方向に沿って配置された第1、第2固定体とを更に備え、
    前記第1規制部は、前記第1補助移動体及び前記第1固定体に設けられ、
    前記第2規制部は、前記第2補助移動体及び前記第2固定体に設けられ、
    前記第1段階では、前記第1、第2補助移動体を静止させた状態で、前記第1、第2補助移動体に設けられた前記第1、第2規制部によって前記第1、第2可動子の位置を規制しながら前記第1、第2可動子を前記第2方向に沿って移動させ、
    前記第2段階では、前記第1、第2補助移動体を前記第1方向に沿って移動させるとともに前記第1、第2補助移動体に設けられた前記第1、第2規制部によって前記第1、第2可動子の位置を規制しながら前記第1、第2可動子を前記第1方向に沿って移動させ、その後、前記第1、第2移動体を静止させ、前記第1、第2固定体に設けられた前記第1、前記第1、第2固定体に設けられた前記第1、第2規制部によって前記第1、第2可動子の位置を規制しながら前記第1、第2可動子を前記第1方向に沿って移動させ、
    前記第3段階では、前記第1、第2補助移動体を静止させた状態で、前記第1、第2補助移動体に設けられた前記第1、第2規制部によって前記第1、第2可動子の位置を規制しながら前記第1、第2可動子を前記第2方向に沿って移動させる、
    ことを特徴とする請求項21に記載の位置決め装置。
  25. 感光剤が塗布された基板の該基板にパターンの潜像を形成する露光装置であって、
    第1、第2ステージを有し、前記第1、第2ステージ上に基板を保持してそれぞれ位置決めする位置決め装置と、
    前記第1、第2ステージのうち露光領域内に位置するステージ上に保持された基板上の感光剤に潜像パターンを形成するパターン形成部とを備え、
    前記位置決め装置として請求項1乃至請求項24のいずれか1項に記載の位置決め装置を備え、前記第1、第2可動子がそれぞれ前記第1、第2ステージを含むことを特徴とする露光装置。
  26. デバイス製造方法であって、
    請求項25に記載の露光装置を用いて、感光剤が塗布された基板の該感光剤に潜像パターンを形成する工程と、
    前記潜像パターンを現像する工程と、
    を含むことを特徴とするデバイス製造方法。
JP2004106245A 2004-03-31 2004-03-31 位置決め装置、露光装置及びデバイス製造方法 Withdrawn JP2005294468A (ja)

Priority Applications (3)

Application Number Priority Date Filing Date Title
JP2004106245A JP2005294468A (ja) 2004-03-31 2004-03-31 位置決め装置、露光装置及びデバイス製造方法
US11/091,673 US20050218335A1 (en) 2004-03-31 2005-03-29 Alignment apparatus, exposure apparatus, and device manufacturing method
EP05251985A EP1582932A3 (en) 2004-03-31 2005-03-30 Alignment apparatus, exposure apparatus, and device manufacturing method

Applications Claiming Priority (1)

Application Number Priority Date Filing Date Title
JP2004106245A JP2005294468A (ja) 2004-03-31 2004-03-31 位置決め装置、露光装置及びデバイス製造方法

Publications (1)

Publication Number Publication Date
JP2005294468A true JP2005294468A (ja) 2005-10-20

Family

ID=34880085

Family Applications (1)

Application Number Title Priority Date Filing Date
JP2004106245A Withdrawn JP2005294468A (ja) 2004-03-31 2004-03-31 位置決め装置、露光装置及びデバイス製造方法

Country Status (3)

Country Link
US (1) US20050218335A1 (ja)
EP (1) EP1582932A3 (ja)
JP (1) JP2005294468A (ja)

Cited By (2)

* Cited by examiner, † Cited by third party
Publication number Priority date Publication date Assignee Title
JP2006287122A (ja) * 2005-04-04 2006-10-19 Canon Inc 平面ステージ装置及び露光装置
KR100914494B1 (ko) 2007-01-22 2009-08-28 정훈택 이동장치

Families Citing this family (11)

* Cited by examiner, † Cited by third party
Publication number Priority date Publication date Assignee Title
JP2008078499A (ja) * 2006-09-22 2008-04-03 Canon Inc 支持装置、露光装置及びデバイス製造方法
CN100468212C (zh) * 2006-09-22 2009-03-11 上海微电子装备有限公司 双台定位交换系统
US8361371B2 (en) 2008-02-08 2013-01-29 Molecular Imprints, Inc. Extrusion reduction in imprint lithography
KR101657221B1 (ko) * 2009-02-13 2016-09-13 마이크로닉 마이데이타 에이비 멀티-테이블 리소그래피 시스템
CN101551599B (zh) * 2009-04-03 2011-07-20 清华大学 一种光刻机硅片台双台交换系统
CN101551598B (zh) 2009-04-03 2010-12-01 清华大学 一种光刻机硅片台双台交换系统
CN101571676B (zh) 2009-04-03 2010-12-01 清华大学 一种光刻机硅片台双台交换系统
IT1399285B1 (it) * 2009-07-03 2013-04-11 Applied Materials Inc Sistema di lavorazione substrato
CN102495530B (zh) * 2011-11-12 2014-11-12 哈尔滨工业大学 一种过梁式步进扫描和三节拍双工件台交换装置与方法
US9921494B2 (en) 2012-04-27 2018-03-20 Asml Netherlands B.V. Lithographic apparatus comprising an actuator, and method for protecting such actuator
CN108988597B (zh) * 2018-08-10 2019-12-10 深圳大学 嵌入式直线开关磁阻电机装置

Family Cites Families (16)

* Cited by examiner, † Cited by third party
Publication number Priority date Publication date Assignee Title
JP3548353B2 (ja) * 1996-10-15 2004-07-28 キヤノン株式会社 ステージ装置およびこれを用いた露光装置ならびにデバイス製造方法
JP3745167B2 (ja) * 1998-07-29 2006-02-15 キヤノン株式会社 ステージ装置、露光装置およびデバイス製造方法ならびにステージ駆動方法
JP2001118773A (ja) * 1999-10-18 2001-04-27 Nikon Corp ステージ装置及び露光装置
JP2001160530A (ja) * 1999-12-01 2001-06-12 Nikon Corp ステージ装置及び露光装置
TWI223734B (en) * 1999-12-21 2004-11-11 Asml Netherlands Bv Crash prevention in positioning apparatus for use in lithographic projection apparatus
US6836093B1 (en) * 1999-12-21 2004-12-28 Nikon Corporation Exposure method and apparatus
EP1111471B1 (en) * 1999-12-21 2005-11-23 ASML Netherlands B.V. Lithographic projection apparatus with collision preventing device
JP2002280283A (ja) * 2001-03-16 2002-09-27 Canon Inc 基板処理装置
EP1300932B1 (en) * 2001-10-05 2013-12-18 Canon Kabushiki Kaisha Linear motor, stage apparatus, and exposure apparatus
JP3676779B2 (ja) * 2001-12-11 2005-07-27 エイエスエムエル ネザランドズ ベスローテン フエンノートシャップ リソグラフィ装置およびデバイスの製造方法
US6927505B2 (en) * 2001-12-19 2005-08-09 Nikon Corporation Following stage planar motor
JP4227452B2 (ja) * 2002-12-27 2009-02-18 キヤノン株式会社 位置決め装置、及びその位置決め装置を利用した露光装置
JP2005142501A (ja) * 2003-11-10 2005-06-02 Canon Inc ステージ装置および露光装置ならびにデバイス製造方法
JP4307288B2 (ja) * 2004-02-25 2009-08-05 キヤノン株式会社 位置決め装置
JP2005253179A (ja) * 2004-03-03 2005-09-15 Canon Inc 位置決め装置、露光装置およびデバイス製造方法
JP2005303196A (ja) * 2004-04-15 2005-10-27 Canon Inc 位置決め装置、露光装置、半導体デバイスの製造方法

Cited By (2)

* Cited by examiner, † Cited by third party
Publication number Priority date Publication date Assignee Title
JP2006287122A (ja) * 2005-04-04 2006-10-19 Canon Inc 平面ステージ装置及び露光装置
KR100914494B1 (ko) 2007-01-22 2009-08-28 정훈택 이동장치

Also Published As

Publication number Publication date
EP1582932A2 (en) 2005-10-05
US20050218335A1 (en) 2005-10-06
EP1582932A3 (en) 2010-01-20

Similar Documents

Publication Publication Date Title
KR100895640B1 (ko) 스테이지 장치, 노광 장치 및 디바이스 제조방법
US8009275B2 (en) Movable stage apparatus
JP2005294468A (ja) 位置決め装置、露光装置及びデバイス製造方法
US7348695B2 (en) Linear motor, moving stage system, exposure apparatus, and device manufacturing method
KR100374744B1 (ko) 위치결정장치, 노광장치, 디바이스제조방법 및 위치결정방법
US7880864B2 (en) Stage apparatus, exposure apparatus, and device manufacturing method
US7817251B2 (en) Supporting apparatus, exposure apparatus, and device manufacturing method
JP7531333B2 (ja) ステージ装置、露光装置及び物品の製造方法
US20050185167A1 (en) Positioning system, exposure apparatus using the same, and device manufacturing method
JP2005327993A (ja) 位置決め装置、露光装置及びデバイス製造方法
JP3679776B2 (ja) 駆動装置、露光装置及びデバイス製造方法
US6504599B2 (en) Stage apparatus, exposure apparatus, and device manufacturing method
US20060215144A1 (en) Stage drive method, stage apparatus, and exposure apparatus
KR20140007911A (ko) 유지 장치, 노광 장치, 및 디바이스의 제조 방법
US7282819B2 (en) Stage apparatus, exposure apparatus, and device manufacturing method
US20080266037A1 (en) Magnetic Levitation Lithography Apparatus and Method
JP2015073083A (ja) ステージ装置、およびその駆動方法
US7602091B2 (en) Positioning apparatus and exposure apparatus
US20230352225A1 (en) Electromagnetic device, alignment apparatus, and article manufacturing method
US7468783B2 (en) Exposure apparatus, control method for the same, and device manufacturing method
US20070173098A1 (en) Top plate, positioning apparatus, exposure apparatus, and device manufacturing method
US20040145715A1 (en) Positioning system and exposure apparatus having the same
CN117561481A (zh) 光刻设备、锁定装置和方法
JP2006019549A (ja) 位置決め装置およびそれを用いた露光装置
JP4653189B2 (ja) リニアモータ製造方法

Legal Events

Date Code Title Description
A977 Report on retrieval

Free format text: JAPANESE INTERMEDIATE CODE: A971007

Effective date: 20060427

A131 Notification of reasons for refusal

Free format text: JAPANESE INTERMEDIATE CODE: A131

Effective date: 20070223

A521 Request for written amendment filed

Free format text: JAPANESE INTERMEDIATE CODE: A523

Effective date: 20070424

A131 Notification of reasons for refusal

Free format text: JAPANESE INTERMEDIATE CODE: A131

Effective date: 20070521

A761 Written withdrawal of application

Free format text: JAPANESE INTERMEDIATE CODE: A761

Effective date: 20070719