JP2005294310A - エネルギー線照射装置およびそれを用いたパタン作成方法 - Google Patents

エネルギー線照射装置およびそれを用いたパタン作成方法 Download PDF

Info

Publication number
JP2005294310A
JP2005294310A JP2004103051A JP2004103051A JP2005294310A JP 2005294310 A JP2005294310 A JP 2005294310A JP 2004103051 A JP2004103051 A JP 2004103051A JP 2004103051 A JP2004103051 A JP 2004103051A JP 2005294310 A JP2005294310 A JP 2005294310A
Authority
JP
Japan
Prior art keywords
energy beam
energy
irradiated
irradiation
chamber
Prior art date
Legal status (The legal status is an assumption and is not a legal conclusion. Google has not performed a legal analysis and makes no representation as to the accuracy of the status listed.)
Granted
Application number
JP2004103051A
Other languages
English (en)
Other versions
JP4406311B2 (ja
JP2005294310A5 (ja
Inventor
Toru Satake
徹 佐竹
Shinji Nomichi
伸治 野路
Kenji Terao
健二 寺尾
Keiichi Toyama
敬一 遠山
Current Assignee (The listed assignees may be inaccurate. Google has not performed a legal analysis and makes no representation or warranty as to the accuracy of the list.)
Ebara Corp
Original Assignee
Ebara Corp
Priority date (The priority date is an assumption and is not a legal conclusion. Google has not performed a legal analysis and makes no representation as to the accuracy of the date listed.)
Filing date
Publication date
Application filed by Ebara Corp filed Critical Ebara Corp
Priority to JP2004103051A priority Critical patent/JP4406311B2/ja
Publication of JP2005294310A publication Critical patent/JP2005294310A/ja
Publication of JP2005294310A5 publication Critical patent/JP2005294310A5/ja
Application granted granted Critical
Publication of JP4406311B2 publication Critical patent/JP4406311B2/ja
Anticipated expiration legal-status Critical
Expired - Lifetime legal-status Critical Current

Links

Images

Landscapes

  • Welding Or Cutting Using Electron Beams (AREA)
  • Electron Beam Exposure (AREA)

Abstract

【課題】 チタンやケイ素等の薄膜を用いることなく、エネルギー線発生部とエネルギー線照射部とを隔絶できるエネルギー線照射装置を提供し、該装置を用いたエネルギー線照射方法およびパタン作成方法を提供する。
【解決手段】 エネルギー線を発生するエネルギー線発生部、被照射体にエネルギー線を照射する照射部、前記エネルギー線発生部と前記照射部との間に配置された差動排気部、を備えることを特徴とするエネルギー線照射装置を用いる。
【選択図】 図3

Description

本発明は、差動排気機構を備えたエネルギー線照射装置およびそれを用いたエネルギー線照射方法、パタン作成方法に関する。
エネルギー線を被照射体に照射するエネルギー線照射装置においては、エネルギー線の発生部を真空に近い減圧にすることが必要となる。このため、被照射体にエネルギー線を照射する照射部も真空に近い減圧にすることが必要であった。
しかし、被照射体にエネルギー線を照射するには、照射部の搬入口を開く、搬入口から被照射体を搬入する、搬入口を閉じる、照射部の空気を排気して減圧する、エネルギー線を照射する、照射部を常圧に戻す、搬入口を開く、被照射体を取り出す、という一連の工程を必要とし、作業効率が著しく低くなるという問題がある。また、被照射体によっては、減圧下で変形等を起こすものもあり、使用できる被照射体も限られていた。
これらの問題を解決する手段として、電子線発生部と照射部とをチタンやケイ素等の薄膜により隔絶するものが知られている。これにより、電子線発生部を真空に保ったまま、照射部を常圧にして被照射体に電子線を照射することができるようになる(特許文献1参照)。
しかし、これは電子線にのみ用いることができ、イオン等のエネルギー線に用いることができなかった。また、薄膜を介して電子線を照射するため、20keV程度のエネルギーロスを生じ、そのため、電子線を20keV以上に加速する必要があった。さらに、薄膜の損傷を防止するために絶えず電子線を走査しておく必要があり、装置構成が複雑になるという問題があった。また、薄膜に電子線を照射することにより、X線が多量に発生するという問題もあった。
特開平11−44800号公報
本発明の課題は、チタンやケイ素等の薄膜を用いることなく、エネルギー線発生部とエネルギー線照射部とを隔絶できるエネルギー線照射装置を提供し、該装置を用いたエネルギー線照射方法およびパタン作成方法を提供することにある。
本発明は、エネルギー発生部と照射部との間に差動排気部を配置することにより、上記課題を解決するものである。
即ち、本発明は、エネルギー線を発生するエネルギー線発生部、被照射体にエネルギー線を照射する照射部、前記エネルギー線発生部と前記照射部との間に配置された差動排気部、を備えることを特徴とするエネルギー線照射装置である。
また、本発明は、差動排気部が、エネルギー線の進行方向に対して斜めに横切る遮蔽板により、第1のチャンバーと第2のチャンバーを形成するように仕切られており、第1のチャンバーおよび第2のチャンバーがそれぞれ排気口を備えていることを特徴とする、上記の装置である。
また、本発明は、複数の差動排気部を有することを特徴とする、上記のエネルギー線照射装置である。
また、本発明は、エネルギー線が、電子線、イオン線、および中性粒子線からなる群より選択される、上記の装置である。
また、本発明は、エネルギー線発生部が、100〜1000mmの長さを有するエネルギー線放出体を備えることを特徴とする、上記の装置である。
また、本発明は、エネルギー線発生部が、エネルギー線放出体の厚さ若しくは直径に対して200倍以上の長さを有するエネルギー線放出体を備えることを特徴とする、上記の装置である。
また、本発明は、エネルギー線発生部が、直線状を維持するように端部が引っ張られているエネルギー線放出体を備えることを特徴とする、上記の装置である。
また、本発明は、エネルギー線発生部がピアス型のエネルギー線発生装置を備えることを特徴とする、上記の装置である。
また、本発明は、エネルギー線発生部がピアス型の電子銃を備えることを特徴とする、上記の装置である。
また、本発明は、エネルギー線発生部が線状または矩形のエネルギー線放出体を備えることを特徴とする、上記の装置である。
また、本発明は、エネルギー線の照射エネルギーを変化させることができる機構を有することを特徴とする、上記の装置である。
また、本発明は、カソードとアノードとの間の電圧を一定に保ったままカソードの電圧を変化させる機構を有することを特徴とする、上記の装置である。
また、本発明は、反射電極に、カソードと同電位〜マイナス100Vの電位を印加する機構を有することを特徴とする、上記の装置である。
また、本発明は、カソードに通電する電気量と、ウェネルトへのバイアス電位を変化させる機構を有することを特徴とする、上記の装置である。
また、本発明は、上記の装置を用いて、被照射体にエネルギー線を照射する方法である。
また、本発明は、被照射体に照射されるエネルギー線のエネルギーが100keV以下であることを特徴とする、上記の方法である。
また、本発明は、0.1Pa以上の圧力下でエネルギー線を照射することを特徴とする、上記の方法である。
また、本発明は、特定の気体の存在下でエネルギー線を照射することを特徴とする、上記の方法である。
また、本発明は、エネルギー線の断面形状の短軸方向に被照射体を移動させることによりエネルギー線を照射することを特徴とする、上記の方法である。
また、本発明は、被照射体の移動速度を変化させることにより、被照射体に照射されるエネルギー線量を変化させることを特徴とする、上記の方法である。
また、本発明は、基材表面をパタン化処理した後に、上記の装置、および/または、上記の方法を用いてエネルギー線を照射することを特徴とする、パタン作成方法である。
また、本発明は、パタン化処理が、レジスト材および/または低誘電体を含む材料により行われることを特徴とする、上記のパタン作成方法である。
また、本発明は、基材表面をパタン化処理した後に、基材を80〜150℃に加温し、エネルギー線を照射することを特徴とする、上記の方法である。
また、本発明は、パタンの線幅が10μm以下であることを特徴とする、上記の方法である。
また、本発明は、パタン化処理を行う前に、基材を清浄化することを特徴とする、上記の方法である。
また、本発明は、上記の装置、および/または、上記の方法を用いて、半導体を製造する方法である。
また、本発明は、エネルギー線の照射に用いる差動排気装置であって、エネルギー線の進行方向に対して斜めに横切る遮蔽板により、前記差動排気装置が第1のチャンバーと第2のチャンバーを形成するように仕切られており、第1のチャンバーおよび第2のチャンバーがそれぞれ排気口を備えていることを特徴とする、差動排気装置である。
本発明により、チタンやケイ素等の薄膜を用いることなくエネルギー線発生部とエネルギー線照射部とを隔絶できるエネルギー線照射装置を提供できる。
以下、図面を参照して本発明を説明する。
図1は、エネルギー線として電子線を用いた場合の、本発明のエネルギー線照射装置を示す図である。図1において、本発明の電子線照射装置201は、電子線発生部202、差動排気部203、照射部204の順で配置されている。電子発生部202は、反射電極205、カソード206、ウェネルト207、アノード208を備えている。また、電子線発生部202は、バルブ218を介して排気機構としてターボ分子ポンプ220に接続され、ターボ分子ポンプ220は、図示しない荒引きポンプに接続されている。差動排気部203は、差動排気口210を有する遮蔽板212により電子線発生部202と隔絶されており、差動排気口214を有する遮蔽板216により照射部204と隔絶されている。また、差動排気部203は、バルブ222を介してターボ分子ポンプ224に接続され、ターボ分子ポンプ224は、図示しない荒引きポンプに接続されている。照射部204は、ウエハ230を保持するステージ232を備えており、ステージ232は駆動装置290に接続されている。また、照射部204は、バルブ292を介してガス供給部294に接続されている。また、照射部204は、バルブ226を介してドライポンプ228に接続されている。なお、ドライポンプ228は、必要に応じ図示しない荒引きポンプに接続されていてもよい。本発明の電子線照射装置201は、上記のように構成されており、以下、その作用について説明する。
電子線照射装置201において、電子線発生部202に存在する気体は、バルブ218を介してターボ分子ポンプ220により排気され、電子線発生部202の圧力は10-6〜10-4Pa程度に減圧される。差動排気部203は、バルブ222を介してターボ分子ポンプ224により排気され、差動排気部203の圧力は10-5〜1Pa程度に減圧される。さらに、照射部204は、バルブ226を介してドライポンプ228により排気され、照射部204の圧力は、10-1〜104Pa程度に減圧される。なお、照射部204は、ドライポンプを接続せず、大気圧下(105Pa)としてもよい。さらに、照射部204は、必要に応じガス供給部294からバルブ292を介して、不活性ガス等の特定の気体を供給できるようになっている。
そして、カソード206から放出される電子線234は、ウェネルト207によりその放出量が調整され、アノード208に印加された電圧により加速され、差動排気口210を通過して差動排気部203に入り、さらに差動排気口214を通過して照射部204に入り、ステージ232に保持された被照射体であるウエハ230に照射される。
これにより、電子線発生部202の圧力を真空付近に保ったまま、照射部204の圧力を常圧付近に維持することができる。さらに、差動排気口には、チタンやケイ素等の薄膜が存在しないために、電子線234を直接ウエハ230に照射することが可能となる。
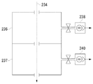
図2は、差動排気部として2つの差動排気機構236、237を用いた例を示す。図2において、差動排気機構236に存在する気体は、ターボ分子ポンプ238により排気され、差動排気機構236の圧力は10-5〜10-1Pa程度に減圧される。また、差動排気機構237に存在する気体は、ターボ分子ポンプ240により排気され、差動排気機構237の圧力は10-3〜1Pa程度に減圧される。これにより、電子線発生部と照射部の圧力を良好に維持することが可能となる。
図3は、差動排気部として、電子線234の進行方向に対して斜めに横切る遮蔽板242により、第1のチャンバー244と第2のチャンバー246を形成するように仕切られた差動排気部を用いた例を示す。第1のチャンバー244は、排気口252を備え、排気口252は、バルブ256を介してターボ分子ポンプ248に接続している。第2のチャンバー246は、排気口254を備え、排気口254は、バルブ258を介してターボ分子ポンプ250に接続している。また、遮蔽板242は、電子線234の進路上に、差動排気口260を備えている。第1のチャンバー244の気体は、ターボ分子ポンプ248により排気され、第1のチャンバーの圧力は10-5〜10-1Pa程度に減圧される。また、第2のチャンバー246に存在する気体は、ターボ分子ポンプ250により排気され、第2のチャンバー246の圧力は10-3〜1Pa程度に減圧される。これにより、電子線発生部と照射部の圧力を良好に維持することが可能となる。さらに、図2の2つの差動排気機構を有する場合に比べ、同じ差動排気能力を保持しながら、差動排気部の長さを1/2にすることができることとなる。
図4は、図3の差動排気部をさらに2つ用いた例を示す。これにより、さらに効率的に差動排気をすることができる。
本発明のエネルギー線照射装置に用いるエネルギー線としては、特に制限はないが、例えば、電子線、イオン線、中性粒子線、赤外線、紫外線、原子線、X線、γ線等を挙げることができ、これらを組み合わせて照射してもよい。
本発明に用いるエネルギー線発生部としては、特に制限はないが、例えば、ピアス型のエネルギー線発生装置を備えるものを挙げることができる。図5に、ピアス型の電子銃の例を示す。なお、図5(a)はピアス型電子銃264の正面図、図5(b)は側面図を示す。図5において、ピアス型電子銃264は、カソード206、ウェネルト207、アノード208を備えている。また、カソード206は、細長いリボン状(矩形)または線状であり、直線状に保つために、その両端に接続したバネ262により引っ張られている。カソード206から放出される電子線234は、ウェネルト207によりその放出量が調整され、アノード208に印加された電圧により加速され、電子線が放出される。このピアス型の電子銃を用いることにより、略線状または略矩形状の平行な電子線を効率よく放出することができることとなる。カソード206の構成材料としては、特に制限はないが、W、Re、Ta、LaB6、ZrO/W、ThO−W(トリエーテッドW)等が用いられる。また、カソード206のサイズは、必要とする電子線の幅や長さ等により適宜決定することができるが、例えば、長さとして10〜1000mm、好ましくは100〜700mm、より好ましくは200〜500mmを、リボン状の場合は、幅として0.01〜10mm、好ましくは0.01〜5mm、より好ましくは0.02〜1mmのものを、厚さとして0.01〜10mm、好ましくは0.1〜5mm、より好ましくは0.1〜1mmのものを、線状の場合は、直径として0.01〜10mm、好ましくは0.1〜5mm、より好ましくは0.2〜1mmのものを挙げることができる。また、カソードの厚さ若しくは直径に対して、長さが200倍以上のものとすることが好ましい。
本発明の電子線照射装置201において、図7に示す機構の電気系を備えることにより、照射する電子線量を任意に変化させることができる。図7において、カソード206はカソード電源280に、反射電極205は電源276に、アノード208は電源278に、さらにカソード電源280、電源276および電源278は加速電源282に、それぞれ接続されている。また、ウエハ230は図示しないステージを通じて電源284に接続されている。そして、電源276、278、284、カソード電源280、および加速電源282は、いずれも可変電源であり、これらの電圧を変化させることにより、ウエハ230に照射される電子線量を任意に変化させることが可能となる。例えば、カソード206とアノード208との間の電圧を一定に保ったまま、カソード206の電圧を変化させることにより、電子線量を変化させることができる。また、反射電極205に、カソード206と同電位〜マイナス100Vの電位をかけることもできる。さらに、カソード206に通電する電気量と、ウェネルト207へのバイアス電位を変化させることにより、電子線量を変化させることもできる。照射される電子線エネルギーとしては、被照射体の性質により適宜決定されるが、例えば、100keV以下とすることができる。
本発明に用いるエネルギー線発生部の他の例としては、図6に示すような、イオン銃を備えるものを挙げることができる。図6において、イオン銃266は、プラズマ発生部268、アノード272、カソード274を備えており、プラズマ発生部268で発生させたプラズマ270をアノード272で引き出し、カソード274で加速することにより、正イオン線276が放出される。なお、陰イオン線を放出させる場合は、アノード272とカソード274を逆に配置させればよい。このイオン銃を用いることにより、エネルギー線としてイオン線を用いた本発明のイオン線照射装置とすることができる。
本発明の電子線照射装置201を用いてウエハ230に電子線234を照射する場合には、駆動装置290によりステージ232を水平方向に適宜移動させながら、電子線234を照射することもできる。例えば、電子線234の断面形状が略線状または略矩形である場合に、その短軸方向にステージ232を連続的に移動させることにより、ウエハ230に連続的に電子線を照射することができる。また、このときにステージ232の移動速度を変化させることにより、ウエハ230に照射される電子線量を変化させることもできる。
次に、本発明の電子線照射装置を用いて、ウエハへのパタン作成を例にして、パタンを作成する方法について説明する。まず、図8に示すように、ウエハ230をステージ296に載せ、インクジェット298によりウエハ表面にレジスト材を吹き付けて、任意の図形をパタン化処理する。この際、インクジェット298をX−Y方向に高速に移動させるか、または、インクジェット298を固定し、ステージ296をX−Yステージとして用い、ウエハ230をX−Y方向に移動させてもよく、あるいは、インクジェット298およびステージ296の双方を移動させてもよい。また、この場合に複数のインクジェットを用いてもよい。この際の、パタンの線幅としては、特に制限はないが、例えば100μm以下、好ましくは50μm以下、より好ましくは10μm以下のものが挙げられる。また、パタン化処理を行う前に、ウエハを清浄化することが好ましい。
次に、ウエハ230を電子線照射装置201のステージ232に載せ、電子線234を照射することにより、レジスト材を硬化させ、パタンを作成することができる。この際に、ピアス型電子銃264を用いて、幅の広い電子線234を照射し、駆動機構290によりステージ232を一定速度で移動させることにより、一括してウエハ表面を電子線照射することが可能となる。これにより、効率的にパタンの作成が行えることとなる。
なお、ウエハにパタン化処理を行った後、ウエハを80〜150℃に加温し、電子線を照射してもよい。
なお、上記のレジスト材に代えて、低誘電体(low−k)材を用いることもできる。
以上、エネルギー線として電子線を用いた場合を例にして本発明を説明したが、本発明は電子線に限られるものではなく、イオン線、中性粒子線、またはこれらを複数組み合わせて用いること、および、赤外線、紫外線、原子線、X線、γ線等の他のエネルギー線と併用することも本発明に包含される。
本発明のエネルギー線照射装置またはエネルギー線照射方法、パタン作成方法を用いることにより、半導体を製造することができる。また、従来主として紫外線を用いて行っていた表面処理技術(例えば、レジストのキュア、殺菌・滅菌処理、露光等)において、電子線など、紫外線以外のエネルギー線を用いることが可能となる。そして、電子線等を用いることにより、微細な加工が行えることとなり、表面処理、表面修飾や、ナノテクへの応用が可能となる。
図1は、本発明のエネルギー線照射装置を示す図である。 図2は、差動排気部として2つの差動排気機構を備えた例を示す図である。 図3は、エネルギー線の進行方向に対して斜めに横切る遮蔽板を備えた差動排気装置を示す図である。 図4は、図3の差動排気部をさらに2つ用いた例を示す図である。 図5は、ピアス型の電子銃の例を示す図である。 図6は、イオン銃の例を示す図である。 図7は、電子線照射装置の電気系を示す図である。 図8は、パタン化処理を示す図である。
符号の説明
201 電子線照射装置
202 電子線発生部
203 差動排気部
204 照射部
205 反射電極
206 カソード
207 ウェネルト
208 アノード
210、214、260 差動排気口
212、216 遮蔽板
218、222、226、256、258、292 バルブ
220、224、238、240、248、250 ターボ分子ポンプ
228 ドライポンプ
230 ウエハ
232 ステージ
234 電子線
236、237 差動排気機構
242 遮蔽板
244 第1のチャンバー
246 第2のチャンバー
252、254 排気口
262 バネ
264 ピアス型電子銃
266 イオン銃
268 プラズマ発生部
270 プラズマ
272 アノード
274 カソード
276、278、284 電源
280 カソード電源
282 加速電源
290 駆動装置
294 ガス供給部
296 ステージ
298 インクジェット

Claims (27)

  1. エネルギー線を発生するエネルギー線発生部、被照射体にエネルギー線を照射する照射部、前記エネルギー線発生部と前記照射部との間に配置された差動排気部、を備えることを特徴とするエネルギー線照射装置。
  2. 差動排気部が、エネルギー線の進行方向に対して斜めに横切る遮蔽板により、第1のチャンバーと第2のチャンバーを形成するように仕切られており、第1のチャンバーおよび第2のチャンバーがそれぞれ排気口を備えていることを特徴とする、請求項1に記載の装置。
  3. 複数の差動排気部を有することを特徴とする、請求項1または2に記載のエネルギー線照射装置。
  4. エネルギー線が、電子線、イオン線、および中性粒子線からなる群より選択される、請求項1〜3のいずれかに記載の装置。
  5. エネルギー線発生部が、100〜1000mmの長さを有するエネルギー線放出体を備えることを特徴とする、請求項1〜4のいずれかに記載の装置。
  6. エネルギー線発生部が、エネルギー線放出体の厚さ若しくは直径に対して200倍以上の長さを有するエネルギー線放出体を備えることを特徴とする、請求項1〜5のいずれかに記載の装置。
  7. エネルギー線発生部が、直線状を維持するように端部が引っ張られているエネルギー線放出体を備えることを特徴とする、請求項1〜6のいずれかに記載の装置。
  8. エネルギー線発生部がピアス型のエネルギー線発生装置を備えることを特徴とする、請求項1〜7のいずれかに記載の装置。
  9. エネルギー線発生部がピアス型の電子銃を備えることを特徴とする、請求項1〜8のいずれかに記載の装置。
  10. エネルギー線発生部が線状または矩形のエネルギー線放出体を備えることを特徴とする、請求項1〜9のいずれかに記載の装置。
  11. エネルギー線の照射エネルギーを変化させることができる機構を有することを特徴とする、請求項1〜10のいずれかに記載の装置。
  12. カソードとアノードとの間の電圧を一定に保ったままカソードの電圧を変化させる機構を有することを特徴とする、請求項11に記載の装置。
  13. 反射電極に、カソードと同電位〜マイナス100Vの電位を印加する機構を有することを特徴とする、請求項11に記載の装置。
  14. カソードに通電する電気量と、ウェネルトへのバイアス電位を変化させる機構を有することを特徴とする、請求項11に記載の装置。
  15. 請求項1〜14のいずれかに記載の装置を用いて、被照射体にエネルギー線を照射する方法。
  16. 被照射体に照射されるエネルギー線のエネルギーが100keV以下であることを特徴とする、請求項15に記載の方法。
  17. 0.1Pa以上の圧力下でエネルギー線を照射することを特徴とする、請求項15または16に記載の方法。
  18. 特定の気体の存在下でエネルギー線を照射することを特徴とする、請求項15〜17のいずれかに記載の方法。
  19. エネルギー線の断面形状の短軸方向に被照射体を移動させることによりエネルギー線を照射することを特徴とする、請求項15〜18のいずれかに記載の方法。
  20. 被照射体の移動速度を変化させることにより、被照射体に照射されるエネルギー線量を変化させることを特徴とする、請求項19に記載の方法。
  21. 基材表面をパタン化処理した後に、請求項1〜14のいずれかに記載の装置、および/または、請求項15〜20のいずれかに記載の方法を用いてエネルギー線を照射することを特徴とする、パタン作成方法。
  22. パタン化処理が、レジスト材および/または低誘電体を含む材料により行われることを特徴とする、請求項21に記載のパタン作成方法。
  23. 基材表面をパタン化処理した後に、基材を80〜150℃に加温し、エネルギー線を照射することを特徴とする、請求項21または22に記載の方法。
  24. パタンの線幅が10μm以下であることを特徴とする、請求項21〜23のいずれかに記載の方法。
  25. パタン化処理を行う前に、基材を清浄化することを特徴とする、請求項21〜24のいずれかに記載の方法。
  26. 請求項1〜14のいずれかに記載の装置、および/または、請求項15〜25のいずれかに記載の方法を用いて、半導体を製造する方法。
  27. エネルギー線の照射に用いる差動排気装置であって、エネルギー線の進行方向に対して斜めに横切る遮蔽板により、前記差動排気装置が第1のチャンバーと第2のチャンバーを形成するように仕切られており、第1のチャンバーおよび第2のチャンバーがそれぞれ排気口を備えていることを特徴とする、差動排気装置。

JP2004103051A 2004-03-31 2004-03-31 エネルギー線照射装置およびそれを用いたパタン作成方法 Expired - Lifetime JP4406311B2 (ja)

Priority Applications (1)

Application Number Priority Date Filing Date Title
JP2004103051A JP4406311B2 (ja) 2004-03-31 2004-03-31 エネルギー線照射装置およびそれを用いたパタン作成方法

Applications Claiming Priority (1)

Application Number Priority Date Filing Date Title
JP2004103051A JP4406311B2 (ja) 2004-03-31 2004-03-31 エネルギー線照射装置およびそれを用いたパタン作成方法

Publications (3)

Publication Number Publication Date
JP2005294310A true JP2005294310A (ja) 2005-10-20
JP2005294310A5 JP2005294310A5 (ja) 2007-04-19
JP4406311B2 JP4406311B2 (ja) 2010-01-27

Family

ID=35326950

Family Applications (1)

Application Number Title Priority Date Filing Date
JP2004103051A Expired - Lifetime JP4406311B2 (ja) 2004-03-31 2004-03-31 エネルギー線照射装置およびそれを用いたパタン作成方法

Country Status (1)

Country Link
JP (1) JP4406311B2 (ja)

Cited By (5)

* Cited by examiner, † Cited by third party
Publication number Priority date Publication date Assignee Title
JP2008082919A (ja) * 2006-09-28 2008-04-10 Japan Ae Power Systems Corp 電子線照射装置
JP2013544031A (ja) * 2010-11-13 2013-12-09 マッパー・リソグラフィー・アイピー・ビー.ブイ. 中間チャンバを備えた荷電粒子リソグラフィシステム
KR20150010994A (ko) * 2012-05-14 2015-01-29 마퍼 리쏘그라피 아이피 비.브이. 하전 입자 리소그래피 시스템 및 빔 생성기
US11094426B2 (en) 2012-05-14 2021-08-17 Asml Netherlands B.V. Vacuum chamber arrangement for charged particle beam generator
US11348756B2 (en) 2012-05-14 2022-05-31 Asml Netherlands B.V. Aberration correction in charged particle system

Cited By (12)

* Cited by examiner, † Cited by third party
Publication number Priority date Publication date Assignee Title
JP2008082919A (ja) * 2006-09-28 2008-04-10 Japan Ae Power Systems Corp 電子線照射装置
JP2013544031A (ja) * 2010-11-13 2013-12-09 マッパー・リソグラフィー・アイピー・ビー.ブイ. 中間チャンバを備えた荷電粒子リソグラフィシステム
KR20150010994A (ko) * 2012-05-14 2015-01-29 마퍼 리쏘그라피 아이피 비.브이. 하전 입자 리소그래피 시스템 및 빔 생성기
JP2015517735A (ja) * 2012-05-14 2015-06-22 マッパー・リソグラフィー・アイピー・ビー.ブイ. 荷電粒子リソグラフィシステムおよびビーム発生器
US9653261B2 (en) 2012-05-14 2017-05-16 Mapper Lithography Ip B.V. Charged particle lithography system and beam generator
US10037864B2 (en) 2012-05-14 2018-07-31 Mapper Lithography Ip B.V. High voltage shielding and cooling in a charged particle beam generator
KR101961914B1 (ko) 2012-05-14 2019-03-25 마퍼 리쏘그라피 아이피 비.브이. 하전 입자 리소그래피 시스템 및 빔 생성기
US11094426B2 (en) 2012-05-14 2021-08-17 Asml Netherlands B.V. Vacuum chamber arrangement for charged particle beam generator
US11348756B2 (en) 2012-05-14 2022-05-31 Asml Netherlands B.V. Aberration correction in charged particle system
US11705252B2 (en) 2012-05-14 2023-07-18 Asml Netherlands B.V. Vacuum chamber arrangement for charged particle beam generator
US11961627B2 (en) 2012-05-14 2024-04-16 Asml Netherlands B.V. Vacuum chamber arrangement for charged particle beam generator
US12387903B2 (en) 2012-05-14 2025-08-12 Asml Netherlands B.V. Aberration correction in charged particle system

Also Published As

Publication number Publication date
JP4406311B2 (ja) 2010-01-27

Similar Documents

Publication Publication Date Title
US6924493B1 (en) Ion beam lithography system
US10840054B2 (en) Charged-particle source and method for cleaning a charged-particle source using back-sputtering
JP6220749B2 (ja) イオンガン及びイオンミリング装置、イオンミリング方法
TWI572997B (zh) 極紫外線輻射裝置以及輻射產生方法
JP2013171925A (ja) 荷電粒子線装置、それを用いた物品の製造方法
JP2008508684A5 (ja)
US8563950B2 (en) Energy beam drawing apparatus and method of manufacturing device
EP3518268B1 (en) Charged-particle source and method for cleaning a charged-particle source using back-sputtering
JP4406311B2 (ja) エネルギー線照射装置およびそれを用いたパタン作成方法
JP6779847B2 (ja) 荷電粒子装置、荷電粒子描画装置および荷電粒子ビーム制御方法
JP2003036805A (ja) 微小x線源
JP2005127800A (ja) 電子線照射装置と照射方法および電子線描画装置
US12020893B2 (en) Ion milling device
CN102939567A (zh) 光学系统
JP5105729B2 (ja) ガスクラスターイオンビームによる加工方法
JP4696478B2 (ja) プラズマx線発生装置
JPH0254851A (ja) 電界電離型ガスイオン源の制御方法
JP2018022701A (ja) イオンガン及びイオンミリング装置、イオンミリング方法
JPH01265443A (ja) X線露光装置
JP2007035642A (ja) 電界エミッタの放出面を清掃する電界エミッタ配置及び方法
JP2012204173A (ja) 電子銃、電子ビーム描画装置および電子銃の脱ガス処理方法
JP2964284B2 (ja) 電界放射型電子銃の安定化方法及び電界放射型電子銃
KR101998774B1 (ko) 라인 형태의 전자빔 방출 장치
CN103298232A (zh) 离子源
JP4747557B2 (ja) 電子線照射装置およびイオン発生装置

Legal Events

Date Code Title Description
A521 Request for written amendment filed

Free format text: JAPANESE INTERMEDIATE CODE: A523

Effective date: 20070228

A621 Written request for application examination

Free format text: JAPANESE INTERMEDIATE CODE: A621

Effective date: 20070228

A131 Notification of reasons for refusal

Free format text: JAPANESE INTERMEDIATE CODE: A131

Effective date: 20090623

A521 Request for written amendment filed

Free format text: JAPANESE INTERMEDIATE CODE: A523

Effective date: 20090810

TRDD Decision of grant or rejection written
A01 Written decision to grant a patent or to grant a registration (utility model)

Free format text: JAPANESE INTERMEDIATE CODE: A01

Effective date: 20091027

A01 Written decision to grant a patent or to grant a registration (utility model)

Free format text: JAPANESE INTERMEDIATE CODE: A01

A61 First payment of annual fees (during grant procedure)

Free format text: JAPANESE INTERMEDIATE CODE: A61

Effective date: 20091106

FPAY Renewal fee payment (event date is renewal date of database)

Free format text: PAYMENT UNTIL: 20121113

Year of fee payment: 3

R150 Certificate of patent or registration of utility model

Ref document number: 4406311

Country of ref document: JP

Free format text: JAPANESE INTERMEDIATE CODE: R150

Free format text: JAPANESE INTERMEDIATE CODE: R150

FPAY Renewal fee payment (event date is renewal date of database)

Free format text: PAYMENT UNTIL: 20121113

Year of fee payment: 3

FPAY Renewal fee payment (event date is renewal date of database)

Free format text: PAYMENT UNTIL: 20131113

Year of fee payment: 4

R250 Receipt of annual fees

Free format text: JAPANESE INTERMEDIATE CODE: R250

R250 Receipt of annual fees

Free format text: JAPANESE INTERMEDIATE CODE: R250

R250 Receipt of annual fees

Free format text: JAPANESE INTERMEDIATE CODE: R250

R250 Receipt of annual fees

Free format text: JAPANESE INTERMEDIATE CODE: R250

R250 Receipt of annual fees

Free format text: JAPANESE INTERMEDIATE CODE: R250

R250 Receipt of annual fees

Free format text: JAPANESE INTERMEDIATE CODE: R250

R250 Receipt of annual fees

Free format text: JAPANESE INTERMEDIATE CODE: R250

R250 Receipt of annual fees

Free format text: JAPANESE INTERMEDIATE CODE: R250

R250 Receipt of annual fees

Free format text: JAPANESE INTERMEDIATE CODE: R250

R250 Receipt of annual fees

Free format text: JAPANESE INTERMEDIATE CODE: R250

R250 Receipt of annual fees

Free format text: JAPANESE INTERMEDIATE CODE: R250

R250 Receipt of annual fees

Free format text: JAPANESE INTERMEDIATE CODE: R250

EXPY Cancellation because of completion of term