JP2005294071A - 計器用測定クリップ - Google Patents

計器用測定クリップ Download PDF

Info

Publication number
JP2005294071A
JP2005294071A JP2004108102A JP2004108102A JP2005294071A JP 2005294071 A JP2005294071 A JP 2005294071A JP 2004108102 A JP2004108102 A JP 2004108102A JP 2004108102 A JP2004108102 A JP 2004108102A JP 2005294071 A JP2005294071 A JP 2005294071A
Authority
JP
Japan
Prior art keywords
clip
piece
clip piece
strip
terminal
Prior art date
Legal status (The legal status is an assumption and is not a legal conclusion. Google has not performed a legal analysis and makes no representation as to the accuracy of the status listed.)
Pending
Application number
JP2004108102A
Other languages
English (en)
Inventor
Hiroyoshi Kaneda
洋悦 金田
Takahiro Yoshida
貴広 吉田
Futoshi Shirouchi
太 城内
Yoshinobu Onodera
善信 小野寺
Koji Sugawara
宏二 菅原
Toshihito Kumagai
俊仁 熊谷
Yasunobu Goto
安信 後藤
Tsugio Sato
次男 佐藤
Takanori Hirano
孝徳 平野
Shinko Tamaki
真弘 玉城
Toshihiro Izumida
俊博 泉田
Current Assignee (The listed assignees may be inaccurate. Google has not performed a legal analysis and makes no representation or warranty as to the accuracy of the list.)
TOHOKU KEIKI KOGYO KK
Tohoku Electric Power Co Inc
Yurtec Corp
Original Assignee
TOHOKU KEIKI KOGYO KK
Tohoku Electric Power Co Inc
Yurtec Corp
Priority date (The priority date is an assumption and is not a legal conclusion. Google has not performed a legal analysis and makes no representation as to the accuracy of the date listed.)
Filing date
Publication date
Application filed by TOHOKU KEIKI KOGYO KK, Tohoku Electric Power Co Inc, Yurtec Corp filed Critical TOHOKU KEIKI KOGYO KK
Priority to JP2004108102A priority Critical patent/JP2005294071A/ja
Publication of JP2005294071A publication Critical patent/JP2005294071A/ja
Pending legal-status Critical Current

Links

Images

Landscapes

  • Connections Arranged To Contact A Plurality Of Conductors (AREA)

Abstract

【課題】短絡事故を防止することができ、さまざまな計器の端子に安定した状態で電気的に接続可能で、電線を挟み込んで電気的に接続することもできる計器用測定クリップを提供する。
【解決手段】第1クリップ片11および第2クリップ片21は、互いに一端が開閉するよう中間部で回転可能に結合している。バネは、第1クリップ片11および第2クリップ片21を互いに一端が閉じるよう付勢して設けられている。結合片31は、導電性を有し、第1クリップ片11の幅より細く、第1クリップ片11の第2クリップ片21と対向する側に第1クリップ片11の幅内で設けられている。結合片31は、第1クリップ片11の一端より突出している。結合片31は、第2クリップ片21の側に突出する鋸歯部33を有し、突起34が第2クリップ片21の側に折れ曲がっている。
【選択図】図1

Description

本発明は、計器用測定クリップに関する。
電気配線工事が終了すると、電力量計や安全ブレーカの端子などへ測定器を接続して、電圧や相の確認を行っている。従来、この端子などへの電気的な接続を得るために、ワニ口クリップによりねじの頭やねじ山をワニ口の歯で挟み込んでいた。また、電線の外皮を剥離して、ワニ口の歯で挟み込んで接続を行う場合もあった。なお、端子間のピッチやサイズは、計器によりまちまちである。
しかし、ワニ口クリップでは、ねじの頭と端子台の部分に十分な隙間がないと外れやすく、ねじの頭部もすべりやすいため安定した接続を得ることが困難であるという問題があった。また、ワニ口クリップの構造上、大きく開いた状態で端子に接近すると隣の端子と接触したり、複数個のワニ口端子を接続すると隣接するワニ口の金属露出部どうしが接触したりして短絡事故を発生することがあるという問題もあった。
このような問題を解決するために、接続用クリップが提案されている。すなわち、開方向に付勢され、端子の両側に設けられた隔壁に、接触導通部を設けた先端部の外側面を当接させて、安定した状態で端子に接続可能なもの(例えば、特許文献1参照)や、閉方向に付勢され、一方の先端を長くして端子台の外側面に支持させ、安定した状態で端子に接続可能なものがある(例えば、特許文献2参照)。
特開2002−164099号公報 特開2002−175846号公報
しかしながら、特許文献1記載の接続用クリップは、端子に線径が大きい電線を入れて固定すると、端子のねじの頭が高くなりねじの頭と隔壁の間の隙間が十分にとれず、また隔壁の高さも元々そう高くないないため、安定した接触を得ることが困難であるという課題があった。特許文献1および2記載の接続用クリップは、ねじの頭と隔壁の隙間がほとんどない端子には使用できないなど、さまざまな計器の端子に使用できないという課題があった。また、電線を挟み込んで電気的に接続することもできないという課題もあった。
本発明は、このような課題に着目してなされたもので、短絡事故を防止することができ、さまざまな計器の端子に安定した状態で電気的に接続可能で、電線を挟み込んで電気的に接続することもできる計器用測定クリップを提供することを目的としている。
上記目的を達成するために、本発明に係る計器用測定クリップは、第1クリップ片と第2クリップ片とバネと結合片とを有し、前記第1クリップ片および前記第2クリップ片は互いに一端が開閉するよう中間部で回転可能に結合し、前記バネは前記第1クリップ片および前記第2クリップ片を互いに前記一端が閉じるよう付勢して設けられ、前記結合片は導電性を有し前記第1クリップ片の幅より細く前記第1クリップ片の前記第2クリップ片と対向する側に前記第1クリップ片の幅内で設けられ前記一端より突出していることを、特徴とする。
本発明に係る計器用測定クリップは、結合片にリード線などを電気的に接続し、電力量計や安全ブレーカの端子などへ測定器を接続するために使用される。バネが第1クリップ片および第2クリップ片を互いに一端が閉じるよう付勢して設けられているため、第1クリップ片の一端から突出した結合片と、第2クリップ片の一端とで端子を挟んで電気的に接続することができる。例えば、端子のねじの頭と隔壁との隙間がほとんどない場合でも、結合片をねじの頭に接触させて、結合片と第2クリップ片とで隔壁などとともに端子を挟んで電気的に接続することができる。また、端子間のピッチやサイズがさまざまに異なっても、結合片を端子に接触させた状態で端子を挟んで電気的に接続することができる。このように、さまざまな計器の端子に安定した状態で電気的に接続可能である。
また、結合片と第2クリップ片とで外皮を剥離した電線を挟み込んで、電気的に接続することもできる。
結合片が第1クリップ片の幅より細く、第1クリップ片の一端より突出して設けられているため、端子と隔壁との隙間や端子同士の隙間が狭い場合でも、結合片を隙間に挿入して接続することができる。また、結合片が第1クリップ片の一端より突出して設けられているため、結合片を確認しながら容易に接続することができる。
第1クリップ片および第2クリップ片は、樹脂などの非導電性の材質から成る。このため、第2クリップ片が隣の端子に接触したり、複数個を使用するときに第1クリップ片や第2クリップ片が互いに接触したりしても、電気的に接続しないため、短絡事故を防止することができる。また、強度をあげるため、結合片が第2クリップ片に向かって幅方向に湾曲していてもよい。この場合、ねじの曲面に合わせて、安定した状態で接続することができる。
本発明に係る計器用測定クリップで、前記結合片は前記第2クリップ片の側に突出する鋸歯部を有し前記先端が前記第2クリップ片の側に折れ曲がり、前記第1クリップ片および前記第2クリップ片が互いに前記一端を閉じた状態で前記結合片が前記鋸歯部で前記第2クリップ片と当接することが好ましい。
この鋸歯部を有する構成では、結合片の先端が第2クリップ片の側に折れ曲がっているため、端子のねじの頭やねじ山に容易に引っ掛けることができる。このため、ねじの頭ですべったりして結合片がはずれるのを防ぐことができ、より安定した状態で電気的に接続することができる。また、第1クリップ片および第2クリップ片が互いに一端を閉じた状態で結合片の鋸歯部が第2クリップ片と当接するため、鋸歯部と第2クリップ片とで外皮を剥離した電線を挟み込んで電気的に接続することができる。鋸歯部により、電線を確実に安定した状態で挟み込むことができる。また、結合片の先端に荷重がかかり過ぎて結合片が折れるのを防止することができる。なお、結合片の先端が第2クリップ片の一端に当たらないよう、第2クリップ片の一端に凹部を設けることが好ましい。
本発明によれば、短絡事故を防止することができ、さまざまな計器の端子に安定した状態で電気的に接続可能で、電線を挟み込んで電気的に接続することもできる計器用測定クリップを提供することができる。
以下、図面に基づき、本発明の実施の形態について説明する。
図1および図4は、本発明の実施の形態の計器用測定クリップを示している。
図1に示すように、計器用測定クリップ10は、第1クリップ片11と第2クリップ片21とバネ(図示せず)と結合片31とケーブル接続部41とを有している。
第1クリップ片11は、非導電性の樹脂から成り、断面がほぼ矩形の板状に形成されている。第1クリップ片11は、1対の回転支持部12と一端13と他端14とを有している。各回転支持部12は、第1クリップ片11の長さ方向に沿った両縁から一方の面11aに対して垂直に立ち上がり、その面を幅方向で挟むよう対向して設けられている。各回転支持部12は、中央の互いに対向する位置に回転支持孔15を有している。第1クリップ片11には、面11aに一端13の側で幅方向の中央に長さ方向に沿った溝16が形成されている。第1クリップ片11には、溝16の端部から他端14まで長さ方向に貫通するケーブル用孔(図示せず)が形成されている。他端14は、面11aの反対側の面に滑り止め用の凹凸11bを有している。
第2クリップ片21は、非導電性の合成樹脂から成り、断面がほぼ矩形の板状に形成されている。第2クリップ片21は、1対の回転基部22と一端23と他端24とを有している。各回転基部22は、第2クリップ片21の長さ方向に沿った両縁から一方の面21aに対して垂直に立ち上がり、その面を幅方向で挟むよう対向して設けられている。各回転基部22は、側面の互いに対称の位置に外側に突出する軸部25を有している。一端23には、面21aに凹部26を有している。一端23には、凹部26を挟む面21aに滑り止め用のゴム27が貼り付けられている。他端24は、面21aの反対側に鈍角で折り曲げられ、面21aの反対側の面に滑り止め用の凹凸21bを有している。
第1クリップ片11および第2クリップ片21は、一端13と一端23、他端14と他端24、面11aと面21aとを互いに対向させ、各回転支持部12の間に各回転基部22を挿入し、各回転支持孔15に各軸部25を嵌合して、一端13と一端23が開閉するよう回転可能に結合して設けられている。
バネは、金属製のねじりバネから成り、第1クリップ片11と第2クリップ片21との間で1対の軸部25の間に設けられている。バネは、一端が第1クリップ片11に取り付けられ、他端が第2クリップ片21に取り付けられて、第1クリップ片11および第2クリップ片21を一端13および一端23が互いに閉じるよう付勢して設けられている。
結合片31は、金属製の細長い板材から成り、導電性を有している。結合片31は、第1クリップ片11の幅より細く形成され、第1クリップ片11の溝16に挿入して固定されている。結合片31は、先端32と1対の鋸歯部33とを有している。先端32は、第1クリップ片11の一端13より突出して設けられている。図2(a)に示すように、先端32は、強度をあげるため、第2クリップ片21の側が凹むよう横断面が湾曲している。先端32は、第2クリップ片21の側に折れ曲がった突起34を有している。先端32は、一端13および一端23が互いに閉じたとき、突起34が一端23の凹部26に挿入され、第2クリップ片21の一端23に当たらないよう構成されている。各鋸歯部33は、結合片31の長さ方向に沿った両縁から垂直に立ち上がり、互いに対向して設けられている。各鋸歯部33は、溝16から第2クリップ片21の側に突出し、第1クリップ片11の一端13および第2クリップ片21の一端23が互いに閉じた状態で、第2クリップ片21と当接するよう構成されている。
図1に示すように、ケーブル接続部41は、細長く構成され、内部に導電性のケーブルが貫通している。ケーブル接続部41は、一端が第1クリップ片11の他端14のケーブル用孔に挿入され、結合片31に電気的に接続されている。ケーブル接続部41は、内部のケーブルに電気的に接続可能な接続端子42を他端に有している。
次に、作用について説明する。
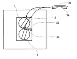
計器用測定クリップ10は、第1クリップ片11の他端14と第2クリップ片21の他端24とを指でつまんで、ケーブル接続部41の接続端子42にリード線などを電気的に接続し、電力量計や安全ブレーカの端子1などへ測定器を接続するために使用される。図3に示すように、バネが第1クリップ片11の一端13および第2クリップ片21の一端23を互いに閉じるよう付勢して設けられているため、一端13から突出した結合片31と、一端23とで端子1を挟んで電気的に接続することができる。例えば、端子1のねじの頭と隔壁2との隙間がほとんどない場合でも、結合片31をねじの頭に接触させて、結合片31と一端23とで隔壁2などとともに端子1を挟んで電気的に接続することができる。また、端子1間のピッチやサイズがさまざまに異なっても、結合片31を端子1に接触させた状態で端子1を挟んで電気的に接続することができる。このように、さまざまな計器の端子1に安定した状態で電気的に接続可能である。
また、結合片31の突起34が第2クリップ片21の側に折れ曲がっているため、端子1のねじの頭やねじ山に容易に引っ掛けることができる。このため、ねじの頭からすべって結合片31がはずれるのを防ぐことができ、より安定した状態で電気的に接続することができる。図2(b)に示すように、結合片31の先端32が湾曲しているため、ねじの曲面に合わせてさらに安定した状態で接続することができる。
また、結合片31と一端23とで外皮を剥離した電線を挟み込んで、電気的に接続することもできる。一端13および一端23が互いに閉じた状態で、結合片31の鋸歯部33が一端23と当接するため、鋸歯部33と一端23とで外皮を剥離した電線を挟み込んで電気的に接続することができる。鋸歯部33により、電線を確実に安定した状態で挟み込むことができる。また、結合片31の先端32に荷重がかかり過ぎて結合片31が折れるのを防止することができる。
図4に示すように、結合片31が第1クリップ片11の幅より細く、先端32が一端13より突出して設けられているため、端子1と隔壁2との隙間や端子1同士の隙間が狭い場合でも、先端32を隙間に挿入して接続することができる。また、図3(a)に示すように、結合片31の先端32が一端13より突出して設けられているため、先端32を確認しながら容易に接続することができる。
第1クリップ片11および第2クリップ片21が非導電性の材質から成るため、第2クリップ片21が隣の端子1に接触したり、図3(b)に示すように複数個を使用するときに第1クリップ片11や第2クリップ片21が互いに接触したときにも、電気的に接続しないため、短絡事故を防止することができる。
本発明の実施の形態の計器用測定クリップを示す(a)閉じた状態の斜視図、(b)開いた状態の斜視図である。 図1に示す計器用測定クリップの結合片の(a)接続部を示す拡大斜視図、(b)接続部を端子に接続した状態を示す使用状態図である。 図1に示す計器用測定クリップの使用状態を示す(a)側面図、(b)平面図である。 図1に示す計器用測定クリップの結合片の接続部を端子に接続した状態を示す使用状態図である。
符号の説明
1 端子
2 隔壁
10 計器用測定クリップ
11 第1クリップ片
12 回転支持部
13 第1挟持部
14 第1ハンドル
15 回転支持孔
16 溝
21 第2クリップ片
22 回転軸部
23 第2挟持部
24 第2ハンドル
25 回転凸部
26 凹部
27 ゴム
31 結合片
32 接続部
33 鋸歯部
34 先端
41 ケーブル接続部
42 接続端子

Claims (2)

  1. 第1クリップ片と第2クリップ片とバネと結合片とを有し、
    前記第1クリップ片および前記第2クリップ片は互いに一端が開閉するよう中間部で回転可能に結合し、
    前記バネは前記第1クリップ片および前記第2クリップ片を互いに前記一端が閉じるよう付勢して設けられ、
    前記結合片は導電性を有し前記第1クリップ片の幅より細く前記第1クリップ片の前記第2クリップ片と対向する側に前記第1クリップ片の幅内で設けられ前記一端より突出していることを、
    特徴とする計器用測定クリップ。
  2. 前記結合片は前記第2クリップ片の側に突出する鋸歯部を有し前記先端が前記第2クリップ片の側に折れ曲がり、
    前記第1クリップ片および前記第2クリップ片が互いに前記一端を閉じた状態で前記結合片が前記鋸歯部で前記第2クリップ片と当接することを、
    特徴とする請求項1記載の計器用測定クリップ。
JP2004108102A 2004-03-31 2004-03-31 計器用測定クリップ Pending JP2005294071A (ja)

Priority Applications (1)

Application Number Priority Date Filing Date Title
JP2004108102A JP2005294071A (ja) 2004-03-31 2004-03-31 計器用測定クリップ

Applications Claiming Priority (1)

Application Number Priority Date Filing Date Title
JP2004108102A JP2005294071A (ja) 2004-03-31 2004-03-31 計器用測定クリップ

Publications (1)

Publication Number Publication Date
JP2005294071A true JP2005294071A (ja) 2005-10-20

Family

ID=35326765

Family Applications (1)

Application Number Title Priority Date Filing Date
JP2004108102A Pending JP2005294071A (ja) 2004-03-31 2004-03-31 計器用測定クリップ

Country Status (1)

Country Link
JP (1) JP2005294071A (ja)

Cited By (3)

* Cited by examiner, † Cited by third party
Publication number Priority date Publication date Assignee Title
JP2011090882A (ja) * 2009-10-22 2011-05-06 Chugoku Electric Power Co Inc:The 鰐口クリップ
CN113955490A (zh) * 2021-11-04 2022-01-21 苏州联讯仪器有限公司 光通讯芯片测试用上下料模组
KR20230111832A (ko) * 2022-01-19 2023-07-26 한국전력공사 휴대용 오차시험기 전압케이블 단자 커넥터

Cited By (5)

* Cited by examiner, † Cited by third party
Publication number Priority date Publication date Assignee Title
JP2011090882A (ja) * 2009-10-22 2011-05-06 Chugoku Electric Power Co Inc:The 鰐口クリップ
CN113955490A (zh) * 2021-11-04 2022-01-21 苏州联讯仪器有限公司 光通讯芯片测试用上下料模组
CN113955490B (zh) * 2021-11-04 2023-02-14 苏州联讯仪器有限公司 光通讯芯片测试用上下料模组
KR20230111832A (ko) * 2022-01-19 2023-07-26 한국전력공사 휴대용 오차시험기 전압케이블 단자 커넥터
KR102624122B1 (ko) 2022-01-19 2024-01-12 한국전력공사 휴대용 오차시험기 전압케이블 단자 커넥터

Similar Documents

Publication Publication Date Title
RU2676265C2 (ru) Соединительный зажим и пружинный зажимной контакт для него
US10069239B2 (en) Connector for electrically connecting sets of conducting wires
JP2008519408A5 (ja)
JP4504534B2 (ja) 接続箱の電線保持構造
US8944859B2 (en) Wire clamp for a wiring device
JPH0448542Y2 (ja)
JP2005294071A (ja) 計器用測定クリップ
CA2349284C (en) Electrical connector contact bridge with wire clamps
US3885847A (en) Grounding clip with wrap-around tabs
CZ208395A3 (en) Transverse connector for connecting electrical conductors and cables
US2718626A (en) Electrical connectors
JP2006166549A (ja) 活線劣化診断装置用接続治具
US1233197A (en) Electric terminal.
JP5442653B2 (ja) 開閉規制具、及び該開閉規制具を備えるワニ口クリップ
CN100536247C (zh) 电线夹具
JP5822598B2 (ja) 小型電機部品に使用する端子接続構造
JPS6010066Y2 (ja) 電池端子クリツプ
JPS5924137Y2 (ja) 電気接続装置
JP2010118260A (ja) 接続端子
CN213546591U (zh) 一种用于多股铝导线之间连接的紧固装置
CN209709228U (zh) 一种接口结构与电能表
US1166114A (en) Wire-clamping device.
JP2007103227A (ja) 接続端子
JP2010118262A (ja) クリップ接続用コネクタ
JP2018049721A (ja) テストクリップ

Legal Events

Date Code Title Description
A621 Written request for application examination

Free format text: JAPANESE INTERMEDIATE CODE: A621

Effective date: 20070313

A977 Report on retrieval

Free format text: JAPANESE INTERMEDIATE CODE: A971007

Effective date: 20090522

A131 Notification of reasons for refusal

Free format text: JAPANESE INTERMEDIATE CODE: A131

Effective date: 20090526

A521 Written amendment

Free format text: JAPANESE INTERMEDIATE CODE: A523

Effective date: 20090702

A02 Decision of refusal

Free format text: JAPANESE INTERMEDIATE CODE: A02

Effective date: 20090804