JP2005294055A - 光ビーム接合 - Google Patents
光ビーム接合 Download PDFInfo
- Publication number
- JP2005294055A JP2005294055A JP2004107905A JP2004107905A JP2005294055A JP 2005294055 A JP2005294055 A JP 2005294055A JP 2004107905 A JP2004107905 A JP 2004107905A JP 2004107905 A JP2004107905 A JP 2004107905A JP 2005294055 A JP2005294055 A JP 2005294055A
- Authority
- JP
- Japan
- Prior art keywords
- contact
- light beam
- connector
- mask
- solder
- Prior art date
- Legal status (The legal status is an assumption and is not a legal conclusion. Google has not performed a legal analysis and makes no representation as to the accuracy of the status listed.)
- Withdrawn
Links
- 238000000034 method Methods 0.000 title claims abstract description 17
- 229910000679 solder Inorganic materials 0.000 claims abstract description 31
- 230000001678 irradiating effect Effects 0.000 claims abstract description 3
- XEEYBQQBJWHFJM-UHFFFAOYSA-N Iron Chemical group [Fe] XEEYBQQBJWHFJM-UHFFFAOYSA-N 0.000 claims description 8
- 239000004020 conductor Substances 0.000 claims description 8
- 239000000463 material Substances 0.000 claims description 6
- 229910052742 iron Inorganic materials 0.000 claims description 4
- 238000005476 soldering Methods 0.000 abstract description 13
- 238000004519 manufacturing process Methods 0.000 description 3
- 230000002411 adverse Effects 0.000 description 2
- 238000003825 pressing Methods 0.000 description 2
- 238000010586 diagram Methods 0.000 description 1
- 230000000694 effects Effects 0.000 description 1
- 229910052751 metal Inorganic materials 0.000 description 1
- 239000002184 metal Substances 0.000 description 1
- 150000002739 metals Chemical class 0.000 description 1
- 238000005192 partition Methods 0.000 description 1
- 229920003023 plastic Polymers 0.000 description 1
- 239000004033 plastic Substances 0.000 description 1
- 239000011347 resin Substances 0.000 description 1
- 229920005989 resin Polymers 0.000 description 1
- 229910052724 xenon Inorganic materials 0.000 description 1
- FHNFHKCVQCLJFQ-UHFFFAOYSA-N xenon atom Chemical compound [Xe] FHNFHKCVQCLJFQ-UHFFFAOYSA-N 0.000 description 1
Images
Classifications
-
- H—ELECTRICITY
- H01—ELECTRIC ELEMENTS
- H01R—ELECTRICALLY-CONDUCTIVE CONNECTIONS; STRUCTURAL ASSOCIATIONS OF A PLURALITY OF MUTUALLY-INSULATED ELECTRICAL CONNECTING ELEMENTS; COUPLING DEVICES; CURRENT COLLECTORS
- H01R43/00—Apparatus or processes specially adapted for manufacturing, assembling, maintaining, or repairing of line connectors or current collectors or for joining electric conductors
- H01R43/02—Apparatus or processes specially adapted for manufacturing, assembling, maintaining, or repairing of line connectors or current collectors or for joining electric conductors for soldered or welded connections
- H01R43/0221—Laser welding
-
- H—ELECTRICITY
- H05—ELECTRIC TECHNIQUES NOT OTHERWISE PROVIDED FOR
- H05K—PRINTED CIRCUITS; CASINGS OR CONSTRUCTIONAL DETAILS OF ELECTRIC APPARATUS; MANUFACTURE OF ASSEMBLAGES OF ELECTRICAL COMPONENTS
- H05K3/00—Apparatus or processes for manufacturing printed circuits
- H05K3/30—Assembling printed circuits with electric components, e.g. with resistor
- H05K3/32—Assembling printed circuits with electric components, e.g. with resistor electrically connecting electric components or wires to printed circuits
- H05K3/34—Assembling printed circuits with electric components, e.g. with resistor electrically connecting electric components or wires to printed circuits by soldering
- H05K3/3405—Edge mounted components, e.g. terminals
-
- H—ELECTRICITY
- H05—ELECTRIC TECHNIQUES NOT OTHERWISE PROVIDED FOR
- H05K—PRINTED CIRCUITS; CASINGS OR CONSTRUCTIONAL DETAILS OF ELECTRIC APPARATUS; MANUFACTURE OF ASSEMBLAGES OF ELECTRICAL COMPONENTS
- H05K3/00—Apparatus or processes for manufacturing printed circuits
- H05K3/30—Assembling printed circuits with electric components, e.g. with resistor
- H05K3/32—Assembling printed circuits with electric components, e.g. with resistor electrically connecting electric components or wires to printed circuits
- H05K3/34—Assembling printed circuits with electric components, e.g. with resistor electrically connecting electric components or wires to printed circuits by soldering
- H05K3/3494—Heating methods for reflowing of solder
Landscapes
- Physics & Mathematics (AREA)
- Optics & Photonics (AREA)
- Engineering & Computer Science (AREA)
- Manufacturing & Machinery (AREA)
- Coupling Device And Connection With Printed Circuit (AREA)
- Connections Effected By Soldering, Adhesion, Or Permanent Deformation (AREA)
- Manufacturing Of Electrical Connectors (AREA)
- Electric Connection Of Electric Components To Printed Circuits (AREA)
Abstract
【課題】
光ビームを用いてはんだ付けを行う方法と、光ビームを遮断するマスクを提供する。
【解決手段】
光ビームにより導電線とコンタクトを接続する方法であって、コンタクトが形成されている領域に導電線を設置する段階と、コンタクトが形成されている領域にはんだを供給する段階と、コネクタを部分的にに光ビームから遮蔽するマスクを設置する段階と、光ビームを照射してはんだを溶融させ導電線とコンタクトを接続する段階とを含む接続方法を提供する。
【選択図】 図2
光ビームを用いてはんだ付けを行う方法と、光ビームを遮断するマスクを提供する。
【解決手段】
光ビームにより導電線とコンタクトを接続する方法であって、コンタクトが形成されている領域に導電線を設置する段階と、コンタクトが形成されている領域にはんだを供給する段階と、コネクタを部分的にに光ビームから遮蔽するマスクを設置する段階と、光ビームを照射してはんだを溶融させ導電線とコンタクトを接続する段階とを含む接続方法を提供する。
【選択図】 図2
Description
本発明は電気的な装置のはんだ付けを行う際、はんだ付け部分に光を照射し、光エネルギーによりはんだを溶融させて接続を行う、光ビーム接合に関するものである。
コネクタのハウジング上に形成されるコンタクトと導電線の接続のような電気的な接続は通常はんだおよび物理的な接触を伴うはんだ装置によって行われる。しかしながら近年、携帯電話のような小型の通信機器では高性能を実現させるために、限られたスペースに多くの電気的な部品を必要としており、よってコネクタも小型化が要求されている。
通常、コネクタは多数のコンタクトを備えており、細い導電線を多数接続するような場合は通常のはんだ装置のように熱源となる部分が対象に物理的に接触するような方法によってコネクタを製造するのが困難である。
特開2001−244030
これはコンタクトや導電線のサイズが小さいためであり、このような小型のコネクタを製造する際は、例えばコンタクトにはんだ装置を押しつけることから、様々な制約が生じるためである。
またいわゆる光ビームを使用するはんだ付けの場合であっても、ビームがコンタクト以外の部分に照射されると、該ビームの強いエネルギーにより例えばコネクタのハウジングなどが溶融してしまう場合もある。
上述のような問題に鑑み本発明は、光ビームにより導電線とコンタクトを接続する方法であって、コンタクトが形成されている領域に導電線を設置する段階と、コンタクトが形成されている領域にはんだを供給する段階と、コネクタを部分的に光ビームから遮蔽するマスクを設置する段階と、光ビームを照射してはんだを溶融させ導電線とコンタクトを接続する段階とを含む接続方法を提供する。これによりマスクで保護された部分はビームが遮蔽され悪影響を受けずにコンタクトと導電線の接続が出来る。
このようにマスクを使用する際は、マスクを設置する段階において、該マスクはコネクタの少なくとも光ビーム源に近い部分を遮蔽する方法を提供する。これによってハウジングなどが変形等の悪影響を受けずにはんだ付けを行うことが出来る。
また光ビームの照射は対象とする領域を走査するように連続的にビームを照射する。これによってビームの制御が容易になる。
さらにこのような光ビームを用いるはんだ付けには、コンタクトはMIDによって形成される段階を含む方法を提供する。このようにMIDと光ビームを組み合わせることによって小型でかつコンタクトが、例えば立体的に高密度に配置されたコネクタのはんだ付けが容易に行えるようになる。
このような方法を行うことが出来るコネクタとして、コンタクトが形成されており、導電線の導体を受容する領域を定義する壁部がコネクタ上面に、コンタクト領域を挟んで形成されており、該壁部は導体の高さより高く形成されているコネクタを提供する。これによって、はんだ付けの際、はんだが飛散することにより、隣接するコンタクトまたは導電線と短絡してしまうことを防止できる。
このようなコネクタの構造は、前記壁部の高さは前記導体の高さの約2倍であるコネクタである。つまり壁部が導体の高さの約2倍であることによってはんだが飛散などした際にも、隣接するコンタクトまたは導体にはんだが接触しないことが確実となる。
このようなコネクタとしては、コンタクトがMIDで形成されていることが好適である。また使用するマスクはコンタクトと導電線を光ビームにより接続する際に、コンタクト以外の領域を光ビームから遮蔽する光ビーム用マスクである。このことによって容易にコンタクトと導電線の接続が図られ、さらにマスクによってコネクタの変形を防ぐことが出来る。
またこのマスクは、コネクタ製造時には同軸線を押さえて位置決め等を行う治具としても用いることが出来、製造工程が簡略化できる。またマスクの材料は鉄であることが好適である。
本発明の実施例を以下に図を用いて説明する。図1はコネクタにはんだ5および導電線4を配置した様子を示した図である。はんだ5はコンタクト2と導電線4の間に配置する。
このときはんだはペースト、或いはボールのような状態で供給される。図1ではペースト状のはんだを示している。はんだ5はコンタクト2上に配置され、図に示したように導電線4をコンタクト上に配置したとき、はんだ5はコンタクト2と導電線4の間に位置する。このコンタクトはいわゆるMIDによりハウジング上に形成されており、ハウジング上に形成された貫通口を経由して、またはハウジング上面から側面を経由して下面に至るように形成されている。MIDではこのような立体形状のコンタクトを形成することが容易であり、本発明の方法と組み合わせることで、より有効な効果が達成されることとなる。
このようにコネクタ1に導電線4、はんだ5を配置した後、はんだ付けの作業に入る。はんだ付けは光ビームが全てのはんだに照射されるように横方向に走査することによって行う。ここで光ビームは例えばソフトビーム(登録商標)などが使用できる。
このとき、光ビームははんだを溶融させるだけのエネルギーを持っているため、該光ビームを走査したときコンタクトが形成されている領域以外に光ビームが当たると変形などが生じてしまう。特にコネクタの形状によっては光源に近い部分が変形する。従って不要な部分に光ビームが照射されないようにマスクを設置する。
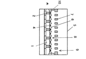
図2は導電線の軸方向から見たコネクタ全体の正面図である。コネクタ1に導電線4が配置され、はんだ5が供給されている。ここで図1、2では、はんだは一部のコンタクト2または導電線4に供給されいるように示されているが、すべてのコンタクト2、または導電線4に供給されることは明白である。この段階でコネクタ1上にはマスク7が設置される。コネクタ1にマスク7が設置されている状態の参照符号11で示された部分の拡大図を図3に示した。
図3を見るとマスク7によって遮蔽される領域はコンタクト領域8を区画する壁部6、およびコネクタ1の光源に近い部分10の上部であることがわかる。しかしながら遮蔽される領域は本実施例に限定されるものではなく、光ビームにより変形等の損傷を受けない部分は遮蔽されなくてもよい。また、はんだ付けを行うコンタクト領域8の上部にはマスク7に窓9が開口しており、それ以外の部分は光ビームを遮蔽するようになっている。この窓9を通って光ビームがコンタクト領域8に照射される。よって光ビームは連続的に出力され、各はんだ5全てに光ビームが照射されるように走査することが出来る。このときマスク7は同軸線を押圧して固定するための治具としても機能する。
このようにして光ビームを用いたはんだ付けを行うことが出来、携帯電話に使用されるコネクタのように非常に小さな構造であっても、また物理的な取り扱いが困難な場合でも素早く確実にはんだ付けを行うことが出来る。さらには、コネクタ1に形成されるコンタクト2は、別の工程でMIDによって形成されることが望ましい。これによって、小さく立体的な構造のコンタクトで、はんだ付け作業が困難なものでも、はんだ装置のはんだ付け手段との接触を必要としないことから、導線とコンタクトとの接続を容易に行うことが出来る。
本実施例ではマスク7の材料として鉄を想定している。これは例えば光ビームとしてソフトビーム(登録商標)を用いる場合、該ソフトビームの光源としてキセノン光源が用いられているため、この光源に適した材料として鉄を用いている。しかしながらこれに限定されるものではなく、光ビームを遮断することが出来る材料であれば金属、プラスチック、樹脂、その他の材料も含めてすべて本発明の範囲に含まれる。
本発明ではさらにコネクタ1の構造として隣同士のコンタクト領域8を区画する壁部6の構造も提供する。図1を見ると壁部6は導電線4の軸方向に沿って形成されている。図3に示したように壁部6のハウジング1からの高さは導電線4の直径より大きくなっている。本発明によればこの壁部6の高さは少なくとも導電線4の直径の約2倍である。この高さにすることによって、光ビームによりはんだが溶融した場合、はんだの飛散による近隣のコンタクトとの短絡を確実に防止することが出来る。
1 コネクタ
2 コンタクト
3 同軸線
4 導電線
5 はんだ
6 壁部
7 マスク
8 コンタクト領域
9 窓
10 コネクタの光源に近い部分
2 コンタクト
3 同軸線
4 導電線
5 はんだ
6 壁部
7 マスク
8 コンタクト領域
9 窓
10 コネクタの光源に近い部分
Claims (10)
- 光ビームにより導電線とコンタクトを接続する方法であって、
コンタクトが形成されている領域に導電線を設置する段階と、
コンタクトが形成されている領域にはんだを供給する段階と、
コネクタを部分的に光ビームから遮蔽するマスクを設置する段階と、
光ビームを照射してはんだを溶融させ導電線とコンタクトを接続する段階とを含む接続方法。 - マスクを設置する段階において、該マスクはコネクタの少なくとも光ビーム源に近い部分を遮蔽する段階である請求項1に記載の方法。
- 光ビームの照射は接合を行う領域を走査するように行う請求項1に記載の方法。
- コンタクトを、コネクタのハウジング上にMIDにより形成した後、請求項1に記載の方法によりコンタクトと導電線を接続する方法。
- 光ビーム接合のためのコネクタであって、ハウジングにコンタクトが形成されており、導電線の導体を受容する領域を定義する壁部が、コンタクトまたは導電線に沿う方向でコネクタ上面に形成されており、該壁部は導体の高さより高く形成されているコネクタ。
- 前記壁部の高さは前記導電線の高さの約2倍である請求項5に記載のコネクタ。
- コンタクトはMIDによって形成される請求項5または6に記載のコネクタ。
- 光ビーム接合のためのマスクであって、該マスクはコンタクトと導電線を光ビームにより接続する際に、コンタクト以外の領域の一部を光ビームから遮蔽する光ビーム用マスク。
- 前記マスクはコネクタ製造時に同軸線をコネクタに押圧する治具である請求項8に記載のマスク。
- 前記マスクの材料は鉄である請求項8に記載のマスク。
Priority Applications (7)
| Application Number | Priority Date | Filing Date | Title |
|---|---|---|---|
| JP2004107905A JP2005294055A (ja) | 2004-03-31 | 2004-03-31 | 光ビーム接合 |
| EP05728835A EP1737086A1 (en) | 2004-03-31 | 2005-03-31 | Light beam bonding |
| CNA200580009894XA CN1938912A (zh) | 2004-03-31 | 2005-03-31 | 光束接合 |
| MXPA06011220A MXPA06011220A (es) | 2004-03-31 | 2005-03-31 | Union con haz luminoso. |
| TW094110336A TW200541426A (en) | 2004-03-31 | 2005-03-31 | Light beam bonding |
| PCT/JP2005/006285 WO2005096458A1 (ja) | 2004-03-31 | 2005-03-31 | 光ビーム接合 |
| US10/593,765 US20070278278A1 (en) | 2004-03-31 | 2005-03-31 | Light Beam Bonding |
Applications Claiming Priority (1)
| Application Number | Priority Date | Filing Date | Title |
|---|---|---|---|
| JP2004107905A JP2005294055A (ja) | 2004-03-31 | 2004-03-31 | 光ビーム接合 |
Publications (1)
| Publication Number | Publication Date |
|---|---|
| JP2005294055A true JP2005294055A (ja) | 2005-10-20 |
Family
ID=35064105
Family Applications (1)
| Application Number | Title | Priority Date | Filing Date |
|---|---|---|---|
| JP2004107905A Withdrawn JP2005294055A (ja) | 2004-03-31 | 2004-03-31 | 光ビーム接合 |
Country Status (7)
| Country | Link |
|---|---|
| US (1) | US20070278278A1 (ja) |
| EP (1) | EP1737086A1 (ja) |
| JP (1) | JP2005294055A (ja) |
| CN (1) | CN1938912A (ja) |
| MX (1) | MXPA06011220A (ja) |
| TW (1) | TW200541426A (ja) |
| WO (1) | WO2005096458A1 (ja) |
Family Cites Families (6)
| Publication number | Priority date | Publication date | Assignee | Title |
|---|---|---|---|---|
| JPH05167241A (ja) * | 1991-11-20 | 1993-07-02 | Hitachi Ltd | レーザリフロー治具 |
| JP3438932B2 (ja) * | 1994-02-18 | 2003-08-18 | オリンパス光学工業株式会社 | 撮像装置組立方法 |
| JPH10242595A (ja) * | 1997-02-26 | 1998-09-11 | Brother Ind Ltd | 回路基板 |
| JP2001244640A (ja) * | 2000-02-25 | 2001-09-07 | Ibiden Co Ltd | 多層プリント配線板の製造方法および多層プリント配線板 |
| JP2001244030A (ja) * | 2000-02-29 | 2001-09-07 | Fci Japan Kk | プラグコネクタ |
| JP4026439B2 (ja) * | 2002-07-31 | 2007-12-26 | 日立電線株式会社 | 極細同軸ケーブルアセンブリの端末接続方法 |
-
2004
- 2004-03-31 JP JP2004107905A patent/JP2005294055A/ja not_active Withdrawn
-
2005
- 2005-03-31 MX MXPA06011220A patent/MXPA06011220A/es not_active Application Discontinuation
- 2005-03-31 TW TW094110336A patent/TW200541426A/zh unknown
- 2005-03-31 WO PCT/JP2005/006285 patent/WO2005096458A1/ja not_active Ceased
- 2005-03-31 EP EP05728835A patent/EP1737086A1/en not_active Withdrawn
- 2005-03-31 CN CNA200580009894XA patent/CN1938912A/zh active Pending
- 2005-03-31 US US10/593,765 patent/US20070278278A1/en not_active Abandoned
Also Published As
| Publication number | Publication date |
|---|---|
| CN1938912A (zh) | 2007-03-28 |
| MXPA06011220A (es) | 2007-04-02 |
| WO2005096458B1 (ja) | 2005-12-08 |
| EP1737086A8 (en) | 2007-02-21 |
| US20070278278A1 (en) | 2007-12-06 |
| EP1737086A1 (en) | 2006-12-27 |
| WO2005096458A1 (ja) | 2005-10-13 |
| TW200541426A (en) | 2005-12-16 |
Similar Documents
| Publication | Publication Date | Title |
|---|---|---|
| JP6265852B2 (ja) | コネクタ | |
| CN103311698B (zh) | 具有电触点阵列的电气元件和通信组件 | |
| CN108335821B (zh) | 线圈元件 | |
| JP2009032462A (ja) | ワイヤーハーネス | |
| JP2008193083A (ja) | 加熱抵抗体を組み込んだ電子基板 | |
| JP2008131034A (ja) | マイクロ波回路モジュール用のシールド | |
| JP4438004B2 (ja) | 回路構成体 | |
| JP2007222907A (ja) | 配線部材のレーザー照射式半田接合方法 | |
| JPH1131876A (ja) | 回路基板 | |
| US20160020577A1 (en) | Semiconductor laser device | |
| CN1235076C (zh) | 光学接插件和光学元件 | |
| JP2005294055A (ja) | 光ビーム接合 | |
| JP5712090B2 (ja) | 電子機器の製造方法 | |
| KR20070023688A (ko) | 광빔 접합 | |
| JP5118713B2 (ja) | 回路モジュールおよびそれを備えた電子機器ならびに回路モジュールの製造方法 | |
| TWI630767B (zh) | 印刷基板之製造方法及導電性構件之接合方法 | |
| CN104604342A (zh) | 电路板组件与具有电路板组件的终端 | |
| TW200420440A (en) | Electrical interconnect assemblies and methods of forming same | |
| KR101937281B1 (ko) | 동축 케이블의 접속 구조 | |
| JP2013219404A (ja) | アンテナ部品の製造方法 | |
| JP6944028B2 (ja) | 基板接続構造、及び、導体部接続方法 | |
| JP4853276B2 (ja) | 半導体装置の製造方法 | |
| JP4569361B2 (ja) | 回路板及びレーザはんだ付け方法 | |
| JP2007123531A (ja) | プリント配線基板及びこれを用いたプリント回路基板 | |
| JPH05315778A (ja) | ヒートシンクを備えた電子部品搭載用基板 |
Legal Events
| Date | Code | Title | Description |
|---|---|---|---|
| A761 | Written withdrawal of application |
Free format text: JAPANESE INTERMEDIATE CODE: A761 Effective date: 20070413 |