JP2005293944A - 燃料電池 - Google Patents
燃料電池 Download PDFInfo
- Publication number
- JP2005293944A JP2005293944A JP2004105068A JP2004105068A JP2005293944A JP 2005293944 A JP2005293944 A JP 2005293944A JP 2004105068 A JP2004105068 A JP 2004105068A JP 2004105068 A JP2004105068 A JP 2004105068A JP 2005293944 A JP2005293944 A JP 2005293944A
- Authority
- JP
- Japan
- Prior art keywords
- metal
- separator
- porous body
- fuel cell
- metal porous
- Prior art date
- Legal status (The legal status is an assumption and is not a legal conclusion. Google has not performed a legal analysis and makes no representation as to the accuracy of the status listed.)
- Withdrawn
Links
Images
Classifications
-
- Y—GENERAL TAGGING OF NEW TECHNOLOGICAL DEVELOPMENTS; GENERAL TAGGING OF CROSS-SECTIONAL TECHNOLOGIES SPANNING OVER SEVERAL SECTIONS OF THE IPC; TECHNICAL SUBJECTS COVERED BY FORMER USPC CROSS-REFERENCE ART COLLECTIONS [XRACs] AND DIGESTS
- Y02—TECHNOLOGIES OR APPLICATIONS FOR MITIGATION OR ADAPTATION AGAINST CLIMATE CHANGE
- Y02E—REDUCTION OF GREENHOUSE GAS [GHG] EMISSIONS, RELATED TO ENERGY GENERATION, TRANSMISSION OR DISTRIBUTION
- Y02E60/00—Enabling technologies; Technologies with a potential or indirect contribution to GHG emissions mitigation
- Y02E60/30—Hydrogen technology
- Y02E60/50—Fuel cells
Landscapes
- Fuel Cell (AREA)
Abstract
【課題】 セパレータのガス流路に対応する部位における触媒層と拡散層との接触力を増大でき、しかもそれをMEAの損傷を伴わずに達成できる、燃料電池の提供。
【解決手段】(1)メタルセパレータ18と拡散層13、16を備えた燃料電池であって、メタルセパレータ18と拡散層13、16との間に金属多孔体34を設け、該金属多孔体34をメタルセパレータ18と一体化した燃料電池。
(2)金属多孔体34とメタルセパレータ18が同種材料からなる。
(3)金属多孔体34とメタルセパレータ18とを溶接により一体化した。
(4)金属多孔体34をメタルセパレータ18のガス流路27、28内には設けないようにした。
(5)金属多孔体34をメタルセパレータ18のガス流路27、28内にも設けた。
【選択図】 図1
【解決手段】(1)メタルセパレータ18と拡散層13、16を備えた燃料電池であって、メタルセパレータ18と拡散層13、16との間に金属多孔体34を設け、該金属多孔体34をメタルセパレータ18と一体化した燃料電池。
(2)金属多孔体34とメタルセパレータ18が同種材料からなる。
(3)金属多孔体34とメタルセパレータ18とを溶接により一体化した。
(4)金属多孔体34をメタルセパレータ18のガス流路27、28内には設けないようにした。
(5)金属多孔体34をメタルセパレータ18のガス流路27、28内にも設けた。
【選択図】 図1
Description
本発明は燃料電池に関する。
燃料電池、たとえば固体高分子電解質型燃料電池は、膜−電極アッセンブリ(MEA:Membrane-Electrode Assembly )とセパレータとの積層体(ただし、積層方向は任意でよい)からなる。膜−電極アッセンブリは、イオン交換膜からなる電解質膜とこの電解質膜の一面に配置された触媒層からなる電極(アノード、燃料極)および電解質膜の他面に配置された触媒層からなる電極(カソード、空気極)とからなる。膜−電極アッセンブリとセパレータとの間には、アノード側、カソード側にそれぞれ拡散層が設けられる。セパレータには、アノードに燃料ガス(水素)を供給するための燃料ガス流路が形成され、カソードに酸化ガス(酸素、通常は空気)を供給するための酸化ガス流路が形成されている。膜−電極アッセンブリとセパレータを重ねてセルを構成し、少なくとも1つのセルからモジュールを構成し、モジュールを積層してセル積層体とし、セル積層体のセル積層方向両端に、ターミナル、インシュレータ、エンドプレートを配置し、セル積層体をセル積層方向に締め付け、セル積層方向に延びる締結部材(たとえば、テンションプレート)、ボルト・ナットにて固定して、スタックを構成する。
各セルの、アノード側では、水素を水素イオン(プロトン)と電子にする電離反応が行われ、水素イオンは電解質膜中をカソード側に移動し、カソード側では酸素と水素イオンおよび電子(隣りのMEAのアノードで生成した電子がセパレータを通してくる、またはセル積層方向一端のセルのアノードで生成した電子が外部回路を通して他端のセルのカソードにくる)から水を生成するつぎの反応が行われ、かくして発電が行われる。
アノード側:H2 →2H+ +2e-
カソード側:2H+ +2e- +(1/2)O2 →H2 O
各セルの、アノード側では、水素を水素イオン(プロトン)と電子にする電離反応が行われ、水素イオンは電解質膜中をカソード側に移動し、カソード側では酸素と水素イオンおよび電子(隣りのMEAのアノードで生成した電子がセパレータを通してくる、またはセル積層方向一端のセルのアノードで生成した電子が外部回路を通して他端のセルのカソードにくる)から水を生成するつぎの反応が行われ、かくして発電が行われる。
アノード側:H2 →2H+ +2e-
カソード側:2H+ +2e- +(1/2)O2 →H2 O
セパレータが拡散層を介してMEAを押す時、セパレータの凸部であるリブの頂面では拡散層およびMEAを強く押すが、セパレータの凹部であるガス流路では拡散層およびMEAを押さない。その結果、拡散層とMEAの触媒層との間にセパレータ押力の強弱が生じ、セパレータのガス流路に対応する部分で拡散層と触媒層との接触が弱くなって接触抵抗が増大し、燃料電池の出力が低下する。
これを抑制するには、特開2000−208153号公報に開示されているように、セパレータをメタルセパレータから形成するとともに、拡散層を金属メッシュから形成し、金属メッシュに剛性をもたせ、メタルセパレータが拡散層をリブの頂面で押した時にその押力が拡散層のほぼ全域に伝わるようにすることが有効であると考えられる。
これを抑制するには、特開2000−208153号公報に開示されているように、セパレータをメタルセパレータから形成するとともに、拡散層を金属メッシュから形成し、金属メッシュに剛性をもたせ、メタルセパレータが拡散層をリブの頂面で押した時にその押力が拡散層のほぼ全域に伝わるようにすることが有効であると考えられる。
しかし、特開2000−208153号公報の構造にもつぎの問題がある。
金属メッシュに剛性をもたせると、拡散層と触媒層との接触部には、セパレータのガス流路対応部にも接触力が出るが、剛性をもたせた金属メッシュはカーボン製拡散層のようなクッション性をもたないので、金属メッシュがMEAのめり込んでMEAを傷つけ、燃料電池の耐久性を低下させる。
逆に金属メッシュの剛性を弱くすると、従来の問題と同じ問題、すなわちセパレータのガス流路に対応する部位での拡散層と触媒層との接触力が小さくなるという問題が生じる。
特開2000−208153号公報
金属メッシュに剛性をもたせると、拡散層と触媒層との接触部には、セパレータのガス流路対応部にも接触力が出るが、剛性をもたせた金属メッシュはカーボン製拡散層のようなクッション性をもたないので、金属メッシュがMEAのめり込んでMEAを傷つけ、燃料電池の耐久性を低下させる。
逆に金属メッシュの剛性を弱くすると、従来の問題と同じ問題、すなわちセパレータのガス流路に対応する部位での拡散層と触媒層との接触力が小さくなるという問題が生じる。
本発明が解決しようとする問題点は、セパレータのガス流路に対応する部位で触媒層と拡散層との接触力が弱くなって燃料電池の出力が低下するという問題であり、これを金属メッシュなどを拡散層に用いて抑制しようとするとMEAを傷つけやすいという問題が出ることである。
本発明の目的は、セパレータのガス流路に対応する部位における触媒層と拡散層との接触力を増大でき、しかもそれをMEAの損傷を伴わずに達成できる、燃料電池を提供することにある。
本発明の目的は、セパレータのガス流路に対応する部位における触媒層と拡散層との接触力を増大でき、しかもそれをMEAの損傷を伴わずに達成できる、燃料電池を提供することにある。
上記課題を解決する、そして上記目的を達成する、本発明はつぎの通りである。
(1) メタルセパレータと拡散層を備えた燃料電池であって、前記メタルセパレータと前記拡散層との間に金属多孔体を設け、該金属多孔体をメタルセパレータと一体化した燃料電池。
(2) 前記金属多孔体と前記メタルセパレータが同種材料からなる(1)記載の燃料電池。
(3) 前記金属多孔体と前記メタルセパレータとを溶接により一体化した(1)記載の燃料電池。
(4) 前記金属多孔体を前記メタルセパレータのガス流路内には設けないようにした(1)記載の燃料電池。
(5) 前記金属多孔体を前記メタルセパレータのガス流路内にも設けた(1)記載の燃料電池。
(1) メタルセパレータと拡散層を備えた燃料電池であって、前記メタルセパレータと前記拡散層との間に金属多孔体を設け、該金属多孔体をメタルセパレータと一体化した燃料電池。
(2) 前記金属多孔体と前記メタルセパレータが同種材料からなる(1)記載の燃料電池。
(3) 前記金属多孔体と前記メタルセパレータとを溶接により一体化した(1)記載の燃料電池。
(4) 前記金属多孔体を前記メタルセパレータのガス流路内には設けないようにした(1)記載の燃料電池。
(5) 前記金属多孔体を前記メタルセパレータのガス流路内にも設けた(1)記載の燃料電池。
上記(1)の燃料電池によれば、メタルセパレータと拡散層との間に金属多孔体を設けたので、セパレータのガス流路対応部においても、拡散層と触媒層との間に十分な接触力が出る。また、拡散層を設けたまま金属多孔体を設けたので、拡散層がクッションとなって、金属多孔体がMEAを傷つけることを抑制できる。また、金属多孔体をメタルセパレータと一体化したので、金属多孔体とメタルセパレータ間の接触抵抗は低い。
上記(2)の燃料電池によれば、金属多孔体とメタルセパレータが同種材料からなるので、溶接は容易である。
上記(3)の燃料電池によれば、多孔体とメタルセパレータとを溶接により一体化したので、多孔体とメタルセパレータとの間の導電性は良好である。
上記(4)の燃料電池によれば、金属多孔体をメタルセパレータのガス流路内には設けないようにしたので、ガス流路の流れ抵抗も増大しにくい。
上記(5)の燃料電池によれば、金属多孔体をメタルセパレータのガス流路内にも設けたので、セパレータのガス流路対応部においても、セパレータは拡散層を強く押すことができ、拡散層と触媒層との間に十分な接触力が出る。
上記(2)の燃料電池によれば、金属多孔体とメタルセパレータが同種材料からなるので、溶接は容易である。
上記(3)の燃料電池によれば、多孔体とメタルセパレータとを溶接により一体化したので、多孔体とメタルセパレータとの間の導電性は良好である。
上記(4)の燃料電池によれば、金属多孔体をメタルセパレータのガス流路内には設けないようにしたので、ガス流路の流れ抵抗も増大しにくい。
上記(5)の燃料電池によれば、金属多孔体をメタルセパレータのガス流路内にも設けたので、セパレータのガス流路対応部においても、セパレータは拡散層を強く押すことができ、拡散層と触媒層との間に十分な接触力が出る。
以下に、本発明の燃料電池を図1〜図6を参照して説明する。図中、図1は本発明の実施例1を示し、図2は本発明の実施例2を示し、図3〜図5は本発明の実施例1にも実施例2にも適用可能な一般的構成を示し、図6は本発明と比較例の出力特性を示し、図7は比較例(本発明に含まず)を示す。本発明の実施例1、実施例2に共通する部分には、実施例1、実施例2にわたって同じ符号を付してある。
まず、本発明の実施例1、実施例2に共通する部分を、図1、図3〜図7を参照して説明する。
まず、本発明の実施例1、実施例2に共通する部分を、図1、図3〜図7を参照して説明する。
本発明の燃料電池スタック構成部品用ガスケットが装着される燃料電池は、たとえば固体高分子電解質型燃料電池10である。該燃料電池10は、たとえば燃料電池自動車に搭載される。ただし、自動車以外に用いられてもよい。
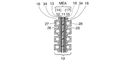
図3〜図5に示すように、固体高分子電解質型燃料電池10は、膜−電極アッセンブリ(MEA:Membrane-Electrode Assembly )とセパレータ18との積層体からなる。積層方向は任意である。膜−電極アッセンブリは、イオン交換膜からなる電解質膜11と、この電解質膜の一面に配置された触媒層を有する電極(アノード、燃料極)14および電解質膜11の他面に配置された触媒層を有する電極(カソード、空気極)17とからなる。膜−電極アッセンブリとセパレータ18との間には、アノード側、カソード側に、それぞれ、リブ下にもガスを流通させ拡散させるために拡散層13、16が設けられる。
膜−電極アッセンブリとセパレータ18を重ねてセル(単セル)19を構成し、少なくとも1つのセルからモジュールを構成し、モジュールを積層してセル積層体とし、セル積層体のセル積層方向両端に、ターミナル20、インシュレータ(電気絶縁体)21、エンドプレート22を配置し、セル積層体をセル積層方向に締め付け、セル積層体の外側でセル積層方向に延びる締結部材(たとえば、テンションプレート24)、ボルト・ナット25にて固定して、スタック23を構成する。
図3〜図5に示すように、固体高分子電解質型燃料電池10は、膜−電極アッセンブリ(MEA:Membrane-Electrode Assembly )とセパレータ18との積層体からなる。積層方向は任意である。膜−電極アッセンブリは、イオン交換膜からなる電解質膜11と、この電解質膜の一面に配置された触媒層を有する電極(アノード、燃料極)14および電解質膜11の他面に配置された触媒層を有する電極(カソード、空気極)17とからなる。膜−電極アッセンブリとセパレータ18との間には、アノード側、カソード側に、それぞれ、リブ下にもガスを流通させ拡散させるために拡散層13、16が設けられる。
膜−電極アッセンブリとセパレータ18を重ねてセル(単セル)19を構成し、少なくとも1つのセルからモジュールを構成し、モジュールを積層してセル積層体とし、セル積層体のセル積層方向両端に、ターミナル20、インシュレータ(電気絶縁体)21、エンドプレート22を配置し、セル積層体をセル積層方向に締め付け、セル積層体の外側でセル積層方向に延びる締結部材(たとえば、テンションプレート24)、ボルト・ナット25にて固定して、スタック23を構成する。
ガス拡散層13、16は、カーボンを主成分とする、ガス透過性をもつ層であり、たとえば、カーボン繊維を樹脂バインダで結合したものからなる。
セパレータ18は、メタルセパレータである。メタルセパレータは中抜きの樹脂フレームと組み合わされてもよい。
MEAを挟む一対のセパレータ18のうち、アノード側のセパレータ18には、MEAに対向する側に、アノード14に燃料ガス(水素)を供給するための燃料ガス流路27が形成され、カソード側のセパレータ18には、MEAに対向する側に、カソード17に酸化ガス(酸素、通常は空気)を供給するための酸化ガス流路28が形成されている。また、セパレータ18のガス流路27、28と反対側の面には冷媒(通常、冷却水)を流すための冷媒流路26が形成される。燃料電池のうちガス流路27、28とMEAの両方が存在する領域が、セル19の発電領域を構成する。
セパレータ18は、メタルセパレータである。メタルセパレータは中抜きの樹脂フレームと組み合わされてもよい。
MEAを挟む一対のセパレータ18のうち、アノード側のセパレータ18には、MEAに対向する側に、アノード14に燃料ガス(水素)を供給するための燃料ガス流路27が形成され、カソード側のセパレータ18には、MEAに対向する側に、カソード17に酸化ガス(酸素、通常は空気)を供給するための酸化ガス流路28が形成されている。また、セパレータ18のガス流路27、28と反対側の面には冷媒(通常、冷却水)を流すための冷媒流路26が形成される。燃料電池のうちガス流路27、28とMEAの両方が存在する領域が、セル19の発電領域を構成する。
セル19には、セル積層方向に延びる燃料ガスマニホールド30、酸化ガスマニホールド31、冷媒マニホールド29が形成される。燃料ガスマニホールド30は燃料ガス流路27に接続しており、燃料ガス流路27に燃料ガスを供給・排出する。酸化ガスマニホールド31は酸化ガス流路28に接続しており、酸化ガス流路28に酸化ガスを供給・排出する。冷媒マニホールド29は冷媒流路26に接続しており、冷媒流路26に冷媒を供給・排出する。
セル19のMEAを挟んで対向する一対のセパレータ18同士は、セル外周部およびマニホールド29、30、31まわりで、電気絶縁材である接着剤33によりシール接着されている。接着剤33は膜11とその両側のセパレータ18との間もシール接着している。セル19同士は、セル外周部およびマニホールド29、30、31まわりで、ガスケット(ゴムガスケット)32によりシールされている。各セルのシール接着されたセパレータ18同士は、分離はできないが、ガスケット32を挟んで対向する隣接するセルのセパレータ18同士は互いに分離自在である。
燃料ガス、酸化ガス、冷却水は、供給配管から入側の燃料ガスマニホールド30、酸化ガスマニホールド31、冷媒マニホールド29に入り、各セルを通過して出側の燃料ガスマニホールド30、酸化ガスマニホールド31、冷媒マニホールド29に流れ、出側の燃料ガスマニホールド30、酸化ガスマニホールド31、冷媒マニホールド29から排出配管に流出する。
セパレータ18はガス流路27、28を構成する凹凸がもつため、従来は、図7の比較例に示すように、燃料電池スタック23に締結力をかけた時に、凸となるリブ部(溝と溝の間の部分)の頂面では、セパレータ18は強い力で拡散層13、16を介して触媒層12、15を押すが、凹となるガス流路部27、28では、セパレータ18は拡散層13、16を押さず、ガス流路部27、28対応部では、拡散層13、16と触媒層12、15の接触圧力は小さく、接触抵抗は大きい。また、セパレータ18がメタルセパレータである場合、プレス成形でリブに頂面および角部に丸みがつくので、拡散層13、16との当たりに強弱がつき当たりの弱い所の接触抵抗が大きくなる。接触抵抗が大きい所での電圧降下により、スタック全体として燃料電池の出力が落ちる。図6のBは、比較例の特性を示している。
これに対し、本発明では、図1に示すように、メタルセパレータ18と拡散層13、16との間に金属多孔体34が設けられ、金属多孔体34はメタルセパレータ18と一体化されている。
金属多孔体34とメタルセパレータ18とは、一体化される。一体化は、たとえば溶接による。ただし、溶接に限るものではない。
一体化により金属多孔体34とメタルセパレータ18との間の導電性がよくなり、金属多孔体34とメタルセパレータ18との間の電圧降下とそれによる燃料電池の出力の低下が抑えられる。また、金属多孔体34分構成要素が1つ増えるが、金属多孔体34をメタルセパレータ18と一体化することにより、金属多孔体34とメタルセパレータ18とのずれや、スタック組み立て工数の増大を防止することができる。
金属多孔体34とメタルセパレータ18とは、一体化される。一体化は、たとえば溶接による。ただし、溶接に限るものではない。
一体化により金属多孔体34とメタルセパレータ18との間の導電性がよくなり、金属多孔体34とメタルセパレータ18との間の電圧降下とそれによる燃料電池の出力の低下が抑えられる。また、金属多孔体34分構成要素が1つ増えるが、金属多孔体34をメタルセパレータ18と一体化することにより、金属多孔体34とメタルセパレータ18とのずれや、スタック組み立て工数の増大を防止することができる。
金属多孔体34とメタルセパレータ18は、異種材料であっても同種材料であってもよい。好ましくは同種材料である方がよい。
金属多孔体34とメタルセパレータ18を溶接により一体化する場合は、金属多孔体34とメタルセパレータ18が同種材料とすることが望ましい。その理由は、溶接による金属多孔体34とメタルセパレータ18との一体化が容易になる。
金属多孔体34とメタルセパレータ18とを導電性接着剤で一体化する場合は、金属多孔体34とメタルセパレータ18は同種材料でなくてもよい。
金属多孔体34とメタルセパレータ18を溶接により一体化する場合は、金属多孔体34とメタルセパレータ18が同種材料とすることが望ましい。その理由は、溶接による金属多孔体34とメタルセパレータ18との一体化が容易になる。
金属多孔体34とメタルセパレータ18とを導電性接着剤で一体化する場合は、金属多孔体34とメタルセパレータ18は同種材料でなくてもよい。
金属多孔体34は、通気性を有しかつ導電性をもつ。金属多孔体34の剛性は、拡散層13、16より高い。これによって、金属多孔体34をメタルセパレータ18と拡散層13、16との間に設けることにより、セパレータ18のガス流路部位27、28に対応する部位での拡散層13、16と触媒層12、15との間の接触抵抗が増大する。金属多孔体34は、通気性、導電性、拡散層13、16より高い剛性をもつものであれば、如何なる材料、構造のものでもよいが、たとえば、金属メッシュ、金属発泡体、パンチングメタル、エキスパンドメタル、等は金属多孔体34を構成し得る。
メッシュの場合、線径を50〜300μm、空孔径を50〜300μmとすることが望ましい。50μm以上とする理由は、50μmより小であるとガスがメッシュ内を流れにくくなるからであり、300μm以下とする理由は、300μmより大であると目が粗くなり線同志の接触点が少なくなって電気抵抗が大となるからである。金属多孔体34がメッシュの場合、金属多孔体34の厚さは、たとえば、50〜300μm±2割程度である。
メッシュの編み方は色々あり、平網、綾織り、畳織り、など何れでもよい。
メッシュの編み方は色々あり、平網、綾織り、畳織り、など何れでもよい。
パンチングメタルは、金属板に複数の孔を開けて多孔体にしたものである。エキスパンドメタルは金属板等に複数のスリットを互い違いにつけてスリットと直交する方向に引っ張ることで複数の目をつくり多孔体にしたものである。パンチメタルの場合も、エキスパンドメタルの場合も、空孔径が50〜300μmとすることが望ましい。金属多孔体34がパンチングメタルまたはエキスパンドメタルの場合、孔以外の部分の金属多孔体34の厚さは20〜30μm程度に薄くできる。
つぎに、本発明の作用・効果を説明する。
まず、メタルセパレータ18と拡散層13、16との間に金属多孔体34を設けたので、セパレータ18のガス流路27、28に対応する部分においても、拡散層13、16と触媒層12、15との間に十分な接触力が得られる。また、拡散層13、16を設けたまま金属多孔体34を設けたので、カーボン製拡散層13、16がクッションとなって、金属多孔体34がMEAを傷つけることを抑制できる。もしも拡散層を金属多孔体にして金属多孔体が直接MEAに接すると金属多孔体がにめり込んでMEAを傷つけるが、本発明では拡散層13、16が金属多孔体34とMEAの間に存在するので、金属多孔体34がMEAを傷つけることを抑制できる。また、金属多孔体34をメタルセパレータ18と一体化したので、金属多孔体34とメタルセパレータ18間の接触抵抗は低い。もしも、金属多孔体34がメタルセパレータ18と一体でなく単に接触している場合は、金属多孔体34とメタルセパレータ18間の接触抵抗が大で、燃料電池の出力を降下させるであろうが、本発明ではそのような燃料電池の出力降下を抑制することができる。その結果、図6に示すように、燃料電池の出力電圧が向上する。とくに、高電流密度域で、顕著にその効果が現れる、すなわち、有効面積が増加したようになる。
まず、メタルセパレータ18と拡散層13、16との間に金属多孔体34を設けたので、セパレータ18のガス流路27、28に対応する部分においても、拡散層13、16と触媒層12、15との間に十分な接触力が得られる。また、拡散層13、16を設けたまま金属多孔体34を設けたので、カーボン製拡散層13、16がクッションとなって、金属多孔体34がMEAを傷つけることを抑制できる。もしも拡散層を金属多孔体にして金属多孔体が直接MEAに接すると金属多孔体がにめり込んでMEAを傷つけるが、本発明では拡散層13、16が金属多孔体34とMEAの間に存在するので、金属多孔体34がMEAを傷つけることを抑制できる。また、金属多孔体34をメタルセパレータ18と一体化したので、金属多孔体34とメタルセパレータ18間の接触抵抗は低い。もしも、金属多孔体34がメタルセパレータ18と一体でなく単に接触している場合は、金属多孔体34とメタルセパレータ18間の接触抵抗が大で、燃料電池の出力を降下させるであろうが、本発明ではそのような燃料電池の出力降下を抑制することができる。その結果、図6に示すように、燃料電池の出力電圧が向上する。とくに、高電流密度域で、顕著にその効果が現れる、すなわち、有効面積が増加したようになる。
金属多孔体34とメタルセパレータ18が同種材料からなる場合、溶接は容易である。たとえば、金属多孔体34とメタルセパレータ18が両者ともステンレスからなる場合は、金属多孔体34とメタルセパレータ18との溶接は容易である。
金属多孔体34とメタルセパレータ18との一体化が溶接による場合は、金属多孔体34とメタルセパレータ18との間の導電性は良好である。
金属多孔体34とメタルセパレータ18との一体化が溶接による場合は、金属多孔体34とメタルセパレータ18との間の導電性は良好である。
つぎに、本発明の各実施例に特有な構成、作用・効果を説明する。
〔実施例1〕
本発明の実施例1では、図1に示すように、金属多孔体34をメタルセパレータ18のガス流路27、28内には設けない。金属多孔体34は、一定厚みのシート状に形成されて、MEAとメタルセパレータ18との間に配置され、メタルセパレータの流路の凸部で押さえられる。したがって、金属多孔体34は、メタルセパレータ18のガス流路27、28内に突出することもなく、ガス流路27、28内を充填しない。
〔実施例1〕
本発明の実施例1では、図1に示すように、金属多孔体34をメタルセパレータ18のガス流路27、28内には設けない。金属多孔体34は、一定厚みのシート状に形成されて、MEAとメタルセパレータ18との間に配置され、メタルセパレータの流路の凸部で押さえられる。したがって、金属多孔体34は、メタルセパレータ18のガス流路27、28内に突出することもなく、ガス流路27、28内を充填しない。
本発明の実施例1の作用・効果については、金属多孔体34は、ガス流路部位ではメタルセパレータ18から押されず、リブ部位でメタルセパレータ18から押される。金属多孔体34は、拡散層13、16より大きい剛性(セル面と直交する方向の曲げ剛性)をもつので、リブ部位でメタルセパレータ18から押されるだけで、ガス流路部位でも拡散層13、16を押し、拡散層13、16と触媒層12、15との間の接触力を、金属多孔体34を設けない比較例の場合より、大にすることができ、拡散層13、16と触媒層12、15との間の接触抵抗を、金属多孔体34を設けない比較例の場合より、小にすることができる。その結果、金属多孔体34を設けない比較例の場合に比べて、図6の特性Aに示すように、燃料電池出力電圧を改善(大きく)することができる。ただし、図6は、線径100μmの金属メッシュを金属多孔体34として用いた時の性能評価を示す。
〔実施例2〕
本発明の実施例2では、図2に示すように、金属多孔体34をメタルセパレータ18のガス流路27、28内に充填するように設ける。ガス流路27、28内で燃料ガス、酸化ガスは金属多孔体34中を流れる。そのため、燃料ガス、酸化ガスの流れ抵抗は若干増加する。金属多孔体34は固いので、金属多孔体34は、スタック締結時のメタルセパレータ18の押力(セル積層方向の押力)を、メタルセパレータ18のガス流路27、28部位においても、拡散層13、16に伝える。
本発明の実施例2では、図2に示すように、金属多孔体34をメタルセパレータ18のガス流路27、28内に充填するように設ける。ガス流路27、28内で燃料ガス、酸化ガスは金属多孔体34中を流れる。そのため、燃料ガス、酸化ガスの流れ抵抗は若干増加する。金属多孔体34は固いので、金属多孔体34は、スタック締結時のメタルセパレータ18の押力(セル積層方向の押力)を、メタルセパレータ18のガス流路27、28部位においても、拡散層13、16に伝える。
本発明の実施例2の作用・効果については、金属多孔体34を、メタルセパレータ18のガス流路27、28内にも設けたので、セパレータ18のガス流路27、28に対応する部分においても、メタルセパレータ18は金属多孔体34を介して拡散層13、16を強く押すことができ、拡散層13、16と触媒層12、15との間に十分な接触力が得られ、金属多孔体34を設けない比較例の場合より、接触抵抗を減らすことができる。その結果、金属多孔体34を設けない比較例の場合に比べて、図6に示すように、燃料電池出力電圧を改善(大きく)することができる。
図2ではセパレータの凸部としてのリブと拡散層間の金属多孔体34を設ける他に、ガス流路内にも金属多孔体34を充填する構造としたが、これに限定されない。他の実施例としてリブと拡散層間の金属多孔体34を省略または部分的に省略してもよい。
図2ではセパレータの凸部としてのリブと拡散層間の金属多孔体34を設ける他に、ガス流路内にも金属多孔体34を充填する構造としたが、これに限定されない。他の実施例としてリブと拡散層間の金属多孔体34を省略または部分的に省略してもよい。
10 (固体高分子電解質型)燃料電池
11 電解質膜
12、15 触媒層
13、16 拡散層
14 電極(アノード、燃料極)
17 電極(カソード、空気極)
18 セパレータ
19 セル
20 ターミナル
21 インシュレータ
22 エンドプレート
23 スタック
24 締結部材(テンションプレート)
25 ボルト
26 冷媒流路(冷却水流路)
27 燃料ガス流路
28 酸化ガス流路
29 冷媒マニホールド(冷却水マニホールド)
30 燃料ガスマニホールド
31 酸化ガスマニホールド
32 ガスケット
33 接着剤(接着剤層)
34 金属多孔体
11 電解質膜
12、15 触媒層
13、16 拡散層
14 電極(アノード、燃料極)
17 電極(カソード、空気極)
18 セパレータ
19 セル
20 ターミナル
21 インシュレータ
22 エンドプレート
23 スタック
24 締結部材(テンションプレート)
25 ボルト
26 冷媒流路(冷却水流路)
27 燃料ガス流路
28 酸化ガス流路
29 冷媒マニホールド(冷却水マニホールド)
30 燃料ガスマニホールド
31 酸化ガスマニホールド
32 ガスケット
33 接着剤(接着剤層)
34 金属多孔体
Claims (5)
- メタルセパレータと拡散層を備えた燃料電池であって、前記メタルセパレータと前記拡散層との間に金属多孔体を設け、該金属多孔体をメタルセパレータと一体化した燃料電池。
- 前記金属多孔体と前記メタルセパレータが同種材料からなる請求項1記載の燃料電池。
- 前記金属多孔体と前記メタルセパレータとを溶接により一体化した請求項1記載の燃料電池。
- 前記金属多孔体を前記メタルセパレータのガス流路内には設けないようにした請求項1記載の燃料電池。
- 前記金属多孔体を前記メタルセパレータのガス流路内にも設けた請求項1記載の燃料電池。
Priority Applications (1)
| Application Number | Priority Date | Filing Date | Title |
|---|---|---|---|
| JP2004105068A JP2005293944A (ja) | 2004-03-31 | 2004-03-31 | 燃料電池 |
Applications Claiming Priority (1)
| Application Number | Priority Date | Filing Date | Title |
|---|---|---|---|
| JP2004105068A JP2005293944A (ja) | 2004-03-31 | 2004-03-31 | 燃料電池 |
Publications (1)
| Publication Number | Publication Date |
|---|---|
| JP2005293944A true JP2005293944A (ja) | 2005-10-20 |
Family
ID=35326664
Family Applications (1)
| Application Number | Title | Priority Date | Filing Date |
|---|---|---|---|
| JP2004105068A Withdrawn JP2005293944A (ja) | 2004-03-31 | 2004-03-31 | 燃料電池 |
Country Status (1)
| Country | Link |
|---|---|
| JP (1) | JP2005293944A (ja) |
Cited By (11)
| Publication number | Priority date | Publication date | Assignee | Title |
|---|---|---|---|---|
| JP2007188834A (ja) * | 2006-01-16 | 2007-07-26 | Toyota Motor Corp | 燃料電池構成部品、燃料電池構成部品の製造方法 |
| WO2008153200A1 (ja) * | 2007-06-15 | 2008-12-18 | Toyota Jidosha Kabushiki Kaisha | 燃料電池 |
| JP2009009731A (ja) * | 2007-06-26 | 2009-01-15 | Nissan Motor Co Ltd | 燃料電池構成部材 |
| CN101736359B (zh) * | 2008-11-11 | 2012-02-15 | 新奥科技发展有限公司 | 一种固体聚合物电解质电解槽 |
| US8298716B2 (en) | 2006-03-14 | 2012-10-30 | Toyota Jidosha Kabushiki Kaisha | Method of manufacturing seal-integrated type membrane electrode assembly |
| WO2013137240A1 (ja) * | 2012-03-14 | 2013-09-19 | 日産自動車株式会社 | 固体高分子形燃料電池用膜電極接合体 |
| US20150044593A1 (en) * | 2013-04-15 | 2015-02-12 | Asahi Glass Company, Limited | Polymer electrolyte fuel cell |
| WO2015072584A1 (ja) * | 2013-11-18 | 2015-05-21 | 国立大学法人山梨大学 | 燃料電池のためのセパレータおよびセル・スタック |
| CN105006582A (zh) * | 2014-04-22 | 2015-10-28 | 现代自动车株式会社 | 隔板和具有隔板的燃料电池 |
| JP7673464B2 (ja) | 2021-03-30 | 2025-05-09 | 日産自動車株式会社 | 燃料電池および燃料電池の製造方法 |
| DE102011085069B4 (de) * | 2010-11-05 | 2025-10-02 | Hyundai Motor Company | Metallischer poröser Körper für eine Brennstoffzelle |
-
2004
- 2004-03-31 JP JP2004105068A patent/JP2005293944A/ja not_active Withdrawn
Cited By (18)
| Publication number | Priority date | Publication date | Assignee | Title |
|---|---|---|---|---|
| JP2007188834A (ja) * | 2006-01-16 | 2007-07-26 | Toyota Motor Corp | 燃料電池構成部品、燃料電池構成部品の製造方法 |
| US8298716B2 (en) | 2006-03-14 | 2012-10-30 | Toyota Jidosha Kabushiki Kaisha | Method of manufacturing seal-integrated type membrane electrode assembly |
| WO2008153200A1 (ja) * | 2007-06-15 | 2008-12-18 | Toyota Jidosha Kabushiki Kaisha | 燃料電池 |
| JP2009009731A (ja) * | 2007-06-26 | 2009-01-15 | Nissan Motor Co Ltd | 燃料電池構成部材 |
| CN101736359B (zh) * | 2008-11-11 | 2012-02-15 | 新奥科技发展有限公司 | 一种固体聚合物电解质电解槽 |
| DE102011085069B4 (de) * | 2010-11-05 | 2025-10-02 | Hyundai Motor Company | Metallischer poröser Körper für eine Brennstoffzelle |
| JPWO2013137240A1 (ja) * | 2012-03-14 | 2015-08-03 | 日産自動車株式会社 | 固体高分子形燃料電池用膜電極接合体 |
| US9496562B2 (en) | 2012-03-14 | 2016-11-15 | Nisson Motor Co., Ltd. | Electrode assembly for solid polymer fuel cell |
| WO2013137240A1 (ja) * | 2012-03-14 | 2013-09-19 | 日産自動車株式会社 | 固体高分子形燃料電池用膜電極接合体 |
| US20150044593A1 (en) * | 2013-04-15 | 2015-02-12 | Asahi Glass Company, Limited | Polymer electrolyte fuel cell |
| US10547062B2 (en) * | 2013-04-15 | 2020-01-28 | AGC Inc. | Polymer electrolyte fuel cell |
| WO2015072584A1 (ja) * | 2013-11-18 | 2015-05-21 | 国立大学法人山梨大学 | 燃料電池のためのセパレータおよびセル・スタック |
| US20160260987A1 (en) * | 2013-11-18 | 2016-09-08 | University Of Yamanashi | Fuel-cell separator and cell stack |
| JPWO2015072584A1 (ja) * | 2013-11-18 | 2017-03-16 | 国立大学法人山梨大学 | 燃料電池のためのセパレータおよびセル・スタック |
| US10566645B2 (en) | 2013-11-18 | 2020-02-18 | University Of Yamanashi | Fuel-cell separator with a fluid supply and diffusion layer formed by a porous layer on at least one face of a flat metal plate and cell stack that includes the fuel-cell separator |
| CN105006582A (zh) * | 2014-04-22 | 2015-10-28 | 现代自动车株式会社 | 隔板和具有隔板的燃料电池 |
| JP2015207549A (ja) * | 2014-04-22 | 2015-11-19 | 現代自動車株式会社Hyundaimotor Company | 分離板およびこれを含む燃料電池 |
| JP7673464B2 (ja) | 2021-03-30 | 2025-05-09 | 日産自動車株式会社 | 燃料電池および燃料電池の製造方法 |
Similar Documents
| Publication | Publication Date | Title |
|---|---|---|
| JP3972832B2 (ja) | 燃料電池 | |
| JP3981623B2 (ja) | 燃料電池スタック | |
| JP2005293944A (ja) | 燃料電池 | |
| JP4118123B2 (ja) | 燃料電池スタック | |
| JP4828841B2 (ja) | 燃料電池 | |
| JP2007250353A (ja) | 燃料電池 | |
| JP2006024404A (ja) | 燃料電池 | |
| JP2005166304A (ja) | 燃料電池 | |
| JP2007250297A (ja) | 燃料電池 | |
| JP2009117221A (ja) | スタック構造を有する燃料電池 | |
| JP2007179876A (ja) | 燃料電池 | |
| JP4821111B2 (ja) | 燃料電池 | |
| JP2009094046A (ja) | 燃料電池 | |
| JP2008078071A (ja) | 燃料電池スタック | |
| JP4726182B2 (ja) | 燃料電池スタック | |
| JP2007059187A (ja) | 燃料電池 | |
| JP4581702B2 (ja) | 燃料電池 | |
| CN111864226A (zh) | 燃料电池结构、燃料电池堆和车辆 | |
| JP2003297395A (ja) | 燃料電池 | |
| JP2006049177A (ja) | 燃料電池用セパレータ | |
| JP4507650B2 (ja) | 燃料電池 | |
| JP2005166420A (ja) | 燃料電池スタック | |
| JP2006012462A (ja) | 燃料電池のシール構造 | |
| JP4656841B2 (ja) | 燃料電池用セパレータ | |
| JP2006164545A (ja) | 燃料電池スタック |
Legal Events
| Date | Code | Title | Description |
|---|---|---|---|
| A621 | Written request for application examination |
Free format text: JAPANESE INTERMEDIATE CODE: A621 Effective date: 20061127 |
|
| A761 | Written withdrawal of application |
Free format text: JAPANESE INTERMEDIATE CODE: A761 Effective date: 20081224 |