JP2005293762A - 複合型薄膜磁気ヘッド - Google Patents
複合型薄膜磁気ヘッド Download PDFInfo
- Publication number
- JP2005293762A JP2005293762A JP2004109716A JP2004109716A JP2005293762A JP 2005293762 A JP2005293762 A JP 2005293762A JP 2004109716 A JP2004109716 A JP 2004109716A JP 2004109716 A JP2004109716 A JP 2004109716A JP 2005293762 A JP2005293762 A JP 2005293762A
- Authority
- JP
- Japan
- Prior art keywords
- layer
- shield layer
- head element
- magnetic pole
- write
- Prior art date
- Legal status (The legal status is an assumption and is not a legal conclusion. Google has not performed a legal analysis and makes no representation as to the accuracy of the status listed.)
- Withdrawn
Links
- 239000010409 thin film Substances 0.000 title claims abstract description 45
- 239000002131 composite material Substances 0.000 title claims abstract description 43
- 239000003990 capacitor Substances 0.000 claims abstract description 34
- 230000001939 inductive effect Effects 0.000 claims abstract description 15
- 239000004020 conductor Substances 0.000 claims description 33
- 230000000694 effects Effects 0.000 claims description 12
- VYPSYNLAJGMNEJ-UHFFFAOYSA-N Silicium dioxide Chemical compound O=[Si]=O VYPSYNLAJGMNEJ-UHFFFAOYSA-N 0.000 claims description 2
- 229910052814 silicon oxide Inorganic materials 0.000 claims description 2
- 239000010410 layer Substances 0.000 description 192
- 230000003071 parasitic effect Effects 0.000 description 34
- 238000010586 diagram Methods 0.000 description 12
- 239000010408 film Substances 0.000 description 12
- 230000004888 barrier function Effects 0.000 description 11
- 230000001133 acceleration Effects 0.000 description 10
- 230000006866 deterioration Effects 0.000 description 8
- 239000011229 interlayer Substances 0.000 description 7
- 230000008878 coupling Effects 0.000 description 6
- 238000010168 coupling process Methods 0.000 description 6
- 238000005859 coupling reaction Methods 0.000 description 6
- 230000001965 increasing effect Effects 0.000 description 6
- 238000009792 diffusion process Methods 0.000 description 5
- 239000011810 insulating material Substances 0.000 description 4
- 239000002184 metal Substances 0.000 description 4
- 229910004298 SiO 2 Inorganic materials 0.000 description 3
- 239000000758 substrate Substances 0.000 description 3
- 101000878595 Arabidopsis thaliana Squalene synthase 1 Proteins 0.000 description 2
- 239000000725 suspension Substances 0.000 description 2
- 230000015556 catabolic process Effects 0.000 description 1
- 238000007796 conventional method Methods 0.000 description 1
- 230000002542 deteriorative effect Effects 0.000 description 1
- 238000005516 engineering process Methods 0.000 description 1
- 230000017525 heat dissipation Effects 0.000 description 1
- 230000007246 mechanism Effects 0.000 description 1
- 238000000034 method Methods 0.000 description 1
- 238000012986 modification Methods 0.000 description 1
- 230000004048 modification Effects 0.000 description 1
- 230000009467 reduction Effects 0.000 description 1
Images
Classifications
-
- G—PHYSICS
- G11—INFORMATION STORAGE
- G11B—INFORMATION STORAGE BASED ON RELATIVE MOVEMENT BETWEEN RECORD CARRIER AND TRANSDUCER
- G11B5/00—Recording by magnetisation or demagnetisation of a record carrier; Reproducing by magnetic means; Record carriers therefor
- G11B5/127—Structure or manufacture of heads, e.g. inductive
- G11B5/33—Structure or manufacture of flux-sensitive heads, i.e. for reproduction only; Combination of such heads with means for recording or erasing only
- G11B5/39—Structure or manufacture of flux-sensitive heads, i.e. for reproduction only; Combination of such heads with means for recording or erasing only using magneto-resistive devices or effects
- G11B5/3903—Structure or manufacture of flux-sensitive heads, i.e. for reproduction only; Combination of such heads with means for recording or erasing only using magneto-resistive devices or effects using magnetic thin film layers or their effects, the films being part of integrated structures
- G11B5/3906—Details related to the use of magnetic thin film layers or to their effects
- G11B5/3909—Arrangements using a magnetic tunnel junction
-
- B—PERFORMING OPERATIONS; TRANSPORTING
- B82—NANOTECHNOLOGY
- B82Y—SPECIFIC USES OR APPLICATIONS OF NANOSTRUCTURES; MEASUREMENT OR ANALYSIS OF NANOSTRUCTURES; MANUFACTURE OR TREATMENT OF NANOSTRUCTURES
- B82Y10/00—Nanotechnology for information processing, storage or transmission, e.g. quantum computing or single electron logic
-
- B—PERFORMING OPERATIONS; TRANSPORTING
- B82—NANOTECHNOLOGY
- B82Y—SPECIFIC USES OR APPLICATIONS OF NANOSTRUCTURES; MEASUREMENT OR ANALYSIS OF NANOSTRUCTURES; MANUFACTURE OR TREATMENT OF NANOSTRUCTURES
- B82Y25/00—Nanomagnetism, e.g. magnetoimpedance, anisotropic magnetoresistance, giant magnetoresistance or tunneling magnetoresistance
-
- G—PHYSICS
- G11—INFORMATION STORAGE
- G11B—INFORMATION STORAGE BASED ON RELATIVE MOVEMENT BETWEEN RECORD CARRIER AND TRANSDUCER
- G11B5/00—Recording by magnetisation or demagnetisation of a record carrier; Reproducing by magnetic means; Record carriers therefor
- G11B5/127—Structure or manufacture of heads, e.g. inductive
- G11B5/33—Structure or manufacture of flux-sensitive heads, i.e. for reproduction only; Combination of such heads with means for recording or erasing only
- G11B5/39—Structure or manufacture of flux-sensitive heads, i.e. for reproduction only; Combination of such heads with means for recording or erasing only using magneto-resistive devices or effects
- G11B5/3903—Structure or manufacture of flux-sensitive heads, i.e. for reproduction only; Combination of such heads with means for recording or erasing only using magneto-resistive devices or effects using magnetic thin film layers or their effects, the films being part of integrated structures
- G11B5/3906—Details related to the use of magnetic thin film layers or to their effects
- G11B5/3912—Arrangements in which the active read-out elements are transducing in association with active magnetic shields, e.g. magnetically coupled shields
-
- G—PHYSICS
- G11—INFORMATION STORAGE
- G11B—INFORMATION STORAGE BASED ON RELATIVE MOVEMENT BETWEEN RECORD CARRIER AND TRANSDUCER
- G11B5/00—Recording by magnetisation or demagnetisation of a record carrier; Reproducing by magnetic means; Record carriers therefor
- G11B5/127—Structure or manufacture of heads, e.g. inductive
- G11B5/33—Structure or manufacture of flux-sensitive heads, i.e. for reproduction only; Combination of such heads with means for recording or erasing only
- G11B5/39—Structure or manufacture of flux-sensitive heads, i.e. for reproduction only; Combination of such heads with means for recording or erasing only using magneto-resistive devices or effects
- G11B5/3903—Structure or manufacture of flux-sensitive heads, i.e. for reproduction only; Combination of such heads with means for recording or erasing only using magneto-resistive devices or effects using magnetic thin film layers or their effects, the films being part of integrated structures
- G11B5/3967—Composite structural arrangements of transducers, e.g. inductive write and magnetoresistive read
-
- G—PHYSICS
- G11—INFORMATION STORAGE
- G11B—INFORMATION STORAGE BASED ON RELATIVE MOVEMENT BETWEEN RECORD CARRIER AND TRANSDUCER
- G11B5/00—Recording by magnetisation or demagnetisation of a record carrier; Reproducing by magnetic means; Record carriers therefor
- G11B5/127—Structure or manufacture of heads, e.g. inductive
- G11B5/33—Structure or manufacture of flux-sensitive heads, i.e. for reproduction only; Combination of such heads with means for recording or erasing only
- G11B5/39—Structure or manufacture of flux-sensitive heads, i.e. for reproduction only; Combination of such heads with means for recording or erasing only using magneto-resistive devices or effects
- G11B2005/3996—Structure or manufacture of flux-sensitive heads, i.e. for reproduction only; Combination of such heads with means for recording or erasing only using magneto-resistive devices or effects large or giant magnetoresistive effects [GMR], e.g. as generated in spin-valve [SV] devices
Landscapes
- Engineering & Computer Science (AREA)
- Chemical & Material Sciences (AREA)
- Nanotechnology (AREA)
- Manufacturing & Machinery (AREA)
- Crystallography & Structural Chemistry (AREA)
- Physics & Mathematics (AREA)
- Mathematical Physics (AREA)
- Theoretical Computer Science (AREA)
- Magnetic Heads (AREA)
Abstract
【課題】 書込み側及び読出し側間のクロストークを大幅に低減することが可能なCPP構造のMR読出しヘッド素子を備えた複合型薄膜磁気ヘッドを提供する。
【解決手段】 上部シールド層、下部シールド層、並びに上部シールド層及び下部シールド層を介して積層面と垂直の方向にセンス電流が流れるMR層を有するMR読出しヘッド素子と、このMR読出しヘッド素子上に形成されており、上部磁極層、先端部が上部磁極層の先端部に記録ギャップ層を介して対向する下部磁極層、及び書込みコイルを有するインダクティブ書込みヘッド素子とを備えており、書込みコイルの両端と下部シールド層との間に第1及び第2の補償キャパシタ手段がそれぞれ形成されている。
【選択図】 図8
【解決手段】 上部シールド層、下部シールド層、並びに上部シールド層及び下部シールド層を介して積層面と垂直の方向にセンス電流が流れるMR層を有するMR読出しヘッド素子と、このMR読出しヘッド素子上に形成されており、上部磁極層、先端部が上部磁極層の先端部に記録ギャップ層を介して対向する下部磁極層、及び書込みコイルを有するインダクティブ書込みヘッド素子とを備えており、書込みコイルの両端と下部シールド層との間に第1及び第2の補償キャパシタ手段がそれぞれ形成されている。
【選択図】 図8
Description
本発明は、インダクティブ書込みヘッド素子及び積層面と垂直の方向にセンス電流を流すCPP(Current Perpendicular to Plane)構造の磁気抵抗効果(MR)読出しヘッド素子を備えた複合型薄膜磁気ヘッドに関する。
近年、ハードディスクドライブ装置(HDD)の大容量化及び小型化が要求されており、これに伴って磁気ディスクの高密度化及び磁気ヘッドを含むヘッドサスペンションアセンブリ(HGA)の小型化が図られている。
HGAの小型化が進むと問題となるのが、書込み側と読出し側との間のクロストークである。特に、磁気ヘッド素子の小型化が進むと、放熱特性が悪化するのみならず素子断面積の減少により素子を流れる電流密度が増大し、また、書込み周波数の高周波化が図られることにより、書込みヘッド素子に印加される電圧が急峻に変化する。その結果、書込み側から読出し側へのクロストークが生じると、読出しヘッド素子の特性が劣化し易くなる。特にTMR読出しヘッド素子では、クロストーク電圧によりバリア層にピンホールが形成されて絶縁破壊が生じ、素子抵抗が低下して読出し特性が大幅に劣化してしまう。
非特許文献1には、サスペンション上に形成された書込み側トレース導体と読出し側トレース導体との間の結合メカニズムを解析し、両者間のクロストークを低減させる技術が提案されている。この文献では、クロストークのほとんどが、書込み側トレース導体及び読出し側トレース導体間の結合に起因するものであり、磁気ヘッド内の内部結合には起因しないと結論している。
Klass B.Klaassen et al., "Write-to-Read Coupling", IEEE Trans. Magn. Vol.30, pp61-67, January 2002
しかしながら、本願発明者等は、書込み側トレース導体及び読出し側トレース導体間の結合以外に、薄膜磁気ヘッド内部における結合も書込み側及び読出し側間のクロストークに大きな影響を与えるのではないかと考え、解析及び検討を行った結果、本発明に至ったのである。
即ち、本発明の目的は、書込み側及び読出し側間のクロストークを大幅に低減することが可能なCPP構造のMR読出しヘッド素子を備えた複合型薄膜磁気ヘッドを提供することにある。
本発明によれば、上部シールド層、下部シールド層、並びに上部シールド層及び下部シールド層を介して積層面と垂直の方向にセンス電流が流れるMR層を有するMR読出しヘッド素子と、このMR読出しヘッド素子上に形成されており、上部磁極層、先端部が上部磁極層の先端部に記録ギャップ層を介して対向する下部磁極層、及び書込みコイルを有するインダクティブ書込みヘッド素子とを備えており、書込みコイルと上部シールド層との間のキャパシタンスC12が0.1pF以下となるように構成された複合型薄膜磁気ヘッドが提供される。
CPP構造のMR読出しヘッド素子では、上部シールド層及び下部シールド層がこのMR読出しヘッド素子の電極として用いられる。従って、インダクティブ書込みヘッド素子の書込みコイルと上部シールド層との間に生じる寄生キャパシタンスC12は、書込みコイルと上部シールド層との間に生じる寄生キャパシタンスC13より必然的に大きくなる。このため、従来技術によると、MR読出しヘッド素子の両端にどうしてもクロストーク電圧が発生してしまうのである。しかしながら、寄生キャパシタンスC12が0.1pF以下となるように構成すれば、寄生キャパシタンスC12と寄生キャパシタンスC13との差がその分小さくなり、発生するクロストーク電圧を低減することができる。
このように書込みヘッド素子から読出しヘッド素子への直接的なクロストーク電圧を低減することより、TMR読出しヘッド素子では、そのバリア層にピンホールが形成されて素子抵抗が低下し読出し特性が劣化することを確実に防止できる。また、CPP構造のGMR読出しヘッド素子では、エレクトロマイグレーションの加速によって生じる読出しヘッド素子の短寿命化を防止でき、金属原子の層間拡散の加速によって生じる磁気特性劣化を防止することができる。
キャパシタンスC12が0.1pF以下となるように、書込みコイル及び下部磁極層間の距離及び対向面積と、下部磁極層及び上部シールド層間の距離及び対向面積とが設定されていることも好ましい。
キャパシタンスC12が0.1pF以下となるように、書込みコイル及び下部磁極層間と、下部磁極層及び上部シールド層間とに低誘電率の絶縁層が形成されていることも好ましい。この低誘電率の絶縁層が酸化シリコン(SiO2)による層であるかもしれない。
本発明によれば、さらに、上部シールド層、下部シールド層、並びに上部シールド層及び下部シールド層を介して積層面と垂直の方向にセンス電流が流れるMR層を有するMR読出しヘッド素子と、このMR読出しヘッド素子上に形成されており、上部磁極層、先端部が上部磁極層の先端部に記録ギャップ層を介して対向する下部磁極層、及び書込みコイルを有するインダクティブ書込みヘッド素子とを備えており、書込みコイルと上部シールド層との間のキャパシタンスC12と書込みコイルと下部シールド層との間のキャパシタンスC13とが互いに等しくなるように補償キャパシタ手段を設けた複合型薄膜磁気ヘッドが提供される。
前述したように、CPP構造のMR読出しヘッド素子では、寄生キャパシタンスC12が寄生キャパシタンスC13より必然的に大きくなるが、補償キャパシタ手段を設けてこれら寄生キャパシタンスC12と寄生キャパシタンスC13とが等しくなるようにすることによって、発生するクロストーク電圧を低減又は抑止することができる。
このように書込みヘッド素子から読出しヘッド素子への直接的なクロストーク電圧を低減することより、TMR読出しヘッド素子では、そのバリア層にピンホールが形成されて素子抵抗が低下し読出し特性が劣化することを確実に防止できる。また、CPP構造のGMR読出しヘッド素子では、エレクトロマイグレーションの加速によって生じる読出しヘッド素子の短寿命化を防止でき、金属原子の層間拡散の加速によって生じる磁気特性劣化を防止することができる。
補償キャパシタ手段が、キャパシタンスC12とキャパシタンスC13とが互いに等しくなるように、下部磁極層と下部シールド層との間に形成された補償キャパシタ手段であることが好ましい。この補償キャパシタ手段が、絶縁層を介して互いに対向しており下部磁極層及び下部シールド層にそれぞれ電気的に接続された1対の導体層であることも好ましい。
下部磁極層及び上部シールド層間のキャパシタンスをC2とすると、補償キャパシタ手段のキャパシタンスCCOMPがCCOMP=C2から与えられることも好ましい。
本発明によれば、さらにまた、上部シールド層、下部シールド層、並びに上部シールド層及び下部シールド層を介して積層面と垂直の方向にセンス電流が流れるMR層を有するMR読出しヘッド素子と、このMR読出しヘッド素子上に形成されており、上部磁極層、先端部が上部磁極層の先端部に記録ギャップ層を介して対向する下部磁極層、及び書込みコイルを有するインダクティブ書込みヘッド素子とを備えており、書込みコイルの両端と下部シールド層との間に第1及び第2の補償キャパシタ手段がそれぞれ形成されている複合型薄膜磁気ヘッドが提供される。
前述したように、CPP構造のMR読出しヘッド素子では、寄生キャパシタンスC12が寄生キャパシタンスC13より必然的に大きくなるが、書込みコイルの両端と下部シールド層との間に第1及び第2の補償キャパシタ手段を設けて寄生キャパシタンスC13を実質的に大きくすることにより、これら寄生キャパシタンスC12と寄生キャパシタンスC13とを互いに等しくすることができる。従って、発生するクロストーク電圧を低減又は抑止することができる。
このように書込みヘッド素子から読出しヘッド素子への直接的なクロストーク電圧を低減することより、TMR読出しヘッド素子では、そのバリア層にピンホールが形成されて素子抵抗が低下し読出し特性が劣化することを確実に防止できる。また、CPP構造のGMR読出しヘッド素子では、エレクトロマイグレーションの加速によって生じる読出しヘッド素子の短寿命化を防止でき、金属原子の層間拡散の加速によって生じる磁気特性劣化を防止することができる。
書込みコイル及び下部磁極層間のキャパシタンスをC1、下部磁極層及び上部シールド層間のキャパシタンスをC2とすると、第1及び第2の補償キャパシタ手段のキャパシタンスCCOMP1及びCCOMP2の各々が、1/2(1/C1+1/C2)〜1/(1/C1+1/C2)の範囲内の所定値であることが好ましい。
第1及び第2の補償キャパシタ手段のキャパシタンスCCOMP1及びCCOMP2が、互いに等しいことも好ましい。
書込みコイルの両端に電気的に接続された1対の書込みヘッド素子用リード導体をさらに備えており、第1及び第2の補償キャパシタ手段が、1対の書込みヘッド素子用リード導体と下部シールド層とが絶縁層のみを介して互いに重なり合う部分によって形成されていることも好ましい。
MR読出しヘッド素子が、巨大磁気抵抗効果(GMR)読出しヘッド素子か、又はトンネル磁気抵抗効果(TMR)読出しヘッド素子であることも好ましい。
本発明によれば、書込みヘッド素子から読出しヘッド素子への直接的なクロストーク電圧を低減することより、TMR読出しヘッド素子では、そのバリア層にピンホールが形成されて素子抵抗が低下し読出し特性が劣化することを確実に防止できる。また、CPP構造のGMR読出しヘッド素子では、エレクトロマイグレーションの加速によって生じる読出しヘッド素子の短寿命化を防止でき、金属原子の層間拡散の加速によって生じる磁気特性劣化を防止することができる。
図1は本発明の一実施形態における複合型薄膜磁気ヘッドの層構造を概略的に説明するために浮上面(ABS)側から見た断面図である。
同図に示すように、ヘッド素子部分は、図示しない基板上にこれも図示しない絶縁層を介して積層されたTMR読出しヘッド素子の下部電極層を兼用する下部シールド層(SF)10と、下部シールド層10上に積層されたTMR多層膜11と、このTMR多層膜11を囲む絶縁層12と、TMR多層膜11及び絶縁層12上に積層された上部電極層を兼用する上部シールド層(SS1)13と、上部シールド層13上に絶縁層14を介して積層されたインダクティブ書込みヘッド素子の下部磁極層(SS2)15と、記録ギャップ層16を介して下部磁極層15と対向する上部磁極層17とを含む層構成となっている。
TMR多層膜11は、図示されていないが、例えば、下地層、ピン層、ピンド層、トンネルバリア層、フリー層及びキャップ層が順次積層された多層構造となっている。
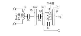
図2は、図1の複合型薄膜磁気ヘッドの概略的な等価回路図である。
同図において、C1はインダクティブ書込みヘッド素子の書込みコイル18と下部磁極層(SS2)15との間の寄生キャパシタンス、C2は下部磁極層15と上部シールド層(SS1)13との間の寄生キャパシタンス、C3は上部シールド層13と下部シールド層10との間の寄生キャパシタンスである。
本実施形態では、書込みコイル18と下部磁極層15との距離を大きくすること、両者間の対向面積を減らすこと、及び/又は両者の間に介在する絶縁層を誘電率の低い絶縁材料、例えばSiO2等で形成することによって、書込みコイル18と下部磁極層15との間の寄生キャパシタンスC1を減少させると共に、下部磁極層15と上部シールド層13との距離を大きくすること、両者間の対向面積を減らすこと、及び/又は両者の間に介在する絶縁層を誘電率の低い絶縁材料、例えばSiO2等で形成することによって、下部磁極層15と上部シールド層13との間の寄生キャパシタンスC2を減少させ、最終的に、書込みコイル18と上部シールド層13との間の寄生キャパシタンスC12が0.1pF以下となるように構成している。この場合、寄生キャパシタンスC12は、C12=1/(1/C1+1/C2)で与えられる。
図3は従来技術及び本実施形態の複合型薄膜磁気ヘッドの時間対クロストーク電圧特性図である。
同図(A)はC1=0.6pF、C2=2pF(C12=0.46pF)の場合に、書込み磁気ヘッド素子に書込み電圧を印加した際に読出しヘッド素子に現れるクロストーク電圧を示しており、同図(B)はC1=0.2pF、C2=0.2pF(C12=0.1pF)の場合のクロストーク電圧を示している。ただし、C3=0.4pFである。両図を比較すれば明らかのように、C12が0.1pF以下となるように層間距離、対向面積及び/又は絶縁材料を設定することにより、クロストーク電圧を大幅に低減可能であり、その結果、バリア層にピンホールが形成されて素子抵抗が低下し読出し特性が劣化することを確実に防止できる。
図4は本発明の他の実施形態における複合型薄膜磁気ヘッドの層構造を概略的に説明するためにABS側から見た断面図である。
同図に示すように、ヘッド素子部分は、図示しない基板上にこれも図示しない絶縁層を介して積層されたTMR読出しヘッド素子の下部電極層を兼用する下部シールド層(SF)40と、下部シールド層40上に積層されたTMR多層膜41と、このTMR多層膜41を囲む絶縁層42と、TMR多層膜41及び絶縁層42上に積層された上部電極層を兼用する上部シールド層(SS1)43と、上部シールド層43上に絶縁層44を介して積層されたインダクティブ書込みヘッド素子の下部磁極層(SS2)45と、記録ギャップ層46を介して下部磁極層45と対向する上部磁極層47とを含む層構成となっている。本実施形態では、さらに、導体層49が絶縁層50を介して導体層51と対向するように構成されており、この導体層49は下部シールド層40に、導体層51は下部磁極層45にそれぞれ電気的に接続されている。これら1対の導体層49及び51と絶縁層50とは、下部シールド層40及び下部磁極層45間に寄生キャパシタンスCCOMPを付加する補償キャパシタを構成している。
TMR多層膜41は、図示されていないが、例えば、下地層、ピン層、ピンド層、トンネルバリア層、フリー層及びキャップ層が順次積層された多層構造となっている。
図5は、図4の複合型薄膜磁気ヘッドの概略的な等価回路図である。
同図において、C1はインダクティブ書込みヘッド素子の書込みコイル48と下部磁極層(SS2)45との間の寄生キャパシタンス、C2は下部磁極層45と上部シールド層(SS1)43との間の寄生キャパシタンス、C3は上部シールド層43と下部シールド層40との間の寄生キャパシタンス、CCOMPは上述した補償キャパシタの寄生キャパシタンスである。
本実施形態では、導体層49及び51間の距離及び対向面積、並びに/又は絶縁層50の誘電率を調整することによって、補償キャパシタのキャパシタンスCCOMPを、CCOMP=C2となるように構成している。下部シールド層40及び下部磁極層45間に付加される寄生キャパシタンスCCOMPをこのような値に調整することによって、寄生キャパシタンスC12と寄生キャパシタンスC13とを等しくすることができ、その結果、発生するクロストーク電圧を低減又は抑止することができる。
図6は従来技術及び本実施形態の複合型薄膜磁気ヘッドの時間対クロストーク電圧特性図である。
同図(A)はCCOMP=0pF、C2=2pF(C12=0.48pF、C13=0.316pF)の場合に、書込み磁気ヘッド素子に書込み電圧を印加した際に読出しヘッド素子に現れるクロストーク電圧を示しており、同図(B)はCCOMP=C2=2pF(C12=C13=0.46pF)の場合のクロストーク電圧を示している。ただし、C1=0.6pF、C3=0.4pFである。両図を比較すれば明らかのように、C12=C13となるように、即ちCCOMP=C2となるように、層間距離、対向面積及び/又は絶縁材料を設定した補償キャパシタを付加することにより、クロストーク電圧を大幅に低減又は抑止可能であり、その結果、バリア層にピンホールが形成されて素子抵抗が低下し読出し特性が劣化することを確実に防止できる。
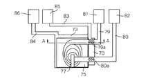
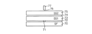
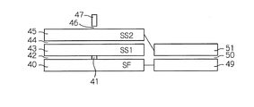
図7は本発明のさらに他の実施形態における複合型薄膜磁気ヘッドの層構造を概略的に説明するためにABS側から見た断面図であり、図8はこの複合型薄膜磁気ヘッドを搭載する磁気ヘッドスライダを素子形成面側から見た立面図であり、図9はこの複合型薄膜磁気ヘッドのリード導体部分の層構造を説明するためにABS側から見たA−A線断面図である。
図7に示すように、ヘッド素子部分は図1の構成と同様に、図示しない基板上にこれも図示しない絶縁層を介して積層されたTMR読出しヘッド素子の下部電極層を兼用する下部シールド層(SF)70と、下部シールド層70上に積層されたTMR多層膜71と、このTMR多層膜71を囲む絶縁層72と、TMR多層膜71及び絶縁層72上に積層された上部電極層を兼用する上部シールド層(SS1)73と、上部シールド層73上に絶縁層74を介して積層されたインダクティブ書込みヘッド素子の下部磁極層(SS2)75と、記録ギャップ層76を介して下部磁極層75と対向する上部磁極層77とを含む層構成となっている。
TMR多層膜71は、図示されていないが、例えば、下地層、ピン層、ピンド層、トンネルバリア層、フリー層及びキャップ層が順次積層された多層構造となっている。
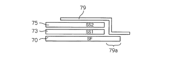
図8において、78は書込みコイル、79及び80は書込みコイル78の両端にそれぞれの一端が電気的に接続されている1対の書込みヘッド素子用リード導体、81及び82は1対の書込みヘッド素子用リード導体79及び80それぞれの他端に電気的に接続されている1対の書込みヘッド素子用端子パッド、83及び84はTMR層71の両端にそれぞれの一端が電気的に接続されている1対の読出しヘッド素子用リード導体、85及び86は1対の読出しヘッド素子用リード導体83及び84それぞれの他端に電気的に接続されている1対の読出しヘッド素子用端子パッドを示している。
図9に示すように、書込みヘッド素子用リード導体79の部分79aは、下部シールド層(SF)70と、絶縁層72のみを介して重なって即ち直接的に対向している。また、書込みヘッド素子用リード導体80の部分80aも、下部シールド層(SF)70と、絶縁層72のみを介して重なって即ち直接的に対向している。
このような重なり部分79a及び80aの存在により、下部シールド層70と書込みコイル78の両端(書込みヘッド素子用リード導体79及び80)との間に寄生キャパシタンスCCOMP1及びCCOMP2を付加する第1及び第2の補償キャパシタが付加的に形成される。
図10は、図7の複合型薄膜磁気ヘッドの概略的な等価回路図である。
同図において、C1はインダクティブ書込みヘッド素子の書込みコイル78と下部磁極層(SS2)75との間の寄生キャパシタンス、C2は下部磁極層75と上部シールド層(SS1)73との間の寄生キャパシタンス、C3は上部シールド層73と下部シールド層70との間の寄生キャパシタンス、CCOMP1及びCCOMP2は上述した第1及び第2の補償キャパシタの寄生キャパシタンスである。
本実施形態では、書込みヘッド素子用リード導体79及び80と下部シールド層70との間で重なり部分79a及び80aを設けることによって第1及び第2の補償キャパシタを構成し、さらにこれらリード導体79及び80と下部シールド層70との間の距離及び対向面積、その間の絶縁層の誘電率を調整することによって、第1及び第2の補償キャパシタのキャパシタンスCCOMP1及びCCOMP2をCCOMPを、CCOMP1=CCOMP2であって、1/2(1/C1+1/C2)〜1/(1/C1+1/C2)の範囲の値となるように構成している。
第1及び第2の補償キャパシタを形成し、これらのキャパシタンスCCOMP1及びCCOMP2をこのような値に調整することによって、発生するクロストーク電圧を大幅に低減又は抑止することができる。
なお、下部シールド層70の代わりにこれと電気的に接続されている読出しヘッド素子用リード導体83と書込みヘッド素子用リード導体79及び80との間で第1及び第2の補償キャパシタを形成するように構成しても良いことは明らかである。
図11は従来技術及び本実施形態の複合型薄膜磁気ヘッドの時間対クロストーク電圧特性図であり、図12は補償キャパシタのキャパシタンスCCOMP1及びCCOMP2を変えた場合のクロストーク電圧特性図である。
図11(A)はCCOMP1=CCOMP2=0pFの場合に、書込み磁気ヘッド素子に書込み電圧を印加した際に読出しヘッド素子に現れるクロストーク電圧を示しており、図11(B)はCCOMP1=CCOMP2=0.3pFの場合のクロストーク電圧を示している。ただし、C1=0.6pF、C2=2pF、C3=0.4pFである。図11の(A)及び(B)を比較すれば明らかのように、第1及び第2の補償キャパシタを形成し、これらのキャパシタンスCCOMP1及びCCOMP2を上述の範囲の値となるように設定することにより、クロストーク電圧を大幅に低減可能である。特に、図12に示すように、CCOMP1=CCOMP2を0.3pF近傍の値とすれば、クロストーク電圧を最小にすることができる。その結果、バリア層にピンホールが形成されて素子抵抗が低下し読出し特性が劣化することを確実に防止できる。
以上、TMR読出しヘッド素子を有する複合型薄膜磁気ヘッドを用いて本発明を説明したが、本発明は、例えばCPP構造のGMR読出しヘッド素子等、積層面と垂直の方向にセンス電流が流れる構造のMR読出しヘッド素子であれば、いかなるものに対しても適用可能である。CPP構造のGMR読出しヘッド素子では、書込みヘッド素子から読出しヘッド素子への直接的なクロストーク電圧を低減することより、エレクトロマイグレーションの加速によって生じる読出しヘッド素子の短寿命化を防止でき、金属原子の層間拡散の加速によって生じる磁気特性劣化を防止することができる。
以上述べた実施形態は全て本発明を例示的に示すものであって限定的に示すものではなく、本発明は他の種々の変形態様及び変更態様で実施することができる。従って本発明の範囲は特許請求の範囲及びその均等範囲によってのみ規定されるものである。
10、40、70 下部シールド層
11、41、71 TMR層
12、14、42、44、50、72、74 絶縁層
13、43、73 上部シールド層
15、45、75 下部磁極層
16、46、76 記録ギャップ層
17、47、77 上部磁極層
18、48、78 書込みコイル
49、51 導体層
79、80 書込みヘッド素子用リード導体
79a、80a 重なり部分
81、82 書込みヘッド素子用端子パッド
83、84 読出しヘッド素子用リード導体
85、86 読出しヘッド素子用端子パッド
11、41、71 TMR層
12、14、42、44、50、72、74 絶縁層
13、43、73 上部シールド層
15、45、75 下部磁極層
16、46、76 記録ギャップ層
17、47、77 上部磁極層
18、48、78 書込みコイル
49、51 導体層
79、80 書込みヘッド素子用リード導体
79a、80a 重なり部分
81、82 書込みヘッド素子用端子パッド
83、84 読出しヘッド素子用リード導体
85、86 読出しヘッド素子用端子パッド
Claims (14)
- 上部シールド層、下部シールド層、並びに該上部シールド層及び該下部シールド層を介して積層面と垂直の方向にセンス電流が流れる磁気抵抗効果層を有する磁気抵抗効果読出しヘッド素子と、該磁気抵抗効果読出しヘッド素子上に形成されており、上部磁極層、先端部が該上部磁極層の先端部に記録ギャップ層を介して対向する下部磁極層、及び書込みコイルを有するインダクティブ書込みヘッド素子とを備えており、前記書込みコイルと前記上部シールド層との間のキャパシタンスC12が0.1pF以下となるように構成されていることを特徴とする複合型薄膜磁気ヘッド。
- 前記キャパシタンスC12が0.1pF以下となるように、前記書込みコイル及び前記下部磁極層間の距離及び対向面積と、前記下部磁極層及び前記上部シールド層間の距離及び対向面積とが設定されていることを特徴とする請求項1に記載の複合型薄膜磁気ヘッド。
- 前記キャパシタンスC12が0.1pF以下となるように、前記書込みコイル及び前記下部磁極層間と、前記下部磁極層及び前記上部シールド層間とに、低誘電率の絶縁層が形成されていることを特徴とする請求項1又は2に記載の複合型薄膜磁気ヘッド。
- 前記低誘電率の絶縁層が、酸化シリコンによる層であることを特徴とする請求項3に記載の複合型薄膜磁気ヘッド。
- 上部シールド層、下部シールド層、並びに該上部シールド層及び該下部シールド層を介して積層面と垂直の方向にセンス電流が流れる磁気抵抗効果層を有する磁気抵抗効果読出しヘッド素子と、該磁気抵抗効果読出しヘッド素子上に形成されており、上部磁極層、先端部が該上部磁極層の先端部に記録ギャップ層を介して対向する下部磁極層、及び書込みコイルを有するインダクティブ書込みヘッド素子とを備えており、前記書込みコイルと前記上部シールド層との間のキャパシタンスC12と前記書込みコイルと前記下部シールド層との間のキャパシタンスC13とが互いに等しくなるような補償キャパシタ手段を設けたことを特徴とする複合型薄膜磁気ヘッド。
- 前記補償キャパシタ手段が、前記キャパシタンスC12と前記キャパシタンスC13とが互いに等しくなるように、前記下部磁極層と前記下部シールド層との間に形成された補償キャパシタ手段であることを特徴とする請求項5に記載の複合型薄膜磁気ヘッド。
- 前記補償キャパシタ手段が、絶縁層を介して互いに対向しており前記下部磁極層及び前記下部シールド層にそれぞれ電気的に接続された1対の導体層であることを特徴とする請求項6に記載の複合型薄膜磁気ヘッド。
- 前記下部磁極層及び前記上部シールド層間のキャパシタンスをC2とすると、前記補償キャパシタ手段のキャパシタンスCCOMPがCCOMP=C2から与えられることを特徴とする請求項5から7のいずれか1項に記載の複合型薄膜磁気ヘッド。
- 上部シールド層、下部シールド層、並びに該上部シールド層及び該下部シールド層を介して積層面と垂直の方向にセンス電流が流れる磁気抵抗効果層を有する磁気抵抗効果読出しヘッド素子と、該磁気抵抗効果読出しヘッド素子上に形成されており、上部磁極層、先端部が該上部磁極層の先端部に記録ギャップ層を介して対向する下部磁極層、及び書込みコイルを有するインダクティブ書込みヘッド素子とを備えており、前記書込みコイルの両端と前記下部シールド層との間に第1及び第2の補償キャパシタ手段がそれぞれ形成されていることを特徴とする複合型薄膜磁気ヘッド。
- 前記書込みコイル及び前記下部磁極層間のキャパシタンスをC1、該下部磁極層及び前記上部シールド層間のキャパシタンスをC2とすると、前記第1及び第2の補償キャパシタ手段のキャパシタンスCCOMP1及びCCOMP2の各々が、1/2(1/C1+1/C2)〜1/(1/C1+1/C2)の範囲内の所定値であることを特徴とする請求項9に記載の複合型薄膜磁気ヘッド。
- 前記第1及び第2の補償キャパシタ手段のキャパシタンスCCOMP1及びCCOMP2が、互いに等しいことを特徴とする請求項9又は10に記載の複合型薄膜磁気ヘッド。
- 前記書込みコイルの両端に電気的に接続された1対の書込みヘッド素子用リード導体をさらに備えており、前記第1及び第2の補償キャパシタ手段が、前記1対の書込みヘッド素子用リード導体と前記下部シールド層とが絶縁層のみを介して互いに重なり合う部分によって形成されていることを特徴とする請求項9から11のいずれか1項に記載の複合型薄膜磁気ヘッド。
- 前記磁気抵抗効果読出しヘッド素子が、巨大磁気抵抗効果読出しヘッド素子であることを特徴とする請求項1から12のいずれか1項に記載の複合型薄膜磁気ヘッド。
- 前記磁気抵抗効果読出しヘッド素子が、トンネル磁気抵抗効果読出しヘッド素子であることを特徴とする請求項1から12のいずれか1項に記載の複合型薄膜磁気ヘッド。
Priority Applications (3)
| Application Number | Priority Date | Filing Date | Title |
|---|---|---|---|
| JP2004109716A JP2005293762A (ja) | 2004-04-02 | 2004-04-02 | 複合型薄膜磁気ヘッド |
| US11/079,677 US7274539B2 (en) | 2004-04-02 | 2005-03-15 | Composite type thin film magnetic head having a low parasitic capacitance between a write coil and an upper read head shield |
| CNB2005100599324A CN1326116C (zh) | 2004-04-02 | 2005-04-01 | 复合型薄膜磁头 |
Applications Claiming Priority (1)
| Application Number | Priority Date | Filing Date | Title |
|---|---|---|---|
| JP2004109716A JP2005293762A (ja) | 2004-04-02 | 2004-04-02 | 複合型薄膜磁気ヘッド |
Publications (1)
| Publication Number | Publication Date |
|---|---|
| JP2005293762A true JP2005293762A (ja) | 2005-10-20 |
Family
ID=35049976
Family Applications (1)
| Application Number | Title | Priority Date | Filing Date |
|---|---|---|---|
| JP2004109716A Withdrawn JP2005293762A (ja) | 2004-04-02 | 2004-04-02 | 複合型薄膜磁気ヘッド |
Country Status (3)
| Country | Link |
|---|---|
| US (1) | US7274539B2 (ja) |
| JP (1) | JP2005293762A (ja) |
| CN (1) | CN1326116C (ja) |
Families Citing this family (7)
| Publication number | Priority date | Publication date | Assignee | Title |
|---|---|---|---|---|
| US7436633B2 (en) * | 2004-10-15 | 2008-10-14 | Tdk Corporation | Thin-film magnetic head, head gimbal assembly and hard disk system |
| JP2006127634A (ja) * | 2004-10-28 | 2006-05-18 | Hitachi Global Storage Technologies Netherlands Bv | 磁気ヘッド |
| JP3922303B1 (ja) * | 2005-05-13 | 2007-05-30 | Tdk株式会社 | 複合型薄膜磁気ヘッド、磁気ヘッドアセンブリ及び磁気ディスクドライブ装置 |
| JP2008059641A (ja) * | 2006-08-29 | 2008-03-13 | Fujitsu Ltd | 磁気ヘッドおよび記録媒体駆動装置 |
| US7545608B2 (en) * | 2006-10-30 | 2009-06-09 | Hitachi Global Storage Technologies Netherlands B.V. | Current-perpendicular-to-the-plane (CPP) magnetoresistive sensor with impedance adjustment |
| US8472146B2 (en) | 2010-08-27 | 2013-06-25 | HGST Netherlands B.V. | Current perpendicular magnetoresistive sensor with a dummy shield for capacitance balancing |
| US8531800B1 (en) | 2012-11-29 | 2013-09-10 | HGST Netherlands B.V. | Magnetic write head having dual parallel capacitors for integrated transmission line compensation |
Family Cites Families (16)
| Publication number | Priority date | Publication date | Assignee | Title |
|---|---|---|---|---|
| US5438747A (en) * | 1994-03-09 | 1995-08-08 | International Business Machines Corporation | Method of making a thin film merged MR head with aligned pole tips |
| US20030042571A1 (en) * | 1997-10-23 | 2003-03-06 | Baoxing Chen | Chip-scale coils and isolators based thereon |
| US5898548A (en) * | 1997-10-24 | 1999-04-27 | International Business Machines Corporation | Shielded magnetic tunnel junction magnetoresistive read head |
| JPH11175931A (ja) * | 1997-12-16 | 1999-07-02 | Nec Corp | 磁気抵抗効果型複合ヘッド及び磁気ディスク装置 |
| JP2001331909A (ja) * | 2000-05-23 | 2001-11-30 | Tdk Corp | 薄膜磁気ヘッドおよびその製造方法 |
| JP3889222B2 (ja) * | 2000-12-26 | 2007-03-07 | アルプス電気株式会社 | 垂直磁気記録ヘッドの製造方法 |
| JP2002208118A (ja) * | 2001-01-04 | 2002-07-26 | Tdk Corp | 薄膜磁気ヘッド装置 |
| US6927951B2 (en) * | 2001-03-09 | 2005-08-09 | Seagate Technology Llc | Flex on suspension with dissipative polymer substrate acting as bleed resistor for minimizing ESD damage |
| US6724587B2 (en) * | 2001-06-11 | 2004-04-20 | International Business Machines Corporation | Low temperature yoke type tunnel valve sensor |
| US6687083B2 (en) * | 2001-08-22 | 2004-02-03 | Hitachi Global Storage Technologies Netherlands B.V. | Enhanced low profile magnet write head |
| US6737281B1 (en) * | 2002-01-08 | 2004-05-18 | Western Digital (Fremont), Inc. | Method of making transducer with inorganic nonferromagnetic apex region |
| US7573677B2 (en) * | 2002-03-01 | 2009-08-11 | International Business Machines Corporation | Reduction of interference pickup in heads for magnetic recording by minimizing parasitic capacitance |
| JP2005293663A (ja) * | 2004-03-31 | 2005-10-20 | Tdk Corp | 複合型薄膜磁気ヘッド |
| US7436633B2 (en) * | 2004-10-15 | 2008-10-14 | Tdk Corporation | Thin-film magnetic head, head gimbal assembly and hard disk system |
| JP3988771B2 (ja) * | 2005-02-10 | 2007-10-10 | Tdk株式会社 | 複合型薄膜磁気ヘッド、磁気ヘッドアセンブリ及び磁気ディスクドライブ装置 |
| JP3922303B1 (ja) * | 2005-05-13 | 2007-05-30 | Tdk株式会社 | 複合型薄膜磁気ヘッド、磁気ヘッドアセンブリ及び磁気ディスクドライブ装置 |
-
2004
- 2004-04-02 JP JP2004109716A patent/JP2005293762A/ja not_active Withdrawn
-
2005
- 2005-03-15 US US11/079,677 patent/US7274539B2/en active Active
- 2005-04-01 CN CNB2005100599324A patent/CN1326116C/zh not_active Expired - Fee Related
Also Published As
| Publication number | Publication date |
|---|---|
| US20050219765A1 (en) | 2005-10-06 |
| US7274539B2 (en) | 2007-09-25 |
| CN1326116C (zh) | 2007-07-11 |
| CN1677500A (zh) | 2005-10-05 |
Similar Documents
| Publication | Publication Date | Title |
|---|---|---|
| CN1144183C (zh) | 屏蔽式磁性隧道结磁电阻读出磁头 | |
| CN1167050C (zh) | 具体作为磁通引导的读出层的磁性隧道结磁电阻读出磁头 | |
| US8059370B2 (en) | Reader shield/electrode structure | |
| US7672084B2 (en) | Composite thin-film magnetic head with non-magnetic conductive layer electrically connected with lower pole layer to increase counter electrode area | |
| JP3922303B1 (ja) | 複合型薄膜磁気ヘッド、磁気ヘッドアセンブリ及び磁気ディスクドライブ装置 | |
| KR19990083021A (ko) | 자기 저항 헤드 | |
| US20160351213A1 (en) | Apparatus and method having tdmr reader to reader shunts | |
| JP2005293762A (ja) | 複合型薄膜磁気ヘッド | |
| US6870713B2 (en) | Magnetoresistive effect thin-film magnetic head | |
| JP2005293663A (ja) | 複合型薄膜磁気ヘッド | |
| JP2001256620A (ja) | 磁気抵抗センサおよびこれを搭載した磁気記録再生装置 | |
| US7573677B2 (en) | Reduction of interference pickup in heads for magnetic recording by minimizing parasitic capacitance | |
| JP2010146679A (ja) | サスペンション用基板、サスペンション、ヘッド付サスペンションおよびハードディスクドライブ | |
| JP2004206790A (ja) | 薄膜磁気ヘッド | |
| JP2004234755A (ja) | トンネル磁気抵抗効果素子を備えた薄膜磁気ヘッド | |
| JP2009076778A (ja) | 磁気抵抗効果素子および磁気抵抗デバイス | |
| JP2001297413A (ja) | 録再分離型薄膜ヘッド及び該ヘッドの製造方法 | |
| JP3858045B1 (ja) | 薄膜磁気ヘッド、磁気ヘッド装置及び磁気ディスク装置 | |
| JP2004062941A (ja) | 薄膜磁気ヘッド組立体及び磁気記録再生装置 | |
| JP2002042310A (ja) | 磁気ヘッドおよびその製造方法 | |
| JPH08180332A (ja) | 磁気抵抗効果型磁気ヘッド | |
| JP2005050418A (ja) | 垂直通電型磁気ヘッドおよびそれを用いた磁気記録装置 | |
| JPH06203334A (ja) | 磁気抵抗型薄膜磁気ヘッド | |
| JPH05159230A (ja) | 磁気ヘッド装置 | |
| JP2010061739A (ja) | 磁気再生ヘッドの製造方法、磁気再生ヘッドおよび情報記憶装置 |
Legal Events
| Date | Code | Title | Description |
|---|---|---|---|
| A300 | Application deemed to be withdrawn because no request for examination was validly filed |
Free format text: JAPANESE INTERMEDIATE CODE: A300 Effective date: 20070605 |