JP2005293581A - 複数のusbモードで動作するマルチシステムゲームコントローラ - Google Patents
複数のusbモードで動作するマルチシステムゲームコントローラ Download PDFInfo
- Publication number
- JP2005293581A JP2005293581A JP2005094740A JP2005094740A JP2005293581A JP 2005293581 A JP2005293581 A JP 2005293581A JP 2005094740 A JP2005094740 A JP 2005094740A JP 2005094740 A JP2005094740 A JP 2005094740A JP 2005293581 A JP2005293581 A JP 2005293581A
- Authority
- JP
- Japan
- Prior art keywords
- usb
- host
- game controller
- video game
- controller
- Prior art date
- Legal status (The legal status is an assumption and is not a legal conclusion. Google has not performed a legal analysis and makes no representation as to the accuracy of the status listed.)
- Pending
Links
- 238000004891 communication Methods 0.000 claims description 20
- 238000000034 method Methods 0.000 claims description 15
- 230000008569 process Effects 0.000 description 9
- 230000002093 peripheral effect Effects 0.000 description 7
- 230000003993 interaction Effects 0.000 description 6
- 238000005516 engineering process Methods 0.000 description 5
- 238000010586 diagram Methods 0.000 description 4
- 230000009977 dual effect Effects 0.000 description 3
- 230000007246 mechanism Effects 0.000 description 3
- 230000003287 optical effect Effects 0.000 description 3
- 230000006870 function Effects 0.000 description 2
- 238000000429 assembly Methods 0.000 description 1
- 230000000712 assembly Effects 0.000 description 1
- 230000005540 biological transmission Effects 0.000 description 1
- 238000000802 evaporation-induced self-assembly Methods 0.000 description 1
- 230000004044 response Effects 0.000 description 1
- 230000011664 signaling Effects 0.000 description 1
- 230000001360 synchronised effect Effects 0.000 description 1
Images
Classifications
-
- A—HUMAN NECESSITIES
- A63—SPORTS; GAMES; AMUSEMENTS
- A63F—CARD, BOARD, OR ROULETTE GAMES; INDOOR GAMES USING SMALL MOVING PLAYING BODIES; VIDEO GAMES; GAMES NOT OTHERWISE PROVIDED FOR
- A63F13/00—Video games, i.e. games using an electronically generated display having two or more dimensions
- A63F13/20—Input arrangements for video game devices
- A63F13/23—Input arrangements for video game devices for interfacing with the game device, e.g. specific interfaces between game controller and console
- A63F13/235—Input arrangements for video game devices for interfacing with the game device, e.g. specific interfaces between game controller and console using a wireless connection, e.g. infrared or piconet
-
- B—PERFORMING OPERATIONS; TRANSPORTING
- B23—MACHINE TOOLS; METAL-WORKING NOT OTHERWISE PROVIDED FOR
- B23Q—DETAILS, COMPONENTS, OR ACCESSORIES FOR MACHINE TOOLS, e.g. ARRANGEMENTS FOR COPYING OR CONTROLLING; MACHINE TOOLS IN GENERAL CHARACTERISED BY THE CONSTRUCTION OF PARTICULAR DETAILS OR COMPONENTS; COMBINATIONS OR ASSOCIATIONS OF METAL-WORKING MACHINES, NOT DIRECTED TO A PARTICULAR RESULT
- B23Q3/00—Devices holding, supporting, or positioning work or tools, of a kind normally removable from the machine
- B23Q3/155—Arrangements for automatic insertion or removal of tools, e.g. combined with manual handling
- B23Q3/15513—Arrangements for automatic insertion or removal of tools, e.g. combined with manual handling the tool being taken from a storage device and transferred to a tool holder by means of transfer devices
-
- B—PERFORMING OPERATIONS; TRANSPORTING
- B23—MACHINE TOOLS; METAL-WORKING NOT OTHERWISE PROVIDED FOR
- B23Q—DETAILS, COMPONENTS, OR ACCESSORIES FOR MACHINE TOOLS, e.g. ARRANGEMENTS FOR COPYING OR CONTROLLING; MACHINE TOOLS IN GENERAL CHARACTERISED BY THE CONSTRUCTION OF PARTICULAR DETAILS OR COMPONENTS; COMBINATIONS OR ASSOCIATIONS OF METAL-WORKING MACHINES, NOT DIRECTED TO A PARTICULAR RESULT
- B23Q3/00—Devices holding, supporting, or positioning work or tools, of a kind normally removable from the machine
- B23Q3/155—Arrangements for automatic insertion or removal of tools, e.g. combined with manual handling
- B23Q3/1552—Arrangements for automatic insertion or removal of tools, e.g. combined with manual handling parts of devices for automatically inserting or removing tools
- B23Q3/1554—Transfer mechanisms, e.g. tool gripping arms; Drive mechanisms therefore
-
- A—HUMAN NECESSITIES
- A63—SPORTS; GAMES; AMUSEMENTS
- A63F—CARD, BOARD, OR ROULETTE GAMES; INDOOR GAMES USING SMALL MOVING PLAYING BODIES; VIDEO GAMES; GAMES NOT OTHERWISE PROVIDED FOR
- A63F13/00—Video games, i.e. games using an electronically generated display having two or more dimensions
- A63F13/25—Output arrangements for video game devices
- A63F13/28—Output arrangements for video game devices responding to control signals received from the game device for affecting ambient conditions, e.g. for vibrating players' seats, activating scent dispensers or affecting temperature or light
- A63F13/285—Generating tactile feedback signals via the game input device, e.g. force feedback
-
- A—HUMAN NECESSITIES
- A63—SPORTS; GAMES; AMUSEMENTS
- A63F—CARD, BOARD, OR ROULETTE GAMES; INDOOR GAMES USING SMALL MOVING PLAYING BODIES; VIDEO GAMES; GAMES NOT OTHERWISE PROVIDED FOR
- A63F13/00—Video games, i.e. games using an electronically generated display having two or more dimensions
- A63F13/70—Game security or game management aspects
- A63F13/73—Authorising game programs or game devices, e.g. checking authenticity
-
- A—HUMAN NECESSITIES
- A63—SPORTS; GAMES; AMUSEMENTS
- A63F—CARD, BOARD, OR ROULETTE GAMES; INDOOR GAMES USING SMALL MOVING PLAYING BODIES; VIDEO GAMES; GAMES NOT OTHERWISE PROVIDED FOR
- A63F13/00—Video games, i.e. games using an electronically generated display having two or more dimensions
- A63F13/90—Constructional details or arrangements of video game devices not provided for in groups A63F13/20 or A63F13/25, e.g. housing, wiring, connections or cabinets
- A63F13/95—Storage media specially adapted for storing game information, e.g. video game cartridges
-
- A—HUMAN NECESSITIES
- A63—SPORTS; GAMES; AMUSEMENTS
- A63F—CARD, BOARD, OR ROULETTE GAMES; INDOOR GAMES USING SMALL MOVING PLAYING BODIES; VIDEO GAMES; GAMES NOT OTHERWISE PROVIDED FOR
- A63F2300/00—Features of games using an electronically generated display having two or more dimensions, e.g. on a television screen, showing representations related to the game
- A63F2300/10—Features of games using an electronically generated display having two or more dimensions, e.g. on a television screen, showing representations related to the game characterized by input arrangements for converting player-generated signals into game device control signals
- A63F2300/1025—Features of games using an electronically generated display having two or more dimensions, e.g. on a television screen, showing representations related to the game characterized by input arrangements for converting player-generated signals into game device control signals details of the interface with the game device, e.g. USB version detection
- A63F2300/1031—Features of games using an electronically generated display having two or more dimensions, e.g. on a television screen, showing representations related to the game characterized by input arrangements for converting player-generated signals into game device control signals details of the interface with the game device, e.g. USB version detection using a wireless connection, e.g. Bluetooth, infrared connections
-
- A—HUMAN NECESSITIES
- A63—SPORTS; GAMES; AMUSEMENTS
- A63F—CARD, BOARD, OR ROULETTE GAMES; INDOOR GAMES USING SMALL MOVING PLAYING BODIES; VIDEO GAMES; GAMES NOT OTHERWISE PROVIDED FOR
- A63F2300/00—Features of games using an electronically generated display having two or more dimensions, e.g. on a television screen, showing representations related to the game
- A63F2300/10—Features of games using an electronically generated display having two or more dimensions, e.g. on a television screen, showing representations related to the game characterized by input arrangements for converting player-generated signals into game device control signals
- A63F2300/1037—Features of games using an electronically generated display having two or more dimensions, e.g. on a television screen, showing representations related to the game characterized by input arrangements for converting player-generated signals into game device control signals being specially adapted for converting control signals received from the game device into a haptic signal, e.g. using force feedback
-
- A—HUMAN NECESSITIES
- A63—SPORTS; GAMES; AMUSEMENTS
- A63F—CARD, BOARD, OR ROULETTE GAMES; INDOOR GAMES USING SMALL MOVING PLAYING BODIES; VIDEO GAMES; GAMES NOT OTHERWISE PROVIDED FOR
- A63F2300/00—Features of games using an electronically generated display having two or more dimensions, e.g. on a television screen, showing representations related to the game
- A63F2300/20—Features of games using an electronically generated display having two or more dimensions, e.g. on a television screen, showing representations related to the game characterised by details of the game platform
- A63F2300/206—Game information storage, e.g. cartridges, CD ROM's, DVD's, smart cards
Landscapes
- Engineering & Computer Science (AREA)
- Multimedia (AREA)
- Human Computer Interaction (AREA)
- Computer Networks & Wireless Communication (AREA)
- Mechanical Engineering (AREA)
- Information Transfer Systems (AREA)
- Pinball Game Machines (AREA)
Abstract
【解決手段】 記載の実施例では、ゲームコントローラは、第1のホストゲームシステムに接続された場合は第1のUSBモードで1組の動作パラメータで動作し、第2のホストゲームシステムに接続された場合は第2のUSBモードで別の組の動作パラメータで動作する。ゲームコントローラは、ゲームコントローラがどのホストゲームシステムに接続されているかを判定し、その判定に基づいて適切なUSBモードに切替えるように設計される。
【選択図】 図1
Description
106(1)、106(2)、106(3)、106(4) コントローラ
120 携帯用メディアドライブ
200 中央処理装置
202 メモリコントローラ 204 フラッシュROMメモリ
206 RAMメモリ
208 ハードディスクドライブ
210 レベル1キャッシュ
212 レベル2キャッシュ
216 ATAケーブル
220 3次元グラフィックス処理装置
222 ビデオエンコーダ
224 オーディオ処理装置
226 オーディオコーデック
228 A/Vポート
230 USBホストコントローラ
240(1)、240(2) 二重コントローラポートサブアセンブリ
242 コントローラ無線I/F
244 フロントパネルI/Oサブアセンブリ
250 システム電力供給モジュール
302 コンピュータ
304 処理装置
306 システムメモリ
308 システムバス
334 ディスプレイ
336 ビデオアダプタ
338 ネットワークI/F
340 ネットワーク
342 I/0インターフェース
344 マウス
346 キーボード
348 USBホスト
412 モータドライブ
414 PWM出力部
416 アクチュエータ(トリガ、サムスティック)
420 スイッチ(ボタン、Dパッド)
422 入力/出力
424 USBコネクタ
426 RFモジュール
428 無線ベースバンド
430 DMAチャネル
432 電池
434 電源管理ユニット
436 電池充電回路
440 マルチモードUSB I/F
442 ホスト検出器
Claims (24)
- 様々なUSBモードをサポートする様々なホストゲームシステムで使用するためのマルチシステムビデオゲームコントローラであって、
様々なホストゲームシステムとの通信を容易にする通信インターフェースと、
第1のホストゲームシステムとの通信中は第1のUSBモードを使用し、第2のホストゲームシステムとの通信中は第2のUSBモードを使用するUSBプロトコルモジュールとを備えることを特徴とするマルチシステムビデオゲームコントローラ。 - 前記通信インターフェースは、無線通信を容易にするためのRFモードを備えることを特徴とする請求項1に記載のマルチシステムビデオゲームコントローラ。
- 前記通信インターフェースは、有線通信を容易にするためのシリアルケーブルを備えることを特徴とする請求項1に記載のマルチシステムビデオゲームコントローラ。
- 前記第1のUSBモードは低速USBであり、前記第2のUSBモードは最高速USBまたは高速USBの1つであることを特徴とする請求項1に記載のマルチシステムビデオゲームコントローラ。
- 前記第1のホストゲームシステムはコンソールベースのゲームシステムを含み、前記第2のホストゲームシステムがパーソナルコンピュータを含むことを特徴とする請求項1に記載のマルチシステムビデオゲームコントローラ。
- 1つまたは複数の多機能アクチュエータを備えた汎用コントローラとして実装されることを特徴とする請求項1に記載のマルチシステムビデオゲームコントローラ。
- プロセッサと、
前記プロセッサに動作可能に結合されたメモリと、
前記プロセッサに動作可能に結合され、ビデオゲームコントローラが第1のホストゲームシステムに接続されている場合は第1のUSBモードでの通信を容易にし、前記ビデオゲームコントローラが第2のホストゲームシステムに接続されている場合は第2のUSBモードでの通信を容易にするUSBモジュールとを備えることを特徴とするビデオゲームコントローラ。 - 前記第1のUSBモードは低速USBであり、前記第2のUSBモードは最高速USBまたは高速USBの1つであることを特徴とする請求項7に記載のビデオゲームコントローラ。
- 前記ゲームコントローラが最初に接続されたときに、前記USBモジュールが、前記第1のUSBモードまたは前記第2のUSBモードの1つを選択することを特徴とする請求項7に記載のビデオゲームコントローラ。
- 前記ゲームコントローラが接続された後に、前記USBモジュールが、前記第1のUSBモードまたは前記第2のUSBモードの1つを選択することを特徴とする請求項7に記載のビデオゲームコントローラ。
- 前記第1のホストゲームシステムがコンソールベースのゲームシステムを含み、前記第2のホストゲームシステムがパーソナルコンピュータを含むことを特徴とする請求項7に記載のビデオゲームコントローラ。
- 前記USBモジュールが、前記ビデオゲームコントローラが前記第1のホストゲームシステムに接続されているか、または前記第2のホストゲームシステムに接続されているかを検出するホスト検出器を備え、前記ホスト検出器が前記第1のホストゲームシステムを検出した場合は前記第1のUSBモードに、前記ホスト検出器が前記第2のホストゲームシステムを検出した場合は前記第2のUSBモードに自動的に切替えることを特徴とする請求項7に記載のビデオゲームコントローラ。
- 無線通信をサポートする無線モジュールと、
前記プロセッサ、前記メモリ、および前記無線モジュールに電力を供給する電源とをさらに備えることを特徴とする請求項7に記載のビデオゲームコントローラ。 - 第1のホストゲームシステムまたは第2のホストゲームシステムのどちらがビデオゲームコントローラとのUSB接続を確立しようとしているかを判定する手段と、
前記ビデオゲームコントローラが前記第1のホストゲームシステムに接続されている場合は通信用に第1のUSBモードを使用し、前記ビデオゲームコントローラが前記第2のホストゲームシステムに接続されている場合は通信用に第2のUSBモードを使用する手段とを備えることを特徴とするビデオゲームコントローラ。 - 前記第1のUSBモードが低速USBであり、前記第2のUSBモードが最高速USBまたは高速USBの1つであることを特徴とする請求項14に記載のビデオゲームコントローラ。
- 前記使用手段が、前記判定手段による判定によって前記第1または第2のUSBモードに自動的に切替えることを特徴とする請求項14に記載のビデオゲームコントローラ。
- 前記第1または第2のホストゲームシステムの1つと無線リンクを介して通信する手段をさらに備えることを特徴とする請求項14に記載のビデオゲームコントローラ。
- 1つまたは複数の多機能アクチュエータを備えた汎用コントローラとして実装されることを特徴とする請求項14に記載のマルチシステムビデオゲームコントローラ。
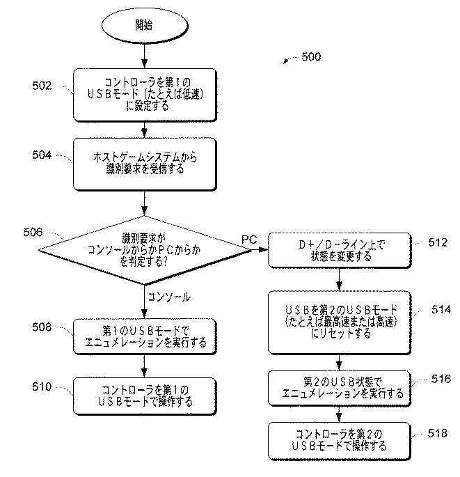
- ビデオゲームコントローラで、前記ビデオゲームコントローラが第1のホストゲームシステムまたは第2のホストゲームシステムと通信するために動作可能に接続されているかを判定すること、
前記ビデオゲームコントローラが前記第1のホストゲームシステムと通信するために接続されている場合は、前記ビデオゲームコントローラを第1のUSBモードで操作すること、および
前記ビデオゲームコントローラが前記第2のホストゲームシステムと通信するために接続されている場合は、前記ビデオゲームコントローラを第2のUSBモードで操作することを備えることを特徴とする方法。 - 前記第1のUSBモードが低速USBであり、前記第2のUSBモードが最高速USBまたは高速USBの1つであることを特徴とする請求項19に記載の方法。
- 前記第1のホストゲームシステムがコンソールベースのゲームシステムを含み、前記第2のホストゲームシステムがパーソナルコンピュータを含むことを特徴とする請求項19に記載の方法。
- 前記判定が、
最初の接続中に前記ビデオゲームコントローラを識別する要求を受信すること、および
前記要求に基づいて前記ビデオゲームコントローラが前記第1または第2のホストゲームシステムのどちらに接続されているかを確認することを含むことを特徴とする請求項19に記載の方法。 - 前記ビデオゲームコントローラを前記第1のUSBモードに設定すること、および
前記ビデオゲームコントローラが前記第2のホストゲームシステムと通信するために接続されていると判定された後、前記ビデオゲームコントローラを前記第2のUSBモードに自動的にリセットすることをさらに備えることを特徴とする請求項19に記載の方法。 - 実行された場合に請求項19に記載の方法を実施するコンピュータ実行可能命令を含むことを特徴とする1つまたは複数のコンピュータ可読媒体。
Applications Claiming Priority (1)
| Application Number | Priority Date | Filing Date | Title |
|---|---|---|---|
| US10/816,800 US20050221894A1 (en) | 2004-03-31 | 2004-03-31 | Multi-system game controller that operates in multiple USB modes |
Publications (2)
| Publication Number | Publication Date |
|---|---|
| JP2005293581A true JP2005293581A (ja) | 2005-10-20 |
| JP2005293581A5 JP2005293581A5 (ja) | 2008-05-15 |
Family
ID=34887772
Family Applications (1)
| Application Number | Title | Priority Date | Filing Date |
|---|---|---|---|
| JP2005094740A Pending JP2005293581A (ja) | 2004-03-31 | 2005-03-29 | 複数のusbモードで動作するマルチシステムゲームコントローラ |
Country Status (8)
| Country | Link |
|---|---|
| US (1) | US20050221894A1 (ja) |
| EP (1) | EP1582241A1 (ja) |
| JP (1) | JP2005293581A (ja) |
| KR (1) | KR20060044993A (ja) |
| CN (1) | CN1677378A (ja) |
| AU (1) | AU2005201190A1 (ja) |
| CA (1) | CA2502968A1 (ja) |
| TW (1) | TW200537356A (ja) |
Cited By (2)
| Publication number | Priority date | Publication date | Assignee | Title |
|---|---|---|---|---|
| JP2007318855A (ja) * | 2006-05-24 | 2007-12-06 | Sony Computer Entertainment Inc | 端末装置 |
| JP2022504761A (ja) * | 2019-09-24 | 2022-01-13 | シャンハイ センスタイム リンガン インテリジェント テクノロジー カンパニー リミテッド | 機器設備の制御方法及び装置、記憶媒体 |
Families Citing this family (39)
| Publication number | Priority date | Publication date | Assignee | Title |
|---|---|---|---|---|
| US6125935A (en) * | 1996-03-28 | 2000-10-03 | Shell Oil Company | Method for monitoring well cementing operations |
| MY115236A (en) | 1996-03-28 | 2003-04-30 | Shell Int Research | Method for monitoring well cementing operations |
| US7685328B2 (en) * | 2004-09-09 | 2010-03-23 | Stmicroelectronics, Inc. | Generic universal serial bus device operable at low and full speed and adapted for use in a smart card device |
| US7683508B2 (en) * | 2005-01-04 | 2010-03-23 | Coactive Drive Corporation | Vibration device |
| JP4849829B2 (ja) | 2005-05-15 | 2012-01-11 | 株式会社ソニー・コンピュータエンタテインメント | センタ装置 |
| EP1907086B1 (en) | 2005-06-27 | 2011-07-20 | Coactive Drive Corporation | Synchronized vibration device for haptic feedback |
| US9764357B2 (en) | 2005-06-27 | 2017-09-19 | General Vibration Corporation | Synchronized array of vibration actuators in an integrated module |
| US11203041B2 (en) | 2005-06-27 | 2021-12-21 | General Vibration Corporation | Haptic game controller with dual linear vibration actuators |
| US9459632B2 (en) | 2005-06-27 | 2016-10-04 | Coactive Drive Corporation | Synchronized array of vibration actuators in a network topology |
| US8981682B2 (en) | 2005-06-27 | 2015-03-17 | Coactive Drive Corporation | Asymmetric and general vibration waveforms from multiple synchronized vibration actuators |
| CN2825037Y (zh) * | 2005-10-26 | 2006-10-11 | 陈霄东 | 手机游戏控制器 |
| KR100791292B1 (ko) * | 2006-02-22 | 2008-01-04 | 삼성전자주식회사 | 다중 접속 원격 제어 장치 |
| JP5089060B2 (ja) * | 2006-03-14 | 2012-12-05 | 株式会社ソニー・コンピュータエンタテインメント | エンタテインメントシステムおよびゲームコントローラ |
| CN100437541C (zh) * | 2006-03-28 | 2008-11-26 | 华为技术有限公司 | 一种串行外设接口的实现方法 |
| TWI395603B (zh) * | 2006-04-26 | 2013-05-11 | Pixart Imaging Inc | 互動式遊戲裝置及其遊戲控制器 |
| WO2007137446A1 (fr) * | 2006-05-29 | 2007-12-06 | Fangen Xiong | Composant de dispositif d'interface pour jeu informatisé |
| US8079905B2 (en) | 2006-11-06 | 2011-12-20 | Igt | Remote wager gaming system using a video game console |
| PL2130108T3 (pl) * | 2007-03-29 | 2018-07-31 | Nokia Technologies Oy | Podłączenie do urządzenia USB |
| US20080248882A1 (en) * | 2007-04-03 | 2008-10-09 | Hsu Kent T J | Video game console adapter |
| US20080299906A1 (en) * | 2007-06-04 | 2008-12-04 | Topway Electrical Appliance Company | Emulating playing apparatus of simulating games |
| US8661164B2 (en) * | 2010-08-24 | 2014-02-25 | Mediatek Inc. | Method of USB device enumeration including detecting the operating system type of the USB host |
| US9619417B2 (en) | 2011-06-17 | 2017-04-11 | Alcatel Lucent | Method and apparatus for remote delivery of managed USB services via a mobile computing device |
| US9517407B2 (en) | 2012-04-20 | 2016-12-13 | Nintendo Co., Ltd. | Game system and game controller |
| US20130281212A1 (en) * | 2012-04-20 | 2013-10-24 | Nintendo Co.,Ltd. | Game controller |
| TWI486000B (zh) * | 2013-03-20 | 2015-05-21 | Realtek Semiconductor Corp | 網路裝置及其連線偵測方法 |
| CN104079415B (zh) * | 2013-03-27 | 2018-04-10 | 瑞昱半导体股份有限公司 | 网络装置及其联线检测方法 |
| CN104102603B (zh) * | 2013-04-09 | 2017-03-29 | 瑞昱半导体股份有限公司 | 通用串行总线网络接口控制器及其操作模式切换方法 |
| US10318013B1 (en) * | 2015-04-01 | 2019-06-11 | Bansen Labs LLC | System and method for converting input from alternate input devices |
| US10346334B2 (en) * | 2016-06-09 | 2019-07-09 | Plantronics, Inc. | Mode switchable audio processor for digital audio |
| US10542120B2 (en) | 2016-11-10 | 2020-01-21 | Microsoft Technology Licensing, Llc | Wirelessly providing operating system specific features |
| CN108132899A (zh) * | 2016-12-01 | 2018-06-08 | 中兴通讯股份有限公司 | 一种传输模式配置方法、装置及系统 |
| CN109381856A (zh) * | 2018-09-12 | 2019-02-26 | 深圳闪电鸟网络科技有限公司 | 对游戏主机进行控制的装置、方法、电子设备及存储介质 |
| JP7386012B2 (ja) | 2019-07-30 | 2023-11-24 | 株式会社ワコム | 情報入力装置、方法、及びプログラム |
| TWI741764B (zh) * | 2020-08-28 | 2021-10-01 | 孕龍科技股份有限公司 | 遊戲控制器 |
| CN115114214B (zh) * | 2021-03-18 | 2024-09-03 | 广州视源电子科技股份有限公司 | 多系统一体机、文件共享方法和存储介质 |
| CN117012017A (zh) * | 2022-04-29 | 2023-11-07 | 腾讯科技(深圳)有限公司 | 一种数据传输方法、装置、设备及介质 |
| US20240149151A1 (en) | 2022-11-04 | 2024-05-09 | Backbone Labs, Inc. | System and Method for Rich Content Browsing Multitasking on Device Operating Systems with Multitasking Limitations |
| US12324983B2 (en) * | 2022-12-23 | 2025-06-10 | Backbone Labs, Inc. | Universal mobile game controller |
| US12427403B2 (en) | 2023-07-27 | 2025-09-30 | Backbone Labs, Inc. | Mobile game controller and method for connecting to a wireless audio device |
Citations (3)
| Publication number | Priority date | Publication date | Assignee | Title |
|---|---|---|---|---|
| JPH06205073A (ja) * | 1991-06-20 | 1994-07-22 | Futaba Corp | 通信速度の自動検出装置 |
| JP2000231403A (ja) * | 1999-02-09 | 2000-08-22 | Keyence Corp | リモート入出力システム及びリモート入出力システムの子機 |
| JP2001222503A (ja) * | 2000-02-08 | 2001-08-17 | Ricoh Co Ltd | 周辺機器制御システム |
Family Cites Families (9)
| Publication number | Priority date | Publication date | Assignee | Title |
|---|---|---|---|---|
| US5935224A (en) * | 1997-04-24 | 1999-08-10 | Microsoft Corporation | Method and apparatus for adaptively coupling an external peripheral device to either a universal serial bus port on a computer or hub or a game port on a computer |
| US6279906B1 (en) * | 1997-06-18 | 2001-08-28 | Act Labs, Ltd. | Video game controller system with interchangeable interface adapters |
| US6020875A (en) * | 1997-10-31 | 2000-02-01 | Immersion Corporation | High fidelity mechanical transmission system and interface device |
| TW387585U (en) * | 1998-05-29 | 2000-04-11 | Wang Ren Je | Universal serial bus converter of personal computer game playing port |
| US6468160B2 (en) * | 1999-04-08 | 2002-10-22 | Nintendo Of America, Inc. | Security system for video game system with hard disk drive and internet access capability |
| US6789989B2 (en) * | 2002-03-13 | 2004-09-14 | Uli Walther | Screw having a head with concave underside |
| US7024501B1 (en) * | 2002-11-18 | 2006-04-04 | Cypress Semiconductor Corp. | Method and apparatus for attaching USB peripherals to host ports |
| US20040152515A1 (en) * | 2003-02-05 | 2004-08-05 | Logitech Europe S.A. | Cordless game controller system |
| EP1678705A4 (en) * | 2003-10-31 | 2007-07-04 | Jaalaa Inc | COMPUTER INTERFACE WITH CABLE-CONNECTED AND WIRELESS CONNECTION |
-
2004
- 2004-03-31 US US10/816,800 patent/US20050221894A1/en not_active Abandoned
-
2005
- 2005-03-18 AU AU2005201190A patent/AU2005201190A1/en not_active Abandoned
- 2005-03-18 TW TW094108492A patent/TW200537356A/zh unknown
- 2005-03-23 EP EP05102338A patent/EP1582241A1/en not_active Withdrawn
- 2005-03-29 JP JP2005094740A patent/JP2005293581A/ja active Pending
- 2005-03-30 KR KR1020050026392A patent/KR20060044993A/ko not_active Withdrawn
- 2005-03-30 CA CA002502968A patent/CA2502968A1/en not_active Abandoned
- 2005-03-31 CN CNA2005100637519A patent/CN1677378A/zh active Pending
Patent Citations (3)
| Publication number | Priority date | Publication date | Assignee | Title |
|---|---|---|---|---|
| JPH06205073A (ja) * | 1991-06-20 | 1994-07-22 | Futaba Corp | 通信速度の自動検出装置 |
| JP2000231403A (ja) * | 1999-02-09 | 2000-08-22 | Keyence Corp | リモート入出力システム及びリモート入出力システムの子機 |
| JP2001222503A (ja) * | 2000-02-08 | 2001-08-17 | Ricoh Co Ltd | 周辺機器制御システム |
Cited By (2)
| Publication number | Priority date | Publication date | Assignee | Title |
|---|---|---|---|---|
| JP2007318855A (ja) * | 2006-05-24 | 2007-12-06 | Sony Computer Entertainment Inc | 端末装置 |
| JP2022504761A (ja) * | 2019-09-24 | 2022-01-13 | シャンハイ センスタイム リンガン インテリジェント テクノロジー カンパニー リミテッド | 機器設備の制御方法及び装置、記憶媒体 |
Also Published As
| Publication number | Publication date |
|---|---|
| CA2502968A1 (en) | 2005-09-30 |
| EP1582241A1 (en) | 2005-10-05 |
| US20050221894A1 (en) | 2005-10-06 |
| KR20060044993A (ko) | 2006-05-16 |
| CN1677378A (zh) | 2005-10-05 |
| TW200537356A (en) | 2005-11-16 |
| AU2005201190A1 (en) | 2005-10-20 |
Similar Documents
| Publication | Publication Date | Title |
|---|---|---|
| JP2005293581A (ja) | 複数のusbモードで動作するマルチシステムゲームコントローラ | |
| JP4864329B2 (ja) | 無線動作と有線動作を切り換えるゲームコントローラ | |
| EP1681658B1 (en) | Game console notification system | |
| US8882597B2 (en) | Hybrid separable motion controller | |
| US7789741B1 (en) | Squad vs. squad video game | |
| US20070111796A1 (en) | Association of peripherals communicatively attached to a console device | |
| US9369825B2 (en) | Systems and methods for transmitting data using selected transmission technology from among other transmission technologies | |
| US20110105231A1 (en) | Video game controller having user swappable control components | |
| US20150217191A1 (en) | Game controller adapted for a multitude of gaming platforms | |
| WO2005028052A3 (en) | A network-based gaming system | |
| CN100592310C (zh) | 游戏控制器功率管理 | |
| JP2006102490A (ja) | ゲームパッドコントローラのマッピング | |
| WO2009030897A2 (en) | Entertainment apparatus and method | |
| KR20060045144A (ko) | 호스트에 고속 접속하는 무선 게임 컨트롤러 | |
| JP7728397B2 (ja) | 情報処理装置 | |
| WO2024127575A1 (ja) | 情報処理装置およびゲーム画像表示方法 | |
| KR20060045142A (ko) | 게임 컨트롤러 전력 관리 | |
| HK1187849A (en) | Game console notification system |
Legal Events
| Date | Code | Title | Description |
|---|---|---|---|
| A521 | Request for written amendment filed |
Free format text: JAPANESE INTERMEDIATE CODE: A523 Effective date: 20080331 |
|
| A621 | Written request for application examination |
Free format text: JAPANESE INTERMEDIATE CODE: A621 Effective date: 20080331 |
|
| A977 | Report on retrieval |
Free format text: JAPANESE INTERMEDIATE CODE: A971007 Effective date: 20101125 |
|
| A131 | Notification of reasons for refusal |
Free format text: JAPANESE INTERMEDIATE CODE: A131 Effective date: 20101203 |
|
| A02 | Decision of refusal |
Free format text: JAPANESE INTERMEDIATE CODE: A02 Effective date: 20110426 |
