JP2005293549A - 設備機器の遠隔監視装置、及び設備機器監視システム - Google Patents

設備機器の遠隔監視装置、及び設備機器監視システム Download PDF

Info

Publication number
JP2005293549A
JP2005293549A JP2004362193A JP2004362193A JP2005293549A JP 2005293549 A JP2005293549 A JP 2005293549A JP 2004362193 A JP2004362193 A JP 2004362193A JP 2004362193 A JP2004362193 A JP 2004362193A JP 2005293549 A JP2005293549 A JP 2005293549A
Authority
JP
Japan
Prior art keywords
remote monitoring
equipment
information
unit
monitoring device
Prior art date
Legal status (The legal status is an assumption and is not a legal conclusion. Google has not performed a legal analysis and makes no representation as to the accuracy of the status listed.)
Granted
Application number
JP2004362193A
Other languages
English (en)
Other versions
JP4305380B2 (ja
Inventor
Taro Kataoka
太郎 片岡
Current Assignee (The listed assignees may be inaccurate. Google has not performed a legal analysis and makes no representation or warranty as to the accuracy of the list.)
Daikin Industries Ltd
Original Assignee
Daikin Industries Ltd
Priority date (The priority date is an assumption and is not a legal conclusion. Google has not performed a legal analysis and makes no representation as to the accuracy of the date listed.)
Filing date
Publication date
Application filed by Daikin Industries Ltd filed Critical Daikin Industries Ltd
Priority to JP2004362193A priority Critical patent/JP4305380B2/ja
Publication of JP2005293549A publication Critical patent/JP2005293549A/ja
Application granted granted Critical
Publication of JP4305380B2 publication Critical patent/JP4305380B2/ja
Anticipated expiration legal-status Critical
Expired - Fee Related legal-status Critical Current

Links

Images

Landscapes

  • Air Conditioning Control Device (AREA)
  • Safety Devices In Control Systems (AREA)
  • Selective Calling Equipment (AREA)
  • Testing And Monitoring For Control Systems (AREA)

Abstract

【課題】 メインの遠隔監視装置が設備機器の遠隔監視を行えない際に遠隔監視を代行する予備の遠隔監視装置を安価に提供する、またこれらを用いた設備機器監視システムを安価に提供する。
【解決手段】 メイン遠隔監視装置3aとスタンバイ遠隔監視装置3bとを備える。メイン遠隔監視装置3aは、空気調和装置1に関する情報の処理を行うことにより空気調和装置1の遠隔監視を行う。スタンバイ遠隔監視装置3bは、メイン遠隔監視装置3aが空気調和装置1の遠隔監視を行えない際に、空気調和装置1に関する情報のうち即応を要する即応情報の処理を行うことにより空気調和装置1の遠隔監視を行う。
【選択図】 図1

Description

本発明は、遠隔監視装置、特に設備機器の遠隔監視装置に関する。また、本発明は、設備機器監視システムに関する。
ビルや住居などの所定の物件に設置された設備機器(空気調和装置、給湯器、照明機器など)を遠隔監視する遠隔監視装置、またこれを含む設備機器監視システムが従来から存在する。遠隔監視装置は、ネットワークなどを介して設備機器に関する設備機器情報を受信することにより、設備機器の監視などの処理を行う(例えば、特許文献1参照。)。遠隔監視装置での処理には、例えば、設備機器の運転データを受信することにより、この運転データを処理してデータベース化することなどが含まれる。また、遠隔監視装置が設備機器の異常を知らせる異常発報などを受信した場合には、設備機器の異常を悪化させないために迅速に処理を行う必要がある。
特開平5−64268号公報
設備機器の遠隔監視を行う遠隔監視装置に故障などの不具合が生じると、遠隔監視装置が稼動停止するために、遠隔監視などを行うことができない。遠隔監視が行えないと、設備機器の運転データのデータベース化などを行えないだけでなく、迅速に処理・対応を行わなければならない異常発報などに対処できなくなる。異常発報に対応できないと、設備機器における異常がさらに悪化するおそれもある。
上記のような遠隔監視装置に生じるトラブルに対策するため、すなわち遠隔監視装置に何らかの不具合が生じた場合にも設備機器の遠隔監視を連続して行うために、予備の遠隔監視装置をさらに設けておく場合がしばしばある。この場合には、メインの遠隔監視装置が遠隔監視を行えない場合に、予備の遠隔監視装置が設備機器の遠隔監視を代行することができる。これにより、設備機器の常時監視を確実に行うことができる。
予備の遠隔監視装置として、メインの遠隔監視装置と全く同じ処理(遠隔監視)が行える装置を用いることが多い。しかし、メインの遠隔監視装置が正常稼動している場合、予備の遠隔監視装置は稼動させないことが多い。このため、メイン以外の遠隔監視装置の稼動頻度が低い場合がほとんどとなる。以上から、同一の処理が可能な遠隔監視装置を複数備えておくことは、設備機器の監視システムの頑強度を向上させるが、システムのコストパフォーマンスを低下させることになる。
本発明の課題は、メインの遠隔監視装置が設備機器の遠隔監視を行えない際に遠隔監視を代行する予備の遠隔監視装置を安価に提供する、またこれらを用いた設備機器監視システムを安価に提供することにある。
請求項1に記載の設備機器の遠隔監視装置は、複数の設備機器に関する設備機器情報を受信して遠隔監視を行う設備機器の遠隔監視装置であって、メインユニットとスタンバイユニットとを備える。メインユニットは、設備機器情報の処理を行うことにより設備機器の遠隔監視を行う。スタンバイユニットは、メインユニットが設備機器の遠隔監視を行えない際に、設備機器情報のうち即応を要する即応情報の処理を行うことにより設備機器の遠隔監視を行う。
通常、複数の設備機器の遠隔監視は、メインユニットが行う。メインユニットに故障など何らかの不具合が生じたために遠隔監視を行えない場合、スタンバイユニットが設備機器の遠隔監視を代行する。
ここでは、スタンバイユニットが、遠隔監視のうちでも即応を要する処理のみを実行する。すなわち、スタンバイユニットでは、設備機器に関する設備機器情報のうちでも処理を即時に行う必要がある即応情報の処理を行う。
即応情報の処理は、遠隔監視の一部であるため、スタンバイユニットが行える処理を一部に限定することができる。これにより、スタンバイユニットが備える機能を限定することができるため、スタンバイユニットを安価に提供することが可能となる。
請求項2に記載の設備機器の遠隔監視装置は、請求項1に記載の設備機器の遠隔監視装置であって、スタンバイユニットが、メインユニット状態監視部、受信部、記憶部、判定部、及び処理部を有する。メインユニット状態監視部は、メインユニットの状態を監視する。受信部は、通信網を介して設備機器情報を受信する。記憶部は、受信部で受信した設備機器情報を記憶する。判定部は、記憶部に記憶される設備機器情報が即応情報であるか否かを判定する。処理部は、即応情報の処理を行う。
ここでは、メインユニット状態監視部においてメインユニットが遠隔監視を行えているか否かを監視する。メインユニットが遠隔監視を行えなくなった場合には、スタンバイユニットにおいて即応情報の処理を行うことにより設備機器の遠隔監視を実行する。設備機器情報が即応情報であるか否かの判定は判定部で行う。これにより、即応情報であると判定部で判断された設備機器情報を処理部で処理することが可能となるため、少なくとも即応を要する処理についてはスタンバイユニットで確実に実行することができる。
請求項3に記載の設備機器の遠隔監視装置は、請求項2に記載の設備機器の遠隔監視装置であって、メインユニットが設備機器の遠隔監視を行える状態に復帰したとメインユニット状態監視部が認識した際に、記憶部に記憶される設備機器情報をメインユニットに受け渡す。
記憶部は、受信部で受信した全ての設備機器情報を記憶可能である。このため、記憶部に記憶されている設備機器情報をメインユニットが復旧した際に受け渡すことにより、即応情報以外の処理をメインユニットで行わせることが可能となる。よって、即応情報の処理による遠隔監視はスタンバイユニットで即時に処理することができ、さらに即応情報以外の処理による遠隔監視を欠落無く行うことが可能となる。
請求項4に記載の設備機器の遠隔監視装置は、請求項2または3に記載の設備機器の遠隔監視装置であって、受信部が不定期に受信する設備機器情報に対して即応情報であると判定部が判断する。
設備機器情報のうち、定期的に送られてくる情報のほとんどは、緊急の情報(即応情報)ではないことが多く、平常運転時の設備機器の運転データである場合がほとんどである。一方、定期的でない時期に送られてくる設備機器情報は、緊急の情報(即応情報)である場合が多い。
ここでは、不定期に送られてきた設備機器情報が即応情報であると判定部が判定する。これにより、定期的に送られた情報以外の情報(即応情報)を処理部において即時処理することが可能となる。
請求項5に記載の設備機器の遠隔監視装置は、請求項1から4のいずれかに記載の設備機器の遠隔監視装置であって、メインユニットとスタンバイユニットとが通信手段により接続された個別の装置である。
ここでは、メインユニットとスタンバイユニットとが独立している。これにより、スタンバイユニットを追加・交換することや、メインユニットとスタンバイユニットとを別の場所に設置することなどを行い、遠隔監視をより確実に行うことが可能となる。
請求項6に記載の設備機器監視システムは、複数の設備機器、設備機器を管理する管理装置、メイン遠隔監視装置、及びスタンバイ遠隔監視装置を備える。メイン遠隔監視装置は、管理装置から設備機器に関する設備機器情報を受信し、設備機器情報の処理を行うことにより設備機器の遠隔監視を行う。スタンバイ遠隔監視装置は、メイン遠隔監視装置が設備機器の遠隔監視を行えない際に、設備機器情報のうち即応を要する即応情報の処理を行うことにより設備機器の遠隔監視を行う。
通常、複数の設備機器の遠隔監視は、メイン遠隔監視装置が行う。メイン遠隔監視装置に故障など何らかの不具合が生じたために遠隔監視を行えない場合、スタンバイ遠隔監視装置が設備機器の遠隔監視を代行する。
ここでは、スタンバイ遠隔監視装置が、遠隔監視のうちでも即応を要する処理のみを実行する。すなわち、スタンバイ遠隔監視装置では、設備機器に関する設備機器情報のうちでも処理を即時に行う必要がある即応情報の処理を行う。
即応情報の処理は、遠隔監視の一部であるため、スタンバイ遠隔監視装置が行える処理を一部に限定することができる。これにより、スタンバイ遠隔監視装置が備える機能を限定することができるため、スタンバイ遠隔監視装置を安価に提供することが可能となる。
請求項7に記載の設備機器監視システムは、請求項6に記載の設備機器監視システムであって、即応情報が管理装置から不定期に送られてきた設備機器情報である。
設備機器情報のうち、管理装置から定期的に送られてくる情報のほとんどは、緊急の情報(即応情報)ではない場合が多く、一般的には平常運転時の設備機器の運転データである場合が多い。一方、定期的でない時期に送られてくる設備機器情報は、緊急の情報(即応情報)である場合が多い。
ここでは、管理装置から不定期に送られてきた設備機器情報が即応情報であると判定部が判定する。これにより、管理装置から定期的に送られた情報以外の情報(即応情報)を処理部において即時処理することが可能となる。
請求項8に記載の設備機器監視システムは、請求項6または7に記載の設備機器監視システムであって、管理装置は、メイン遠隔監視装置が設備機器の遠隔監視を行えているか否かを監視するメインユニット状態監視部を有する。
ここでは、メインユニット状態監視部においてメインユニットが遠隔監視を行えているか否かを監視する。そして、メインユニットが遠隔監視を行えなくなった場合には、スタンバイユニットにおいて即応情報の処理を行うことにより設備機器の遠隔監視を実行する。設備機器情報が即応情報であるか否かの判定は判定部で行う。これにより、即応情報であると判定部で判断された設備機器情報を処理部で処理することが可能となるため、少なくとも即応を要する処理についてはスタンバイユニットで確実に実行することができる。
請求項9に記載の設備機器監視システムは、複数の設備機器、管理装置、メイン遠隔監視装置およびスタンバイ遠隔監視装置を備える。管理装置は、設備機器に関する設備機器情報を送信する。メイン遠隔監視装置は、設備機器情報の処理を行うことにより設備機器の遠隔監視を行う。スタンバイ遠隔監視装置は、管理装置とメイン遠隔監視装置との間に通信障害が発生した場合に、設備機器情報のうち即応を要する即応情報の処理を行うことにより設備機器の遠隔監視を行う。なお、ここにいう「管理装置とメイン遠隔監視装置との間に通信障害が発生した場合」とは、管理装置が設備機器情報を3回送信しても送信を完了することができなかった場合などである。
通常、複数の設備機器の遠隔監視は、メインユニットが行う。しかし、例えばメインユニットが故障するなどして管理装置とメイン遠隔監視装置との間に通信障害が発生した場合、スタンバイユニットが設備機器の遠隔監視を代行する。
ここでは、スタンバイユニットが、遠隔監視のうちでも即応を要する処理のみを実行する。すなわち、スタンバイユニットでは、設備機器に関する設備機器情報のうちでも処理を即時に行う必要がある即応情報の処理を行う。
即応情報の処理は、遠隔監視の一部であるため、スタンバイユニットが行える処理を一部に限定することができる。これにより、スタンバイユニットが備える機能を限定することができるため、スタンバイユニットを安価に提供することが可能となる。
請求項1に記載の設備機器の遠隔監視装置では、スタンバイユニットを安価に提供することが可能となる。
請求項2に記載の設備機器の遠隔監視装置では、少なくとも即応を要する処理についてはスタンバイユニットで確実に実行することができる。
請求項3に記載の設備機器の遠隔監視装置では、即応情報の処理による遠隔監視をスタンバイユニットで即時に処理することができ、さらに即応情報以外の処理による遠隔監視を欠落無く行うことが可能となる。
請求項4に記載の設備機器の遠隔監視装置では、不定期に送られた情報(即応情報)を処理部において即時処理することが可能となる。
請求項5に記載の設備機器の遠隔監視装置では、遠隔監視をより確実に行うことが可能となる。
請求項6に記載の設備機器監視システムでは、スタンバイ遠隔監視装置を安価に提供することが可能となる。
請求項7に記載の設備機器監視システムでは、管理装置から不定期に送られた情報(即応情報)を処理部において即時処理することが可能となる。
請求項8に記載の設備機器監視システムでは、少なくとも即応を要する処理についてはスタンバイユニットで確実に実行することができる。
請求項9に記載の設備機器監視システムでは、スタンバイユニットを安価に提供することが可能となる。
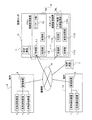
<<第1実施形態>>
第1実施形態に係る空調機監視システムを図1に示す。
本空調機監視システムは、物件4に設置される空気調和装置1を、物件4から遠隔地に設置される遠隔監視装置3で遠隔監視を行うシステムである。
<全体の構成>
空調機監視システムは、主に、複数の空気調和装置1、管理装置2、及び遠隔監視装置3から構成される。空気調和装置1及び管理装置2は、建物や店舗などの物件4に設置されている。
空気調和装置1は、物件4の内部の空気調和(暖房、冷房、除湿など)を行う。
管理装置2は、物件4に設けられている空気調和装置1の管理を行う。管理装置2が行う管理には、空気調和装置1の運転の制御や運転状況の確認などが含まれる。また、管理装置2は、空気調和装置1の運転状況など空気調和装置1の情報を遠隔監視装置3に送信する。空気調和装置1が平常運転を行っている場合、管理装置2は、定期的(例えば1日1回)に遠隔監視装置3に空気調和装置1の情報を送信する。他方、空気調和装置1に何らかの異常が生じた場合には、上記した定期的な送信以外の時期(不定期)に情報の送信を随時行う。管理装置2は、物件4に1台ずつ設置されており、物件4に設置される空気調和装置1と通信回線により接続されている。また、管理装置2は遠隔監視装置3からの制御指令を受信して、空気調和装置1の制御を行う。
遠隔監視装置3は、それぞれの物件4に設置される管理装置2から受信する空気調和装置1に関する情報に基づいて遠隔監視を行う。遠隔監視装置3は、物件4から離れた遠隔地の監視センタ5に設置される。遠隔監視装置3と管理装置2とは、通信網6により接続される。通信網6は、例えば公衆回線、専用回線、インターネット網などである。また、遠隔監視装置3は、監視センタ5内外に設置された端末装置7から通信網6などを介してアクセス可能であり、端末装置7から送られる指令などの情報に従って、遠隔監視を行っている空気調和装置1の状態などを端末装置7に送信して表示させることが可能である。さらに、遠隔監視装置3は、端末装置7で入力された空気調和装置1に対する制御指令などを含む情報を管理装置2に送信することが可能となっている。
遠隔監視装置3は、メイン遠隔監視装置3aとスタンバイ遠隔監視装置3bとから構成される。通常、遠隔監視装置3は、メイン遠隔監視装置3aが遠隔監視を行う。スタンバイ遠隔監視装置3bは、メイン遠隔監視装置3aが遠隔監視を行えない場合にのみ稼動して、遠隔監視を代行する。
メイン遠隔監視装置3aは、受信部11、記憶部12、処理部13、及びデータベース部15を有する。また、スタンバイ遠隔監視装置3bは、受信部111、記憶部112、簡易処理部113、判定部114、及びメイン装置状態監視部116を有する。
受信部11、111は、通信網6と接続されており、空気調和装置1に関する情報や端末装置7からの情報などを受信する。なお、スタンバイ遠隔監視装置3bの受信部111は、メイン遠隔監視装置3aの受信部11に接続されており、これを経て通信網6に接続されている。
記憶部12、112は、受信部11、111で受信した各種の情報を記憶する。
処理部13は、メイン遠隔監視装置3aに設けられており、情報の処理を行うことにより空気調和装置1の遠隔監視を行う。遠隔監視の内容には、報告書作成機能、日報発報処理機能などの定期的に実行する第1処理、異常発報処理機能、気象データを用いた制御データ送信機能など迅速に行うべき第2処理、マスタデータ検索・設定・変更機能、異常監視・異常一覧表示機能など端末装置7からの指令に対応する第3処理、試運転発報処理機能のような特別な場合における第4処理などが含まれている。
簡易処理部113は、スタンバイ遠隔監視装置3bに設けられており、処理部13と同様に空気調和装置1の情報の処理を行うことにより空気調和装置1の遠隔監視を行う。簡易処理部113は、処理部13で実行する処理のうち、即応を要する処理のみ実行可能となっている。さらに詳細に述べると、簡易処理部113では、異常発報処理機能、気象データを用いた制御データ送信機能など迅速に行うべき第2処理、マスタデータ検索・設定・変更機能、異常監視・異常一覧表示機能など端末装置7からの指令に対応する第3処理、試運転発報処理機能のような特別な場合における第4処理を行う。
判定部114は、スタンバイ遠隔監視装置3bに設けられており、受信部111で受信した情報が簡易処理部113で処理する情報(即応情報)であるか、処理しない情報(非即応情報)であるかの判定を行う。ここで、判定部114は、空気調和装置1に関する情報が管理装置2から不定期に送られてきた情報か定期的に送られてきた情報か、により判定を行い、管理装置2から定期的に送られてきた情報を非即応情報、不定期に送られてきた情報を即応情報と判定する。なお、端末装置7からの情報は、即時処理を行う必要があるので、即応情報であると判定する。
データベース部15は、メイン遠隔監視装置3aに設けられており、処理部13における日報発報処理の結果であるデータベースを記憶する。データベースは、管理装置2から定期的に送られる空気調和装置1の運転データ(日報)を処理部13で処理することにより生成される。
メイン装置状態監視部116は、スタンバイ遠隔監視装置3bに設けられており、メイン遠隔監視装置3aが遠隔監視を行っているか否か、などメイン遠隔監視装置3aの状態の監視をおこなう。
<メイン遠隔監視装置の動作>
遠隔監視装置3における情報の処理を説明する。通常はメイン遠隔監視装置3aにおいて情報を処理するので、まずメイン遠隔監視装置3aについて動作の説明を行う。
メイン遠隔監視装置3aは、管理装置2から定期的に送られてくる空気調和装置1の運転データ(日報)を受信部11で受信する。この受信した運転データは、記憶部12に記憶される。その後に、処理部13において、記憶部12に記憶されている運転データを処理してデータベースを生成する。生成されたデータベースは、データベース部15に記憶される。また、データベースを元にして、所定間隔(例えば1ヶ月に1回)で空気調和装置1の報告書を作成する。
空気調和装置1に何らかの異常が生じた場合には、管理装置2から異常発報の情報を含んだ通信が受信部11に送られる。受信部11で受信された異常発報の情報は、記憶部12に記憶され、その後に処理部13において処理される。
また、端末装置7から空気調和装置1に対する制御指令などの情報が送られてきた場合には、その内容に応じて処理部13が処理を行う。
<スタンバイ遠隔監視装置の動作>
スタンバイ遠隔監視装置3bの動作について図2に記載のフローチャートに基づいて説明する。
まずステップS1では、メイン遠隔監視装置3aが遠隔監視を行っているか否かをメイン装置状態監視部116が確認する。すなわち、メイン遠隔監視装置3aが稼動して情報の処理を行っているか、または停止しているかを確認する。メイン遠隔監視装置3aが稼動している場合にはそのままステップS1へ戻る。メイン遠隔監視装置3aが停止している場合には、スタンバイ遠隔監視装置3bが遠隔監視の代行を行う必要があるため、ステップS2以降に移行して空気調和装置1の遠隔監視を実行する。
ステップS2では、受信部111に送信されてくる情報の受信を行う。この情報には、空気調和装置1に関する情報や、端末装置7での指令などの情報が含まれる。続いて、ステップS3において、受信した情報を記憶部112が記憶する。
ステップS4では、記憶部112に記憶された情報が即応情報であるか否かを判定部114で判定する。判定部114は、情報が管理装置2から不定期に送られてきた情報か否かにより即応情報か非即応情報かの判定を行う。また、記憶部112に記憶された情報が端末装置7からの指令などの情報である場合には、全て即応情報であると判定する。即応情報である場合には、ステップS5へ移行する。非即応情報である場合には、スタンバイ遠隔監視装置3bで処理を行わない情報であると判断され、ステップS2へ戻る。
ステップS5では、即応情報を簡易処理部113で処理する。処理後はステップS6へ移行する。
ステップS6では、メイン装置状態監視部116においてメイン遠隔監視装置3aが遠隔監視を行っているか否かを確認する。すなわち、メイン遠隔監視装置3aが復旧したか否かの確認を行う。メイン遠隔監視装置3aが依然停止している場合には、ステップS2に戻る。メイン遠隔監視装置3aが復旧している場合には、ステップS7に移行する。
ステップS7では、メイン遠隔監視装置3aが停止している間にスタンバイ遠隔監視装置3bの記憶部112に記憶された情報をメイン遠隔監視装置3aに受け渡す。
<メイン遠隔監視装置あるいはスタンバイ遠隔監視装置が複数の管理装置から同時に即応情報を受信した場合について>
本実施の形態では、メイン遠隔監視装置3aあるいはスタンバイ遠隔監視装置3bが複数の管理装置2から同時に即応情報(例えば、異常発報)を受信した場合、その即応情報の処理の優先度は、管理装置2が配備される物件4に対するサービス契約内容によって決定される(つまり、優先度は、サービス契約内容によって予め設定される)。例えば、ある物件4のサービス契約内容に「甲は、メイン遠隔監視装置3aあるいはスタンバイ遠隔監視装置3bが管理装置2から異常発報を受信してから120分以内に、乙の元へサービスエンジニアを派遣します。」とあり、他の物件4のサービス契約内容に「甲は、メイン遠隔監視装置3aあるいはスタンバイ遠隔監視装置3bが管理装置2から異常発報を受信してから90分以内に、乙の元へサービスエンジニアを派遣します」とある場合、メイン遠隔監視装置3aあるいはスタンバイ遠隔監視装置3bでは、前者の物件4の管理装置2から送信される即応情報よりも後者の物件4の管理装置2から送信される即応情報を優先的に処理するように設定される。
なお、メイン遠隔監視装置3aあるいはスタンバイ遠隔監視装置3bが異常発報を受信すると、オペレータが、図4に示される作業フローに従って所定の作業を行う。
図4において、ステップS11では、端末装置7が、オペレータに異常発生を音声および画面表示により通知する。なお、このとき、高優先度に属する異常発報については男性の声で、それ以外の異常発報については女性の声で通知される。また、端末装置7の画面上では、高優先度に属する異常発報については、それ以外の異常発報と異なる色により、かつ、それ以外の異常発報のときよりも早い点滅表示により異常発生が通知される。ステップS12では、オペレータが、異常通知が正常に行われたか否かを確認するため、端末装置7に表示される異常一覧画面を確認する。なお、このとき、異常一覧画面では、高優先度の異常発報に対応する各種情報(例えば、顧客名など)が上位に表示されるようになっている。ステップS13では、オペレータが、必要に応じてデータの出力等の作業を行う(例えば、プリントアウト等の作業)。
<特徴>
第1実施形態に係る空調機監視システムでは、遠隔監視装置3がメイン遠隔監視装置3aとスタンバイ遠隔監視装置3bとを備える。メイン遠隔監視装置3aが遠隔監視を行えない場合に、スタンバイ遠隔監視装置3bが遠隔監視を代行して行う。これにより、空気調和装置1の遠隔監視を連続して確実に行うことが可能となる。
また、スタンバイ遠隔監視装置3bは、遠隔監視のうちでも即応を要する即応情報の処理のみを実行する。このため、スタンバイ遠隔監視装置3bが備える機能を限定することができる。よって、スタンバイ遠隔監視装置3bを安価に提供することが可能となり、空調機監視システムのコストパフォーマンスをよくすることができる。
メイン遠隔監視装置3aが遠隔監視を行えない間にスタンバイ遠隔監視装置3bが受信した情報は、スタンバイ遠隔監視装置3bの記憶部112に記憶されている。メイン遠隔監視装置3aが復帰した際には、この記憶部112に記憶されている情報をメイン遠隔監視装置3aに受け渡す。これにより、スタンバイ遠隔監視装置3bで処理されていない非即応情報の処理をメイン遠隔監視装置3aで確実に行わせることが可能となる。
<他の実施例>
(a)
上記の空調機監視システムでは、メイン遠隔監視装置3aとスタンバイ遠隔監視装置3bとが同一の監視センタ5に設置されている。ここで、メイン遠隔監視装置3aとスタンバイ遠隔監視装置3bとが別の場所に設置され、互いに通信手段により接続されていてもよい。この場合には、例えば一方の遠隔監視装置の設置場所で問題が生じた際にも、他方の遠隔監視装置の設置場所に影響が及ばないことが多いため、空調機監視システムの頑強度をさらに向上させることができる。
(b)
上記の空調機監視システムでは、メイン遠隔監視装置3aが復帰した際には、スタンバイ遠隔監視装置3bの記憶部112に記憶されている全ての情報をメイン遠隔監視装置3aに受け渡す。ここで、メイン遠隔監視装置3aが復帰した際に受け渡す情報を、スタンバイ遠隔監視装置3bの簡易処理部113で処理していない情報に限定してメイン遠隔監視装置3aに受け渡すようにしてもよい。この場合、非即応情報の処理をメイン遠隔監視装置3aで確実に行わせることが可能となると共に、受け渡しを行う情報量を削減することが可能となる。
(c)
上記の空調機監視システムでは、管理装置2及び端末装置7から送信される情報を遠隔監視装置3において受信する。ここで、管理装置2が存在せずに、空気調和装置1が遠隔監視装置3と直接通信可能である場合、遠隔監視装置3は空気調和装置1からの情報を受信してもよい。
また、端末装置7が存在しない場合には、端末装置7からの情報を受信しないことになる。このため、スタンバイ遠隔監視装置3bで処理すべき即応情報の種類が減少するため、スタンバイ遠隔監視装置3bをさらに安価に提供することが可能となる。
(d)
上記の空調機監視システムでは、遠隔監視装置3において空気調和装置1の遠隔監視を行う。ここで、遠隔監視装置3が遠隔監視を行う対象は、空気調和装置1に限られず、給湯器、照明機器などの設備機器、またはそれらの組合せであってもよい。
(e)
上記の空調機監視システムでは、スタンバイ遠隔監視装置3bにメイン装置状態監視部116が設けられたが、メイン装置状態監視部116は、管理装置2に設けられてもよい。この場合、メイン装置状態監視部116はメイン遠隔監視装置3aが遠隔監視を行える状態にあるか否かを監視する。そして、管理装置2は、メイン遠隔監視装置3aが遠隔監視を行える状態にある場合、メイン遠隔監視装置3aに空気調和装置1の情報を送信し、メイン遠隔監視装置3aが遠隔監視を行える状態にない場合、管理装置2がスタンバイ遠隔監視装置3bに空気調和装置1の情報を送信する。
(f)
上記の空調機監視システムでは、メイン遠隔監視装置3aあるいはスタンバイ遠隔監視装置3bが複数の管理装置2から同時に即応情報を受信した場合、その即応情報の処理の優先度が、管理装置2が配備される物件4に対するサービス契約内容によって決定された。しかし、即応情報の処理の優先度は、サービス契約内容以外の要因によって決定されてもよい。例えば、電算機室の空調機からの即応情報を、居室の空調機からの即応情報よりも優先的に処理することが考えられる。また、コンビニエンスストアに設置される冷凍ショーケースからの即応情報を、居室や店内の空調機からの即応情報よりも優先的に処理することも考えられる(食品保証のため)。また、過去にクレームを起こした物件4に設置されている管理装置4からの即応情報を、過去にクレームがついたことがない物件4に設置されている管理装置4からの即応情報よりも優先的に処理することも考えられる。さらに、警備会社やビルメインテンス会社など、異常発報に敏感な会社の物件4に設置される管理装置2からの即応情報を、通常のオフィス物件に設置される管理装置2からの即応情報よりも優先的に処理することも考えられる。
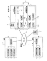
<<第2実施形態>>
第2実施形態に係る空調機監視システムを図3に示す。
本空調機監視システムの構成は、メイン装置状態監視部116がないこと以外すべて第1実施形態に係る空調機監視システムの構成と同じである。
しかし、遠隔監視装置3が、メイン遠隔監視装置3aからスタンバイ遠隔監視装置3bへ変遷するきっかけが異なる。
ここでは、管理装置2が空気調和装置1の情報をメイン遠隔監視装置3aへ送信してその送信処理が完了しない場合、その送信処理をリトライする。なお、このリトライは3回行われる(リトライの回数は、適宜選択し得る)。そして、管理装置2がリトライを3回行ったのにもかかわらず送信処理が完了しない場合、管理装置2は、その空気調和装置1の情報が非即応情報であれば送信処理を断念して自身の記憶部(図示せず)にその非即応情報を一時保存し、その空気調和装置1の情報が即応情報であればスタンバイ遠隔監視装置3bへその即応情報を送信処理する。なお、このような処理は、空気調和装置1の情報の送信処理がなされる度に行われる。したがって、メイン遠隔監視装置3aの復旧後は、すべての空気調和装置1の情報がメイン遠隔監視装置3aに送信されることになる。また、このとき、管理装置2の記憶部に一時記憶されている非即応情報も送信されることになる。
本発明に係る設備機器の遠隔監視装置は、スタンバイユニットを安価に提供することが可能となる特徴を有し、設備機器の遠隔監視に係る費用を低減するのに有用である。
第1実施形態に係る空調機監視システムのブロック図。 スタンバイ遠隔監視装置における情報の処理に関するフローチャート。 第2実施形態に係る空調機監視システムのブロック図。 異常発報受信時に行われる作業フローを表す図。
符号の説明
1 空気調和装置
2 管理装置
3 遠隔監視装置
3a メイン遠隔監視装置
3b スタンバイ遠隔監視装置
11、111 受信部
12、112 記憶部
13 処理部
113 簡易処理部
114 判定部
116 メイン装置状態監視部

Claims (9)

  1. 複数の設備機器(1)に関する設備機器情報を受信して遠隔監視を行う設備機器(1)の遠隔監視装置(3)であって、
    前記設備機器情報の処理を行うことにより前記設備機器(1)の遠隔監視を行うメインユニット(3a)と、
    前記メインユニット(3a)が前記設備機器(1)の遠隔監視を行えない際に、前記設備機器情報のうち即応を要する即応情報の処理を行うことにより前記設備機器(1)の遠隔監視を行うスタンバイユニット(3b)と、
    を備える、設備機器(1)の遠隔監視装置(3)。
  2. 前記スタンバイユニット(3b)は、
    前記メインユニット(3a)の状態を監視するメインユニット状態監視部(116)と、
    通信網(6)を介して前記設備機器情報を受信する受信部(111)と、
    前記受信部(111)で受信した前記設備機器情報を記憶する記憶部(112)と、
    前記記憶部(112)に記憶される前記設備機器情報が前記即応情報であるか否かを判定する判定部(114)と、
    前記即応情報の処理を行う処理部(113)と、
    を有する、請求項1に記載の設備機器(1)の遠隔監視装置(3)。
  3. 前記メインユニット状態監視部(116)は、前記メインユニット(3a)が前記設備機器(1)の遠隔監視を行える状態に復帰したと認識した際に、前記記憶部(112)に記憶される前記設備機器情報を前記メインユニット(3a)に受け渡す、請求項2に記載の設備機器(1)の遠隔監視装置(3)。
  4. 前記判定部(114)は、前記受信部(111)が不定期に受信する前記設備機器情報に対して前記即応情報であると判断する、請求項2または3に記載の設備機器(1)の遠隔監視装置(3)。
  5. 前記メインユニット(3a)と前記スタンバイユニット(3b)とは、通信手段により接続された個別の装置である、請求項1から4のいずれかに記載の設備機器(1)の遠隔監視装置(3)。
  6. 複数の設備機器(1)と、
    前記設備機器(1)を管理する管理装置(2)と、
    前記管理装置(2)から前記設備機器(1)に関する設備機器情報を受信し、前記設備機器情報の処理を行うことにより前記設備機器(1)の遠隔監視を行うメイン遠隔監視装置(3a)と、
    前記メイン遠隔監視装置(3a)が前記設備機器(1)の遠隔監視を行えない際に、前記設備機器情報のうち即応を要する即応情報の処理を行うことにより前記設備機器(1)の遠隔監視を行うスタンバイ遠隔監視装置(3b)と、
    を備える設備機器監視システム。
  7. 前記即応情報は、前記管理装置(2)から不定期に送られてきた前記設備機器情報である、請求項6に記載の設備機器監視システム。
  8. 前記管理装置(2)は、前記メイン遠隔監視装置(3a)が前記設備機器(1)の遠隔監視を行えているか否かを監視するメインユニット状態監視部(116)を有する、
    請求項6または7に記載の設備機器監視システム。
  9. 複数の設備機器(1)と、
    前記設備機器(1)に関する設備機器情報を送信する管理装置(2)と、
    前記設備機器情報の処理を行うことにより前記設備機器(1)の遠隔監視を行うメイン遠隔監視装置(3a)と、
    前記管理装置(2)と前記メイン遠隔監視装置(3a)との間に通信障害が発生した場合に、前記設備機器情報のうち即応を要する即応情報の処理を行うことにより前記設備機器(1)の遠隔監視を行うスタンバイ遠隔監視装置(3b)と、
    を備える設備機器監視システム。
JP2004362193A 2004-03-11 2004-12-15 設備機器監視システム Expired - Fee Related JP4305380B2 (ja)

Priority Applications (1)

Application Number Priority Date Filing Date Title
JP2004362193A JP4305380B2 (ja) 2004-03-11 2004-12-15 設備機器監視システム

Applications Claiming Priority (2)

Application Number Priority Date Filing Date Title
JP2004068385 2004-03-11
JP2004362193A JP4305380B2 (ja) 2004-03-11 2004-12-15 設備機器監視システム

Publications (2)

Publication Number Publication Date
JP2005293549A true JP2005293549A (ja) 2005-10-20
JP4305380B2 JP4305380B2 (ja) 2009-07-29

Family

ID=35326370

Family Applications (1)

Application Number Title Priority Date Filing Date
JP2004362193A Expired - Fee Related JP4305380B2 (ja) 2004-03-11 2004-12-15 設備機器監視システム

Country Status (1)

Country Link
JP (1) JP4305380B2 (ja)

Cited By (5)

* Cited by examiner, † Cited by third party
Publication number Priority date Publication date Assignee Title
WO2009017099A1 (ja) * 2007-07-31 2009-02-05 Daikin Industries, Ltd. 制御機器情報システム
JP2013178048A (ja) * 2012-02-29 2013-09-09 Hitachi Appliances Inc チリングユニット
CN107702276A (zh) * 2017-08-30 2018-02-16 国网浙江省电力公司台州供电公司 精密空调联控节能方法
JP2018128951A (ja) * 2017-02-10 2018-08-16 ホーチキ株式会社 代替システム
JP2019091320A (ja) * 2017-11-15 2019-06-13 株式会社東芝 監視システム

Families Citing this family (1)

* Cited by examiner, † Cited by third party
Publication number Priority date Publication date Assignee Title
CN105656836A (zh) * 2014-11-11 2016-06-08 中兴通讯股份有限公司 安全监听方法及系统

Cited By (5)

* Cited by examiner, † Cited by third party
Publication number Priority date Publication date Assignee Title
WO2009017099A1 (ja) * 2007-07-31 2009-02-05 Daikin Industries, Ltd. 制御機器情報システム
JP2013178048A (ja) * 2012-02-29 2013-09-09 Hitachi Appliances Inc チリングユニット
JP2018128951A (ja) * 2017-02-10 2018-08-16 ホーチキ株式会社 代替システム
CN107702276A (zh) * 2017-08-30 2018-02-16 国网浙江省电力公司台州供电公司 精密空调联控节能方法
JP2019091320A (ja) * 2017-11-15 2019-06-13 株式会社東芝 監視システム

Also Published As

Publication number Publication date
JP4305380B2 (ja) 2009-07-29

Similar Documents

Publication Publication Date Title
KR100851009B1 (ko) 멀티에어컨의 통합관리 시스템 및 방법
EP1953472B1 (en) Integrated management system and method using setting information back-up for controlling multi-type air conditioners
US7183899B2 (en) Remotely monitored and controlled building automation system
CN101809373B (zh) 设备监视装置及远程监视系统
EP3421898B1 (en) Remote management system
EP2056031B1 (en) Error management system of air conditioner
WO2014151914A1 (en) Alarm processing systems and methods
US10684035B2 (en) HVAC system that collects customer feedback in connection with failure triage
JP4305380B2 (ja) 設備機器監視システム
JP2009104619A (ja) 自動火災報知設備の遠隔監視システム
JP2002132995A (ja) 通信施設の管理システム
CN101636700B (zh) 组管理装置及组管理系统
JP5755076B2 (ja) 遠隔監視システム
KR20130038749A (ko) 설비 제어 장치, 이를 구비한 설비 관제 시스템 및 설비 관제 방법
JP2008271474A (ja) 遠隔管理装置
EP2354866A2 (en) Facilities control system and operating method of the same
JP2007116586A (ja) 設備監視システム
JP4121987B2 (ja) 機器制御システム
JP2011237935A (ja) 設備機器管理システム
JPH05270762A (ja) エレベータの遠隔監視システム
KR101631084B1 (ko) 설비 관제 시스템
JP2024016687A (ja) 装置管理システムおよび装置管理方法
JP2004355514A (ja) 設備機器の故障修理支援システム
JPH0832706A (ja) ビル群遠隔管理装置
JP2004157899A (ja) 機器の保守管理方法

Legal Events

Date Code Title Description
A131 Notification of reasons for refusal

Free format text: JAPANESE INTERMEDIATE CODE: A131

Effective date: 20080304

RD02 Notification of acceptance of power of attorney

Free format text: JAPANESE INTERMEDIATE CODE: A7422

Effective date: 20080304

A521 Request for written amendment filed

Free format text: JAPANESE INTERMEDIATE CODE: A523

Effective date: 20080502

A131 Notification of reasons for refusal

Free format text: JAPANESE INTERMEDIATE CODE: A131

Effective date: 20081118

A521 Request for written amendment filed

Free format text: JAPANESE INTERMEDIATE CODE: A523

Effective date: 20090106

TRDD Decision of grant or rejection written
A01 Written decision to grant a patent or to grant a registration (utility model)

Free format text: JAPANESE INTERMEDIATE CODE: A01

Effective date: 20090407

A01 Written decision to grant a patent or to grant a registration (utility model)

Free format text: JAPANESE INTERMEDIATE CODE: A01

A61 First payment of annual fees (during grant procedure)

Free format text: JAPANESE INTERMEDIATE CODE: A61

Effective date: 20090420

FPAY Renewal fee payment (event date is renewal date of database)

Free format text: PAYMENT UNTIL: 20120515

Year of fee payment: 3

FPAY Renewal fee payment (event date is renewal date of database)

Free format text: PAYMENT UNTIL: 20120515

Year of fee payment: 3

FPAY Renewal fee payment (event date is renewal date of database)

Free format text: PAYMENT UNTIL: 20130515

Year of fee payment: 4

FPAY Renewal fee payment (event date is renewal date of database)

Free format text: PAYMENT UNTIL: 20130515

Year of fee payment: 4

LAPS Cancellation because of no payment of annual fees