JP2005292404A - アクセサリ装置 - Google Patents
アクセサリ装置 Download PDFInfo
- Publication number
- JP2005292404A JP2005292404A JP2004106247A JP2004106247A JP2005292404A JP 2005292404 A JP2005292404 A JP 2005292404A JP 2004106247 A JP2004106247 A JP 2004106247A JP 2004106247 A JP2004106247 A JP 2004106247A JP 2005292404 A JP2005292404 A JP 2005292404A
- Authority
- JP
- Japan
- Prior art keywords
- accessory device
- optical
- optical device
- adhesive
- state
- Prior art date
- Legal status (The legal status is an assumption and is not a legal conclusion. Google has not performed a legal analysis and makes no representation as to the accuracy of the status listed.)
- Withdrawn
Links
Images
Landscapes
- Accessories Of Cameras (AREA)
Abstract
【課題】 固体撮像素子のカバーガラス表面や光学フィルタ表面に付着した異物を簡単な操作で除去したい。
【解決手段】 光学部材の表面に付着した異物を除去するアクセサリ装置であって、支持部51と、支持部51に一体的に設けられた略V字型の可撓部52と、可撓部52に取り付けられた弾性部53と、弾性部53に懸架された粘着部54と、カメラのマウント機構に取り付けられる取り付け部56とを有し、カメラのマウント機構に取り付けられた状態で支持部55を押して粘着部54を押し込むことにより、カメラ内のフィルタ面などに付着した異物を除去する。
【選択図】 図12
【解決手段】 光学部材の表面に付着した異物を除去するアクセサリ装置であって、支持部51と、支持部51に一体的に設けられた略V字型の可撓部52と、可撓部52に取り付けられた弾性部53と、弾性部53に懸架された粘着部54と、カメラのマウント機構に取り付けられる取り付け部56とを有し、カメラのマウント機構に取り付けられた状態で支持部55を押して粘着部54を押し込むことにより、カメラ内のフィルタ面などに付着した異物を除去する。
【選択図】 図12
Description
本発明は、例えばデジタルカメラ等の光学機器のアクセサリ装置に関し、特に光学機器に組み込まれている光学部材の表面或はその近傍に付着した異物を除去するためのアクセサリ装置に関するものである。
カメラの撮影レンズの焦点面近傍に塵埃等の異物が存在すると、その異物の影が固体撮像素子に写り込んでしまうという問題がある。このような異物は、レンズ交換時に塵埃が外部から侵入したり、カメラ内部でのシャッタやミラーの動作に伴い、その構造部材である樹脂等の微細な磨耗紛が発生することが原因と考えられている。このような原因で発生した塵埃が、特に固体撮像素子の保護用のカバーガラスとカバーガラスの全面に配設されている赤外カットフィルタや光学ローパスフィルタ(以下、LPFと略す)等の光学フィルタの間に入り込んでしまった場合には、その塵埃を除去するためにカメラを分解しなければならなかった。このため、固体撮像素子のカバーガラスと光学フィルタとの間に塵埃が入り込まないように密閉構造にすることは極めて有効なものであった。
しかしながら、光学フィルタの固体撮像素子に対向側と反対の表面に塵埃が付着した場合、それが焦点面の近傍である場合にはその塵埃が影となって固体撮像素子に写り込んでしまうという問題が依然として残っている。
そこで、このような問題点を解決するために、固体撮像素子のカバーガラスの表面もしくは防塵構造の最外面をワイパーで清掃するものがある(特許文献1参照)。このようなカメラ構成にすると、レンズを外さず、またカメラを分解することなく固体撮像素子のカバーガラス表面又は防塵構造の最外面(例えば光学フィルタ表面)に付着した塵埃を除去することができる。
特開2003-018440号公報
実開平06-063183号公報
しかしながら特許文献1の構成では、固体撮像素子のカバーガラスの表面や防塵構造の最外面をワイパーで擦るため、金属紛のような硬い塵埃の場合には、固体撮像素子のカバーガラスの表面や防塵構造の最外面にキズを付ける可能性がある。またワイパーを配設するための機構が必要となり、カメラが大型化するという問題がある。
そこで、粘着性を有する清掃棒により、付着している塵埃を清掃対象物から除去するものがある(特許文献2)。これは棒状部材の一端部にクッション材を介して粘着材を配設しクッション性と粘着性を併せ持った清掃部を備えた粘着性清掃棒により、固体撮像素子のカバーガラスの表面や光学フィルタの表面に付着した塵埃を取り除くものである。しかしながら、このような粘着性清掃棒を用いて清掃する場合、固体撮像素子のカバーガラスの表面や光学フィルタの表面に付着した塵埃が少なければ比較的簡単に取り除くことができるが、多くの塵埃が付着した場合には、複数回の除去作業が必要になる。
また、このような構成では、粘着性の清掃棒をカメラ内の清掃対象部以外に接触させてカメラ内部を汚染させたり、或は精密な機構部分に誤って挿入してしまい、専門家による修理が必要となるなどの虞がある。
本発明は上記問題点に鑑みてなされたもので、本願発明の特徴は、光学機器の清掃対象面以外に接触する危険性をなくしたアクセサリ装置を提供することにある。
本発明に係る光学機器のアクセサリ装置は以下のような構成を備える。即ち、
光学機器に取り付けられ、当該光学機器が有する光学部材の表面及び/或はその近傍に付着した異物を除去するアクセサリ装置であって、
ユーザにより支持・操作される操作部と、
前記操作部と一体的に形成され略V字型を有する可撓部と、
前記可撓部に懸架された弾性部と、
前記弾性部の少なくとも先端部側に設けられた粘着部と、
前記光学機器のマウント機構と係合して当該アクセサリ装置を前記光学機器に取り付けるための取り付け機構とを有し、
前記取り付け機構により当該アクセサリ装置を前記光学機器に取り付けた状態で前記操作部が操作されることにより前記粘着部が前記光学機器内に進入して異物を除去することを特徴とする。
光学機器に取り付けられ、当該光学機器が有する光学部材の表面及び/或はその近傍に付着した異物を除去するアクセサリ装置であって、
ユーザにより支持・操作される操作部と、
前記操作部と一体的に形成され略V字型を有する可撓部と、
前記可撓部に懸架された弾性部と、
前記弾性部の少なくとも先端部側に設けられた粘着部と、
前記光学機器のマウント機構と係合して当該アクセサリ装置を前記光学機器に取り付けるための取り付け機構とを有し、
前記取り付け機構により当該アクセサリ装置を前記光学機器に取り付けた状態で前記操作部が操作されることにより前記粘着部が前記光学機器内に進入して異物を除去することを特徴とする。
また本発明に係る光学機器のアクセサリ装置は以下のような構成を備える。即ち、
光学機器に取り付けられ、当該光学機器が有する光学部材の表面及び/或はその近傍に付着した異物を除去するアクセサリ装置であって、
軸部の端部に設けられユーザにより操作される操作部と、
前記操作部と反対側の前記軸部の端部に設けられ略V字型を有する可撓部と、
前記可撓部に懸架された弾性部と、
前記弾性部の少なくとも先端部側に設けられた粘着部と、
前記光学機器のマウント機構と係合して当該アクセサリ装置を前記光学機器に取り付けるための取り付け機構とを有し、
前記取り付け機構により当該アクセサリ装置を前記光学機器に取り付けた状態で前記操作部が操作されることにより前記粘着部が前記光学機器内に進入して異物を除去することを特徴とする。
光学機器に取り付けられ、当該光学機器が有する光学部材の表面及び/或はその近傍に付着した異物を除去するアクセサリ装置であって、
軸部の端部に設けられユーザにより操作される操作部と、
前記操作部と反対側の前記軸部の端部に設けられ略V字型を有する可撓部と、
前記可撓部に懸架された弾性部と、
前記弾性部の少なくとも先端部側に設けられた粘着部と、
前記光学機器のマウント機構と係合して当該アクセサリ装置を前記光学機器に取り付けるための取り付け機構とを有し、
前記取り付け機構により当該アクセサリ装置を前記光学機器に取り付けた状態で前記操作部が操作されることにより前記粘着部が前記光学機器内に進入して異物を除去することを特徴とする。
また本発明に係る光学機器のアクセサリ装置は以下のような構成を備える。即ち、
光学機器に取り付けられ、当該光学機器が有する光学部材の表面及び/或はその近傍に付着した異物を除去するアクセサリ装置であって、
ユーザにより支持・操作される操作部と、粘着面を具備する粘着部と、可撓性を有し、前記操作部に対して前記粘着面を略直交するように展開して保持する可撓部と、前記光学機器のマウント機構と係合して当該アクセサリ装置を前記光学機器に取り付けるための取り付け機構とを有し、前記取り付け機構により当該アクセサリ装置を前記光学機器に取り付けた状態で前記操作部が操作されることにより前記粘着部が前記光学機器内に進入して異物を除去することを特徴とする。
光学機器に取り付けられ、当該光学機器が有する光学部材の表面及び/或はその近傍に付着した異物を除去するアクセサリ装置であって、
ユーザにより支持・操作される操作部と、粘着面を具備する粘着部と、可撓性を有し、前記操作部に対して前記粘着面を略直交するように展開して保持する可撓部と、前記光学機器のマウント機構と係合して当該アクセサリ装置を前記光学機器に取り付けるための取り付け機構とを有し、前記取り付け機構により当該アクセサリ装置を前記光学機器に取り付けた状態で前記操作部が操作されることにより前記粘着部が前記光学機器内に進入して異物を除去することを特徴とする。
また本発明に係る光学機器のアクセサリ装置は以下のような構成を備える。即ち、
光学機器に取り付けられ、当該光学機器が有する光学部材の表面及び/或はその近傍に付着した異物を除去するアクセサリ装置であって、
軸部の端部に設けられユーザにより操作される操作部と、粘着面を具備する粘着部と、可撓制を有し、前記軸部と前記粘着面が略直交するように接続して保持する可撓部と、前記光学機器のマウント機構と係合して当該アクセサリ装置を前記光学機器に取り付けるための取り付け機構とを有し、前記取り付け機構により当該アクセサリ装置を前記光学機器に取り付けた状態で前記操作部が操作されることにより前記粘着部が前記光学機器内に進入して異物を除去することを特徴とする。
光学機器に取り付けられ、当該光学機器が有する光学部材の表面及び/或はその近傍に付着した異物を除去するアクセサリ装置であって、
軸部の端部に設けられユーザにより操作される操作部と、粘着面を具備する粘着部と、可撓制を有し、前記軸部と前記粘着面が略直交するように接続して保持する可撓部と、前記光学機器のマウント機構と係合して当該アクセサリ装置を前記光学機器に取り付けるための取り付け機構とを有し、前記取り付け機構により当該アクセサリ装置を前記光学機器に取り付けた状態で前記操作部が操作されることにより前記粘着部が前記光学機器内に進入して異物を除去することを特徴とする。
本発明によれば、付着した異物を除去する際に光学機器の清掃対象面以外に接触する危険性がなく、かつ簡単に異物を除去することができるいという効果がある。
以下、添付図面を参照して本発明の好適な実施の形態を詳しく説明する。
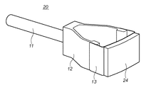
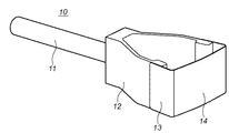
図1は、本発明の参考例であるアクセサリ装置10の構成を示す概観斜視図である。
図において、アクセサリ装置10は、塵埃を除去する際にアクセサリ装置10をユーザが支持する支持部11、支持部11と一体的に設けられ、略V型で可撓性を備えている可撓部12、この可撓部12に一体的に懸架されており、略コの字型をしている弾性部13及び弾性部13の先端に設けられた粘着部14とを備えている。
尚、粘着部14が設けられている弾性部13の先端部側は、外側にやや膨らんだ略円弧形状を形成している。これによりカメラ内の固体撮像素子のカバーガラスや光学フィルタ等のように、その表面形状が略平面の光学部材に粘着部14が当接する場合は、後述するように、その粘着部14が押し付けられるのに応じて光学部材の中央からその周辺部に向かって徐々に粘着部14が当接することとなる。また、この粘着部14は、粘着テープ(例えば住友3M製両面粘着テープ「9313」)や、もしくは弾性部13の表面にアクリル系等の粘着剤を直接塗布したものでも良い。
また本発明のアクセサリ装置10は、図1に示すような構成のもに限らず、例えば支持部11の先端、或は支持部11と一体に可撓性を有する柔軟部材で構成されたゴム状の部材を設け、このゴム状の部材により粘着部14である粘着シート(粘着テープ)を広げた(展開させた)状態で保持させたものでも良い。これにより図1の構成と同様に、粘着シートによりゴミなどの異物を除去でき、またゴム状の部材が緩衝材として機能しているため、光学機器の内部を傷付けないようにしてゴミを除去できる。
図2は、本参考例に係るアクセサリ装置10を用いて、固体撮像素子のカバーガラスの表面もしくは光学フィルタの表面等に付着した塵埃を除去する対象機器である光学機器の一例であるデジタルカラーカメラ(以下、単にカメラと呼ぶ)100の構成を説明するための側方視断面図である。
このカメラ100は、CCD或はCMOSセンサなどの固体撮像素子を用いた単板式のカメラ(一眼レフカメラ)であり、固体撮像素子を連続的又は単発的に駆動して、動画像或は静止画像を表わす画像信号を得る。ここで固体撮像素子は、露光した光を画素毎に電気信号に変換し、その光量に応じた電荷をそれぞれ蓄積し、その電荷を読み出すタイプのエリアセンサである。
図2において、100はカメラ本体、101はマウント機構であり、不図示の撮影レンズ(内部に絞りと結像光学系を有して取り外し可能)は、このマウント機構101を介してカメラ100本体に電気的及び機械的に接続される。このようなデジタル一眼レフカメラでは、撮影に使用する撮影レンズを焦点距離の異なるレンズに交換することにより、様々な画角の撮影画面を得ることができる。固体撮像素子106は、パッケージ124に収納されており、このパッケージ124はカバーガラス125にて固体撮像素子106を密閉状態で保持している。そして、不図示の撮影レンズ内の結像光学系から固体撮像素子106に至る光路中には、固体撮像素子106上に物体像の必要以上に高い空間周波数成分が伝達されないように結像光学系のカットオフ周波数を制限する光学ローパスフィルタ156(以下、LPF156と略す)が設けられている。また、この結像光学系には赤外線カットフィルタも形成されている。更に、カバーガラス125とLPF156との間は両面テープ等の密封部材157にて密封構造となっているので、カメラ100の外部もしくはカメラ100内部で発生した塵埃が、これらLPF156とカバーガラス125との間に入り込まないようになっている。
固体撮像素子106で捉えられた物体像は、ディスプレイ107に表示される。このディスプレイ107は、このカメラ100の背面に取り付けられており、撮影時等において、使用者は、その撮影対象の画像をこのディスプレイ107により直接観察できる。このディスプレイ107は、有機EL空間変調素子や液晶空間変調素子、微粒子の電気泳動を利用した空間変調素子などで構成すると消費電力が小さく、かつ薄型で都合が良い。また固体撮像素子106は、増幅型固体撮像素子の一つであるCMOSプロセスコンパチブルのセンサ(以下、CMOSセンサと略す)である。このCMOSセンサの特徴の一つに、エリアセンサ部のMOSトランジスタと撮像素子の駆動回路、A/D変換回路、画像処理回路といった周辺回路(図3参照)を同一工程で形成できることが挙げられる。この特徴により、マスク枚数、プロセス工程がCCDと比較して大幅に削減できる。また、任意の画素へのランダムアクセスが可能といった特長も有し、ディスプレイ用に画素を間引いた読み出しが容易で、高い表示レートでリアルタイム表示が行える。固体撮像素子106は、このような特徴を利用し、ディスプレイ107の画像出力動作、高精彩画像出力動作を行う。
ハーフミラー111は、光学ファインダに不図示の結像光学系からの光路を分割する可動型のミラーである。フォーカシングスクリーン105は、物体像の予定結像面に配置されている。112はペンタプリズムである。レンズ109は、撮影時、ユーザが光学ファインダ像を観察するためのレンズであり、実際には3つのレンズで構成されている。フォーカシングスクリーン105、ペンタプリズム112、レンズ109はファインダ光学系を構成している。ここでハーフミラー111の屈折率はおよそ1.5、厚さは0.5mmである。このハーフミラー111の背後には可動型のサブミラー122が設けられており、ハーフミラー111を透過した光束の内、光軸に近い光束を焦点検出部121に偏向している。サブミラー122は、ハーフミラー111の保持部材(不図示)に設けられた回転軸を中心に回転し、ハーフミラー111の動きに連動して移動する。尚、この焦点検出部121は位相差検出方式の焦点検出を行う。
ハーフミラー111とサブミラー122からなる光路分割系は、上述のファインダ光学系に光を導くための第1の光路分割状態、不図示の結像レンズからの光束をダイレクトに固体撮像素子106に導くために撮影光路から退避した第2の光路分割状態(図2の破線で示した位置:111a及び122a)を取ることができる。
104は可動式の閃光発光部(ストロボ)、113はフォーカルプレンシャッタ、119はメインスイッチ、120はレリーズボタンである。モード切替えスイッチ123は、カメラ100のLPF156の表面等に付着した塵埃をアクセサリ装置10を使用して除去するために、カメラ100をクリーニングモードに設定するためのスイッチである。180は、光学ファインダ内の表示部である。
尚、モード切り換えスイッチ123が操作されてクリーニングモードが設定されると、ハーフミラー111とサブミラー122が第2の光路分割状態である位置111a及び122aに移動するとともに、フォーカルプレンシャッタ113が開放状態となる。この状態をクリーニングモードと呼ぶ。これによりユーザは、マウント機構101の開口を通して、直接LPF156の表面を目視できる状態となる。従って、この状態で、アクセサリ装置10を使用してLPF156の表面に付着した塵埃を除去できるようになる。
図3は、本実施の形態に係るカメラ100の電気的構成を示すブロック図である。
まず物体像の撮像、記録に関する部分から説明する。このカメラ100の機能(機構)としては、撮像機構、画像処理機構、記録再生機構、及び全体の動作制御機構を有する。撮像機構は、不図示の撮影レンズの結像光学レンズ、固体撮像素子106等を含み、画像処理機構は、A/D変換器130、RGB画像処理回路131及びYC処理回路132を含む。また記録再生機構は、記録処理回路133及び再生処理回路134を含む。更に制御機構は、カメラシステム制御回路135、操作検出回路136及び撮像素子駆動回路137を含む。接続端子138は、外部のコンピュータ等に接続して、データの送受信をするための規格化された端子である。これらの電気回路は不図示の小型燃料電池によって駆動される。
撮像機構は、物体からの光を結像光学系を介して固体撮像素子106の撮像面に結像する光学処理機構を含み、不図示の撮影レンズの絞りと、必要に応じて更にメカニカルシャッタ113を調節し、適切な光量の物体光を固体撮像素子106に露光する。固体撮像素子106は、正方画素が長辺方向に3700個、短辺方向に2800個並べられ、合計約1000万個の画素数を有する撮像素子が適用され、各画素にR(赤色)、G(緑色)、B(青色)のカラーフィルタを交互に配して4画素が一組となる、所謂ベイヤー配列を形成している。このベイヤー配列では、観察者が画像を見たときに強く感じやすいGの画素をRやBの画素よりも多く配置することで、総合的な画像性能を上げている。一般に、この方式の固体撮像素子106を用いる画像処理回路では、輝度信号は主にGから生成し、色信号はR,G,Bから生成している。
固体撮像素子106から読み出された画像信号は、A/D変換器130によりデジタル画像信号に変換された後、画像処理回路に供給される。A/D変換器130は、露光した各画素からの画像信号の振幅に応じた、例えば10ビットのデジタル信号に変換して出力する信号変換回路であり、これ以降の画像信号処理はデジタル処理にて実行される。この画像処理回路は、R,G,Bのデジタル信号から所望の形式の画像信号を得る信号処理回路であり、R,G,Bの色信号を、輝度信号Y及び色差信号(R−Y),(B−Y)で表わされるYC信号などに変換する。この画像処理回路の構成を以下に説明する。RGB画像処理回路131は、A/D変換器130を介して固体撮像素子106から入力した3700×2800画素の画像信号を処理する信号処理回路であり、ホワイトバランス回路、ガンマ補正回路、補間演算による高解像度化を行う補間演算回路を有する。YC処理回路132は、輝度信号Y及び色差信号R−Y,B−Yを生成する信号処理回路である。また、このYC処理回路132は、高域輝度信号YHを生成する高域輝度信号発生回路、低域輝度信号YLを生成する低域輝度信号発生回路、及び、色差信号R−Y,B−Yを生成する色差信号発生回路で構成されている。また輝度信号Yは高域輝度信号YHと低域輝度信号YLを合成することによって形成される。
記録再生機構は、メモリへの画像信号の記憶と、ディスプレイ107への画像信号の出力とを行う処理回路を含み、記録処理回路133はメモリへの画像信号の書き込み処理及び読み出し処理を実行し、再生処理回路134は、そのメモリから読み出した画像信号を再生してディスプレイ107に表示する。
また記録処理回路133は、静止画像及び動画像を表わすYC信号を所定の圧縮形式にて圧縮し、また圧縮データを読み出した際に伸張する圧縮伸張回路を内部に有している。この圧縮伸張回路は、信号処理のためのフレームメモリ等を含み、このフレームメモリに画像処理回路からのYC信号をフレーム毎に蓄積して、それぞれ複数のブロック毎に読み出して圧縮符号化する。この圧縮符号化は、例えば、ブロック毎の画像信号を2次元直交変換、正規化及びハフマン符号化することにより行なわれる。また再生処理回路134は、輝度信号Y及び色差信号R−Y,B−Yをマトリックス変換して、例えばRGB信号に変換する回路である。この再生処理回路134によって変換された信号は、ディスプレイ107に表示されて可視画像として表示再生される。この再生処理回路134とディスプレイ107の間は、例えばブルーツース(Bluetooth)などの無線通信手段を介して接続されてもよい。このように構成することにより、このカメラ100で撮像する画像を離れたところからでもモニタすることができる。
一方、制御機構は、レリーズボタン120やモード切り換えスイッチ123等の操作を検出する操作検出回路136と、その操作検出信号に応動してハーフミラー111やサブミラー122を含む各部を制御し、撮像の際のタイミング信号などを生成して出力するカメラシステム制御回路135と、このカメラシステム制御回路135の制御の下に固体撮像素子106を駆動する駆動信号を生成する固体撮像素子駆動回路137と、光学ファインダ内の表示部180(図2)を制御する情報表示回路142とを含む。この制御機構は、外部操作に応動して撮像機構、画像処理機構、記録再生機構をそれぞれ駆動制御する。例えば、レリーズボタン120の押下を検出して、固体撮像素子106の駆動、RGB画像処理回路131の動作、記録処理回路133の圧縮処理などを制御し、更に情報表示回路142によって光学ファインダ内に情報を表示する表示部180の各セグメントの状態を制御する。
次に、このカメラ100における焦点調節に関する部分について説明する。
カメラシステム制御回路135には更に、AF制御回路140とレンズシステム制御回路141が接続されている。これらはカメラシステム制御回路135を中心にして、各々の処理に必要とするデータを相互に通信している。AF制御回路140は、撮影画面上の所定の位置に設定された焦点検出視野での焦点検出用センサ167の信号出力を得て、この信号出力に基づいて焦点検出信号を生成し、不図示の撮影レンズの結像光学系の結像状態を検出する。ここでデフォーカスが検出されると、これを結像光学系の一部の要素であるフォーカシングレンズの駆動量に変換し、カメラシステム制御回路135を中継してレンズシステム制御回路141に送信する。また、移動する物体に対しては、レリーズボタン120が押下されてから実際の撮像制御が開始されるまでのタイムラグを勘案し、適切なレンズ位置を予測した結果によるフォーカシングレンズ駆動量を指示する。また、物体の輝度が低く、十分な焦点検出精度が得られないと判定されるときには、閃光発光装置104、或は不図示の白色LEDや蛍光管によって物体を照明する。レンズシステム制御回路141は、フォーカシングレンズの駆動量を受信すると、撮影レンズ内の不図示の駆動機構によってフォーカシングレンズを光軸L1(図2)方向に移動させるなどの動作を行い、物体にピントを合わせる。AF制御回路140によって、物体にピントが合ったことが検出されると、この情報はカメラシステム制御回路135に伝えられる。このとき、レリーズボタン120が押下されれば、前述のごとく撮像系、画像処理系、記録再生系による撮像制御が成される。
このように構成されたカメラのLPF156の表面に付着した塵埃を、本参考例に係るアクセサリ装置10を用いて除去する動作について図4から図6を参照して説明する。
図4は、前述のモード切り換えスイッチ123が操作されて、カメラ100がクリーニングモードになっている状態で、アクセサリ装置10を使用してLPF156の表面に付着した塵埃を除去する場合を説明する概略斜視図である。
図4に示すように、ユーザはカメラ100のマウント機構101の開口から、フォーカルプレンシャッタが開放状態になることにより形成される開口113aを通してアクセサリ装置10を挿入して塵埃の除去作業を行う。
図5(A)は、本参考例に係るアクセサリ装置10の粘着部14の中央がLPF156に当接した時の要部上面図、図5(B)は、図5(A)の状態における要部斜視図である。
図5(A)に示すように、アクセサリ装置10の粘着部14の略中央部がLPF156の表面に当接した状態における、アクセサリ装置10の弾性部13の紙面横方向(カメラ10の撮像画面の横方向と同じ)の寸法をAとする。ここで図5(A)の状態からユーザがアクセサリ装置10を更にLPF156方向に押し込むと、その動作に応じて円弧状態の弾性部13の曲率半径が徐々に大きくなる。それに伴って粘着部14とLPF156とが当接する面積が拡大される。これにより、図6(A)に示すように、粘着部14の表面が平坦になって寸法B(B>A)まで拡大され、その粘着部14の略全域がLPF156と当接される。
図6(A)は、図5(A)の状態からアクセサリ装置10を更にLPF156方向に押し込んで粘着部14の略全域がLPF156の表面に当接した状態を示す要部上面図で、この状態では、粘着部14がLPF156の表面形状にならってほぼ平坦になっている。図6(B)はその時の要部斜視図である。
図5(B)及び図6(B)に示すように、アクセサリ装置10はフォーカルプレンシャッタ113が開放状態になることにより形成される開口113aを介して粘着部14がLPF156と当接可能になっている。
尚、図6(A)における紙面横方向におけるAからBへの寸法拡大は、図5(A)の状態から、ユーザがアクセサリ装置10を更に押し込む動作に応じて、アクセサリ装置10の可撓部12が図6(A)に示した矢印C方向に撓んで広がることにより吸収される。上述の一連の動作により、アクセサリ装置10の粘着部14は、最初にその略中央部からLPF156に当接して、その押し込み動作に応じて、その当接する範囲が徐々にLPF156の周辺部へと広がるので、最終的にLPF156の表面に略均一に付着することになる。
これとは逆に、図6(A)の状態からユーザが、アクセサリ装置10を引き離していくと、アクセサリ装置10の可撓部14の撓んだ状態から、徐々にその撓み量が減少する。それに伴い、弾性部13も図6(A)のほぼ平坦の形状から図5(A)に示す円弧状へと戻っていく。これにより粘着部14は、LPF156表面の周辺部から離れていき、最後に、粘着部14の略中央部がLPF156の中央部から離れてLPF156との当接状態が解除される。これにより、LPF156の表面に付着した塵埃は粘着部14に吸着されてLPF156の表面から除去される。そしてアクセサリ装置10がカメラ10のマウント機構101の開口を介してカメラ10の内部から外部に取り出されることにより、内部に付着していた塵埃はカメラ10の外部に完全に排出されることとなる。
図7は、上述のようにしてアクセサリ装置10の粘着部14に付着させてカメラ10の外部に排出した塵埃を、粘着部14から剥離する方法の一例を説明する概略図である。
図において、20は粘着部14よりも高い粘着力を有するシート状の転写材(例えば、尾高ゴム工業製「タッキー」)である。尚、この転写材20の形状及び構成はこれに限らず、例えばローラ形状をしたものでも同様の効果が得られる。また図7において、30はLPF156の表面に付着した塵埃(ゴミ)を示している。
図7に示した状態から、アクセサリ装置10の粘着部14を転写材20に押し付けると、その転写材20は、粘着部14よりも高い粘着力を有しているため、その粘着部14に付着していた塵埃30は転写材20の表面に付着される。これにより、粘着部14の表面に付着していた塵埃が除去され粘着部14が清掃されて、ゴミなどが付着していない元の状態に戻される。
尚、更に、転写材20の表面に付着した塵埃30を除去するには、その表面をアルコール系の溶剤や水で洗浄することにより行う。
図8は、粘着部14を粘着ゴム24(例えば、角田ブラシ製「カーボレスMIMOZA-ST」)で構成した、本発明の参考例の変形例に係るアクセサリ装置20の外観斜視図である。尚、このアクセサリ装置20の他の構成(支持部11、可撓部12、弾性部13)は、前述の参考例のアクセサリ装置10と同じであるため同じ番号を符し、その説明を省略する。
図9及び図10は、本発明の参考例の変形例に係るアクセサリ装置20がカメラ10のマウント機構101の開口からフォーカルプレンシャッタ113の開口113aを介してカメラ内部に侵入して、LPF156の表面に付着した塵埃を除去する時の要部上面図である。
前述の図5及び図6を用いて説明したのと同様に、図9はアクセサリ装置20の粘着ゴム24の略中央がLPF156に当接した時の要部上面図を示している。また図10は、図9の状態から、アクセサリ装置20を更にLPF156方向に押し込んで粘着部14の略全域がLPF156の表面に当接し、粘着ゴム24がLPF156の表面形状にならってほぼ平坦になった状態を示す要部上面図である。
図9に示したように、アクセサリ装置20の粘着ゴム24の中央部が当接した状態で、アクセサリ装置20の弾性部13の紙面横方向(カメラ10の撮像画面の横方向と同じ)の寸法をA´とする。ここで図9の状態から、ユーザが更にアクセサリ装置20をLPF156方向に押し込むと、その動作に応じて円弧状態の弾性部13の曲率半径が徐々に大きくなる。これに伴って粘着ゴム24とLPF156とが当接する面積が広がっていく。これにより図9で示した寸法A'が徐々に長くなり、最後には図10で示したように、粘着ゴム24の略全域がLPF156と当接し、粘着ゴム24がほぼ平坦になった時には寸法B'(B'>A')まで長くなっている。
この紙面横方向の寸法拡大は、図9からユーザがアクセサリ装置20を押し込む動作に応じて、可撓部12が図10に示した矢印C'方向に撓んで広がることにより吸収される。上述の一連の動作により、アクセサリ装置20の粘着ゴム24は、最初にその略中央部がLPF156と当接し、押し込まれるのにつれて徐々にLPF156の周辺部へと当接していく。そして最後にはLPF156の表面に略均一に付着することになる。
これとは逆に、ユーザが図10の状態からアクセサリ装置20を引き離していくと、アクセサリ装置20の可撓部12の撓んだ状態から、徐々にその撓み量が減少する。それに伴い、弾性部13も、図10のほほ平坦の形状から図9の円弧状へと戻っていく。こうして粘着ゴム24は、LPF156表面の周辺部から離れていき、最後にはLPF156の略中央部から離れてLPF156との当接状態が解除される。
これにより、LPF156の表面に付着した塵埃は粘着ゴム24に吸着されて、LPF156の表面から除去される。そしてアクセサリ装置20がカメラ10の内部から取り出されることにより、LPF156やその近傍に付着していた塵埃は、カメラ10の外部に完全に排出されることとなる。
尚、粘着ゴム24に付着した塵埃を除去する方法は、図7を参照して説明した方法と同でじでもよく、或はアルコール系の溶剤で洗浄しても構わない。
なお、上述の実施例においては、図2を用いて、フォーカルプレーンシャッタ113より固体撮像素子106へ至る撮像光軸に沿ってLPF156、カバーガラス125が順に並んでおり、LPF156上にに付着した塵埃を除去することについて説明したが、光学部材の配置によっては必ずしもLPF156上の塵埃を除去することに限るものではなく、本質的には撮像に影響を与える塵埃を除去すべく、このような塵埃が付着する撮像光軸上の光学部材に対して粘着部を接触させるものである。
以上説明したように本参考例によれば、カメラの撮像部を構成する光学フィルタや保護レンズなどの表面に付着した単数もしくは複数の塵埃を、一度の作業で確実に除去できるアクセサリ装置を提供できる。
また本参考例に係るアクセサリ装置に付着した塵埃を簡単かつ確実に除去できるため、そのアクセサリ装置を繰り返し使用できるという効果がある。
前述の参考例では、ユーザがカメラ内を目視しながらアクセサリ装置10を使用してLPF156に付着した塵埃を除去する方法について説明したが、本実施の形態では、カメラのマウント機構101に取り付けられた状態で、LPF156に付着した塵埃を除去するアクセサリ装置の場合で説明する。
図11は、本発明の実施の形態に係るアクセサリ装置50の構成を示す斜視図で、クリーニングモードになっているカメラ100に取り付けられる状態を示している。
図12は、LPF156に付着した塵埃を除去するために、アクセサリ装置50の支持部55をユーザが押して粘着部54がカメラの内部方向に突出した状態を示した斜視図である。後述するが、図12の状態は、粘着部54の略全域がLPF156に当接して、その粘着部54の前面がほぼ平坦になった時(図6(A)で前述した状態に相当)のものである。
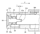
図11及び図12において、軸部51は、粘着部54をカメラ100内のLPF156に密着させるために前方に移動させ、またLPF156から粘着部54を剥離するために退却させるための軸で、その外周には粘着部54が進退時に、マウント機構101に対して回転しないように複数の回転止め部51aを備えている。尚、この回転止め部51aは、回転を防止できれば少なくとも一つあれば良い。可撓部52、弾性部53、粘着部54はいずれも、前述の実施の形態に係る可撓部12、弾性部13、粘着部14のそれぞれと同じ動作及び機能を有しているので、その説明を省略する。
支持部55は、ユーザが、このアクセサリ装置50を操作させる際にユーザが操作するために使用される。取り付け部56は、このアクセサリ装置50をカメラ100のマウント機構101に取り付けるための機構部である。この取り付け部56には、マウント機構101に位置決めされて係止する複数の係止部56aと、後述するように、軸部51に設けられた回転止め部51aと摺動可能な嵌合部56c(図17、図18)が設けられている。
また、取り付け部56は、アクセサリ装置50がカメラ100のマウント機構101に取り付けた状態で操作する前に、カメラ100がクリーニングモードであるかどうかを確認できるように、その全てが透明か、もしくは図13に示すように、その一部に外部からカメラ100内部が観察可能な窓56dが設けられている方が望ましい。これにより、ユーザは、アクセサリ装置50を操作する前に、カメラ100のハーフミラー111が図2の破線で示した第2の光路分割状態の位置111aに配設されているか否かが確認できるので、故障等の不具合でカメラ100をクリーニングモードにしたにも係らず、ハーフミラー111が第2の光路分割状態の位置111aに配設されていない状態になってしまっても、アクセサリ装置50の操作を中止する事が容易に出来るから、アクセサリ装置50を用いたLPF156に付着した塵埃の除去作業を安全に行う事が出来る。
図14は、図11のXで示すように、軸部51の長さ方向に平行な面で切断した断面図であり、図15は図12のYで示すように、軸部51の長さ方向に平行な面で切断した断面図である。
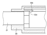
図14において、略V字形状の可撓部52に設けられた平坦部52aは、取り付け部56に設けられた弾性変形可能な係止部56bにより係止される。これにより、アクセサリ装置50がカメラ100に取り付けられた直後には、アクセサリ装置50がカメラの内部方向に移動しないようにロックしている。尚、アクセサリ装置50がカメラ100に取り付けられた後、ユーザが支持部55を押して軸部51を図11の状態から図12に示すように、カメラ内に押し込んだ時には、平坦部52aが係止部56bを乗り越えることができる。その際、係止部56bは図15に示すように、上方向に弾性変形している。
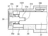
図15において、段ビス57は、ネジ部57aと軸部57bとを具備している。ネジ部57aは、軸部51に設けられたメネジ部51bとネジ締結されており、これにより軸部51と支持部55とが一体化されている。また軸部57bは支持部55に設けられた嵌合穴55aと摺動可能に嵌合している。弾性部材58は、支持部55と軸部51との間に設けられているゴムなどの弾性体である。その作用については後述する。キャップ59は、段ビス57が外部から見えないように支持部55に設けられている。
図15に示したように、粘着部54の略全域がLPF156に当接した状態(図6(A))であっても、支持部55と取り付け部56との間には一定量のギャップLが形成されている。
ここで図15に示した状態からユーザがなおも支持部55を同図の矢印Z方向に押し込み続けた場合について説明する。このとき、単に支持部55と軸部51とが一体で形成されていると、ユーザがZ方向に押し込む力がそのまま粘着部54を介してLPF156に加わってしまう。これによりLPF156の位置が動いてピントずれの不具合を生じる可能性がある。
しかしながら本実施の形態に係る構成の場合、図15の状態から、ユーザが更に支持部55をZ方向に押し込むと、支持部55の嵌合穴55aと段ビス57の軸部57bとが摺動して支持部55のみが図16に示すように矢印Z方向に移動する。これにより、弾性部材58が圧縮されて、図15に示す支持部55と取り付け部56との間のギャップLが無くなって吸収される。このギャップLは、図6(A)の状態から更に軸部51が押し込まれても、可撓部材52(12)や弾性体53(13)の撓みで吸収できる程度の長さに設定されている。この状態での弾性部材58の反発力は、ユーザが押し込むZ方向の力と逆方向に作用するので、この反発力によりユーザが押し込む力が打ち消される。また図16に示したようにギャップLが無くなった状態では、支持部55のZ方向への移動は、取り付け部56との係合面1500により規定されるため、ユーザが無理にこれ以上押し込もうとしても軸部51がこれ以上カメラ内に進入することはない。こうして、LPF156に加わる力が減少されてLPF156が保護される。従って、粘着部54の略全域がLPF156に当接している状態(図15)から、更にユーザが支持部55を押し込もうとしても図16の状態で示す以上に押し込まれることがないため、粘着部54がLPF156を押してLPF156の位置が動いてピントずれになる恐れがない。
図17〜図19は、本実施の形態に係るアクセサリ装置50をクリーニングモードになっているカメラ100に取り付けて動作させる際の状態を説明する斜視図である。
図17は、このアクセサリ装置50をカメラ100に取り付ける直前の状態を示す概観斜視図であり、この時、粘着部54や支持部50は図11に示した状態である。
図18は、図17の状態からアクセサリ装置50をカメラ100のマウント機構101に装着して、同図中矢印T方向に回転させて取り付けた状態を示す。これによりアクセサリ装置50の係止部56aがカメラ100のマウント機構101に対して位置決めされて完全に固定される。この状態でも、アクセサリ装置50は図11に示した状態となっている。
ここで上述したように、軸部51は嵌合部56cと嵌合して取り付け部56に対して回動しないように構成されている。これにより粘着部54は、このアクセサリ装置50がカメラ本体に取り付けられる際、そのアクセサリ装置50と同じ回転角で保持される。従って、上述の図18に示すように、アクセサリ装置50が矢印T方向に回転させて取り付けられた状態で、粘着部54がフォーカルプレンシャッタ113の開口113aにちょうど位置付けられるように、アクセサリ装置50に対する粘着部54の取り付け方向が規定されている。
この状態からユーザがLPF156に付着した塵埃を除去するために支持部55をカメラ100の内部に向けて押し込むと、軸部51に設けられた回転止め部51aと取り付け部56に設けられた嵌合部56cとが嵌合状態を保持したまま軸部51の軸方向に摺動して、カメラ100内に粘着部54が侵入する。これにより、この押し込む際に、粘着部54がカメラ100内で回動したり、その内部の構造に触れる虞はない。よって、図6(B)で示したように、粘着部54は正確にフォーカルプレンシャッタ113の開口113aを通ってLPF156と当接する。
図19は、図18の状態から更にユーザが支持部55を矢印1800の方向に押し込んで、粘着部54の略全域がLPF156と当接した状態を示す概観斜視図である。
図15を参照して説明したように、図19の状態では、弾性部材58の反作用により支持部55と取り付け部56との間にはギャップLが形成されているので、図19の状態からユーザが支持部55を矢印1800の方向に更に押し込んでも、弾性部材58がその力を吸収してLPF156が保護される。更に、図16のような状態になっても、支持部55の進入が取り付け部56との係合面1500により規定されるので、その押し込む力がLPF156に作用してLPF156の位置がずれることはない。
以上説明したように本実施の形態によれば、撮像素子近傍の光学フィルタ表面に付着した単数もしくは複数の塵埃が一度のクリーニング作業で除去できるアクセサリ装置を提供できる。
また、アクセサリ装置の粘着部に付着した塵埃を、簡単かつ確実に除去できる清掃手段を提供できる。
更に、アクセサリ装置の粘着部が、カメラに対して位置決めされた状態で、カメラ内部の構造に触れること無く侵入させることができるので、光学フィルタ表面に付着した塵埃を除去する際に光学機器内部を汚染したリ、損傷を与える虞がない。
ところで、上述の実施の形態,2では、このような清掃に使用する装置をアクセサリ装置として説明してきたが、例えば図20に示すように、アクセサリ装置50がカメラ100のボディキャップ70として機能するものでも良い。
このボディキャップ70は、カメラ100のマウント機構101との公知の通信手段(不図示)と、その通信手段によりカメラ100をクリーニングモードに設定できるスイッチ71を備える。そのスイッチ71がオフの時には通常のボディキャップとして使用し、スイッチ71がオンされた時には、公知の通信手段を介してカメラ100をクリーニングモードにする。その後、ユーザが手動にて支持部55を操作して、前述の実施の形態で説明したようにLPF156に付着した塵埃を除去する。このような構成においても、前述の実施の形態と同様の効果が得られる。
更に、このボディキャップ70に、前述の軸部51や粘着部54をカメラ100に対して進退させるモータ等の駆動手段を備えることによって、スイッチ71をオンすることにより、カメラ100をクリーニングモードにして自動的に粘着部54をカメラ100内に移動させて、LPF156の表面に付着した塵埃を除去するように構成しても良い。
また前述の実施の形態では、実施の形態の支持部11に相当する部分が、操作部555と軸部51で構成されているが、図1の構成に図11に示す取り付け部56が付加された構成でも良い。但し、この場合には、実施の形態における操作部55と取り付け部56との間のギャップL、弾性部材58に代わる、アクセサリ装置の所定量以上の進入を防ぐための機構が必要になる。これには例えば、図6(A)に示すような状態で粘着部54とフィルタ面とが当接した状態で、略V字形状の可撓部52に設けられた平坦部52a(図12)と係合する取り付け部56の突起(不図示)を設け、それ以上奥に粘着部54が侵入するのを防止するようにしても良い。
尚、上述の実施の形態では、光学フィルタ面に付着した塵埃の除去方法について説明してきたが本発明はこれに限定されるものではなく、例えばフォーカルプレンシャッタの開口を介して固体撮像素子のカバーガラス表面が目視できるようなデジタルカラーカメラの場合は、その固体撮像素子のカバーガラスに付着した塵埃を本実施の形態に係るアクセサリ装置やボディキャップで除去できることは言うまでもない。
Claims (10)
- 光学機器に取り付けられ、当該光学機器が有する光学部材の表面及び/或はその近傍に付着した異物を除去するアクセサリ装置であって、
ユーザにより支持・操作される操作部と、
前記操作部と一体的に形成され略V字型を有する可撓部と、
前記可撓部に懸架された弾性部と、
前記弾性部の少なくとも先端部側に設けられた粘着部と、
前記光学機器のマウント機構と係合して当該アクセサリ装置を前記光学機器に取り付けるための取り付け機構とを有し、
前記取り付け機構により当該アクセサリ装置を前記光学機器に取り付けた状態で前記操作部が操作されることにより前記粘着部が前記光学機器内に進入して異物を除去することを特徴とするアクセサリ装置。 - 光学機器に取り付けられ、当該光学機器が有する光学部材の表面及び/或はその近傍に付着した異物を除去するアクセサリ装置であって、
軸部の端部に設けられユーザにより操作される操作部と、
前記操作部と反対側の前記軸部の端部に設けられ略V字型を有する可撓部と、
前記可撓部に懸架された弾性部と、
前記弾性部の少なくとも先端部側に設けられた粘着部と、
前記光学機器のマウント機構と係合して当該アクセサリ装置を前記光学機器に取り付けるための取り付け機構とを有し、
前記取り付け機構により当該アクセサリ装置を前記光学機器に取り付けた状態で前記操作部が操作されることにより前記粘着部が前記光学機器内に進入して異物を除去することを特徴とするアクセサリ装置。 - 光学機器に取り付けられ、当該光学機器が有する光学部材の表面及び/或はその近傍に付着した異物を除去するアクセサリ装置であって、
ユーザにより支持・操作される操作部と、
粘着面を具備する粘着部と、
可撓性を有し、前記操作部に対して前記粘着面を略直交するように展開して保持する可撓部と、
前記光学機器のマウント機構と係合して当該アクセサリ装置を前記光学機器に取り付けるための取り付け機構とを有し、
前記取り付け機構により当該アクセサリ装置を前記光学機器に取り付けた状態で前記操作部が操作されることにより前記粘着部が前記光学機器内に進入して異物を除去することを特徴とするアクセサリ装置。 - 光学機器に取り付けられ、当該光学機器が有する光学部材の表面及び/或はその近傍に付着した異物を除去するアクセサリ装置であって、
軸部の端部に設けられユーザにより操作される操作部と、
粘着面を具備する粘着部と、
可撓制を有し、前記軸部と前記粘着面が略直交するように接続して保持する可撓部と、
前記光学機器のマウント機構と係合して当該アクセサリ装置を前記光学機器に取り付けるための取り付け機構とを有し、
前記取り付け機構により当該アクセサリ装置を前記光学機器に取り付けた状態で前記操作部が操作されることにより前記粘着部が前記光学機器内に進入して異物を除去することを特徴とするアクセサリ装置。 - 前記取り付け機構と前記軸部との相対回転位置を規定する嵌合部材とを更に有することを特徴とする請求項1乃至4のいずれか1項に記載のアクセサリ装置。
- 前記取り付け機構は、前記アクセサリ装置と前記光学機器とを相対的に所定量回動させて取り付けるもので、前記取り付け機構により取り付けた後、前記粘着部が光学部材の表面及び/或はその近傍を含む清掃対称面に対して正対するように前記嵌合部材により前記相対回転位置が規定されていることを特徴とする請求項1乃至5のいずれか1項に記載のアクセサリ装置。
- 前記操作部と前記軸部との間に弾性部材が設けられていることを特徴とする請求項1又は2に記載のアクセサリ装置。
- 前記粘着部の略全域が前記光学部材の表面に当接した状態で、前記操作部と前記取り付け機構との間に隙間が設けられていることを特徴とする請求項1乃至7のいずれか1項に記載のアクセサリ装置。
- 前記取り付け機構は前記光学機器との通信手段を備え、前記通信手段を介して前記光学機器を異物を除去するモードに設定するためのスイッチを更に有することを特徴とする請求項1乃至8のいずれか1項に記載のアクセサリ装置。
- 前記取り付け機構の少なくとも一部が透明である事を特徴とする請求項1乃至9のいずれか1項に記載のアクセサリ装置。
Priority Applications (1)
| Application Number | Priority Date | Filing Date | Title |
|---|---|---|---|
| JP2004106247A JP2005292404A (ja) | 2004-03-31 | 2004-03-31 | アクセサリ装置 |
Applications Claiming Priority (1)
| Application Number | Priority Date | Filing Date | Title |
|---|---|---|---|
| JP2004106247A JP2005292404A (ja) | 2004-03-31 | 2004-03-31 | アクセサリ装置 |
Publications (1)
| Publication Number | Publication Date |
|---|---|
| JP2005292404A true JP2005292404A (ja) | 2005-10-20 |
Family
ID=35325400
Family Applications (1)
| Application Number | Title | Priority Date | Filing Date |
|---|---|---|---|
| JP2004106247A Withdrawn JP2005292404A (ja) | 2004-03-31 | 2004-03-31 | アクセサリ装置 |
Country Status (1)
| Country | Link |
|---|---|
| JP (1) | JP2005292404A (ja) |
Cited By (19)
| Publication number | Priority date | Publication date | Assignee | Title |
|---|---|---|---|---|
| JP2007306390A (ja) * | 2006-05-12 | 2007-11-22 | Pentax Corp | 撮像素子用清掃器具 |
| JP2008018142A (ja) * | 2006-07-14 | 2008-01-31 | Pentax Service Co Ltd | 撮影装置用清掃器具 |
| JP2008018182A (ja) * | 2006-07-14 | 2008-01-31 | Pentax Corp | 撮像装置用清掃器具 |
| JP2008209628A (ja) * | 2007-02-26 | 2008-09-11 | Sony Corp | 撮像装置用キャリングケース |
| JP2009544373A (ja) * | 2006-07-28 | 2009-12-17 | ノバダック テクノロジーズ インコーポレイテッド | 内視鏡の対物部において光学部材を堆積及び除去するシステム、及びその方法 |
| US8041208B2 (en) | 2007-12-27 | 2011-10-18 | Canon Kabushiki Kaisha | Imaging apparatus having foreign substance removal member which overlaps shutter blade moving locus in optical axis direction |
| US8059194B2 (en) * | 2008-09-22 | 2011-11-15 | Parkside Optical Inc. | Image sensor inspection and cleaning device |
| US9642532B2 (en) | 2008-03-18 | 2017-05-09 | Novadaq Technologies Inc. | Imaging system for combined full-color reflectance and near-infrared imaging |
| US9814378B2 (en) | 2011-03-08 | 2017-11-14 | Novadaq Technologies Inc. | Full spectrum LED illuminator having a mechanical enclosure and heatsink |
| US9877654B2 (en) | 2006-02-07 | 2018-01-30 | Novadaq Technologies Inc. | Near infrared imaging |
| US9968244B2 (en) | 2000-07-14 | 2018-05-15 | Novadaq Technologies ULC | Compact fluorescence endoscopy video system |
| US10182709B2 (en) | 2002-01-15 | 2019-01-22 | Novadaq Technologies ULC | Filter for use with imaging endoscopes |
| US10293122B2 (en) | 2016-03-17 | 2019-05-21 | Novadaq Technologies ULC | Endoluminal introducer with contamination avoidance |
| US10694151B2 (en) | 2006-12-22 | 2020-06-23 | Novadaq Technologies ULC | Imaging system with a single color image sensor for simultaneous fluorescence and color video endoscopy |
| US10869645B2 (en) | 2016-06-14 | 2020-12-22 | Stryker European Operations Limited | Methods and systems for adaptive imaging for low light signal enhancement in medical visualization |
| USD916294S1 (en) | 2016-04-28 | 2021-04-13 | Stryker European Operations Limited | Illumination and imaging device |
| US10980420B2 (en) | 2016-01-26 | 2021-04-20 | Stryker European Operations Limited | Configurable platform |
| US10992848B2 (en) | 2017-02-10 | 2021-04-27 | Novadaq Technologies ULC | Open-field handheld fluorescence imaging systems and methods |
| US11930278B2 (en) | 2015-11-13 | 2024-03-12 | Stryker Corporation | Systems and methods for illumination and imaging of a target |
-
2004
- 2004-03-31 JP JP2004106247A patent/JP2005292404A/ja not_active Withdrawn
Cited By (32)
| Publication number | Priority date | Publication date | Assignee | Title |
|---|---|---|---|---|
| US9968244B2 (en) | 2000-07-14 | 2018-05-15 | Novadaq Technologies ULC | Compact fluorescence endoscopy video system |
| US10182709B2 (en) | 2002-01-15 | 2019-01-22 | Novadaq Technologies ULC | Filter for use with imaging endoscopes |
| US9877654B2 (en) | 2006-02-07 | 2018-01-30 | Novadaq Technologies Inc. | Near infrared imaging |
| JP2007306390A (ja) * | 2006-05-12 | 2007-11-22 | Pentax Corp | 撮像素子用清掃器具 |
| JP2008018142A (ja) * | 2006-07-14 | 2008-01-31 | Pentax Service Co Ltd | 撮影装置用清掃器具 |
| JP2008018182A (ja) * | 2006-07-14 | 2008-01-31 | Pentax Corp | 撮像装置用清掃器具 |
| US7941889B2 (en) | 2006-07-14 | 2011-05-17 | Hoya Corporation | Cleaning tool for photographic device |
| JP2009544373A (ja) * | 2006-07-28 | 2009-12-17 | ノバダック テクノロジーズ インコーポレイテッド | 内視鏡の対物部において光学部材を堆積及び除去するシステム、及びその方法 |
| US9386909B2 (en) | 2006-07-28 | 2016-07-12 | Novadaq Technologies Inc. | System and method for deposition and removal of an optical element on an endoscope objective |
| US10694152B2 (en) | 2006-12-22 | 2020-06-23 | Novadaq Technologies ULC | Imaging systems and methods for displaying fluorescence and visible images |
| US10694151B2 (en) | 2006-12-22 | 2020-06-23 | Novadaq Technologies ULC | Imaging system with a single color image sensor for simultaneous fluorescence and color video endoscopy |
| US11770503B2 (en) | 2006-12-22 | 2023-09-26 | Stryker European Operations Limited | Imaging systems and methods for displaying fluorescence and visible images |
| US11025867B2 (en) | 2006-12-22 | 2021-06-01 | Stryker European Operations Limited | Imaging systems and methods for displaying fluorescence and visible images |
| JP2008209628A (ja) * | 2007-02-26 | 2008-09-11 | Sony Corp | 撮像装置用キャリングケース |
| US8041208B2 (en) | 2007-12-27 | 2011-10-18 | Canon Kabushiki Kaisha | Imaging apparatus having foreign substance removal member which overlaps shutter blade moving locus in optical axis direction |
| US9642532B2 (en) | 2008-03-18 | 2017-05-09 | Novadaq Technologies Inc. | Imaging system for combined full-color reflectance and near-infrared imaging |
| US10779734B2 (en) | 2008-03-18 | 2020-09-22 | Stryker European Operations Limited | Imaging system for combine full-color reflectance and near-infrared imaging |
| US8059194B2 (en) * | 2008-09-22 | 2011-11-15 | Parkside Optical Inc. | Image sensor inspection and cleaning device |
| US9814378B2 (en) | 2011-03-08 | 2017-11-14 | Novadaq Technologies Inc. | Full spectrum LED illuminator having a mechanical enclosure and heatsink |
| US11930278B2 (en) | 2015-11-13 | 2024-03-12 | Stryker Corporation | Systems and methods for illumination and imaging of a target |
| US10980420B2 (en) | 2016-01-26 | 2021-04-20 | Stryker European Operations Limited | Configurable platform |
| US11298024B2 (en) | 2016-01-26 | 2022-04-12 | Stryker European Operations Limited | Configurable platform |
| US10293122B2 (en) | 2016-03-17 | 2019-05-21 | Novadaq Technologies ULC | Endoluminal introducer with contamination avoidance |
| USD916294S1 (en) | 2016-04-28 | 2021-04-13 | Stryker European Operations Limited | Illumination and imaging device |
| USD1065550S1 (en) | 2016-04-28 | 2025-03-04 | Stryker Corporation | Device for illumination and imaging of a target |
| US11756674B2 (en) | 2016-06-14 | 2023-09-12 | Stryker European Operations Limited | Methods and systems for adaptive imaging for low light signal enhancement in medical visualization |
| US10869645B2 (en) | 2016-06-14 | 2020-12-22 | Stryker European Operations Limited | Methods and systems for adaptive imaging for low light signal enhancement in medical visualization |
| US12525340B2 (en) | 2016-06-14 | 2026-01-13 | Stryker Corporation | Methods and systems for adaptive imaging for low light signal enhancement in medical visualization |
| US10992848B2 (en) | 2017-02-10 | 2021-04-27 | Novadaq Technologies ULC | Open-field handheld fluorescence imaging systems and methods |
| US11140305B2 (en) | 2017-02-10 | 2021-10-05 | Stryker European Operations Limited | Open-field handheld fluorescence imaging systems and methods |
| US12028600B2 (en) | 2017-02-10 | 2024-07-02 | Stryker Corporation | Open-field handheld fluorescence imaging systems and methods |
| US12464215B2 (en) | 2017-02-10 | 2025-11-04 | Stryker Corporation | Open-field handheld fluorescence imaging systems and methods |
Similar Documents
| Publication | Publication Date | Title |
|---|---|---|
| JP2005292404A (ja) | アクセサリ装置 | |
| US20110164171A1 (en) | Imaging device | |
| KR20070103303A (ko) | 광학기기 및 광학기기로부터의 이물제거방법 | |
| US20100157138A1 (en) | Optical device and control method thereof | |
| CN101557470B (zh) | 摄像装置 | |
| JP5906435B2 (ja) | カメラシステム、カメラ本体およびレンズユニット | |
| JP4662333B2 (ja) | 撮像装置 | |
| JP5295304B2 (ja) | 撮像装置 | |
| US20060152817A1 (en) | Optical device | |
| JP4429183B2 (ja) | アクセサリ装置 | |
| JP4468150B2 (ja) | クリーニング装置 | |
| JP4475659B2 (ja) | クリーニング装置 | |
| JP5111219B2 (ja) | 光学機器 | |
| JP4455305B2 (ja) | クリーニング装置 | |
| US8122556B2 (en) | Cleaning device | |
| JP2008236669A (ja) | 撮像装置及びその制御方法及びプログラム及び記憶媒体 | |
| JP4863440B2 (ja) | 光学機器及びその制御方法 | |
| JP5028163B2 (ja) | 光学機器 | |
| JP2006293036A (ja) | 光学機器及び当該光学機器における異物除去方法 | |
| KR101612445B1 (ko) | 렌즈 경통 및 이를 구비한 촬상 장치 | |
| JP2009188838A (ja) | 光学機器 | |
| JP5283837B2 (ja) | 光学機器 | |
| JP2007187846A (ja) | 光学機器 | |
| JP2007124006A (ja) | 撮像ユニット、及び撮像装置 | |
| JP4795286B2 (ja) | 撮像装置 |
Legal Events
| Date | Code | Title | Description |
|---|---|---|---|
| A300 | Withdrawal of application because of no request for examination |
Free format text: JAPANESE INTERMEDIATE CODE: A300 Effective date: 20070605 |