JP2005291981A - 移動体への道路状況映像提供システム、方法、その情報センター及びその情報通信端末 - Google Patents
移動体への道路状況映像提供システム、方法、その情報センター及びその情報通信端末 Download PDFInfo
- Publication number
- JP2005291981A JP2005291981A JP2004108707A JP2004108707A JP2005291981A JP 2005291981 A JP2005291981 A JP 2005291981A JP 2004108707 A JP2004108707 A JP 2004108707A JP 2004108707 A JP2004108707 A JP 2004108707A JP 2005291981 A JP2005291981 A JP 2005291981A
- Authority
- JP
- Japan
- Prior art keywords
- unit
- information
- camera
- road
- route
- Prior art date
- Legal status (The legal status is an assumption and is not a legal conclusion. Google has not performed a legal analysis and makes no representation as to the accuracy of the status listed.)
- Pending
Links
- 238000000034 method Methods 0.000 title claims description 10
- 238000001514 detection method Methods 0.000 claims abstract description 9
- 230000005540 biological transmission Effects 0.000 description 10
- 238000010586 diagram Methods 0.000 description 8
- 238000012544 monitoring process Methods 0.000 description 5
- 241000255777 Lepidoptera Species 0.000 description 1
- 238000003384 imaging method Methods 0.000 description 1
- 238000009434 installation Methods 0.000 description 1
- 238000003825 pressing Methods 0.000 description 1
Images
Landscapes
- Traffic Control Systems (AREA)
- Navigation (AREA)
Abstract
【課題】道路沿いの複数のカメラにより撮影された映像を端末で容易に選択する。
【解決手段】道路沿いの映像を提供する移動体への道路状況映像提供システムに、道路沿いに配置され道路状況の映像を撮像する複数のカメラ部120-1〜120-N、複数のカメラ部から送信される映像を記憶するカメラ映像記憶部116と、道路地図情報を記憶する道路地図記憶部114と、複数のカメラ部の位置情報を記憶するカメラ位置情報記憶部115と、移動体の目的地、経由地、現在地に基づいて道路地図記憶部を探索して移動体のルートを決定する移動体ルート探索部112Aと、決定されるルート上のカメラ部の位置情報を探索するカメラ位置探索部112Bと、移動体の目的地、経由地の位置情報を入力する入力部133と、移動体の現在地を検出する現在地位置情報検出部135と、探索されたカメラ部の位置情報の一覧を表示し、選択されたカメラ部の映像を表示する表示部136とを備える。
【選択図】図5
【解決手段】道路沿いの映像を提供する移動体への道路状況映像提供システムに、道路沿いに配置され道路状況の映像を撮像する複数のカメラ部120-1〜120-N、複数のカメラ部から送信される映像を記憶するカメラ映像記憶部116と、道路地図情報を記憶する道路地図記憶部114と、複数のカメラ部の位置情報を記憶するカメラ位置情報記憶部115と、移動体の目的地、経由地、現在地に基づいて道路地図記憶部を探索して移動体のルートを決定する移動体ルート探索部112Aと、決定されるルート上のカメラ部の位置情報を探索するカメラ位置探索部112Bと、移動体の目的地、経由地の位置情報を入力する入力部133と、移動体の現在地を検出する現在地位置情報検出部135と、探索されたカメラ部の位置情報の一覧を表示し、選択されたカメラ部の映像を表示する表示部136とを備える。
【選択図】図5
Description
本発明は移動体に道路の状況映像を提供する道路状況映像提供システムに関する。特に、本発明は、道路沿いに配置された複数のカメラで撮影された映像を容易に選択するための移動体への道路状況映像提供システム、方法、その情報センター及びその情報通信端末に関する。
従来、カーナビゲーション装置の画面を用いて遠く離れた目的地や通過地点の映像をリアルタイムで見ることができるようにするため、任意の各地点に送受信機能付きのカメラを設置し、このカメラにより当該地点の交通状況、路面状況、風景、天候等の映像情報を得て中継局に送信し、車両において、例えば目的地の風景等を知りたい時は、カーナビゲーション装置の映像ボタンを押すことで、指定した地点の前記画像情報を得ることができるものがある(例えば、特許文献1参照)。
しかしながら、上記特許文献1では、カーナビゲーション装置を利用して目的地、通過地点の映像を得るので、車にカーナビゲーション装置が搭載されていない場合には多数あるカメラから要求するカメラを選択することは困難であるという問題がある。
また、従来、ユーザが要求する情報を迅速に提供できるようにするため、情報センターから送信される各モニタカメラの位置情報(緯度、経度)が情報受信端末により受信されてその表示部に表示され、表示された各位置情報の中から、ユーザが所望の位置情報を選択することにより、情報受信端末から情報センターに対して送信要求が送信され、情報センターにより情報受信端末からの送信要求が受信されてセンター側データベース部が検索され、センター側データベース部に格納されているその要求されたモニタカメラからの画像データが読み出され、読み出された画像データが情報受信端末に送信され、情報受信端末の表示部にその画像データに基づく画像が表示されるものがある(例えば、特許文献2参照)。
また、従来、ユーザが要求する情報を迅速に提供できるようにするため、情報センターから送信される各モニタカメラの位置情報(緯度、経度)が情報受信端末により受信されてその表示部に表示され、表示された各位置情報の中から、ユーザが所望の位置情報を選択することにより、情報受信端末から情報センターに対して送信要求が送信され、情報センターにより情報受信端末からの送信要求が受信されてセンター側データベース部が検索され、センター側データベース部に格納されているその要求されたモニタカメラからの画像データが読み出され、読み出された画像データが情報受信端末に送信され、情報受信端末の表示部にその画像データに基づく画像が表示されるものがある(例えば、特許文献2参照)。
しかしながら、上記特許文献2では、情報センターから送信される各モニタカメラの位置情報(緯度、経度)が情報受信端末により受信されてその表示部に表示され、表示された各位置情報の中から、ユーザが所望の位置情報を選択し、画像の送信要求を行うので、多数あるカメラから要求するカメラを選択することは困難であるという問題がある。情報受信端末が自車のナビゲーションシステムである場合には、ナビゲーションシステムから自車の位置情報を得て、目的地、通過地点の映像を得ることができるが、自車にナビゲーションシステムを有していない場合には、多数あるカメラから要求するカメラを選択することは困難であるという問題がある。
また、従来、複数の道路撮像用カメラから所望のカメラを指定容易にするため、経路探索で探索された走行経路に基づいて、全カメラのなかからユーザが選択する可能性が高いカメラを自動的に選択するものであり、そして、表示装置に表示する地図に、探索経路と選択したカメラのカメラ位置とをリンクして表示し、指定できるようにすることで、操作性を向上させ、カメラの自動選択については、探索経路上に設置されたカメラを自動選択し、また、探索経路から所定距離の範囲内に設置されたカメラを自動選択したり、探索経路上の通過点や交差点等の2つの特殊地点を含む所定領域内に設定されたカメラを自動選択してもよいものがある(例えば、特許文献3参照)。
しかしながら、上記特許文献3では、車両に搭載されるナビゲーション装置の探索経路からカメラを自動選択するので、車両にナビゲーション装置が搭載されていない場合には、多数あるカメラから要求するカメラを選択することが困難であるという問題がある。
また、従来、利用者が必要とする、詳細な道路交通情報などのリアルタイム画像情報を入手できることを可能にするため、複数個の監視カメラを道路に沿って設置し、道路の交通状況を撮影する。画像情報提供部は、複数個の監視カメラのそれぞれで撮影した道路の交通状況の画像情報を収集し、収集した画像情報を、監視カメラの識別情報と、当該監視カメラの設置位置の情報とに対応させて蓄積管理すると共に、利用者に、提供可能な監視カメラの候補の情報を提供し、端末装置からの要求情報に含まれる指定情報により指定される監視カメラの画像情報を、蓄積した画像情報のなかから取得して、端末装置に送信し、端末装置は、画像情報提供部からの画像情報を受信して、表示画面に表示するものがある(例えば、特許文献4参照)。
また、従来、利用者が必要とする、詳細な道路交通情報などのリアルタイム画像情報を入手できることを可能にするため、複数個の監視カメラを道路に沿って設置し、道路の交通状況を撮影する。画像情報提供部は、複数個の監視カメラのそれぞれで撮影した道路の交通状況の画像情報を収集し、収集した画像情報を、監視カメラの識別情報と、当該監視カメラの設置位置の情報とに対応させて蓄積管理すると共に、利用者に、提供可能な監視カメラの候補の情報を提供し、端末装置からの要求情報に含まれる指定情報により指定される監視カメラの画像情報を、蓄積した画像情報のなかから取得して、端末装置に送信し、端末装置は、画像情報提供部からの画像情報を受信して、表示画面に表示するものがある(例えば、特許文献4参照)。
しかしながら、上記特許文献4では、端末装置からの要求情報に含まれる指定情報により指定される監視カメラの画像情報を端末装置に送信し、端末装置は、画像情報提供部からの画像情報を受信して、表示画面に表示するが、多数あるカメラから情報要求するカメラを選択することは困難であるという問題がある。端末装置が移動体に搭載されるナビゲーションシステムの機能を備える場合には、移動体の目的地までのルート探索結果の情報を含む撮影画像を端末装置に提供しているが、移動体の端末装置にナビゲーションシステムの機能がない場合には多数あるカメラから要求するカメラを選択することが困難であるという問題がある。
このように、従来では、道路沿いに配置された複数のカメラにより撮影された映像を容易に選択できるようにするには、ルート探索を端末自身が行う必要があるので、ルート探索を可能にするナビゲーションシステムの機能情報をもつ端末を移動体に装備しなければならず、端末を簡易な構成にすることができないという問題がある。
したがって、本発明は上記問題点に鑑みて、移動体にナビゲーションシステム機能を有する端末が搭載されていなくても、道路沿いに配置された複数のカメラにより撮影された映像を端末で容易に選択できる道路状況映像提供システム及び方法を提供することを目的とする。
本発明は前記問題点を解決するために、移動体に道路沿いの映像を提供する移動体への道路状況映像提供システムにおいて、道路沿いに配置され道路状況の映像を撮像する複数のカメラ部と、前記複数のカメラ部から送信される映像を記憶するカメラ映像記憶部と、道路地図情報を記憶する道路地図記憶部と、前記複数のカメラ部の位置情報を記憶するカメラ位置情報記憶部と、移動体の目的地、経由地、現在地の位置情報に基づいて前記道路地図記憶部に記憶される道路地図情報を探索して移動体のルートを決定する移動体ルート探索部と、前記移動体ルート探索部により決定されるルート上の道路沿いに配置されるカメラ部の位置情報を探索するカメラ位置探索部と、移動体の目的地、経由地の位置情報を入力し前記移動体ルート探索部に無線送信するための入力部と、移動体の現在地の位置情報を検出し前記移動体ルート探索部に無線送信するための現在地位置情報検出部と、前記カメラ位置探索部から探索された前記カメラ部の位置情報の一覧を無線受信し表示し、前記カメラ映像記憶部から選択された前記カメラ部の映像を無線受信し表示する表示部とを備えることを特徴とする移動体への道路状況映像提供システムを提供する。
さらに、ルート上の目的地、通過地点での道路の渋滞状況、自己情報の道路情報、降雨降雪、霧、地震等の気象情報が発生すると、前記表示部に対して、前記カメラ位置探索部から探索された前記カメラ部の位置情報の一覧を無線受信し表示させる。
さらに、ルート上の目的地、通過地点での道路の渋滞状況、自己情報の道路情報、降雨降雪、霧、地震等の気象情報が発生すると、前記表示部に対して、前記カメラ映像記憶部から選択された前記カメラ部の映像を無線受信し表示させる。
さらに、ルート上の目的地、通過地点での道路の渋滞状況、自己情報の道路情報、降雨降雪、霧、地震等の気象情報が発生すると、前記表示部に対して、前記カメラ映像記憶部から選択された前記カメラ部の映像を無線受信し表示させる。
さらに、前記現在地位置情報検出部は、予め定めた一定時間が経過したとき、又は移動体が予め定めた一定距離の移動があったときに、移動体の現在地の位置情報を検出し前記移動体ルート探索部に無線送信する。
さらに、前記現在地位置情報検出部は、GPSで形成される。
さらに、前記現在地位置情報検出部は、携帯電話機の接続中の基地局の位置情報を移動体の現在地の位置情報として検出する。
さらに、前記現在地位置情報検出部は、GPSで形成される。
さらに、前記現在地位置情報検出部は、携帯電話機の接続中の基地局の位置情報を移動体の現在地の位置情報として検出する。
さらに、前記入力部は、目的地、経由地の位置情報の入力に際し、前記道路地図記憶部に対して、目的地、経由地を含む道路地図を無線送信するように要求し、前記表示部に表示させ、目的地、経由地の位置情報を地図表示上でポイントとして入力する。
さらに、本発明は、移動体に道路沿いの映像を提供する移動体への道路状況映像提供方法において、複数の位置で道路状況の映像を撮像する工程と、撮像された映像を受信し、記憶する工程と、道路地図情報を記憶する工程と、移動体から目的地、経由地、現在地の位置情報を無線受信する工程と、移動体から無線受信した目的地、経由地、現在地の位置情報に基づいて、記憶される道路地図情報を探索して移動体のルートを決定する工程と、決定されたルートで道路状況の映像を撮像するための位置を探索する工程と、決定されたルートで道路状況の映像を撮像した位置情報の一覧を移動体で無線受信し表示する工程と、撮像された映像の位置情報で表示された一覧から選択された映像を移動体で無線受信し表示する工程とを備えることを特徴とする道路状況映像提供方法を提供する。
さらに、本発明は、移動体に道路沿いの映像を提供する移動体への道路状況映像提供方法において、複数の位置で道路状況の映像を撮像する工程と、撮像された映像を受信し、記憶する工程と、道路地図情報を記憶する工程と、移動体から目的地、経由地、現在地の位置情報を無線受信する工程と、移動体から無線受信した目的地、経由地、現在地の位置情報に基づいて、記憶される道路地図情報を探索して移動体のルートを決定する工程と、決定されたルートで道路状況の映像を撮像するための位置を探索する工程と、決定されたルートで道路状況の映像を撮像した位置情報の一覧を移動体で無線受信し表示する工程と、撮像された映像の位置情報で表示された一覧から選択された映像を移動体で無線受信し表示する工程とを備えることを特徴とする道路状況映像提供方法を提供する。
さらに、本発明は、移動体に道路沿いの映像を提供する移動体への道路状況映像提供システムの情報センターにおいて、道路沿いに配置され道路状況の映像を撮像する複数のカメラ部から送信される映像を記憶するカメラ映像記憶部と、道路地図情報を記憶する道路地図記憶部と、前記複数のカメラ部の位置情報を記憶するカメラ位置情報記憶部と、移動体から目的地、経由地、現在地の位置情報を無線受信し、前記道路地図記憶部に記憶される道路地図情報を探索して移動体のルートを決定する移動体ルート探索部と、前記移動体ルート探索部により決定されるルート上の道路沿いに配置されるカメラ部の位置情報を探索するカメラ位置探索部と、前記カメラ位置探索部から探索された前記カメラ部の位置情報の一覧を記憶するルート上カメラ位置情報記憶部と、前記ルート上カメラ位置情報記憶部に記憶されている前記カメラ部の位置情報の一覧を移動体に無線送信させ、表示させ、さらに、前記カメラ映像記憶部から選択された前記カメラ部の映像を無線送信させ、表示させる情報センター制御部とを備えることを特徴とする移動体への道路状況映像提供システムの情報センターを提供する。
さらに、本発明は、移動体に道路沿いの映像を提供する移動体への道路状況映像提供システムの情報通信端末において、移動体の目的地、経由地の位置情報を入力する入力部と、移動体の現在地の位置情報を検出する現在位置情報検出部と、 前記入力部で入力した移動体の目的地、経由地の位置情報、前記現在位置情報検出部で検出された移動体の現在地の位置情報を無線送信し、無線送信された移動体の目的地、経由地の位置情報に基づきルート探索され、道路に配置され道路状況の映像を撮像する複数のカメラ部でルート探索されたルート上のカメラ部の位置情報の一覧、選択されたカメラ部の映像を無線受信する無線部と、前記無線部で受信したルート上のカメラ部の位置情報の一覧、カメラ部の映像を表示する表示部と、前記無線部で無線受信したカメラ部の位置情報の一覧、選択されたカメラの映像を前記表示部に表示させる端末制御部とを備えることを特徴とする移動体の道路状況映像提供システムの情報通信端末を提供する。
さらに、端末記憶部が設けられ、前記端末記憶部は前記無線部が受信したルート上のカメラ部の位置情報の一覧を記憶し、前記端末制御部は前記端末記憶部からルート上のカメラ部の位置情報の一覧を読み出して前記表示部に表示させる。
さらに、音声出力部が設けられ、前記音声出力部は、前記無線部から探索されたカメラ部の位置情報の一覧、選択されたカメラ部の映像の情報を前記表示部に表示時に報知音を出力し、情報内容を音声で出力する。
さらに、音声出力部が設けられ、前記音声出力部は、前記無線部から探索されたカメラ部の位置情報の一覧、選択されたカメラ部の映像の情報を前記表示部に表示時に報知音を出力し、情報内容を音声で出力する。
以上説明したように、本発明によれば、情報通信端末では、ルート探索機能、すなわち、ナビゲーションシステム機能を外部に持たせているので、情報通信端末の構成を簡単にでき、かつ、多数あるカメラから情報要求するカメラを選択することが容易になった。
さらに、移動体では、目的地から現在地までの間で、事故、渋滞、降雨、降雪、霧、地震等の情報を受け取り、ルート上の見たいところの映像を要求することができ、先の状況を確認することが可能となる。
さらに、移動体では、目的地から現在地までの間で、事故、渋滞、降雨、降雪、霧、地震等の情報を受け取り、ルート上の見たいところの映像を要求することができ、先の状況を確認することが可能となる。
また、ルート上のカメラを任意に選べるので、情報発生場所以外に広範囲での道路状況を知ることが可能となる。
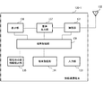
図1は、本発明に係る道路状況映像提供システムの概略全体構成例を示すブロック図である。本図に示すように、道路状況映像提供システムでは、複数のカメラ部120−1〜120−Nが道路沿いに配置され、複数のカメラ部120−1〜120−Nは道路の渋滞情報、事故情報、降雨降雪、霧、地震等の気象情報を含む道路状況を撮影する。
さらに、複数のカメラ部120−1〜120−Nには情報センター110が接続され、情報センター110は複数のカメラ部120−1〜120−Nにより撮影された映像を収集する。
さらに、複数のカメラ部120−1〜120−Nには情報センター110が接続され、情報センター110は複数のカメラ部120−1〜120−Nにより撮影された映像を収集する。
情報センター110には情報通信端末130−1〜130−nが無線で接続され、情報通信端末130−1〜130−nの各々は移動体に搭載され、情報センター110に移動体の目的地、経由地、現在地の位置情報を知らせ、探索したルート情報、複数のカメラ部120−1〜120−Nの中から探索したルートである道路沿いに配置されたカメラ位置情報、所望映像を送信させ、表示する。
図2は図1における情報センター110の概略構成例を示すブロック図である。本図に示すように、情報センター110にはカメラ側通信部111が設けられ、カメラ側通信部111は複数のカメラ部120−1〜120−Nに接続され複数のカメラ部120−1〜120−Nで撮影された映像を受け取る機能、複数のカメラ部120−1〜120−Nを制御するための信号を送信する機能、複数のカメラ部120−1〜120−Nの状態をモニターするための信号を受信する機能を有する。
図2は図1における情報センター110の概略構成例を示すブロック図である。本図に示すように、情報センター110にはカメラ側通信部111が設けられ、カメラ側通信部111は複数のカメラ部120−1〜120−Nに接続され複数のカメラ部120−1〜120−Nで撮影された映像を受け取る機能、複数のカメラ部120−1〜120−Nを制御するための信号を送信する機能、複数のカメラ部120−1〜120−Nの状態をモニターするための信号を受信する機能を有する。
カメラ側通信部111には情報センター制御部112が接続され、情報センター制御部112はカメラ側通信部111を含む情報センター110全体の制御を行い、各種情報の処理を行う。
情報センター制御部112には端末側通信部113が接続され、端末側通信部113には情報通信端末130と無線通信を行うためのアンテナ118が接続され、端末側通信部113は情報通信端末130と情報センター110間でのデータ送受信を行う機能を有する。
情報センター制御部112には端末側通信部113が接続され、端末側通信部113には情報通信端末130と無線通信を行うためのアンテナ118が接続され、端末側通信部113は情報通信端末130と情報センター110間でのデータ送受信を行う機能を有する。
さらに、情報センター制御部112には道路地図情報記憶部114、カメラ位置情報記憶部115、カメラ映像記憶部116、情報通信端末の情報記憶部117が接続される。
道路地図情報記憶部114は道路地図情報を記憶する。
カメラ位置情報記憶部115は道路沿いに配置されている複数のカメラ部120−1〜120−Nの位置情報データを記憶する。
道路地図情報記憶部114は道路地図情報を記憶する。
カメラ位置情報記憶部115は道路沿いに配置されている複数のカメラ部120−1〜120−Nの位置情報データを記憶する。
カメラ映像記憶部116は道路沿いに配置されている複数のカメラ部120−1〜120−Nから送信される映像データを記憶する。
情報通信端末の情報記憶部117は、情報通信端末130毎に移動体位置情報記憶部117A、移動体ルート記憶部117B、ルート上カメラ位置情報記憶部117Cを有する。
情報通信端末の情報記憶部117は、情報通信端末130毎に移動体位置情報記憶部117A、移動体ルート記憶部117B、ルート上カメラ位置情報記憶部117Cを有する。
移動体位置情報記憶部117Aは情報通信端末130の目的地、経由地、現在地の位置情報を記憶する。
移動体ルート記憶部117Bは端末側通信部113を搭載する移動体の決定ルート情報を記憶する。
ルート上カメラ位置情報記憶部117Cは、道路沿いに配置されている複数のカメラ部120−1〜120−Nであって、移動体のルート上にあるカメラ部の位置情報を記憶する。
移動体ルート記憶部117Bは端末側通信部113を搭載する移動体の決定ルート情報を記憶する。
ルート上カメラ位置情報記憶部117Cは、道路沿いに配置されている複数のカメラ部120−1〜120−Nであって、移動体のルート上にあるカメラ部の位置情報を記憶する。
さらに、情報センター制御部112には移動体ルート探索部112A、カメラ位置探索部112Bが設けられる。
移動体ルート探索部112Aは、情報通信端末130から移動体の目的地、経由地、現在地の位置情報を入力すると、入力した移動体の目的地、経由地、現在地の位置情報を基に、道路地図情報記憶部114に記憶される道路地図情報を探索し、移動体のルートを決定し、目的地、経由地、現在地の位置情報と共に決定ルート情報を移動体ルート記憶部117Bに記憶させる。
移動体ルート探索部112Aは、情報通信端末130から移動体の目的地、経由地、現在地の位置情報を入力すると、入力した移動体の目的地、経由地、現在地の位置情報を基に、道路地図情報記憶部114に記憶される道路地図情報を探索し、移動体のルートを決定し、目的地、経由地、現在地の位置情報と共に決定ルート情報を移動体ルート記憶部117Bに記憶させる。
カメラ位置探索部112Bは移動体ルート探索部112Aで決定された移動体のルートである道路沿いに配置されている複数のカメラ部120−1〜120−Nを探索し、探索したカメラ位置情報の一覧をルート上カメラ位置情報記憶部117Cに記憶させる。
情報センター制御部112は、カメラ位置探索部112Bで探索されたカメラ部120−1〜120−Nの探索情報の一覧を情報通信端末130に送信する。
情報センター制御部112は、情報通信端末130に対するカメラ部120−1〜120−Nの探索情報の一覧の送信に対して、情報通信端末130から要求されたカメラ部120−1〜120−Nの映像をカメラ位置情報記憶部115から読み出し情報通信端末130に送信する。
情報センター制御部112は、カメラ位置探索部112Bで探索されたカメラ部120−1〜120−Nの探索情報の一覧を情報通信端末130に送信する。
情報センター制御部112は、情報通信端末130に対するカメラ部120−1〜120−Nの探索情報の一覧の送信に対して、情報通信端末130から要求されたカメラ部120−1〜120−Nの映像をカメラ位置情報記憶部115から読み出し情報通信端末130に送信する。
図3は図1におけるカメラ部120−1の概略構成例を示すブロック図である。前述のように、カメラ部120−1〜120−Nは、道路沿いに配置され、本図に示すように、一例として、カメラ部120−1〜120−Nのうち代表としてカメラ部120−1にはモニタカメラ121が設けられ、モニタカメラ121は道路状況の映像を撮影する。
モニタカメラ121にはカメラ制御部122が接続され、カメラ制御部122はモニタカメラ121の動作を制御する。
モニタカメラ121にはカメラ制御部122が接続され、カメラ制御部122はモニタカメラ121の動作を制御する。
カメラ制御部122にはカメラ通信部123が接続され、カメラ通信部123は情報センター110との通信を行う。
図4は図1における情報通信端末130−1の概略構成例を示すブロック図である。本図に示すように、代表例として、情報通信端末130−1には無線部131が設けられ、無線部131には情報センター110と無線通信を行うためのアンテナ132が接続され、無線部131は情報センター110と情報通信端末130間でのデータ送受信を行う機能を有する。
図4は図1における情報通信端末130−1の概略構成例を示すブロック図である。本図に示すように、代表例として、情報通信端末130−1には無線部131が設けられ、無線部131には情報センター110と無線通信を行うためのアンテナ132が接続され、無線部131は情報センター110と情報通信端末130間でのデータ送受信を行う機能を有する。
さらに、情報通信端末130−1の各々には端末制御部138が設けられ、端末制御部138は無線部131を含む情報通信端末130−1の全体の制御を行う。
端末制御部138には入力部133が接続され、入力部133は各種データの入力、特に、経緯度、市町村、番地、電話番号を用いて、移動体の目的地、経由地の位置情報の入力、すなわち、カメラ部120−1〜120−N選定ためのデータの入力を行う。端末制御部138は、無線部131を介して、入力部133より入力した目的地、経由地の位置情報、すなわち、カメラ部120−1〜120−N選定のためのデータを情報センター110に送信させる。
端末制御部138には入力部133が接続され、入力部133は各種データの入力、特に、経緯度、市町村、番地、電話番号を用いて、移動体の目的地、経由地の位置情報の入力、すなわち、カメラ部120−1〜120−N選定ためのデータの入力を行う。端末制御部138は、無線部131を介して、入力部133より入力した目的地、経由地の位置情報、すなわち、カメラ部120−1〜120−N選定のためのデータを情報センター110に送信させる。
さらに、端末制御部138には現在地位置情報検出部135が設けられ、現在地位置情報検出部135は、例えば、GPS(全地球測位システム)で形成され、GPSで検出された経緯度を情報通信端末130の現在地の位置として検出する。GPSを用いることにより、情報通信端末130−1の構成が簡単になる。
情報通信端末130の端末制御部138は、無線部131を介して、現在地位置情報検出部135により検出された移動体の現在地情報を情報センター110に送信させる。
情報通信端末130の端末制御部138は、無線部131を介して、現在地位置情報検出部135により検出された移動体の現在地情報を情報センター110に送信させる。
さらに、端末制御部138には表示部136が接続され、表示部136は、各種データを表示し、特に、情報通信端末130−1が、無線部131を介して、情報センター110からルート上のカメラ部120−1〜120−Nの位置情報、ルート上のカメラ部120−1〜120−Nの映像を受け取ると、これらの情報を表示し、道路の渋滞情報、事故情報、降雨降雪、霧、地震等の気象情報を含む道路状況を表示する。
さらに、端末制御部138には端末記憶部134が接続され、端末記憶部134は情報センター110から受け取ったルート上のカメラ部120−1〜120−Nの位置情報を記憶する。記憶した位置情報から映像を任意に選択できるようにし、一旦受け取った位置情報を有効に活用するためである。
さらに、端末制御部138には端末記憶部134が接続され、端末記憶部134は情報センター110から受け取ったルート上のカメラ部120−1〜120−Nの位置情報を記憶する。記憶した位置情報から映像を任意に選択できるようにし、一旦受け取った位置情報を有効に活用するためである。
さらに、端末制御部138には音声出力部137が接続され、音声出力部137は、音声データを音に変換して出力し、特に、情報通信端末130−1が情報センター110から情報を受け取り、表示部136に表示すると、報知音を出力し、表示される情報内容を音声で出力する。操作を容易にするためである。
図5は図1における道路状況映像提供システムの動作例を説明するフローチャートである。本図に示すように、ステップS201において、情報通信端末130−1〜130−nの各々の入力部133から入力した移動体の目的地、経由地の位置情報を、無線部131、アンテナ132を介して、情報センター110に送信する。
図5は図1における道路状況映像提供システムの動作例を説明するフローチャートである。本図に示すように、ステップS201において、情報通信端末130−1〜130−nの各々の入力部133から入力した移動体の目的地、経由地の位置情報を、無線部131、アンテナ132を介して、情報センター110に送信する。
ステップS202において、情報通信端末130−1〜130−nの各々は、現在地位置情報検出部135にて検出した移動体の現在地の位置情報を、無線部131、アンテナ132を介して、情報センター110に送信する。
ステップS203において、情報センター110の情報センター制御部112では、情報通信端末130から移動体の目的地、経由地、現在地の位置情報を受信したか否かをチェックする。
ステップS203において、情報センター110の情報センター制御部112では、情報通信端末130から移動体の目的地、経由地、現在地の位置情報を受信したか否かをチェックする。
ステップS204において、上記チェックで所定の移動体の目的地、経由地、現在地の位置情報入手ができていないと判断した場合にはステップS201に戻り、所定の移動体の目的地、経由地、現在地の位置情報入手を行う。
所定の移動体の目的地、経由地、現在地の位置情報入手ができた場合には、移動体位置情報記憶部117Aは入手した所定の移動体の目的地、経由地、現在地の位置情報を記憶する。
所定の移動体の目的地、経由地、現在地の位置情報入手ができた場合には、移動体位置情報記憶部117Aは入手した所定の移動体の目的地、経由地、現在地の位置情報を記憶する。
ステップS205において、移動体ルート記憶部117Bに記憶した移動体の目的地、経由地、現在地の位置情報に基づき、情報センター制御部112の移動体ルート探索部112Aは、道路地図情報記憶部114から道路地図情報を読み出し、ルート探索を行い、ルートの決定を行う。
移動体ルート記憶部117Bは、移動体ルート探索部112Aで決定されたルート情報を記憶する。
移動体ルート記憶部117Bは、移動体ルート探索部112Aで決定されたルート情報を記憶する。
ステップS206において、情報センター制御部112のカメラ位置探索部112Bは、移動体ルート記憶部117Bに記憶されているルート情報とルート上カメラ位置情報記憶部117Cに記憶されている複数のカメラ部120−1〜120−Nの位置情報を照合し、現在地の位置から目的地の位置までのルート上にあるカメラ部120−1〜120−Nをピックアップする探索を行う。
ルート上カメラ位置情報記憶部117Cは、カメラ位置探索部112Bで検索しピックアップされたカメラ部120−1〜120−Nの位置情報を記憶する。
ルート上カメラ位置情報記憶部117Cは、カメラ位置探索部112Bで検索しピックアップされたカメラ部120−1〜120−Nの位置情報を記憶する。
ステップS207において、情報センター110の情報センター制御部112は、端末側通信部113、アンテナ118を介して情報通信端末130−1〜130−nの各々に、ルート上カメラ位置情報記憶部117Cに記憶されたカメラ部120−1〜120−Nの位置情報の一覧を送信する。
ステップS208において、情報通信端末130−1〜130−nの各々の端末制御部138は、現在地の位置から目的地の位置までのルート上にあるカメラ部120−1〜120−Nの位置情報を情報センター110からアンテナ132、無線部131を介して受信すると、受信したカメラ部120−1〜120−Nの位置情報の一覧を表示部136に表示させる。さらに、端末記憶部134に受信したカメラ部120−1〜120−Nの位置情報の一覧を記憶する。
この場合、道路地図のルート上に探索したカメラ部120−1〜120−Nの位置情報を表示部136に表示するようにしてもよい。
カメラ部120−1〜120−Nの位置情報を受信すると、端末制御部138は音声出力部137に対して報知音を出力させ、利用者に受信を知らせ、さらに、情報内容を音声で出力し利用者に知らせるようにしてもよい。これにより、利用者は、表示部136を見て、ルート上のカメラ部120−1〜120−Nの1つを選択することが可能になる。
ステップS208において、情報通信端末130−1〜130−nの各々の端末制御部138は、現在地の位置から目的地の位置までのルート上にあるカメラ部120−1〜120−Nの位置情報を情報センター110からアンテナ132、無線部131を介して受信すると、受信したカメラ部120−1〜120−Nの位置情報の一覧を表示部136に表示させる。さらに、端末記憶部134に受信したカメラ部120−1〜120−Nの位置情報の一覧を記憶する。
この場合、道路地図のルート上に探索したカメラ部120−1〜120−Nの位置情報を表示部136に表示するようにしてもよい。
カメラ部120−1〜120−Nの位置情報を受信すると、端末制御部138は音声出力部137に対して報知音を出力させ、利用者に受信を知らせ、さらに、情報内容を音声で出力し利用者に知らせるようにしてもよい。これにより、利用者は、表示部136を見て、ルート上のカメラ部120−1〜120−Nの1つを選択することが可能になる。
ステップS209において、情報通信端末130−1〜130−nの各々の端末制御部138は、表示部136に表示されたカメラ部120−1〜120−Nの位置情報に対して利用者により任意に選択が行われると、無線部131、アンテナ132を介して情報センター110に、選択されたカメラ部120−1〜120−Nの映像の送信を要求する。なお、端末記憶部134からカメラ部120−1〜120−Nの位置情報の一覧を読み出して表示させ、新たな映像の送信要求を行ってもよい。
ステップS210において、情報センター110の情報センター制御部112は、アンテナ118、端末側通信部113を介して、情報通信端末130−1〜130−nの各々から選択されたカメラ部120−1〜120−Nの映像の送信要求を受信すると、該当するカメラ部120−1〜120−Nが撮影した映像データを、カメラ映像記憶部116から読み出して、端末側通信部113、アンテナ118を介して、情報通信端末130−1〜130−nの各々に送信する。
ステップS210において、情報センター110の情報センター制御部112は、アンテナ118、端末側通信部113を介して、情報通信端末130−1〜130−nの各々から選択されたカメラ部120−1〜120−Nの映像の送信要求を受信すると、該当するカメラ部120−1〜120−Nが撮影した映像データを、カメラ映像記憶部116から読み出して、端末側通信部113、アンテナ118を介して、情報通信端末130−1〜130−nの各々に送信する。
ステップS211において、情報通信端末130−1〜130−nの各々の端末制御部138は、アンテナ132、無線部131を介して、情報センター110から映像データを受信すると、受信した映像データを表示部136に表示させる。この場合、端末制御部138は音声出力部137に対して報知音を出力させ、利用者に受信を知らせ、さらに、情報内容を音声で出力し利用者に知らせ、処理を終了する。
このようにして、本発明によれば、利用者は、表示部136の表示を見て、見たいところの映像を要求することができ、先の状況を確認することができる。すなわち、利用者の要求で、目的地、通過地点での道路の渋滞状況、自己情報の道路情報、降雨降雪、霧、地震等の気象情報の発生を確認することが可能になる。
情報センター110の情報センター制御部112は、ルート上の目的地、通過地点での道路の渋滞状況、自己情報の道路情報、降雨降雪、霧、地震等の気象情報が発生すると、情報通信端末130から要求がなくても、ルート上カメラ位置情報記憶部117Cに記憶されているカメラ部120−1〜120−Nの位置情報の一覧を情報通信端末130−1〜130−nの各々に対して自動的に送信するようにしてもよい。最新の道路状況を迅速に提供するためである。
情報センター110の情報センター制御部112は、目的地、通過地点での道路の渋滞状況、自己情報の道路情報、降雨降雪、霧、地震等の気象情報が発生すると、情報通信端末130−1〜130−nの各々から要求がなくても、ルート上カメラ位置情報記憶部117Cに記憶されているカメラ部120−1〜120−Nの映像を情報通信端末130−1〜130−nの各々に対して自動的に送信するようにしてもよい。最新の道路状況を迅速に提供するためである。
情報通信端末130−1〜130−nの各々では、検出された移動体の現在地の位置情報を送信するタイミングについては、予め定めた一定時間が経過したとき、又は情報通信端末130−1〜130−nの各々を搭載した移動体が予め定めた一定距離の移動があったときに検出された移動体の現在地の位置情報が情報センター110に自動送信される。
情報センター110では、移動体の現在地の位置情報の送信毎に、情報通信端末の情報記憶部117の移動体位置情報記憶部117Aを更新し、ルート上カメラ位置情報記憶部117Cに記憶されているカメラ部120−1〜120−Nの位置情報の一覧を更新する。移動体の移動に伴って、変更を迅速に行うためである。
情報センター110では、移動体の現在地の位置情報の送信毎に、情報通信端末の情報記憶部117の移動体位置情報記憶部117Aを更新し、ルート上カメラ位置情報記憶部117Cに記憶されているカメラ部120−1〜120−Nの位置情報の一覧を更新する。移動体の移動に伴って、変更を迅速に行うためである。
現在地位置情報検出部135は携帯電話機の接続中の基地局の位置情報を移動体の現在地の位置情報として用いてもよい。情報通信端末130−1〜130−nの各々の構成を簡単にするためである。
情報通信端末130−1〜130−nの各々の入力部133から目的地、経由地の位置情報の入力に際し、情報センター110の道路地図情報記憶部114から目的地、経由地の位置情報を含む道路地図情報を無線送信するように要求し、表示部136に表示し、目的地、経由地の位置情報を地図表示上でポイントとして入力するようにしてもよい。目的地、経由地の入力の操作の多様性を確保するためである。
110…情報センター
111…カメラ側通信部
112…情報センター制御部
112A…移動体ルート探索部
112B…カメラ位置探索部
113…端末側通信部
114…道路地図情報記憶部
115…カメラ位置情報記憶部
116…カメラ映像記憶部
117…情報通信端末の情報記憶部
117A…移動体位置情報記憶部
117B…移動体ルート記憶部
117C…ルート上カメラ位置情報記憶部
118、132…アンテナ
120−1〜120−N…カメラ部
121…モニタカメラ
122…カメラ制御部
123…カメラ通信部
130−1〜130−n…情報通信端末
131…無線部
133…入力部
134…端末記憶部
135…現在地位置情報検出部
136…表示部
137…音声出力部
111…カメラ側通信部
112…情報センター制御部
112A…移動体ルート探索部
112B…カメラ位置探索部
113…端末側通信部
114…道路地図情報記憶部
115…カメラ位置情報記憶部
116…カメラ映像記憶部
117…情報通信端末の情報記憶部
117A…移動体位置情報記憶部
117B…移動体ルート記憶部
117C…ルート上カメラ位置情報記憶部
118、132…アンテナ
120−1〜120−N…カメラ部
121…モニタカメラ
122…カメラ制御部
123…カメラ通信部
130−1〜130−n…情報通信端末
131…無線部
133…入力部
134…端末記憶部
135…現在地位置情報検出部
136…表示部
137…音声出力部
Claims (12)
- 移動体に道路沿いの映像を提供する移動体への道路状況映像提供システムにおいて、
道路沿いに配置され道路状況の映像を撮像する複数のカメラ部と、
前記複数のカメラ部から送信される映像を記憶するカメラ映像記憶部と、
道路地図情報を記憶する道路地図記憶部と、
前記複数のカメラ部の位置情報を記憶するカメラ位置情報記憶部と、
移動体の目的地、経由地、現在地の位置情報に基づいて前記道路地図記憶部に記憶される道路地図情報を探索して移動体のルートを決定する移動体ルート探索部と、
前記移動体ルート探索部により決定されるルート上の道路沿いに配置されるカメラ部の位置情報を探索するカメラ位置探索部と、
移動体の目的地、経由地の位置情報を入力し前記移動体ルート探索部に無線送信するための入力部と、
移動体の現在地の位置情報を検出し前記移動体ルート探索部に無線送信するための現在地位置情報検出部と、
前記カメラ位置探索部から探索された前記カメラ部の位置情報の一覧を無線受信し表示し、前記カメラ映像記憶部から選択された前記カメラ部の映像を無線受信し表示する表示部とを備えることを特徴とする移動体への道路状況映像提供システム。 - ルート上の目的地、通過地点での道路の渋滞状況、自己情報の道路情報、降雨降雪、霧、地震等の気象情報が発生すると、前記表示部に対して、前記カメラ位置探索部から探索された前記カメラ部の位置情報の一覧を無線受信し表示させることを特徴とする、請求項1に記載の移動体への道路状況映像提供システム。
- ルート上の目的地、通過地点での道路の渋滞状況、自己情報の道路情報、降雨降雪、霧、地震等の気象情報が発生すると、前記表示部に対して、前記カメラ映像記憶部から選択された前記カメラ部の映像を無線受信し表示させることを特徴とする、請求項1に記載の移動体への道路状況映像提供システム。
- 前記現在地位置情報検出部は、予め定めた一定時間が経過したとき、又は移動体が予め定めた一定距離の移動があったときに、移動体の現在地の位置情報を検出し前記移動体ルート探索部に無線送信することを特徴とする、請求項1に記載の移動体への道路状況映像提供システム。
- 前記現在地位置情報検出部は、GPSで形成されることを特徴とする、請求項1に記載の移動体への道路状況映像提供システム。
- 前記現在地位置情報検出部は、携帯電話機の接続中の基地局の位置情報を移動体の現在地の位置情報として検出することを特徴とする、請求項1に記載の移動体への道路状況映像提供システム。
- 前記入力部は、目的地、経由地の位置情報の入力に際し、前記道路地図記憶部に対して、目的地、経由地を含む道路地図を無線送信するように要求し、前記表示部に表示させ、目的地、経由地の位置情報を地図表示上でポイントとして入力することを特徴とする、請求項1に記載の移動体への道路状況映像提供システム。
- 移動体に道路沿いの映像を提供する移動体への道路状況映像提供方法において、
複数の位置で道路状況の映像を撮像する工程と、
撮像された映像を受信し、記憶する工程と、
道路地図情報を記憶する工程と、
移動体から目的地、経由地、現在地の位置情報を無線受信する工程と、
移動体から無線受信した目的地、経由地、現在地の位置情報に基づいて、記憶される道路地図情報を探索して移動体のルートを決定する工程と、
決定されたルートで道路状況の映像を撮像するための位置を探索する工程と、
決定されたルートで道路状況の映像を撮像した位置情報の一覧を移動体で無線受信し表示する工程と、
撮像された映像の位置情報で表示された一覧から選択された映像を移動体で無線受信し表示する工程とを備えることを特徴とする道路状況映像提供方法。 - 移動体に道路沿いの映像を提供する移動体への道路状況映像提供システムの情報センターにおいて、
道路沿いに配置され道路状況の映像を撮像する複数のカメラ部から送信される映像を記憶するカメラ映像記憶部と、
道路地図情報を記憶する道路地図記憶部と、
前記複数のカメラ部の位置情報を記憶するカメラ位置情報記憶部と、
移動体から目的地、経由地、現在地の位置情報を無線受信し、前記道路地図記憶部に記憶される道路地図情報を探索して移動体のルートを決定する移動体ルート探索部と、
前記移動体ルート探索部により決定されるルート上の道路沿いに配置されるカメラ部の位置情報を探索するカメラ位置探索部と、
前記カメラ位置探索部から探索された前記カメラ部の位置情報の一覧を記憶するルート上カメラ位置情報記憶部と、
前記ルート上カメラ位置情報記憶部に記憶されている前記カメラ部の位置情報の一覧を移動体に無線送信させ、表示させ、さらに、前記カメラ映像記憶部から選択された前記カメラ部の映像を無線送信させ、表示させる情報センター制御部とを備えることを特徴とする移動体への道路状況映像提供システムの情報センター。 - 移動体に道路沿いの映像を提供する移動体への道路状況映像提供システムの情報通信端末において、
移動体の目的地、経由地の位置情報を入力する入力部と、
移動体の現在地の位置情報を検出する現在位置情報検出部と、
前記入力部で入力した移動体の目的地、経由地の位置情報、前記現在位置情報検出部で検出された移動体の現在地の位置情報を無線送信し、無線送信された移動体の目的地、経由地の位置情報に基づきルート探索され、道路に配置され道路状況の映像を撮像する複数のカメラ部でルート探索されたルート上のカメラ部の位置情報の一覧、選択されたカメラ部の映像を無線受信する無線部と、
前記無線部で受信したルート上のカメラ部の位置情報の一覧、カメラ部の映像を表示する表示部と、
前記無線部で無線受信したカメラ部の位置情報の一覧、選択されたカメラの映像を前記表示部に表示させる端末制御部とを備えることを特徴とする移動体の道路状況映像提供システムの情報通信端末。 - 端末記憶部が設けられ、前記端末記憶部は前記無線部が受信したルート上のカメラ部の位置情報の一覧を記憶し、前記端末制御部は前記端末記憶部からルート上のカメラ部の位置情報の一覧を読み出して前記表示部に表示させることを特徴とする、請求項10に記載の移動体の道路状況映像提供システムの情報通信端末。
- 音声出力部が設けられ、前記音声出力部は、前記無線部から探索されたカメラ部の位置情報の一覧、選択されたカメラ部の映像の情報を前記表示部に表示時に報知音を出力し、情報内容を音声で出力することを特徴とする、請求項10に記載の移動体への道路状況映像提供システムの情報通信端末。
Priority Applications (1)
| Application Number | Priority Date | Filing Date | Title |
|---|---|---|---|
| JP2004108707A JP2005291981A (ja) | 2004-04-01 | 2004-04-01 | 移動体への道路状況映像提供システム、方法、その情報センター及びその情報通信端末 |
Applications Claiming Priority (1)
| Application Number | Priority Date | Filing Date | Title |
|---|---|---|---|
| JP2004108707A JP2005291981A (ja) | 2004-04-01 | 2004-04-01 | 移動体への道路状況映像提供システム、方法、その情報センター及びその情報通信端末 |
Publications (1)
| Publication Number | Publication Date |
|---|---|
| JP2005291981A true JP2005291981A (ja) | 2005-10-20 |
Family
ID=35325065
Family Applications (1)
| Application Number | Title | Priority Date | Filing Date |
|---|---|---|---|
| JP2004108707A Pending JP2005291981A (ja) | 2004-04-01 | 2004-04-01 | 移動体への道路状況映像提供システム、方法、その情報センター及びその情報通信端末 |
Country Status (1)
| Country | Link |
|---|---|
| JP (1) | JP2005291981A (ja) |
Cited By (7)
| Publication number | Priority date | Publication date | Assignee | Title |
|---|---|---|---|---|
| JP2008052453A (ja) * | 2006-08-23 | 2008-03-06 | Hokkaido Development Engineering Center | 走行支援システム |
| JP2009516189A (ja) * | 2005-11-18 | 2009-04-16 | トムトム インターナショナル ベスローテン フエンノートシャップ | 交通情報を表示するナビゲーションデバイス |
| JP2009118018A (ja) * | 2007-11-02 | 2009-05-28 | Sony Corp | 情報表示装置、情報表示方法、撮像装置および撮像装置における画像データ送信方法 |
| JP2010529736A (ja) * | 2007-05-30 | 2010-08-26 | イーストマン コダック カンパニー | 画像の協調的取り込み方法 |
| US8954277B2 (en) | 2013-05-16 | 2015-02-10 | Denso International America, Inc. | Adding visual image of traffic condition to help driver determine a route from multiple options |
| JP2021124930A (ja) * | 2020-02-04 | 2021-08-30 | 株式会社デンソーテン | 情報処理装置、配信システムおよび情報処理方法 |
| CN114241622A (zh) * | 2020-09-09 | 2022-03-25 | 丰田自动车株式会社 | 信息管理系统以及在该信息管理系统中使用的便携终端、图像管理服务器 |
-
2004
- 2004-04-01 JP JP2004108707A patent/JP2005291981A/ja active Pending
Cited By (9)
| Publication number | Priority date | Publication date | Assignee | Title |
|---|---|---|---|---|
| JP2009516189A (ja) * | 2005-11-18 | 2009-04-16 | トムトム インターナショナル ベスローテン フエンノートシャップ | 交通情報を表示するナビゲーションデバイス |
| JP2008052453A (ja) * | 2006-08-23 | 2008-03-06 | Hokkaido Development Engineering Center | 走行支援システム |
| JP2010529736A (ja) * | 2007-05-30 | 2010-08-26 | イーストマン コダック カンパニー | 画像の協調的取り込み方法 |
| JP2009118018A (ja) * | 2007-11-02 | 2009-05-28 | Sony Corp | 情報表示装置、情報表示方法、撮像装置および撮像装置における画像データ送信方法 |
| US8477227B2 (en) | 2007-11-02 | 2013-07-02 | Sony Corporation | Monitoring and communication in a system having multiple imaging apparatuses |
| US8954277B2 (en) | 2013-05-16 | 2015-02-10 | Denso International America, Inc. | Adding visual image of traffic condition to help driver determine a route from multiple options |
| JP2021124930A (ja) * | 2020-02-04 | 2021-08-30 | 株式会社デンソーテン | 情報処理装置、配信システムおよび情報処理方法 |
| CN114241622A (zh) * | 2020-09-09 | 2022-03-25 | 丰田自动车株式会社 | 信息管理系统以及在该信息管理系统中使用的便携终端、图像管理服务器 |
| CN114241622B (zh) * | 2020-09-09 | 2024-01-16 | 丰田自动车株式会社 | 信息管理系统以及在该信息管理系统中使用的便携终端、图像管理服务器 |
Similar Documents
| Publication | Publication Date | Title |
|---|---|---|
| US8457881B2 (en) | Image capturing system for vehicle | |
| JP4483027B2 (ja) | サーバ装置、データ送受信方法及び記録媒体 | |
| EP1475763B1 (en) | On-vehicle video playback system and car navigation device | |
| US20080288166A1 (en) | Portable Navigation Terminal and Program | |
| JPH1131295A (ja) | 道路情報管理システムおよび道路情報端末装置 | |
| EP1484580A2 (en) | Apparatus and method for providing travel route in navigation system | |
| JP2003315069A (ja) | 情報センタ装置、データ提供装置、データ収集システム、データ配信システム及びその方法 | |
| JPWO2007018305A1 (ja) | 避難経路情報提供システム、避難経路情報提供装置、避難経路情報提供方法および避難経路情報提供プログラム | |
| JP2021056191A (ja) | 車載装置、配信システムおよび映像受信方法 | |
| JP2017073023A (ja) | 交通事象情報提供システム、中央装置、無人飛行体および交通事象情報提供プログラム | |
| JP2005291981A (ja) | 移動体への道路状況映像提供システム、方法、その情報センター及びその情報通信端末 | |
| JP2002218503A (ja) | 通信システム及び携帯端末 | |
| JP2006217498A (ja) | 端末装置、携帯端末装置、情報収集サーバ、情報通知システム、情報通知方法および情報収集方法 | |
| KR101216424B1 (ko) | 이동통신단말기에 있어서 gps를 이용한 스케줄 관리방법 | |
| KR101421613B1 (ko) | 전자 기기, 서버, 전자 기기의 제어 방법 및 교통 정보 제공 방법 | |
| JP2010147664A (ja) | 携帯通信端末、アラーム通知方法、及びアラーム通知プログラム | |
| JPH10267683A (ja) | ナビゲーション装置 | |
| JP2007019920A (ja) | 移動型放送受信装置、および受信状態算出装置 | |
| JP2006031583A (ja) | 車載システム及び遠隔地点観測システム | |
| JP2003536185A (ja) | 交通情報伝達方法および交通情報システム | |
| KR101397664B1 (ko) | 자동차 주행 상태 정보 제공 시스템 및 그 방법 | |
| JP2010124185A (ja) | 携帯通信端末及び対象物案内表示システム | |
| JP2004362549A (ja) | 車載用映像再生システムおよびカーナビゲーション装置 | |
| KR101575331B1 (ko) | 교통 정보 제공 시스템 및 그 방법 | |
| JP2007166084A (ja) | カメラ及びカメラの表示方法 |
Legal Events
| Date | Code | Title | Description |
|---|---|---|---|
| A977 | Report on retrieval |
Free format text: JAPANESE INTERMEDIATE CODE: A971007 Effective date: 20070419 |
|
| A131 | Notification of reasons for refusal |
Free format text: JAPANESE INTERMEDIATE CODE: A131 Effective date: 20070427 |
|
| A02 | Decision of refusal |
Free format text: JAPANESE INTERMEDIATE CODE: A02 Effective date: 20070824 |