JP2005291960A - 燃料キャスクの保管装置および同保管方法 - Google Patents

燃料キャスクの保管装置および同保管方法 Download PDF

Info

Publication number
JP2005291960A
JP2005291960A JP2004108312A JP2004108312A JP2005291960A JP 2005291960 A JP2005291960 A JP 2005291960A JP 2004108312 A JP2004108312 A JP 2004108312A JP 2004108312 A JP2004108312 A JP 2004108312A JP 2005291960 A JP2005291960 A JP 2005291960A
Authority
JP
Japan
Prior art keywords
cask
fuel
storage
fuel cask
lid
Prior art date
Legal status (The legal status is an assumption and is not a legal conclusion. Google has not performed a legal analysis and makes no representation as to the accuracy of the status listed.)
Pending
Application number
JP2004108312A
Other languages
English (en)
Inventor
Haruo Sugizaki
晴男 杉崎
Yoshio Imazaki
善夫 今崎
Kenzo Koizumi
賢三 小泉
Makoto Sato
真 佐藤
Akinori Abura
晶紀 油
Kenichiro Ide
賢一郎 井手
Shunichi Hatano
俊一 羽田野
Sadataka Douken
禎貴 道券
Current Assignee (The listed assignees may be inaccurate. Google has not performed a legal analysis and makes no representation or warranty as to the accuracy of the list.)
Toshiba Corp
Original Assignee
Toshiba Corp
Priority date (The priority date is an assumption and is not a legal conclusion. Google has not performed a legal analysis and makes no representation as to the accuracy of the date listed.)
Filing date
Publication date
Application filed by Toshiba Corp filed Critical Toshiba Corp
Priority to JP2004108312A priority Critical patent/JP2005291960A/ja
Publication of JP2005291960A publication Critical patent/JP2005291960A/ja
Pending legal-status Critical Current

Links

Images

Classifications

    • YGENERAL TAGGING OF NEW TECHNOLOGICAL DEVELOPMENTS; GENERAL TAGGING OF CROSS-SECTIONAL TECHNOLOGIES SPANNING OVER SEVERAL SECTIONS OF THE IPC; TECHNICAL SUBJECTS COVERED BY FORMER USPC CROSS-REFERENCE ART COLLECTIONS [XRACs] AND DIGESTS
    • Y02TECHNOLOGIES OR APPLICATIONS FOR MITIGATION OR ADAPTATION AGAINST CLIMATE CHANGE
    • Y02EREDUCTION OF GREENHOUSE GAS [GHG] EMISSIONS, RELATED TO ENERGY GENERATION, TRANSMISSION OR DISTRIBUTION
    • Y02E30/00Energy generation of nuclear origin
    • Y02E30/30Nuclear fission reactors

Landscapes

  • Monitoring And Testing Of Nuclear Reactors (AREA)

Abstract

【課題】燃料キャスクの保管に際して、より充分な密封確保が図れるとともに、蓋部におけるシール部からの漏えい監視を素早く検知することが可能な燃料キャスク保管装置および同保管方法を提供する。
【解決手段】周壁部および底壁部が一体に構成され、上端部が開口する縦型円筒状のキャスク本体2と、このキャスク本体の上端開口部内に装着された一次蓋6aおよび二次蓋6bからなる二重蓋とを有し、内部収納物および充填気体の密封を保証する燃料キャスク1と、この燃料キャスクを倒立させた状態で下方から垂直に固定支持する貯蔵架台14とを備え、貯蔵架台は、保管場所の床上に固定配置される基台16と、この基台上に設けられ、下向きとなったキャスク本体2の下端部外周面を嵌合保持する保持枠17とを有し、燃料キャスクの貯蔵架台への保管状態において、基台の上面側と、保持枠の内周面側と、燃料キャスクの二次蓋下面側とに面する気密空間20が形成される。
【選択図】 図1

Description

本発明は、核施設において使用された使用済燃料を収容して専用の場所まで搬送し、長期間の貯蔵に供する使用済燃料輸送貯蔵容器(本発明において、「燃料キャスク」という。)を保管するための燃料キャスク保管装置および同保管方法に関する。
燃料キャスクは、使用済燃料を数十年以上の長期間に亘ってノーメンテナンスで気密に保管するための容器であり、Heガスを充填した乾式キャスクとして構成され、内部収納物および充填気体の密封を保証する構成となっている。
図7は、このような従来の燃料キャスクの構成を示す縦断面図である。図7に示すように、燃料キャスク1は、縦型円筒状のキャスク本体2の外周側に中性子遮蔽体3を設け、キャスク本体2の上端の開口部4を介して所定本数の使用済燃料5を収容する構成となっている。
キャスク本体2の開口部4は、段差をもって小径な第1段開口部4aおよび大径な第2段開口部4bとして形成され、各開口部4a,4bにそれぞれ蓋6(小径な一次蓋6aおよび大径な二次蓋6b)によって二重に密封シールされる。一次蓋6aおよび二次蓋6bは、それぞれキャスク本体2に締結具10によって締結されている。
各々の蓋6a,6bには、蓋用金属シール7a,7bが取付けられており、この蓋用金属シール7a,7bにより、密封確保(二重シール)が行われ、充分な安全管理がなされている。また、一次蓋6aと二次蓋6bとの間には、密閉された蓋間空間8が形成されている。
そして、保管時においては、密封境界の健全性確認およびシール部からの漏えい監視を目的として、燃料キャスク1ごとに、二次蓋6bに貫通孔を穿設して圧力変動検出装置をそれぞれ取付け、蓋間空間8の圧力を監視を行っている。
さらに、キャスク本体2の両端部近傍の外周面部には、例えば周方向に一定の間隔をあけて4個ずつのトラニオン9がそれぞれ設けられ、運搬時および保管時の支持が、これらのトラニオン9を介して行われている。
従来では、このような燃料キャスク1の保管について、横置きで保管する技術(特許文献1参照)、または縦置きで保管する技術(特許文献1参照)等が知られている。縦置きで保管する場合には、蓋側を上にして直立させる方式が考えられている。
特開平9−127288号公報 特開2003−315493号公報
燃料キャスクの保管に際しては、より充分な密封確保が必要であり、安全管理の一環として、蓋部におけるシール部からの漏えい監視を常時行い、素早く検知することが望まれる。また、燃料キャスクの密封境界の健全性を確認するための装置を取付ける手間の簡便化が望まれる。具体的には、密封境界の健全性確認用として、一次蓋と二次蓋とで形成する蓋間空間の圧力を監視するために、この空間まで二次蓋を穿孔し、二次蓋に圧力変動の検出装置を引き回していたものを、改善することが望ましい。そして、漏えい可能ルートの減少による信頼性の向上を図ることが望ましい。
また、万一の漏えい発生を想定し、空間に放射性物質が流れ出ることを確実に防止できるようにすることが望ましい。さらに、サンプリング装置の簡便な接続構造および経済性の向上も望まれる。
さらに加えて、サンプリング装置について、放射性物質のみならず、圧力や温度等の多くの検出を行い、その漏えい検出の確率を、キャスク密封境界部を傷めることなく向上することも望まれる。
本発明はこのような事情に鑑みてなされたもので、燃料キャスクの保管に際して、より充分な密封確保が図れるとともに、蓋部におけるシール部からの漏えい監視を素早く検知することが可能な燃料キャスク保管装置および同保管方法を提供することを目的とする。
また、本発明は、燃料キャスクの密封境界の健全性を確認するための装置を取付ける手間の簡便化が図れるとともに、漏えい可能ルートの減少による信頼性の向上が図れ、万一の漏えい発生時に対しても、空間に放射性物質が流れ出ることを確実に防止でき、安全性を一層向上できる燃料キャスク保管装置および同保管方法を提供することを目的とする。
さらに、本発明は、サンプリング装置の簡便化および経済性向上が図れるとともに、サンプリング装置について、放射性物質のみならず、圧力や温度等の多くの検出を行い、その漏えい検出の確率を、キャスク密封境界部を傷めることなく向上することができる燃料キャスク保管装置および同保管方法を提供することを目的とする。
請求項1に係る発明では、周壁部および底壁部が一体に構成され、上端部が開口する縦型円筒状のキャスク本体と、このキャスク本体の上端開口部内に装着された一次蓋および二次蓋からなる二重蓋とを有し、内部収納物および充填気体の密封を保証する燃料キャスクと、この燃料キャスクを倒立させた状態で下方から垂直に固定支持する貯蔵架台とを備え、前記貯蔵架台は、保管場所の床上に固定配置される基台と、この基台上に設けられ、下向きとなった前記キャスク本体の下端部外周面を嵌合保持する保持枠とを有し、前記燃料キャスクの前記貯蔵架台への保管状態において、前記基台の上面側と、前記保持枠の内周面側と、前記燃料キャスクの二次蓋下面側とに面する気密空間が形成されることを特徴とする燃料キャスク保管装置を提供する。
なお、本発明においては、燃料キャスクの蓋側を下に向けた状態で貯蔵架台に装着し、トラニオンを貯蔵架台のキャスク支持部に搭載して固定し、倒立保持状態とすることが望ましい。
請求項2に係る発明では、前記キャスク本体の開口部側における周壁の外周面もしくは外端面と、前記保持枠の内周面側とに、前記燃料キャスク保管時に互いに接するシール溶接用突起をそれぞれ設け、これらシール溶接用突起同士の溶接部により、前記気密空間の上隅部を気密シールした燃料キャスク保管を提供する。
請求項3に係る発明では、前記気密空間内の圧力を、前記燃料キャスク内の充填ガス圧力よりも低圧とした燃料キャスク保管装置を提供する。
請求項4に係る発明では、前記保持枠を貫通して前記気密空間の内外を連通するサンプリング配管を備え、このサンプリング配管に、前記気密空間内の圧力、温度、気体の種類、および放射性物質の1以上を検出するサンプリング装置を接続した燃料キャスク保管装置を提供する。
請求項5に係る発明では、前記サンプリング装置は、検出データの定期的な取込み機能、または異常検出時に警報を出力する機能を備えた燃料キャスク保管装置を提供する。
請求項6に係る発明では、周壁部および底壁部が一体に構成され、上端部が開口する縦型円筒状のキャスク本体と、このキャスク本体の上端開口部内に装着された一次蓋および二次蓋からなる二重蓋とを有し、内部収納物および充填気体の密封を保証する燃料キャスクを、保管場所の床上に固定配置される基台に倒立状態で固定保持する燃料キャスク保管方法であって、前記燃料キャスクの下向きとなった前記二次蓋の下面側を囲む配置で気密空間を形成し、この気密空間内の圧力、温度、気体の種類、および放射性物質の1以上を検出しつつ、前記燃料キャスクを保管することを特徴とする燃料キャスク保管方法を提供する。
なお、本発明においては、シール溶接部を覆うように密閉カバーを設け、シール部の健全性を確認できるようにすることが望ましい。
また、密封空間の圧力および漏洩放射性物質検知結果を常時監視するシステムを具備し、異常があった場合に警報を発するとともに、データを定期的に保存用計算機に取込み異常の診断および予防に役立てることが望ましい。
さらに、本発明においては、ガスサンプリングシステムを、貯蔵架台と別置きのユニットとすることが望ましい。
本発明によれば、燃料キャスクを倒立させた状態で下方から垂直に固定支持する貯蔵架台を備え、この貯蔵架台によりキャスクの蓋部周囲下方を気密空間によって閉塞するようにすることで、燃料キャスクの保管に際し、より充分な密封確保が図れるとともに、蓋部におけるシール部からの漏えい監視を素早く検知することが可能となる。
また、本発明によれば、蓋部周囲下方の気密空間に予め健全性を確認するための装置を取付けることができるので、従来のように二次蓋を穿孔する必要がなく、燃料キャスクの密封境界の健全性確認装置の取付け手間を簡便化することができる。
また、この健全性確認装置は複数の気密空間に一括接続できる構造となるため、漏えい可能ルートの減少による信頼性の向上が図れるとともに、万一の漏えい発生時に対しても、空間に放射性物質が流れ出ることを確実に防止することができ、安全性の一層の向上が図れる。
さらに、本発明によれば、サンプリング装置の簡便化および経済性向上が図れるとともに、サンプリング装置について、放射性物質のみならず、圧力や温度等の多くの検出を行い、その漏えい検出の確率を、キャスク密封境界部を傷めることなく向上することができる。
以下、本発明に係る燃料キャスク保管装置および同方法の一実施形態について、図1〜図6を参照して説明する。なお、燃料キャスクの構成について、従来のものと同一または対応する部分には、図7と同一の符号を使用して説明する。
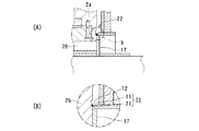
図1は、燃料キャスクを倒立状態で保管する燃料キャスク保管装置の基本構造を示す断面図(図2のA−A線断面図)であり、図2は同平面図である。図3は燃料キャスクを正立状態で示す縦断面図である。
まず、燃料キャスクについて説明する。なお、本実施形態の燃料キャスク1は、全体的な構成においては、図7に示した従来の燃料キャスク1と略同様である。ただし、後述するように、シール溶接用突起11が設けられている点が、従来構成と異なっている。
図3に示すように、燃料キャスク1は、縦型円筒状のキャスク本体2の周壁2aの外周側に中性子遮蔽体3を設け、キャスク本体2の上端の開口部4を介して所定本数の使用済燃料5を収容する構成となっている。使用済燃料5は、図示省略のバスケットにより保持されて、キャスク本体2内に収容される。
キャスク本体2の開口部4は、段差をもって小径な第1段開口部4aおよび大径な第2段開口部4bとして形成され、各開口部4a,4bにそれぞれ蓋6(小径な一次蓋6aおよび大径な二次蓋6b)によって二重に密封シールされる。一次蓋6aおよび二次蓋6bは、それぞれキャスク本体2に締結具10によって締結されている。
各々の蓋6a,6bには、蓋用金属シール7a,7bが取付けられており、この蓋用金属シール7a,7bにより、密封確保(二重シール)が行われるようになっている。すなわち、内部収納物および充填気体の密封を保証する燃料キャスクとして構成され、充分な安全管理がなされるようになっている。また、一次蓋6aと二次蓋6bとの間には、密閉された蓋間空間8が形成されている。さらに、キャスク本体2の両端部近傍の外周面部には、例えば周方向に一定の間隔をあけて4個ずつのトラニオン9がそれぞれ設けられている。
このような構成において、本実施形態の燃料キャスク1においては、キャスク本体2の開口部3側における周壁2aの外周面、例えば二次蓋6aの内面高さの近傍に対応する外周面に、保管時における気密空間形成のため、シール溶接用突起としてのリップ11が形成されている。このシール溶接用リップ11は、キャスク本体2の周壁2aの外面に周方向に沿って形成されたリング状の窪み12の上端縁位置から、下方に向って周壁2aと一体に突設されたものであり、周方向全体に亘って形成されている。
次に、図1および図2によって燃料キャスク1を含めた保管装置13の構成を説明する。図1および図2に示すように、保管装置13は、燃料キャスク1を倒立させた状態で下方から垂直に固定支持する貯蔵架台14を備え、この貯蔵架台14は、保管場所の床15上に固定配置される基台16と、この基台16上に設けられ、下向きとなったキャスク本体2の下端部外周面を嵌合保持する保持枠17とを有する。
基台16は、図2に示すように、例えば矩形平板状のものであり、その各角部が固定部18により床15に固定されている。
保持枠17は、基台16と略同一の輪郭(角部を除去した形状)を有するもので、基台16上に配置されている。この保持枠17の内側面は、キャスク本体2の開口端側の外周面と一致する円形状とされ、この内周面部分にキャスク本体2を嵌合保持することができるようになっている。
保持枠17の上部には、燃料キャスク1の4本のトラニオン9を支持するためのキャスク支持部19がそれぞれ設けられている。これらのキャスク支持部19は、トラニオン9の荷重を下方から支持するトラニオン受け部19aと、トラニオン9を上側から押えるトラニオン押え19bとを有し、確実にトラニオン9を固定し、想定される転倒荷重に耐えて燃料キャスク1全体を保持することができる構造とされている。
そして、このキャスク支持部19により支持された燃料キャスク1の保管状態において、基台16の上面側と、保持枠17の内周面側と、燃料キャスク1の二次蓋6b下面側とに面する気密空間20が形成されるようになっている。
すなわち、気密空間20には貯蔵中、キャスク本体2の内部に充填されている不活性ガス以外の不活性ガスを充填しておき、漏えい検出に備えるようにしている。また、気密空間内20の圧力は、燃料キャスク内の充填ガス圧力よりも低圧とされている。
図4(A)は、気密空間20の気密保持のために設けられるシール溶接部の構造部分の一例を示している。図4(B)は、図4(A)の円形部分「b」をさらに拡大して示している。
これらの図4(A)、(B)に示すように、保持枠17の内周面側には、燃料キャスク保管時にキャスク本体2の周壁2aに設けたシール溶接用リップ11と互いに接する部位に対応して、保持枠側シール溶接用突起(リップ)21が設けられている。そして、これらシール溶接用リップ11,21同士が互いに溶接され、これによりシール溶接部22が形成されている。このシール溶接部22により、気密空間20の上隅部が気密にシールされ、気密空間20の密封が確実になされるようになっている。
なお、図1に示したように、このシール溶接部22を覆うように密閉カバー23を設け、シール部の健全性を確認できるようにすることが望ましい。
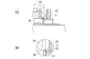
図5(A)は、気密空間20の気密保持のために設けられるシール溶接部の構造部分の他の例を示している。図5(B)は、図5(A)の円形部分「b」をさらに拡大して示している。
これらの図5(A)、(B)に示す例では、キャスク本体2のシール溶接用リップ11が、周壁2aの開口部側の端面に形成されている。そして、保持枠17の内周面側には、このキャスク本体2のシール溶接用リップ11と燃料キャスク保管時に互いに接する部位に対応して、保持枠側シール溶接用突起(リップ)21が設けられている。このような構成によって、シール溶接用リップ11,21同士が互いに溶接され、これによりシール溶接部22が形成される。
以上の構成において、本実施形態では、さらに図6に示すように、気密空間20に接続されるサンプリング装置23が設けられている。すなわち、保持枠17を貫通して気密空間の内外を連通するサンプリング配管24が設けられ、このサンプリング配管24に、気密空間内の圧力、温度、気体の種類、および放射性物質の1以上を検出するサンプリング装置が接続されている。具体的には、気密空間20に、これを漏えい検出空間として貯蔵架台14の任意の位置、例えば保持枠17の円筒状の胴部に漏えい検知を行うための架台側サンプリング配管24(24a)が付設され、着脱可能な接続バルブ25およびサンプリング装置側サンプリング配管24(24b)を介してサンプリング装置23が接続されている。
このサンプリング装置23は、漏えい検知空間である気密空間20内のガスを吸引して、漏えいを検出できるように、真空ポンプなどの吸引装置を備えている。そして、ガス中に放出された放射性物質の検出を行うことができる計測器類、圧力の検出装置、キャスク本体内部に充填されているヘリウムガス等の不活性ガスを検出するリーク検出器、温度計測器等を搭載している。そして、キャスク本体2と二次蓋6bとで形成する密封境界からの放射性物質の漏えいを、多方面から検出することができるようになっている。勿論、必要に応じ、計測器類を増減することが可能である。
サンプリング装置23は、密封を保ちながら、架台側サンプリング配管24aに接続できればよい。なお、固定配管を介して常時接続して置くこと、例示のように着脱可能として置くこと、あるいは、着脱可能な接続バルブを介して常時接続すること等が可能である。
また、多数の燃料キャスク1の貯蔵に当たっては、一つのサンプリング装置23に各々の気密空間20からの配管を順次つなぎ代えて漏えい検出を行うことも可能である。
なお、サンプリング装置23には、各々の気密空間20に近接することができるように、車輪を設け、可般式とすることが望ましい。
さらに、サンプリング装置23は、検出データの定期的な取込み機能、または異常検出時に警報を出力する機能を備えている。
次に、本実施形態の燃料キャスク保管方法について説明する。
まず、燃料キャスク1の蓋側である上端側を下に向けた状態で、貯蔵架台14に装着し、トラニオン9を貯蔵架台14のキャスク支持部に搭載して固定し、倒立保持状態とする。
次に、キャスク本体2と貯蔵架台14とで形成される狭い隙間に形成されたシール溶接用リップ11,21の先端をシール溶接することにより、キャスク本体2と二次蓋6bと貯蔵架台14とで漏えい検出用の気密空間20を形成する。
この気密空間20に架台側サンプリング配管24aと着脱可能な接続バルブ25およびサンプリング装置側サンプリング配管24bを介してサンプリング装置23を接続し、この気密空間20内には、キャスク本体2内部に充填された不活性ガス以外の不活性ガスを充填する。気密空間20内は、真空もしくは空気としておくことも可能であり、いずれにしても密封を保ちながら、蓋用金属シールからの微量の放射性物質を含むガスの漏えいを検知できることを条件とする。
以上のように、本実施形態では、燃料キャスク1を、保管場所の床上に固定配置される基台16に固定保持する燃料キャスク保管方法であって、下向きとなったキャスク本体2の二次蓋6bの下面側に気密空間20を形成し、この気密空間20内の圧力、温度、気体の種類、および放射性物質の1以上を検出しつつ、燃料キャスク1を保管するものである。
なお、密封空間20の圧力および漏洩放射性物質検知結果を常時監視するシステムを具備し、異常があった場合には、警報を発するとともに、データを定期的に保存用計算機に取込み異常の診断および予防に役立てることが望ましい。
また、本発明においては、ガスサンプリングシステムを、貯蔵架台14と別置きのユニットとすることが望ましい。
本実施形態によれば、漏えい検出システムを用いることにより、保管中のキャスクのキャスク本体2と一次蓋6aおよび二次蓋6bにより形成される密封境界部からのキャスク保管期間中の放射性物質を含む充填ガスの漏えいを、確実に検出することができるとともに、放射性物質の漏えいの拡大を防止することができる。
また、このような漏えい検出方法を用いれば、これまで密封境界の健全性を確認するために一次蓋6aと二次蓋6bとで形成する蓋間空間の圧力を監視するために、この空間まで二次蓋6bを穿孔し、二次蓋6bに圧力変動の検出装置を取付けていたものを、特別に設置する必要が無くなり、漏えい可能ルートの減少による信頼性の向上を図ることができる。
また、漏えいの可能性のある蓋部を全て密封空間内に収納するため、実際に漏えいが発生した際に、そのまま空間に放射性物質が流れ出ることが無く、安全性を向上できる。
さらに、サンプリング装置23を順次つなぎ代えて漏えい検出を行うことが可能であり、キャスク各々に圧力検出装置を設ける従来の技術に対して経済性の向上が図れる。
さらに加えて、サンプリング装置23は、放射性物質のみならず、圧力や温度等の多くの検出器を設置することが可能であり、漏えい検出の確率を、キャスク密封境界部を傷めることなく向上させることができる。
本発明の一実施形態による燃料キャスク保管装置を示す縦断面図(図2のA−A線断面図)。 本発明の一実施形態による燃料キャスク保管装置を構成を示す平面図。 本発明の一実施形態による燃料キャスクの構成を示す縦断面図。 本発明の一実施形態によるサンプリングの一例を示す模式図。 (A)は、本発明の一実施形態によるシール溶接部の構造部分の一例を示す拡大断面図、(B)は、(A)の円形部分「b」の拡大図。 (A)は、本発明の一実施形態によるシール溶接部の構造部分の他の例を示す拡大断面図、(B)は、(A)の円形部分「b」の拡大図。 従来の燃料キャスクの構成を示す縦断面図。
符号の説明
1 燃料キャスク
2 キャスク本体
2a 周壁
3 中性子遮蔽体
4 開口部
4a 第1段開口部
4b 第2段開口部
5 使用済燃料
6 蓋
6a 一次蓋
6b 二次蓋
7a,7b 蓋用金属シール
9 トラニオン
10 締結具
11 シール溶接用突起
12 窪み
13 保管装置
14 貯蔵架台
15 保管場所の床
16 基台
17 保持枠
18 固定部
19 キャスク支持部
20 気密空間
21 保持枠側シール溶接用突起(リップ)
22 シール溶接部
23 サンプリング装置
24 サンプリング配管
24b 架台側サンプリング装置側サンプリング配管
24b サンプリング装置側サンプリング配管
25 接続バルブ
26 車輪

Claims (6)

  1. 周壁部および底壁部が一体に構成され、上端部が開口する縦型円筒状のキャスク本体と、このキャスク本体の上端開口部内に装着された一次蓋および二次蓋からなる二重蓋とを有し、内部収納物および充填気体の密封を保証する燃料キャスクと、この燃料キャスクを倒立させた状態で下方から垂直に固定支持する貯蔵架台とを備え、前記貯蔵架台は、保管場所の床上に固定配置される基台と、この基台上に設けられ、下向きとなった前記キャスク本体の下端部外周面を嵌合保持する保持枠とを有し、前記燃料キャスクの前記貯蔵架台への保管状態において、前記基台の上面側と、前記保持枠の内周面側と、前記燃料キャスクの二次蓋下面側とに面する気密空間が形成されることを特徴とする燃料キャスク保管装置。
  2. 前記キャスク本体の開口部側における周壁の外周面もしくは外端面と、前記保持枠の内周面側とに、前記燃料キャスク保管時に互いに接するシール溶接用突起をそれぞれ設け、これらシール溶接用突起同士の溶接部により、前記気密空間の上隅部を気密シールした請求項1記載の燃料キャスク保管装置。
  3. 前記気密空間内の圧力を、前記燃料キャスク内の充填ガス圧力よりも低圧とした請求項1記載の燃料キャスク保管装置。
  4. 前記保持枠を貫通して前記気密空間の内外を連通するサンプリング配管を備え、このサンプリング配管に、前記気密空間内の圧力、温度、気体の種類、および放射性物質の1以上を検出するサンプリング装置を接続した請求項1記載の燃料キャスク保管装置。
  5. 前記サンプリング装置は、検出データの定期的な取込み機能、または異常検出時に警報を出力する機能を備えた請求項4記載の燃料キャスク保管装置。
  6. 周壁部および底壁部が一体に構成され、上端部が開口する縦型円筒状のキャスク本体と、このキャスク本体の上端開口部内に装着された一次蓋および二次蓋からなる二重蓋とを有し、内部収納物および充填気体の密封を保証する燃料キャスクを、保管場所の床上に固定配置される基台に倒立状態で固定保持する燃料キャスク保管方法であって、前記燃料キャスクの下向きとなった前記二次蓋の下面側を囲む配置で気密空間を形成し、この気密空間内の圧力、温度、気体の種類、および放射性物質の1以上を検出しつつ、前記燃料キャスクを保管することを特徴とする燃料キャスク保管方法。
JP2004108312A 2004-03-31 2004-03-31 燃料キャスクの保管装置および同保管方法 Pending JP2005291960A (ja)

Priority Applications (1)

Application Number Priority Date Filing Date Title
JP2004108312A JP2005291960A (ja) 2004-03-31 2004-03-31 燃料キャスクの保管装置および同保管方法

Applications Claiming Priority (1)

Application Number Priority Date Filing Date Title
JP2004108312A JP2005291960A (ja) 2004-03-31 2004-03-31 燃料キャスクの保管装置および同保管方法

Publications (1)

Publication Number Publication Date
JP2005291960A true JP2005291960A (ja) 2005-10-20

Family

ID=35325044

Family Applications (1)

Application Number Title Priority Date Filing Date
JP2004108312A Pending JP2005291960A (ja) 2004-03-31 2004-03-31 燃料キャスクの保管装置および同保管方法

Country Status (1)

Country Link
JP (1) JP2005291960A (ja)

Cited By (7)

* Cited by examiner, † Cited by third party
Publication number Priority date Publication date Assignee Title
JP2008089487A (ja) * 2006-10-04 2008-04-17 Toshiba Corp 放射性物質収納容器およびその補修方法
JP2008298588A (ja) * 2007-05-31 2008-12-11 Toyo Eng Corp 放射性物質輸送・貯蔵容器用固定架台
JP2015031523A (ja) * 2013-07-31 2015-02-16 一般財団法人電力中央研究所 コンクリートキャスクの除熱装置およびコンクリートキャスク
JP2015031524A (ja) * 2013-07-31 2015-02-16 一般財団法人電力中央研究所 ガスサンプリング可能なコンクリートキャスクの除熱装置およびコンクリートキャスク
JP2020126001A (ja) * 2019-02-05 2020-08-20 株式会社千代田テクノル 地上設置型浄化槽
CN112241019A (zh) * 2020-12-17 2021-01-19 上海电气核电集团有限公司 放射性料液取样箱及其制造工艺
ES2923107R1 (es) * 2022-07-08 2022-10-11 Ingecid Investig Y Desarrollo De Proyectos S L Sistema de contencion de gases radioactivos para contenedores de residuos nucleares

Cited By (9)

* Cited by examiner, † Cited by third party
Publication number Priority date Publication date Assignee Title
JP2008089487A (ja) * 2006-10-04 2008-04-17 Toshiba Corp 放射性物質収納容器およびその補修方法
JP2008298588A (ja) * 2007-05-31 2008-12-11 Toyo Eng Corp 放射性物質輸送・貯蔵容器用固定架台
JP2015031523A (ja) * 2013-07-31 2015-02-16 一般財団法人電力中央研究所 コンクリートキャスクの除熱装置およびコンクリートキャスク
JP2015031524A (ja) * 2013-07-31 2015-02-16 一般財団法人電力中央研究所 ガスサンプリング可能なコンクリートキャスクの除熱装置およびコンクリートキャスク
JP2020126001A (ja) * 2019-02-05 2020-08-20 株式会社千代田テクノル 地上設置型浄化槽
JP7260109B2 (ja) 2019-02-05 2023-04-18 株式会社千代田テクノル 地上設置型浄化槽
CN112241019A (zh) * 2020-12-17 2021-01-19 上海电气核电集团有限公司 放射性料液取样箱及其制造工艺
ES2923107R1 (es) * 2022-07-08 2022-10-11 Ingecid Investig Y Desarrollo De Proyectos S L Sistema de contencion de gases radioactivos para contenedores de residuos nucleares
WO2024008989A1 (es) * 2022-07-08 2024-01-11 Ingecid, S.L. Sistema de contención de gases radioactivos para contenedores de residuos nucleares.

Similar Documents

Publication Publication Date Title
KR102593423B1 (ko) 방사성 유해 폐기물을 수용하는 드럼을 위한 격납 캐스크
KR100704214B1 (ko) 운송 중에 초고순도 제품 저장 탱크를 모니터링하는 운송및 저장 시스템과 그 방법
US4278892A (en) Radioactivity-shielding transport or storage receptacle for radioactive wastes
JPS632080B2 (ja)
WO2014036561A2 (en) System and method for storing and leak testing a radioactive materials storage canister
US3444725A (en) Leak detecting and locating system for nuclear reactor containment vessels
JP2003014889A (ja) 放射性物質の輸送用容器、および密閉容器の装填方法
JP2005291960A (ja) 燃料キャスクの保管装置および同保管方法
JPH10339797A (ja) 危険物パッケージの輸送用包装体
US5269172A (en) Processes and apparatus for the prevention, detection and/or repair of leaks or avenues for leaks from above-ground storage tanks
JP2020128902A (ja) 放射性廃棄物の収納装置および監視装置並びに放射性廃棄物の管理方法
JP4404472B2 (ja) 密封容器のリーク検知方法及びリーク検知装置
JP6817164B2 (ja) 放射性物質の貯蔵容器
CN110185917A (zh) 一种稀油密封煤气柜
JP2004226385A (ja) キャニスタ異常検出システム
JP2003139887A (ja) キャニスタ
JP2000258595A (ja) キャニスタの二重蓋監視装置
US4495137A (en) Nuclear reactor
JPH0155440B2 (ja)
JPH11287893A (ja) 輸送・貯蔵兼用キャスクの蓋部構造
CN218840474U (zh) 新型全接液立柱通过装置
RU2221291C1 (ru) Защитный контейнер для транспортировки и/или хранения отработавшего ядерного топлива
US6823034B1 (en) Closure mechanism and method for spent nuclear fuel canisters
KR102858239B1 (ko) 암모니아 국제표준화기구 탱크 통합 관제 방법 및 이를 위한 시스템
JP2001242294A (ja) 使用済燃料の貯蔵方法及び装置