JP2005291478A - 回転速度検出装置付き車輪用軸受装置 - Google Patents

回転速度検出装置付き車輪用軸受装置 Download PDF

Info

Publication number
JP2005291478A
JP2005291478A JP2004111429A JP2004111429A JP2005291478A JP 2005291478 A JP2005291478 A JP 2005291478A JP 2004111429 A JP2004111429 A JP 2004111429A JP 2004111429 A JP2004111429 A JP 2004111429A JP 2005291478 A JP2005291478 A JP 2005291478A
Authority
JP
Japan
Prior art keywords
rotational speed
sensor
wheel
detection device
bearing device
Prior art date
Legal status (The legal status is an assumption and is not a legal conclusion. Google has not performed a legal analysis and makes no representation as to the accuracy of the status listed.)
Pending
Application number
JP2004111429A
Other languages
English (en)
Inventor
Kazuo Komori
和雄 小森
Masahiro Kiuchi
政浩 木内
Current Assignee (The listed assignees may be inaccurate. Google has not performed a legal analysis and makes no representation or warranty as to the accuracy of the list.)
NTN Corp
Original Assignee
NTN Corp
NTN Toyo Bearing Co Ltd
Priority date (The priority date is an assumption and is not a legal conclusion. Google has not performed a legal analysis and makes no representation as to the accuracy of the date listed.)
Filing date
Publication date
Application filed by NTN Corp, NTN Toyo Bearing Co Ltd filed Critical NTN Corp
Priority to JP2004111429A priority Critical patent/JP2005291478A/ja
Publication of JP2005291478A publication Critical patent/JP2005291478A/ja
Pending legal-status Critical Current

Links

Images

Classifications

    • FMECHANICAL ENGINEERING; LIGHTING; HEATING; WEAPONS; BLASTING
    • F16ENGINEERING ELEMENTS AND UNITS; GENERAL MEASURES FOR PRODUCING AND MAINTAINING EFFECTIVE FUNCTIONING OF MACHINES OR INSTALLATIONS; THERMAL INSULATION IN GENERAL
    • F16CSHAFTS; FLEXIBLE SHAFTS; ELEMENTS OR CRANKSHAFT MECHANISMS; ROTARY BODIES OTHER THAN GEARING ELEMENTS; BEARINGS
    • F16C19/00Bearings with rolling contact, for exclusively rotary movement
    • F16C19/02Bearings with rolling contact, for exclusively rotary movement with bearing balls essentially of the same size in one or more circular rows
    • F16C19/14Bearings with rolling contact, for exclusively rotary movement with bearing balls essentially of the same size in one or more circular rows for both radial and axial load
    • F16C19/18Bearings with rolling contact, for exclusively rotary movement with bearing balls essentially of the same size in one or more circular rows for both radial and axial load with two or more rows of balls
    • F16C19/181Bearings with rolling contact, for exclusively rotary movement with bearing balls essentially of the same size in one or more circular rows for both radial and axial load with two or more rows of balls with angular contact
    • F16C19/183Bearings with rolling contact, for exclusively rotary movement with bearing balls essentially of the same size in one or more circular rows for both radial and axial load with two or more rows of balls with angular contact with two rows at opposite angles
    • F16C19/184Bearings with rolling contact, for exclusively rotary movement with bearing balls essentially of the same size in one or more circular rows for both radial and axial load with two or more rows of balls with angular contact with two rows at opposite angles in O-arrangement
    • F16C19/186Bearings with rolling contact, for exclusively rotary movement with bearing balls essentially of the same size in one or more circular rows for both radial and axial load with two or more rows of balls with angular contact with two rows at opposite angles in O-arrangement with three raceways provided integrally on parts other than race rings, e.g. third generation hubs
    • FMECHANICAL ENGINEERING; LIGHTING; HEATING; WEAPONS; BLASTING
    • F16ENGINEERING ELEMENTS AND UNITS; GENERAL MEASURES FOR PRODUCING AND MAINTAINING EFFECTIVE FUNCTIONING OF MACHINES OR INSTALLATIONS; THERMAL INSULATION IN GENERAL
    • F16CSHAFTS; FLEXIBLE SHAFTS; ELEMENTS OR CRANKSHAFT MECHANISMS; ROTARY BODIES OTHER THAN GEARING ELEMENTS; BEARINGS
    • F16C2326/00Articles relating to transporting
    • F16C2326/01Parts of vehicles in general
    • F16C2326/02Wheel hubs or castors
    • FMECHANICAL ENGINEERING; LIGHTING; HEATING; WEAPONS; BLASTING
    • F16ENGINEERING ELEMENTS AND UNITS; GENERAL MEASURES FOR PRODUCING AND MAINTAINING EFFECTIVE FUNCTIONING OF MACHINES OR INSTALLATIONS; THERMAL INSULATION IN GENERAL
    • F16CSHAFTS; FLEXIBLE SHAFTS; ELEMENTS OR CRANKSHAFT MECHANISMS; ROTARY BODIES OTHER THAN GEARING ELEMENTS; BEARINGS
    • F16C33/00Parts of bearings; Special methods for making bearings or parts thereof
    • F16C33/72Sealings
    • F16C33/76Sealings of ball or roller bearings
    • F16C33/80Labyrinth sealings
    • F16C33/805Labyrinth sealings in addition to other sealings, e.g. dirt guards to protect sealings with sealing lips
    • FMECHANICAL ENGINEERING; LIGHTING; HEATING; WEAPONS; BLASTING
    • F16ENGINEERING ELEMENTS AND UNITS; GENERAL MEASURES FOR PRODUCING AND MAINTAINING EFFECTIVE FUNCTIONING OF MACHINES OR INSTALLATIONS; THERMAL INSULATION IN GENERAL
    • F16CSHAFTS; FLEXIBLE SHAFTS; ELEMENTS OR CRANKSHAFT MECHANISMS; ROTARY BODIES OTHER THAN GEARING ELEMENTS; BEARINGS
    • F16C41/00Other accessories, e.g. devices integrated in the bearing not relating to the bearing function as such
    • F16C41/007Encoders, e.g. parts with a plurality of alternating magnetic poles

Landscapes

  • Rolling Contact Bearings (AREA)

Abstract

【課題】
コンパクト化と共に、検出部に異物が侵入するのを防止し、耐久性と信頼性を向上させた回転速度検出装置付き車輪用軸受装置を提供する。
【解決手段】
内周に複列の外側転走面4aが形成された外方部材4と、一端部に車輪取付フランジ10を一体に有し、外周に内側転走面1aと、これから軸方向に延びる小径段部1bが形成されたハブ輪1と、小径段部1bに圧入され、外周に内側転走面6aが形成された内輪6と、両転走面間に収容された複列の転動体5と、内輪6の端部に装着されたエンコーダ13と、外方部材4の端部に装着された鋼板製の円環状のセンサキャップ16と、この底部16bに装着され、エンコーダ13に所定の軸方向隙間を介して対峙する回転速度センサ17とを備え、これに一体モールドされた鋼板製の固定部17aを塑性変形させ、回転速度センサ17がセンサキャップ16に加締固定されている。
【選択図】図1

Description

本発明は、自動車等の車輪を回転自在に支承すると共に、この車輪の回転速度を検出する回転速度検出装置が内蔵された回転速度検出装置付き車輪用軸受装置に関するものである。
自動車の車輪を懸架装置に対して回転自在に支承すると共に、アンチロックブレーキシステム(ABS)を制御すべく車輪の回転速度を検出するために、回転速度検出装置が内蔵された回転速度検出装置付き車輪用軸受装置が一般的に知られている。従来、このような車輪用軸受装置として、転動体を介して転接する内方部材および外方部材の間にシール装置が設けられ、円周方向に磁極を交互に並べてなる磁気エンコーダを前記シール装置に一体化させると共に、磁気エンコーダと、この磁気エンコーダに対面配置され、車輪の回転に伴う磁気エンコーダの磁極変化を検出するセンサーとで回転速度検出装置が構成されている。
前記センサーは、懸架装置を構成するナックルに車輪用軸受装置が装着された後、当該ナックルに装着されているものが一般的である。しかし、このセンサーと磁気エンコーダとのエアギャップ調整作業の煩雑さを解消すると共に、よりコンパクト化を狙って、最近では前記センサーをも軸受に内蔵した回転速度検出装置付き車輪用軸受装置が提案されている。
このような回転速度検出装置付き車輪用軸受装置の一例として図8に示すような構造が知られている。この回転速度検出装置付き車輪用軸受装置は、懸架装置を構成するナックルNに支持固定され、固定部材となる外方部材51と、この外方部材51に複列の転動体(ボール)53、53を介して内挿された内方部材52とを有し、外方部材51は車体取付フランジ51bを外周に一体に有し、内周には複列の外側転走面51a、51aが形成されている。一方、内方部材52は、前記した外方部材51の外側転走面51a、51aに対向する複列の内側転走面55a、56aが形成されている。これら複列の内側転走面55a、56aのうち一方の内側転走面55aはハブ輪55の外周に一体形成され、他方の内側転走面56aは、ハブ輪55の内側転走面55aから軸方向に延びる円筒状の小径段部55bに圧入された内輪56の外周に形成されている。そして、複列の転動体53、53がこれら両転走面間にそれぞれ収容され、保持器57、57によって転動自在に保持されている。
ハブ輪55は、外周に車輪(図示せず)を取り付けるための車輪取付フランジ54を一体に有し、この車輪取付フランジ54の円周等配位置には車輪を固定するためのハブボルト54aが植設されている。また、ハブ輪55の内周には、図示しない等速自在継手を構成する外側継手部材60のステム部61が内嵌されるセレーション55cが形成されている。内方部材52は、このハブ輪55と内輪56を指す。そして、外方部材51の端部にはシール58、59が装着され、軸受内部に封入された潤滑グリースの漏洩と、外部から軸受内部に雨水やダスト等が侵入するのを防止している。
ここで、外方部材51の端部には回転速度検出装置62が取り付けられている。この回転速度検出装置62は、エンコーダ63とセンサ64とを備えており、図9に拡大して示すように、エンコーダ63は、周方向交互に異なる磁性の磁極が設けられた円筒形のプラスチックマグネット65と、その内周側に一体的に重合された非磁性材料からなるベース66とからなる。
一方、センサ64は、ICチップを合成樹脂からなる保護カバーでモールドされたホールICからなる。センサ64の保護カバーは、ICチップが埋設される直方体形状の本体部67と、この本体部67に連接されるL字形状の係止片68とからなり、側面から見てコの字形となるように形成されている。また、係止片68の内面に凸部69が設けられ、本体部67の上面からコード線70が引き出されている。そして、センサ64は、外方部材51の端部に支持環体71を介して装着されている。
支持環体71は、複数段にプレス成形された環状鉄板からなり、外方部材51の端部内周に圧入される第1円筒部72と、この第1円筒部72から径方向外方に立ち上がる第1環状板部73と、第1環状板部73から外端に連接される第2円筒部74と、第2円筒部74から径方向内方に立ち下がる第2環状板部75と、第2環状板部75から軸方向に延びる第3円筒部76とを備えている。なお、第2環状板部74の周方向の一箇所には、径方向に貫通するセンサポケット77が開口され、また、このセンサポケット77に対応して、第2環状板部75には係合孔78が設けられている。そして、支持環体71のセンサポケット77にセンサ64の本体部67を径方向から差し入れて、係止片69を支持環体71の係合孔78に係入させて固定している。
シール59は、断面L字状に形成された第1のシール板79と、この第1のシール板79に対向し、断面L字状に形成された第2のシール板80とからなる。この第2のシール板80は、内輪56に外嵌される円筒部80aと、この円筒部80aから径方向外方に延びる立板部80bとからなる。
一方、第1のシール板79は、前記支持環体71の第3円筒部76に内嵌され、断面L字状に形成された芯金81と、この芯金81に一体に加硫接着され、前記第2のシール板80の立板部80bに摺接するサイドリップ82aと、円筒部80aに摺接する一対のラジアルリップ82b、82cとからなるシール部材82とを有している。
このように、支持環体71において、センサ64よりも外側にシール59が設けられているので、エンコーダ63とセンサ64との対向間隙に外部からの異物が侵入するのを防止することができ、検出精度を長期間に亘って高く維持できると共に、センサ64を支持環体71に対して径方向に差し入れて取り付けるようにしているので、エンコーダ63とセンサ64との相対位置のずれを防止することができ、検出精度を高精度に維持することができる。
特開2000−225931号公報
しかしながら、こうした従来の回転速度検出装置付き車輪用軸受装置は、外方部材51の端部に、複数段にプレス成形された環状鉄板からなる支持環体71を介してセンサ64が装着され、このセンサ64をエンコーダ63に対向配置させているため、エンコーダ63とセンサ64との相対位置のずれを防止することができ、検出精度を高精度に維持することができる特徴を有しているが、以下に列挙する問題点も内在している。すなわち、
1.センサ64が支持環体71の径方向に差し入れられているため、センサ64およびコード線70が外方部材51から径方向外方側に張り出してナックルNと干渉する。この干渉を回避するためには、ナックルNに凹所等の何らかの追加工が必要となり、コストアップの要因となる。
2.センサ63の本体部67は、支持環体71に対して、この本体部67に連接されるL字形状の樹脂製係止片68で固定されているため、飛び石等による樹脂の欠けや脱落、あるいは腐食等が発生し、耐久性の面で信頼性が低い。
3.シール59によって、エンコーダ63とセンサ64との対向間隙に外部からの異物が侵入するのを防止しているが、スペース的に制約されるこの種のシール59のみでは、雨水や泥水、あるいはダスト等が軸受内部に異物が侵入するのを確実に防止することは限界があり難しい。
本発明は、このような事情に鑑みてなされたもので、コンパクト化と共に、検出部に異物が侵入するのを防止し、耐久性と信頼性を向上させた回転速度検出装置付き車輪用軸受装置を提供することを目的としている。
係る目的を達成すべく、本発明のうち請求項1記載の発明は、内周に複列の外側転走面が形成された外方部材と、一端部に車輪を取り付けるための車輪取付フランジを一体に有し、外周に軸方向に延びる円筒状の小径段部が形成されたハブ輪、およびこのハブ輪の小径段部に圧入された少なくとも一つの内輪とからなり、外周に前記複列の外側転走面に対向する内側転走面が形成された内方部材と、前記両転走面間に転動自在に収容された複列の転動体とを備え、前記内方部材の端部に装着されたエンコーダと、このエンコーダに所定のすきまを介して対峙され、前記外方部材の端部にセンサキャップを介して装着された回転速度センサとを有する回転速度検出装置付き車輪用軸受装置において、前記センサキャップが、前記外方部材の端部に固定される円筒状の嵌合部と、この嵌合部から径方向内方に延びる底部とを有し、前記底部の周方向一箇所にセンサ孔が開口され、このセンサ孔に鋼板製の固定部を有する回転速度センサが軸方向に装着され、さらに、前記固定部を塑性変形させて前記センサキャップに一体固定されている構成を採用した。
このように、回転速度検出装置付き車輪用軸受装置において、センサキャップが、外方部材の端部に固定される円筒状の嵌合部と、この嵌合部から径方向内方に延びる底部とを有し、底部の周方向一箇所にセンサ孔が開口され、このセンサ孔に鋼板製の固定部を有する回転速度センサが軸方向に装着され、さらに、固定部を塑性変形させてセンサキャップに一体固定されているので、回転速度センサは鋼板製のセンサキャップに対して強固に固定され、従来のように、飛び石等による係止部の欠けや脱落、あるいは腐食等が発生することはなく、耐久性と信頼性を向上させることができる。また、回転速度センサおよびハーネスが外方部材から径方向外方側に張り出してナックルと干渉することはなく、従来のように、干渉を回避するためのナックル追加工が不要となって低コスト化を図ることができる。
好ましくは、本発明の請求項2に記載の発明のように、前記回転速度センサの位相が、前記センサキャップの底部に対して水平位置になるように配置されていれば、センサキャップ内に侵入した雨水等がこの回転速度センサ近傍に滞留するのを防止すると共に、ハーネスの取り巻きが簡素化でき、組立作業性が一段と向上する。
さらに好ましくは、本発明の請求項3に記載の発明のように、前記センサ孔の近傍に一対の係止孔が開口され、この係止孔に前記固定部が固定されていれば、センサ孔と係止孔の間のフラットな部分に固定部を密着させることができ、センサ孔から磁性粉末等の異物が侵入するのを防止することができ、車輪の回転速度検出の信頼性を向上させることができる。
また、請求項4に記載の発明は、前記センサキャップと回転側部材との間に微小なすきまが形成されてラビリンスシールが構成されているので、自動車の完成品メーカの組立ラインへの搬送時を含む、ハブ輪の内径に外側継手部材を嵌合する以前の状態でも、エンコーダと回転速度センサの検出部との間に外部から磁性粉末等の異物が侵入するのを防止できると共に、インボード側のシールと組み合わされて、雨水や泥水、あるいはダスト等が軸受内部に異物が侵入するのを確実に防止することができる。したがって、車輪の回転速度検出の信頼性向上と共に、軸受の耐久性の向上を図ることができる。
好ましくは、請求項5に記載の発明のように、前記センサキャップが、その底部から軸方向に突設された舌片を有し、この舌片と等速自在継手を構成する外側継手部材との間に微小な径方向すきまが形成されてラビリンスシールが構成されているので、軸受内部に異物が侵入するのを一層防止することができる。さらに、このラビリンスシールにより、従来、外側継手部材の外周にシールドが固定され、車体側との間でラビリンスシールが構成されているが、このシールドを廃止することができると共に、シールド装着のため外側継手部材の外周を加工することが不要となる。したがって、部品点数と組立・加工工数の削減ができ、トータルコストの低減に大きく貢献することができる。
本発明に係る回転速度検出装置付き車輪用軸受装置は、内周に複列の外側転走面が形成された外方部材と、一端部に車輪を取り付けるための車輪取付フランジを一体に有し、外周に軸方向に延びる円筒状の小径段部が形成されたハブ輪、およびこのハブ輪の小径段部に圧入され少なくとも一つの内輪とからなり、外周に前記複列の外側転走面に対向する内側転走面が形成された内方部材と、前記両転走面間に転動自在に収容された複列の転動体とを備え、前記内方部材の端部に装着されたエンコーダと、このエンコーダに所定のすきまを介して対峙され、前記外方部材の端部にセンサキャップを介して装着された回転速度センサとを有しており、前記センサキャップが、前記外方部材の端部に固定される円筒状の嵌合部と、この嵌合部から径方向内方に延びる底部とを有し、前記底部の周方向一箇所にセンサ孔が開口され、このセンサ孔に鋼板製の固定部を有する回転速度センサが軸方向に装着され、さらに、前記固定部を塑性変形させて前記センサキャップに一体固定されているので、回転速度センサは鋼板製のセンサキャップに対して強固に固定され、従来のように、飛び石等による係止部の欠けや脱落、あるいは腐食等が発生することはなく、耐久性と信頼性を向上させることができる。また、回転速度センサおよびハーネスが外方部材から径方向外方側に張り出してナックルと干渉することはなく、従来のように、干渉を回避するためのナックル追加工が不要となって低コスト化を図ることができる。
内周に複列の外側転走面が形成された外方部材と、一端部に車輪を取り付けるための車輪取付フランジを一体に有し、外周に前記複列の外側転走面に対向する一方の内側転走面と、この内側転走面から軸方向に延びる円筒状の小径段部が形成されたハブ輪、およびこのハブ輪の小径段部に圧入され、外周に前記複列の外側転走面に対向する他方の内側転走面が形成された内輪とからなる内方部材と、前記両転走面間に転動自在に収容された複列の転動体とを備え、前記内輪の端部に装着されたエンコーダと、このエンコーダに所定のすきまを介して対峙され、前記外方部材の端部にセンサキャップを介して装着された回転速度センサとを有する回転速度検出装置付き車輪用軸受装置において、前記センサキャップが、前記外方部材の端部に固定される円筒状の嵌合部と、この嵌合部から径方向内方に延びる底部とを有し、前記底部の周方向一箇所にセンサ孔が開口され、このセンサ孔に鋼板製の固定部を有する回転速度センサが軸方向に装着され、さらに、前記固定部を塑性変形させて前記センサキャップに一体固定されている。
以下、本発明の実施の形態を図面に基づいて詳細に説明する。
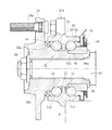
図1は、本発明に係る回転速度検出装置付き車輪用軸受装置の実施形態を示す縦断面図、図2は、図1の側面図である。なお、以下の説明では、車両に組み付けた状態で車両の外側寄りとなる側をアウトボード側(図面左側)、中央寄り側をインボード側(図面右側)という。
この回転速度検出装置付き車輪用軸受装置は駆動輪用であって、この車輪用軸受装置2は、内方部材3と外方部材4と複列の転動体(ボール)5、5とを有し、内方部材3は、外周に複列の内側転走面1a、6aが形成されている。これら複列の内側転走面1a、6aのうち一方の内側転走面1aはハブ輪1の外周に、他方の内側転走面6aは内輪6の外周にそれぞれ一体に形成されている。この場合、内方部材3はハブ輪1と、このハブ輪1の内側転走面1aから軸方向に延びる円筒状の小径段部1bに圧入された内輪6とを指す。
一方、外方部材4は、S53C等の炭素0.40〜0.80wt%を含む中炭素鋼からなり、外周に車体(図示せず)に取り付けるための車体取付フランジ4bを一体に有している。内周には前記複列の内側転走面1a、6aに対向する複列の外側転走面4a、4aが形成され、高周波焼入れによって表面硬さを58〜64HRCの範囲に硬化層が形成されている。そして、複列の転動体5、5がこれら両転走面1a、4aおよび6a、4a間にそれぞれ収容され、保持器7、7によって転動自在に保持されている。また、外方部材4の端部にはシール8、9が装着され、軸受内部に封入された潤滑グリースの漏洩と、外部から軸受内部に雨水やダスト等が侵入するのを防止している。ここで転動体5、5をボールとした複列アンギュラ玉軸受を例示したが、これに限らず転動体に円すいころを使用した複列円すいころ軸受であっても良い。
ハブ輪1は、S53C等の炭素0.40〜0.80wt%を含む中炭素鋼からなり、アウトボード側の端部に車輪(図示せず)を取り付けるための車輪取付フランジ10を一体に有し、この車輪取付フランジ10の周方向等配位置にハブボルト10aが植設されている。また、アウトボード側のシール8が摺接するシールランド部から内側転走面1aおよび小径段部1bに亙って高周波焼入れによって表面硬さを58〜64HRCの範囲に硬化層が形成されている。これにより、車輪取付フランジ10の基部となるシールランド部は耐摩耗性が向上するばかりでなく、車輪取付フランジ10に負荷される回転曲げ荷重に対して充分な機械的強度を有し、ハブ輪1の耐久性が一層向上する。
インボード側のシール9は、図3に拡大して示すように、内輪6と外方部材4にそれぞれ装着された第1および第2の環状のシール板11、12を有している。これらシール板11、12は、それぞれ円筒部11a、12aと立板部11b、12bとでなる断面L字状に形成されて互いに対向している。第1のシール板11の立板部11bには、軸受の軸方向外方側に磁性体粉が混入されたエンコーダ13が一体に加硫接着されている。このエンコーダ13は、周方向に交互に磁極N、Sが形成されたゴム磁石からなり、車輪回転速度の検出用のロータリエンコーダを構成している。
第2のシール板12は、第1のシール板11の立板部11bに摺接するサイドリップ14aと円筒部11aに摺接するラジアルリップ14b、14cとを一体に有するシール部材14が加硫接着されている。そして、第2のシール板12の円筒部12aと、第1のシール板11の立板部11bの先端とは僅かな径方向すきまを介して対峙され、このすきまでラビリンスシール15を構成している。
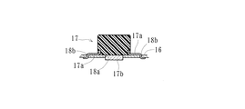
本実施形態では、外方部材4のインボード側の端部にセンサキャップ16を介して回転速度センサ17が装着されている。センサキャップ16は、図4および図5に示すように、耐食性を有する非磁性ステンレス等の鋼板をプレス成形により断面コの字状で全体が円環状に形成され、外方部材4の端部外周に圧入される円筒状の嵌合部16a(図1参照)と、この嵌合部16aから径方向内方に延びる底部16bと、底部16bから軸方向に突設された舌片16cとからなる。なお、センサキャップ16の底部16bの上下方向には、一対のベント孔19、19が形成され、センサキャップ16内に侵入した雨水等を排出する。このベント孔19は、一箇所であっても、また、積極的に形成しなくとも良い。
底部16bの周方向一箇所に回転速度センサ17が装着されるセンサ孔18aと、このセンサ孔18aの近傍に係止孔18bが開口されている。そして、センサ孔18aの内部に回転速度センサ17が軸方向に装着されて固定される。これにより、回転速度センサ17および後述するハーネス20が外方部材4から径方向外方側に張り出してナックル(図示せず)と干渉することはない。したがって、従来のように、干渉を回避するためのナックル追加工が不要となって低コスト化を図ることができる。また、回転速度センサ17が装着される位相は、図2に示すように、センサキャップ16の底部16bに対して、水平位置になるように配置されている。したがって、例えセンサキャップ16内に雨水等が侵入したとしても、この回転速度センサ17近傍に滞留するのを防止すると共に、ハーネス20の取り巻きが簡素化でき、組立作業性が一段と向上する。
回転速度センサ17は、後述する固定部17aと共に合成樹脂で直方体形状に一体モールド成形され、ホール素子、磁気抵抗素子(MR素子)等、磁束の流れ方向に応じて特性を変化させる磁気検出素子と、この磁気検出素子の出力波形を整える波形成形回路が組み込まれたICとからなる。ここでは、所謂アクティブ型センサについて説明したが、これに限らず、エンコーダが凹凸形状の磁性リングからなる、所謂パッシブ型センサであっても良い。
図6および図7に示すように、回転速度センサ17の固定部17aは、耐食性を有する非磁性ステンレス等の鋼板からなり、センサキャップ16に開口された係止孔18bに嵌挿されると共に、その先端部を塑性変形させてセンサキャップ16に加締固定されている。また、回転速度センサ17の検出部17bは、センサキャップ16のセンサ孔18a内に突出し、前記エンコーダ(図示せず)に所定の軸方向すきまを介して対峙している。これにより、回転速度センサ17は、鋼板製のセンサキャップ16に対して強固に固定され、従来のように、飛び石等による係止部の欠けや脱落、あるいは腐食等が発生することはなく、耐久性と信頼性を向上させることができる。また、センサ孔18aと係止孔18bの間のフラットな部分に固定部17aを密着させることができ、センサ孔18aから磁性粉末等の異物が侵入するのを防止することができ、車輪の回転速度検出の信頼性を向上させることができる。なお、ここでは、固定部17aの先端部をセンサキャップ16に加締固定したものを例示したが、これに限らず、例えば、リベットあるいは溶接等の他の固定手段であっても良い。
車輪(図示せず)の回転に伴って内輪6と共にエンコーダ13が回転すると、このエンコーダ13に対向する回転速度センサ17の出力が変化する。この回転速度センサ17の出力が変化する周波数は車輪の回転速度に比例するため、回転速度センサ17の出力信号を回転速度センサ17の端部から導出したハーネス20を介して図示しない制御器に入力すれば、ABSを適切に制御することができる。
ここで、図1において、内輪6の端面6bは、等速自在継手を構成する外側継手部材21の肩部21aの端面と突合せ状態で組み立てられているが、この肩部21aと前記センサキャップ16の舌片16cとの間には微小な径方向すきまが形成され、ラビリンスシール22が構成されている。さらに、舌片16cと、外側継手部材21と同様、回転側部材となる内輪6の端面6bとを微小な軸方向すきまを介して全周に亙り近接対向させ、ラビリンスシール23として構成しても良い。この場合、自動車の完成品メーカの組立ラインへの搬送時を含む、ハブ輪1の内径に外側継手部材21を嵌合する以前の状態でも、エンコーダ13と回転速度センサ17の検出部17bとの間に、外部から磁性粉末等の異物が侵入するのを防止できると共に、前記シール9と組み合わされて、雨水や泥水、あるいはダスト等が軸受内部に異物が侵入するのを確実に防止することができる効果を有することになる。したがって、車輪の回転速度検出の信頼性向上と共に、軸受の耐久性の向上を図ることができる。さらに、このラビリンスシール22、23により、従来、外側継手部材21に装着されていたシール装置を廃止することができる。したがって、部品点数と組立工数の削減ができ、トータルコストの低減に大きく貢献することができる。
前述した実施形態は、駆動輪を回転自在に支承する回転速度検出装置付き車輪用軸受装置に関するものであるが、本発明はこうした駆動輪側に限らず、従動輪側の回転速度検出装置付き車輪用軸受装置であっても良い。この場合、図示はしないが、センサキャップが、外方部材の端部外周に圧入される円筒状の嵌合部と、この嵌合部から径方向内方に延びる底部とからなるカップ状に形成される。これにより、外方部材の開口部を完全に閉塞することができ、雨水や泥水、あるいはダスト等が軸受内部に異物が侵入するのを確実に防止することができる。また、ここでは、ハブ輪1に内輪6が一つ圧入された、所謂第3世代構造について説明したが、これに限らず、一対の内輪が圧入された、所謂第2世代構造であっても良い。
以上、本発明の実施の形態について説明を行ったが、本発明はこうした実施の形態に何等限定されるものではなく、あくまで例示であって、本発明の要旨を逸脱しない範囲内において、さらに種々なる形態で実施し得ることは勿論のことであり、本発明の範囲は、特許請求の範囲の記載によって示され、さらに特許請求の範囲に記載の均等の意味、および範囲内のすべての変更を含む。
本発明に係る車輪用軸受装置は、駆動輪用、従動輪用に係らず、回転速度検出装置が内蔵されたあらゆる構造の回転速度検出装置付き車輪用軸受装置に適用することができる。
本発明に係る回転速度検出装置付き車輪用軸受装置の実施形態を示す縦断面図である。 同上、側面図である。 同上、シール部を示す要部拡大図である。 (a)は、本発明に係るセンサキャップ単体を示す断面図である。 (b)は、同上正面図である。 (a)は、本発明に係る回転速度センサが装着されたセンサキャップを示す断面図である。 (b)は、同上正面図である。 (a)は、本発明に係る回転速度センサを示す正面図である。 (b)は、同上断面図である。 本発明に係る回転速度センサが装着された状態を示す要部断面図である。 従来の回転速度検出装置付き車輪用軸受装置を示す縦断面図である。 図8の要部拡大図である。
符号の説明
1・・・・・・・・・・・・・・・・ハブ輪
1a、6a・・・・・・・・・・・・内側転走面
1b・・・・・・・・・・・・・・・小径段部
2・・・・・・・・・・・・・・・・車輪用軸受装置
3・・・・・・・・・・・・・・・・内方部材
4・・・・・・・・・・・・・・・・外方部材
4a・・・・・・・・・・・・・・・外側転走面
4b・・・・・・・・・・・・・・・車体取付フランジ
5・・・・・・・・・・・・・・・・転動体
6・・・・・・・・・・・・・・・・内輪
6b・・・・・・・・・・・・・・・端面
7・・・・・・・・・・・・・・・・保持器
8・・・・・・・・・・・・・・・・アウトボード側のシール
9・・・・・・・・・・・・・・・・インボード側のシール
10・・・・・・・・・・・・・・・車輪取付フランジ
10a・・・・・・・・・・・・・・ハブボルト
11・・・・・・・・・・・・・・・第1のシール板
11a、12a・・・・・・・・・・円筒部
11b、12b・・・・・・・・・・立板部
12・・・・・・・・・・・・・・・第2のシール板
13・・・・・・・・・・・・・・・エンコーダ
14・・・・・・・・・・・・・・・シール部材
14a・・・・・・・・・・・・・・サイドリップ
14b、14c・・・・・・・・・・ラジアルリップ
15、22、23・・・・・・・・・ラビリンスシール
16・・・・・・・・・・・・・・・センサキャップ
16a・・・・・・・・・・・・・・嵌合部
16b・・・・・・・・・・・・・・底部
16c・・・・・・・・・・・・・・舌片
17・・・・・・・・・・・・・・・回転速度センサ
17a・・・・・・・・・・・・・・固定部
17b・・・・・・・・・・・・・・検出部
18a・・・・・・・・・・・・・・センサ孔
18b・・・・・・・・・・・・・・係止孔
19・・・・・・・・・・・・・・・ベント孔
20・・・・・・・・・・・・・・・ハーネス
21・・・・・・・・・・・・・・・外側継手部材
21a・・・・・・・・・・・・・・肩部
51・・・・・・・・・・・・・・・外方部材
51a・・・・・・・・・・・・・・外側転走面
51b・・・・・・・・・・・・・・車体取付フランジ
52・・・・・・・・・・・・・・・内方部材
53・・・・・・・・・・・・・・・転動体
54・・・・・・・・・・・・・・・車輪取付フランジ
54a・・・・・・・・・・・・・・ハブボルト
55・・・・・・・・・・・・・・・ハブ輪
55a、56a・・・・・・・・・・内側転走面
55b・・・・・・・・・・・・・・小径段部
55c・・・・・・・・・・・・・・セレーション
57・・・・・・・・・・・・・・・保持器
58、59・・・・・・・・・・・・シール
60・・・・・・・・・・・・・・・外側継手部材
61・・・・・・・・・・・・・・・ステム部
62・・・・・・・・・・・・・・・回転速度検出装置
63・・・・・・・・・・・・・・・エンコーダ
64・・・・・・・・・・・・・・・センサ
65・・・・・・・・・・・・・・・プラスチックマグネット
66・・・・・・・・・・・・・・・ベース
67・・・・・・・・・・・・・・・本体部
68・・・・・・・・・・・・・・・係止片
69・・・・・・・・・・・・・・・凸部
70・・・・・・・・・・・・・・・コード線
71・・・・・・・・・・・・・・・支持環体
72・・・・・・・・・・・・・・・第1円筒部
73・・・・・・・・・・・・・・・第1環状板部
74・・・・・・・・・・・・・・・第2円筒部
75・・・・・・・・・・・・・・・第2環状板部
76・・・・・・・・・・・・・・・第3円筒部
77・・・・・・・・・・・・・・・センサポケット
78・・・・・・・・・・・・・・・係合孔
79・・・・・・・・・・・・・・・第1のシール板
80・・・・・・・・・・・・・・・第2のシール板
80a・・・・・・・・・・・・・・円筒部
80b・・・・・・・・・・・・・・立板部
81・・・・・・・・・・・・・・・芯金
82・・・・・・・・・・・・・・・シール部材
82a・・・・・・・・・・・・・・サイドリップ
82b、82c・・・・・・・・・・ラジアルリップ

Claims (5)

  1. ハブ輪と複列の転がり軸受とをユニット化し、車輪の回転速度を検出する回転速度検出装置が内蔵された回転速度検出装置付き車輪用軸受装置であって、
    前記複列の転がり軸受が、内周に複列の外側転走面が形成された外方部材と、一端部に車輪を取り付けるための車輪取付フランジを一体に有し、外周に軸方向に延びる円筒状の小径段部が形成されたハブ輪、およびこのハブ輪の小径段部に圧入された内輪とからなり、外周に前記複列の外側転走面に対向する内側転走面が形成された内方部材と、前記両転走面間に転動自在に収容された複列の転動体とを備え、
    前記内方部材の端部に装着されたエンコーダと、このエンコーダに所定のすきまを介して対峙され、前記外方部材の端部にセンサキャップを介して装着された回転速度センサとを有する回転速度検出装置付き車輪用軸受装置において、
    前記センサキャップが、前記外方部材の端部外周に圧入される円筒状の嵌合部と、この嵌合部から径方向内方に延びる底部とを有し、鋼板をプレス成形により円環状に形成されると共に、前記底部の周方向一箇所にセンサ孔が開口され、このセンサ孔に鋼板製の固定部を有する回転速度センサが軸方向に装着され、さらに、前記固定部を塑性変形させて前記センサキャップに一体固定されていることを特徴とする回転速度検出装置付き車輪用軸受装置。
  2. 前記回転速度センサの位相が、前記センサキャップの底部に対して水平位置になるように配置されている請求項1に記載の回転速度検出装置付き車輪用軸受装置。
  3. 前記センサ孔の近傍に一対の係止孔が開口され、この係止孔に前記固定部が固定されている請求項1または2に記載の回転速度検出装置付き車輪用軸受装置。
  4. 前記センサキャップと回転側部材との間に微小なすきまが形成されてラビリンスシールが構成されている請求項1乃至3いずれかに記載の回転速度検出装置付き車輪用軸受装置。
  5. 前記センサキャップが、その底部から軸方向に突設された舌片を有し、この舌片と等速自在継手を構成する外側継手部材との間に微小な径方向すきまが形成されてラビリンスシールが構成されている請求項1乃至4いずれかに記載の回転速度検出装置付き車輪用軸受装置。
JP2004111429A 2004-04-05 2004-04-05 回転速度検出装置付き車輪用軸受装置 Pending JP2005291478A (ja)

Priority Applications (1)

Application Number Priority Date Filing Date Title
JP2004111429A JP2005291478A (ja) 2004-04-05 2004-04-05 回転速度検出装置付き車輪用軸受装置

Applications Claiming Priority (1)

Application Number Priority Date Filing Date Title
JP2004111429A JP2005291478A (ja) 2004-04-05 2004-04-05 回転速度検出装置付き車輪用軸受装置

Publications (1)

Publication Number Publication Date
JP2005291478A true JP2005291478A (ja) 2005-10-20

Family

ID=35324620

Family Applications (1)

Application Number Title Priority Date Filing Date
JP2004111429A Pending JP2005291478A (ja) 2004-04-05 2004-04-05 回転速度検出装置付き車輪用軸受装置

Country Status (1)

Country Link
JP (1) JP2005291478A (ja)

Cited By (4)

* Cited by examiner, † Cited by third party
Publication number Priority date Publication date Assignee Title
WO2008090741A1 (ja) * 2007-01-23 2008-07-31 Ntn Corporation 回転速度検出装置付き車輪用軸受装置
JP2009138781A (ja) * 2007-12-04 2009-06-25 Ntn Corp 回転速度検出装置付き車輪用軸受装置
JP2012132770A (ja) * 2010-12-21 2012-07-12 Jtekt Corp 回転速度検出器及びこれを備えた車輪用軸受装置
US10459000B2 (en) * 2016-11-28 2019-10-29 Aktiebolaget Skf Encoder wheel for wheel-hub unit

Cited By (4)

* Cited by examiner, † Cited by third party
Publication number Priority date Publication date Assignee Title
WO2008090741A1 (ja) * 2007-01-23 2008-07-31 Ntn Corporation 回転速度検出装置付き車輪用軸受装置
JP2009138781A (ja) * 2007-12-04 2009-06-25 Ntn Corp 回転速度検出装置付き車輪用軸受装置
JP2012132770A (ja) * 2010-12-21 2012-07-12 Jtekt Corp 回転速度検出器及びこれを備えた車輪用軸受装置
US10459000B2 (en) * 2016-11-28 2019-10-29 Aktiebolaget Skf Encoder wheel for wheel-hub unit

Similar Documents

Publication Publication Date Title
JP2005321375A (ja) 回転速度検出装置付き車輪用軸受装置
JP5193562B2 (ja) 回転速度検出装置付き車輪用軸受装置
JP4784967B2 (ja) 回転速度検出装置付き車輪用軸受装置
JP4628049B2 (ja) 回転速度検出装置付き車輪用軸受装置
JP2006112919A (ja) 回転速度検出装置付き車輪用軸受装置
JP4375790B2 (ja) 回転速度検出装置付き車輪用軸受装置
JP2010019269A (ja) 回転速度検出装置付き車輪用軸受装置およびその組立方法
JP2006284402A (ja) 回転速度検出装置付き車輪用軸受装置
JP2005291478A (ja) 回転速度検出装置付き車輪用軸受装置
JP2008180544A (ja) 回転速度検出装置付き車輪用軸受装置
JP4953362B2 (ja) 回転速度検出装置付き車輪用軸受装置
JP2005299739A (ja) 回転速度検出装置付き車輪用軸受装置
JP2006258427A (ja) 回転速度検出装置付き車輪用軸受装置
JP4628395B2 (ja) 回転速度検出装置付き車輪用軸受装置
JP4573194B2 (ja) 回転速度検出装置付き車輪用軸受装置
JP4609928B2 (ja) 回転速度検出装置付き車輪用軸受装置
JP2005299764A (ja) 回転速度検出装置付き車輪用軸受装置
JP2008261462A (ja) 回転速度検出装置付き車輪用軸受装置
JP2009138781A (ja) 回転速度検出装置付き車輪用軸受装置
JP4803572B2 (ja) 磁気エンコーダおよびこれを具備した車輪用軸受装置
JP2008261463A (ja) 回転速度検出装置付き車輪用軸受装置
JP2009162677A (ja) 回転速度検出装置付き車輪用軸受装置
JP2006308396A (ja) 回転速度検出装置付き車輪用軸受装置
JP2009063529A (ja) 回転速度検出装置付き車輪用軸受装置
JP2006349061A (ja) 回転速度検出装置付き車輪用軸受装置

Legal Events

Date Code Title Description
A621 Written request for application examination

Free format text: JAPANESE INTERMEDIATE CODE: A621

Effective date: 20070405

A977 Report on retrieval

Free format text: JAPANESE INTERMEDIATE CODE: A971007

Effective date: 20090729

A131 Notification of reasons for refusal

Free format text: JAPANESE INTERMEDIATE CODE: A131

Effective date: 20090803

A521 Written amendment

Effective date: 20091001

Free format text: JAPANESE INTERMEDIATE CODE: A523

A02 Decision of refusal

Effective date: 20091214

Free format text: JAPANESE INTERMEDIATE CODE: A02