JP2005291255A - 既設配管へのコルゲート管の挿入工法およびこの工法に用いる挿入補助治具 - Google Patents
既設配管へのコルゲート管の挿入工法およびこの工法に用いる挿入補助治具 Download PDFInfo
- Publication number
- JP2005291255A JP2005291255A JP2004104022A JP2004104022A JP2005291255A JP 2005291255 A JP2005291255 A JP 2005291255A JP 2004104022 A JP2004104022 A JP 2004104022A JP 2004104022 A JP2004104022 A JP 2004104022A JP 2005291255 A JP2005291255 A JP 2005291255A
- Authority
- JP
- Japan
- Prior art keywords
- pipe
- coil spring
- corrugated
- corrugated pipe
- existing
- Prior art date
- Legal status (The legal status is an assumption and is not a legal conclusion. Google has not performed a legal analysis and makes no representation as to the accuracy of the status listed.)
- Pending
Links
- 238000003780 insertion Methods 0.000 title claims abstract description 32
- 230000037431 insertion Effects 0.000 title claims abstract description 32
- 238000000034 method Methods 0.000 title abstract description 14
- 239000000463 material Substances 0.000 claims abstract description 22
- 238000012966 insertion method Methods 0.000 claims description 9
- 229920005989 resin Polymers 0.000 claims description 4
- 239000011347 resin Substances 0.000 claims description 4
- 230000001427 coherent effect Effects 0.000 claims 2
- 239000010410 layer Substances 0.000 description 7
- 238000010276 construction Methods 0.000 description 6
- 230000002411 adverse Effects 0.000 description 2
- 230000000052 comparative effect Effects 0.000 description 2
- 239000012530 fluid Substances 0.000 description 2
- 238000005452 bending Methods 0.000 description 1
- 230000007423 decrease Effects 0.000 description 1
- 230000000694 effects Effects 0.000 description 1
- 238000009940 knitting Methods 0.000 description 1
- 230000002093 peripheral effect Effects 0.000 description 1
- 230000000704 physical effect Effects 0.000 description 1
- 230000002265 prevention Effects 0.000 description 1
- 239000002356 single layer Substances 0.000 description 1
- 229920003002 synthetic resin Polymers 0.000 description 1
- 239000000057 synthetic resin Substances 0.000 description 1
- 238000012968 tube insertion method Methods 0.000 description 1
- XLYOFNOQVPJJNP-UHFFFAOYSA-N water Substances O XLYOFNOQVPJJNP-UHFFFAOYSA-N 0.000 description 1
Images
Landscapes
- Protection Of Pipes Against Damage, Friction, And Corrosion (AREA)
Abstract
【課題】押し込み動作と牽引動作とを繰り返す工法においてコルゲート管を傷めることがなく、コルゲート管をスムースに既設配管に挿入することが出来る既設配管へのコルゲート管の挿入工法およびこの工法に用いる挿入補助治具を提供することを目的としている。
【解決手段】牽引動作と、押し込み動作とを行い、既設配管内にコルゲート管を挿入する既設配管へのコルゲート管の挿入工法において、コルゲート管より小径かつ可撓性に富んだ密着コイルスプリングをコルゲート管に挿入した状態で、コルゲート管とともに密着コイルスプリングを前記線状材で牽引し、かつ、コルゲート管とともに密着コイルスプリングを既設配管に送り込んで、コルゲート管を既設配管内に挿入したのち、密着コイルスプリングを既設配管のいずれか一方から引き抜くことを特徴としている。
【選択図】 図1
【解決手段】牽引動作と、押し込み動作とを行い、既設配管内にコルゲート管を挿入する既設配管へのコルゲート管の挿入工法において、コルゲート管より小径かつ可撓性に富んだ密着コイルスプリングをコルゲート管に挿入した状態で、コルゲート管とともに密着コイルスプリングを前記線状材で牽引し、かつ、コルゲート管とともに密着コイルスプリングを既設配管に送り込んで、コルゲート管を既設配管内に挿入したのち、密着コイルスプリングを既設配管のいずれか一方から引き抜くことを特徴としている。
【選択図】 図1
Description
本発明は、老朽化した既設管の内部に新たな管路としてコルゲート管を挿入して更新する工法およびこの工法に用いる挿入補助治具に関する。
ガスや水道の既設配管が老朽化した場合、地面等を掘削して配管を新しく交換する代わりに、既設配管内に可撓性のあるコルゲート管を挿入し、このコルゲート管を新しい配管として使用する方法が行われている。
この既設配管へのコルゲート管の挿入工法としては、既設配管の一端から他端に向けてコルゲート管を押し込んでいく工法(たとえば、特許文献1参照)、あるいは、既設配管の一方の開口端から他方の開口端まで挿通された牽引用の線状材に、樹脂製のコルゲート管の先端を既設配管の一方の開口端側で固定したのち、既設配管の他方の開口端側から前記線状材を牽引する牽引動作と、既設配管の一方の開口端側からコルゲート管を既設配管内に押し込む押し込み動作とを行い、既設配管内にコルゲート管を挿入する工法(たとえば、特許文献2参照)が既に提案されている。
この既設配管へのコルゲート管の挿入工法としては、既設配管の一端から他端に向けてコルゲート管を押し込んでいく工法(たとえば、特許文献1参照)、あるいは、既設配管の一方の開口端から他方の開口端まで挿通された牽引用の線状材に、樹脂製のコルゲート管の先端を既設配管の一方の開口端側で固定したのち、既設配管の他方の開口端側から前記線状材を牽引する牽引動作と、既設配管の一方の開口端側からコルゲート管を既設配管内に押し込む押し込み動作とを行い、既設配管内にコルゲート管を挿入する工法(たとえば、特許文献2参照)が既に提案されている。
ところで、上記特許文献1の工法では、既設配管の一端からコルゲート管をスプリング・ガイドと同時に挿入し、コルゲート管の先端から突出したスプリング・ガイドを曲がり部を挿通する際のガイドとしながら、曲がりのある配管へコルゲート管を押し込んでいくようにしている。
本発明者らの検討によれば、コルゲート管の挿入工法においては、曲がりが存在する配管にコルゲート管を挿入する場合には、コルゲート管を押し込んでいく方法が最も有効であるものの、曲がりが多くある配管形態(特に日本の既設配管には多い)においては、この工法を用いる場合、負荷が大きすぎて現実的な使用は困難であることがわかった。
本発明者らの検討によれば、コルゲート管の挿入工法においては、曲がりが存在する配管にコルゲート管を挿入する場合には、コルゲート管を押し込んでいく方法が最も有効であるものの、曲がりが多くある配管形態(特に日本の既設配管には多い)においては、この工法を用いる場合、負荷が大きすぎて現実的な使用は困難であることがわかった。
一方、特許文献2の工法で、コルゲート管を既設配管の一端から他端に向かって押し込む押し込み動作と、コルゲート管の先端を牽引ロープで既設配管の他端から牽引する牽引動作とを交互に繰り返すことによって、曲がりが多くある配管形態に対応させるようにしている。
しかしながら、上記のように、押し込み動作と牽引動作とを繰り返す工法は、押し込み動作の途中でコルゲート管の先端が曲がり部に達し、先端が曲がり部でつかえたりした場合でも、タイミングよく牽引動作を行えば、スムースにコルゲート管を既設配管に挿入することができるのであるが、タイミングがあわず、コルゲート管を押し込みすぎると、コルゲート管が途中で座屈するなどの弊害がでる恐れがある。そして、座屈によって、コルゲート管が破損しガス漏れが生じたり、破損しないまでもコルゲート管内に突出部が生じ、この突出部により圧損が大きくなるという問題がでる。また、牽引の際にコルゲート管が屈曲部で偏平に変形する恐れもある。
しかしながら、上記のように、押し込み動作と牽引動作とを繰り返す工法は、押し込み動作の途中でコルゲート管の先端が曲がり部に達し、先端が曲がり部でつかえたりした場合でも、タイミングよく牽引動作を行えば、スムースにコルゲート管を既設配管に挿入することができるのであるが、タイミングがあわず、コルゲート管を押し込みすぎると、コルゲート管が途中で座屈するなどの弊害がでる恐れがある。そして、座屈によって、コルゲート管が破損しガス漏れが生じたり、破損しないまでもコルゲート管内に突出部が生じ、この突出部により圧損が大きくなるという問題がでる。また、牽引の際にコルゲート管が屈曲部で偏平に変形する恐れもある。
そこで、特許文献2の工法では、押し込み操作力がコルゲート管の先端に伝達しにくくなった場合には、加圧流体をコルゲート管の内部に供給して、多くの曲がりをライニングしている。しかし、加圧流体は、コルゲート管の内部に均一に圧力を加えるので、必ずしも先端の推進力にはならない。つまり、コルゲート管を周方向に拡径する力も発生し、コルゲート管の物性に悪影響を与えたり、コルゲート管が拡径した場合には、既設配管との摩擦がさらに増大する原因になる。
本発明は、上記事情に鑑みて、押し込み動作と牽引動作とを繰り返す工法においてコルゲート管を傷めることがなく、コルゲート管をスムースに既設配管に挿入することが出来る既設配管へのコルゲート管の挿入工法およびこの工法に用いる挿入補助治具を提供することを目的としている。
上記目的を達成するために、本発明の請求項1に記載の既設配管へのコルゲート管の挿入工法(以下、「本発明の挿入工法」と記す)は、既設配管の一方の開口端から他方の開口端まで挿通された牽引用の線状材に、樹脂製のコルゲート管の先端を既設配管の一方の開口端側で固定したのち、既設配管の他方の開口端側から前記線状材を牽引する牽引動作と、既設配管の一方の開口端側からコルゲート管を既設配管内に押し込む押し込み動作とを行い、既設配管内にコルゲート管を挿入する既設配管へのコルゲート管の挿入工法において、コルゲート管より小径かつ可撓性に富んだ密着コイルスプリングをコルゲート管に挿入した状態で、コルゲート管とともに密着コイルスプリングを前記線状材で牽引し、かつ、コルゲート管とともに密着コイルスプリングを既設配管に送り込んで、コルゲート管を既設配管内に挿入したのち、密着コイルスプリングを既設配管のいずれか一方から引き抜くことを特徴としている。
一方、本発明の請求項2に記載の挿入補助治具(以下、「請求項2の補助治具」と記す)は、少なくともコルゲート管に挿入される密着コイルスプリングからなり、密着コイルスプリングの外径がコルゲート管の内径の0.8倍〜0.95倍であることを特徴としている。
本発明の請求項3に記載の挿入補助治具(以下、「請求項3の補助治具」と記す)は、請求項2の補助治具において、密着コイルスプリングの一端が徐々に縮径していることを特徴としている。
本発明の請求項4に記載の挿入補助治具(以下、「請求項4の補助治具」と記す)は、請求項3の補助治具において、密着コイルスプリングの他端に半径方向内側に突出する係止突起を備えていることを特徴としている。
本発明の請求項5に記載の挿入補助治具(以下、「請求項5の補助治具」と記す)は、請求項2〜請求項4のいずれかの補助治具において、引っ張りに対して密着コイルスプリングより伸びが少ないスプリング伸長防止用線状材が、密着コイルスプリングの全長に渡って密着コイルスプリング内に配置されているとともに、スプリング伸長防止用線状材の一端が密着コイルスプリングに固着されていることを特徴としている。
なお、本発明において、密着コイルスプリングとは、無負荷状態では、コイルを構成するワイヤの各ループの壁面が密着しており、軸方向に圧縮されてもその長さが略変わらず、径方向に力を受けても、少しの力では直径が略変わらないものである。
線状材としては、特に限定されないが、ワイヤ、ワイヤロープ、樹脂製ロープ等が挙げられ、ワイヤロープが好ましい。
線状材としては、特に限定されないが、ワイヤ、ワイヤロープ、樹脂製ロープ等が挙げられ、ワイヤロープが好ましい。
本発明の挿入補助治具には、密着コイルスプリングと、線状材以外に、牽引用線条材にコルゲート管の先端部を固定する固定手段も含まれる。また、挿入補助治具の線状材は、牽引用線状材を兼用していても構わない。
本発明の挿入工法に用いられるコルゲート管は、一層のものでも構わないが、断面波形をした蛇腹状の外層管状部と、この外層管状部に内嵌された状態で、外層管状部と同じピッチの断面波形をした蛇腹状の内層管状部とを有し、外層管状部と、内層管状部とが、断面波形の谷部にあたる部分のみで一体化されている合成樹脂製二層コルゲート管を用いることが好ましい。
本発明の挿入工法は、以上のように、コルゲート管内にコルゲート管より可撓性がある密着コイルスプリングを挿入した状態で、コルゲート管とともに密着コイルスプリングを線状材で牽引し、かつ、コルゲート管とともに密着コイルスプリングを既設配管に送り込んで、コルゲート管を既設配管内に挿入するようにしたので、密着コイルスプリングによって、コルゲート管の管軸方向への圧縮変形をさせることなく押し込み力をコルゲート管先端に伝えることができる。また、密着コイルスプリングによってコルゲート管が内側から支持される。したがって、牽引によって屈曲部で偏平が発生しても、偏平を規制することができ、コルゲート管に悪影響を与えない。これは同時に、既設配管とコルゲート管との摩擦も低減でき、コルゲート管の傷つきも減少する。
一方、本発明にかかる挿入補助治具は、以上のように、密着コイルスプリングの外径がコルゲート管の内径の0.8倍〜0.95倍であるので、上記本発明の挿入工法をより確実に実施することができる。すなわち、密着コイルスプリングの外径がコルゲート管の内径の0.8倍未満では、コルゲート管内のクリアランスが大きくなり、コルゲート管の偏平を抑制する効果が少なくなり、既設配管の屈曲部の数によっては、コルゲート管の座屈や偏平を生じる恐れがある。また、コルゲート管と一体化させにくくなる恐れがある(スプリング長とコルゲート管長を一致させにくくなる)。一方、密着コイルスプリングの外径がコルゲート管の内径の0.95倍を超えると、配管の延長が長い場合、コルゲート管内部への挿入が困難で、既設配管にコルゲート管を挿入したのち、引き抜く作業が困難になうる。
請求項3の補助治具は、密着コイルスプリングの一端が徐々に縮径しているので、他端に別の密着コイルスプリングの縮径部をねじ込むようにすれば、コイルの螺旋によって一方の密着コイルスプリングの縮径部側が他方の密着コイルスプリングの他端部の内側へスムーズにねじ込まれ、2つの密着コイルスプリングを容易に連結することができる。したがって、複数の密着コイルスプリングを容易しておけば、挿入するコルゲート管に適合した長さの補助治具を容易に形成することができる。また、縮径部を先頭にしてコルゲート管を挿入していくようにすれば、既設配管との摩擦抵抗をより少なくすることができる。
請求項4の補助治具は、密着コイルスプリングの他端に半径方向内側に突出する係止突起を備えているので、密着コイルスプリングが、上記のように連結されたとき、係止突起が、内側に入り込んだ密着コイルスプリングのループとループとの間に入り込み、密着コイルスプリングの抜けを簡単かつ確実に防止できる。すなわち、配管長が長い場合や曲がりが多い場合など、コルゲート管との抵抗が大きくても、挿入後にスプリングを引き抜く際にスプリング同士がその接続部で外れるということがない。
請求項5の補助治具は、引っ張りに対して密着コイルスプリングより伸びが少ない線状材が、密着コイルスプリングの全長に渡って密着コイルスプリング内に配置されているとともに、線状材の一端が密着コイルスプリングに固着されているので、コルゲート管からのスプリングの引き抜き時にスプリングに過剰な引っ張り力を加えることなく、ワイヤロープを引っ張ってスプリングを引き抜くことができる。したがって、スプリングの寿命が長くなる。
以下に、本発明を、その実施の形態をあらわす図面を参照しつつ詳しく説明する。
図1〜図6は、本発明の挿入補助治具の1つの実施の形態をあらわしている。
図1〜図6は、本発明の挿入補助治具の1つの実施の形態をあらわしている。
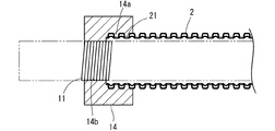
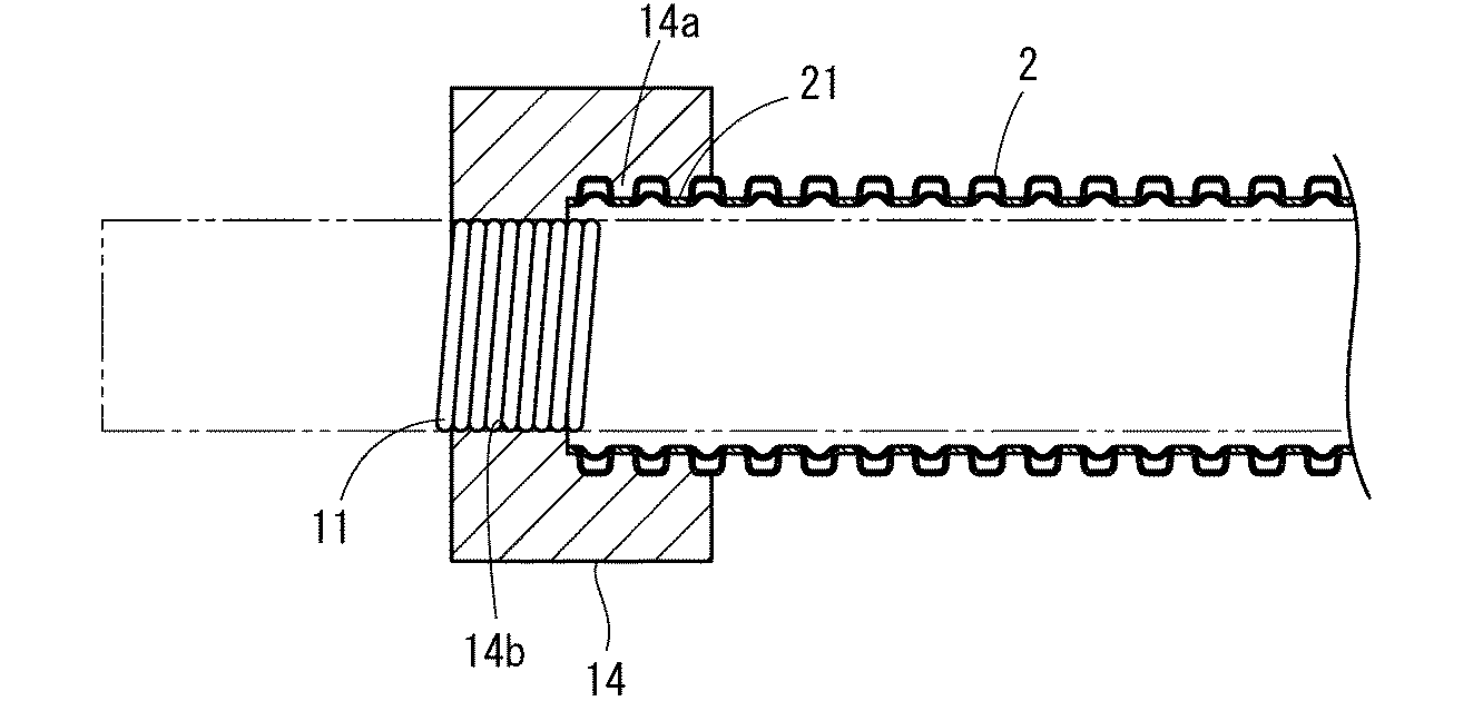
図1に示すように、この挿入補助治具1は、密着コイルスプリング11と、スプリング伸長防止用線状材としてのワイヤロープ12と、接続ネット13と、スプリング固定具14とを備えている。
密着コイルスプリング11は、図1〜図3に示すように、一端が徐々に縮径する縮径部11aとなっていて、他端にスプリングを構成するワイヤの一端を折り曲げて形成した係止突起11bを備えている。
密着コイルスプリング11は、図1〜図3に示すように、一端が徐々に縮径する縮径部11aとなっていて、他端にスプリングを構成するワイヤの一端を折り曲げて形成した係止突起11bを備えている。
ワイヤロープ12は、図1および図4に示すように、密着コイルスプリング11の内部に縮径部11a側から係止突起11bが設けられた他端まで通されていて、他端でワイヤ固定治具15を介して密着コイルスプリング11に固定されている。
接続ネット13は、細いワイヤロープが円錐状に編まれて形成され、円錐の中心軸方向に伸長されると縮径して、コルゲート管2の周壁に密着してコルゲート管2の外壁をしっかりと把持するようになっていて、円錐の頂部で、ワイヤロープ12に固定されている。
接続ネット13は、細いワイヤロープが円錐状に編まれて形成され、円錐の中心軸方向に伸長されると縮径して、コルゲート管2の周壁に密着してコルゲート管2の外壁をしっかりと把持するようになっていて、円錐の頂部で、ワイヤロープ12に固定されている。
スプリング固定具14は、図示していないが、2つ割になるようになっていて、図5および図6に示すように、コルゲート管2の外壁部の溝21に嵌まり込むコルゲート管係止突条14aと、密着コイルスプリング11の外面が嵌まり込む螺旋溝14bが内面に設けられている。
つぎに、この挿入補助治具1を用いた本発明の挿入工法を詳しく説明する。
図示していないが、まず、先導糸の先端に落下傘状の風圧受け具を取り付け、風圧受け具を既設配管の一端に挿入したのち、コンプレッサ等で圧縮空気を既設配管の一端から他端に向けて送り、風圧受け具を圧縮空気によって既設配管の他端に送ることによって、先導糸を既設配管内に通す。
図示していないが、まず、先導糸の先端に落下傘状の風圧受け具を取り付け、風圧受け具を既設配管の一端に挿入したのち、コンプレッサ等で圧縮空気を既設配管の一端から他端に向けて送り、風圧受け具を圧縮空気によって既設配管の他端に送ることによって、先導糸を既設配管内に通す。
そして、先導糸の一端に牽引用ワイヤロープを取り付け、先導糸の他端を引っ張り、既設配管に牽引用ワイヤロープを通す。
また、既設配管に通すコルゲート管2を用意し、挿入補助治具1の密着コイルスプリング11をコルゲート管2に挿通する。
また、既設配管に通すコルゲート管2を用意し、挿入補助治具1の密着コイルスプリング11をコルゲート管2に挿通する。
なお、1本の密着コイルスプリング11では、コルゲート管2より短い場合は、図3に示すように、別の密着コイルスプリング11を上述したように接続し、コルゲート管2より少し長くなるようにする。
続いて、コルゲート管2の牽引側の先端を、その軸方向に数箇所(好ましくは、90°ずつ計4箇所)切断し、切断部を密着コイルスプリング11の縮径部11aに沿わせた状態で接続ネット13をその上方から被せたのち、接続ネット13を伸長させて、コルゲート管2の上から把持する。
コルゲート管2の他端をスプリング固定具14を介して密着コイルスプリング11に固定するとともに、コルゲート管2の牽引側端部から出たワイヤロープ12の端部を牽引用ワイヤロープRの一端に固定する。
コルゲート管2の他端をスプリング固定具14を介して密着コイルスプリング11に固定するとともに、コルゲート管2の牽引側端部から出たワイヤロープ12の端部を牽引用ワイヤロープRの一端に固定する。
そして、図7に示すように、既設配管Pの一端から作業者Aがコルゲート管2を既設配管P内に送り込む動作をしたのち、既設配管Pの他端から作業者Bが牽引用ワイヤロープRを牽引する動作を行うという作業を繰り返し、コルゲート管2を既設配管Pに挿入する。
そして、既設配管Pの他端からコルゲート管2の先端部がある程度突出すれば、スプリング固定具14を取り外すとともに、接続ネット13による把持を解除したのち、ワイヤロープ12を持って、牽引側から密着コイルスプリング11を引っ張り、コルゲート管2の内部から引き出すようになっている。
そして、既設配管Pの他端からコルゲート管2の先端部がある程度突出すれば、スプリング固定具14を取り外すとともに、接続ネット13による把持を解除したのち、ワイヤロープ12を持って、牽引側から密着コイルスプリング11を引っ張り、コルゲート管2の内部から引き出すようになっている。
(実施例1)
25A用のコルゲート管(内径φ18mm)に、外径16.0mm、ワイヤ径1.5mmの密着コイルスプリングを図1に示すように挿入し、スプリング固定具14を介して密着コイルスプリングをコルゲート管に固定するとともに、密着コイルスプリング内に中心ワイヤロープを挿通し、中心ワイヤロープの一端を密着コイルスプリングに固定した状態で、0.6mピッチで曲がり部を設けた呼び径25Aの配管中に、牽引動作と、押し込み動作とを繰り返し行い、コルゲート管を配管中に挿入し、曲がり通過数および挿入状態を調べた。
25A用のコルゲート管(内径φ18mm)に、外径16.0mm、ワイヤ径1.5mmの密着コイルスプリングを図1に示すように挿入し、スプリング固定具14を介して密着コイルスプリングをコルゲート管に固定するとともに、密着コイルスプリング内に中心ワイヤロープを挿通し、中心ワイヤロープの一端を密着コイルスプリングに固定した状態で、0.6mピッチで曲がり部を設けた呼び径25Aの配管中に、牽引動作と、押し込み動作とを繰り返し行い、コルゲート管を配管中に挿入し、曲がり通過数および挿入状態を調べた。
(実施例2)
密着コイルスプリングとして外径17.5mmのものを用いた以外は、実施例1と同様にしてコルゲート管を配管中に挿入し、曲がり通過数および挿入状態を調べた。
密着コイルスプリングとして外径17.5mmのものを用いた以外は、実施例1と同様にしてコルゲート管を配管中に挿入し、曲がり通過数および挿入状態を調べた。
(実施例3)
密着コイルスプリングとして外径14.0mmのものを用いた以外は、実施例1と同様にしてコルゲート管を配管中に挿入し、曲がり通過数および挿入状態を調べた。
密着コイルスプリングとして外径14.0mmのものを用いた以外は、実施例1と同様にしてコルゲート管を配管中に挿入し、曲がり通過数および挿入状態を調べた。
(実施例4)
密着コイルスプリングとして外径14.0mmのものを用いるとともに、密着コイルスプリング内に中心ワイヤロープを挿通しなかった以外は、実施例1と同様にしてコルゲート管を配管中に挿入し、曲がり通過数および挿入状態を調べた。
密着コイルスプリングとして外径14.0mmのものを用いるとともに、密着コイルスプリング内に中心ワイヤロープを挿通しなかった以外は、実施例1と同様にしてコルゲート管を配管中に挿入し、曲がり通過数および挿入状態を調べた。
(実施例5)
密着コイルスプリングをコルゲート管に固定せず、密着コイルスプリング内に中心ワイヤロープを挿通しなかった以外は、実施例1と同様にしてコルゲート管を配管中に挿入し、曲がり通過数および挿入状態を調べた。
密着コイルスプリングをコルゲート管に固定せず、密着コイルスプリング内に中心ワイヤロープを挿通しなかった以外は、実施例1と同様にしてコルゲート管を配管中に挿入し、曲がり通過数および挿入状態を調べた。
(比較例1)
コルゲート管内に密着コイルスプリングを挿通しない状態で、コルゲート管を実施例1と同様にして配管中に挿入し、曲がり通過数および挿入状態を調べた。
上記実施例1〜5および比較例1で調べた曲がり通過数および挿入状態を、その実施条件と合わせて表1に示した。なお、表1中、固定は密着コイルスプリングとコルゲート管との固定をあらわす。
コルゲート管内に密着コイルスプリングを挿通しない状態で、コルゲート管を実施例1と同様にして配管中に挿入し、曲がり通過数および挿入状態を調べた。
上記実施例1〜5および比較例1で調べた曲がり通過数および挿入状態を、その実施条件と合わせて表1に示した。なお、表1中、固定は密着コイルスプリングとコルゲート管との固定をあらわす。
P 既設配管
R 牽引用ワイヤロープ(牽引用の線状材)
1 挿入補助治具
11 密着コイルスプリング
11a 縮径部
11b 係止突起
12 ワイヤロープ(スプリング伸長防止用線状材)
2 コルゲート管
13 接続ネット
14 スプリング固定具
15 ワイヤ固定治具
R 牽引用ワイヤロープ(牽引用の線状材)
1 挿入補助治具
11 密着コイルスプリング
11a 縮径部
11b 係止突起
12 ワイヤロープ(スプリング伸長防止用線状材)
2 コルゲート管
13 接続ネット
14 スプリング固定具
15 ワイヤ固定治具
Claims (5)
- 既設配管の一方の開口端から他方の開口端まで挿通された牽引用の線状材に、樹脂製のコルゲート管の先端を既設配管の一方の開口端側で固定したのち、既設配管の他方の開口端側から前記線状材を牽引する牽引動作と、既設配管の一方の開口端側からコルゲート管を既設配管内に押し込む押し込み動作とを行い、既設配管内にコルゲート管を挿入する既設配管へのコルゲート管の挿入工法において、コルゲート管より小径かつ可撓性に富んだ密着コイルスプリングをコルゲート管に挿入した状態で、コルゲート管とともに密着コイルスプリングを前記線状材で牽引し、かつ、コルゲート管とともに密着コイルスプリングを既設配管に送り込んで、コルゲート管を既設配管内に挿入したのち、密着コイルスプリングを既設配管のいずれか一方から引き抜くことを特徴とする既設配管へのコルゲート管の挿入工法。
- 請求項1に記載の既設配管へのコルゲート管の挿入工法に用いる挿入補助治具であって、少なくともコルゲート管に挿入される密着コイルスプリングからなり、密着コイルスプリングの外径がコルゲート管の内径の0.8倍〜0.95倍であることを特徴とする挿入補助治具。
- 密着コイルスプリングの一端が徐々に縮径している請求項2に記載の挿入補助治具。
- 密着コイルスプリングの他端に半径方向内側に突出する係止突起を備えている請求項3に記載の挿入補助治具。
- 引っ張りに対して密着コイルスプリングより伸びが少ないスプリング伸長防止用線状材が、密着コイルスプリングの全長に渡って密着コイルスプリング内に配置されているとともに、スプリング伸長防止用線状材の一端が密着コイルスプリングに固着されている請求項2〜請求項4のいずれかに記載の挿入補助治具。
Priority Applications (1)
| Application Number | Priority Date | Filing Date | Title |
|---|---|---|---|
| JP2004104022A JP2005291255A (ja) | 2004-03-31 | 2004-03-31 | 既設配管へのコルゲート管の挿入工法およびこの工法に用いる挿入補助治具 |
Applications Claiming Priority (1)
| Application Number | Priority Date | Filing Date | Title |
|---|---|---|---|
| JP2004104022A JP2005291255A (ja) | 2004-03-31 | 2004-03-31 | 既設配管へのコルゲート管の挿入工法およびこの工法に用いる挿入補助治具 |
Publications (1)
| Publication Number | Publication Date |
|---|---|
| JP2005291255A true JP2005291255A (ja) | 2005-10-20 |
Family
ID=35324429
Family Applications (1)
| Application Number | Title | Priority Date | Filing Date |
|---|---|---|---|
| JP2004104022A Pending JP2005291255A (ja) | 2004-03-31 | 2004-03-31 | 既設配管へのコルゲート管の挿入工法およびこの工法に用いる挿入補助治具 |
Country Status (1)
| Country | Link |
|---|---|
| JP (1) | JP2005291255A (ja) |
Cited By (2)
| Publication number | Priority date | Publication date | Assignee | Title |
|---|---|---|---|---|
| JP2007032759A (ja) * | 2005-07-28 | 2007-02-08 | Nagoya City | 埋設管の引き抜き工法とその引き抜き工法用の連結具及び引き抜き装置 |
| CN104014098A (zh) * | 2014-03-24 | 2014-09-03 | 华金义 | 横竖三角形悬空固定外壁有横齿纹的硬质消防水管 |
-
2004
- 2004-03-31 JP JP2004104022A patent/JP2005291255A/ja active Pending
Cited By (2)
| Publication number | Priority date | Publication date | Assignee | Title |
|---|---|---|---|---|
| JP2007032759A (ja) * | 2005-07-28 | 2007-02-08 | Nagoya City | 埋設管の引き抜き工法とその引き抜き工法用の連結具及び引き抜き装置 |
| CN104014098A (zh) * | 2014-03-24 | 2014-09-03 | 华金义 | 横竖三角形悬空固定外壁有横齿纹的硬质消防水管 |
Similar Documents
| Publication | Publication Date | Title |
|---|---|---|
| US5548898A (en) | Method for providing a flexible covering for a portion of a tapered coil spring | |
| JP4122058B2 (ja) | 可撓性壁に管状装置を取付ける方法および装置 | |
| JPS595204A (ja) | グリツプ装置 | |
| US6827375B2 (en) | End fitting tubular members and method of applying same | |
| JP2005291255A (ja) | 既設配管へのコルゲート管の挿入工法およびこの工法に用いる挿入補助治具 | |
| JP2010223253A (ja) | アクチュエータ | |
| JP4495996B2 (ja) | 合成樹脂製二層コルゲート管およびこのコルゲート管を老朽化した既設配管内へ挿通する配管の補修方法 | |
| US6941787B2 (en) | Bending device for thin-walled metal pipes | |
| JP2001311480A (ja) | 樹脂管牽引用治具 | |
| JP2001241590A (ja) | 止水装置用バッグ | |
| JP2005291257A (ja) | 既設配管へのコルゲート管の挿入工法 | |
| JP3894868B2 (ja) | ケーブル通線治具 | |
| JP5782648B2 (ja) | 管継手及び管継手構造 | |
| CN209871219U (zh) | 一种固定管线束的螺柱用尼龙扎带 | |
| JPH0444529Y2 (ja) | ||
| JP2001280540A (ja) | 老朽既設管の更新方法 | |
| JP7444650B2 (ja) | バンドクランプ | |
| CN111146754A (zh) | 细长柔性件的保护装置、保护组件及其安装方法 | |
| JP2005291256A (ja) | 既設配管へのコルゲート管の挿入工法およびこの挿入工法に用いる挿入治具 | |
| JP2018168945A (ja) | ツール挿入用アタッチメント | |
| JP2636874B2 (ja) | 管のライニング方法 | |
| JP2522479B2 (ja) | 配管工法 | |
| JPH11325317A (ja) | ポリオレフィン系ライナパイプおよびその施工方法 | |
| JP2962991B2 (ja) | 管渠内に懸吊体を敷設するための懸吊体保持具 | |
| JPS6218796Y2 (ja) |
Legal Events
| Date | Code | Title | Description |
|---|---|---|---|
| A621 | Written request for application examination |
Free format text: JAPANESE INTERMEDIATE CODE: A621 Effective date: 20061115 |
|
| A977 | Report on retrieval |
Free format text: JAPANESE INTERMEDIATE CODE: A971007 Effective date: 20090806 |
|
| A131 | Notification of reasons for refusal |
Effective date: 20090811 Free format text: JAPANESE INTERMEDIATE CODE: A131 |
|
| A02 | Decision of refusal |
Free format text: JAPANESE INTERMEDIATE CODE: A02 Effective date: 20091208 |
