JP2005290972A - ポンプゲート及びポンプゲートの運転方法 - Google Patents

ポンプゲート及びポンプゲートの運転方法 Download PDF

Info

Publication number
JP2005290972A
JP2005290972A JP2005068674A JP2005068674A JP2005290972A JP 2005290972 A JP2005290972 A JP 2005290972A JP 2005068674 A JP2005068674 A JP 2005068674A JP 2005068674 A JP2005068674 A JP 2005068674A JP 2005290972 A JP2005290972 A JP 2005290972A
Authority
JP
Japan
Prior art keywords
vortex
water level
pump
pump gate
suction
Prior art date
Legal status (The legal status is an assumption and is not a legal conclusion. Google has not performed a legal analysis and makes no representation as to the accuracy of the status listed.)
Pending
Application number
JP2005068674A
Other languages
English (en)
Inventor
Hirohisa Wakizaka
裕寿 脇阪
Satoshi Kawasaki
聡 川崎
Current Assignee (The listed assignees may be inaccurate. Google has not performed a legal analysis and makes no representation or warranty as to the accuracy of the list.)
IHI Corp
Original Assignee
Ishikawajima Harima Heavy Industries Co Ltd
Priority date (The priority date is an assumption and is not a legal conclusion. Google has not performed a legal analysis and makes no representation as to the accuracy of the date listed.)
Filing date
Publication date
Application filed by Ishikawajima Harima Heavy Industries Co Ltd filed Critical Ishikawajima Harima Heavy Industries Co Ltd
Priority to JP2005068674A priority Critical patent/JP2005290972A/ja
Publication of JP2005290972A publication Critical patent/JP2005290972A/ja
Pending legal-status Critical Current

Links

Images

Landscapes

  • Barrages (AREA)
  • Control Of Non-Positive-Displacement Pumps (AREA)
  • Structures Of Non-Positive Displacement Pumps (AREA)

Abstract

【課題】
空気吸込み渦の発生を抑制し、より低水位迄安定して流体を吸込むことができる様にする。
【解決手段】
流路6を開閉する扉体15に複数の水中ポンプ16が設けられたポンプゲート8に於いて、前記扉体が前記流路を閉鎖し前記水中ポンプの少なくとも1つが運転されている状態で発生する渦の、渦発生箇所の水面下方に渦が成長して形成される空気吸込み渦を遮断する様に横渦防止板37が設けられた。
【選択図】 図1

Description

本発明は水路を開閉する扉体に水中ポンプが設けられているポンプゲートに関するものである。
本川に接続された支川には、本川の水位が支川の水位より高くなった場合の逆流を防止する為にゲートが設けられていると共に大雨等の場合に支川での氾濫を防止する為、支川側の水を本川側に吐出する為の水中ポンプが設けられているものがある。又、水中ポンプは水位が低下した場合も本川側に吐出できる様に、更にポンプの故障等不測の事体に対する安全性が考慮され、2台の水中ポンプが横に並設されている。
2台の水中ポンプが横に並設された従来のポンプゲートとしては、例えば特許文献1に示されるものがある。
ポンプゲートの水中ポンプの安定運転に要求される性能の1つに、より低水位での安定した水の吸込みがある。安定運転を阻害する要因として空気の吸込みがあり、空気を吸込んだ場合、振動の発生、或は水中ポンプの羽根の損傷等の要因となる虞れがある。
上記した特許文献1に係るポンプゲートは、斯かる要求を満足する為、図17に見られる様に、流体を吸込む吸込み口1,2を流体表面に対して斜め下向きとし、吸込み口真上にある流体を吸込む流れを減速させることになり、渦の発生の抑止、空気の吸込みを防止し、流体を低水位迄安定して吸込むことができる様にしている。
然し乍ら、支川の水位が低水位となった場合、或は支川への流入流量が多くない場合は、2つの水中ポンプの内一方を運転し、他方は休止させるという稼働状態となる。この為、水中ポンプの吸込み口近傍の流体の流れに偏流を生じ、渦が発生し易い状態が発生する。
この為、上記ポンプゲートに於いても所定の水位以下となると図17に見られる様に、空気吸込み渦3が発生し、空気を吸込む現象が発生していた。
特開2003−55946号公報
本発明は斯かる実情に鑑み、空気吸込み渦の発生を抑制し、より低水位迄安定して流体を吸込むことができる様にするものである。
本発明は、流路を開閉する扉体に複数の水中ポンプが設けられたポンプゲートに於いて、前記扉体が前記流路を閉鎖し前記水中ポンプの少なくとも1つが運転されている状態で発生する渦の、渦発生箇所の水面下方に渦が成長して形成される空気吸込み渦を遮断する様に横渦防止板が設けられたポンプゲートに係り、又前記横渦防止板は、前記水中ポンプと水中ポンプとの間に設けられたポンプゲートに係るものである。
又本発明は、前記横渦防止板は、水平又は略水平に設けられたポンプゲートに係り、又前記横渦防止板は、前記空気吸込み渦の発生範囲を横断する大きさを具備しているポンプゲートに係るものである。
又本発明は、前記水中ポンプが上流端に吸込みベルを有し、該吸込みベルの軸心は上流に向って下方に傾斜し、下方に向う吸込み口が形成されると共に側面部が開放され、該側面部はコーナ部を有し、前記空気吸込み渦は前記コーナ部に向って成長する様にし、前記横渦防止板はコーナ部の上方で前記空気吸込み渦の発生範囲を横断する様になっているポンプゲートに係るものである。
又本発明は、吸込みベルの上流端は、該吸込みベルの最上部位より下方に位置すると共に前記横渦防止板は前記吸込みベルの最上部位よりも下方に設けられたポンプゲートに係るものである。
又本発明は、渦の発生する箇所の流れを攪乱する正面渦防止板が設けられたポンプゲートに係り、又前記正面渦防止板の水平に対する角度が0°〜90°の範囲であるポンプゲートに係り、又前記正面渦防止板は、前記吸込みベル上面の傾斜方向に対して逆方向に傾斜しているポンプゲートに係るものである。
更に又本発明は、流路を開閉する扉体に複数の水中ポンプが設けられたポンプゲートに於いて、該ポンプゲートの下流側の水位を検出する下流側水位計と、前記ポンプゲートの上流側の水位を検出する上流側水位計と、前記両水位計の検出水位に基づき前記水中ポンプを駆動する制御装置とを具備し、前記ポンプゲートの閉鎖状態で上流側の水位が下流側より低く、空気吸込み渦の発生する水位を越えた水位で前記水中ポンプが運転され、空気吸込み渦の発生する水位以下で前記水中ポンプが停止されるポンプゲートの運転方法に係るものである。
本発明によれば、流路を開閉する扉体に複数の水中ポンプが設けられたポンプゲートに於いて、前記扉体が前記流路を閉鎖し前記水中ポンプの少なくとも1つが運転されている状態で発生する渦の、渦発生箇所の水面下方に渦が成長して形成される空気吸込み渦を遮断する様に横渦防止板が設けられたので、水面に発生した渦が成長して下方に延びるのを抑止し、空気吸込み渦が水中ポンプの吸込み口に達することを防止する。
又本発明によれば、渦の発生する箇所の流れを攪乱する正面渦防止板が設けられたので、定常的な渦の発生を防止する。
又本発明によれば、流路を開閉する扉体に複数の水中ポンプが設けられたポンプゲートに於いて、該ポンプゲートの下流側の水位を検出する下流側水位計と、前記ポンプゲートの上流側の水位を検出する上流側水位計と、前記両水位計の検出水位に基づき前記水中ポンプを駆動する制御装置とを具備し、前記ポンプゲートの閉鎖状態で上流側の水位が下流側より低く、空気吸込み渦の発生する水位を越えた水位で前記水中ポンプが運転され、空気吸込み渦の発生する水位以下で前記水中ポンプが停止されるので、低水位で水中ポンプが空気を吸込むことが防止されるという優れた効果を発揮する。
以下、図面を参照しつつ本発明を実施する為の最良の形態を説明する。
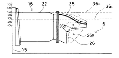
先ず、図1に於いて、ポンプゲート設備についての概略を説明する。
図中、5は本川、6は支川(流路)又は水路(支川と称す)を示し、該支川6の前記本川5との合流口7にポンプゲート8が設けられ、該ポンプゲート8の上流にスクリーン装置9が設けられている。
前記ポンプゲート8について説明する。
前記合流口7に操作台11が設けられ、該操作台11にはゲート開閉装置12、制御装置13、本川用水位計14が設けられ、前記ゲート開閉装置12は前記制御装置13によって駆動が制御され、前記本川用水位計14で検出された前記本川5の水位は前記制御装置13に送出される様になっている。該制御装置13には、前記本川5の最高水位、最低水位、前記支川6の最高水位、最低水位が設定入力されており、これら設定値と、前記本川用水位計14、後述する支川用水位計17が検出する水位との比較で前記ゲート開閉装置12、水中ポンプ16(後述)の駆動停止を制御する様になっている。
又、前記合流口7を開閉する扉体15が設けられ、該扉体15は前記ゲート開閉装置12に連結され、昇降可能となっている。前記扉体15には前記水中ポンプ16が2組並設されている。該水中ポンプ16は前記制御装置13によって駆動が制御される。
前記扉体15の上流には、前記支川用水位計17が設けられ、前記支川6の水位が検出されると共に検出された水位は前記制御装置13に送出される様になっている。
前記スクリーン装置9は、上端を回転自在に支持されたスクリーン18を具備し、該スクリーン18は巻上げ装置19にワイヤ21により連結されており、前記巻上げ装置19が前記ワイヤ21を巻取り、或は繰出すことで、前記スクリーン18が前記支川6から引上げられ、或は没水する様になっている。
図2は、前記水中ポンプ16の断面図を示している。
前記扉体15を貫通する様に円筒状のケーシング22が設けられる。該ケーシング22は水平な軸心を有し、該ケーシング22にはポンプモータ23が同心となる様に支持され、該ポンプモータ23の先端(支川6の上流側)には羽根車24が設けられている。又、前記ケーシング22の上流端には吸込みベル25が設けられ、該吸込みベル25は上流側に向って下降する軸心を有している。
前記吸込みベル25の上面部は、先端に向って下降する様延出する湾曲面によって形成され、少なくとも上面の上流端部は上流側に向って下降する様傾斜している。前記吸込みベル25の下面部は前記上面部に比して短く、上流側に向って下降する様傾斜しており、前記上面部、前記下面部、及び該上面部、下面部に連続する側面部とにより斜め下方に向って開口する吸込み口26が形成される。
尚、前記吸込みベル25の上流端は前記ケーシング22の最上部位、及び前記吸込みベル25の上面湾曲面の最上部位より下方に位置しており、水位が低下し、前記ケーシング22の上部、前記吸込みベル25の上面部が水から露出しても前記吸込み口26は水中に没している状態が保たれる様になっている。
又、前記吸込みベル25の側面部は上流端側から大きく抉られ、該側面部には開口部26aが形成される。該開口部26aは最奥部にコーナ部26bを有している。
前記吸込みベル25は斜め下方に開口すると共に側面が開口されていることから、前記吸込み口26は正面から水を吸込むと共に前記開口部26aの側方からも水を吸込む様になっており、特に側方から水を吸込む様にしたことで、正面から吸込む水の流速を低減し、渦の発生ができにくい様にしている。
前記ケーシング22の下流端には逆止弁27が設けられ、該逆止弁27は上端が回転自在に支持され、前記本川5側からの水圧で、前記ケーシング22の下流端の開口部を閉塞する様になっている。尚、前記逆止弁27は吐出される水の圧力で開放される様になっている。
ポンプゲート設備の作動の概略を説明する。
前記スクリーン18は漂流物等の異物が前記本川5或は前記水中ポンプ16に流入しない様に前記支川6の水中に没水されている。
前記本川用水位計14により前記本川5の水位が検出され、又前記支川用水位計17により前記支川6の水位が検出され、検出結果はそれぞれ前記制御装置13に送出される。該制御装置13では、前記本川用水位計14と、前記支川用水位計17が検出した水位を比較し、前記本川5の水位が前記支川6の水位より高くなると、前記本川5から前記支川6への逆流を防止する為、前記ゲート開閉装置12を駆動して、前記扉体15を降下させ、前記合流口7を閉塞する。前記水中ポンプ16を運転していない場合は、前記逆止弁27が前記水中ポンプ16の吐出口を閉塞している。
更に、前記本川5の水位が上昇し、前記本川用水位計14が所定の水位を検出すると、前記ポンプゲート8が駆動し、前記扉体15が閉じられる。更に、前記支川用水位計17が最低水位以上であることを検出すると、前記制御装置13により前記水中ポンプ16が駆動され、該水中ポンプ16により前記支川6側の水が前記本川5側に強制吐出される。
更に、前記支川用水位計17が最低水位を検出すると、前記水中ポンプ16が停止される。最低水位は空気吸込み渦3(図17参照)が発生しない最も低い水位を言い、前記水中ポンプ16は最低水位以上で運転される。
上記した様に、前記支川用水位計17の水位が最低水位以下となると、渦の発生、空気の吸込みによって、前記水中ポンプ16の安定運転が損われ、或は渦の影響による振動で該水中ポンプ16が損傷する虞れがある。
ここで、空気の吸込みの原因となる、渦の発生について説明する。
本発明者は2つのポンプが並設されたポンプゲートに於いて、一方のポンプのみを運転した場合に渦が発生し易いことを確認し、又一方のポンプのみを運転した場合に発生する渦について解析した。
図3は、2組の水中ポンプ16a,16bの内、図中下側の該水中ポンプ16aが運転された場合の該水中ポンプ16a,16b周辺に発生する平面的な流れ、及び平面的な流れに起因する渦を示し、図中破線で示す矢印は水流の底の流れ(以下底流と称す)28,29,30を示し、実線で示す矢印は水流の表面の流れ(以下表流と称す)32,33を示している。
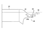
前記吸込み口26の側方を通過した前記底流は下流側に流れ前記扉体15に当り、該扉体15に沿って流れ、一部の前記底流28は前記水中ポンプ16aと水中ポンプ16b間を上流に向って流れ、図4中A部で偏向した前記底流30となり前記吸込み口26から吸引される。又、前記水中ポンプ16aの下方を通過する前記底流29は、前記支川6の側壁に沿って偏向し、上流に向って流れ、前記吸込み口26より吸引される。
前記水中ポンプ16aと水中ポンプ16bとの間の表面は上流に向って流れ、前記吸込みベル25によって流路が狭められることから、該吸込みベル25のB部(図4参照)に当って該吸込みベル25,25の間で図中時計方向に回転する。又、前記吸込み口26の上流側からの前記表流33が前記吸込みベル25の上面、C部(図4参照)に当って左右に分れ、一部が前記吸込みベル25,25の間に流れ込む。この為、前記表流32と前記表流33によって渦34が前記吸込みベル25の側方に発生する。
尚、該渦34の水面での発生範囲は、図7に示される如く、前記吸込みベル25の上流端近傍より下流位置から前記ケーシング22の先端部近傍迄となっている。
前記渦34が成長すると前記底流30との相乗作用で、水面から前記吸込み口26に達する連続した空気吸込み渦となる。尚、前記吸込み口26には側面部に前記開口部26aが形成されていることから、前記渦34が発生し、前記空気吸込み渦3に成長する場合、該空気吸込み渦3は前記吸込み口26側方の前記コーナ部26bに向って延び、該コーナ部26bに達する。前記渦34が該コーナ部26b、即ち前記開口部26aに達した場合、該開口部26aからの空気の吸込みが発生する。
而して、前記渦34が前記空気吸込み渦3に成長する範囲は、前記渦34の水面での発生範囲と前記コーナ部26bとを結ぶ略3角形の範囲となっている(図7参照)。
尚、図4中、36Lは低水位の水面、36Hは高水位の水面を示している。
次に、図5、図6により、吸込みベル25の上流側の流れについて説明する。尚、図中、36は水面を示している。
水位が高い状態では、前記吸込み口26に吸込まれる流れと、前記吸込みベル25の上面に沿って上昇する流れが発生する。ところが水位が低下すると、前記吸込みベル25で流れが堰き止められるので、該吸込みベル25の上側に淀み35を生じ、更に前記吸込み口26の上流端から該吸込み口26に向って沈込む流れが発生するので、前記吸込みベル25の上流端に図17で示した様に、前記空気吸込み渦3が発生し、前記吸込み口26からの空気の吸込みが発生する。
本発明では、上記した前記空気吸込み渦3の発生状況を考慮して、前記渦34の成長、及び連続、持続性を抑制、防止する手段として、図9に示される様に前記水中ポンプ16aと水中ポンプ16b間に横渦防止板37を設け、図10、図11に示される様に正面渦防止板39を設ける。
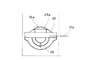
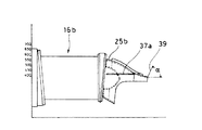
先ず、図8〜図11に於いて前記横渦防止板37について説明する。
前記水中ポンプ16aの吸込みベル25aと前記水中ポンプ16bの吸込みベル25b間に横渦防止板37aが設けられている。該横渦防止板37aは2分割構造であり、中央にスリット部38aが形成されている。又、前記横渦防止板37aは水平又は略水平に設けられる。
該横渦防止板37aの取付け位置は、前記支川6の底面から所要高さの位置、例えば前記ケーシング22の中心線から20mm程度上方、或は最低水位となった状態で水面から50mm下方の位置であり、前記吸込みベル25の上部、前記ケーシング22の上部が露出した状態でも、水面下に没した状態となる。更に図8で示される様に、前記コーナ部26bの上方に位置し、上述した前記渦34が前記空気吸込み渦3に成長する範囲を横断する位置となっており、更に水平方向の長さは前記3角形の範囲を越えるものとなっている。
前記横渦防止板37aは、図示される様にパンチングメタル等の多孔板でもよく或は孔のない単なる平板であってもよい。
前記横渦防止板37aを設けることで、図3で示される水面での水の回転による前記表流32,33によって発生する前記渦34が成長して下方に延びることが前記横渦防止板37によって遮断され、前記底流30との相乗作用を抑制する。
図12、図13は前記横渦防止板37の他の例を示しており、図12で示す横渦防止板37bはスリット部38aがなく、一枚の横渦防止板37bが前記吸込みベル25aと吸込みベル25b間に掛渡って設けられたものである。又図13で示す横渦防止板37cは、前記横渦防止板37が吸込みベル25の更に下流側に延びる延出部38bを有しているものである。
いずれの場合も前記横渦防止板37は、空気吸込み渦3の発生範囲を横断し、渦34が前記空気吸込み渦3に成長するのを抑制するので、該空気吸込み渦3の発生が防止される。
次に、前記正面渦防止板39について図9〜図11に於いて説明する。
前記吸込みベル25の上流端に前記正面渦防止板39を、水平に対して所要の角度αを成す様に固着する。角度αは0°又は0°近傍から90°迄の所要の角度、例えば70°が選択される。前記正面渦防止板39は、前記吸込みベル25の上面先端部の傾斜に対して逆方向に傾斜する状態となる。
図14、図15に於いて、前記正面渦防止板39の作用について説明する。
前記正面渦防止板39は、下流に向って流れる表流を急激に堰止める。堰止められた表流は前記正面渦防止板39に沿って潜込み、更に前記吸込みベル25の上面に沿って上昇する流れとなる。
上記した様に、前記正面渦防止板39と前記吸込みベル25上面の傾斜が逆方向であるので、前記正面渦防止板39から前記吸込みベル25に流れる過程で流れ方向の大きな変化が生じる。この為、前記正面渦防止板39は表流に対して大きな抵抗となり、該正面渦防止板39への衝突で水の跳ね返りが発生し、流れを乱し、表面を波立たせる。従って、図17で示される空気吸込み渦3の発生が防止される。
図16(A)、図16(B)、図16(C)は、実験で得られた前記横渦防止板37、及び前記正面渦防止板39の効果を示している。図中の枡に○が記されているのは、前記空気吸込み渦3の発生がなかったことを示し、×が記されているものは該空気吸込み渦3の発生があったことを示している。又、図中、横板1は横渦防止板37a、横板2は横渦防止板37b、横板3は横渦防止板37cを示し、正面板は正面渦防止板39を示している。
図16(A)は、前記横渦防止板37、前記正面渦防止板39を設けない場合の水位と渦の発生との関係を示すものである(図4参照)。
前記横渦防止板37、正面渦防止板39のいずれも設けない場合は、水位が600mmより下がると有害な空気吸込み渦が発生している。
図16(B)は、前記横渦防止板37を設けた場合を示しており、該横渦防止板37を設けた場合は、水位が480mmで有害な空気吸込み渦が発生している。即ち、前記横渦防止板37を設けることで、120mm水位が低下する迄、前記水中ポンプ16の運転が可能となった。
又、図16(C)は、前記横渦防止板37a,37b,37cを設け、更に前記正面渦防止板39を設けた場合で、該正面渦防止板39の角度をα=70°,30°,0°,とした場合の渦の発生の状態を示している。
図16(C)の結果と図16(A)の結果とを比較することで明らかな様に、いずれの場合も、有害な空気吸込み渦が発生する水位は低下し、前記横渦防止板37、前記正面渦防止板39の渦発生抑制効果が確認することができる。特に、該正面渦防止板39の角度が0°、前記横渦防止板37aが設けられた場合に、水位が430mmの場合でも尚有害な前記空気吸込み渦3が発生していなく、大きな渦発生抑制効果が得られることが分る。
又、前記正面渦防止板39がα=70°で、横渦防止板37a、横渦防止板37bの場合で、水位600mmの時、及び前記正面渦防止板39がα=30°で横渦防止板37bの場合で水位600mm,550mmの時にそれぞれ渦が発生したが、軽微なものであり、実用上差支えないものであった。
前記水中ポンプ16の運転については、図1に於いて説明したが、前記制御装置13に設定入力する最低水位は、図16(C)の正面渦防止板39の角度α=70°の場合では475mmであり、本川5の水位が支川6の水位より高い場合で、支川6の水位が475mmとなった場合に、前記水中ポンプ16の運転が中止され、支川6の水位が475mmを越えた場合に、前記水中ポンプ16の運転が行われる。尚、図16で示す数値は、一例であり、支川6の規模、ポンプゲートの規模により異なることは言う迄もない。
尚、前記扉体15に設けられる前記水中ポンプ16の数は2組に限らず、3組の場合も考えられ、この場合前記横渦防止板37はそれぞれの前記水中ポンプ16の間に設けられる。又、上記実施の形態では前記横渦防止板37が、前記水中ポンプ16,16間に設けられたが、その他にも渦の発生する箇所に渦の延長を横断又は遮断する様に、又流れを攪乱する様に設けてもよい。
本発明の実施の形態に係るポンプゲートを設備したポンプゲート設備の概略図である。 水中ポンプの一例を示す概略断面図である。 ポンプゲートに於ける渦の発生を示す説明図である。 水中ポンプの側断面図である。 水中ポンプの吸込み口に発生する渦についての説明図である。 水中ポンプの吸込み口に発生する渦についての説明図である。 水中ポンプの吸込み口に達する空気吸込み渦の発生範囲についての説明図である。 水中ポンプの吸込み口に達する空気吸込み渦の発生範囲と横渦防止板との関係を示す説明図である。 本発明の実施の形態を示す平面図である。 図9のA−A矢視図である。 本発明の実施の形態を示す正面図である。 本発明の他の実施の形態を示す平面図である。 本発明の更に他の実施の形態を示す平面図である。 本発明に於ける正面渦防止板の作用を示す説明図である。 本発明に於ける正面渦防止板の作用を示す部分拡大説明図である。 本発明に於ける渦の発生抑止効果を示す図である。 従来例に於ける空気吸込み渦の発生を示す説明図である。
符号の説明
3 空気吸込み渦
5 本川
6 支川
7 合流口
12 ゲート開閉装置
13 制御装置
14 本川用水位計
15 扉体
16 水中ポンプ
17 支川用水位計
23 ポンプモータ
25 吸込みベル
26 吸込み口
28,29,30 底流
32,33 表流
34 渦
37 横渦防止板
38a スリット部
38b 延出部
39 正面渦防止板

Claims (10)

  1. 流路を開閉する扉体に複数の水中ポンプが設けられたポンプゲートに於いて、前記扉体が前記流路を閉鎖し前記水中ポンプの少なくとも1つが運転されている状態で発生する渦の、渦発生箇所の水面下方に渦が成長して形成される空気吸込み渦を遮断する様に横渦防止板が設けられたことを特徴とするポンプゲート。
  2. 前記横渦防止板は、前記水中ポンプと水中ポンプとの間に設けられた請求項1のポンプゲート。
  3. 前記横渦防止板は、水平又は略水平に設けられた請求項1のポンプゲート。
  4. 前記横渦防止板は、前記空気吸込み渦の発生範囲を横断する大きさを具備している請求項1のポンプゲート。
  5. 前記水中ポンプが上流端に吸込みベルを有し、該吸込みベルの軸心は上流に向って下方に傾斜し、下方に向う吸込み口が形成されると共に側面部が開放され、該側面部はコーナ部を有し、前記空気吸込み渦は前記コーナ部に向って成長する様にし、前記横渦防止板はコーナ部の上方で前記空気吸込み渦の発生範囲を横断する様になっている請求項1のポンプゲート。
  6. 吸込みベルの上流端は、該吸込みベルの最上部位より下方に位置すると共に前記横渦防止板は前記吸込みベルの最上部位よりも下方に設けられた請求項5のポンプゲート。
  7. 渦の発生する箇所の流れを攪乱する正面渦防止板が設けられた請求項1のポンプゲート。
  8. 前記正面渦防止板の水平に対する角度が0°〜90°の範囲である請求項7のポンプゲート。
  9. 前記正面渦防止板は、前記吸込みベル上面の傾斜方向に対して逆方向に傾斜している請求項8のポンプゲート。
  10. 流路を開閉する扉体に複数の水中ポンプが設けられたポンプゲートに於いて、該ポンプゲートの下流側の水位を検出する下流側水位計と、前記ポンプゲートの上流側の水位を検出する上流側水位計と、前記両水位計の検出水位に基づき前記水中ポンプを駆動する制御装置とを具備し、前記ポンプゲートの閉鎖状態で上流側の水位が下流側より低く、空気吸込み渦の発生する水位を越えた水位で前記水中ポンプが運転され、空気吸込み渦の発生する水位以下で前記水中ポンプが停止されることを特徴とするポンプゲートの運転方法。
JP2005068674A 2004-03-12 2005-03-11 ポンプゲート及びポンプゲートの運転方法 Pending JP2005290972A (ja)

Priority Applications (1)

Application Number Priority Date Filing Date Title
JP2005068674A JP2005290972A (ja) 2004-03-12 2005-03-11 ポンプゲート及びポンプゲートの運転方法

Applications Claiming Priority (2)

Application Number Priority Date Filing Date Title
JP2004071228 2004-03-12
JP2005068674A JP2005290972A (ja) 2004-03-12 2005-03-11 ポンプゲート及びポンプゲートの運転方法

Publications (1)

Publication Number Publication Date
JP2005290972A true JP2005290972A (ja) 2005-10-20

Family

ID=35324211

Family Applications (1)

Application Number Title Priority Date Filing Date
JP2005068674A Pending JP2005290972A (ja) 2004-03-12 2005-03-11 ポンプゲート及びポンプゲートの運転方法

Country Status (1)

Country Link
JP (1) JP2005290972A (ja)

Cited By (4)

* Cited by examiner, † Cited by third party
Publication number Priority date Publication date Assignee Title
WO2016178387A1 (ja) * 2015-05-01 2016-11-10 株式会社石垣 横軸水中ポンプ、及び、横軸水中ポンプに用いられる吸込カバー
JP2017172406A (ja) * 2016-03-22 2017-09-28 株式会社東芝 水力機械設備
CN111139800A (zh) * 2020-01-17 2020-05-12 华北水利水电大学 可调式消涡、整流装置及消涡整流方法
KR20200115062A (ko) * 2019-03-27 2020-10-07 가부시끼 가이샤 구보다 흡입 커버, 횡축 펌프, 펌프 게이트 및 펌프 게이트의 운전 방법

Cited By (13)

* Cited by examiner, † Cited by third party
Publication number Priority date Publication date Assignee Title
KR102004207B1 (ko) * 2015-05-01 2019-07-26 가부시키가이샤 이시가키 횡축수중펌프 및 횡축수중펌프에 사용되는 흡입커버
KR20170127007A (ko) * 2015-05-01 2017-11-20 가부시키가이샤 이시가키 횡축수중펌프 및 횡축수중펌프에 사용되는 흡입커버
CN107429701A (zh) * 2015-05-01 2017-12-01 株式会社石垣 横轴潜水泵及横轴潜水泵使用的吸入罩
JPWO2016178387A1 (ja) * 2015-05-01 2018-02-08 株式会社石垣 横軸水中ポンプ、及び、横軸水中ポンプに用いられる吸込カバー
CN107429701B (zh) * 2015-05-01 2019-02-01 株式会社石垣 横轴潜水泵及横轴潜水泵使用的吸入罩
WO2016178387A1 (ja) * 2015-05-01 2016-11-10 株式会社石垣 横軸水中ポンプ、及び、横軸水中ポンプに用いられる吸込カバー
JP2017172406A (ja) * 2016-03-22 2017-09-28 株式会社東芝 水力機械設備
KR20200115062A (ko) * 2019-03-27 2020-10-07 가부시끼 가이샤 구보다 흡입 커버, 횡축 펌프, 펌프 게이트 및 펌프 게이트의 운전 방법
CN111749930A (zh) * 2019-03-27 2020-10-09 株式会社久保田 吸入罩、横轴泵、泵闸门及泵闸门的运转方法
CN111749930B (zh) * 2019-03-27 2023-09-12 株式会社久保田 吸入罩、横轴泵、泵闸门及泵闸门的运转方法
KR102778822B1 (ko) * 2019-03-27 2025-03-12 가부시끼 가이샤 구보다 흡입 커버, 횡축 펌프, 펌프 게이트 및 펌프 게이트의 운전 방법
CN111139800A (zh) * 2020-01-17 2020-05-12 华北水利水电大学 可调式消涡、整流装置及消涡整流方法
CN111139800B (zh) * 2020-01-17 2024-03-12 华北水利水电大学 可调式消涡、整流装置及消涡整流方法

Similar Documents

Publication Publication Date Title
TWI704287B (zh) 橫軸沉水泵、以及用於橫軸沉水泵之吸入蓋
JP5318240B2 (ja) 吸込水槽
CN111749930B (zh) 吸入罩、横轴泵、泵闸门及泵闸门的运转方法
JP6953317B2 (ja) 渦抑制装置を備えたポンプ
JP2008175162A (ja) ポンプ装置及びポンプゲート装置
JP2005290972A (ja) ポンプゲート及びポンプゲートの運転方法
KR20160064314A (ko) 게이트 펌프장치
JP4690134B2 (ja) 立軸ポンプおよびポンプ機場
JP2006194100A (ja) 渦流防止装置
JP3998148B2 (ja) 横軸ポンプの吸込みカバー構造
JP4566852B2 (ja) 横軸ポンプ、ポンプゲート設備、排水機場
EP0501012A1 (en) Drainage pump
JP4657845B2 (ja) 横軸ポンプ
JP4628029B2 (ja) ポンプゲート用水中ポンプの整流部材
JPH05172084A (ja) 立軸ポンプ
JP2004360503A (ja) 横軸ポンプの吸込みカバー構造
JPS63189688A (ja) 複数立軸ポンプ運転設備
JP2001041200A (ja) 渦発生防止装置を備えるポンプ装置
JP2524872Y2 (ja) 全速待機運転ポンプ
JP4042375B2 (ja) 立軸ポンプの吸込水槽
JP6997641B2 (ja) 渦抑制装置を備えたポンプ
JP7178194B2 (ja) 吸込カバー、横軸ポンプおよびポンプゲート
JP2005002876A (ja) ポンプ設備
KR200318586Y1 (ko) 흐름안내깃을 갖는 고정식 환기장치
JP2003055946A (ja) 低吸込水位用横軸ポンプゲート

Legal Events

Date Code Title Description
A521 Written amendment

Effective date: 20060417

Free format text: JAPANESE INTERMEDIATE CODE: A821

A711 Notification of change in applicant

Free format text: JAPANESE INTERMEDIATE CODE: A711

Effective date: 20060417

RD02 Notification of acceptance of power of attorney

Free format text: JAPANESE INTERMEDIATE CODE: A7422

Effective date: 20060417

A521 Written amendment

Free format text: JAPANESE INTERMEDIATE CODE: A821

Effective date: 20060417

A521 Written amendment

Effective date: 20080110

Free format text: JAPANESE INTERMEDIATE CODE: A821

A621 Written request for application examination

Free format text: JAPANESE INTERMEDIATE CODE: A621

Effective date: 20080110

A977 Report on retrieval

Free format text: JAPANESE INTERMEDIATE CODE: A971007

Effective date: 20090824

A131 Notification of reasons for refusal

Effective date: 20090908

Free format text: JAPANESE INTERMEDIATE CODE: A131

A02 Decision of refusal

Effective date: 20100309

Free format text: JAPANESE INTERMEDIATE CODE: A02