JP2005290942A - 上下可動する水中膜 - Google Patents

上下可動する水中膜 Download PDF

Info

Publication number
JP2005290942A
JP2005290942A JP2004132197A JP2004132197A JP2005290942A JP 2005290942 A JP2005290942 A JP 2005290942A JP 2004132197 A JP2004132197 A JP 2004132197A JP 2004132197 A JP2004132197 A JP 2004132197A JP 2005290942 A JP2005290942 A JP 2005290942A
Authority
JP
Japan
Prior art keywords
underwater
float
ring
auxiliary
guide pole
Prior art date
Legal status (The legal status is an assumption and is not a legal conclusion. Google has not performed a legal analysis and makes no representation as to the accuracy of the status listed.)
Granted
Application number
JP2004132197A
Other languages
English (en)
Other versions
JP4714824B2 (ja
Inventor
Hitoshi Hatano
倫 波多野
Current Assignee (The listed assignees may be inaccurate. Google has not performed a legal analysis and makes no representation or warranty as to the accuracy of the list.)
Nihon Solid Co Ltd
Original Assignee
Nihon Solid Co Ltd
Priority date (The priority date is an assumption and is not a legal conclusion. Google has not performed a legal analysis and makes no representation as to the accuracy of the date listed.)
Filing date
Publication date
Application filed by Nihon Solid Co Ltd filed Critical Nihon Solid Co Ltd
Priority to JP2004132197A priority Critical patent/JP4714824B2/ja
Publication of JP2005290942A publication Critical patent/JP2005290942A/ja
Application granted granted Critical
Publication of JP4714824B2 publication Critical patent/JP4714824B2/ja
Anticipated expiration legal-status Critical
Expired - Lifetime legal-status Critical Current

Links

Images

Landscapes

  • Cleaning Or Clearing Of The Surface Of Open Water (AREA)

Abstract

【課題】本発明は、急激な水位上昇する場所においても上下動がスムーズに行えるかつ水中膜の傾斜のない上下可動可能な水中膜を提供することを目的とする。
【解決手段】 水中膜の上部近傍部の両端部に、水中膜に対してそれぞれ直角方向にアームを設け、該アームに補助フロートを設け、かつ前記水中膜の上部近傍部の両端部にリングを設け、該リングをガイドポールに挿通し、さらに該リングの下部に補助ブイをガイドポールに挿通して設け、前記該ガイドポールを壁面等に固定してなる、上下可動可能な水中膜。
【選択図】図3B

Description

発明の詳細な説明
本発明は、水位の変化により上下に可動可能な水中膜に関する。
従来、ポンプ所・取水口・沈砂池等に展張されている水位の変化により上下に可動するオイルフェンス1等は、オイルフェンスの上部近傍にリング2を設け、このリングを護岸等に設けられたガイドポール3に挿通して設置されていた(図1参照)。また他の方法として護岸等に設けられた中空管4を用い、該中空管に垂直にスリット状の切り欠き部5を設け、該中空管内を摺動可能なフロート状金具6をオイルフェンス1の両端部に設けた装置が知られている(図2参照)。
さらに、水中膜の上部近傍部の両端部に、水中膜に対してそれぞれ直角方向(二方向)にアームを設け、該アームに補助フロートを設け、かつ前記水中膜の上部近傍部の両端部にリングを設け、該リングを、ガイドポールに挿通し、該ガイドポールを護岸等に固定してなる装置が知られている。
しかしながら図1のような装置はリングの重みで長時間の間に水平位置が保たれずに垂れさがった状態になり、また水流により水中膜が傾斜することによってリングが斜めになることからガイドポールとの間に摩擦力が増大して結果的にリングがガイドポールに引っかかる状態となり、水位の変化によって水中膜が上下に可動することが不可能となる欠点があった。
また、図2のような装置はフロート状金具6の浮力を増す方法として、フロート状金具6を長くすることや径を大きくすることが上げられるが、フロート状金具6を長くすると金具の重量が大きくなり、その結果、浮力の増加が小さいことや、該中空管4内のフロート状金具6がつかえる状態となり、水位の変化によって水中膜が上下に可動することが不可能となる。フロート状金具6の径を大きくすると浮力は増加するが、該中空管4の径も大きくなり、高価格になる欠点があった。
そこで本発明者は、急激な水位上昇によっても水中膜に設けられたリングがガイドポールに引っかからず、水中膜が上下にスムーズに可動する水中膜について種々研究を重ねた結果本発明を完成するに至った。
すなわち、本発明は、水中膜の上部近傍部の両端部に、水中膜に対してそれぞれ直角方向にアームを設け、該アームに補助フロートを設け、かつ前記水中膜の上部近傍部の両端部にリングを設け、該リングをガイドポールに挿通し、さらに該リングの下部に補助ブイをガイドポールに挿通して設け、前記ガイドポールを壁面等に固定してなる、水位の変化によって上下に可動可能な水中膜である。
本発明方法によれば、水中膜は急激な水位上昇、また上下可動する場合にガイドポール3にリング18が引っかかることもなく水位の変化に応じてスムーズに上下動を行うことができる。
また使用する補助ブイは、既設のガイドポール等を改良することなく設置が可能で、補助ブイも安価である。
発明の実施するための最良の形態
次に本発明をさらに詳細に説明するために図面を参照しながら説明するが、本発明は以下の説明のみに限定されるものではない。
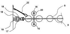
図3Bは、本発明に係る水中膜の一部を切り欠いた端部部分の側面図を示す。本発明の水中膜7は多数のフロート8をテンションゴムベルト9で挾着してフロート部10を構成し、このフロート部10の下部にカーテン11を一体に設ける。フロート部10の両端部(図3は左側部のみ)には取付金具12によって該フロート部を挾持するように設ける。
フロート部10に補助フロート体13を設ける。このフロート体13は、中心部にパイプ挿通口14を有し、そこにパイプ15を挿入する。このように構成したパイプ15の上、下端をL字状のアーム16の一端の直線部に一体に設け、そのL字状のアーム16の他端の屈曲部をテンションベルト9に例えばボルトナットで一体に設ける。
本発明の水中膜はその両端部の取付金具12にシャックル17を設け、このシャックル17にリング18を設け、このリング18の下部に補助ブイ19をガイドポール3に挿通して設ける。このように設けることによって補助ブイ19が常にリング18を水平状態で押し上げ、リング18の垂れ下がりを防止する。
本発明の水中膜はリング18の下部に補助ブイ19を設けることによって、リング18を水平に保ちガイドポール3とリング18との間の摩擦力を減らし、結果的にリング18がガイドポール3に引っかからずに、急激な水位上昇においても可動可能な水中膜とすることができる。
本発明の水中膜はシャックル17を鎖21によって取付金具12に連結することによってシャックル17の上下の変動を制御することができる。
本発明の水中膜は水面上の浮遊物を岸壁と水中膜の隙間からの流出を防止するために例えば移流フィン22を岸壁等に設ける。
尚、この移流フィン22は、水中膜7のフロート8の一部と常に接している構造で、硬質性のゴムと軟質性のゴムを組み合わせたものが良い。
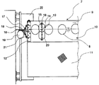
図3Bでは補助ブイ19を1個装着する場合を示したが、複数個を多段に装着することもできる。これらの補助ブイ19は球状、楕円状、円筒状それぞれ異なる形状のものも使用することができる。
図4では補助ブイ19は、護岸等に設けられた該中空管4内を摺動可能なフロート状金具6を挿入し、フロート状金具6の下部に置くこともできる。フロート状金具6の下部に補助ブイ19置くことでフロート状金具6の重量を増すことなく、浮力だけを増加することができ、既設の設備を変えることなく、安価に改良できる。
尚、取付金具12に補助フロート体13を設けてもよい。
図5では護岸等に移流フィン22を設け、水面上の浮遊物が該中空管4と摺動可能なフロート状金具6の隙間に入り込みを防止することで、水位の変化によって水中膜が上下に可動することとなる。
また、オイルフェンス1に補助フロート体13を設けてもよい。
従来の上下可動可能な水中膜の一部を示す側面図 従来の上下可動可能な水中膜における摺動部分を示した傾斜図 本発明の水中膜の一部を示した平面図 図3Aの取付金具の側面図 本発明の補助ブイを摺動部分に挿入した態様を示した傾斜図 本発明の補助ブイを摺動部分に挿入した他の態様を示した傾斜図
符号の説明
8・・・・・フロート
9・・・・・テンションゴムベルト
11・・・・・カーテン
18・・・・・リング
19・・・・・補助ブイ
20・・・・・補助フロート

Claims (1)

  1. 水中膜の上部近傍部の両端部に、水中膜に対してそれぞれ直角方向にアームを設け、該アームに補助フロートを設け、かつ前記水中膜の上部近傍部の両端部にリングを設け、該リングをガイドポールに挿通し、さらに該リングの下部に補助ブイをガイドポールに挿通して設け、前記該ガイドポールを壁面等に固定することを特徴とする上下可動可能な水中膜。
JP2004132197A 2004-03-31 2004-03-31 上下可動する水中膜の係留装置 Expired - Lifetime JP4714824B2 (ja)

Priority Applications (1)

Application Number Priority Date Filing Date Title
JP2004132197A JP4714824B2 (ja) 2004-03-31 2004-03-31 上下可動する水中膜の係留装置

Applications Claiming Priority (1)

Application Number Priority Date Filing Date Title
JP2004132197A JP4714824B2 (ja) 2004-03-31 2004-03-31 上下可動する水中膜の係留装置

Publications (2)

Publication Number Publication Date
JP2005290942A true JP2005290942A (ja) 2005-10-20
JP4714824B2 JP4714824B2 (ja) 2011-06-29

Family

ID=35324182

Family Applications (1)

Application Number Title Priority Date Filing Date
JP2004132197A Expired - Lifetime JP4714824B2 (ja) 2004-03-31 2004-03-31 上下可動する水中膜の係留装置

Country Status (1)

Country Link
JP (1) JP4714824B2 (ja)

Citations (9)

* Cited by examiner, † Cited by third party
Publication number Priority date Publication date Assignee Title
JPS4810840U (ja) * 1971-06-16 1973-02-07
JPS52140249U (ja) * 1976-04-20 1977-10-24
JPS53137475A (en) * 1977-05-06 1978-11-30 Eikou Sangiyou Kk Apparatus for collecting floating material
JPS5477528U (ja) * 1977-11-11 1979-06-01
JPS56116432U (ja) * 1980-02-08 1981-09-07
JPS63140865U (ja) * 1987-03-05 1988-09-16
JPH02243814A (ja) * 1989-03-16 1990-09-27 Sumitomo Rubber Ind Ltd 汚濁液拡散防止装置
JPH0813457A (ja) * 1994-06-29 1996-01-16 Masanobu Kodera 流出油収集装置
JP2002309564A (ja) * 2001-04-13 2002-10-23 Sumitomo Rubber Ind Ltd 汚濁防止膜

Patent Citations (9)

* Cited by examiner, † Cited by third party
Publication number Priority date Publication date Assignee Title
JPS4810840U (ja) * 1971-06-16 1973-02-07
JPS52140249U (ja) * 1976-04-20 1977-10-24
JPS53137475A (en) * 1977-05-06 1978-11-30 Eikou Sangiyou Kk Apparatus for collecting floating material
JPS5477528U (ja) * 1977-11-11 1979-06-01
JPS56116432U (ja) * 1980-02-08 1981-09-07
JPS63140865U (ja) * 1987-03-05 1988-09-16
JPH02243814A (ja) * 1989-03-16 1990-09-27 Sumitomo Rubber Ind Ltd 汚濁液拡散防止装置
JPH0813457A (ja) * 1994-06-29 1996-01-16 Masanobu Kodera 流出油収集装置
JP2002309564A (ja) * 2001-04-13 2002-10-23 Sumitomo Rubber Ind Ltd 汚濁防止膜

Also Published As

Publication number Publication date
JP4714824B2 (ja) 2011-06-29

Similar Documents

Publication Publication Date Title
WO2006073931B1 (en) Catenary line dynamic motion suppression
AU2019271729A1 (en) System and method for controlling a structure suspended in water
CN111762412A (zh) 一种桶及桶内的防晃装置
JP4714824B2 (ja) 上下可動する水中膜の係留装置
JP6966393B2 (ja) 係留システム
JP4716841B2 (ja) 水域の海水又は水の性状測定装置
US9341235B2 (en) Attachment flange for buoys and marine fenders
KR100542331B1 (ko) 수중 수평판을 구비한 부방파제
CN215794320U (zh) 系泊装置
JP2002218860A (ja) 養殖いけすの形状保持装置
KR101349860B1 (ko) 오일 언로딩 장치
CN102822421A (zh) 基础结构
JP5022321B2 (ja) 海水循環装置
JP4441609B2 (ja) 上下可動する水中膜
JPS62292587A (ja) 半潜水式海洋構造物の潜水浮力体
SU1314989A1 (ru) Устройство дл подъема глубинной воды в поверхностные слои водоема
KR102136490B1 (ko) 해수력 발전 장치
JP2660678B2 (ja) 浮遊式海水交流装置
JP2012132141A (ja) 柱状構造体及び柱状構造体の海底延伸方法
KR101629849B1 (ko) 해저 계류기기 회수장치
KR20160085984A (ko) 해상 구조물 계류용 장력유지장치
JP2020159167A (ja) 水生生物付着防止装置及び水生生物付着防止システム
JPS6349435Y2 (ja)
KR200301090Y1 (ko) 부력원반 이결합장착되어 유체상층수면에 유체유입구가유도되는 유체흐름유도관
CN209650485U (zh) 一种适用于软海底的海上平台

Legal Events

Date Code Title Description
A621 Written request for application examination

Free format text: JAPANESE INTERMEDIATE CODE: A621

Effective date: 20070222

A977 Report on retrieval

Free format text: JAPANESE INTERMEDIATE CODE: A971007

Effective date: 20100525

A131 Notification of reasons for refusal

Free format text: JAPANESE INTERMEDIATE CODE: A131

Effective date: 20100622

A521 Request for written amendment filed

Free format text: JAPANESE INTERMEDIATE CODE: A523

Effective date: 20100813

TRDD Decision of grant or rejection written
A01 Written decision to grant a patent or to grant a registration (utility model)

Free format text: JAPANESE INTERMEDIATE CODE: A01

Effective date: 20110222

A61 First payment of annual fees (during grant procedure)

Free format text: JAPANESE INTERMEDIATE CODE: A61

Effective date: 20110228

R150 Certificate of patent or registration of utility model

Ref document number: 4714824

Country of ref document: JP

Free format text: JAPANESE INTERMEDIATE CODE: R150

Free format text: JAPANESE INTERMEDIATE CODE: R150

FPAY Renewal fee payment (event date is renewal date of database)

Free format text: PAYMENT UNTIL: 20140408

Year of fee payment: 3

R250 Receipt of annual fees

Free format text: JAPANESE INTERMEDIATE CODE: R250

R250 Receipt of annual fees

Free format text: JAPANESE INTERMEDIATE CODE: R250

R250 Receipt of annual fees

Free format text: JAPANESE INTERMEDIATE CODE: R250

R250 Receipt of annual fees

Free format text: JAPANESE INTERMEDIATE CODE: R250

R250 Receipt of annual fees

Free format text: JAPANESE INTERMEDIATE CODE: R250

R250 Receipt of annual fees

Free format text: JAPANESE INTERMEDIATE CODE: R250

R250 Receipt of annual fees

Free format text: JAPANESE INTERMEDIATE CODE: R250

R250 Receipt of annual fees

Free format text: JAPANESE INTERMEDIATE CODE: R250

R250 Receipt of annual fees

Free format text: JAPANESE INTERMEDIATE CODE: R250

R250 Receipt of annual fees

Free format text: JAPANESE INTERMEDIATE CODE: R250

EXPY Cancellation because of completion of term