JP2005290920A - コンクリート造構造物の天端面にプレートを設置する工法 - Google Patents

コンクリート造構造物の天端面にプレートを設置する工法 Download PDF

Info

Publication number
JP2005290920A
JP2005290920A JP2004110811A JP2004110811A JP2005290920A JP 2005290920 A JP2005290920 A JP 2005290920A JP 2004110811 A JP2004110811 A JP 2004110811A JP 2004110811 A JP2004110811 A JP 2004110811A JP 2005290920 A JP2005290920 A JP 2005290920A
Authority
JP
Japan
Prior art keywords
concrete
plate
formwork
column
top end
Prior art date
Legal status (The legal status is an assumption and is not a legal conclusion. Google has not performed a legal analysis and makes no representation as to the accuracy of the status listed.)
Granted
Application number
JP2004110811A
Other languages
English (en)
Other versions
JP3878945B2 (ja
Inventor
Junichi Wada
純一 和田
Masayuki Kamimura
昌之 上村
Masato Uchiyama
真人 内山
Tadao Maeda
忠雄 前田
Moriji Yamamoto
守司 山本
Junichi Suga
淳一 菅
Current Assignee (The listed assignees may be inaccurate. Google has not performed a legal analysis and makes no representation or warranty as to the accuracy of the list.)
Takenaka Komuten Co Ltd
Original Assignee
Takenaka Komuten Co Ltd
Priority date (The priority date is an assumption and is not a legal conclusion. Google has not performed a legal analysis and makes no representation as to the accuracy of the date listed.)
Filing date
Publication date
Application filed by Takenaka Komuten Co Ltd filed Critical Takenaka Komuten Co Ltd
Priority to JP2004110811A priority Critical patent/JP3878945B2/ja
Publication of JP2005290920A publication Critical patent/JP2005290920A/ja
Application granted granted Critical
Publication of JP3878945B2 publication Critical patent/JP3878945B2/ja
Anticipated expiration legal-status Critical
Expired - Fee Related legal-status Critical Current

Links

Images

Landscapes

  • Foundations (AREA)
  • Joining Of Building Structures In Genera (AREA)
  • Forms Removed On Construction Sites Or Auxiliary Members Thereof (AREA)

Abstract

【課題】 鉄筋コンクリート造柱等のコンクリート造構造物の天端面に直接、プレートを、レベル出しを行って軽便に、構造的に一体化して設置する工法を提供する。
【解決手段】 コンクリート構造物の鉄骨や鉄筋を組み立て、コンクリート型枠を組み立てた後に、型枠の内側面にプレートの支持部材をレベル出しを行って取り付ける。型枠内にコンクリート打設を行い、コンクリートが硬化する以前に、下面にアンカー材を取り付けたプレートを支持部材の上に載置してコンクリートの天端へ打ち込み、コンクリートが硬化した後に型枠を解体、撤去する。
【選択図】
【図2】

Description

この発明は、各種のコンクリート構造物、例えば鉄筋コンクリート造柱又は鉄骨鉄筋コンクリート造柱(以下、単にコンクリート造柱と総称する場合がある。)の天端面へ鉄骨梁等を接合するため鋼製プレートを構造的に一体化して設置し、或いは鉄骨柱の下端(柱脚)のベースプレートを定着する露出型柱脚部の基礎コンクリート(以下、前記コンクリート造柱と共にコンクリート造構造物と総称する場合がある。)の天端面に前記ベースプレートを載置し固定するための鋼製プレート(アンカーボルトを含む。)を構造的に一体化して設置する技術の分野に属する。
例えば図6に例示したような平屋建物、又は低層建物の屋上部分などをできるだけ簡易に構築する施工法として、基礎コンクリート梁13へ下端を固定して片持ち形式に構築された鉄筋コンクリート造柱1…又は鉄骨鉄筋コンクリート造柱を建て、各コンクリート造柱1の天端面に、鋼製プレートをレベル出しをした上で構造的に一体化して設置し、鉄骨梁12を前記鋼製プレートの上に載せ架けて接合し、床組みや屋根を構築する工法が考えられる。しかし、現状のところコンクリート造柱1の天端面にレベル出しをした鋼製プレートを構造的に一体化して設置する工法は、具体的に見聞されない。図6中の符号14は前記基礎コンクリート梁13を支持する基礎杭である。
同様に、鉄骨柱下端(柱脚)のベースプレートを定着する周知の露出型柱脚部の柱脚基礎コンクリートの天端面に、前記ベースプレートを載置して固定するための鋼製プレート(アンカーボルトを含む。)を構造的に一体化して設置することも、従来行われていない。既往技術は、鉄骨柱下端のベースプレートを、基礎コンクリートの天端面に均しモルタルを敷いてその上に設置し、用意されたアンカーボルトとの締結を行っているに過ぎない。
その他、現場打ちのコンクリート造梁やコンクリートスラブなどの所謂コンクリート造構造物の天端面に、レベル出しをした鋼製プレートを構造的に一体化して設置する工法も、具体的に見聞されない。
例えば下記の特許文献1に開示された柱梁の接続構造は、鉄骨鉄筋コンクリート造柱と鉄骨梁とを接続する構成である。柱の鉄骨としてH形鋼を使用し、この柱用H形鋼の梁接合位置に所謂ブラケットが接合され、コンクリートを打設して鉄骨鉄筋コンクリート柱を完成した後に、コンクリート柱体から突き出された前記ブラケットに鉄骨梁が接続されている。
特許文献2に開示されたコンクリート製柱と鉄骨梁の接合部構造は、コンクリート製柱の梁位置に鉄骨梁を通す貫通孔を設け、同貫通孔に鉄骨梁を通した構成である。
次に、特許文献3には、複数本のアンカーボルトの上端部に、上下二重のダブルナットで位置決めプレート(添プレートとも言う)を取り付け、もって各アンカーボルトの位置を正確に確定したアンカーボルト定着体を捨てコンクリート上に設置し、基礎コンクリートを前記位置決めプレートの直下数cm程度のレベルまで打設し、各アンカーボルトの上端部(ネジ部)をコンクリート天端の上方へ露出させた構成が開示されている。
特許文献4には、上記のようにして基礎コンクリート中に埋設され上端部をコンクリート天端より上方へ露出させたアンカーボルトから位置決めプレート(添プレート)を撤去し、コンクリート天端面の中心部に基準モルタル層を敷き均し、鉄骨柱下端のベースプレートを前記基準モルタル層の上に載せてレベル出しを行い、各アンカーボルトへナットをねじ込んで仮固定を行い、更に前記基準モルタル層の周辺部へモルタル充填を行った後、前記ナットを本締めして鉄骨柱の定着を行う構成が開示されている。
特開平10−299170号公報 特開2002−276032号公報 特開平8−49306号公報 特開2000−345568号公報
上記したように、特許文献1、2に開示されたコンクリート製柱と鉄骨梁の接合部構造は、コンクリート製柱から鉄骨梁接合のための鉄骨製ブラケットを突き出させたり、梁貫通用の孔を設けるなどの特殊な工作や製法を実施することになるから、手間が掛かって施工性が悪く、高価でもある。
上記の特許文献3、4に開示された鉄骨柱下端の固定構造は、アンカーボルトを基礎コンクリート中へ埋設するために、位置決め用としてのアンカーボルト定着体を捨てコンクリート上へ設置するだけでなく、各アンカーボルトの位置を基礎コンクリートが打設されて硬化するまでの間正確に保持する位置決めプレートも使用される。のみならず、鉄骨柱下端のベースプレートを定着するためには、先ず前記位置決めプレートを撤去し、次に基礎コンクリートの天端面に基準モルタル層を敷き均し、その上に鉄骨柱下端のベースプレートを載せてレベル出しを行い、しかる後に各アンカーボルトへナットをねじ込んで仮固定を行い、更に前記基準モルタル層の周辺部へモルタル充填を行ってから、前記ナットを本締めして鉄骨柱の定着を行う工程が実施されるのであり、多くの手数と器具を必要とする。アンカーボルト定着体が高価であるばかりでなく、位置決めプレートの撤去にも時間がかかる。更に基礎コンクリートの天端面に基準モルタル層を敷き均し、その上に鉄骨柱下端のベースプレートを載せてレベル出しを行う作業には熟練した技術を要する。アンカーボルトへナットをねじ込んで仮固定を行い、更に前記基準モルタル層の周辺部へモルタル充填を行った後に、前記ナットを本締めするなど大変な手間と工数が掛かり、工期が長引くし、施工費も高い。
本発明の目的は、コンクリート造構造物、例えば鉄筋コンクリート造柱や鉄骨鉄筋コンクリート造柱などの天端面に直接、プレートを、レベル出しを行って軽便に、しかも構造的に一体化して設置する工法を提供することである。
本発明の次の目的は、鉄骨柱下端のベースプレートを固定する露出型柱脚部の柱脚基礎コンクリート、又は図6に示すような基礎コンクリート梁やスラブコンクリートの天端面に直接、プレートを、レベル出しを行って軽便に、しかも構造的に一体化して設置する工法を提供することである。
上述した従来技術の課題を解決するための手段として、請求項1に記載した発明に係るコンクリート造構造物の天端面にプレートを設置する工法は、
コンクリート造構造物の天端面に、プレートを、レベル出しを行って構造的に一体化し設置する工法であって、
コンクリート構造物の鉄骨や鉄筋を組み立て、コンクリート型枠を組み立てた後に、前記型枠の内側面にプレートの支持部材をレベル出しを行って取り付け、型枠内に所定レベルまでコンクリート打設を行い、前記コンクリートが硬化する以前に、下面にアンカー材を取り付けたプレートを前記支持部材の上に載置してコンクリートの天端へ打ち込み、コンクリートが硬化した後に型枠を解体、撤去することを特徴とする。
請求項2に記載した発明に係るコンクリート造構造物の天端面にプレートを設置する工法は、
コンクリート造柱の天端面に、プレートを、レベル出しを行って構造的に一体化し設置する工法であって、
鉄筋コンクリート造柱又は鉄骨鉄筋コンクリート造柱等の鉄骨や鉄筋を組み立て、柱型枠を組み立てた後に、前記柱型枠の内側面にプレートの支持部材をレベル出しを行って取り付け、型枠内に所定レベルまでコンクリート打設を行い、前記コンクリートが硬化する以前に、下面にアンカー材を取り付けたプレートを前記支持部材の上に載置してコンクリートの天端へ打ち込み、コンクリートが硬化した後に型枠を解体、撤去することを特徴とする。
請求項3に記載した発明に係るコンクリート造構造物の天端面にプレートを設置する工法は、
柱脚基礎コンクリートの天端面に、プレートを、レベル出しを行って構造的に一体化し設置する工法であって、
柱脚基礎の鉄筋を組み立て、型枠を組み立てた後に、前記型枠の内側面にプレートの支持部材をレベル出しを行って取り付け、型枠内に所定レベルまでコンクリート打設を行い、前記コンクリートが硬化する以前に、アンカーボルトを取り付けたプレートを前記支持部材の上に載置してコンクリートの天端へ打ち込み、コンクリートが硬化した後に型枠を解体、撤去することを特徴とする。
請求項4に記載した発明は、請求項1〜3のいずれか一に記載したコンクリート造構造物の天端面にプレートを設置する工法において、
プレートはコンクリート天端の空気抜き用孔を備えていることを特徴とする。
請求項5に記載した発明は、請求項2に記載したコンクリート造構造物の天端面にプレートを設置する工法において、
コンクリート造柱の型枠は、堰板と支保工、腹起こし材などを予め組み合わせてユニット化したシステム型枠であることを特徴とする。
本発明に係るコンクリート造構造物の天端面にプレートを設置する工法によれば、例えばコンクリート造柱1の構築に際して、同柱1の天端面に、プレート5を、レベル出しを行って構造的に一体化し設置するので、例えば図6のような平屋建物又は低層建物の屋上部分などを構成する鉄骨梁2は、単に隣り合うコンクリート造柱1、1の天端面へ載せ架けて渡し、プレート5との接触部分を溶接等の手段で接合することにより、簡単に迅速に建て方施工ができ、工期の短縮が図れるし、鉄骨梁2に格別の加工を必要としないので安価でもある。
本発明によればまた、柱脚基礎コンクリートの築造に際して、同柱脚基礎コンクリート11の天端面に、アンカーボルト15の位置決めを兼ねるプレート5を、レベル出しを行って構造的に一体化し設置するので、鉄骨柱下端(柱脚)のベースプレートは直接前記プレート5の上に載置し、ナットを締結する等の手段で簡単、迅速に鉄骨柱の建て方と定着施工ができ、工期の短縮が図れるし、既往のアンカーボルト支持具を必要としない分安価でもある。
本発明に係るコンクリート造構造物の天端面にプレートを設置する工法によれば、現場打ちのコンクリート造梁やスラブコンクリートその他のコンクリート造構造物の天端面に、必要に応じて、プレートをレベル出しを行って構造的に一体化し設置することができ、前記プレートを各種の用途に利用することができる。
本発明のプレート設置工法は、コンクリートを、プレート5の支持部材3の取付けレベルまで打設し、そのコンクリートが硬化する以前に、プレート5を、支持部材3の上に載置してコンクリート天端へ打ち込み設置するので、プレート5がコンクリート打設作業のじゃまにはならない。また、支持部材3の取付け位置を一方向へ傾けて取付けることにより、同支持部材3の上に載置して設置するプレート5を所定の方向へ傾けて設置することができ、プレート5の多様な用途を満たすことができる。
コンクリート造構造物(コンクリート造柱1等)の鉄筋6を組み立て、型枠2を組み立てた後に、前記型枠2の内側面にプレート5の支持部材3をレベル出しを行って取り付け、前記型枠2内へ所定レベルまでコンクリート打設を行う。前記コンクリートが硬化する以前に、下面にアンカー材(スタッドボルト7等)を取り付けたプレート5を前記支持部材3の上に載置してコンクリート天端へ打ち込み、前記コンクリートが硬化した後に型枠2を解体、撤去する。
図1と図2は、鉄筋コンクリート造柱1の現場打ちによる構築に際して、プレート5をレベル出しを行って構造的に一体化し設置する工法の実施例を示している。
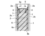
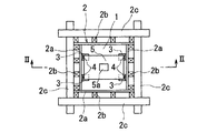
具体的には、鉄筋コンクリート造柱1の鉄筋6(主筋6a、フープ筋6b)の組み立てを行い、その外周に柱型枠2を組み立てる。次いで柱型枠2の堰板2aの内側面にレベル出しの墨付けを行い、前記墨付け位置にプレート5を支持する支持部材3を取り付ける。しかる後にコンクリートの打設を行い、およそ前記支持部材3の取り付け位置レベルへコンクリート天端が到達するまで充填する。この打設コンクリートが硬化する以前に、下面にスタッドボルト7を取り付けたプレート5を前記支持部材3の上に芯出しをして載置し、前記コンクリートの天端へ押し込むように打ち込む。したがって、プレート5がコンクリート打設作業のじゃまになることはない。その後、前記コンクリートが強度を発現し硬化した後に、柱型枠2の解体を行う。柱型枠2の解体を行う際に、前記支持部材3が邪魔な存在であれば、その撤去も行う。かくして図3に例示したように。、プレート5をレベル出しを行って天端面に構造的に一体化して設置したコンクリート造柱1が出来上がる。
上記の柱型枠2に、堰板2aと支保工2b及び腹起こし材2cなどを予め組み合わせてユニット化したシステム型枠を使用して実施すると、作業工数を省けて能率的である。プレートの支持部材3を取り付ける位置のレベル出しと墨付けは、測量器械を使用した公知の技法で行う。図1の場合、支持部材3は、プレート5の四隅を支持するように4個使用されている。図示した支持部材3はL形鋼材の加工品であることを示し、また、L形形状の支持部材3は、その垂直壁部を堰板2aの墨付け位置へ木ネジ4で締め付け固定した構成を示しているが、勿論、この形状、構造の限りではない。支持部材3にプレート5の四隅を載せて支持させることができれば良い。各支持部材3の取付け位置に所望の傾きを設定することにより、プレートを傾けて設置することができる。
プレート5には通例鋼板を使用するが、材質は用途に応じて選択される。プレート5は、中央部にコンクリート天端への密着性を良好ならしめる空気抜き孔5aを備えている。
上記の打設コンクリートが強度を発現し硬化した後に、柱型枠2の解体を行う。このとき同時に、前記支持部材3も用途上邪魔なものであれば撤去する。支持部材3の撤去は、木ネジ4を緩めて外し、柱型枠2を解体した後に、残存する支持部材3をプレート5から引き外す手法により行う。その結果、図3に例示したようにプレート5を天端面に一体的構造に設置したコンクリート造柱1が出来上がる。
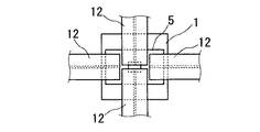
図4と図5は、上記のようにしてプレート5を天端面へ構造的に一体化して設置したコンクリート造柱1、1の上に鉄骨梁12を架け渡し、鉄骨梁12はプレート5との接触部分を溶接する等の手段で接合して、図6に示すような平屋建物を構築する手法を示す。プレート5は、上記したようにレベル出しを行っているので、このプレート5の上に載せ架けた鉄骨梁12は、そのまま直接プレート5と接合することで簡単、迅速に施工を進めることができる。しかも鉄骨梁12はプレート5と溶接で接合するかぎり、切断する程度の加工でよく、加工費を低減できる。
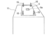
具体的に図示することは省略したが、鉄骨柱下端(柱脚)のベースプレートを定着する露出型柱脚部の基礎コンクリートの天端に、上記のプレート5をレベル出しを行って構造的に一体化し設置し使用することができる。
即ち、露出型柱脚部の柱脚基礎コンクリートの鉄筋を組み立て、型枠を組み立てた際に、同型枠の内側面にレベル出しの墨付けを行い、前記の墨付け位置に支持部材を取り付ける。しかる後に、コンクリート打設を行い、およそ前記支持部材の取り付け位置レベルまで充填する。そして、前記打設コンクリートが硬化する以前に、必要本数のアンカーボルトを鉄骨柱下端のベースプレートのボルト孔と同一の配置で取り付けると共にボルト上端部のネジ部をプレート5の上面から所要の高さ立ち上がらせて成るプレート5を、前記支持部材の上に芯出しをして載置し、前記コンクリートの天端へ打ち込むように設置する。打設コンクリートが強度を発現し硬化したあと、型枠を解体すると共に、前記支持部材が邪魔であれば撤去を行う。
かくして、図7に例示したように、露出型柱脚部の基礎コンクリート11の天端に、レベル出しをしたプレート5と共に、必要本数のアンカーボルト15を適正な配置で構造的に一体化して設置することができる。したがって、鉄骨柱下端(柱脚)のベースプレートは直接前記プレート5の上に載置し、そのままアンカーボルト15へナットをねじ込み本締めすることにより、定着を簡単、迅速に安価に行うことができる。
従って、アンカーボルト15を柱脚基礎コンクリート11中へ埋め込むためのアンカーボルト定着体や位置決めプレート(添プレート)は一切無用であるし、レベル出しのための均しモルタルを敷き込んだりレベル調整する手間も無用である。
その他、具体的に図示して説明することは省略したが、現場打ちのコンクリート梁やスラブコンクリートの天端へ、必要なプレートを、レベル出しをして構造的に一体化し設置することも、全く同様な工程で実施することができ、所要の用途、機能を達成することができる。
コンクリート造柱の天端面にプレートを一体的構造に打ち込む実施例を示した平面図である。 図1のII−II線矢視断面図である。 コンクリート造柱の天端面にプレートが一体的構造に打ち込まれた状態を示す斜視図である。 前記コンクリート造柱の天端面に鉄骨梁を架設し接合した状態の平面図である。 図4の垂直断面図である。 コンクリート造柱と鉄骨梁による平屋建物の軸組み図である。 柱脚基礎コンクリートの天端面にアンカーボルトと共にプレートが一体的構造に打ち込まれた状態を示す斜視図である。
符号の説明
1 コンクリート造柱
5 プレート
7 スタッドボルト
6 鉄筋
2 型枠
3 支持部材
5a 孔
2a 堰板
2b 支保工
2c 腹起こし材
15 アンカーボルト

Claims (5)

  1. コンクリート造構造物の天端面に、プレートを、レベル出しを行って構造的に一体化し設置する工法であって、
    コンクリート構造物の鉄骨や鉄筋を組み立て、コンクリート型枠を組み立てた後に、前記型枠の内側面にプレートの支持部材をレベル出しを行って取り付け、型枠内に所定レベルまでコンクリート打設を行い、前記コンクリートが硬化する以前に、下面にアンカー材を取り付けたプレートを前記支持部材の上に載置してコンクリートの天端へ打ち込み、コンクリートが硬化した後に型枠を解体、撤去することを特徴とする、コンクリート造構造物の天端面にプレートを設置する工法。
  2. コンクリート造柱の天端面に、プレートを、レベル出しを行って構造的に一体化し設置する工法であって、
    鉄筋コンクリート造柱又は鉄骨鉄筋コンクリート造柱等の鉄骨や鉄筋を組み立て、柱型枠を組み立てた後に、前記柱型枠の内側面にプレートの支持部材をレベル出しを行って取り付け、型枠内に所定レベルまでコンクリート打設を行い、前記コンクリートが硬化する以前に、下面にアンカー材を取り付けたプレートを前記支持部材の上に載置してコンクリートの天端へ打ち込み、コンクリートが硬化した後に型枠を解体、撤去することを特徴とする、コンクリート造構造物の天端面にプレートを設置する工法。
  3. 柱脚基礎コンクリートの天端面に、プレートを、レベル出しを行って構造的に一体化し設置する工法であって、
    柱脚基礎の鉄筋を組み立て、型枠を組み立てた後に、前記型枠の内側面にプレートの支持部材をレベル出しを行って取り付け、型枠内に所定レベルまでコンクリート打設を行い、前記コンクリートが硬化する以前に、アンカーボルトを取り付けたプレートを前記支持部材の上に載置してコンクリートの天端へ打ち込み、コンクリートが硬化した後に型枠を解体、撤去することを特徴とする、コンクリート造構造物の天端面にプレートを設置する工法。
  4. プレートはコンクリート天端の空気抜き用孔を備えていることを特徴とする、請求項1〜3のいずれか一に記載したコンクリート造構造物の天端面にプレートを設置する工法。
  5. コンクリート造柱の型枠は、堰板と支保工、腹起こし材などを予め組み合わせてユニット化したシステム型枠であることを特徴とする、請求項2に記載したコンクリート造構造物の天端面にプレートを設置する工法。
JP2004110811A 2004-04-05 2004-04-05 コンクリート造柱又は柱脚基礎コンクリートの天端面にプレートを設置する工法 Expired - Fee Related JP3878945B2 (ja)

Priority Applications (1)

Application Number Priority Date Filing Date Title
JP2004110811A JP3878945B2 (ja) 2004-04-05 2004-04-05 コンクリート造柱又は柱脚基礎コンクリートの天端面にプレートを設置する工法

Applications Claiming Priority (1)

Application Number Priority Date Filing Date Title
JP2004110811A JP3878945B2 (ja) 2004-04-05 2004-04-05 コンクリート造柱又は柱脚基礎コンクリートの天端面にプレートを設置する工法

Publications (2)

Publication Number Publication Date
JP2005290920A true JP2005290920A (ja) 2005-10-20
JP3878945B2 JP3878945B2 (ja) 2007-02-07

Family

ID=35324160

Family Applications (1)

Application Number Title Priority Date Filing Date
JP2004110811A Expired - Fee Related JP3878945B2 (ja) 2004-04-05 2004-04-05 コンクリート造柱又は柱脚基礎コンクリートの天端面にプレートを設置する工法

Country Status (1)

Country Link
JP (1) JP3878945B2 (ja)

Cited By (3)

* Cited by examiner, † Cited by third party
Publication number Priority date Publication date Assignee Title
JP2020066910A (ja) * 2018-10-24 2020-04-30 株式会社竹中工務店 ピット構造及びそれの構築方法
CN111195977A (zh) * 2020-02-18 2020-05-26 山西三建集团有限公司 混凝土结构飘窗框架板整体浇筑内模板体系及其安拆方法
CN113684921A (zh) * 2020-05-19 2021-11-23 黑龙江工业学院 一种螺栓连接预制混凝土框架结构

Cited By (4)

* Cited by examiner, † Cited by third party
Publication number Priority date Publication date Assignee Title
JP2020066910A (ja) * 2018-10-24 2020-04-30 株式会社竹中工務店 ピット構造及びそれの構築方法
JP7093714B2 (ja) 2018-10-24 2022-06-30 株式会社竹中工務店 ピット構造及びそれの構築方法
CN111195977A (zh) * 2020-02-18 2020-05-26 山西三建集团有限公司 混凝土结构飘窗框架板整体浇筑内模板体系及其安拆方法
CN113684921A (zh) * 2020-05-19 2021-11-23 黑龙江工业学院 一种螺栓连接预制混凝土框架结构

Also Published As

Publication number Publication date
JP3878945B2 (ja) 2007-02-07

Similar Documents

Publication Publication Date Title
JPH11181795A (ja) 機械基礎
JP6046984B2 (ja) 免震基礎の施工方法及びプレキャストコンクリートフーチング
JP3878945B2 (ja) コンクリート造柱又は柱脚基礎コンクリートの天端面にプレートを設置する工法
JP4625692B2 (ja) 積層ゴム支承による免震構造物の建築構法
JP4416141B2 (ja) 免震装置の設置方法
JP2008081980A (ja) アンカーボルトの位置出し治具
JP2006322154A (ja) 建築物の基礎構築工法
JP3072294B1 (ja) 中空PCa部材製造用型枠装置
JP2000129953A (ja) 免震装置の基礎への取付け工法
JP2021038614A (ja) 機器設置用架台の施工方法および機器設置用架台並びに基礎ボルト設置用テンプレート
JP4872301B2 (ja) Rc構造体の構築工法
JP2000226938A (ja) 既設構築物の耐震改修方法
JP5291643B2 (ja) 壁の構築方法
JP2020176479A (ja) バルコニー床のプレキャスト施工方法
JP2006022510A (ja) シース管を用いた柱脚用アンカーボルト定着装置
JP2025082502A (ja) 建物の建築方法及び建物
JP7165548B2 (ja) 免震基礎構造およびその構築方法
JP2002364139A (ja) 鉄骨階段取付金物及び取付け装置並びに取付け方法
JPH06272378A (ja) プレキャストコンクリート型枠の支持構造
JP2000120076A (ja) 鉄骨構造物の基礎構造およびその施工方法
JP2007040012A (ja) 鉄筋コンクリート柱と梁接合部材との接合方法
JPH11125007A (ja) コンクリート型枠用支持具
JP2019056282A (ja) 脚状部支持構造およびその作製方法
JPH0333327A (ja) 布基礎の構造
JP2021105272A (ja) プレキャスト床版の施工方法

Legal Events

Date Code Title Description
A977 Report on retrieval

Free format text: JAPANESE INTERMEDIATE CODE: A971007

Effective date: 20060525

A131 Notification of reasons for refusal

Free format text: JAPANESE INTERMEDIATE CODE: A131

Effective date: 20060606

A521 Written amendment

Free format text: JAPANESE INTERMEDIATE CODE: A523

Effective date: 20060802

TRDD Decision of grant or rejection written
A01 Written decision to grant a patent or to grant a registration (utility model)

Free format text: JAPANESE INTERMEDIATE CODE: A01

Effective date: 20061010

A61 First payment of annual fees (during grant procedure)

Free format text: JAPANESE INTERMEDIATE CODE: A61

Effective date: 20061106

R150 Certificate of patent or registration of utility model

Free format text: JAPANESE INTERMEDIATE CODE: R150

FPAY Renewal fee payment (event date is renewal date of database)

Free format text: PAYMENT UNTIL: 20101110

Year of fee payment: 4

FPAY Renewal fee payment (event date is renewal date of database)

Free format text: PAYMENT UNTIL: 20111110

Year of fee payment: 5

FPAY Renewal fee payment (event date is renewal date of database)

Free format text: PAYMENT UNTIL: 20121110

Year of fee payment: 6

FPAY Renewal fee payment (event date is renewal date of database)

Free format text: PAYMENT UNTIL: 20131110

Year of fee payment: 7

LAPS Cancellation because of no payment of annual fees