JP2005290854A - アンカー - Google Patents

アンカー Download PDF

Info

Publication number
JP2005290854A
JP2005290854A JP2004107713A JP2004107713A JP2005290854A JP 2005290854 A JP2005290854 A JP 2005290854A JP 2004107713 A JP2004107713 A JP 2004107713A JP 2004107713 A JP2004107713 A JP 2004107713A JP 2005290854 A JP2005290854 A JP 2005290854A
Authority
JP
Japan
Prior art keywords
anchor
core rod
hole
head
driving
Prior art date
Legal status (The legal status is an assumption and is not a legal conclusion. Google has not performed a legal analysis and makes no representation as to the accuracy of the status listed.)
Granted
Application number
JP2004107713A
Other languages
English (en)
Other versions
JP4511863B2 (ja
Inventor
Shigeki Iwabuchi
茂樹 岩渕
Current Assignee (The listed assignees may be inaccurate. Google has not performed a legal analysis and makes no representation or warranty as to the accuracy of the list.)
SankoTechno Co Ltd
Original Assignee
SankoTechno Co Ltd
Priority date (The priority date is an assumption and is not a legal conclusion. Google has not performed a legal analysis and makes no representation as to the accuracy of the date listed.)
Filing date
Publication date
Application filed by SankoTechno Co Ltd filed Critical SankoTechno Co Ltd
Priority to JP2004107713A priority Critical patent/JP4511863B2/ja
Publication of JP2005290854A publication Critical patent/JP2005290854A/ja
Application granted granted Critical
Publication of JP4511863B2 publication Critical patent/JP4511863B2/ja
Anticipated expiration legal-status Critical
Expired - Fee Related legal-status Critical Current

Links

Images

Landscapes

  • Joining Of Building Structures In Genera (AREA)

Abstract

【課題】 コンクリート躯体等の母材への施工と同時に母材に対する器物の固定を実現でき、しかも、施工後に、器物の取り外し、再固定を簡単に行える芯棒打ち込み式アンカーを提供する。
【解決手段】 本発明に係るアンカー1は、中空筒状のアンカー本体2と、このアンカー本体2の後端部22に離脱可能に螺着される螺着頭部3と、前記アンカー本体2の前記貫通孔21内に収納された芯棒4とを有し、前記螺着頭部3に貫通されている打ち込み棒挿通孔31から貫通孔21内への打ち込み棒5の打ち込みによって前記芯棒4がアンカー本体2の拡張部25を拡張するようになっていることを特徴とする。
【選択図】 図2

Description

本発明は、アンカーに関し、特に、コンクリート躯体等の躯体(母材)に対する器物の固定に使用する芯棒打ち込み式のアンカーに関する。
従来、コンクリート等の躯体に穿孔された下孔に挿入し、先端部(拡張部)を拡張させることにより前記躯体に固着されるとともに、躯体への器物の固定に用いられるアンカーとしては、例えば特許文献1、2に記載されたものがある。
特許文献1に記載のアンカーは、芯棒打ち込み式金属拡張アンカーであって、アンカー本体と、このアンカー本体内の孔に打ち込まれる芯棒とからなり、アンカー本体には、コンクリート躯体等の母材に対して打ち込んだときに、躯体との間に器物を押さえ込んで固定する鍔状の頭部が設けられている。
特許文献2に記載のアンカーは、内部コーン打ち込み式金属拡張アンカーであって、躯体の下孔に筒状のアンカー本体を挿入した後、このアンカー本体の先端内部に収納した内部コーンを打ち込むことで、躯体に固定されるようになっている。また、アンカー本体の基端部には雌ねじ部が形成されており、この雌ねじ部に六角ボルトや皿頭ボルト等を螺着して、これらボルトの頭部によって器物を躯体に押さえ込むようにして固定する。
特許第2888553号公報 特許第2785970号公報
しかしながら、上述した特許文献1、2記載のようなアンカーには、以下のような問題点があった。
特許文献1記載のアンカーは、施工後に、器物を取り外すことが困難であるといった問題がある。躯体に施工すると同時に器物を固定できる構造であるが、施工後に器物を取り外すには、アンカー全体を一括して引き抜くか、又は、芯棒を抜き取ってからアンカー本体を抜き取ることとなる。
特許文献2記載のアンカーは、内部コーン打ち込み式のアンカーであるため、器物の固定に最低でも下記の4工程が必要となり、施工に手間が掛かるといった不満がある。
(1)躯体に下孔を穿孔する。
(2)穿孔した下孔の清掃
(3)下孔内にアンカーを挿入した後、専用の打ち込み棒を使用して、内部コーンを打ち込み、アンカー先端部を拡張させる。
(4)頭付きのボルト(六角頭、皿頭、なべ形頭等)をアンカー本体の雌ねじ部に螺着して器物を押さえ込む。
このアンカーの場合、アンカーを打ち込んだ時点(上記(3)の工程)で施工完了にならず、工程数が多いといった不満がある。
本発明は、前記事情に鑑みてなされたものであって、コンクリート躯体等の母材への施工と同時に母材に対する器物の固定を実現でき、しかも、施工後に、器物の取り外し、再固定を簡単に行える芯棒打ち込み式のアンカーを提供することを課題とする。
上記目的を達成するために、この発明は以下の手段を提案している。
本発明では、長手方向に貫通した先細りの貫通孔を有する中空筒状のアンカー本体と、このアンカー本体の後端部に離脱可能に螺着される螺着頭部と、前記アンカー本体の前記貫通孔内に収納され、前記アンカー本体の後端部に螺着された前記螺着頭部を貫通する打ち込み棒挿通孔から前記貫通孔に挿入される打ち込み棒の打ち込みによって前記アンカー本体の先端部の割り溝付きの拡張部を拡張する芯棒とを具備し、前記螺着頭部は、前記アンカー本体の後端部に螺着されるスリーブ状のねじ部と、このねじ部の側部に突出する形状に形成された器物押さえ部とを具備することを特徴とするアンカーを前記課題の解決手段とした。
このアンカーでは、前記螺着頭部が、前記芯棒の前記拡張部側に配置されている先端部とは逆の後端部が突き当てられることで前記アンカー本体の前記貫通孔から前記芯棒が抜け出ることを規制する芯棒用ストッパとして機能するようになっている構成も採用可能である。この構成では、アンカーの搬送時などに、芯棒がアンカー本体の貫通孔から抜け出てしまうことを防止できるといった利点がある。また、上向き施工などにおける施工作業性を向上できるといった利点もある。
また、このアンカーでは、前記螺着頭部が、前記打ち込み棒の側部に張り出すように形成されている当接部と当接されることで、前記アンカー本体への前記打ち込み棒の打ち込み限界深さを決める打ち込み棒用ストッパとして機能する構成も採用可能である。
また、前記芯棒の前記拡張部側に配置されている先端部とは逆の後端部には、該芯棒の側部に張り出した形状の頭部が形成されており、前記貫通孔内に、前記芯棒の頭部が当接されることで、該芯棒の打ち込み限界深さを決める段部が形成されている構成も採用可能である。
本発明のアンカー(芯棒打ち込み式アンカー)は、コンクリート躯体等の母材に打ち込むと同時に、アンカー本体の後端部に螺着しておいた螺着頭部の器物押さえ部によって器物を母材との間に押さえ込むようにして固定できる。したがい、器物の固定に係る工程数が非常に少なくて済む。また、施工後、螺着頭部を回転してアンカー本体の後端部から離脱することで、簡単に、器物を取り外すことができる。
本発明の一実施の形態を添付図面に基づき説明する。
図1は、本発明のアンカー(芯棒打ち込み式アンカー)を示す部分断面側面図、図2は図1に示すアンカーの施工状態を示す拡大断面図である。
図1、図2に示すように、本発明に係るアンカー1は、長手方向に貫通した先細りの貫通孔21を有する中空筒状(具体的には円筒状)のアンカー本体2と、このアンカー本体2の後端部22に離脱可能に螺着される螺着頭部3と、前記アンカー本体2の前記貫通孔21内に収納された芯棒4とを有して構成されている。アンカー本体2と、螺着頭部3と、芯棒4とは、ここでは金属製の部材であるが、金属に限定されず、金属以外の材料で構わない(但し、芯棒4の形成材料は硬質のものを採用する)。
アンカー本体2の先端部23には、割り溝24付きの拡張部25が形成されている。
この拡張部25は、アンカー本体2の後端部22に螺着しておいた螺着頭部3に貫通形成されている打ち込み棒挿通孔31からアンカー本体2の貫通孔21内に挿入される打ち込み棒5の打ち込みよって、この打ち込み棒5に押圧された前記芯棒4が該芯棒4先端の尖鋭部42から前記貫通孔21の細部21c(後述)に押し込まれていくことで、芯棒4によって押し開かれるようにして拡張される。
前記貫通孔21は、アンカー本体2の後端側22の太部21aと、アンカー本体2の先端部23側に形成された細部21cと、前記太部21aと細部21cとの間に形成された芯棒ガイド部21bとを有している。芯棒ガイド部21bは太部21aよりも細く、細部21cは芯棒ガイド部21bよりも細い。また、細部21cの断面形状は、芯棒4の軸部41(後述)よりも細くなっている。図示例のアンカー1では、太部21a、芯棒ガイド部21b、細部21cは、いずれも断面円形の孔であり、また、芯棒4の軸部41も断面円形である。太部21a、芯棒ガイド部21b、細部21cの太さの違いは内径の違いであり、また、芯棒4の太さは芯棒4の軸部41の外径を指す。
芯棒ガイド部21bは、内壁面によって、打ち込み棒5の打ち込みに伴う芯棒4(具体的には軸部41)の移動をガイドする機能を果たす部分であり、内壁面によってピン状の芯棒4を傾斜させることなくガイドする。
細部21cは、アンカー本体2の先端面26側に行くほど細くなる概略テーパ状の形状に形成されている。この細部21cは、丁度、アンカー本体2において拡張部25に対応する先端部23に形成されており、打ち込み棒5の打ち込みによって芯棒4が進入してくることで、拡張部25の拡張を円滑に行えるようにする。
芯棒4は、先端に尖鋭部42が形成されているピン状の軸部41と、この軸部42の前記尖鋭部41とは逆側の端部(後端部)に形成されている頭部43とを有している。頭部43は、軸部42の側面に張り出す大きさに形成されており、貫通孔21の太部21aに収納されている。貫通孔21の太部21aは、芯棒4が貫通孔21の長手方向に移動したときに頭部43の移動を拘束しない大きさ(太さ)に形成されている。この芯棒4は、アンカー本体2の後端部22における貫通孔21(具体的には太部21a)の開口部から貫通孔21内に挿入して(但し、螺着頭部3は離脱しておいた状態とする)、アンカー本体2内に組み込むことができる。
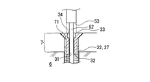
前記螺着頭部3は、前記アンカー本体2の後端部22に螺着されるスリーブ状のねじ部32と、このねじ部32の側部に突出する形状に形成された器物押さえ部33とを具備している。また、スリーブ状のねじ部32の内側は、螺着頭部3を貫通する打ち込み棒挿通孔31であり、螺着頭部3は全体としてスリーブ状に形成されている。
前記ねじ部32は、アンカー本体2の後端部22に形成された雌ねじ部27内にねじ込むことでアンカー本体2に螺着される雄ネジ形状になっている。また、螺着頭部3は、前記ねじ部32を前記雌ねじ部27にねじ込む時とは逆向きに回転操作すると、アンカー本体2から離脱することができる。
なお、図示例の器物押さえ部33は、スリーブ状のねじ部32の軸方向片端に形成された皿形の頭部になっているが、これに限定されず、例えば、六角、四角等の多角形状の頭部や、鍋形の頭部などであっても良く、さらに、ねじ部32の側面に張り出すように突出された板状部などであっても良い。
符号34は、螺着頭部3の回転操作用の回転操作部として機能する工具穴であるが、回転操作部としては、工具穴に限定されず、例えば、器物押さえ部33として、前述した六角、四角等の多角形状の頭部を採用した場合は、この頭部(器物押さえ部)自体を回転操作部として機能させることができる。
螺着頭部3の打ち込み棒挿通孔31は、芯棒4の頭部43(後端部)が通過できない大きさであるため、アンカー本体2の雌ねじ部27に螺着頭部3を螺着した状態では、アンカー本体2の貫通孔21内に収納されている芯棒4が貫通孔21から抜け出すことが防止される。この点、螺着頭部3は、アンカー本体2の前記貫通孔21から前記芯棒4が抜け出ることを規制する芯棒用ストッパとして機能する。この構成では、アンカー1の搬送時などに、芯棒4がアンカー本体2の貫通孔21から抜け出てしまうことを防止できるといった利点がある。また、上向き施工などにおいても、芯棒4がアンカー本体2の貫通孔21から抜け出てしまうことを防止できることから、施工作業性を向上できるといった利点がある。
このアンカー1を用いてコンクリート躯体等の母材6に器物7を固定するには(図2参照)、まず、貫通孔21内に芯棒4を収納し、アンカー本体2の後端部22に螺着頭部3を螺着してアンカー1を組み立て、このアンカー1を、母材6表面に仮置きした器物7に貫通されている貫通孔71と、コンクリート躯体等の母材6に穿設しておいた下孔61とに、先端部23側から挿入する。この際、螺着頭部3の器物押さえ部33を、器物7に押し当てるようにする。なお、下孔61は、器物押さえ部33を器物7に押し当てたときに、アンカー1の先端部23と該下孔61の最深部62との間に隙間が確保されるように、深めに形成しておく。また、アンカー1の挿入前に下孔61内の清掃を行っておく。また、母材6への下孔61の穿設は、母材6表面に仮置きした器物7の貫通孔71上から、電動ドリル等の工具を用いて行うことが好ましい。
次に、前記アンカー本体3の後端部22に螺着しておいた前記螺着頭部3の打ち込み棒挿通孔31からアンカー本体2の貫通孔21内に挿入した打ち込み棒5をハンマー等の工具で打ち込んで、アンカー本体2の先端部23の拡張部25を拡張する。これにより、アンカー1が母材6に固定されるとともに、器物押さえ部33によって器物7が母材6に押さえ込まれるようにして固定され、施工が完了する。なお、アンカー本体2の貫通孔21内に打ち込まれる打ち込み棒5は、螺着頭部3の打ち込み棒挿通孔31にガイドされることで、芯棒4に位置決めされるため、打ち込み力を芯棒4に対して確実に作用させることができる。
施工が完了したら、打ち込み棒5はアンカー本体2から引き抜いて撤去する。
なお、図2では、アンカー本体2全体を下孔61に収納した施工状態を例示しているが、例えば、図3に示すように、アンカー本体2の後端部22を下孔61から突出させ、器物7の貫通孔71内に挿入しておくことも可能である。図3の場合は、アンカー1の剪断耐力の確保に有効である。
このアンカー1によれば、施工後に、螺着頭部3を、前記ねじ部32を前記雌ねじ部27にねじ込む時とは逆向きに回転操作してアンカー本体2から離脱することで、器物7の固定状態を解除できる。また、アンカー本体2の雌ねじ部27に対する螺着頭部3の脱着によって、取り外した器物の再固定、固定する器物の交換なども、極めて容易に行える。また、アンカー本体2の後端部22側に突出する螺着頭部3の器物押さえ部33によって器物7を押さえ込むようにして固定する構造であれば、アンカー本体2の露出を避けることができるので、美観の点で好ましい。
また、このアンカー1によれば、螺着頭部3のねじ部32の、アンカー本体2の後端部22の雌ねじ部27に対するねじ込み量(ねじ込み深さd)を調整することで、器物7のサイズに対応できるといった利点もある。図2(a)は、ねじ込み深さdが大きい場合(ねじ込み深さd1)、図2(b)は、ねじ込み深さdが図2(a)のd1よりも小さい場合(ねじ込み深さd2)であり、図2(b)の場合の方が図2(a)の場合に比べて貫通孔71長手方向のサイズが大きい器物7の固定に対応できる。
また、螺着頭部3のねじ部32の、アンカー本体2の雌ねじ部27に対するねじ込み深さdを調整した場合でも、打ち込み棒5の頭部51が、螺着頭部3に当接することで、打ち込み棒5の打ち込みによる施工完了を確認できる。
前記打ち込み棒5は、前記頭部51から、螺着頭部3の打ち込み棒挿通孔31及びアンカー本体2の貫通孔21に挿入できる細径部52が延出している構造であり、細径部52と、この細径部52よりも太い頭部51との間の段部53が、アンカー本体2に螺着されている螺着頭部3に当接されることで、それ以上の打ち込みが規制される。螺着頭部3は、アンカー本体2への前記打ち込み棒5の打ち込み限界深さを決める打ち込み棒用ストッパとして機能するとともに、打ち込み棒5の打ち込み量が母材6に対するアンカー1の固定力を充分に発現できるところに達したことを確認するための施工確認用ストッパとして機能する。打ち込み棒5の段部53が螺着頭部3に当接するところまで打ち込み棒5を打ち込むことで、拡張部25の拡張が過不足無くなされる。
なお、打ち込み棒5の頭部51は、アンカー本体2に螺着されている螺着頭部3に当接される当接部として機能するものであるが、当接部としては、打ち込み棒5の側部に張り出すように設けられているものであれば良く、頭部51に限定されず、例えば、フランジ状、舌片状等に形成された突片等であっても良い。
また、このアンカー1によれば、打ち込み棒5の打ち込みによってアンカー本体2の先端側(先端面26の側)に移動する芯棒4は、該芯棒4の頭部43が、アンカー本体2の貫通孔21の太部21aと芯棒ガイド部21bとの間の段部21dに当接することで、それ以上の芯棒4の押し込みが規制される。このため、このアンカー1では、芯棒4の押し込み過ぎによる拡張部25からの芯棒4の抜け等の不都合を防止できる。
なお、このアンカー1では、螺着頭部3が、アンカー本体2への前記打ち込み棒5の打ち込み限界深さを決める打ち込み棒用ストッパとして機能することから、芯棒4には、必ずしも頭部43を形成する必要はなく、芯棒として、頭部43の形成を省略したもの(すなわち、軸部41のみの構成)を採用することも可能である。また、この場合は、アンカー本体2の貫通孔として、太部、芯棒ガイド部、細部を有する構造のものである必要は無く、少なくとも芯棒ガイド部と細部とを有する構造のものであれば良い。
本発明において芯棒の長さは、打ち込みによって、拡張部を所望の固定力を発現できるように拡張でき、かつ、全長がアンカー本体2の貫通孔21内に収納されてアンカー本体2に内蔵される範囲で、適宜設定可能である。
本アンカーの適用対象となる母材としては、コンクリート躯体に限定されず、例えばレンガ躯体や、ALC、樹脂等からなる躯体なども対象となる。
本発明のアンカーを示す図であって、(a)は部分断面側面図、(b)は螺着頭部側から見た図である。 (a)、(b)は図1に示すアンカーの施工状態を示す図である。 図1のアンカーの施工状態を示す図であって、アンカー本体の後端部の一部を、器物の貫通孔に入り込ませた場合を示す。
符号の説明
1…アンカー、2…アンカー本体、3…螺着頭部、4…芯棒、5…打ち込み棒、6…母材、7…器物、21…貫通孔、21a…太部、21b…芯棒ガイド部、21c…細部、21d…段部、22…(アンカー本体の)後端部、23…(アンカー本体の)先端部、24…割り溝、25…拡張部、26…(アンカー本体の)先端面、27…雌ねじ部、31…打ち込み棒挿通孔、32…ねじ部、33…器物押さえ部、34…工具穴、41…軸部、42…尖鋭部、43…頭部、51…頭部、52…細径部、53…段部、61…下孔、62…最深部、71…貫通孔。

Claims (4)

  1. 長手方向に貫通した先細りの貫通孔を有する中空筒状のアンカー本体と、
    このアンカー本体の後端部に離脱可能に螺着される螺着頭部と、
    前記アンカー本体の前記貫通孔内に収納され、前記アンカー本体の後端部に螺着された前記螺着頭部を貫通する打ち込み棒挿通孔から前記貫通孔に挿入される打ち込み棒の打ち込みによって前記アンカー本体の先端部の割り溝付きの拡張部を拡張する芯棒
    とを具備し、
    前記螺着頭部は、前記アンカー本体の後端部に螺着されるスリーブ状のねじ部と、このねじ部の側部に突出する形状に形成された器物押さえ部とを具備することを特徴とするアンカー。
  2. 前記螺着頭部が、前記芯棒の前記拡張部側に配置されている先端部とは逆の後端部が突き当てられることで前記アンカー本体の前記貫通孔から前記芯棒が抜け出ることを規制する芯棒用ストッパとして機能するようになっていることを特徴とする請求項1記載のアンカー。
  3. 前記螺着頭部が、前記打ち込み棒の側部に張り出すように形成されている当接部と当接されることで、前記アンカー本体への前記打ち込み棒の打ち込み限界深さを決める打ち込み棒用ストッパとして機能することを特徴とする請求項1又は2記載のアンカー。
  4. 前記芯棒の前記拡張部側に配置されている先端部とは逆の後端部には、該芯棒の側部に張り出した形状の頭部が形成されており、
    前記貫通孔内に、前記芯棒の頭部が当接されることで、該芯棒の打ち込み限界深さを決める段部が形成されていることを特徴とする請求項1〜3のいずれかに記載のアンカー。
JP2004107713A 2004-03-31 2004-03-31 アンカー Expired - Fee Related JP4511863B2 (ja)

Priority Applications (1)

Application Number Priority Date Filing Date Title
JP2004107713A JP4511863B2 (ja) 2004-03-31 2004-03-31 アンカー

Applications Claiming Priority (1)

Application Number Priority Date Filing Date Title
JP2004107713A JP4511863B2 (ja) 2004-03-31 2004-03-31 アンカー

Publications (2)

Publication Number Publication Date
JP2005290854A true JP2005290854A (ja) 2005-10-20
JP4511863B2 JP4511863B2 (ja) 2010-07-28

Family

ID=35324100

Family Applications (1)

Application Number Title Priority Date Filing Date
JP2004107713A Expired - Fee Related JP4511863B2 (ja) 2004-03-31 2004-03-31 アンカー

Country Status (1)

Country Link
JP (1) JP4511863B2 (ja)

Cited By (1)

* Cited by examiner, † Cited by third party
Publication number Priority date Publication date Assignee Title
US10589362B2 (en) 2015-01-07 2020-03-17 Anchor Birds Co., Ltd. Post-installed anchor

Citations (3)

* Cited by examiner, † Cited by third party
Publication number Priority date Publication date Assignee Title
JPS5813215A (ja) * 1981-07-11 1983-01-25 株式会社大築 アンカ−ボルト
JPS61123107U (ja) * 1985-01-23 1986-08-02
JPH02199309A (ja) * 1988-10-05 1990-08-07 Artur Fischer Gmbh 打込み式拡張栓

Patent Citations (3)

* Cited by examiner, † Cited by third party
Publication number Priority date Publication date Assignee Title
JPS5813215A (ja) * 1981-07-11 1983-01-25 株式会社大築 アンカ−ボルト
JPS61123107U (ja) * 1985-01-23 1986-08-02
JPH02199309A (ja) * 1988-10-05 1990-08-07 Artur Fischer Gmbh 打込み式拡張栓

Cited By (1)

* Cited by examiner, † Cited by third party
Publication number Priority date Publication date Assignee Title
US10589362B2 (en) 2015-01-07 2020-03-17 Anchor Birds Co., Ltd. Post-installed anchor

Also Published As

Publication number Publication date
JP4511863B2 (ja) 2010-07-28

Similar Documents

Publication Publication Date Title
US8661637B2 (en) Sealing plug removal apparatus
WO1997048911A1 (en) Self-drilling anchor
KR20150029609A (ko) 후시공 앵커, 후시공 앵커의 시공 방법 및 후시공 앵커 시스템
JP4511863B2 (ja) アンカー
JP2018035510A (ja) あと施工アンカーの施工方法及びあと施工アンカー
JP7246119B2 (ja) あと施工アンカー及びその設置構造
PL186361B1 (pl) Element mocujący
JP2003106323A (ja) グリップアンカーベースパイプ除去方法と除去具
JP2002001677A (ja) アンカー抜き取り具
JP7236732B2 (ja) あと施工アンカーおよびあと施工アンカーの施工方法
JP7303607B2 (ja) あと施工アンカーの撤去方法
JP5692713B1 (ja) 拡開アンカー
JP2005066725A (ja) アンカー抜取具およびそれを用いたアンカー抜取方法
JP2008075396A (ja) インサート
WO2016092675A1 (ja) 後施工アンカー、後施工アンカーの施工方法および後施工アンカーシステム
JP2003159704A (ja) アンカーボルト用穿孔の製作方法と穿孔装置
JP6664934B2 (ja) アンカー
JP2016199967A (ja) 後施工アンカー、後施工アンカーの施工方法および後施工アンカーシステム
JP2003027599A (ja) ピン打込み式拡開アンカー
JP3228516U (ja) アンカー設置用治具
JP2952219B2 (ja) めねじスクリューアンカー打設用治具
JP2008007972A (ja) 拡張アンカーおよびこれを用いたピンニング工法
CN207005056U (zh) 可移取锚栓组件
JP2021110105A (ja) アンカー、アンカーを取り付けた足掛け具およびアンカーの固定方法
JP2012197840A (ja) あと施工アンカー及び既存のコンクリートに対するあと施工アンカー取り付け固定方法

Legal Events

Date Code Title Description
A621 Written request for application examination

Free format text: JAPANESE INTERMEDIATE CODE: A621

Effective date: 20070320

A521 Written amendment

Effective date: 20070322

Free format text: JAPANESE INTERMEDIATE CODE: A821

A977 Report on retrieval

Free format text: JAPANESE INTERMEDIATE CODE: A971007

Effective date: 20081120

A131 Notification of reasons for refusal

Effective date: 20091208

Free format text: JAPANESE INTERMEDIATE CODE: A131

A521 Written amendment

Free format text: JAPANESE INTERMEDIATE CODE: A523

Effective date: 20100208

A521 Written amendment

Free format text: JAPANESE INTERMEDIATE CODE: A821

Effective date: 20100209

TRDD Decision of grant or rejection written
A01 Written decision to grant a patent or to grant a registration (utility model)

Free format text: JAPANESE INTERMEDIATE CODE: A01

Effective date: 20100413

A01 Written decision to grant a patent or to grant a registration (utility model)

Free format text: JAPANESE INTERMEDIATE CODE: A01

A61 First payment of annual fees (during grant procedure)

Free format text: JAPANESE INTERMEDIATE CODE: A61

Effective date: 20100507

FPAY Renewal fee payment (prs date is renewal date of database)

Year of fee payment: 3

Free format text: PAYMENT UNTIL: 20130514

R150 Certificate of patent (=grant) or registration of utility model

Free format text: JAPANESE INTERMEDIATE CODE: R150

FPAY Renewal fee payment (prs date is renewal date of database)

Year of fee payment: 3

Free format text: PAYMENT UNTIL: 20130514

FPAY Renewal fee payment (prs date is renewal date of database)

Free format text: PAYMENT UNTIL: 20130514

Year of fee payment: 3

LAPS Cancellation because of no payment of annual fees