JP2005290800A - スノーダンプ用嵩上げ器具 - Google Patents

スノーダンプ用嵩上げ器具 Download PDF

Info

Publication number
JP2005290800A
JP2005290800A JP2004106394A JP2004106394A JP2005290800A JP 2005290800 A JP2005290800 A JP 2005290800A JP 2004106394 A JP2004106394 A JP 2004106394A JP 2004106394 A JP2004106394 A JP 2004106394A JP 2005290800 A JP2005290800 A JP 2005290800A
Authority
JP
Japan
Prior art keywords
snow
raising
plate
plates
connector
Prior art date
Legal status (The legal status is an assumption and is not a legal conclusion. Google has not performed a legal analysis and makes no representation as to the accuracy of the status listed.)
Granted
Application number
JP2004106394A
Other languages
English (en)
Other versions
JP3862710B2 (ja
Inventor
Shuichi Ogasawara
修一 小笠原
Current Assignee (The listed assignees may be inaccurate. Google has not performed a legal analysis and makes no representation or warranty as to the accuracy of the list.)
Individual
Original Assignee
Individual
Priority date (The priority date is an assumption and is not a legal conclusion. Google has not performed a legal analysis and makes no representation as to the accuracy of the date listed.)
Filing date
Publication date
Application filed by Individual filed Critical Individual
Priority to JP2004106394A priority Critical patent/JP3862710B2/ja
Publication of JP2005290800A publication Critical patent/JP2005290800A/ja
Application granted granted Critical
Publication of JP3862710B2 publication Critical patent/JP3862710B2/ja
Anticipated expiration legal-status Critical
Expired - Fee Related legal-status Critical Current

Links

Images

Landscapes

  • Cleaning Of Streets, Tracks, Or Beaches (AREA)

Abstract

【課題】 スノーダンプに着脱自在に取り付けて、多量の雪を掬い上げ排雪出来ると共に、着脱及び収納も容易なスノーダンプ用嵩上げ器具を提供する。
【解決手段】 底面板2の後辺に背面板3が立設し、該底面板2の左右辺に左右側面板4,5が夫々立設して成るスノーダンプ本体6に、該スノーダンプ本体6を前方に押すための把手体7が固着されて成るスノーダンプ1であって、該スノーダンプ1の背面板3上に立設して該背面板3の嵩上げをするための背面嵩上げ板22と、該背面嵩上げ板22に連結され、且つ、該スノーダンプ1の左右側面板4,5上に立設して該左右側面板4,5の嵩上げをするための左右側面嵩上げ板23,24とから成り、前記スノーダンプ本体6に着脱自在に取り付けられるように構成されているスノーダンプ用嵩上げ器具21を提供する。
【選択図】 図1

Description

本発明は、スノーダンプ用嵩上げ器具に関し、特に、底面板の後辺に背面板が立設し、底面板の左右辺に左右側面板が夫々立設して成るスノーダンプ本体に、該スノーダンプ本体を前方に押すための把手体が固着されて成るスノーダンプであって、該スノーダンプが多量の雪を掬い上げることができるようにするスノーダンプ用嵩上げ器具に関するものである。
従来、此種スノーダンプは、除雪又は排雪用として広く用いられており、良く知られたスノーダンプは、底面板の後辺に背面板が立設し、底面板の左右辺に左右側面板が夫々立設して成るスノーダンプ本体に、該スノーダンプ本体を前方に押すための把手体が固着されて成り、該左右側面板は前端から後端に向かって上部が斜欠されており、且つ、該把手体は該スノーダンプ本体の後方上方に延設されて所定高さ位置に把手部が形成されている(例えば、特許文献1及び2参照)。
特開2003−227113号公報 特開2003−286710号公報
前述した従来のスノーダンプは所定量の雪を掬い上げて排雪できるように背面板及び左右側面板が所定の高さに形成されているが、一度に掬える雪の量には限度がある。そのため、多量の雪を排雪する場合に於いては、掬い上げる作業と移動する作業を何回も繰り返して行わなければならず、作業効率が悪いという問題がある。
そこで、更に多量の雪を排雪できるようにして、作業効率を高め、除雪又は排雪が短時間で終えるようにすることが望まれており、更に、少ない雪の排雪も容易に行えることが望まれている。
以上の現状に鑑み、本発明の目的は、スノーダンプに着脱自在に取り付けて、多量の雪を掬い上げ排雪出来ると共に、着脱及び収納も容易なスノーダンプ用嵩上げ器具を提供する。
上記の課題を解決すべく、本発明は以下の構成を提供する。
請求項1に係る発明は、底面板の後辺に背面板が立設し、該底面板の左右辺に左右側面板が夫々立設して成るスノーダンプ本体に、該スノーダンプ本体を前方に押すための把手体が固着されて成るスノーダンプであって、該スノーダンプの背面板上に立設して該背面板の嵩上げをするための背面嵩上げ板と、該背面嵩上げ板に連結され、且つ、該スノーダンプの左右側面板上に立設して該左右側面板の嵩上げをするための左右側面嵩上げ板とから成り、前記スノーダンプ本体に着脱自在に取り付けられるように構成されていることを特徴とするスノーダンプ用嵩上げ器具を提供するものである。
請求項2に係る発明は、上記背面嵩上げ板と上記左右側面嵩上げ板とは蝶番によって折り畳み自在に連結されていることを特徴とする請求項1記載のスノーダンプ用嵩上げ器具を提供するものである。
請求項3に係る発明は、上記背面嵩上げ板と上記左右側面嵩上げ板とは硬質性樹脂によって一体に形成され、該背面嵩上げ板と該左右側面嵩上げ板の隣接部は薄肉状に形成され折り畳み自在に構成されていることを特徴とする請求項1記載のスノーダンプ用嵩上げ器具を提供するものである。
請求項4に係る発明は、上記把手体は、上記スノーダンプ本体の左右側面板の上端部に形成される止着縁部と、上記背面板の上端部に形成される止着縁部とに固着される取り付けパイプと、該左右側面板の後端から上方後方に延設される左右延設部と、該左右延設部の先端を相互に連結する把手部とから成り、該取り付けパイプ及び該止着縁部に上記背面嵩上げ板を取り付けるための背面下部連結具が着脱自在に固着されると共に、上記左右側面嵩上げ板を取り付けるため側面下部連結具が着脱自在に固着され、一方、該背面嵩上げ板に該背面下部連結具と連結するための背面上部連結具が固着されると共に、該左右側面嵩上げ板に該側面下部連結具と連結するための側面上部連結具が固着されていることを特徴とする請求項1,2又は3記載のスノーダンプ用嵩上げ器具を提供するものである。
請求項5に係る発明は、上記背面下部連結具は上方に突出する凸部を備え、上記背面上部連結具は該凸部を嵌合させる嵌合孔を形成するように構成されていることを特徴とする請求項4記載のスノーダンプ用嵩上げ器具を提供するものである。
請求項6に係る発明は、上記側面下部連結具は上方に突出する突出体を備え、且つ、該突出体の上部には上方に開放する穴が形成されており、一方、上記側面上部連結具は連結ピンを保持するための保持部を備え、該突出体上に該保持部を位置あわせし、連結ピンを該保持部と該突出体の穴内に挿通させて該側面下部連結具と該側面上部連結具を連結するように構成されていることを特徴とする請求項4記載のスノーダンプ用嵩上げ器具を提供するものである。
請求項7に係る発明は、上記背面嵩上げ板は、中央下部が切欠され、作業者が作業中に上記背面板の上端に足を掛けられるように構成されていることを特徴とする請求項1,2,3,4,5又は6記載のスノーダンプ用嵩上げ器具を提供するものである。
本発明の請求項1記載の発明によれば、スノーダンプの背面板上に立設して該背面板の嵩上げをするための背面嵩上げ板と、該背面嵩上げ板に連結され、且つ、該スノーダンプの左右側面板上に立設して該左右側面板の嵩上げをするための左右側面嵩上げ板とから成り、スノーダンプ本体に着脱自在に取り付けられるように構成されているスノーダンプ用嵩上げ器具を提供するので、該スノーダンプ用嵩上げ器具をスノーダンプに着脱自在に取り付けて多量の雪を掬い上げて排雪出来ると共に、着脱も容易なスノーダンプ用嵩上げ器具を得ることができる。
請求項2記載の発明によれば、上記背面嵩上げ板と上記左右側面嵩上げ板とは蝶番によって折り畳み自在に連結されているので請求項1記載の発明の効果に加え、スノーダンプ用嵩上げ器具の収納が容易になる。
請求項3記載の発明によれば、上記背面嵩上げ板と上記左右側面嵩上げ板とは硬質性樹脂によって一体に形成され、該背面嵩上げ板と該左右側面嵩上げ板の隣接部は薄肉状に形成され折り畳み自在に構成されているので請求項1記載の発明の効果に加え、前記背面嵩上げ板と左右側面嵩上げ板とを一体に成型できるためスノーダンプ用嵩上げ器具の製作が容易になる。
請求項4記載の発明によれば、上記把手体は、上記スノーダンプ本体の左右側面板の上端部に形成される止着縁部と、上記背面板の上端部に形成される止着縁部とに固着される取り付けパイプと、該左右側面板の後端から上方後方に延設される左右延設部と、該左右延設部の先端を相互に連結する把手部とから成り、該取り付けパイプ及び該止着縁部に上記背面嵩上げ板を取り付けるための背面下部連結具が着脱自在に固着されると共に、上記左右側面嵩上げ板を取り付けるため側面下部連結具が着脱自在に固着され、一方、該背面嵩上げ板に該背面下部連結具と連結するための背面上部連結具が固着されると共に、該左右側面嵩上げ板に該側面下部連結具と連結するための側面上部連結具が固着されているので、請求項1,2又は3記載の発明の効果に加え、前記背面下部連結具に前記背面上部連結具を連結し、前記側面下部連結具に前記側面上部連結具を連結して、前記スノーダンプ用嵩上げ器具を前記スノーダンプ本体に取り付けることが可能となる。
請求項5記載の発明によれば、上記背面下部連結具は上方に突出する凸部を備え、上記背面上部連結具は該凸部を嵌合させる嵌合孔を形成するように構成されているので、請求項4記載の発明の効果に加え、該凸部を該嵌合孔に嵌入させることにより、背面下部連結具と背面上部連結具との連結が容易になると共に、取り外しも容易となる。
請求項6記載の発明によれば、上記側面下部連結具は上方に突出する突出体を備え、且つ、該突出体の上部には上方に開放する穴が形成されており、一方、上記側面上部連結具は連結ピンを保持するための保持部を備え、該突出体上に該保持部を位置あわせし、連結ピンを該保持部と該突出体の穴内に挿通させて該側面下部連結具と該側面上部連結具を連結するように構成されているので請求項4記載の発明の効果に加え、該連結ピンによって前記側面下部連結具と側面上部連結具とを連結することが出来、該連結ピンを外すことにより、該側面下部連結具と側面上部連結具の取り外しも容易である。
請求項7記載の発明によれば、上記背面嵩上げ板は、中央下部が切欠され、作業者が作業中に上記背面板の上端に足を掛けられるように構成されているので請求項1,2,3,4,5又は6記載の発明の効果に加え、背面板の上端に足を掛けて足の力を加えてスノーダンプを前方に押すことが可能となり、雪を掬う作業が容易になる。
以下、実施例を示した図面を参照しつつ本発明の実施の形態を説明する。
図1に於いて、1は公知のスノーダンプであり、該スノーダンプ1は、平面視略方形の底面板2の後辺に背面板3が延設して立設され、該底面板2の左右辺に、前端から後端に向かって高さが高くなるように上部が斜欠された左右側面板4,5が夫々延設して立設され、且つ、該背面板3の側端が該左右側面板4,5と連設されてスノーダンプ本体6が形成され、該スノーダンプ本体6に該スノーダンプ本体6を前方に押すための把手体7が固着されている。
そして、前記スノーダンプ本体6は合成樹脂板又は金属板等で一体に形成されており、該底面板2及び背面板3には補強のための複数のリブ2a,2a…、3a,3a…が形成されている。
又、前記把手体7は前記スノーダンプ本体6の左側面板4の外側面から前記背面板3の外側面及び右側面板5の外側面に延びて固着される取り付けパイプ8と、該取り付けパイプ8に連設され、且つ、該左右側面板4,5の後端から上方後方に延設される左右延設部9,10と、該左右延設部9,10の先端を相互に連結する把手部11とから成り、一方、前記背面板3の上端及び前記左右側面板4,5の上端には前記取り付けパイプ8を包持する止着縁部12,13,14が夫々形成されており、該取り付けパイプ8は、該背面板3の上端に形成された止着縁部12と、該左右側面板4,5の上端に形成された止着縁部13,14とに下方から嵌着した後、ビス(図示せず)等で止着されている。
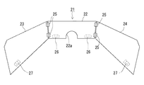
一方、同図に於いて21は、本発明のスノーダンプ用嵩上げ器具であり、該スノーダンプ用嵩上げ器具21は合成樹脂板、木板、或いは、金属板等で形成され、前記スノーダンプ1の背面板3上に立設して該背面板3の嵩上げをするための背面嵩上げ板22と、該背面嵩上げ板22に連結され、且つ、該スノーダンプ1の左右側面板4,5上に立設して該左右側面板4,5の嵩上げをするための左右側面嵩上げ板23,24とから成り、前記背面嵩上げ板22は正面視矩形状に形成され、且つ、該左右側面板4,5は下端部が後端から前端に向けて下方に向かって斜設され、即ち、後端から前端に向かって次第に嵩高が高くなるように形成され、図2に示すように、該スノーダンプ用嵩上げ器具21は前記スノーダンプ本体6に着脱自在に取り付けられるように構成され、該スノーダンプ用嵩上げ器具21が該スノーダンプ本体6に取り付けられた時、該スノーダンプ用嵩上げ器具21の上端の高さは略水平になるように構成されている。
そして、前記背面嵩上げ板22と前記左右側面嵩上げ板23,24とは図3及び図4に示す蝶番25,25…によって図5に示す如く折り畳み自在に連結されていると共に、該背面嵩上げ板22には作業時に操作者が背面板3の上端への足掛けが可能となるように、該背面嵩上げ板22の下部中央が切欠されて足掛け用切欠き22aが形成されている。
尚、前記背面嵩上げ板22と前記左右側面嵩上げ板23,24とを蝶番25,25で連結する構成に変えて、例えば、図6に示す如く、背面嵩上げ板22Cと左右側面嵩上げ板24C,24Cとを硬質性樹脂によって一体に成型し、該背面嵩上げ板22Cと左右側面嵩上げ板24C,24Cの隣接部Pを薄肉状に形成して折り畳み自在に構成することも可能であり、然る時は、前述の構成と同様の効果が期待できると共に、該背面嵩上げ板22と左右側面嵩上げ板24C,24Cとを一体に成型するため製作が容易になり、且つ、部品点数を少なくすることができる利点がある。
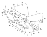
更に、図7に示す如く、前記背面嵩上げ板22の外側面左右下部に該背面嵩上げ板22を前記背面板3と連結するための2個の背面上部連結具26,26が固着されると共に、前記左右側面嵩上げ板23,24の外側面下部の前端近傍に該左右側面嵩上げ板23,24を前記左右側面板4,5と連結するための側面上部連結具27,27が固着されている。
そして、図8に示す如く、前記背面上部連結具26は、断面略Ω字状に形成され、前記背面嵩上げ板22に固着されることにより断面略半円形状の嵌合孔26aが形成されるように構成されている。又、図9に示す如く、前記側面上部連結具27は、前記左右側面嵩上げ板23,24に固着させるための固着板27aと、連結ピン28を保持すべく断面C字状に形成された保持部27bとから形成され、該固着板27aに該保持部27bが固着されている。尚、該固着板27aと保持部27bとは一体に成型されても良い。そして、然る時も同様な効果が期待できる。
一方、図2に示す如く、前記取り付けパイプ8及び該取り付けパイプ8を止着する止着縁部12に前記背面嵩上げ板22を取り付けるための2個の背面下部連結具29,29が前記背面上部連結具26,26に対応する位置に着脱自在に固着されると共に、前記取り付けパイプ8及び該取り付けパイプ8を止着する止着縁部13,14に前記左右側面嵩上げ板23,24を取り付けるための側面下部連結具30,30が前記側面上部連結具27,27に着脱自在に固着される。
そして、前記背面下部連結具29は図8に示す如く、断面C字状に形成された下部体31に同様に断面C字状に形成された凸部32がT字状に接合されており、該下部体31の切欠部31aを拡開して該下部体31を前記取り付けパイプ8及び前記止着縁部12に嵌合させ、該凸部32を前記背面上部連結具26の嵌合孔26aに嵌合させるように構成されている。尚、前記背面下部連結具29は前記下部体31と凸部32とが一体に成型されても良い。そして、然る時も同様な効果が期待できる。
又、前記側面下部連結具30は図9に示す如く、断面C字状に形成された下部体33に断面円形状に形成された突出体34がT字状に接合されており、該下部体33の切欠部33aを拡開して該下部体33を前記取り付けパイプ8及び前記止着縁部13,14に嵌合させるように構成されており、該突出体34を前記連結ピン28を介して前記背面上部連結具26に連結するように構成されている。尚、前記側面下部連結具30は前記下部体33と突出体34とが一体に成型されても良い。そして、然る時も同様な効果が期待できる。
而して、前記スノーダンプ用嵩上げ器具21を前記スノーダンプ1に取り付ける場合について説明すると、先ず、前記背面下部連結具29,29を構成する下部体31,31の切欠部31a,31aを拡開し、該下部体31,31を前記取り付けパイプ8及び前記止着縁部12に嵌合させて該背面下部連結具29,29を取り付け、同様に、前記左右の側面下部連結具30,30を構成する下部体33,33の切欠部33a,33aを拡開し該下部体33,33を前記取り付けパイプ8及び前記止着縁部13,14に夫々嵌合させて、該左右の側面下部連結具30,30を取り付ける。
次に、前記蝶番25,25…によって前記スノーダンプ用嵩上げ器具21の前記背面嵩上げ板22と前記左右側面嵩上げ板23,24とを略平面視コ字状に開いた後、該スノーダンプ用嵩上げ器具21の前記背面上部連結具26,26の嵌合孔26a,26aに前記背面下部連結具29,29の凸部32,32を嵌合させ、更に、前記左右の側面上部連結具27,27の保持部27b,27bを前記側面下部連結具30,30の突出体34,34上に位置合わせして前記連結ピン28,28を該保持部27b,27bと該突出体34,34の穴34a,34a内に挿入して該側面上部連結具27,27と側面下部連結具30,30とを夫々相互に連結すると、前記スノーダンプ用嵩上げ器具21は前記スノーダンプ1に取り付けられる。
そして、該スノーダンプ用嵩上げ器具21を取り付けたスノーダンプ1を使用する場合は、前記把手部11を押し、該スノーダンプ1を前進させて雪を掬い、或いは、該把手部11を押すだけでは前進が困難な場合は、該把手部11を把持した状態で前記足掛け用切欠き22a内に足を入れ、前記背面板3上端の前記止着縁部12に足を掛け、足で該背面板3を前方に押すことによりスノーダンプ1を前進させて雪を掬うことができる。そして、掬った雪は該スノーダンプ1を所望の場所に移動させて排雪する。
又、前記スノーダンプ用嵩上げ器具21を前記スノーダンプ1から取り外す場合は、前記連結ピン28,28を取り外して前記左右の側面上部連結具27,27と前記左右の側面下部連結具30,30を切り離し、更に、前記背面上部連結具26,26が形成する嵌合孔26a,26aから前記背面下部連結具29,29の凸部32,32を抜き取り、該背面下部連結具29,29と該背面上部連結具26,26とを切り離せば、前記スノーダンプ用嵩上げ器具21は取り外され、前記蝶番25,25…を介して前記左右側面嵩上げ板23,24を折り畳めば、該スノーダンプ用嵩上げ器具21は収納状態になる。
斯くして、前記スノーダンプ用嵩上げ器具21はスノーダンプ1に着脱自在に取り付けて多量の雪を掬い上げ排雪出来るため、多量の排雪作業を行う場合に於いて、作業効率が良く、作業時間を短縮できると共に、該スノーダンプ用嵩上げ器具21の着脱及び収納も容易であり、少ない雪を排雪する場合は該スノーダンプ用嵩上げ器具21を取り外して作業を行える。
又、前記背面嵩上げ板22と前記左右側面嵩上げ板23,24とは蝶番25,25…によって折り畳み自在に連結されているのでスノーダンプ用嵩上げ器具21の収納が容易になる。
更に、前記背面下部連結具29は上方に突出する凸部32を備え、前記背面上部連結具26は該凸部32を嵌合させる嵌合孔26aを備えているので、該凸部32を該嵌合孔26aに嵌入させることにより、連結が容易になると共に、取り外しも容易となる。
更に又、前記側面下部連結具30は上方に突出する突出体34を備え、且つ、該突出体34の上部には上方に開放する穴34aが形成されており、一方、前記側面上部連結具27は連結ピン28を保持するための保持部27bを備えているので、該連結ピン28によって前記側面下部連結具30と側面上部連結具27とを容易に連結することが出来、該連結ピン28を外すことにより、該側面下部連結具30と側面上部連結具27とを容易に取り外すことができる。
そして、前記背面嵩上げ板22は、中央下部が切欠されて足掛け用切欠き22aが形成されているので、前記背面板3の上端に足を掛けて足の力でスノーダンプ1を前方に押すことが可能となり、多量の雪を掬う作業、又は、硬くなった雪を掬う作業が容易になる。
(a)本発明の一実施の形態を示し、スノーダンプ用嵩上げ器具をスノーダンプに取り付けた状態を示す斜視図。(b)本発明の一実施の形態を示し、スノーダンプ用嵩上げ器具をスノーダンプに取り付けた状態を背面から見た斜視図。 本発明の一実施の形態を示し、スノーダンプ用嵩上げ器具をスノーダンプに取り付ける前の状態を示す斜視図。 本発明の一実施の形態を示し、スノーダンプ用嵩上げ器具を前方から見た斜視図。 図3に示すスノーダンプ用嵩上げ器具の蝶番の取り付け状態を示す拡大断面図。 図3に示すスノーダンプ用嵩上げ器具の折り畳み状態を示す平面図。 本発明の他の実施の形態を示し、スノーダンプ用嵩上げ器具の折り畳み部の拡大断面図。 本発明の一実施の形態を示し、スノーダンプ用嵩上げ器具を背面下方から見た斜視図。 (a)図1の背面上部連結具及び背面下部連結具の連結状態を示す拡大断面図。(b)図1の背面上部連結具及び背面下部連結具の拡大斜視図。 (a)図1の側面上部連結具及び側面下部連結具の連結状態を示す拡大断面図。(b)図1の側面上部連結具及び側面下部連結具の拡大斜視図。
符号の説明
1 スノーダンプ
2 底面板
3 背面板
4 左側面板
5 右側面板
6 スノーダンプ本体
7 把手体
8 取り付けパイプ
9 左延設部
10 右延設部
11 把手部
12,13,14 止着縁部
21 スノーダンプ用嵩上げ器具
22 背面嵩上げ板
23 左側面嵩上げ板
24 右側面嵩上げ板
25 蝶番
26 背面上部連結具
26a 嵌合孔
27 側面上部連結具
27b 保持部
28 連結ピン
29 背面下部連結具
30 側面下部連結具
32 凸部
34 突出体
34a 穴
P 隣接部

Claims (7)

  1. 底面板の後辺に背面板が立設し、該底面板の左右辺に左右側面板が夫々立設して成るスノーダンプ本体に、該スノーダンプ本体を前方に押すための把手体が固着されて成るスノーダンプであって、該スノーダンプの背面板上に立設して該背面板の嵩上げをするための背面嵩上げ板と、該背面嵩上げ板に連結され、且つ、該スノーダンプの左右側面板上に立設して該左右側面板の嵩上げをするための左右側面嵩上げ板とから成り、前記スノーダンプ本体に着脱自在に取り付けられるように構成されていることを特徴とするスノーダンプ用嵩上げ器具。
  2. 上記背面嵩上げ板と上記左右側面嵩上げ板とは蝶番によって折り畳み自在に連結されていることを特徴とする請求項1記載のスノーダンプ用嵩上げ器具。
  3. 上記背面嵩上げ板と上記左右側面嵩上げ板とは硬質性樹脂によって一体に形成され、該背面嵩上げ板と該左右側面嵩上げ板の隣接部は薄肉状に形成され折り畳み自在に構成されていることを特徴とする請求項1記載のスノーダンプ用嵩上げ器具。
  4. 上記把手体は、上記スノーダンプ本体の左右側面板の上端部に形成される止着縁部及び上記背面板の上端部に形成される止着縁部に固着される取り付けパイプと、該左右側面板の後端から上方後方に延設される左右延設部と、該左右延設部の先端を相互に連結する把手部とから成り、該取り付けパイプ及び該止着縁部に上記背面嵩上げ板を取り付けるための背面下部連結具が着脱自在に固着されると共に、上記左右側面嵩上げ板を取り付けるため側面下部連結具が着脱自在に固着され、一方、該背面嵩上げ板に該背面下部連結具と連結するための背面上部連結具が固着されると共に、該左右側面嵩上げ板に該側面下部連結具と連結するための側面上部連結具が固着されていることを特徴とする請求項1,2又は3記載のスノーダンプ用嵩上げ器具。
  5. 上記背面下部連結具は上方に突出する凸部を備え、上記背面上部連結具は該凸部を嵌合させる嵌合孔を形成するように構成されていることを特徴とする請求項4記載のスノーダンプ用嵩上げ器具。
  6. 上記側面下部連結具は上方に突出する突出体を備え、且つ、該突出体の上部には上方に開放する穴が形成されており、一方、上記側面上部連結具は連結ピンを保持するための保持部を備え、該突出体上に該保持部を位置あわせし、連結ピンを該保持部と該突出体の穴内に挿通させて該側面下部連結具と該側面上部連結具を連結するように構成されていることを特徴とする請求項4記載のスノーダンプ用嵩上げ器具。
  7. 上記背面嵩上げ板は、中央下部が切欠され、作業者が作業中に上記背面板の上端に足を掛けられるように構成されていることを特徴とする請求項1,2,3,4,5又は6記載のスノーダンプ用嵩上げ器具。
JP2004106394A 2004-03-31 2004-03-31 スノーダンプ用嵩上げ器具 Expired - Fee Related JP3862710B2 (ja)

Priority Applications (1)

Application Number Priority Date Filing Date Title
JP2004106394A JP3862710B2 (ja) 2004-03-31 2004-03-31 スノーダンプ用嵩上げ器具

Applications Claiming Priority (1)

Application Number Priority Date Filing Date Title
JP2004106394A JP3862710B2 (ja) 2004-03-31 2004-03-31 スノーダンプ用嵩上げ器具

Publications (2)

Publication Number Publication Date
JP2005290800A true JP2005290800A (ja) 2005-10-20
JP3862710B2 JP3862710B2 (ja) 2006-12-27

Family

ID=35324049

Family Applications (1)

Application Number Title Priority Date Filing Date
JP2004106394A Expired - Fee Related JP3862710B2 (ja) 2004-03-31 2004-03-31 スノーダンプ用嵩上げ器具

Country Status (1)

Country Link
JP (1) JP3862710B2 (ja)

Cited By (6)

* Cited by examiner, † Cited by third party
Publication number Priority date Publication date Assignee Title
KR100764150B1 (ko) 2007-01-25 2007-10-05 양수영 조립형 넉가래
JP2012046920A (ja) * 2010-08-25 2012-03-08 Toshiharu Ueji 把手付き橇へ補助盤と支持棒を取り付け、雪の運搬量を倍増させる改良把手付き橇
JP2013217178A (ja) * 2012-04-11 2013-10-24 Tsugihiro Matsui 着脱型連結除雪具
JP2014020100A (ja) * 2012-07-18 2014-02-03 Yaeko Toyokura 積む雪の量を調整できる除雪器具
JP2015094166A (ja) * 2013-11-13 2015-05-18 有限会社 佐藤住研 押動搬送式除雪具に取り付けられる雪こぼれ防止具及び押動搬送式除雪具に雪こぼれ防止板を取り付けるための取付具
KR20170040626A (ko) * 2015-10-05 2017-04-13 송재훈 고정용 클램프가 형성된 제설용 넉가래

Cited By (7)

* Cited by examiner, † Cited by third party
Publication number Priority date Publication date Assignee Title
KR100764150B1 (ko) 2007-01-25 2007-10-05 양수영 조립형 넉가래
JP2012046920A (ja) * 2010-08-25 2012-03-08 Toshiharu Ueji 把手付き橇へ補助盤と支持棒を取り付け、雪の運搬量を倍増させる改良把手付き橇
JP2013217178A (ja) * 2012-04-11 2013-10-24 Tsugihiro Matsui 着脱型連結除雪具
JP2014020100A (ja) * 2012-07-18 2014-02-03 Yaeko Toyokura 積む雪の量を調整できる除雪器具
JP2015094166A (ja) * 2013-11-13 2015-05-18 有限会社 佐藤住研 押動搬送式除雪具に取り付けられる雪こぼれ防止具及び押動搬送式除雪具に雪こぼれ防止板を取り付けるための取付具
KR20170040626A (ko) * 2015-10-05 2017-04-13 송재훈 고정용 클램프가 형성된 제설용 넉가래
KR101896988B1 (ko) * 2015-10-05 2018-09-11 송재훈 고정용 클램프가 형성된 제설용 넉가래

Also Published As

Publication number Publication date
JP3862710B2 (ja) 2006-12-27

Similar Documents

Publication Publication Date Title
US6824180B2 (en) Quick connect tool
US20050001439A1 (en) Device for removing or inserting a fuse
GB2365061A (en) Pin and grommet arrangement for component attachment having release by rotation
JP2005290800A (ja) スノーダンプ用嵩上げ器具
USD553737S1 (en) Needle remover
JP2002045255A (ja) 連結具
JP2007210343A (ja) バインダー
JP3664078B2 (ja) 綴じ具のベース固定構造
JP5934876B2 (ja) 着脱型連結雪かき
JP2006342615A (ja) 足場形成ユニット及び足場形成具
KR200250963Y1 (ko) 리벳
JP2003276375A (ja) バインダー
JP3081845B1 (ja) 基板保持具
JP3122144U (ja) 移植ごて
JP2003171079A (ja) 乗客コンベヤー用移動手摺着脱工具
JP3483617B2 (ja) 机における天板取付装置
JP2007177442A (ja) スコップ補助具
JPS6140077Y2 (ja)
JP3034548U (ja) 除雪用具
JP6821143B2 (ja) 便器施工用補助部材
JP3026853U (ja) スノーダンプ
JP3113731U (ja) フットスイッチ用保持具
JP2018203167A (ja) フィン操作治具
JP2007146393A (ja) 階段の踏板の取付構造および取付方法
JP2016000929A (ja) 手動運搬具

Legal Events

Date Code Title Description
A977 Report on retrieval

Effective date: 20060607

Free format text: JAPANESE INTERMEDIATE CODE: A971007

A131 Notification of reasons for refusal

Effective date: 20060620

Free format text: JAPANESE INTERMEDIATE CODE: A131

A521 Written amendment

Effective date: 20060804

Free format text: JAPANESE INTERMEDIATE CODE: A523

TRDD Decision of grant or rejection written
A01 Written decision to grant a patent or to grant a registration (utility model)

Free format text: JAPANESE INTERMEDIATE CODE: A01

Effective date: 20060912

A61 First payment of annual fees (during grant procedure)

Free format text: JAPANESE INTERMEDIATE CODE: A61

Effective date: 20060926

R150 Certificate of patent (=grant) or registration of utility model

Free format text: JAPANESE INTERMEDIATE CODE: R150

FPAY Renewal fee payment (prs date is renewal date of database)

Free format text: PAYMENT UNTIL: 20091006

Year of fee payment: 3

FPAY Renewal fee payment (prs date is renewal date of database)

Free format text: PAYMENT UNTIL: 20101006

Year of fee payment: 4

FPAY Renewal fee payment (prs date is renewal date of database)

Year of fee payment: 5

Free format text: PAYMENT UNTIL: 20111006

LAPS Cancellation because of no payment of annual fees