JP2005166322A - 導電性ペースト及び圧電振動子 - Google Patents
導電性ペースト及び圧電振動子 Download PDFInfo
- Publication number
- JP2005166322A JP2005166322A JP2003400851A JP2003400851A JP2005166322A JP 2005166322 A JP2005166322 A JP 2005166322A JP 2003400851 A JP2003400851 A JP 2003400851A JP 2003400851 A JP2003400851 A JP 2003400851A JP 2005166322 A JP2005166322 A JP 2005166322A
- Authority
- JP
- Japan
- Prior art keywords
- conductive paste
- silver powder
- piezoelectric vibrator
- tap density
- average particle
- Prior art date
- Legal status (The legal status is an assumption and is not a legal conclusion. Google has not performed a legal analysis and makes no representation as to the accuracy of the status listed.)
- Withdrawn
Links
Images
Landscapes
- Conductive Materials (AREA)
- Piezo-Electric Or Mechanical Vibrators, Or Delay Or Filter Circuits (AREA)
- Powder Metallurgy (AREA)
Abstract
【課題】熱履歴により柔軟性を損なうことなく、導電性にも優れ、かつ、低弾性であって圧電振動子を製造するのに適した導電性ペースト及びそのペーストを用いた信頼性の高い圧電振動子を提供する。
【解決手段】(A)合成ゴム、シリコーン樹脂及び熱可塑性ポリエステル樹脂から選ばれた少なくとも1種の有機質バインダーと、(B)銀粉とを必須成分とする導電性ペーストにおいて、(B)銀粉が、(b1)平均粒径 0.5〜2.0μm、タップ密度 1.5〜4.0g/cm3のリン片状銀粉と、(b2)平均粒径 2.5〜4.5μm、タップ密度 2.0〜4.5g/cm3のリン片状銀粉とを含んでなることを特徴とする導電性ペースト。
【選択図】なし
【解決手段】(A)合成ゴム、シリコーン樹脂及び熱可塑性ポリエステル樹脂から選ばれた少なくとも1種の有機質バインダーと、(B)銀粉とを必須成分とする導電性ペーストにおいて、(B)銀粉が、(b1)平均粒径 0.5〜2.0μm、タップ密度 1.5〜4.0g/cm3のリン片状銀粉と、(b2)平均粒径 2.5〜4.5μm、タップ密度 2.0〜4.5g/cm3のリン片状銀粉とを含んでなることを特徴とする導電性ペースト。
【選択図】なし
Description
本発明は、導電性ペースト及び圧電振動子に係り、特に、圧電素子に設けた電極と外部の導体との接合に用いることができ、その硬化物が熱履歴を受けたときでも柔軟性を保持することができる導電性ペースト及びこの導電性ペーストを用いた落下衝撃に優れた耐性を有する圧電振動子に関する。
圧電振動子は、電圧を加えると振動し、振動すると電圧が発生する性質を持った材料である圧電素子を利用したものであり、圧電素子に設けた電極と圧電振動子のケースの蓋板から引き出されてなる外部導体とを接合し、圧電素子を搭載した蓋板にカバーを被せ、これを密封して組み立てることで、発振用の圧電振動子として広く使用されているものである。
このとき、圧電素子の電極と外部導体との接合は、導電性を保持しながら両者間の機械的接合を図るため、導電性ペーストにより接着されてなるものであり、この導電性ペーストとしては、従来からエポキシ樹脂やシリコーン樹脂等が用いられていた(例えば、特許文献1及び2参照。)。
特開平11−185526号公報
特開2003−60249号公報
しかしながら、従来の導電性ペーストとして、エポキシ樹脂からなる導電性ペーストを用いた場合、圧電素子を被覆している導電性ペーストの硬化後における圧電素子結晶体へのクラックの発生や、圧電振動子の落下衝撃試験で発振不良となる等の問題があった。また、二液性エポキシ樹脂の導電性ペーストであると、二液混合後は可使時間が短く、密着性の低下や、その他の特性にも影響を与える等の問題があった。
また、シリコーン樹脂からなる導電性ペーストを用いた場合、可撓性に優れ、さらに耐熱性にも優れたものとなるが、導電性が安定しないため導電性ペーストとしての充分な性能を有していないため、信頼性の高い圧電振動子とはならなかった。
この他に、エポキシ樹脂よりも可撓性を有しているポリブタジエン等の合成ゴムや熱可塑性ポリエステル樹脂からなる導電性ペーストを用いた場合、圧電素子が薄いときには圧電素子へのクラックの発生や落下衝撃試験による発振不良がなくなる利点はあるが、圧電素子が厚いときには、やはり落下衝撃試験の落下回数等によって発振不良が発生するという問題があり、さらに、合成ゴムの場合には、硬化温度や硬化時間により硬度変化が大きいことによって、圧電素子にクラックを発生させるという問題があった。
そこで本発明は、上記の問題点を解決するためになされたもので、熱履歴によって柔軟性を損なうことなく、導電性にも優れ、かつ、低弾性であって圧電振動子を製造するのに適した導電性ペースト及びそれを用いた信頼性の高い圧電振動子を提供することを目的とする。
本発明者は、上記の問題点を解決するために鋭意検討した結果、有機質バインダーに特定の2種類のリン片状銀粉を組合わせて導電性ペーストとすることによって、クラックの発生や発振不良を効果的に抑制することができることを見出し、本発明を完成したものである。
本発明の導電性ペーストは、(A)合成ゴム、シリコーン樹脂及び熱可塑性ポリエステル樹脂から選ばれた少なくとも1種の有機質バインダーと、(B)銀粉とを必須成分とする導電性ペーストにおいて、前記(B)銀粉が、(b1)平均粒径 0.5〜2.0μm、タップ密度 1.5〜4.0g/cm3のリン片状銀粉と、(b2)平均粒径 2.5〜4.5μm、タップ密度 2.0〜4.5g/cm3のリン片状銀粉とを含有することを特徴とするものである。
ここで、本発明の導電性ペーストは、(A)有機質バインダー 100質量部に対して、(B)銀粉を500〜1100質量部含有するものであることが好ましい。
本発明に用いる(A)有機質バインダーは、使用環境である室温で柔軟性を有していることが必要であり、例えば、合成ゴム、シリコーン樹脂及び熱可塑性ポリエステル樹脂の少なくとも1種から選ばれてなるものであり、これらを混合した混合変性樹脂を用いることもできる。この混合変性樹脂は、単に混合したものでもよいし、混合した後、加熱して反応させ部分的に結合させたものであっても良く、また、この硬化反応の際には、必要であれば硬化触媒を用いてもよい。
本発明に用いる合成ゴムとしては、ポリブタジエン、スチレン−ブタジエン、ポリイソブチレン、イソプレン等のジエン系ゴム、ブチルゴム等のオレフィン系ゴム、アクリル系ゴム、ウレタン系ゴム等が挙げられ、これらは単独又は2種以上を組合わせて使用することができる。
ここで、合成ゴムを用いる場合には、樹脂中の炭素−炭素の不飽和結合を含まない水素添加タイプの樹脂を使用し、かつ、フェノール誘導体等の老化防止剤を併用することが好ましい。不飽和結合を含有する合成ゴムは、高温下で長時間放置すると、樹脂中の炭素−炭素の不飽和結合が空気中の酸素によって酸化されて老化し、導電性ペースト硬化物の柔軟性が損なわれてしまう。
シリコーン樹脂としては、シロキサン結合を有するポリシロキサン骨格を含むポリマーであれば種類を選ばず、ビニルシリコーンゴム、フェニルメチルシリコーンゴム、フェニルビニルシリコーンゴム、エポキシ変性シリコーンゴム、ポリイミド変性シリコーンゴム等の各種変性シリコーンゴム等が挙げられ、これらは単独又は2種以上を組合わせて使用することができる。
厳しい環境下での使用が要求されるような場合には、耐熱性に優れたシリコーン樹脂を用いることが好ましい。
熱可塑性ポリエステル樹脂としては、ポリエチレンテレフタレート、ポリブチレンテレフタレート、ポリ−1,4−シクロヘキサンジメチレンテレフタレート、ポリブチレンナフタレート等の飽和型のポリエステル樹脂を挙げることができ、これらは単独又は2種以上を組合わせて使用することができる。
本発明に用いる(B)銀粉は、(b1)平均粒径が0.5〜2.0μmで、タップ密度が1.5〜4.0g/cm3であるリン片状銀粉及び(b2)平均粒径が2.5〜4.5μmで、タップ密度が2.0〜4.5g/cm3であるリン片状銀粉の2種類の銀粉を用いるものであり、比表面積は特に限定はされない。
これらの銀粉は、(b1)リン片状銀粉と(b2)リン片状銀粉との質量比が50:50〜90:10であることが好ましく、55:45〜65:35であることが特に好ましい。(B)銀粉中の(b1)の比率が50質量%未満になるとペースト硬化物中の単位体積当たりのフィラーの比率が大きくなりすぎて、柔軟性が阻害されてしまい、(b1)の比率が90質量%を超えるとフィラー同士の接触抵抗が大きくなり、抵抗値が大きくなるため導電効率が悪くなる。
銀粉の平均粒径は、0.5μm未満であると、フィラーの数は増加するが、フィラー同志の接触抵抗が大きくなり、抵抗値が大きくなるため導電効率が悪くなり、4.0μmを超えると、体積当たりのフィラーの割合が増えることで柔軟性が阻害され、さらに、高密度の充填が不可能となって、ペーストの作業性が悪化し、塗布性能が低下してしまう。
また、銀粉のタップ密度は、1.5g/cm3未満であると、フィラーが嵩高くなることで導電性が低下し、ペーストのチキソ性も低下するため、ディスペンスにおける吐出時の形態安定性が悪くなり、タップ密度が4.5g/cm3を超えると、フィラー同士が密に詰まってしまって導電性は良好になるが、柔軟性が阻害されてしまう。
本発明の導電性ペーストには、粘度調整のために必要に応じて有機溶剤を使用することができ、それらの溶剤類としてはシクロヘキサノン、n−ヘキサン、1,1,1−トリクロロエタン、クロロホルム、テトラヒドロフラン、ベンゼン、トルエン、エチルベンゼン、ソルベントナフサ、工業用ガソリン、ブチルカルビトールアセテート、ジエチレングリコールジエチルエーテル、トリプロピレングリコールモノブチルエーテル、プロピレングリコールメチルエチルアセテート、ブチルセロソルブアセテート、イソホロン等が挙げられ、これらは単独又は2種以上を組合わせて使用することができる。
本発明に用いる導電性ペーストは、有機質バインダー及び銀粉を必須の成分とするものであるが、本発明の目的に反しない限り、必要に応じて、チキソ性付与剤、消泡剤、レベリング剤、硬化促進剤等の他の成分を配合することができる。
本発明の導電性ペーストを製造するには、常法にしたがって、以上述べた各成分を3本ロール等でよく混練することにより、接着性を有する導電性ペーストを容易に製造することができる。
また、本発明の導電性ペーストにおける各成分の配合量は、(A)ポリブタジエン樹脂 100質量部に対して、(B)飽和炭化水素樹脂又は熱可塑性ポリエステル樹脂 50〜150質量部、(C)導電性粉末 500〜2000質量部であることが好ましい。
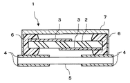
以下、本発明の圧電振動子について図1を参照しながら説明する。図1は、本発明の圧電振動子の断面図を示したものである。
本発明の圧電振動子1は、圧電素子2と、この圧電素子2に設けた電極3と、外部導体4を有する基板5とからなり、電極3と外部導体4とを請求項1乃至4のいずれか1項記載の導電性ペースト6で接合してなることを特徴とするものである。また、通常、圧電素子2は基板5とケース7により密閉された構造をとっている。
この圧電素子は、圧電効果を示す結晶性物質から切出して製造するものであるが、この結晶性物質としては、水晶、ロッシェル塩等の単結晶物質やチタン酸バリウム、チタン酸ジルコン酸鉛等のセラミックが挙げられる。
圧電素子に取付ける電極に用いる材料としては、金、銀、アルミニウム等の金属、銀パラジウム等の銀や金を主成分とした各種合金等が挙げられる。
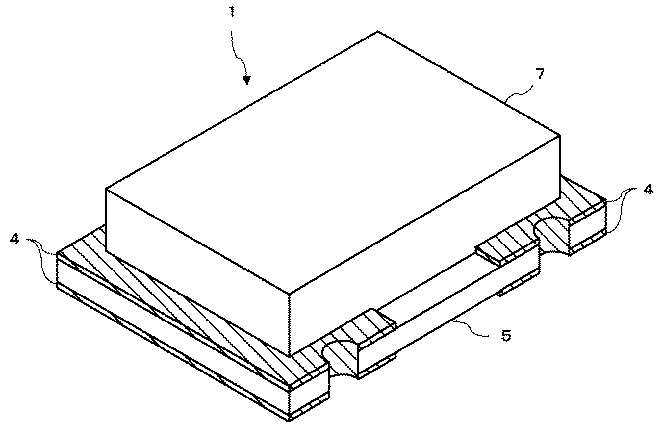
圧電振動子1は、圧電素子2に設けられた電極3と基板5に設けられた外部導体4との間を導電性ペースト6により接続するようにした後、所定の硬化条件で導電性ペースト6を硬化させて電極3と外部導体4とを固着し、その後、基板5及びケース7により圧電素子2を密封して組み立てることにより製造することができる。このようにして組立てられた圧電振動子1の斜視図について図2に示した。
本発明の圧電振動子としては、水晶振動子、セラミック振動子等の圧電振動子が挙げられる。
本発明の導電性ペーストは、その硬化物の導電性が高く、熱履歴を受けたときでも柔軟性を保持することができるためクラックが生じにくく、圧電振動子用の導電性ペーストとして好適に用いることができる。また、この導電性ペーストを用いて製造された圧電振動子は落下衝撃に優れた耐性を有するものである。
以下、実施例に基づいて本発明を詳細に説明する。
(実施例1)
末端にイソシアネート基を有するブタジエン樹脂(出光石油化学株式会社製、商品名:Poly bd MC−50) 100質量部、末端にヒドロキシル基を有する飽和炭化水素樹脂(出光石油化学株式会社製、商品名:エポール) 100質量部、溶剤としてイプゾール150(出光石油化学株式会社製、商品名) 80質量部、硬化触媒としてオクチル酸スズ 5質量部、導電性粉末としてリン片状銀粉(平均粒径:1.0μm、タップ密度:2.0g/cm3) 560質量部、リン片状銀粉(平均粒径:3.0μm、タップ密度:4.0g/cm3) 180質量部、チキソ性付与剤としてエスベン(株式会社ホージュン製、商品名) 10質量部を混合し、さらに三本ロールにより混練処理を行い、減圧脱泡して導電性ペーストを得た。
末端にイソシアネート基を有するブタジエン樹脂(出光石油化学株式会社製、商品名:Poly bd MC−50) 100質量部、末端にヒドロキシル基を有する飽和炭化水素樹脂(出光石油化学株式会社製、商品名:エポール) 100質量部、溶剤としてイプゾール150(出光石油化学株式会社製、商品名) 80質量部、硬化触媒としてオクチル酸スズ 5質量部、導電性粉末としてリン片状銀粉(平均粒径:1.0μm、タップ密度:2.0g/cm3) 560質量部、リン片状銀粉(平均粒径:3.0μm、タップ密度:4.0g/cm3) 180質量部、チキソ性付与剤としてエスベン(株式会社ホージュン製、商品名) 10質量部を混合し、さらに三本ロールにより混練処理を行い、減圧脱泡して導電性ペーストを得た。
(比較例1)
溶剤としてイプゾール150(出光石油化学株式会社製、商品名) 20質量部、銀粉としてリン片状銀粉(平均粒径:1.0μm、タップ密度:2.0g/cm3) 940質量部の1種類のみを用いた以外は、実施例1の配合及び操作と同様にして導電性ペーストを得た。
溶剤としてイプゾール150(出光石油化学株式会社製、商品名) 20質量部、銀粉としてリン片状銀粉(平均粒径:1.0μm、タップ密度:2.0g/cm3) 940質量部の1種類のみを用いた以外は、実施例1の配合及び操作と同様にして導電性ペーストを得た。
(比較例2)
溶剤としてイプゾール150(出光石油化学株式会社製、商品名) 100質量部、銀粉としてリン片状銀粉(平均粒径:7.5μm、タップ密度:3.0g/cm3) 940質量部の1種類のみを用いた以外は、実施例1の配合及び操作と同様にして導電性ペーストを得た。
溶剤としてイプゾール150(出光石油化学株式会社製、商品名) 100質量部、銀粉としてリン片状銀粉(平均粒径:7.5μm、タップ密度:3.0g/cm3) 940質量部の1種類のみを用いた以外は、実施例1の配合及び操作と同様にして導電性ペーストを得た。
(比較例3)
溶剤としてイプゾール150(出光石油化学株式会社製、商品名) 100質量部、銀粉としてリン片状銀粉(平均粒径:1.0μm、タップ密度:2.0g/cm3) 660質量部、リン片状銀粉(平均粒径:10μm、タップ密度:2.0g/cm3) 280質量部を用いた以外は、実施例1の配合及び操作と同様にして導電性ペーストを得た。
溶剤としてイプゾール150(出光石油化学株式会社製、商品名) 100質量部、銀粉としてリン片状銀粉(平均粒径:1.0μm、タップ密度:2.0g/cm3) 660質量部、リン片状銀粉(平均粒径:10μm、タップ密度:2.0g/cm3) 280質量部を用いた以外は、実施例1の配合及び操作と同様にして導電性ペーストを得た。
(試験例)
実施例及び比較例で得られた導電性ペーストの特性について、その硬化物の体積抵抗率、鉛筆硬度、接着強度について調べ、この導電性ペーストを用いて水晶振動子とした場合の落下衝撃試験も併せて行った。
その結果を表1に示した。
実施例及び比較例で得られた導電性ペーストの特性について、その硬化物の体積抵抗率、鉛筆硬度、接着強度について調べ、この導電性ペーストを用いて水晶振動子とした場合の落下衝撃試験も併せて行った。
その結果を表1に示した。
*1 体積抵抗率:均一に混合した導電性ペーストを、76×26×1mmのガラス板に塗布し、160℃で1.5時間加熱硬化後、デジタルマルチメーター(カイセ株式会社製、商品名:SK−4030)を用いて抵抗値測定幅50mmで導電性ペースト硬化物の抵抗を測定した。
*2 鉛筆硬度:JIS K 5600−5−4に準じて試験を行い評価した。なお、加熱硬化の条件として、160℃で1.5時間及び160℃で1.5時間加熱硬化後、さらに180℃で3時間加熱する2つの条件において測定を行った。
*3 接着強度:アルミナ基板上にペーストを塗布し、その上に2mm角のシリコンチップをマウントし、160℃で1.5時間加熱して硬化させた。硬化後、ボンドテスターを用いて常温にて剪断して接着強度を測定した。
*4 弾性率:ペーストを離型処理を施した基材(PET)上に、ドクターブレード法で乾燥後の膜厚が600μmになるように塗布硬化しペーストの短冊を得た(硬化条件:80℃で0.5時間加熱後、さらに160℃で1.5時間加熱)。この短冊を基材から剥離して、5mm×2cmの寸法で切出したものを試験片として粘弾性測定器(セイコーインスツルメンツ株式会社製、商品名:DMS200)の引張モードで室温における弾性率を測定した。
*5 落下衝撃試験:導電性ペーストを厚さ350μmの水晶片の電極部と引出導体のパッド部にディスペンス塗布した後、160℃で1.5時間加熱硬化により固着して水晶振動子を製造し、これについて、JIS C 0044に準じて150cmの高さから落下衝撃試験を行った。
*2 鉛筆硬度:JIS K 5600−5−4に準じて試験を行い評価した。なお、加熱硬化の条件として、160℃で1.5時間及び160℃で1.5時間加熱硬化後、さらに180℃で3時間加熱する2つの条件において測定を行った。
*3 接着強度:アルミナ基板上にペーストを塗布し、その上に2mm角のシリコンチップをマウントし、160℃で1.5時間加熱して硬化させた。硬化後、ボンドテスターを用いて常温にて剪断して接着強度を測定した。
*4 弾性率:ペーストを離型処理を施した基材(PET)上に、ドクターブレード法で乾燥後の膜厚が600μmになるように塗布硬化しペーストの短冊を得た(硬化条件:80℃で0.5時間加熱後、さらに160℃で1.5時間加熱)。この短冊を基材から剥離して、5mm×2cmの寸法で切出したものを試験片として粘弾性測定器(セイコーインスツルメンツ株式会社製、商品名:DMS200)の引張モードで室温における弾性率を測定した。
*5 落下衝撃試験:導電性ペーストを厚さ350μmの水晶片の電極部と引出導体のパッド部にディスペンス塗布した後、160℃で1.5時間加熱硬化により固着して水晶振動子を製造し、これについて、JIS C 0044に準じて150cmの高さから落下衝撃試験を行った。
この結果から、本発明の導電性ペーストは、導電性に優れ、その硬化物の熱履歴による硬度上昇を抑制して柔軟性を維持することができ、落下衝撃への耐性に優れていることがわかった。
1…圧電振動子、2…圧電素子、3…電極、4…外部導体、5…基板、6…導電性ペースト、7…ケース
Claims (5)
- (A)合成ゴム、シリコーン樹脂及び熱可塑性ポリエステル樹脂から選ばれる少なくとも1種の有機質バインダーと、(B)銀粉とを必須成分とする導電性ペーストにおいて、
前記(B)銀粉が、(b1)平均粒径 0.5〜2.0μm、タップ密度 1.5〜4.0g/cm3のリン片状銀粉と、(b2)平均粒径 2.5〜4.5μm、タップ密度 2.0〜4.5g/cm3のリン片状銀粉とを含んでなることを特徴とする導電性ペースト。 - 前記(A)有機質バインダーが、ウレタン系合成ゴムであることを特徴とする請求項1記載の導電性ペースト。
- 前記(A)有機質バインダー 100質量部に対して、前記(B)銀粉が500〜1100質量部であり、前記(b1)リン片状銀粉と前記(b2)リン片状銀粉との質量比が、50:50〜90:10の範囲であることを特徴とする請求項1又は2記載の導電性ペースト。
- 前記(b1)リン片状銀粉と前記(b2)リン片状銀粉との質量比が、55:45〜65:35の範囲であることを特徴とする請求項3記載の導電性ペースト。
- 圧電素子と、この圧電素子に設けた電極と、外部導体とを有し、前記電極と前記外部導体とを請求項1乃至4のいずれか1項記載の導電性ペーストで接合してなることを特徴とする圧電振動子。
Priority Applications (1)
| Application Number | Priority Date | Filing Date | Title |
|---|---|---|---|
| JP2003400851A JP2005166322A (ja) | 2003-11-28 | 2003-11-28 | 導電性ペースト及び圧電振動子 |
Applications Claiming Priority (1)
| Application Number | Priority Date | Filing Date | Title |
|---|---|---|---|
| JP2003400851A JP2005166322A (ja) | 2003-11-28 | 2003-11-28 | 導電性ペースト及び圧電振動子 |
Publications (1)
| Publication Number | Publication Date |
|---|---|
| JP2005166322A true JP2005166322A (ja) | 2005-06-23 |
Family
ID=34724959
Family Applications (1)
| Application Number | Title | Priority Date | Filing Date |
|---|---|---|---|
| JP2003400851A Withdrawn JP2005166322A (ja) | 2003-11-28 | 2003-11-28 | 導電性ペースト及び圧電振動子 |
Country Status (1)
| Country | Link |
|---|---|
| JP (1) | JP2005166322A (ja) |
Cited By (8)
| Publication number | Priority date | Publication date | Assignee | Title |
|---|---|---|---|---|
| JP2007211122A (ja) * | 2006-02-09 | 2007-08-23 | Sony Chemical & Information Device Corp | 異方導電性接着剤、異方導電性接着フィルム及び電極の接続方法 |
| JP2011511433A (ja) * | 2008-01-10 | 2011-04-07 | エプコス アクチエンゲゼルシャフト | 圧電アクチュエータユニット |
| WO2011145411A1 (ja) | 2010-05-19 | 2011-11-24 | 東海ゴム工業株式会社 | 導電膜、およびそれを用いたトランスデューサ、フレキシブル配線板 |
| US20130142963A1 (en) * | 2011-12-02 | 2013-06-06 | E.I. Du Pont De Nemours And Company | Conductive metal ink |
| JP2017147163A (ja) * | 2016-02-19 | 2017-08-24 | 三菱マテリアル株式会社 | 導電性ペースト及びこれを用いて形成された導電性膜 |
| CN109686470A (zh) * | 2018-12-21 | 2019-04-26 | 广东羚光新材料股份有限公司 | 一种环形压敏电阻器用电子银浆及其制备方法 |
| JP2019110093A (ja) * | 2017-12-20 | 2019-07-04 | 住友ベークライト株式会社 | 導電性ペーストおよび伸縮性配線基板 |
| JP2020132756A (ja) * | 2019-02-19 | 2020-08-31 | 太陽インキ製造株式会社 | 導電性組成物およびそれを用いた導電体並びに積層構造体 |
-
2003
- 2003-11-28 JP JP2003400851A patent/JP2005166322A/ja not_active Withdrawn
Cited By (12)
| Publication number | Priority date | Publication date | Assignee | Title |
|---|---|---|---|---|
| JP2007211122A (ja) * | 2006-02-09 | 2007-08-23 | Sony Chemical & Information Device Corp | 異方導電性接着剤、異方導電性接着フィルム及び電極の接続方法 |
| JP2011511433A (ja) * | 2008-01-10 | 2011-04-07 | エプコス アクチエンゲゼルシャフト | 圧電アクチュエータユニット |
| WO2011145411A1 (ja) | 2010-05-19 | 2011-11-24 | 東海ゴム工業株式会社 | 導電膜、およびそれを用いたトランスデューサ、フレキシブル配線板 |
| EP2450911A4 (en) * | 2010-05-19 | 2013-04-17 | Tokai Rubber Ind Ltd | CONDUCTIVE LAYER AND CONVERTER AND FLEXIBLE PCB WITH THIS |
| US8446075B2 (en) | 2010-05-19 | 2013-05-21 | Tokai Rubber Industries, Ltd. | Conductive film, and transducer and flexible wiring board using the same |
| US20130142963A1 (en) * | 2011-12-02 | 2013-06-06 | E.I. Du Pont De Nemours And Company | Conductive metal ink |
| US9245664B2 (en) * | 2011-12-02 | 2016-01-26 | E I Du Pont De Nemours And Company | Conductive metal ink |
| JP2017147163A (ja) * | 2016-02-19 | 2017-08-24 | 三菱マテリアル株式会社 | 導電性ペースト及びこれを用いて形成された導電性膜 |
| JP2019110093A (ja) * | 2017-12-20 | 2019-07-04 | 住友ベークライト株式会社 | 導電性ペーストおよび伸縮性配線基板 |
| CN109686470A (zh) * | 2018-12-21 | 2019-04-26 | 广东羚光新材料股份有限公司 | 一种环形压敏电阻器用电子银浆及其制备方法 |
| JP2020132756A (ja) * | 2019-02-19 | 2020-08-31 | 太陽インキ製造株式会社 | 導電性組成物およびそれを用いた導電体並びに積層構造体 |
| JP7305102B2 (ja) | 2019-02-19 | 2023-07-10 | 太陽ホールディングス株式会社 | 導電性組成物およびそれを用いた導電体並びに積層構造体 |
Similar Documents
| Publication | Publication Date | Title |
|---|---|---|
| JP5278038B2 (ja) | エラストマートランスデューサー | |
| JP6250949B2 (ja) | 半導体製造装置用部品及びその製造方法 | |
| KR20140087014A (ko) | 유연 도전 부재 및 그것을 사용한 트랜스듀서 | |
| CN101172044A (zh) | 超声波探针和超声波诊断装置 | |
| JPH03269909A (ja) | 耐湿性導電性セメント及びそれの製造、使用方法 | |
| JP7454129B2 (ja) | 半導体装置 | |
| KR20150100621A (ko) | 도전성 접착제 조성물 및 그것을 사용한 전자 소자 | |
| JP2005166322A (ja) | 導電性ペースト及び圧電振動子 | |
| JPH0334194B2 (ja) | ||
| JP2005064105A (ja) | 静電チャック装置用電極シート、静電チャック装置および吸着方法 | |
| JP2008227384A (ja) | 誘電性ゴム積層体 | |
| US10749102B2 (en) | Piezoelectric vibration component and application method | |
| JP5099284B2 (ja) | 異方性接続シート材料 | |
| JP2009232677A (ja) | エラストマートランスデューサーおよび誘電性ゴム組成物ならびに発電素子 | |
| JP4536240B2 (ja) | 硬化性樹脂組成物及びそれを用いた金属ベース回路基板 | |
| KR102207300B1 (ko) | 이방성 도전 필름, 그의 경화물 및 그의 제조 방법 | |
| JP2021099912A (ja) | 導電性ペースト | |
| JP2005294497A (ja) | 電気二重層コンデンサ及び電池 | |
| JP2005167418A (ja) | 導電性ペースト及び圧電振動子 | |
| JP2012153877A (ja) | 導電性塗料 | |
| JP2748615B2 (ja) | 導電性接着剤 | |
| JP2005281509A (ja) | 硬化性樹脂組成物及びそれを用いた金属ベース回路基板 | |
| JP2013004202A (ja) | 異方性導電材料及び接続構造体 | |
| JP3791053B2 (ja) | 導電性接着剤及び電子部品搭載装置 | |
| JP2012142255A (ja) | 異方性導電材料及び接続構造体 |
Legal Events
| Date | Code | Title | Description |
|---|---|---|---|
| A300 | Application deemed to be withdrawn because no request for examination was validly filed |
Free format text: JAPANESE INTERMEDIATE CODE: A300 Effective date: 20070206 |
