JP2005158232A - 光硬化性転写シート、これを用いた光情報記録媒体の製造方法、及び光情報記録媒体 - Google Patents
光硬化性転写シート、これを用いた光情報記録媒体の製造方法、及び光情報記録媒体 Download PDFInfo
- Publication number
- JP2005158232A JP2005158232A JP2004291166A JP2004291166A JP2005158232A JP 2005158232 A JP2005158232 A JP 2005158232A JP 2004291166 A JP2004291166 A JP 2004291166A JP 2004291166 A JP2004291166 A JP 2004291166A JP 2005158232 A JP2005158232 A JP 2005158232A
- Authority
- JP
- Japan
- Prior art keywords
- transfer sheet
- photocurable transfer
- photocurable
- functional group
- layer
- Prior art date
- Legal status (The legal status is an assumption and is not a legal conclusion. Google has not performed a legal analysis and makes no representation as to the accuracy of the status listed.)
- Pending
Links
- 238000012546 transfer Methods 0.000 title claims abstract description 269
- 230000003287 optical effect Effects 0.000 title claims abstract description 58
- 238000004519 manufacturing process Methods 0.000 title claims abstract description 37
- 125000000524 functional group Chemical group 0.000 claims abstract description 97
- 229920013730 reactive polymer Polymers 0.000 claims abstract description 63
- 239000000203 mixture Substances 0.000 claims abstract description 52
- 150000001875 compounds Chemical class 0.000 claims abstract description 37
- 230000009257 reactivity Effects 0.000 claims abstract description 14
- 239000000758 substrate Substances 0.000 claims description 50
- UFHFLCQGNIYNRP-UHFFFAOYSA-N Hydrogen Chemical compound [H][H] UFHFLCQGNIYNRP-UHFFFAOYSA-N 0.000 claims description 42
- 229910052739 hydrogen Inorganic materials 0.000 claims description 42
- 239000001257 hydrogen Substances 0.000 claims description 42
- 238000000034 method Methods 0.000 claims description 25
- 230000009477 glass transition Effects 0.000 claims description 24
- 238000012360 testing method Methods 0.000 claims description 19
- 238000002834 transmittance Methods 0.000 claims description 16
- 125000002887 hydroxy group Chemical group [H]O* 0.000 claims description 15
- 239000003999 initiator Substances 0.000 claims description 14
- 238000003825 pressing Methods 0.000 claims description 12
- 125000003647 acryloyl group Chemical group O=C([*])C([H])=C([H])[H] 0.000 claims description 9
- 238000001723 curing Methods 0.000 claims description 9
- 238000000016 photochemical curing Methods 0.000 claims description 7
- 238000004080 punching Methods 0.000 claims description 7
- 230000008569 process Effects 0.000 claims description 6
- 239000003085 diluting agent Substances 0.000 claims description 4
- 230000001788 irregular Effects 0.000 claims description 4
- IQPQWNKOIGAROB-UHFFFAOYSA-N isocyanate group Chemical group [N-]=C=O IQPQWNKOIGAROB-UHFFFAOYSA-N 0.000 claims description 3
- 125000004435 hydrogen atom Chemical class [H]* 0.000 abstract 2
- 239000010410 layer Substances 0.000 description 160
- 229920005989 resin Polymers 0.000 description 70
- 239000011347 resin Substances 0.000 description 70
- VYPSYNLAJGMNEJ-UHFFFAOYSA-N Silicium dioxide Chemical compound O=[Si]=O VYPSYNLAJGMNEJ-UHFFFAOYSA-N 0.000 description 52
- NIXOWILDQLNWCW-UHFFFAOYSA-M Acrylate Chemical compound [O-]C(=O)C=C NIXOWILDQLNWCW-UHFFFAOYSA-M 0.000 description 51
- -1 diisocyanate compound Chemical class 0.000 description 44
- 239000010419 fine particle Substances 0.000 description 26
- RSWGJHLUYNHPMX-UHFFFAOYSA-N Abietic-Saeure Natural products C12CCC(C(C)C)=CC2=CCC2C1(C)CCCC2(C)C(O)=O RSWGJHLUYNHPMX-UHFFFAOYSA-N 0.000 description 24
- KHPCPRHQVVSZAH-HUOMCSJISA-N Rosin Natural products O(C/C=C/c1ccccc1)[C@H]1[C@H](O)[C@@H](O)[C@@H](O)[C@@H](CO)O1 KHPCPRHQVVSZAH-HUOMCSJISA-N 0.000 description 24
- KHPCPRHQVVSZAH-UHFFFAOYSA-N trans-cinnamyl beta-D-glucopyranoside Natural products OC1C(O)C(O)C(CO)OC1OCC=CC1=CC=CC=C1 KHPCPRHQVVSZAH-UHFFFAOYSA-N 0.000 description 24
- 239000000377 silicon dioxide Substances 0.000 description 16
- 230000000052 comparative effect Effects 0.000 description 13
- 238000002156 mixing Methods 0.000 description 13
- 150000003505 terpenes Chemical class 0.000 description 13
- 235000007586 terpenes Nutrition 0.000 description 13
- YXFVVABEGXRONW-UHFFFAOYSA-N Toluene Chemical compound CC1=CC=CC=C1 YXFVVABEGXRONW-UHFFFAOYSA-N 0.000 description 12
- 238000011156 evaluation Methods 0.000 description 12
- 229920000642 polymer Polymers 0.000 description 12
- 229920003229 poly(methyl methacrylate) Polymers 0.000 description 11
- 239000004417 polycarbonate Substances 0.000 description 11
- 229920000515 polycarbonate Polymers 0.000 description 11
- 239000004926 polymethyl methacrylate Substances 0.000 description 11
- 239000004925 Acrylic resin Substances 0.000 description 10
- 229920000178 Acrylic resin Polymers 0.000 description 10
- 239000000853 adhesive Substances 0.000 description 10
- 230000001070 adhesive effect Effects 0.000 description 10
- XEKOWRVHYACXOJ-UHFFFAOYSA-N Ethyl acetate Chemical compound CCOC(C)=O XEKOWRVHYACXOJ-UHFFFAOYSA-N 0.000 description 9
- OKKJLVBELUTLKV-UHFFFAOYSA-N Methanol Chemical group OC OKKJLVBELUTLKV-UHFFFAOYSA-N 0.000 description 9
- 239000000654 additive Substances 0.000 description 9
- 238000005259 measurement Methods 0.000 description 9
- 239000003208 petroleum Substances 0.000 description 9
- 239000000243 solution Substances 0.000 description 9
- LYCAIKOWRPUZTN-UHFFFAOYSA-N Ethylene glycol Chemical compound OCCO LYCAIKOWRPUZTN-UHFFFAOYSA-N 0.000 description 8
- PXHVJJICTQNCMI-UHFFFAOYSA-N Nickel Chemical compound [Ni] PXHVJJICTQNCMI-UHFFFAOYSA-N 0.000 description 8
- 125000005442 diisocyanate group Chemical group 0.000 description 8
- 239000000178 monomer Substances 0.000 description 8
- 239000005011 phenolic resin Substances 0.000 description 8
- 229910001316 Ag alloy Inorganic materials 0.000 description 7
- CTQNGGLPUBDAKN-UHFFFAOYSA-N O-Xylene Chemical compound CC1=CC=CC=C1C CTQNGGLPUBDAKN-UHFFFAOYSA-N 0.000 description 7
- 239000004793 Polystyrene Substances 0.000 description 7
- 239000002253 acid Substances 0.000 description 7
- 125000003700 epoxy group Chemical group 0.000 description 7
- 229910052751 metal Inorganic materials 0.000 description 7
- 239000002184 metal Substances 0.000 description 7
- 239000002245 particle Substances 0.000 description 7
- 229920005862 polyol Polymers 0.000 description 7
- 229920002223 polystyrene Polymers 0.000 description 7
- 229920002379 silicone rubber Polymers 0.000 description 7
- 239000004945 silicone rubber Substances 0.000 description 7
- IANQTJSKSUMEQM-UHFFFAOYSA-N 1-benzofuran Chemical compound C1=CC=C2OC=CC2=C1 IANQTJSKSUMEQM-UHFFFAOYSA-N 0.000 description 6
- ZWEHNKRNPOVVGH-UHFFFAOYSA-N 2-Butanone Chemical compound CCC(C)=O ZWEHNKRNPOVVGH-UHFFFAOYSA-N 0.000 description 6
- SOGAXMICEFXMKE-UHFFFAOYSA-N Butylmethacrylate Chemical compound CCCCOC(=O)C(C)=C SOGAXMICEFXMKE-UHFFFAOYSA-N 0.000 description 6
- KFZMGEQAYNKOFK-UHFFFAOYSA-N Isopropanol Chemical compound CC(C)O KFZMGEQAYNKOFK-UHFFFAOYSA-N 0.000 description 6
- BAPJBEWLBFYGME-UHFFFAOYSA-N Methyl acrylate Chemical compound COC(=O)C=C BAPJBEWLBFYGME-UHFFFAOYSA-N 0.000 description 6
- PPBRXRYQALVLMV-UHFFFAOYSA-N Styrene Chemical compound C=CC1=CC=CC=C1 PPBRXRYQALVLMV-UHFFFAOYSA-N 0.000 description 6
- 239000008119 colloidal silica Substances 0.000 description 6
- 229920001577 copolymer Polymers 0.000 description 6
- 229920000139 polyethylene terephthalate Polymers 0.000 description 6
- 239000005020 polyethylene terephthalate Substances 0.000 description 6
- 150000003077 polyols Chemical class 0.000 description 6
- 239000004800 polyvinyl chloride Substances 0.000 description 6
- 229920000915 polyvinyl chloride Polymers 0.000 description 6
- 238000003756 stirring Methods 0.000 description 6
- 238000003860 storage Methods 0.000 description 6
- 239000008096 xylene Substances 0.000 description 6
- 239000012956 1-hydroxycyclohexylphenyl-ketone Substances 0.000 description 5
- WDQMWEYDKDCEHT-UHFFFAOYSA-N 2-ethylhexyl 2-methylprop-2-enoate Chemical compound CCCCC(CC)COC(=O)C(C)=C WDQMWEYDKDCEHT-UHFFFAOYSA-N 0.000 description 5
- 239000013032 Hydrocarbon resin Substances 0.000 description 5
- VVQNEPGJFQJSBK-UHFFFAOYSA-N Methyl methacrylate Chemical compound COC(=O)C(C)=C VVQNEPGJFQJSBK-UHFFFAOYSA-N 0.000 description 5
- 229910052782 aluminium Inorganic materials 0.000 description 5
- XAGFODPZIPBFFR-UHFFFAOYSA-N aluminium Chemical compound [Al] XAGFODPZIPBFFR-UHFFFAOYSA-N 0.000 description 5
- RWCCWEUUXYIKHB-UHFFFAOYSA-N benzophenone Chemical compound C=1C=CC=CC=1C(=O)C1=CC=CC=C1 RWCCWEUUXYIKHB-UHFFFAOYSA-N 0.000 description 5
- 239000012965 benzophenone Substances 0.000 description 5
- MQDJYUACMFCOFT-UHFFFAOYSA-N bis[2-(1-hydroxycyclohexyl)phenyl]methanone Chemical compound C=1C=CC=C(C(=O)C=2C(=CC=CC=2)C2(O)CCCCC2)C=1C1(O)CCCCC1 MQDJYUACMFCOFT-UHFFFAOYSA-N 0.000 description 5
- 239000007795 chemical reaction product Substances 0.000 description 5
- 239000011248 coating agent Substances 0.000 description 5
- 238000000576 coating method Methods 0.000 description 5
- 238000004132 cross linking Methods 0.000 description 5
- 229920006270 hydrocarbon resin Polymers 0.000 description 5
- 238000001746 injection moulding Methods 0.000 description 5
- 239000002904 solvent Substances 0.000 description 5
- 125000000954 2-hydroxyethyl group Chemical group [H]C([*])([H])C([H])([H])O[H] 0.000 description 4
- KWOLFJPFCHCOCG-UHFFFAOYSA-N Acetophenone Chemical compound CC(=O)C1=CC=CC=C1 KWOLFJPFCHCOCG-UHFFFAOYSA-N 0.000 description 4
- VTYYLEPIZMXCLO-UHFFFAOYSA-L Calcium carbonate Chemical compound [Ca+2].[O-]C([O-])=O VTYYLEPIZMXCLO-UHFFFAOYSA-L 0.000 description 4
- PEDCQBHIVMGVHV-UHFFFAOYSA-N Glycerol Natural products OCC(O)CO PEDCQBHIVMGVHV-UHFFFAOYSA-N 0.000 description 4
- 239000005057 Hexamethylene diisocyanate Substances 0.000 description 4
- GWEVSGVZZGPLCZ-UHFFFAOYSA-N Titan oxide Chemical compound O=[Ti]=O GWEVSGVZZGPLCZ-UHFFFAOYSA-N 0.000 description 4
- ZJCCRDAZUWHFQH-UHFFFAOYSA-N Trimethylolpropane Chemical compound CCC(CO)(CO)CO ZJCCRDAZUWHFQH-UHFFFAOYSA-N 0.000 description 4
- 239000012790 adhesive layer Substances 0.000 description 4
- IISBACLAFKSPIT-UHFFFAOYSA-N bisphenol A Chemical compound C=1C=C(O)C=CC=1C(C)(C)C1=CC=C(O)C=C1 IISBACLAFKSPIT-UHFFFAOYSA-N 0.000 description 4
- 239000003822 epoxy resin Substances 0.000 description 4
- 150000002148 esters Chemical class 0.000 description 4
- RRAMGCGOFNQTLD-UHFFFAOYSA-N hexamethylene diisocyanate Chemical compound O=C=NCCCCCCN=C=O RRAMGCGOFNQTLD-UHFFFAOYSA-N 0.000 description 4
- 239000012948 isocyanate Substances 0.000 description 4
- 239000000463 material Substances 0.000 description 4
- 229910052759 nickel Inorganic materials 0.000 description 4
- 229920000620 organic polymer Polymers 0.000 description 4
- 239000003960 organic solvent Substances 0.000 description 4
- FZUGPQWGEGAKET-UHFFFAOYSA-N parbenate Chemical compound CCOC(=O)C1=CC=C(N(C)C)C=C1 FZUGPQWGEGAKET-UHFFFAOYSA-N 0.000 description 4
- XNGIFLGASWRNHJ-UHFFFAOYSA-N phthalic acid Chemical compound OC(=O)C1=CC=CC=C1C(O)=O XNGIFLGASWRNHJ-UHFFFAOYSA-N 0.000 description 4
- 229920000647 polyepoxide Polymers 0.000 description 4
- 239000003505 polymerization initiator Substances 0.000 description 4
- 238000006116 polymerization reaction Methods 0.000 description 4
- DVKJHBMWWAPEIU-UHFFFAOYSA-N toluene 2,4-diisocyanate Chemical compound CC1=CC=C(N=C=O)C=C1N=C=O DVKJHBMWWAPEIU-UHFFFAOYSA-N 0.000 description 4
- 238000009281 ultraviolet germicidal irradiation Methods 0.000 description 4
- 229920002284 Cellulose triacetate Polymers 0.000 description 3
- JIGUQPWFLRLWPJ-UHFFFAOYSA-N Ethyl acrylate Chemical compound CCOC(=O)C=C JIGUQPWFLRLWPJ-UHFFFAOYSA-N 0.000 description 3
- WOBHKFSMXKNTIM-UHFFFAOYSA-N Hydroxyethyl methacrylate Chemical compound CC(=C)C(=O)OCCO WOBHKFSMXKNTIM-UHFFFAOYSA-N 0.000 description 3
- ZMXDDKWLCZADIW-UHFFFAOYSA-N N,N-Dimethylformamide Chemical compound CN(C)C=O ZMXDDKWLCZADIW-UHFFFAOYSA-N 0.000 description 3
- 229920000007 Nylon MXD6 Polymers 0.000 description 3
- 239000004962 Polyamide-imide Substances 0.000 description 3
- 239000004695 Polyether sulfone Substances 0.000 description 3
- 239000004697 Polyetherimide Substances 0.000 description 3
- 239000004721 Polyphenylene oxide Substances 0.000 description 3
- 239000004734 Polyphenylene sulfide Substances 0.000 description 3
- 239000004954 Polyphthalamide Substances 0.000 description 3
- DNIAPMSPPWPWGF-UHFFFAOYSA-N Propylene glycol Chemical compound CC(O)CO DNIAPMSPPWPWGF-UHFFFAOYSA-N 0.000 description 3
- 239000006087 Silane Coupling Agent Substances 0.000 description 3
- NNLVGZFZQQXQNW-ADJNRHBOSA-N [(2r,3r,4s,5r,6s)-4,5-diacetyloxy-3-[(2s,3r,4s,5r,6r)-3,4,5-triacetyloxy-6-(acetyloxymethyl)oxan-2-yl]oxy-6-[(2r,3r,4s,5r,6s)-4,5,6-triacetyloxy-2-(acetyloxymethyl)oxan-3-yl]oxyoxan-2-yl]methyl acetate Chemical compound O([C@@H]1O[C@@H]([C@H]([C@H](OC(C)=O)[C@H]1OC(C)=O)O[C@H]1[C@@H]([C@@H](OC(C)=O)[C@H](OC(C)=O)[C@@H](COC(C)=O)O1)OC(C)=O)COC(=O)C)[C@@H]1[C@@H](COC(C)=O)O[C@@H](OC(C)=O)[C@H](OC(C)=O)[C@H]1OC(C)=O NNLVGZFZQQXQNW-ADJNRHBOSA-N 0.000 description 3
- 125000005250 alkyl acrylate group Chemical group 0.000 description 3
- 125000003277 amino group Chemical group 0.000 description 3
- CQEYYJKEWSMYFG-UHFFFAOYSA-N butyl acrylate Chemical compound CCCCOC(=O)C=C CQEYYJKEWSMYFG-UHFFFAOYSA-N 0.000 description 3
- 238000006243 chemical reaction Methods 0.000 description 3
- 230000002542 deteriorative effect Effects 0.000 description 3
- MTHSVFCYNBDYFN-UHFFFAOYSA-N diethylene glycol Chemical compound OCCOCCO MTHSVFCYNBDYFN-UHFFFAOYSA-N 0.000 description 3
- 239000006185 dispersion Substances 0.000 description 3
- SUPCQIBBMFXVTL-UHFFFAOYSA-N ethyl 2-methylprop-2-enoate Chemical compound CCOC(=O)C(C)=C SUPCQIBBMFXVTL-UHFFFAOYSA-N 0.000 description 3
- 150000002576 ketones Chemical class 0.000 description 3
- 229910001507 metal halide Inorganic materials 0.000 description 3
- 150000005309 metal halides Chemical class 0.000 description 3
- RBQRWNWVPQDTJJ-UHFFFAOYSA-N methacryloyloxyethyl isocyanate Chemical compound CC(=C)C(=O)OCCN=C=O RBQRWNWVPQDTJJ-UHFFFAOYSA-N 0.000 description 3
- 239000000025 natural resin Substances 0.000 description 3
- 150000002825 nitriles Chemical class 0.000 description 3
- 239000012299 nitrogen atmosphere Substances 0.000 description 3
- WXZMFSXDPGVJKK-UHFFFAOYSA-N pentaerythritol Chemical compound OCC(CO)(CO)CO WXZMFSXDPGVJKK-UHFFFAOYSA-N 0.000 description 3
- PNJWIWWMYCMZRO-UHFFFAOYSA-N pent‐4‐en‐2‐one Natural products CC(=O)CC=C PNJWIWWMYCMZRO-UHFFFAOYSA-N 0.000 description 3
- 229920003207 poly(ethylene-2,6-naphthalate) Polymers 0.000 description 3
- 229920006111 poly(hexamethylene terephthalamide) Polymers 0.000 description 3
- 229920002492 poly(sulfone) Polymers 0.000 description 3
- 229920002490 poly(thioether-sulfone) polymer Polymers 0.000 description 3
- 229920006122 polyamide resin Polymers 0.000 description 3
- 229920002312 polyamide-imide Polymers 0.000 description 3
- 229920001230 polyarylate Polymers 0.000 description 3
- 229920006289 polycarbonate film Polymers 0.000 description 3
- 229920001225 polyester resin Polymers 0.000 description 3
- 239000004645 polyester resin Substances 0.000 description 3
- 229920000570 polyether Polymers 0.000 description 3
- 229920006393 polyether sulfone Polymers 0.000 description 3
- 229920001601 polyetherimide Polymers 0.000 description 3
- 239000011112 polyethylene naphthalate Substances 0.000 description 3
- 229920000069 polyphenylene sulfide Polymers 0.000 description 3
- 229920006375 polyphtalamide Polymers 0.000 description 3
- 238000002360 preparation method Methods 0.000 description 3
- KJCLYACXIWMFCC-UHFFFAOYSA-M sodium;5-benzoyl-4-hydroxy-2-methoxybenzenesulfonate Chemical group [Na+].C1=C(S([O-])(=O)=O)C(OC)=CC(O)=C1C(=O)C1=CC=CC=C1 KJCLYACXIWMFCC-UHFFFAOYSA-M 0.000 description 3
- 239000000126 substance Substances 0.000 description 3
- 150000003457 sulfones Chemical class 0.000 description 3
- KKEYFWRCBNTPAC-UHFFFAOYSA-L terephthalate(2-) Chemical compound [O-]C(=O)C1=CC=C(C([O-])=O)C=C1 KKEYFWRCBNTPAC-UHFFFAOYSA-L 0.000 description 3
- XLYOFNOQVPJJNP-UHFFFAOYSA-N water Substances O XLYOFNOQVPJJNP-UHFFFAOYSA-N 0.000 description 3
- 239000002023 wood Substances 0.000 description 3
- GRWFGVWFFZKLTI-IUCAKERBSA-N (-)-α-pinene Chemical compound CC1=CC[C@@H]2C(C)(C)[C@H]1C2 GRWFGVWFFZKLTI-IUCAKERBSA-N 0.000 description 2
- MYRTYDVEIRVNKP-UHFFFAOYSA-N 1,2-Divinylbenzene Chemical compound C=CC1=CC=CC=C1C=C MYRTYDVEIRVNKP-UHFFFAOYSA-N 0.000 description 2
- FKTHNVSLHLHISI-UHFFFAOYSA-N 1,2-bis(isocyanatomethyl)benzene Chemical compound O=C=NCC1=CC=CC=C1CN=C=O FKTHNVSLHLHISI-UHFFFAOYSA-N 0.000 description 2
- YBYIRNPNPLQARY-UHFFFAOYSA-N 1H-indene Chemical compound C1=CC=C2CC=CC2=C1 YBYIRNPNPLQARY-UHFFFAOYSA-N 0.000 description 2
- GOXQRTZXKQZDDN-UHFFFAOYSA-N 2-Ethylhexyl acrylate Chemical compound CCCCC(CC)COC(=O)C=C GOXQRTZXKQZDDN-UHFFFAOYSA-N 0.000 description 2
- 125000000022 2-aminoethyl group Chemical group [H]C([*])([H])C([H])([H])N([H])[H] 0.000 description 2
- XMLYCEVDHLAQEL-UHFFFAOYSA-N 2-hydroxy-2-methyl-1-phenylpropan-1-one Chemical compound CC(C)(O)C(=O)C1=CC=CC=C1 XMLYCEVDHLAQEL-UHFFFAOYSA-N 0.000 description 2
- UPMLOUAZCHDJJD-UHFFFAOYSA-N 4,4'-Diphenylmethane Diisocyanate Chemical compound C1=CC(N=C=O)=CC=C1CC1=CC=C(N=C=O)C=C1 UPMLOUAZCHDJJD-UHFFFAOYSA-N 0.000 description 2
- SXIFAEWFOJETOA-UHFFFAOYSA-N 4-hydroxy-butyl Chemical group [CH2]CCCO SXIFAEWFOJETOA-UHFFFAOYSA-N 0.000 description 2
- 229910002014 Aerosil® 130 Inorganic materials 0.000 description 2
- 229910002018 Aerosil® 300 Inorganic materials 0.000 description 2
- 229910002019 Aerosil® 380 Inorganic materials 0.000 description 2
- 229910002020 Aerosil® OX 50 Inorganic materials 0.000 description 2
- 229910002021 Aerosil® TT 600 Inorganic materials 0.000 description 2
- 239000004593 Epoxy Chemical class 0.000 description 2
- 239000005058 Isophorone diisocyanate Substances 0.000 description 2
- RRHGJUQNOFWUDK-UHFFFAOYSA-N Isoprene Chemical compound CC(=C)C=C RRHGJUQNOFWUDK-UHFFFAOYSA-N 0.000 description 2
- CPLXHLVBOLITMK-UHFFFAOYSA-N Magnesium oxide Chemical compound [Mg]=O CPLXHLVBOLITMK-UHFFFAOYSA-N 0.000 description 2
- LRHPLDYGYMQRHN-UHFFFAOYSA-N N-Butanol Chemical compound CCCCO LRHPLDYGYMQRHN-UHFFFAOYSA-N 0.000 description 2
- 239000004677 Nylon Substances 0.000 description 2
- 229920003189 Nylon 4,6 Polymers 0.000 description 2
- OFSAUHSCHWRZKM-UHFFFAOYSA-N Padimate A Chemical compound CC(C)CCOC(=O)C1=CC=C(N(C)C)C=C1 OFSAUHSCHWRZKM-UHFFFAOYSA-N 0.000 description 2
- WYWZRNAHINYAEF-UHFFFAOYSA-N Padimate O Chemical compound CCCCC(CC)COC(=O)C1=CC=C(N(C)C)C=C1 WYWZRNAHINYAEF-UHFFFAOYSA-N 0.000 description 2
- 235000008331 Pinus X rigitaeda Nutrition 0.000 description 2
- 235000011613 Pinus brutia Nutrition 0.000 description 2
- 241000018646 Pinus brutia Species 0.000 description 2
- BQCADISMDOOEFD-UHFFFAOYSA-N Silver Chemical compound [Ag] BQCADISMDOOEFD-UHFFFAOYSA-N 0.000 description 2
- KKEYFWRCBNTPAC-UHFFFAOYSA-N Terephthalic acid Chemical compound OC(=O)C1=CC=C(C(O)=O)C=C1 KKEYFWRCBNTPAC-UHFFFAOYSA-N 0.000 description 2
- 150000008065 acid anhydrides Chemical class 0.000 description 2
- 150000001252 acrylic acid derivatives Chemical class 0.000 description 2
- 230000000996 additive effect Effects 0.000 description 2
- WNLRTRBMVRJNCN-UHFFFAOYSA-N adipic acid Chemical compound OC(=O)CCCCC(O)=O WNLRTRBMVRJNCN-UHFFFAOYSA-N 0.000 description 2
- 125000003118 aryl group Chemical group 0.000 description 2
- TZCXTZWJZNENPQ-UHFFFAOYSA-L barium sulfate Chemical compound [Ba+2].[O-]S([O-])(=O)=O TZCXTZWJZNENPQ-UHFFFAOYSA-L 0.000 description 2
- WPYMKLBDIGXBTP-UHFFFAOYSA-N benzoic acid Chemical compound OC(=O)C1=CC=CC=C1 WPYMKLBDIGXBTP-UHFFFAOYSA-N 0.000 description 2
- 230000005540 biological transmission Effects 0.000 description 2
- PXKLMJQFEQBVLD-UHFFFAOYSA-N bisphenol F Chemical compound C1=CC(O)=CC=C1CC1=CC=C(O)C=C1 PXKLMJQFEQBVLD-UHFFFAOYSA-N 0.000 description 2
- 230000000740 bleeding effect Effects 0.000 description 2
- 229910000019 calcium carbonate Inorganic materials 0.000 description 2
- 125000003178 carboxy group Chemical group [H]OC(*)=O 0.000 description 2
- 150000001732 carboxylic acid derivatives Chemical class 0.000 description 2
- 239000013078 crystal Substances 0.000 description 2
- 125000004386 diacrylate group Chemical group 0.000 description 2
- 230000000694 effects Effects 0.000 description 2
- 229920001971 elastomer Polymers 0.000 description 2
- 239000011521 glass Substances 0.000 description 2
- 235000011187 glycerol Nutrition 0.000 description 2
- 125000003055 glycidyl group Chemical group C(C1CO1)* 0.000 description 2
- 229910052736 halogen Inorganic materials 0.000 description 2
- 238000010438 heat treatment Methods 0.000 description 2
- XXMIOPMDWAUFGU-UHFFFAOYSA-N hexane-1,6-diol Chemical compound OCCCCCCO XXMIOPMDWAUFGU-UHFFFAOYSA-N 0.000 description 2
- 229920001519 homopolymer Polymers 0.000 description 2
- NIMLQBUJDJZYEJ-UHFFFAOYSA-N isophorone diisocyanate Chemical compound CC1(C)CC(N=C=O)CC(C)(CN=C=O)C1 NIMLQBUJDJZYEJ-UHFFFAOYSA-N 0.000 description 2
- QQVIHTHCMHWDBS-UHFFFAOYSA-N isophthalic acid Chemical compound OC(=O)C1=CC=CC(C(O)=O)=C1 QQVIHTHCMHWDBS-UHFFFAOYSA-N 0.000 description 2
- 229910052753 mercury Inorganic materials 0.000 description 2
- 125000006606 n-butoxy group Chemical group 0.000 description 2
- SLCVBVWXLSEKPL-UHFFFAOYSA-N neopentyl glycol Chemical compound OCC(C)(C)CO SLCVBVWXLSEKPL-UHFFFAOYSA-N 0.000 description 2
- 229920001778 nylon Polymers 0.000 description 2
- 230000000379 polymerizing effect Effects 0.000 description 2
- 239000004814 polyurethane Substances 0.000 description 2
- 229920002635 polyurethane Polymers 0.000 description 2
- 239000000843 powder Substances 0.000 description 2
- 239000000047 product Substances 0.000 description 2
- 239000005060 rubber Substances 0.000 description 2
- 229910052709 silver Inorganic materials 0.000 description 2
- 239000004332 silver Substances 0.000 description 2
- MSFGZHUJTJBYFA-UHFFFAOYSA-M sodium dichloroisocyanurate Chemical compound [Na+].ClN1C(=O)[N-]C(=O)N(Cl)C1=O MSFGZHUJTJBYFA-UHFFFAOYSA-M 0.000 description 2
- 239000007787 solid Substances 0.000 description 2
- 238000004544 sputter deposition Methods 0.000 description 2
- 229920003002 synthetic resin Polymers 0.000 description 2
- 239000000057 synthetic resin Substances 0.000 description 2
- 239000003784 tall oil Substances 0.000 description 2
- 150000003512 tertiary amines Chemical class 0.000 description 2
- 239000004408 titanium dioxide Substances 0.000 description 2
- 125000000391 vinyl group Chemical group [H]C([*])=C([H])[H] 0.000 description 2
- 238000004804 winding Methods 0.000 description 2
- DTGKSKDOIYIVQL-WEDXCCLWSA-N (+)-borneol Chemical group C1C[C@@]2(C)[C@@H](O)C[C@@H]1C2(C)C DTGKSKDOIYIVQL-WEDXCCLWSA-N 0.000 description 1
- WTARULDDTDQWMU-RKDXNWHRSA-N (+)-β-pinene Chemical compound C1[C@H]2C(C)(C)[C@@H]1CCC2=C WTARULDDTDQWMU-RKDXNWHRSA-N 0.000 description 1
- WTARULDDTDQWMU-IUCAKERBSA-N (-)-Nopinene Natural products C1[C@@H]2C(C)(C)[C@H]1CCC2=C WTARULDDTDQWMU-IUCAKERBSA-N 0.000 description 1
- QNODIIQQMGDSEF-UHFFFAOYSA-N (1-hydroxycyclohexyl)-phenylmethanone Chemical compound C=1C=CC=CC=1C(=O)C1(O)CCCCC1 QNODIIQQMGDSEF-UHFFFAOYSA-N 0.000 description 1
- HJIAMFHSAAEUKR-UHFFFAOYSA-N (2-hydroxyphenyl)-phenylmethanone Chemical compound OC1=CC=CC=C1C(=O)C1=CC=CC=C1 HJIAMFHSAAEUKR-UHFFFAOYSA-N 0.000 description 1
- WYTZZXDRDKSJID-UHFFFAOYSA-N (3-aminopropyl)triethoxysilane Chemical compound CCO[Si](OCC)(OCC)CCCN WYTZZXDRDKSJID-UHFFFAOYSA-N 0.000 description 1
- BPXVHIRIPLPOPT-UHFFFAOYSA-N 1,3,5-tris(2-hydroxyethyl)-1,3,5-triazinane-2,4,6-trione Chemical compound OCCN1C(=O)N(CCO)C(=O)N(CCO)C1=O BPXVHIRIPLPOPT-UHFFFAOYSA-N 0.000 description 1
- ALVZNPYWJMLXKV-UHFFFAOYSA-N 1,9-Nonanediol Chemical compound OCCCCCCCCCO ALVZNPYWJMLXKV-UHFFFAOYSA-N 0.000 description 1
- MLKIVXXYTZKNMI-UHFFFAOYSA-N 1-(4-dodecylphenyl)-2-hydroxy-2-methylpropan-1-one Chemical compound CCCCCCCCCCCCC1=CC=C(C(=O)C(C)(C)O)C=C1 MLKIVXXYTZKNMI-UHFFFAOYSA-N 0.000 description 1
- KPAPHODVWOVUJL-UHFFFAOYSA-N 1-benzofuran;1h-indene Chemical compound C1=CC=C2CC=CC2=C1.C1=CC=C2OC=CC2=C1 KPAPHODVWOVUJL-UHFFFAOYSA-N 0.000 description 1
- XLPJNCYCZORXHG-UHFFFAOYSA-N 1-morpholin-4-ylprop-2-en-1-one Chemical compound C=CC(=O)N1CCOCC1 XLPJNCYCZORXHG-UHFFFAOYSA-N 0.000 description 1
- VOBUAPTXJKMNCT-UHFFFAOYSA-N 1-prop-2-enoyloxyhexyl prop-2-enoate Chemical compound CCCCCC(OC(=O)C=C)OC(=O)C=C VOBUAPTXJKMNCT-UHFFFAOYSA-N 0.000 description 1
- YIKSHDNOAYSSPX-UHFFFAOYSA-N 1-propan-2-ylthioxanthen-9-one Chemical compound S1C2=CC=CC=C2C(=O)C2=C1C=CC=C2C(C)C YIKSHDNOAYSSPX-UHFFFAOYSA-N 0.000 description 1
- PIZHFBODNLEQBL-UHFFFAOYSA-N 2,2-diethoxy-1-phenylethanone Chemical compound CCOC(OCC)C(=O)C1=CC=CC=C1 PIZHFBODNLEQBL-UHFFFAOYSA-N 0.000 description 1
- CZZVAVMGKRNEAT-UHFFFAOYSA-N 2,2-dimethylpropane-1,3-diol;3-hydroxy-2,2-dimethylpropanoic acid Chemical compound OCC(C)(C)CO.OCC(C)(C)C(O)=O CZZVAVMGKRNEAT-UHFFFAOYSA-N 0.000 description 1
- UFUXVJFOILLERS-UHFFFAOYSA-N 2,2-dimethylpropane-1,3-diol;prop-2-enoic acid Chemical compound OC(=O)C=C.OCC(C)(C)CO UFUXVJFOILLERS-UHFFFAOYSA-N 0.000 description 1
- HBKBEZURJSNABK-MWJPAGEPSA-N 2,3-dihydroxypropyl (1r,4ar,4br,10ar)-1,4a-dimethyl-7-propan-2-yl-2,3,4,4b,5,6,10,10a-octahydrophenanthrene-1-carboxylate Chemical compound C([C@@H]12)CC(C(C)C)=CC1=CC[C@@H]1[C@]2(C)CCC[C@@]1(C)C(=O)OCC(O)CO HBKBEZURJSNABK-MWJPAGEPSA-N 0.000 description 1
- LZHUBCULTHIFNO-UHFFFAOYSA-N 2,4-dihydroxy-1,5-bis[4-(2-hydroxyethoxy)phenyl]-2,4-dimethylpentan-3-one Chemical compound C=1C=C(OCCO)C=CC=1CC(C)(O)C(=O)C(O)(C)CC1=CC=C(OCCO)C=C1 LZHUBCULTHIFNO-UHFFFAOYSA-N 0.000 description 1
- BBBUAWSVILPJLL-UHFFFAOYSA-N 2-(2-ethylhexoxymethyl)oxirane Chemical compound CCCCC(CC)COCC1CO1 BBBUAWSVILPJLL-UHFFFAOYSA-N 0.000 description 1
- JAHNSTQSQJOJLO-UHFFFAOYSA-N 2-(3-fluorophenyl)-1h-imidazole Chemical compound FC1=CC=CC(C=2NC=CN=2)=C1 JAHNSTQSQJOJLO-UHFFFAOYSA-N 0.000 description 1
- WMYINDVYGQKYMI-UHFFFAOYSA-N 2-[2,2-bis(hydroxymethyl)butoxymethyl]-2-ethylpropane-1,3-diol Chemical compound CCC(CO)(CO)COCC(CC)(CO)CO WMYINDVYGQKYMI-UHFFFAOYSA-N 0.000 description 1
- WTYYGFLRBWMFRY-UHFFFAOYSA-N 2-[6-(oxiran-2-ylmethoxy)hexoxymethyl]oxirane Chemical compound C1OC1COCCCCCCOCC1CO1 WTYYGFLRBWMFRY-UHFFFAOYSA-N 0.000 description 1
- KUAUJXBLDYVELT-UHFFFAOYSA-N 2-[[2,2-dimethyl-3-(oxiran-2-ylmethoxy)propoxy]methyl]oxirane Chemical compound C1OC1COCC(C)(C)COCC1CO1 KUAUJXBLDYVELT-UHFFFAOYSA-N 0.000 description 1
- FGTYTUFKXYPTML-UHFFFAOYSA-N 2-benzoylbenzoic acid Chemical compound OC(=O)C1=CC=CC=C1C(=O)C1=CC=CC=C1 FGTYTUFKXYPTML-UHFFFAOYSA-N 0.000 description 1
- DSKYSDCYIODJPC-UHFFFAOYSA-N 2-butyl-2-ethylpropane-1,3-diol Chemical compound CCCCC(CC)(CO)CO DSKYSDCYIODJPC-UHFFFAOYSA-N 0.000 description 1
- QPXVRLXJHPTCPW-UHFFFAOYSA-N 2-hydroxy-2-methyl-1-(4-propan-2-ylphenyl)propan-1-one Chemical compound CC(C)C1=CC=C(C(=O)C(C)(C)O)C=C1 QPXVRLXJHPTCPW-UHFFFAOYSA-N 0.000 description 1
- YEYKMVJDLWJFOA-UHFFFAOYSA-N 2-propoxyethanol Chemical compound CCCOCCO YEYKMVJDLWJFOA-UHFFFAOYSA-N 0.000 description 1
- ZDZYGYFHTPFREM-UHFFFAOYSA-N 3-[3-aminopropyl(dimethoxy)silyl]oxypropan-1-amine Chemical compound NCCC[Si](OC)(OC)OCCCN ZDZYGYFHTPFREM-UHFFFAOYSA-N 0.000 description 1
- ZLAOXGYWRBSWOY-UHFFFAOYSA-N 3-chloropropyl(methoxy)silane Chemical compound CO[SiH2]CCCCl ZLAOXGYWRBSWOY-UHFFFAOYSA-N 0.000 description 1
- SXFJDZNJHVPHPH-UHFFFAOYSA-N 3-methylpentane-1,5-diol Chemical compound OCCC(C)CCO SXFJDZNJHVPHPH-UHFFFAOYSA-N 0.000 description 1
- UUEWCQRISZBELL-UHFFFAOYSA-N 3-trimethoxysilylpropane-1-thiol Chemical compound CO[Si](OC)(OC)CCCS UUEWCQRISZBELL-UHFFFAOYSA-N 0.000 description 1
- XDLMVUHYZWKMMD-UHFFFAOYSA-N 3-trimethoxysilylpropyl 2-methylprop-2-enoate Chemical compound CO[Si](OC)(OC)CCCOC(=O)C(C)=C XDLMVUHYZWKMMD-UHFFFAOYSA-N 0.000 description 1
- YDIYEOMDOWUDTJ-UHFFFAOYSA-N 4-(dimethylamino)benzoic acid Chemical compound CN(C)C1=CC=C(C(O)=O)C=C1 YDIYEOMDOWUDTJ-UHFFFAOYSA-N 0.000 description 1
- GZVHEAJQGPRDLQ-UHFFFAOYSA-N 6-phenyl-1,3,5-triazine-2,4-diamine Chemical compound NC1=NC(N)=NC(C=2C=CC=CC=2)=N1 GZVHEAJQGPRDLQ-UHFFFAOYSA-N 0.000 description 1
- 229910002012 Aerosil® Inorganic materials 0.000 description 1
- 240000000972 Agathis dammara Species 0.000 description 1
- 239000005711 Benzoic acid Substances 0.000 description 1
- 229930185605 Bisphenol Natural products 0.000 description 1
- OKTJSMMVPCPJKN-UHFFFAOYSA-N Carbon Chemical compound [C] OKTJSMMVPCPJKN-UHFFFAOYSA-N 0.000 description 1
- 239000004215 Carbon black (E152) Substances 0.000 description 1
- XDTMQSROBMDMFD-UHFFFAOYSA-N Cyclohexane Chemical compound C1CCCCC1 XDTMQSROBMDMFD-UHFFFAOYSA-N 0.000 description 1
- 229920002871 Dammar gum Polymers 0.000 description 1
- 244000043261 Hevea brasiliensis Species 0.000 description 1
- 239000004831 Hot glue Substances 0.000 description 1
- OWYWGLHRNBIFJP-UHFFFAOYSA-N Ipazine Chemical compound CCN(CC)C1=NC(Cl)=NC(NC(C)C)=N1 OWYWGLHRNBIFJP-UHFFFAOYSA-N 0.000 description 1
- 239000004640 Melamine resin Substances 0.000 description 1
- 229920000877 Melamine resin Polymers 0.000 description 1
- CERQOIWHTDAKMF-UHFFFAOYSA-M Methacrylate Chemical compound CC(=C)C([O-])=O CERQOIWHTDAKMF-UHFFFAOYSA-M 0.000 description 1
- CERQOIWHTDAKMF-UHFFFAOYSA-N Methacrylic acid Chemical compound CC(=C)C(O)=O CERQOIWHTDAKMF-UHFFFAOYSA-N 0.000 description 1
- BWPYBAJTDILQPY-UHFFFAOYSA-N Methoxyphenone Chemical compound C1=C(C)C(OC)=CC=C1C(=O)C1=CC=CC(C)=C1 BWPYBAJTDILQPY-UHFFFAOYSA-N 0.000 description 1
- NQSMEZJWJJVYOI-UHFFFAOYSA-N Methyl 2-benzoylbenzoate Chemical compound COC(=O)C1=CC=CC=C1C(=O)C1=CC=CC=C1 NQSMEZJWJJVYOI-UHFFFAOYSA-N 0.000 description 1
- NTIZESTWPVYFNL-UHFFFAOYSA-N Methyl isobutyl ketone Chemical compound CC(C)CC(C)=O NTIZESTWPVYFNL-UHFFFAOYSA-N 0.000 description 1
- UIHCLUNTQKBZGK-UHFFFAOYSA-N Methyl isobutyl ketone Natural products CCC(C)C(C)=O UIHCLUNTQKBZGK-UHFFFAOYSA-N 0.000 description 1
- UFWIBTONFRDIAS-UHFFFAOYSA-N Naphthalene Chemical compound C1=CC=CC2=CC=CC=C21 UFWIBTONFRDIAS-UHFFFAOYSA-N 0.000 description 1
- 239000006057 Non-nutritive feed additive Substances 0.000 description 1
- 239000002033 PVDF binder Substances 0.000 description 1
- ISWSIDIOOBJBQZ-UHFFFAOYSA-N Phenol Chemical compound OC1=CC=CC=C1 ISWSIDIOOBJBQZ-UHFFFAOYSA-N 0.000 description 1
- FQYUMYWMJTYZTK-UHFFFAOYSA-N Phenyl glycidyl ether Chemical compound C1OC1COC1=CC=CC=C1 FQYUMYWMJTYZTK-UHFFFAOYSA-N 0.000 description 1
- 239000005062 Polybutadiene Substances 0.000 description 1
- 239000004698 Polyethylene Substances 0.000 description 1
- OFOBLEOULBTSOW-UHFFFAOYSA-N Propanedioic acid Natural products OC(=O)CC(O)=O OFOBLEOULBTSOW-UHFFFAOYSA-N 0.000 description 1
- WTARULDDTDQWMU-UHFFFAOYSA-N Pseudopinene Natural products C1C2C(C)(C)C1CCC2=C WTARULDDTDQWMU-UHFFFAOYSA-N 0.000 description 1
- 229920001800 Shellac Polymers 0.000 description 1
- KDYFGRWQOYBRFD-UHFFFAOYSA-N Succinic acid Natural products OC(=O)CCC(O)=O KDYFGRWQOYBRFD-UHFFFAOYSA-N 0.000 description 1
- 239000004809 Teflon Substances 0.000 description 1
- 229920006362 Teflon® Polymers 0.000 description 1
- GSEJCLTVZPLZKY-UHFFFAOYSA-N Triethanolamine Chemical compound OCCN(CCO)CCO GSEJCLTVZPLZKY-UHFFFAOYSA-N 0.000 description 1
- SLINHMUFWFWBMU-UHFFFAOYSA-N Triisopropanolamine Chemical compound CC(O)CN(CC(C)O)CC(C)O SLINHMUFWFWBMU-UHFFFAOYSA-N 0.000 description 1
- 239000007983 Tris buffer Substances 0.000 description 1
- 235000005811 Viola adunca Nutrition 0.000 description 1
- 240000009038 Viola odorata Species 0.000 description 1
- 235000013487 Viola odorata Nutrition 0.000 description 1
- 235000002254 Viola papilionacea Nutrition 0.000 description 1
- 235000010724 Wisteria floribunda Nutrition 0.000 description 1
- XLOMVQKBTHCTTD-UHFFFAOYSA-N Zinc monoxide Chemical compound [Zn]=O XLOMVQKBTHCTTD-UHFFFAOYSA-N 0.000 description 1
- NOZAQBYNLKNDRT-UHFFFAOYSA-N [diacetyloxy(ethenyl)silyl] acetate Chemical compound CC(=O)O[Si](OC(C)=O)(OC(C)=O)C=C NOZAQBYNLKNDRT-UHFFFAOYSA-N 0.000 description 1
- 150000008062 acetophenones Chemical class 0.000 description 1
- 230000002378 acidificating effect Effects 0.000 description 1
- 150000007513 acids Chemical class 0.000 description 1
- NIXOWILDQLNWCW-UHFFFAOYSA-N acrylic acid group Chemical group C(C=C)(=O)O NIXOWILDQLNWCW-UHFFFAOYSA-N 0.000 description 1
- 229920006243 acrylic copolymer Polymers 0.000 description 1
- 239000002318 adhesion promoter Substances 0.000 description 1
- 239000001361 adipic acid Substances 0.000 description 1
- 235000011037 adipic acid Nutrition 0.000 description 1
- 125000002723 alicyclic group Chemical group 0.000 description 1
- 125000001931 aliphatic group Chemical group 0.000 description 1
- 229920006271 aliphatic hydrocarbon resin Polymers 0.000 description 1
- 150000001336 alkenes Chemical class 0.000 description 1
- 125000000217 alkyl group Chemical group 0.000 description 1
- 229910045601 alloy Inorganic materials 0.000 description 1
- 239000000956 alloy Substances 0.000 description 1
- XCPQUQHBVVXMRQ-UHFFFAOYSA-N alpha-Fenchene Natural products C1CC2C(=C)CC1C2(C)C XCPQUQHBVVXMRQ-UHFFFAOYSA-N 0.000 description 1
- MVNCAPSFBDBCGF-UHFFFAOYSA-N alpha-pinene Natural products CC1=CCC23C1CC2C3(C)C MVNCAPSFBDBCGF-UHFFFAOYSA-N 0.000 description 1
- WNROFYMDJYEPJX-UHFFFAOYSA-K aluminium hydroxide Chemical compound [OH-].[OH-].[OH-].[Al+3] WNROFYMDJYEPJX-UHFFFAOYSA-K 0.000 description 1
- PNEYBMLMFCGWSK-UHFFFAOYSA-N aluminium oxide Inorganic materials [O-2].[O-2].[O-2].[Al+3].[Al+3] PNEYBMLMFCGWSK-UHFFFAOYSA-N 0.000 description 1
- 239000003963 antioxidant agent Substances 0.000 description 1
- 230000003078 antioxidant effect Effects 0.000 description 1
- 150000004945 aromatic hydrocarbons Chemical class 0.000 description 1
- 239000011324 bead Substances 0.000 description 1
- 235000010233 benzoic acid Nutrition 0.000 description 1
- CHIHQLCVLOXUJW-UHFFFAOYSA-N benzoic anhydride Chemical compound C=1C=CC=CC=1C(=O)OC(=O)C1=CC=CC=C1 CHIHQLCVLOXUJW-UHFFFAOYSA-N 0.000 description 1
- ISAOCJYIOMOJEB-UHFFFAOYSA-N benzoin Chemical class C=1C=CC=CC=1C(O)C(=O)C1=CC=CC=C1 ISAOCJYIOMOJEB-UHFFFAOYSA-N 0.000 description 1
- 150000008366 benzophenones Chemical class 0.000 description 1
- 125000001797 benzyl group Chemical group [H]C1=C([H])C([H])=C(C([H])=C1[H])C([H])([H])* 0.000 description 1
- 229930006722 beta-pinene Natural products 0.000 description 1
- 230000001588 bifunctional effect Effects 0.000 description 1
- 230000015572 biosynthetic process Effects 0.000 description 1
- KBWLNCUTNDKMPN-UHFFFAOYSA-N bis(oxiran-2-ylmethyl) hexanedioate Chemical compound C1OC1COC(=O)CCCCC(=O)OCC1CO1 KBWLNCUTNDKMPN-UHFFFAOYSA-N 0.000 description 1
- QDVNNDYBCWZVTI-UHFFFAOYSA-N bis[4-(ethylamino)phenyl]methanone Chemical compound C1=CC(NCC)=CC=C1C(=O)C1=CC=C(NCC)C=C1 QDVNNDYBCWZVTI-UHFFFAOYSA-N 0.000 description 1
- HXTBYXIZCDULQI-UHFFFAOYSA-N bis[4-(methylamino)phenyl]methanone Chemical compound C1=CC(NC)=CC=C1C(=O)C1=CC=C(NC)C=C1 HXTBYXIZCDULQI-UHFFFAOYSA-N 0.000 description 1
- KDYFGRWQOYBRFD-NUQCWPJISA-N butanedioic acid Chemical compound O[14C](=O)CC[14C](O)=O KDYFGRWQOYBRFD-NUQCWPJISA-N 0.000 description 1
- 229920005549 butyl rubber Polymers 0.000 description 1
- 229910052799 carbon Inorganic materials 0.000 description 1
- 239000001913 cellulose Substances 0.000 description 1
- 229920002678 cellulose Polymers 0.000 description 1
- 229920002301 cellulose acetate Polymers 0.000 description 1
- 239000013065 commercial product Substances 0.000 description 1
- 239000000470 constituent Substances 0.000 description 1
- 238000007796 conventional method Methods 0.000 description 1
- 238000001816 cooling Methods 0.000 description 1
- 238000000151 deposition Methods 0.000 description 1
- 238000007607 die coating method Methods 0.000 description 1
- 150000001993 dienes Chemical class 0.000 description 1
- GYZLOYUZLJXAJU-UHFFFAOYSA-N diglycidyl ether Chemical compound C1OC1COCC1CO1 GYZLOYUZLJXAJU-UHFFFAOYSA-N 0.000 description 1
- 239000000539 dimer Substances 0.000 description 1
- SZXQTJUDPRGNJN-UHFFFAOYSA-N dipropylene glycol Chemical compound OCCCOCCCO SZXQTJUDPRGNJN-UHFFFAOYSA-N 0.000 description 1
- 238000006073 displacement reaction Methods 0.000 description 1
- 238000001035 drying Methods 0.000 description 1
- 238000005516 engineering process Methods 0.000 description 1
- 230000032050 esterification Effects 0.000 description 1
- 238000005886 esterification reaction Methods 0.000 description 1
- FWDBOZPQNFPOLF-UHFFFAOYSA-N ethenyl(triethoxy)silane Chemical compound CCO[Si](OCC)(OCC)C=C FWDBOZPQNFPOLF-UHFFFAOYSA-N 0.000 description 1
- WOXXJEVNDJOOLV-UHFFFAOYSA-N ethenyl-tris(2-methoxyethoxy)silane Chemical compound COCCO[Si](OCCOC)(OCCOC)C=C WOXXJEVNDJOOLV-UHFFFAOYSA-N 0.000 description 1
- ORBFAMHUKZLWSD-UHFFFAOYSA-N ethyl 2-(dimethylamino)benzoate Chemical compound CCOC(=O)C1=CC=CC=C1N(C)C ORBFAMHUKZLWSD-UHFFFAOYSA-N 0.000 description 1
- 230000001747 exhibiting effect Effects 0.000 description 1
- 238000001125 extrusion Methods 0.000 description 1
- 239000010433 feldspar Substances 0.000 description 1
- 238000009472 formulation Methods 0.000 description 1
- LCWMKIHBLJLORW-UHFFFAOYSA-N gamma-carene Natural products C1CC(=C)CC2C(C)(C)C21 LCWMKIHBLJLORW-UHFFFAOYSA-N 0.000 description 1
- VOZRXNHHFUQHIL-UHFFFAOYSA-N glycidyl methacrylate Chemical compound CC(=C)C(=O)OCC1CO1 VOZRXNHHFUQHIL-UHFFFAOYSA-N 0.000 description 1
- PCHJSUWPFVWCPO-UHFFFAOYSA-N gold Chemical compound [Au] PCHJSUWPFVWCPO-UHFFFAOYSA-N 0.000 description 1
- 229910052737 gold Inorganic materials 0.000 description 1
- 239000010931 gold Substances 0.000 description 1
- 150000002367 halogens Chemical class 0.000 description 1
- 229930195733 hydrocarbon Natural products 0.000 description 1
- 150000002430 hydrocarbons Chemical class 0.000 description 1
- 238000005984 hydrogenation reaction Methods 0.000 description 1
- GPRLSGONYQIRFK-UHFFFAOYSA-N hydron Chemical compound [H+] GPRLSGONYQIRFK-UHFFFAOYSA-N 0.000 description 1
- WGCNASOHLSPBMP-UHFFFAOYSA-N hydroxyacetaldehyde Natural products OCC=O WGCNASOHLSPBMP-UHFFFAOYSA-N 0.000 description 1
- 230000006872 improvement Effects 0.000 description 1
- 238000007733 ion plating Methods 0.000 description 1
- ZFSLODLOARCGLH-UHFFFAOYSA-N isocyanuric acid Chemical compound OC1=NC(O)=NC(O)=N1 ZFSLODLOARCGLH-UHFFFAOYSA-N 0.000 description 1
- 239000007788 liquid Substances 0.000 description 1
- 239000000395 magnesium oxide Substances 0.000 description 1
- VZCYOOQTPOCHFL-UPHRSURJSA-N maleic acid Chemical compound OC(=O)\C=C/C(O)=O VZCYOOQTPOCHFL-UPHRSURJSA-N 0.000 description 1
- 239000011976 maleic acid Substances 0.000 description 1
- 238000002844 melting Methods 0.000 description 1
- 230000008018 melting Effects 0.000 description 1
- QSHDDOUJBYECFT-UHFFFAOYSA-N mercury Chemical compound [Hg] QSHDDOUJBYECFT-UHFFFAOYSA-N 0.000 description 1
- 229910001510 metal chloride Inorganic materials 0.000 description 1
- 238000001465 metallisation Methods 0.000 description 1
- CRVGTESFCCXCTH-UHFFFAOYSA-N methyl diethanolamine Chemical compound OCCN(C)CCO CRVGTESFCCXCTH-UHFFFAOYSA-N 0.000 description 1
- 150000004702 methyl esters Chemical class 0.000 description 1
- 125000002496 methyl group Chemical group [H]C([H])([H])* 0.000 description 1
- LVHBHZANLOWSRM-UHFFFAOYSA-N methylenebutanedioic acid Natural products OC(=O)CC(=C)C(O)=O LVHBHZANLOWSRM-UHFFFAOYSA-N 0.000 description 1
- 239000010445 mica Substances 0.000 description 1
- 229910052618 mica group Inorganic materials 0.000 description 1
- 229920003052 natural elastomer Polymers 0.000 description 1
- 229920001194 natural rubber Polymers 0.000 description 1
- FVXBCDWMKCEPCL-UHFFFAOYSA-N nonane-1,1-diol Chemical compound CCCCCCCCC(O)O FVXBCDWMKCEPCL-UHFFFAOYSA-N 0.000 description 1
- 239000003921 oil Substances 0.000 description 1
- JRZJOMJEPLMPRA-UHFFFAOYSA-N olefin Natural products CCCCCCCC=C JRZJOMJEPLMPRA-UHFFFAOYSA-N 0.000 description 1
- 150000002989 phenols Chemical class 0.000 description 1
- LYXOWKPVTCPORE-UHFFFAOYSA-N phenyl-(4-phenylphenyl)methanone Chemical compound C=1C=C(C=2C=CC=CC=2)C=CC=1C(=O)C1=CC=CC=C1 LYXOWKPVTCPORE-UHFFFAOYSA-N 0.000 description 1
- 229920003023 plastic Polymers 0.000 description 1
- 239000004033 plastic Substances 0.000 description 1
- 229920002857 polybutadiene Polymers 0.000 description 1
- 229920001083 polybutene Polymers 0.000 description 1
- 229920001610 polycaprolactone Polymers 0.000 description 1
- 239000004632 polycaprolactone Substances 0.000 description 1
- 229920005668 polycarbonate resin Polymers 0.000 description 1
- 239000004431 polycarbonate resin Substances 0.000 description 1
- 229920005906 polyester polyol Polymers 0.000 description 1
- 229920000573 polyethylene Polymers 0.000 description 1
- 239000005056 polyisocyanate Substances 0.000 description 1
- 229920001228 polyisocyanate Polymers 0.000 description 1
- 229920001451 polypropylene glycol Polymers 0.000 description 1
- 150000007519 polyprotic acids Polymers 0.000 description 1
- 229920001296 polysiloxane Polymers 0.000 description 1
- 229920002981 polyvinylidene fluoride Polymers 0.000 description 1
- 239000011148 porous material Substances 0.000 description 1
- 239000011164 primary particle Substances 0.000 description 1
- 238000012545 processing Methods 0.000 description 1
- 230000001737 promoting effect Effects 0.000 description 1
- 239000010453 quartz Substances 0.000 description 1
- GRWFGVWFFZKLTI-UHFFFAOYSA-N rac-alpha-Pinene Natural products CC1=CCC2C(C)(C)C1C2 GRWFGVWFFZKLTI-UHFFFAOYSA-N 0.000 description 1
- 238000002310 reflectometry Methods 0.000 description 1
- 238000005096 rolling process Methods 0.000 description 1
- 238000007789 sealing Methods 0.000 description 1
- ZLGIYFNHBLSMPS-ATJNOEHPSA-N shellac Chemical compound OCCCCCC(O)C(O)CCCCCCCC(O)=O.C1C23[C@H](C(O)=O)CCC2[C@](C)(CO)[C@@H]1C(C(O)=O)=C[C@@H]3O ZLGIYFNHBLSMPS-ATJNOEHPSA-N 0.000 description 1
- 239000004208 shellac Substances 0.000 description 1
- 229940113147 shellac Drugs 0.000 description 1
- 235000013874 shellac Nutrition 0.000 description 1
- 239000000741 silica gel Substances 0.000 description 1
- 229910002027 silica gel Inorganic materials 0.000 description 1
- RMAQACBXLXPBSY-UHFFFAOYSA-N silicic acid Chemical compound O[Si](O)(O)O RMAQACBXLXPBSY-UHFFFAOYSA-N 0.000 description 1
- 239000010703 silicon Substances 0.000 description 1
- 229910052710 silicon Inorganic materials 0.000 description 1
- 229920002050 silicone resin Polymers 0.000 description 1
- 239000004291 sulphur dioxide Substances 0.000 description 1
- 230000001629 suppression Effects 0.000 description 1
- 229920003051 synthetic elastomer Polymers 0.000 description 1
- 239000005061 synthetic rubber Substances 0.000 description 1
- 239000000454 talc Substances 0.000 description 1
- 229910052623 talc Inorganic materials 0.000 description 1
- 238000004154 testing of material Methods 0.000 description 1
- 229920005992 thermoplastic resin Polymers 0.000 description 1
- LWRYDHOHXNQTSK-UHFFFAOYSA-N thiophene oxide Chemical class O=S1C=CC=C1 LWRYDHOHXNQTSK-UHFFFAOYSA-N 0.000 description 1
- VZCYOOQTPOCHFL-UHFFFAOYSA-N trans-butenedioic acid Natural products OC(=O)C=CC(O)=O VZCYOOQTPOCHFL-UHFFFAOYSA-N 0.000 description 1
- GQIUQDDJKHLHTB-UHFFFAOYSA-N trichloro(ethenyl)silane Chemical compound Cl[Si](Cl)(Cl)C=C GQIUQDDJKHLHTB-UHFFFAOYSA-N 0.000 description 1
- JXUKBNICSRJFAP-UHFFFAOYSA-N triethoxy-[3-(oxiran-2-ylmethoxy)propyl]silane Chemical compound CCO[Si](OCC)(OCC)CCCOCC1CO1 JXUKBNICSRJFAP-UHFFFAOYSA-N 0.000 description 1
- DQZNLOXENNXVAD-UHFFFAOYSA-N trimethoxy-[2-(7-oxabicyclo[4.1.0]heptan-4-yl)ethyl]silane Chemical compound C1C(CC[Si](OC)(OC)OC)CCC2OC21 DQZNLOXENNXVAD-UHFFFAOYSA-N 0.000 description 1
- BPSIOYPQMFLKFR-UHFFFAOYSA-N trimethoxy-[3-(oxiran-2-ylmethoxy)propyl]silane Chemical compound CO[Si](OC)(OC)CCCOCC1CO1 BPSIOYPQMFLKFR-UHFFFAOYSA-N 0.000 description 1
- 239000006097 ultraviolet radiation absorber Substances 0.000 description 1
- 229930195735 unsaturated hydrocarbon Natural products 0.000 description 1
- 238000001771 vacuum deposition Methods 0.000 description 1
- 238000007666 vacuum forming Methods 0.000 description 1
- 239000005050 vinyl trichlorosilane Substances 0.000 description 1
- 229910052724 xenon Inorganic materials 0.000 description 1
- FHNFHKCVQCLJFQ-UHFFFAOYSA-N xenon atom Chemical compound [Xe] FHNFHKCVQCLJFQ-UHFFFAOYSA-N 0.000 description 1
- 239000011787 zinc oxide Substances 0.000 description 1
- 235000014692 zinc oxide Nutrition 0.000 description 1
- PAPBSGBWRJIAAV-UHFFFAOYSA-N ε-Caprolactone Chemical compound O=C1CCCCCO1 PAPBSGBWRJIAAV-UHFFFAOYSA-N 0.000 description 1
Images
Landscapes
- Adhesive Tapes (AREA)
- Adhesives Or Adhesive Processes (AREA)
- Optical Record Carriers And Manufacture Thereof (AREA)
- Manufacturing Optical Record Carriers (AREA)
Abstract
【課題】 DVD等の厚さが薄く、高容量の光情報記録媒体の製造に有利な光硬化性転写シートであって、製造時に使用される長尺状シートのロール形態にしても、光硬化性転写層の成分のしみ出しが無く、シート厚の変動もない本発明の光硬化性転写シートを提供すること。
【解決手段】 活性水素を有する官能基及び光重合性官能基を有する反応性ポリマーを含む、加圧により変形可能な光硬化性組成物からなる光硬化性転写層を有する光硬化性転写シートであって、光硬化性組成物が、さらに活性水素を有する官能基と反応性を有する基を少なくとも2個有する化合物を含んでいることを特徴とする光硬化性転写シート;これを用いた光情報記録媒体の製造方法;及び光情報記録媒体。
【選択図】 図1
【解決手段】 活性水素を有する官能基及び光重合性官能基を有する反応性ポリマーを含む、加圧により変形可能な光硬化性組成物からなる光硬化性転写層を有する光硬化性転写シートであって、光硬化性組成物が、さらに活性水素を有する官能基と反応性を有する基を少なくとも2個有する化合物を含んでいることを特徴とする光硬化性転写シート;これを用いた光情報記録媒体の製造方法;及び光情報記録媒体。
【選択図】 図1
Description
本発明は、DVD(Digital Versatile Disc)、CD(Compact Disc)等の大容量の文字、音声、動画像等の情報をディジタル信号として記録された及び/又は記録可能な光情報記録媒体、その製造方法及びこれらに有利に使用される光硬化性転写シートに関する。
ディジタル信号として表面にピット形成された記録済み光情報記録媒体として、オーディオ用CD、CD−ROMが広く使用されているが、最近、動画像と記録も可能な両面にピット記録がなされたDVDが、CDの次世代記録媒体として注目され、徐々に使用されるようになってきている。またピット及びグルーブが形成されたユーザが記録可能なCD−R、CD−RW、DVD−R、DVD−RW等も注目されている。
両面に記録層を持つDVDには、例えば、図8に示すようにそれぞれ片面に信号ビットを形成した2枚の透明樹脂基板1,2の該信号ビット形成面にそれぞれ反射層1a,2aを形成し、これら反射層1a,2aを互いに対面させた状態で基板1,2を接着剤層3を介して貼り合わせ、接合した両面読み出し方式のもの、及び、図9に示すように、それぞれ片面に信号ビットを形成した基板1,2において、一方の基板1の信号ビット面に半透明層1bを形成すると共に、他方の基板2の信号ビット面に反射層2aを形成し、これら半透明反射層1bと反射層2aとを対向させた状態で基板1,2を接着剤層3を介して貼り合わせ、接合した片面読み出し方式のものとが知られている。
両面読み出しDVDの製造は、従来、一般に前記信号ピットの凹凸が雄雌反対の凹凸を有するスタンパを用いて、ポリカーボネート樹脂を溶融し、射出成形することにより表面に凹凸を有する透明樹脂基板を作製し、この凹凸表面にアルミニウム等の金属をスパッタリング等により蒸着することによって反射層を形成し、この反射層が形成された透明樹脂基板2枚を反射層を対向させて接着剤で貼り合わせることにより行われていた。
2002年2月10日に次世代光ディスクの統一規格「ブル−レイ・ディスク(Blu-ray Disc)」が提案された。主な仕様は、記録容量:23.3/25/27GB、レーザ波長:405nm(青紫色レーザ)、レンズ開口数(N/A):0.85、ディスク直径:120mm、ディスク厚:1.2mm、トラックピッチ:0.32μm等である。
上記のようにブル−レイ・ディスクでは、溝の幅が狭く、且つピットも小さくなっている。このため読み取りレーザのスポットを小さく絞る必要があるが、スポットを小さくするとディスクの傾きによる影響を大きく受けるようになり、再生しようとするDVDがわずかに曲がっていても再生できなくなる。このような不利を補うため、基板の厚さを薄くし、またレーザ照射側のピット上のカバー層の厚さを0.1mm程度にすることが考えられている。
非特許文献1の68頁に上記要求に合うDVDの製造方法が記載されている。図10を参照しながら説明する。凹凸表面に反射層(又は記録層)6aを有するディスク基板(1.1mm)4aのその反射層上に紫外線硬化樹脂5Aを塗布により設け、凹凸表面に反射層(又は記録層)を有するポリカーボネート製スタンパ4bの上に紫外線硬化樹脂5Bを塗布により設ける。次いで、基板を表裏反転させて、基板とスタンパを貼り付け、スタンパ側から紫外線を照射して紫外線硬化樹脂5A及び5Bを硬化させる。紫外線硬化樹脂5Bの層からスタンパ4bを除去し、その凹凸面に反射層(又は記録層)6bを形成し、その上にカバー層(厚さ0.1mm程度)7を形成する。
上記の方法において、ディスク基板及びスタンパの表面には、塗布により紫外線硬化樹脂が設けられ、さらにその後基板を表裏反転させて、スタンパと貼り付けている。このように塗布及び反転の複雑な工程を行う必要があり、また反転して基板とスタンパを貼り付けする際、粘チョウな紫外線硬化樹脂同士の接触の際に気泡の発生等の不利があり、良好な貼り付けを行うことができないとの問題がある。さらに、上記紫外線硬化樹脂は硬化時に収縮が大きく、得られる媒体の反り等の変形が目立つとの問題もある。
上記問題点が改良可能なDVD等の光情報記録媒体の製造方法が、WO03/032305A1に開示されている。ここには、光重合性官能基を有する反応性ポリマーを含み且つ加圧により変形可能な光硬化性組成物からなる光硬化性転写シートを用いた製造方法が記載されている。即ち、上記紫外線硬化性樹脂の代わりに、固体状の上記光硬化性転写シートを用いて、スタンパに押圧することにより凹凸面を転写して上記問題点が回避できる。
しかしながら、上記光硬化性転写シートは、常温でも押圧により基板やスタンパの凹凸面を転写することができるため、この転写シートをロール状に製造したり、ロール状で保存した際、光硬化性転写層の成分がにじみ出す場合があることが明らかとなった。即ち、上記光硬化性転写シートは、一般に軟化しやすい光硬化性転写層の両側を剥離シートで挟んだ構造を有しているが、実際の製造において、例えばこの光硬化性転写層と剥離シートを同一幅で長尺状シート(以下、フルエッジともいう)のロールとした場合、光硬化性転写層の成分がロールの側面にしみ出し、製造装置、作業員等を汚染する場合があり、これにより作業性が低下するとの問題が発生することが明らかとなった。さらには、ロールを貯蔵している間に、その荷重によりシートの厚さが変化する等の問題も発生する。
これらを防止する目的で、光硬化性転写層に接着する剥離シートの幅を転写層より大きくした長尺状シート(このような構造のシートを、以下ドライエッジとも言う)をロールにしたものを用いて作業を行う方法が考えられる。しかしながら、このような方法を用いても、作業性はやや向上するものの、前記貯蔵中のシート厚の変動を抑えることはできない。
従って、本発明は、DVD等の厚さが薄く、高容量の光情報記録媒体の製造に有利な光硬化性転写シートであって、作業性に優れた光硬化性転写シートを提供することをその目的とする。
また、本発明は、DVD等の厚さが薄く、高容量の薄い光情報記録媒体の製造に有利な光硬化性転写シートであって、長尺状シートのロールの状態でも、光硬化性転写層の成分のしみ出しが無く、シート厚の変動も起こさない光硬化性転写シートを提供することをその目的とする。
さらに、上記光情報記録媒体の製造方法を提供することをその目的とする。
また、上記製造方法により得られる厚さの薄い光情報記録媒体を提供することをその目的とする。
上記目的は、活性水素を有する官能基及び光重合性官能基を有する反応性ポリマーを含む、加圧により変形可能な光硬化性組成物からなる光硬化性転写層を有する光硬化性転写シートであって、
光硬化性組成物が、さらに活性水素を有する官能基と反応性を有する基を少なくとも2個有する化合物を含んでいることを特徴とする光硬化性転写シートにより達成することができる。
光硬化性組成物が、さらに活性水素を有する官能基と反応性を有する基を少なくとも2個有する化合物を含んでいることを特徴とする光硬化性転写シートにより達成することができる。
上記光硬化性転写シートは、反応性ポリマーの活性水素を有する官能基と反応性を有する基を少なくとも2個有する化合物とを反応させる(一般に、塗布後、常温24時間後)ことにより、転写層が僅かに架橋し、これにより転写層のしみ出し、厚さ変動が有効に防止される。
上記光硬化性転写シートにおいて、活性水素を有する官能基は、一般にヒドキシル基である。また活性水素を有する官能基と反応性を有する基がイソシアネート基であることが好ましい。イソシアネート基は、ヒドロキシル基等と常温での硬化が可能であり、作業性が良好である。
活性水素を有する官能基と反応性を有する基を少なくとも2個有する化合物が、光硬化性組成物中に0.2〜2質量%の範囲で含まれていることが好ましい。転写層のしみ出しを防止するために適当な架橋がもたらされる。この場合、基板やスタンパの凹凸の良好な転写性も維持される。
また、反応性ポリマーが、活性水素を有する官能基を0.1〜10モル%含んでいることが好ましい。転写層のしみ出しを防止する程度の適当な架橋が得られる。
さらに、反応性ポリマーが、光重合性官能基を1〜50モル%含むことが適当な硬化性、硬化被膜強度を得る上で好ましい。光重合性官能基が、(メタ)アクリロイル基であることが、硬化性の点で好ましい。光硬化性組成物が、光重合開始剤を0.1〜10質量%含むことが適当な硬化性を得る上で好ましい。光硬化性転写シートの厚さが1〜1200μm(特に5〜300μm)であることが、転写性、作業性の点から好ましい。反応性ポリマーの数平均分子量が10000〜300000であること、また重量平均分子量が10000〜300000であることが好ましい。転写性、作業性の点から好ましい。
光硬化性転写シートは380〜420nmの波長領域(好ましくは380〜600nm、特に380〜800nmの波長領域)の光透過率が70%以上であることが好ましい。これにより得られる媒体にレーザによる信号の読み取りを行った場合に、エラーの無い操作が保証される。上記光硬化性転写シートの硬化収縮率が8%以下であることが好ましい。
活性水素を有する官能基と、活性水素を有する官能基と反応性を有する基を少なくとも2個有する化合物とを反応させた後の光硬化性転写層が、動的粘弾性測定装置を用いるクリープ試験において、常温で、応力50Pa、120秒間の条件で、時間[t]に対する歪み[γ](%)の関係が、直線性を示し、且つ下記式:
logγ=a+b・logt
(但し、aが実数を表し、bが0.10〜0.55(特に0.53)の範囲にある)を満足することが好ましい。転写層のしみ出しを防止すると共に基板やスタンパの凹凸の転写性にも優れたものが得られる。
logγ=a+b・logt
(但し、aが実数を表し、bが0.10〜0.55(特に0.53)の範囲にある)を満足することが好ましい。転写層のしみ出しを防止すると共に基板やスタンパの凹凸の転写性にも優れたものが得られる。
光硬化性転写シートにおいて、光硬化性組成物のガラス転移温度が20℃以下であることが一般的で、特に反応性ポリマーのガラス転移温度が20℃以下であることが好ましい。凹凸面の転写性の向上に有利である。
また、前記目的は、光重合性官能基を有する反応性ポリマーを含む、加圧により変形可能な光硬化性組成物からなる光硬化性転写層を有する光硬化性転写シートであって、
光硬化性転写層が、動的粘弾性測定装置を用いるクリープ試験において、常温で、応力50Pa、120秒間の条件で、時間[t](秒)に対する歪み[γ](%)の関係が、直線性を示し、且つ下記式:
logγ=a+b・logt
(但し、aが実数を表し、bが0.10〜0.55(特に0.53)の範囲にある)を満足することを特徴とする光硬化性転写シートにより達成することができる。
光硬化性転写層が、動的粘弾性測定装置を用いるクリープ試験において、常温で、応力50Pa、120秒間の条件で、時間[t](秒)に対する歪み[γ](%)の関係が、直線性を示し、且つ下記式:
logγ=a+b・logt
(但し、aが実数を表し、bが0.10〜0.55(特に0.53)の範囲にある)を満足することを特徴とする光硬化性転写シートにより達成することができる。
上記光硬化性転写シートは、前記の、活性水素を有する官能基及び光重合性官能基を有する反応性ポリマーを含む、加圧により変形可能な光硬化性組成物からなる光硬化性転写層を有する光硬化性転写シートであって、光硬化性組成物が、さらに活性水素を有する官能基と反応性を有する基を少なくとも2個有する化合物を含んでいることを特徴とする光硬化性転写シートを、活性水素を有する官能基と、活性水素を有する官能基と反応性を有する基を少なくとも2個有する化合物とを反応させる(一般に常温で24時間後)ことにより有利に得ることができる。
前述したいずれの光硬化性転写シートにおいても、光硬化性転写層の両方の表面に、剥離シートが設けられていることが、実際の製造の効率を向上させ好ましい。また光硬化性転写シートが長尺状であり、かつ光硬化性転写層と剥離シートの幅が略同一であることが、作業性の向上、コスト削減に有効であり好ましい。
本発明の上記光硬化性転写シート用いて、下記の工程(2)〜(4):
(2)上記光硬化性転写シートの一方の剥離シートを除去する工程;
(3)表面に記録ピット及び/又はグルーブとしての凹凸を有し、さらに該凹凸表面の凹凸に沿って反射層が設けられた基板の該反射層上に、該光硬化性転写シートの光硬化性転写層の表面が該反射層の凹凸表面に接触するように裁置し、これらを押圧して該光硬化性転写シートの表面が該反射層の凹凸表面に沿って密着された積層体を形成する工程;及び
(4)該積層体からもう一方の剥離シートを除去する工程、
を含むことを特徴とする製造方法により光情報記録媒体を得ることができる。
(2)上記光硬化性転写シートの一方の剥離シートを除去する工程;
(3)表面に記録ピット及び/又はグルーブとしての凹凸を有し、さらに該凹凸表面の凹凸に沿って反射層が設けられた基板の該反射層上に、該光硬化性転写シートの光硬化性転写層の表面が該反射層の凹凸表面に接触するように裁置し、これらを押圧して該光硬化性転写シートの表面が該反射層の凹凸表面に沿って密着された積層体を形成する工程;及び
(4)該積層体からもう一方の剥離シートを除去する工程、
を含むことを特徴とする製造方法により光情報記録媒体を得ることができる。
なお、前記工程(2)の工程は、
(1)上記の光硬化性転写シートを円盤状に打ち抜く工程;又は
(1)上記の光硬化性転写シートの光硬化性転写層と一方の剥離シートを円盤状に打ち抜き、もう一方の剥離シートをそのまま残す工程;
を行うことが好ましい。
(1)上記の光硬化性転写シートを円盤状に打ち抜く工程;又は
(1)上記の光硬化性転写シートの光硬化性転写層と一方の剥離シートを円盤状に打ち抜き、もう一方の剥離シートをそのまま残す工程;
を行うことが好ましい。
後者の場合、工程(2)において、剥離シートの除去は打ち抜かれた側の剥離シートを除去することが好ましい。
前記工程(4)を行った後、さらに
(5)該積層体の剥離シートが除去された光硬化性転写層の表面に、記録ピット及び/又はグルーブとしての凹凸を有するスタンパの該凹凸表面を裁置し、これらを押圧して該光硬化性転写シートの表面が該凹凸表面に沿って密着した積層体を形成する工程;
(6)該スタンパを有する積層体の光硬化性転写層を紫外線照射により硬化させ、次いでスタンパを除去することにより、光硬化性転写層の表面に凹凸を設ける工程;
を含むのが一般的である。
(5)該積層体の剥離シートが除去された光硬化性転写層の表面に、記録ピット及び/又はグルーブとしての凹凸を有するスタンパの該凹凸表面を裁置し、これらを押圧して該光硬化性転写シートの表面が該凹凸表面に沿って密着した積層体を形成する工程;
(6)該スタンパを有する積層体の光硬化性転写層を紫外線照射により硬化させ、次いでスタンパを除去することにより、光硬化性転写層の表面に凹凸を設ける工程;
を含むのが一般的である。
前記(6)の工程を行った後、さらに
(7)光硬化性転写層の凹凸表面に反射層を設ける工程;
を含むこともでききる。
(7)光硬化性転写層の凹凸表面に反射層を設ける工程;
を含むこともでききる。
本発明は、また上記の製造方法により得られる光情報記録媒体にもある。
本発明の光硬化性転写シートは、DVD等の厚さが薄く、高容量の光情報記録媒体の製造に有利な光硬化性転写シートであって、製造時に使用される長尺状シートのロール形態にしても、光硬化性転写層の成分のしみ出しが無く、シート厚の変動もないものであり、特に作業性に優れた光硬化性転写シートということができる。即ち、常温転写に有利な光重合性官能基を有する反応性ポリマーの光硬化性転写層に、特定の多官能性の反応性化合物を含ませることにより、製造作業中、貯蔵中の光硬化性転写層からの成分のしみ出しを抑えることができ、さらに貯蔵中等におけるシート厚の変動も抑えることができる。
以下に図面を参照して本発明の実施の形態を詳細に説明する。
図1は本発明で使用される光硬化性転写シート10の実施形態の一例を示す断面図である。光硬化性転写層11は、両面に剥離シート12a,12bを有する。剥離シートは一方のみでも、無くても良い。使い方により適宜設定される。
光硬化性転写層11は、スタンパの凹凸表面を押圧することにより精確に転写できるように、加圧により変形し易い層であるとともに、反応性ポリマーを僅かに架橋させることにより転写層のしみ出し、層厚変動が大きく抑えられた層とすることができる。即ち、光硬化性転写層11は、活性水素を有する官能基及び光重合性官能基を有する反応性ポリマーを含み、さらにこのポリマーの活性水素を有する官能基と反応性を有する基を少なくとも2個有する化合物(特に、ジイソシアネート化合物)をも少量含んでいるため、転写層を有するシートの処理中或いは保存中に、これらが相互に反応して僅かに架橋し、転写層の粘度を上昇させる。これにより、転写層のしみ出し、層厚変動が大きく抑えることができる。
上記光硬化性転写シートは、情報の高密度化のため、再生レーザにより読み取りが容易なように380〜420nmの波長領域の光透過率が70%以上であることが好ましい。特に、380〜420nmの波長領域の光透過率が80%以上であることが好ましい。従って、この転写シート用いて作製される本発明の光情報記録媒体は380〜420nmの波長のレーザを用いてピット信号を再生する方法に有利に使用することができる。
また本発明の光硬化性転写シートの光硬化性転写層は、光重合性官能基を有する反応性ポリマーを含む、加圧により変形可能な光硬化性組成物からなる光硬化性転写層であって、動的粘弾性測定装置を用いるクリープ試験において、常温で、応力50Pa、120秒間の条件で、時間[t](秒)に対する歪み[γ](%)の関係が、直線性を示し、且つ下記式:
logγ=a+b・logt
(但し、aが実数を表し、bが0.10〜0.55(特に0.53)の範囲にある)を満足するものも好適である。
logγ=a+b・logt
(但し、aが実数を表し、bが0.10〜0.55(特に0.53)の範囲にある)を満足するものも好適である。
上記光硬化性転写シート10を用いて、本発明の光情報記録媒体を、例えば下記の図2に示すように製造することができる。
光硬化性転写シート10は、先ず円盤状に打ち抜かれる。この際、光硬化性転写層11と両面の剥離シート12a,12b全てを打ち抜く場合(一般にフルエッジの場合)と、光硬化性転写層11と一方の剥離シート12bを円盤状に打ち抜き、もう一方の剥離シート12aをそのまま残す場合(一般にドライエッジの場合)があり、適宜選択して行われる(1)。このように予めの打ち抜き作業は、本発明の光硬化性転写シートを用いることにより、転写層のしみ出し、はみ出し無く、作業性良く行うことができる。
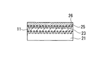
次いで、光硬化性転写シート10から剥離シート12aを除去し、剥離シート12b付き光硬化性転写層を用意する(2)。表面に記録ピットとしての凹凸を有する基板21の該凹凸表面の半透明反射層23(一般にAgX、銀合金等の反射率の比較的低い反射層)上に、剥離シートの無い側を対向させて光硬化性転写シート11を押圧する(3)。これにより光硬化性転写シートの表面が該凹凸表面に沿って密着された積層体(11,23,21からなる)を形成する。この構成で光情報記録媒体として使用する場合は、光硬化性転写シート11を紫外線照射により硬化させ、剥離シート12bを除去する(4)。
次いで、表面に記録ピットとしての凹凸を有するスタンパ24を、積層体から剥離シート12bを除去して未硬化状態の光硬化性転写シート11の表面(基板と接触していない側の表面)に押圧する(5)。光硬化性転写シート11の表面がスタンパ24の凹凸表面に沿って密着した積層体(21,23,11,24からなる)を形成し、そして積層体の光硬化性転写シートを紫外線照射により硬化させた(6)のちスタンパ24を除去することにより、硬化シートの表面に記録ピット等の凹凸を設ける。これにより、基板11、反射層23及び硬化した光硬化性転写シート11から成る積層体(光情報記録媒体)を得る。通常、この凹凸上(硬化シートの表面)に、反射層(一般にAl等の高反射率の反射層)25を設け(7)、さらにその上に有機ポリマーフィルム(カバー層)26を接着剤層を介して貼付する(8)。これにより図3に示す光情報記録媒体を得る。記録ピットを有する硬化シートの表面に、さらに光硬化性転写シートを押圧し、紫外線照射により硬化させても良い。或いは、硬化シートの表面に紫外線硬化性樹脂を塗布、硬化させても良い。半透明反射層は、通常のAl等の反射層でも良い(両面読み出し用)。また反射層23を半透明反射層、半透明反射層26を高反射率の反射層としても良い。さらにスタンパは、凹凸を有する基板であっても良い。
また、(7)の工程で高反射層の代わりに半透明反射層を設け、同様に(2)〜(7)の工程を繰り返すことにより、記録ピットを三層以上形成することもできる。
上記方法においては、再生専用の光情報記録媒体について説明をしたが、記録可能な光情報記録媒体についても同様に行うことができる。記録可能媒体の場合、グルーブ或いはグルーブ及びピットを有しており、この場合反射層及び半透明反射層の代わりに金属記録層(色素記録層の場合や金属記録層の反射率が低い場合は、記録層及び反射層)が一般に設けられる。それ以外は上記と同様に光情報記録媒体を製造することができる。
本発明では、記録ピット及び/又はグルーブである凹凸形状を、光硬化性転写層11と基板21とを100℃以下の比較的低い温度(好ましくは常温)で押圧する(好ましくは減圧下)ことにより精確に転写されるように光硬化性転写シートが設計されている。基板21と、光硬化性転写層11との重ね合わせは、一般に圧着ロールや簡易プレスで行われる(好ましくは減圧下)。また、光硬化性転写層11の硬化後の層は、基板21の表面の反射層に用いられる金属との接着力が良好で剥離することはない。必要により反射層上に接着促進層を設けても良い。
本発明では、記録ピット及び/又はグルーブである凹凸形状を、光硬化性転写層11とスタンパ24とを100℃以下の低温(好ましくは常温)で押圧する(好ましくは減圧下)ことにより精確に転写されるように光硬化性転写シートが設計されている。スタンパ21と、光硬化性転写シート11との重ね合わせは、一般に圧着ロールや簡易プレスで行われる(好ましくは減圧下)。また、光硬化性転写層11の硬化後の層は、スタンパに用いられるニッケルなどの金属との接着力が極めて弱く、光硬化性転写シートをスタンパから容易に剥離することができる。
基板21は、一般に厚板(通常0.3〜1.5mm、特に1.1mm程度)であるので、従来の射出成形法で作製することが一般的である。しかし光硬化性転写シートとスタンパを用いて製造しても良い。本発明の光硬化性転写シートは300μm以下(好ましくは150μm以下)に薄くすることができるので、もう一方の基板を従来法で作製し、基板の厚さを大きくすることができるのでピット形状の転写精度を上げることができる。
上記工程において、光硬化性転写層を基板に押圧する際、或いはスタンパを光硬化性転写層に押圧する際に、減圧下に押圧を行うことが好ましい。これにより、気泡の除去等が円滑に行われる。
上記減圧下の押圧は、例えば、減圧下に2個のロール間に、光硬化性転写シートとスタンパを通過させる方法、あるいは真空成形機を用い、スタンパを型内に裁置し、減圧しながら光硬化性転写シートをスタンパに圧着させる方法を挙げることができる。
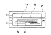
また、二重真空室方式の装置を用いて減圧下の押圧を行うことができる。図4を参照しながら説明する。図4には二重真空室方式のラミネータの一例が示されている。ラミネータは下室41、上室42、シリコーンゴムシート43、ヒータ45を備えている。ラミネータ内の下室41に、凹凸を有する基板と光硬化性転写シートとの積層体49、又は基板と光硬化性転写シートとスタンパとの積層体49を置く。上室42及び下室41共に排気する(減圧する)。積層体49をヒータ45で加熱し、その後、下室41を排気したまま上室42を大気圧に戻し、積層体を圧着する。冷却して積層体を取り出し、次工程に移す。これにより排気時に脱泡が十分に行われ、気泡の無い状態で、スタンパ又は基板と光硬化性転写シートとを圧着することができる。
本発明で使用される光硬化性転写シートは、活性水素を有する官能基及び光重合性官能基を有する反応性ポリマーを含み、さらに活性水素を有する官能基と反応性を有する基を少なくとも2個有する化合物を含む、加圧により変形可能な光硬化性組成物からなる光硬化性転写層を有するものである。
本発明の光硬化性組成物は、一般に、上記活性水素を有する官能基及び光重合性官能基を有する反応性ポリマー(一般にガラス転移温度が20℃以下のもの)、そして活性水素を有する官能基と反応性を有する基を少なくとも2個有する化合物、さらに光重合性官能基(好ましくは(メタ)アクリロイル基)を有する化合物(モノマー及びオリゴマー)、光重合性開始剤及び、所望により他の添加剤から構成される。
本発明の光硬化性組成物は、一般に、上記活性水素を有する官能基及び光重合性官能基を有する反応性ポリマー(一般にガラス転移温度が20℃以下のもの)、そして活性水素を有する官能基と反応性を有する基を少なくとも2個有する化合物、さらに光重合性官能基(好ましくは(メタ)アクリロイル基)を有する化合物(モノマー及びオリゴマー)、光重合性開始剤及び、所望により他の添加剤から構成される。
上記活性水素を有する官能基及び光重合性官能基を有する反応性ポリマーとしては、例えばアルキルアクリレート(例、メチルアクリレート、エチルアクリレート、ブチルアクリレート、2−エチルヘキシルアクリレート)及び/又はアルキルメタクリレート(例、メチルメタクリレート、エチルメタクリレート、ブチルメタクリレート、2−エチルヘキシルメタクリレート)から得られる単独重合体又は共重合体(即ちアクリル樹脂)で、且つ、主鎖又は側鎖に光重合性官能基及び活性水素を有する官能基を有するものである。従って、このような反応性ポリマーは、例えば、上記1種以上の(メタ)アクリレートと、ヒドロキシル基等の官能基を有する(メタ)アクリレート(例、2−ヒドロキシエチル(メタ)アクリレート)とを共重合させ、得られた重合体とイソシアナトアルキル(メタ)アクリレートなどの、重合体の官能基と反応し且つ光重合性基を有する化合物と反応させることにより得ることができる。その際、ヒドロキシル基が残るようにイソシアナトアルキル(メタ)アクリレートの量を調節して使用することにより、活性水素を有する官能基としてヒドロキシル基及び光重合性官能基を有する反応性ポリマーが得られる。
或いは上記において、ヒドロキシル基の代わりにアミノ基を有する(メタ)アクリレート(例、2−アミノエチル(メタ)アクリレート)を用いることにより活性水素を有する官能基としてアミノ基を有する、光重合性官能基含有反応性ポリマーを得ることができる。同様に、活性水素を有する官能基としてカルボキシル基等を有する、光重合性官能基含有反応性ポリマーも得ることができる。
また、上記のようにイソシアナトアルキル(メタ)アクリレート等を用いてウレタン結合を介して光重合性基を形成しているが、他の方法、例えばカルボン酸を含むアクリル樹脂を形成し、このカルボン酸にエポキシ基を有する(メタ)アクリレート(例、グリシジル(メタ)アクリレート)を反応させて光重合性基を形成することもできる。
本発明では、前記光重合性官能基をウレタン結合を介して有するアクリル樹脂が好ましい。
本発明の上記反応性ポリマーは、光重合性官能基を一般に1〜50モル%、特に5〜30モル%含むことが好ましい。この光重合性官能基としては、アクリロイル基、メタクリロイル基、ビニル基が好ましく、特にアクリロイル基、メタクリロイル基が好ましい。
また、反応性ポリマーが、ヒドロキシル基等の活性水素を有する官能基を0.1〜10モル%、特に0.5〜5モル%含んでいることが好ましい。転写層のしみ出しを防止する程度の適当な架橋が得られる易い。
またこの反応性ポリマーのガラス転移温度は、一般に20℃以下であり、ガラス転移温度を20℃以下とすることにより、得られる光硬化性転写層がスタンパの凹凸面に圧着されたとき、常温においてもその凹凸面に緊密に追随できる可撓性を有することができる。特に、ガラス転移温度が15℃〜−50℃、特に15℃〜−10℃の範囲にすることにより追随性が優れている。ガラス転移温度が高すぎると、貼り付け時に高圧力及び高圧力が必要となり作業性の低下につながり、また低すぎると、硬化後の十分な高度が得られなくなる。
さらに、本発明の反応性ポリマーは、一般に数平均分子量が5000〜1000000、好ましくは10000〜300000であり、また重量平均分子量が一般に5000〜1000000、好ましくは10000〜300000であることが好ましい。
上記活性水素を有する官能基と反応性を有する基を少なくとも2個有する化合物としては、イソシアネート化合物、エポキシ化合物等を挙げることができるが、常温でも高い反応性を有するイソシアネート化合物が使い易く好ましい。
少なくとも2官能性のイソシアネート化合物としては、トリレンジイソシアネート(TDI)、イソホロンジイソシアネート、キシリレンジイソシアネート、ジフェニルメタン−4,4−ジイソシアネート、ジシクロペンタニルジイソシアネート、ヘキサメチレンジイソシアネート、2,4,4’−トリメチルヘキサメチレンジイソシアネート、2,2’,4−トリメチルヘキサメチレンジイソシアネートを挙げることができる。またトリメチロールプロパンのTDI付加体等の3官能以上のイソシアネート化合物も使用することができる。これらの中でトリメチロールプロパンのヘキサメチレンジイソシアネート付加体が好ましい。
本発明の活性水素を有する官能基と反応性を有する基を少なくとも2個有する化合物は、光硬化性組成物中に0.2〜4質量%、特に0.2〜2質量%の範囲で含まれていることが好ましい。転写層のしみ出しを防止するために適当な架橋がもたらされると共に、基板やスタンパの凹凸の良好な転写性も維持される。上記化合物と反応性ポリマーとの反応は、転写層形成後、徐々に進行し、常温(一般に25℃)、24時間でかなり反応している。転写層形成用の塗布液を調製した後、塗布するまでの間にも反応は進行するものと考えられる。転写層を形成後、ロール状態で巻き取る前にある程度硬化させることが好ましいので、必要に応じて、転写層を形成時、或いはその後、ロール状態で巻き取る前の間に加熱して反応を促進させても良い。
反応性ポリマーの活性水素を有する官能基と、上記活性水素を有する官能基と反応性を有する基を少なくとも2個有する化合物とを反応させた後(一般に常温(25℃)で24時間後)の光硬化性転写層は、動的粘弾性測定装置を用いるクリープ試験において、常温で、応力50Pa、120秒間の条件で、時間[t]に対する歪み[γ](%)の関係が、直線性を示し、且つ下記式:
logγ=a+b・logt
(但し、aが実数を表し、bが0.10〜0.53の範囲にある)を満足することが好ましい。上記条件を満足する転写シートは、転写層のしみ出しが極めて抑制されると共に基板やスタンパの凹凸の転写性にも優れている。bの値が、0.53を超えると、しみ出しが発生しやすくなり、0.10未満の場合は、光情報記録媒体を作製する際の転写性が劣る傾向にある。
logγ=a+b・logt
(但し、aが実数を表し、bが0.10〜0.53の範囲にある)を満足することが好ましい。上記条件を満足する転写シートは、転写層のしみ出しが極めて抑制されると共に基板やスタンパの凹凸の転写性にも優れている。bの値が、0.53を超えると、しみ出しが発生しやすくなり、0.10未満の場合は、光情報記録媒体を作製する際の転写性が劣る傾向にある。
上記クリープ試験における特性を示す光硬化性転写層は、上記のように活性水素を有する官能基と反応性を有する基を少なくとも2個有する化合物を含んでいることを特徴とする光硬化性転写シートを、活性水素を有する官能基と、活性水素を有する官能基と反応性を有する基を少なくとも2個有する化合物とを反応させる(一般に常温で24時間後)ことにより有利に得ることができる。しかしながら、他の方法、例えば下記の光硬化性組成物a及びbを用いても有利に作製することができる。
光硬化性転写シートaを構成する光硬化性組成物について説明する。光硬化性組成物は、一般に、上記光重合性官能基を有する反応性ポリマー(一般にガラス転移温度が20℃以下のもの)、そして上記SP値が8.50以上の粘着性付与剤、さらに光重合性官能基(好ましくは(メタ)アクリロイル基)を有する化合物(モノマー及びオリゴマー)、光重合性開始剤及び、所望により他の添加剤から構成される。
上記粘着性付与剤としては、ゴム業界等で一般に使用されている粘着性付与剤で、上記SP値を満足するものであればどのような樹脂でも使用することができる。粘着性付与剤とは、一般に、天然ゴム、合成ゴム、ゴム系接着剤、プラスチック等に配合し、配合物の表面の粘着性を増大させるために使用されるものである。
上記粘着性付与剤としては、例えば、クマロン・インデン樹脂及びクマロン樹脂/ナフテン系油/フェノール樹脂の混合物等のクマロン樹脂;テルペン樹脂、変性テルペン樹脂(例、芳香族変性テルペン樹脂)、テルペン−フェノール樹脂及び水添テルペン樹脂等のテルペン系樹脂;ガムロジン、トール油ロジン、ウッドロジン、ロジンのペンタエリスリトール・エステル、ロジンのグリセロール・エステル、水素添加ロジン、水素添加ウッドロジン、水素添加ロジンのメチルエステル、水素添加ロジンのペンタエリスリトール・エステル、水素添加ロジンのトリエチレングリコールのエステル、不均化ロジン、重合ロジン、重合ロジンのグリセロール・エステル及び硬化ロジン等のロジン誘導体;テレピン系粘着付与剤;芳香族炭化水素樹脂、脂肪族系炭化水素樹脂、不飽和炭化水素(オレフィン系、ジオレフィン系)の重合体、イソプレン系樹脂、水素添加炭化水素樹脂、炭化水素系粘着化樹脂、ポリブテン、液状ポリブタジエン及び低分子量ブチルゴム等の石油系炭化水素樹脂;スチレン系樹脂;フェノール系樹脂;キシレン系樹脂を挙げることができる。これらの中で、テルペン系樹脂、ロジン誘導体が好ましい。特に水素添加テルペン系樹脂、ロジンの各種エステルが好ましい。
本発明で使用される粘着性付与剤の好ましい市販品としては、テルペン樹脂のYSレジンTR105(ヤスハラケミカル(株)製;SP値=8.26、mp=105℃,Tg=50℃、平均分子量=600)、水添テルペン樹脂のクリアロンM115(ヤスハラケミカル(株)製;SP値=8.52、mp=115℃,Tg=59℃、平均分子量=650)、テルペンフェノール樹脂のYSポリスターTH130(ヤスハラケミカル(株)製;SP値=8.81、mp=130℃,Tg=74℃、平均分子量=710);そしてロジンエステルのパインクリスタルKE−100(荒川化学(株)製;SP値=約8.5、mp=95−105℃、酸価=2−10)、ロジンエステルのパインクリスタルKE−359(荒川化学(株)製;SP値=約8.6、mp=94−104℃、酸価=10−20)を挙げることができる。
本発明の粘着性付与剤のSP値は、8.50〜9.50、特に8.50〜9.00の範囲であることが好ましい。このような粘着付与剤は、反応性ポリマー、及び所望により使用される反応性希釈剤との相溶性が特に良好で、転写層に適度な粘性及び粘着性(例えば転写層と剥離シートとの接着性の向上)を効率良く(即ち少量で)付与することができ、転写シートをロール状にした際の浸みだし、厚さ変動を抑制することができる。
上記粘着性付与剤は、軟化点が90〜135℃、特に90〜120℃の範囲、ガラス転移点が40〜70℃、特に45〜65℃の範囲にあることが好ましい。また粘着性付与剤は、その数平均分子量が600〜800の範囲、特に630〜730の範囲にあるか、又は重量平均分子量が600〜800の範囲、特に630〜730の範囲にあることが好ましい。また、ロジンについては、特に酸価が30以下のものが好ましい。
上記各範囲を満足する粘着性付与剤は、特に本発明の反応性ポリマーとの相溶性に優れており、特に本発明の効果を顕著に得ることができる。
本発明の粘着性付与剤は、光硬化性組成物中に0.5〜30質量%、特に1〜20質量%の範囲で含まれていることが好ましい。
また、前記光硬化性組成物bは、一般に、上記平均粒径が300nm以下の透明微粒子、そして上記光重合性官能基を有する反応性ポリマー(一般にガラス転移温度が20℃以下のもの)、さらに光重合性官能基(好ましくは(メタ)アクリロイル基)を有する化合物(モノマー及びオリゴマー)、光重合性開始剤及び、所望により他の添加剤から構成される。
上記平均粒径が300nm以下の透明微粒子は、上記光重合性官能基を有する反応性ポリマー等の光硬化性組成物から構成される光硬化性転写層の転写性、光硬化性等を損なうことなく、光硬化性転写シートをロール状としたときの側面からの転写層成分の滲み出し、はみ出し、そしてシート厚の変動を大きく抑制するものである。
上記透明微粒子は、透明性を有し、平均粒径が300nm以下のものであれば、無機微粒子でも、有機微粒子でも良い。上記無機微粒子の例としては、ガラスビーズ、タルク、シリカ、アルミナ、マグネシア、亜鉛華、炭酸カルシウム、硫酸バリウム、二酸化チタン、水酸化アルミニウム、マイカ、長石粉、石英粉を挙げることができ、上記有機微粒子の例としては、アクリル樹脂(例、ポリメチルメタクリレート(PMMA))、ポリスチレン、スチレン/アクリル共重合体、ポリエチレン、エポキシ樹脂、シリコーン樹脂、ポリフッ化ビニリデン、テフロン(登録商標)、ジビニルベンゼン/スチレン共重合体、フェノール樹脂、ポリウレタン、酢酸セルロース、ナイロン、セルロース、ベンゾグアナミン樹脂、メラミン樹脂の微粒子を挙げることができる。透明微粒子としては、シリカ、二酸化チタン及びポリメチルメタクリレートが好ましく、特にシリカ微粒子が好ましい。これらの微粒子の平均粒径は、一般に1〜300nmであり、1〜200nmが好ましい。300nmを超えた場合、転写性が低下しやすくなる。反対に小さすぎると本発明の滲み抑制効果が低下する傾向にある。
上記シリカ微粒子は、平均粒子径(1次粒子径)が1〜300nm、さらに1〜200nm、特に10〜100nmの範囲にあることが好ましい。上記シリカ微粒子は、粉体状シリカ又はコロイダルシリカであり、その形状は球状、中空状、多孔質状、棒状、板状、繊維状、もしくは不定形状であり、好ましくは球状である。シリカ微粒子の比表面積は、一般に0.1〜3000m2/gであり、10〜1500m2/gが好ましい。またシリカ微粒子の細孔容積は、一般に0.1〜5ml/gであり、0.2〜2ml/gが好ましい。これらのシリカ微粒子の使用形態は乾燥状態の粉末、もしくは水もしくは有機溶剤で分散した状態で用いることができ、コロイダルシリカとして知られている微粒子状のシリカ微粒子の分散液を直接用いることもできる。コロイダルシリカの分散溶媒が水の場合、その水素イオン濃度はpH値として2〜10の範囲であり、好ましくはpH3〜7の酸性コロイダルシリカが用いられる。また、コロイダルシリカの分散溶媒が有機溶剤の場合、有機溶剤としてメタノール、イソプロピルアルコール、エチレングリコール、ブタノール、エチレングリコールモノプロピルエーテル、メチルエチルケトン、メチルイソブチルケトン、トルエン、キシレン、ジメチルホルムアミド等の溶剤もしくはこれらと相溶する有機溶剤もしくは水との混合物として用いても良い。好ましい分散溶剤はメタノール、イソプロピルアルコール、メチルエチルケトン、キシレンである。シリカ微粒子 の市販品としては、例えば、コロイダルシリカとしては日産化学工業(株)製のメタノールシリカゾル、IPA−ST、MEK−ST、NBA−ST、XBA−ST、DMAC−ST及びST−UP、ST−OUP、ST−20、ST−40、ST−C、ST−N、ST−O、ST−50、ST−OL等を挙げることができる。また、粉末状シリカとしては、日本アエロジル(株)製のアエロジル130、アエロジル300、アエロジル380、アエロジルTT600及びアエロジルOX50;旭硝子(株)製のシルデックスH31、H32、H51、H52、H121、H122;日本シリカ工業(株)製のニプシルVN−3、E200A、E220;綜研化学(株)製のケミスノーMP;富士シリシア(株)製のサイリシア470、日本板硝子(株)製のSGフレーク等を挙げることができ、特にアエロジル130、アエロジル300、アエロジル380、アエロジルTT600及びアエロジルOX50;日本シリカ工業(株)製のニプシルVN−3;綜研化学(株)製のケミスノーMPが好ましい。
透明微粒子は、光硬化性組成物中に一般に0.5〜20質量%(透明微粒子を含む光硬化性組成物の総固形分量に対する透明微粒子の質量比)、特に1〜10質量%の範囲で含まれることが好ましい。この範囲に設定することにより、しみ出し、シート厚の変動を抑えながら、透明性を維持するのに特に有利となる。
前記活性水素を有する官能基及び光重合性官能基を有する反応性ポリマーに加えて、或いはこれに換えて光重合性官能基を有する反応性ポリマーを使用することができる。個の反応性ポリマーとしては、例えばアルキルアクリレート(例、メチルアクリレート、エチルアクリレート、ブチルアクリレート、2−エチルヘキシルアクリレート)及び/又はアルキルメタクリレート(例、メチルメタクリレート、エチルメタクリレート、ブチルメタクリレート、2−エチルヘキシルメタクリレート)から得られる単独重合体又は共重合体(即ちアクリル樹脂)で、且つ、主鎖又は側鎖に光重合性官能基を有するものである。従って、このような反応性ポリマーは、例えば、上記1種以上の(メタ)アクリレートと、ヒドロキシル基等の官能基を有する(メタ)アクリレート(例、2−ヒドロキシエチル(メタ)アクリレート)とを共重合させ、得られた重合体とイソシアナトアルキル(メタ)アクリレートなどの、重合体の官能基と反応し且つ光重合性基を有する化合物と反応させることにより得ることができる。
或いは上記において、ヒドロキシル基の代わりにアミノ基を有する(メタ)アクリレート(例、2−アミノエチル(メタ)アクリレート)を用いても、カルボキシル基を有する(メタ)アクリレート等を用いても、光重合性官能基含有反応性ポリマーも得ることができる。
また、上記のようにイソシアナトアルキル(メタ)アクリレート等を用いてウレタン結合を介して光重合性基を形成しているが、他の方法、例えばカルボン酸を含むアクリル樹脂を形成し、このカルボン酸にエポキシ基を有する(メタ)アクリレート(例、グリシジル(メタ)アクリレート)を反応させて光重合性基を形成することもできる。
本発明では、前記光重合性官能基をウレタン結合を介して有するアクリル樹脂が好ましい。
本発明の上記反応性ポリマーは、光重合性官能基を一般に1〜50モル%、特に5〜30モル%含むことが好ましい。この光重合性官能基としては、アクリロイル基、メタクリロイル基、ビニル基が好ましく、特にアクリロイル基、メタクリロイル基が好ましい。
またこの反応性ポリマーのガラス転移温度は、一般に20℃以下であり、ガラス転移温度を20℃以下とすることにより、得られる光硬化性転写層がスタンパの凹凸面に圧着されたとき、常温においてもその凹凸面に緊密に追随できる可撓性を有することができる。特に、ガラス転移温度が15℃〜−50℃、特に15℃〜−15℃の範囲にすることにより追随性が優れている。ガラス転移温度が高すぎると、貼り付け時に高圧力及び高圧力が必要となり作業性の低下につながり、また低すぎると、硬化後の十分な高度が得られなくなる。
さらに、本発明の反応性ポリマーは、一般に数平均分子量が5000〜1000000、好ましくは10000〜300000であり、また重量平均分子量が一般に5000〜1000000、好ましくは10000〜300000であることが好ましい。
本発明の光硬化性組成物は、上記の成分以外に、光重合性官能基を有する反応性希釈剤等を含むことが好ましい。反応性希釈剤としては、例えば、2−ヒドロキシエチル(メタ)アクリレート、2−ヒドロキシプロピル(メタ)アクリレート、4−ヒドロキシブチル(メタ)アクリレート、2−エチルヘキシルポリエトキシ(メタ)アクリレート、ベンジル(メタ)アクリレート、イソボルニル(メタ)アクリレート、フェニルオキシエチル(メタ)アクリレート、トリシクロデカンモノ(メタ)アクリレート、ジシクロペンテニルオキシエチル(メタ)アクリレート、テトラヒドロフルフリル(メタ)アクリレート、アクリロイルモルホリン、N−ビニルカプロラクタム、2−ヒドロキシ−3−フェニルオキシプロピル(メタ)アクリレート、o−フェニルフェニルオキシエチル(メタ)アクリレート、ネオペンチルグリコールジ(メタ)アクリレート、ネオペンチルグリコールジプロポキシジ(メタ)アクリレート、ヒドロキシピバリン酸ネオペンチルグリコールジ(メタ)アクリレート、トリシクロデカンジメチロールジ(メタ)アクリレート、1,6−ヘキサンジオールジ(メタ)アクリレート、ノナンジオールジ(メタ)アクリレート、トリメチロールプロパントリ(メタ)アクリレート、ペンタエリスリトールトリ(メタ)アクリレート、ペンタエリスリトールテトラ(メタ)アクリレート、トリス〔(メタ)アクリロキシエチル〕イソシアヌレート、ジトリメチロールプロパンテトラ(メタ)アクリレート等の(メタ)アクリレートモノマー類、ポリオール化合物(例えば、エチレングリコール、プロピレングリコール、ネオペンチルグリコール、1,6−ヘキサンジオール、3−メチル−1,5−ペンタンジオール、1,9−ノナンジオール、2−エチル−2−ブチル−1,3−プロパンジオール、トリメチロールプロパン、ジエチレングリコール、ジプロピレングリコール、ポリプロピレングリコール、1,4−ジメチロールシクロヘキサン、ビスフェノールAポリエトキシジオール、ポリテトラメチレングリコール等のポリオール類、前記ポリオール類とコハク酸、マレイン酸、イタコン酸、アジピン酸、水添ダイマー酸、フタル酸、イソフタル酸、テレフタル酸等の多塩基酸又はこれらの酸無水物類との反応物であるポリエステルポリオール類、前記ポリオール類とε−カプロラクトンとの反応物であるポリカプロラクトンポリオール類、前記ポリオール類と前記、多塩基酸又はこれらの酸無水物類のε−カプロラクトンとの反応物、ポリカーボネートポリオール、ポリマーポリオール等)と有機ポリイソシアネート(例えば、トリレンジイソシアネート、イソホロンジイソシアネート、キシリレンジイソシアネート、ジフェニルメタン−4,4'−ジイソシアネート、ジシクロペンタニルジイソシアネート、ヘキサメチレンジイソシアネート、2,4,4'−トリメチルヘキサメチレンジイソシアネート、2,2',4−トリメチルヘキサメチレンジイソシアネート等)と水酸基含有(メタ)アクリレート(例えば、2−ヒドロキシエチル(メタ)アクリレート、2−ヒドロキシプロピル(メタ)アクリレート、4−ヒドロキシブチル(メタ)アクリレート、2−ヒドロキシ−3−フェニルオキシプロピル(メタ)アクリレート、シクロヘキサン−1,4−ジメチロールモノ(メタ)アクリレート、ペンタエリスリトールトリ(メタ)アクリレート、グリセリンジ(メタ)アクリレート等)の反応物であるポリウレタン(メタ)アクリレート、ビスフェノールA型エポキシ樹脂、ビスフェノールF型エポキシ樹脂等のビスフェノール型エポキシ樹脂と(メタ)アクリル酸の反応物であるビスフェノール型エポキシ(メタ)アクリレート等の(メタ)アクリレートオリゴマー類等を挙げることができる。これら光重合可能な官能基を有する化合物は1種又は2種以上、混合して使用することができる。
光重合開始剤としては、公知のどのような光重合開始剤でも使用することができるが、配合後の貯蔵安定性の良いものが望ましい。このような光重合開始剤としては、例えば、アセトフェノン系、ベンジルジメチルケタールなどのベンゾイン系、ベンゾフェノン系、イソプロピルチオキサントン、2−4−ジエチルチオキサントンなどのチオキサントン系、その他特殊なものとしては、メチルフェニルグリオキシレートなどが使用できる。特に好ましくは、2−ヒドロキシ−2−メチル−1−フェニルプロパン−1−オン、1−ヒドロキシシクロヘキシルフェニルケトン、2−メチル−1−(4−(メチルチオ)フェニル)−2−モルホリノプロパン−1、ベンゾフェノン等が挙げられる。これら光重合開始剤は、必要に応じて、4−ジメチルアミノ安息香酸のごとき安息香酸系又は、第3級アミン系などの公知慣用の光重合促進剤の1種または2種以上を任意の割合で混合して使用することができる。また、光重合開始剤のみの1種または2種以上の混合で使用することができる。光硬化性組成物中に、光重合開始剤を一般に0.1〜20質量%、特に1〜10質量%含むことが好ましい。
光重合開始剤のうち、アセトフェノン系重合開始剤としては、例えば、4−フェノキシジクロロアセトフェノン、4−t−ブチル−ジクロロアセトフェノン、4−t−ブチル−トリクロロアセトフェノン、ジエトキシアセトフェノン、2−ヒドロキシ−2−メチル−1−フェニルプロパン−1−オン、1−(4−イソプロピルフェニル)−2−ヒドロキシ−2−メチルプロパン−1−オン、1−(4−ドデシルフェニル)−2−ヒドロキシ−2−メチルプロパン−1−オン、4−(2−ヒドロキシエトキシ)−フェニル(2−ヒドロキシ−2−プロピル)ケトン、1−ヒドロキシシクロヘキシルフェニルケトン、2−メチル−1−(4−(メチルチオ)フェニル)−2−モルホリノプロパン−1など、ベンゾフェノン系重合開始剤としては、ベンゾフェノン、ベンゾイル安息香酸、ベンゾイル安息香酸メチル、4−フェニルベンゾフェノン、ヒドロキシベンゾフェノン、4−ベンッゾイル−4’−メチルジフェニルサルファイド、3,3’−ジメチル−4−メトキシベンゾフェノンなどが使用できる。
アセトフェノン系重合開始剤としては、特に、2−ヒドロキシ−2−メチル−1−フェニルプロパン−1−オン、1−ヒドロキシシクロヘキシルフェニルケトン、2−メチル−1−(4−(メチルチオ)フェニル)−2−モルホリノプロパン−1が好ましい。ベンゾフェノン系重合開始剤としては、ベンゾフェノン、ベンゾイル安息香酸、ベンゾイル安息香酸メチルが好ましい。また、第3級アミン系の光重合促進剤としては、トリエタノールアミン、メチルジエタノールアミン、トリイソプロパノールアミン、4,4’−ジメチルアミノベンゾフェノン、4,4’−ジエチルアミノベンゾフェノン、2−ジメチルアミノ安息香酸エチル、4−ジメチルアミノ安息香酸エチル、4−ジメチルアミノ安息香酸(n−ブトキシ)エチル、4−ジメチルアミノ安息香酸イソアミル、4−ジメチルアミノ安息香酸2−エチルヘキシルなどが使用できる。特に好ましくは、光重合促進剤としては、4−ジメチルアミノ安息香酸エチル、4−ジメチルアミノ安息香酸(n−ブトキシ)エチル、4−ジメチルアミノ安息香酸イソアミル、4−ジメチルアミノ安息香酸2−エチルヘキシルなどが挙げられる。
本発明の光硬化性転写層はガラス転移温度が20℃以下で、透過率70%以上を満たすように光硬化性組成物を設計することが好ましい。このため、上記光重合可能な官能基を有する化合物及び光重合開始剤に加えて、所望により下記の熱可塑性樹脂及び他の添加剤を添加することが好ましい。
上記反応性ポリマー:光重合可能な官能基を有する化合物:光重合開始剤の質量比は、一般に、40〜100:0〜60:0.1〜10、特に60〜100:0〜40:1〜10から好ましい。
他の添加剤として、シランカップリング剤(接着促進剤)を添加することができる。このシランカップリング剤としてはビニルトリエトキシシラン、ビニルトリス(β−メトキシエトキシ)シラン、γ−メタクリロキシプロピルトリメトキシシラン、ビニルトリアセトキシシラン、γ−グリシドキシプロピルトリメトキシシラン、γ−グリシドキシプロピルトリエトキシシラン、β−(3,4−エポキシシクロヘキシル)エチルトリメトキシシラン、γ−クロロプロピルメトキシシラン、ビニルトリクロロシラン、γ−メルカプトプロピルトリメトキシシラン、γ−アミノプロピルトリエトキシシラン、N−β(アミノエチル)−γ−アミノプロピルトリメトキシシランなどがあり、これらの1種を単独で又は2種以上を混合して用いることができる。これらシランカップリング剤の添加量は、上記反応性ポリマー100質量部に対し通常0.01〜5質量部で十分である。
また同様に接着性を向上させる目的でエポキシ基含有化合物を添加することができる。エポキシ基含有化合物としては、トリグリシジルトリス(2−ヒドロキシエチル)イソシアヌレート;ネオペンチルグリコールジグリシジルエーテル;1,6−ヘキサンジオールジグリシジルエーテル;アクリルグリシジルエーテル;2−エチルヘキシルグリシジルエーテル;フェニルグリシジルエーテル;フェノールグリシジルエーテル;p−t−ブチルフェニルグリシジルエーテル;アジピン酸ジグリシジルエステル;o−フタル酸ジグリシジルエステル;グリシジルメタクリレート;ブチルグリシジルエーテル等が挙げられる。また、エポキシ基を含有した分子量が数百から数千のオリゴマーや重量平均分子量が数千から数十万のポリマーを添加することによっても同様の効果が得られる。これらエポキシ基含有化合物の添加量は上記反応性ポリマー100質量部に対し0.1〜20質量部で十分で、上記エポキシ基含有化合物の少なくとも1種を単独で又は混合して添加することができる。
さらに他の添加剤として、加工性や貼り合わせ等の加工性向上の目的で炭化水素樹脂を添加することができる。この場合、添加される炭化水素樹脂は天然樹脂系、合成樹脂系のいずれでも差支えない。天然樹脂系ではロジン、ロジン誘導体、テルペン系樹脂が好適に用いられる。ロジンではガム系樹脂、トール油系樹脂、ウッド系樹脂を用いることができる。ロジン誘導体としてはロジンをそれぞれ水素化、不均一化、重合、エステル化、金属塩化したものを用いることができる。テルペン系樹脂ではα−ピネン、β−ピネンなどのテルペン系樹脂のほか、テルペンフェノール樹脂を用いることができる。また、その他の天然樹脂としてダンマル、コーバル、シェラックを用いても差支えない。一方、合成樹脂系では石油系樹脂、フェノール系樹脂、キシレン系樹脂が好適に用いられる。石油系樹脂では脂肪族系石油樹脂、芳香族系石油樹脂、脂環族系石油樹脂、共重合系石油樹脂、水素化石油樹脂、純モノマー系石油樹脂、クマロンインデン樹脂を用いることができる。フェノール系樹脂ではアルキルフェノール樹脂、変性フェノール樹脂を用いることができる。キシレン系樹脂ではキシレン樹脂、変性キシレン樹脂を用いることができる。
アクリル樹脂も添加することができる。例えば、アルキルアクリレート(例、メチルアクリレート、エチルアクリレート、ブチルアクリレート)及び/又はアルキルメタクリレート(例、メチルメタクリレート、エチルメタクリレート、ブチルメタクリレート)から得られる単独重合体又は共重合体を挙げることができる。またこれらのモノマーと、他の共重合可能なモノマーとの共重合体も挙げることができる。特に、光硬化時の反応性や硬化後の耐久性、透明性の点からポリメチルメタクリレート(PMMA)が好ましい。
上記炭化水素樹脂等のポリマーの添加量は適宜選択されるが、上記反応性ポリマー100質量部に対して1〜20質量部が好ましく、より好ましくは5〜15質量部である。
以上の添加剤の他、本発明の光硬化性組成物は紫外線吸収剤、老化防止剤、染料、加工助剤等を少量含んでいてもよい。また、場合によってはシリカゲル、炭酸カルシウム、シリコン共重合体の微粒子等の添加剤を少量含んでもよい。
本発明の光硬化性組成物からなる光硬化性転写シートは、反応性ポリマー、光重合可能な官能基を有する化合物(モノマー及びオリゴマー)、活性水素と反応性の官能基を少なくとも2個有する化合物及び、所望により他の添加剤とを均一に混合し、押出機、ロール等で混練した後、カレンダー、ロール、Tダイ押出、インフレーション等の製膜法により所定の形状に製膜して用いることができる。支持体を用いる場合は、支持体上に製膜する必要がある。より好ましい本発明の光硬化性接着剤の製膜方法は、各構成成分を良溶媒に均一に混合溶解し、この溶液をシリコーンやフッ素樹脂を精密にコートしたセパレーターにフローコート法、ロールコート法、グラビアロール法、マイヤバー法、リップダイコート法等により支持体上に塗工し、溶媒を乾燥することにより製膜する方法である。
また、光硬化性転写シートの厚さは1〜1200μm、特に5〜500μmとすることが好ましい。特に5〜300μm(好ましくは150μm以下)が好ましい。1μmより薄いと封止性が劣り、透明樹脂基板の凸凹を埋め切れない場合が生じる。一方、1000μmより厚いと記録媒体の厚みが増し、記録媒体の収納、アッセンブリー等に問題が生じるおそれがあり、更に光線透過に影響を与えるおそれもある。
上記光硬化性転写シートの両側には剥離シートが貼り付けられていることが好ましい。
剥離シートの材料としては、ガラス転移温度が50℃以上の透明の有機樹脂が好ましく、このような材料としては、ポリエチレンテレフタレート、ポリシクロヘキシレンテレフタレート、ポリエチレンナフタレート等のポリエステル系樹脂、ナイロン46、変性ナイロン6T、ナイロンMXD6、ポリフタルアミド等のポリアミド系樹脂、ポリフェニレンスルフィド、ポリチオエーテルサルフォン等のケトン系樹脂、ポリサルフォン、ポリエーテルサルフォン等のサルフォン系樹脂の他に、ポリエーテルニトリル、ポリアリレート、ポリエーテルイミド、ポリアミドイミド、ポリカーボネート、ポリメチルメタクリレート、トリアセチルセルロース、ポリスチレン、ポリビニルクロライド等の有機樹脂を主成分とする透明樹脂基板を用いることができる。これら中で、ポリカーボネート、ポリメチルメタアクリレート、ポリビニルクロライド、ポリスチレン、ポリエチレンテレフタレートが好適に用いることができる。厚さは10〜200μmが好ましく、特に30〜100μmが好ましい。
表面に凹凸を有する基板21の材料としてはとしては、ガラス転移温度が50℃以上の透明の有機樹脂が好ましく、このような支持体としては、ポリエチレンテレフタレート、ポリシクロヘキシレンテレフタレート、ポリエチレンナフタレート等のポリエステル系樹脂、ナイロン46、変性ナイロン6T、ナイロンMXD6、ポリフタルアミド等のポリアミド系樹脂、ポリフェニレンスルフィド、ポリチオエーテルサルフォン等のケトン系樹脂、ポリサルフォン、ポリエーテルサルフォン等のサルフォン系樹脂の他に、ポリエーテルニトリル、ポリアリレート、ポリエーテルイミド、ポリアミドイミド、ポリカーボネート、ポリメチルメタクリレート、トリアセチルセルロース、ポリスチレン、ポリビニルクロライド等の有機樹脂を主成分とする透明樹脂基板を用いることができる。これら中で、ポリカーボネート、ポリメチルメタアクリレート、ポリビニルクロライド、ポリスチレン、ポリエチレンテレフタレートが転写性、複屈折の点で優れており、好適に用いることができる。厚さは200〜2000μmが好ましく、特に500〜1500μmが好ましい。
有機ポリマーフィルムの材料26としては、ガラス転移温度が50℃以上の透明の有機樹脂が好ましく、このような支持体としては、ポリエチレンテレフタレート、ポリシクロヘキシレンテレフタレート、ポリエチレンナフタレート等のポリエステル系樹脂、ナイロン46、変性ナイロン6T、ナイロンMXD6、ポリフタルアミド等のポリアミド系樹脂、ポリフェニレンスルフィド、ポリチオエーテルサルフォン等のケトン系樹脂、ポリサルフォン、ポリエーテルサルフォン等のサルフォン系樹脂の他に、ポリエーテルニトリル、ポリアリレート、ポリエーテルイミド、ポリアミドイミド、ポリカーボネート、ポリメチルメタクリレート、トリアセチルセルロース、ポリスチレン、ポリビニルクロライド等の有機樹脂を主成分とする透明樹脂基板を用いることができる。これら中で、ポリカーボネート、ポリメチルメタアクリレート、ポリビニルクロライド、ポリスチレン、ポリエチレンテレフタレートが転写性、複屈折の点で優れており、好適に用いることができる。厚さは10〜200μmが好ましく、特に50〜100μmが好ましい。
こうして得られる本発明に光硬化性転写シートは、ガラス転移温度が20℃以下である反応性ポリマーを含む光硬化性組成物からなるものであるが、さらに光硬化性転写層の380〜420nmの波長領域の光透過率が70%以上であることが好ましい。即ち、ガラス転移温度が20℃以下とすることにより、光硬化性転写層がスタンパの凹凸面に圧着されたとき、その凹凸面に緊密に追随できる可撓性を有することができる。特に、ガラス転移温度が15℃〜−50℃の範囲にすることにより追随性が優れている。ガラス転移温度が高すぎると、貼り付け時に高圧力及び高温が必要となり作業性の低下につながり、また低すぎると、硬化後の十分な高度が得られなくなる。
光硬化性転写シートは380〜420nm(好ましくは380〜800nm)の波長領域の光透過率が70%以上であり、これはレーザによる読み取り信号の強度低下を防止するためである。さらに380〜420nmの波長領域の光透過率が80%以上であることが好ましい。
光硬化性組成物中の反応性ポリマーには重合性官能基を1〜50モル%有することが好ましい。これにより、得られる光硬化性転写シートが、硬化後に形状保持可能な強度得ることができる。光重合開始剤は前記のように0.1〜10質量%の範囲が好ましく、これより少ないと硬化速度が遅すぎて、作業性が悪く、多すぎると転写精度が低下する。
本発明に光硬化性転写シートは、膜厚精度を精密に制御したフィルム状で提供することができるため、基板及びスタンパとの貼り合わせを容易にかつ精度良くおこなうことが可能である。また、この貼り合わせは、圧着ロールや簡易プレスなどの簡便な方法で20〜100℃で仮圧着した後、光により常温、1〜数十秒で硬化できる上、本接着剤特有の自着力によりその積層体にズレや剥離が起き難いため、光硬化まで自由にハンドリングができるという特徴を有している。
本発明の光硬化性転写シートを硬化する場合は、光源として紫外〜可視領域に発光する多くのものが採用でき、例えば超高圧、高圧、低圧水銀灯、ケミカルランプ、キセノンランプ、ハロゲンランプ、マーキュリーハロゲンランプ、カーボンアーク灯、白熱灯、レーザ光等が挙げられる。照射時間は、ランプの種類、光源の強さによって一概には決められないが、数秒〜数分程度である。
また、硬化促進のために、予め積層体を30〜80℃に加温し、これに紫外線を照射してもよい。
得られた本発明の基板の凹凸表面の反射層は、基板に反射層を金属蒸着(例えばスパッタリング、真空蒸着、イオンプレーティング等)することにより形成する。金属としては、アルミニウム、金、銀、これらの合金等を挙げることができる。硬化シート上の半透明反射層は、金属として銀等を用いて形成される。即ち、上記反射層より低い反射率の反射層にする必要があり、成分、膜厚等が変更される。
硬化シートの反射層上に有機ポリマーフィルムを貼り付ける場合、一方に接着剤を塗布し、その上に他方を重ね、硬化させる。接着剤がUV硬化性樹脂の場合はUV照射により、ホットメルト接着剤の場合は、加熱下に塗布し、冷却することにより得られる。
本発明の光情報記録媒体の製造は、通常、上記のように円盤状で処理されるが、シート状で連続的に作成し、最後に円盤状にしてもよい。
本発明の光情報記録媒体の製造は、通常、上記のように円盤状で処理されるが、シート状で連続的に作成し、最後に円盤状にしてもよい。
以下に実施例を示し、本発明ついてさらに詳述する。
[実施例1]
<光硬化性転写シートの作製>
(反応性ポリマーの作製)
配合I
2−エチルヘキシルメタクリレート 70質量部
メチルメタクリレート 20質量部
2−ヒドロキシエチルメタクリレート 10質量部
ベンゾフェノン 5質量部
トルエン 30質量部
酢酸エチル 30質量部
<光硬化性転写シートの作製>
(反応性ポリマーの作製)
配合I
2−エチルヘキシルメタクリレート 70質量部
メチルメタクリレート 20質量部
2−ヒドロキシエチルメタクリレート 10質量部
ベンゾフェノン 5質量部
トルエン 30質量部
酢酸エチル 30質量部
上記の配合の混合物を、穏やかに撹拌しながら、60℃に加熱して重合を開始させ、この温度で10時間撹拌し、側鎖にヒドロキシル基を有するアクリル樹脂を得た。その後、カレンズ MOI(2−イソシアナトエチルメタクリレート;昭和電工(株)製)5質量部を添加し、窒素雰囲気下で穏やかに撹拌しながら50℃で反応させ、光重合性官能基を有する反応性ポリマーの溶液1を得た。
得られた反応性ポリマーは、Tgが0℃であり、側鎖にメタクリロイル基を5モル%及びヒドロキシル基を5モル%有していた。
配合II
反応性ポリマー溶液1 100質量部
ヘキサンジオールジアクリレート 30質量部
ジイソシアネート(BXX5627、東洋インキ製造(株)製) 0.5質量部
イルガキュア184(チバガイギー(株)製) 1質量部
反応性ポリマー溶液1 100質量部
ヘキサンジオールジアクリレート 30質量部
ジイソシアネート(BXX5627、東洋インキ製造(株)製) 0.5質量部
イルガキュア184(チバガイギー(株)製) 1質量部
上記配合の混合物を均一に溶解、混練し、剥離シート(幅140mm、長さ300m、厚さ75μm;商品名No.23、藤森工業(株)製)上に、全面塗布し、乾燥厚さ20±2μmの光硬化性転写シートを形成し、シートの反対側に上記と同一の剥離シートを貼付し、ロール状に巻き上げ、光硬化性転写シートのフルエッジタイプのロール(直径260mm)を得た。
[実施例2]
実施例1において、配合IIのジイソシアネートを1.0質量部用いた以外は、同様にして光硬化性転写シートのロールを得た。
実施例1において、配合IIのジイソシアネートを1.0質量部用いた以外は、同様にして光硬化性転写シートのロールを得た。
[実施例3]
実施例1において、配合IIのジイソシアネートを0.1質量部用いた以外は、同様にして光硬化性転写シートのロールを得た。
実施例1において、配合IIのジイソシアネートを0.1質量部用いた以外は、同様にして光硬化性転写シートのロールを得た。
[実施例4]
実施例1において、配合IIのジイソシアネートを3.0質量部用いた以外は、同様にして光硬化性転写シートのロールを得た。
実施例1において、配合IIのジイソシアネートを3.0質量部用いた以外は、同様にして光硬化性転写シートのロールを得た。
[比較例1]
実施例1において、配合IIのジイソシアネートを用いなかった以外は、同様にして光硬化性転写シートのロールを得た。
実施例1において、配合IIのジイソシアネートを用いなかった以外は、同様にして光硬化性転写シートのロールを得た。
(1)光硬化性転写シートの評価
(1−1)転写シートのクリープ試験
上記実施例1〜4及び比較例1で得られたロールを25℃で24時間放置した後、転写シートの転写層のクリープ試験を、動的粘弾性測定装置としてレオストレスRS300(HAAKE社製)を用いて行った。その際、φ=20mmのパラレルプレートを用いて、測定厚さ1mm(転写層を積層し成形した)、測定温度25℃にて、応力50Pa、120秒間の条件で行った。
(1−1)転写シートのクリープ試験
上記実施例1〜4及び比較例1で得られたロールを25℃で24時間放置した後、転写シートの転写層のクリープ試験を、動的粘弾性測定装置としてレオストレスRS300(HAAKE社製)を用いて行った。その際、φ=20mmのパラレルプレートを用いて、測定厚さ1mm(転写層を積層し成形した)、測定温度25℃にて、応力50Pa、120秒間の条件で行った。
上記試験結果から、測定された時間[t](秒)に対する歪み[γ](%)のプロットしたグラフを図5に示す。これに基づきlogγとlogtの関係を示すグラフを図6に示す。図6より、各例の直線近似の式:logγ=a+b・logtのa、bを求めた。
(1−2)しみ出し
実施例1〜4又は比較例1で得られたロールを、常温で24時間放置した後、ロール側面の転写層のしみ出しを観察した。下記のよう評価した。
○:しみ出しが見られない。
△:しみ出しが若干見られる。
×:しみ出しが相当見られる。
実施例1〜4又は比較例1で得られたロールを、常温で24時間放置した後、ロール側面の転写層のしみ出しを観察した。下記のよう評価した。
○:しみ出しが見られない。
△:しみ出しが若干見られる。
×:しみ出しが相当見られる。
(1−3)転写シートの表面硬度
ガラス板上に、実施例1〜4又は比較例1の転写層(厚さ25μm)を転写し、サンプルを得た。サンプルの転写層の表面を、Helmut Fischer社から市販されている超微小硬度計(フィッヤースコープH100)を用いて、荷重4.0mN、HU(ユニバーサル硬さ;表面硬度)を測定した。ユニバーサル硬さについては、例えば、材料試験技術、第43巻、No.2、148頁(1998年4月)に記載されている。
ガラス板上に、実施例1〜4又は比較例1の転写層(厚さ25μm)を転写し、サンプルを得た。サンプルの転写層の表面を、Helmut Fischer社から市販されている超微小硬度計(フィッヤースコープH100)を用いて、荷重4.0mN、HU(ユニバーサル硬さ;表面硬度)を測定した。ユニバーサル硬さについては、例えば、材料試験技術、第43巻、No.2、148頁(1998年4月)に記載されている。
(1−4)厚み精度
得られた光硬化性転写シートの厚さを1m2当たり10カ所測定し、厚さのばらつきの程度を測定した。ばらつきが5%以内の場合を○、5%を超える場合を×とした。
得られた光硬化性転写シートの厚さを1m2当たり10カ所測定し、厚さのばらつきの程度を測定した。ばらつきが5%以内の場合を○、5%を超える場合を×とした。
(2)得られる光情報記録媒体の評価
光硬化性転写シートのロールを円盤状に打ち抜いた後、一方の剥離シートを除去し、得られた円盤状光硬化性転写シートを、射出成形により成形したピットとしての凹凸面を有するポリカーボネート基板(厚さ1.1mm)の凹凸面に設けられた銀合金の半透過反射層上に、転写シート面と反射層が接触するように配置し、シリコーンゴム製のローラを用いて2kgの荷重で光硬化性転写シートを押圧し、積層体を形成した(図2の(3)に対応)。
光硬化性転写シートのロールを円盤状に打ち抜いた後、一方の剥離シートを除去し、得られた円盤状光硬化性転写シートを、射出成形により成形したピットとしての凹凸面を有するポリカーボネート基板(厚さ1.1mm)の凹凸面に設けられた銀合金の半透過反射層上に、転写シート面と反射層が接触するように配置し、シリコーンゴム製のローラを用いて2kgの荷重で光硬化性転写シートを押圧し、積層体を形成した(図2の(3)に対応)。
積層体の光硬化性転写シートのもう一方の剥離シートを除去し、その除去された転写シート表面に、ピットとしての凹凸面を有するニッケル製のスタンパを、シート表面とスタンパの凹凸面とが接触するように配置して、シリコーンゴム製のローラを用いて2kgの荷重でスタンパを押圧し、積層体を形成し、スタンパの凹凸形状を転写シート表面に転写した。
次に、光硬化性転写シート側から、メタルハライドランプを用いて、積算光量1000mJ/cm2の条件でUV照射し、転写シートを硬化させた。
積層体からスタンパを剥離、除去し、硬化した光硬化性転写シートの凹凸面上に銀合金をスパッタリングすることにより、アルミニウム反射層(70nm)を形成した。この上に接着剤を介してポリカーボネートフィルム(厚さ70μm;商品名ピュアエースC110−70、帝人(株)製)を貼り付けた。
これにより2層の凹凸面を有する光情報記録媒体を得た。
(2)光情報記録媒体の評価
(2−1)光線透過率(380〜420nmの波長領域)
一方の光硬化性転写シートを、JIS−K6717に従い380〜420nmの波長領域の光線透過率を測定した。70%以上を○、70%未満を×とした。
(2−1)光線透過率(380〜420nmの波長領域)
一方の光硬化性転写シートを、JIS−K6717に従い380〜420nmの波長領域の光線透過率を測定した。70%以上を○、70%未満を×とした。
(2−2)転写性(信号読み取り)
得られた光情報記録媒体の再生波形を、波長405nmのレーザを用いて測定し、得られた再生波形と製造に用いたスタンパの波形と比較した。スタンパの波形と一致しているものを○、ほとんど一致しているもの△、ほとんど一致していないものを×とした。
得られた光情報記録媒体の再生波形を、波長405nmのレーザを用いて測定し、得られた再生波形と製造に用いたスタンパの波形と比較した。スタンパの波形と一致しているものを○、ほとんど一致しているもの△、ほとんど一致していないものを×とした。
得られた試験結果を表1に示す。
実施例1〜4で得られた光硬化性転写シートのロールはしみ出しがほとんど無く、且つこれを用いて得られる光情報記録媒体のピット形状はほぼ良好なものであり、作業性、転写性共に優れていた。特に、実施例1及び2はこれらの特性が一層優れていた。一方、比較例1のジイソシアネートを含まない転写層から得られた光情報記録媒体は、ピット形状は良好なものであるが、ロールにしみ出しがあり、その製造のための作業性は劣っていた。従って、本発明の光硬化性転写シートは、得られる光情報記録媒体の特性を劣化させることなく、その製造のための作業性を向上させたものであると言うことができる。
[実施例5]
<光硬化性転写シートの作製>
(反応性ポリマーの作製)
配合I
2−エチルヘキシルメタクリレート 70質量部
メチルメタクリレート 20質量部
2−ヒドロキシエチルメタクリレート 10質量部
ベンゾフェノン 5質量部
トルエン 30質量部
酢酸エチル 30質量部
<光硬化性転写シートの作製>
(反応性ポリマーの作製)
配合I
2−エチルヘキシルメタクリレート 70質量部
メチルメタクリレート 20質量部
2−ヒドロキシエチルメタクリレート 10質量部
ベンゾフェノン 5質量部
トルエン 30質量部
酢酸エチル 30質量部
上記の配合の混合物を、穏やかに撹拌しながら、60℃に加熱して重合を開始させ、この温度で10時間撹拌し、側鎖にヒドロキシル基を有するアクリル樹脂を得た。その後、カレンズ MOI(2−イソシアナトエチルメタクリレート;昭和電工(株)製)5質量部を添加し、窒素雰囲気下で穏やかに撹拌しながら50℃で反応させ、光重合性官能基を有する反応性ポリマーの溶液1を得た。
得られた反応性ポリマーは、Tgが0℃であり、側鎖にメタクリロイル基を5モル%有していた。
配合II
反応性ポリマー溶液1 100質量部
トリシクロデカンジアクリレート 30質量部
粘着性付与剤(SP値=8.52、mp=115℃, 10質量部
Tg=59℃、平均分子量=650、
クリアロンM115、ヤスハラケミカル(株)製)
1−ヒドロキシシクロヘキシルフェニルケトン 1質量部
反応性ポリマー溶液1 100質量部
トリシクロデカンジアクリレート 30質量部
粘着性付与剤(SP値=8.52、mp=115℃, 10質量部
Tg=59℃、平均分子量=650、
クリアロンM115、ヤスハラケミカル(株)製)
1−ヒドロキシシクロヘキシルフェニルケトン 1質量部
上記配合の混合物を均一に溶解、混練し、剥離シート(幅140mm、長さ200m、厚さ75μm;商品名No.23、藤森工業(株)製)上に、全面塗布し、乾燥厚さ20±2μmの光硬化性転写シートを形成し、シートの反対側に上記と同一の剥離シートを貼付し、ロール状に巻き上げ、光硬化性転写シートのフルエッジタイプのロール(直径0.25m)を得た。
[比較例2]
実施例5において、配合IIの粘着性付与剤を用いなかった以外は、同様にして光硬化性転写シートのロールを得た。
(1)光硬化性転写シートの評価
実施例5において、配合IIの粘着性付与剤を用いなかった以外は、同様にして光硬化性転写シートのロールを得た。
(1)光硬化性転写シートの評価
(1−1)しみ出し
実施例1、比較例2で得られたロールを、常温で24時間放置した後、ロール側面の転写層のしみ出しを観察した。下記のよう評価した。
○:しみ出しが見られない。
△:しみ出しが若干見られる。
×:しみ出しが相当見られる。
実施例1、比較例2で得られたロールを、常温で24時間放置した後、ロール側面の転写層のしみ出しを観察した。下記のよう評価した。
○:しみ出しが見られない。
△:しみ出しが若干見られる。
×:しみ出しが相当見られる。
(1−2)厚み精度
得られた光硬化性転写シートの厚さを1m2当たり10カ所測定し、厚さのばらつきの程度を測定した。ばらつきが1%以内の場合を○、1%を超える場合を×とした。
得られた光硬化性転写シートの厚さを1m2当たり10カ所測定し、厚さのばらつきの程度を測定した。ばらつきが1%以内の場合を○、1%を超える場合を×とした。
(1−3)転写シートのクリープ試験
上記実施例5及び比較例2で得られたロールを25℃で24時間放置した後、転写シートの転写層のクリープ試験を、動的粘弾性測定装置としてレオストレスRS300(HAAKE社製)を用いて行った。その際、φ=20mmのパラレルプレートを用いて、測定厚さ1mm(転写層を積層し成形した)、測定温度25℃にて、応力50Pa、120秒間の条件で行った。
上記実施例5及び比較例2で得られたロールを25℃で24時間放置した後、転写シートの転写層のクリープ試験を、動的粘弾性測定装置としてレオストレスRS300(HAAKE社製)を用いて行った。その際、φ=20mmのパラレルプレートを用いて、測定厚さ1mm(転写層を積層し成形した)、測定温度25℃にて、応力50Pa、120秒間の条件で行った。
上記試験結果から、測定された時間[t](秒)に対する歪み[γ](%)のプロットし、これに基づきlogγとlogtの関係を示すグラフを得、このグラフより、各例の直線近似の式:logγ=a+b・logtのbを求めた。
(2)得られる光情報記録媒体の評価
光硬化性転写シートのロールを円盤状に打ち抜いた後、一方の剥離シートを除去し、得られた円盤状光硬化性転写シートを、射出成形により成形したピットとしての凹凸面を有するポリカーボネート基板(厚さ1.1mm)の凹凸面に設けられた銀合金の半透過反射層上に、転写シート面と反射層が接触するように配置し、シリコーンゴム製のローラを用いて2kgの荷重で光硬化性転写シートを押圧し、積層体を形成した(図2の(3)に対応)。
光硬化性転写シートのロールを円盤状に打ち抜いた後、一方の剥離シートを除去し、得られた円盤状光硬化性転写シートを、射出成形により成形したピットとしての凹凸面を有するポリカーボネート基板(厚さ1.1mm)の凹凸面に設けられた銀合金の半透過反射層上に、転写シート面と反射層が接触するように配置し、シリコーンゴム製のローラを用いて2kgの荷重で光硬化性転写シートを押圧し、積層体を形成した(図2の(3)に対応)。
積層体の光硬化性転写シートのもう一方の剥離シートを除去し、その除去された転写シート表面に、ピットとしての凹凸面を有するニッケル製のスタンパを、シート表面とスタンパの凹凸面とが接触するように配置して、シリコーンゴム製のローラを用いて2kgの荷重でスタンパを押圧し、積層体を形成し、スタンパの凹凸形状を転写シート表面に転写した。
次に、光硬化性転写シート側から、メタルハライドランプを用いて、積算光量1000mJ/cm2の条件でUV照射し、転写シートを硬化させた。
積層体からスタンパを剥離、除去し、硬化した光硬化性転写シートの凹凸面上に銀合金をスパッタリングすることにより、アルミニウム反射層(70nm)を形成した。この上に接着剤を介してポリカーボネートフィルム(厚さ70μm;商品名ピュアエースC110−70、帝人(株)製)を貼り付けた。
これにより2層の凹凸面を有する光情報記録媒体を得た。
(2)光情報記録媒体の評価
(2−1)光線透過率(380〜420nmの波長領域)
一方の光硬化性転写シートを、JIS−K6717に従い405nmの波長領域の光線透過率を測定した。
(2−1)光線透過率(380〜420nmの波長領域)
一方の光硬化性転写シートを、JIS−K6717に従い405nmの波長領域の光線透過率を測定した。
(2−2)信号読み取り
得られた光情報記録媒体の再生波形を、波長405nmのレーザを用いて測定し、得られた再生波形と製造に用いたスタンパの波形と比較した。スタンパの波形と一致しているものを○、ほとんど一致しているもの△、ほとんど一致していないものを×とした。
得られた光情報記録媒体の再生波形を、波長405nmのレーザを用いて測定し、得られた再生波形と製造に用いたスタンパの波形と比較した。スタンパの波形と一致しているものを○、ほとんど一致しているもの△、ほとんど一致していないものを×とした。
得られた試験結果を表2に示す。
実施例5で得られた光硬化性転写シートのロールはしみ出しが無く、且つこれを用いて得られる光情報記録媒体のピット形状は良好なものであり、作業性、転写特性共に優れていた。さらに、光線透過率も高くレーザの透過に有利であり、光情報記録媒体として優れた性能を有していると言える。一方、比較例2の本発明の粘着性付与剤を含まない転写層から得られた光情報記録媒体は、ピット形状は良好なものであるが、bの値が大きく、転写シートのロールにしみ出しがあり、その製造のための作業性は劣っていた。従って、本発明の光硬化性転写シートは、得られる光情報記録媒体の特性を劣化させることなく、その製造のための作業性を向上させたものであると言うことができる。
[実施例6]
<光硬化性転写シートの作製>
(反応性ポリマーの作製)
配合I
2−エチルヘキシルメタクリレート 70質量部
メチルメタクリレート 20質量部
2−ヒドロキシエチルメタクリレート 10質量部
ベンゾフェノン 5質量部
トルエン 30質量部
酢酸エチル 30質量部
<光硬化性転写シートの作製>
(反応性ポリマーの作製)
配合I
2−エチルヘキシルメタクリレート 70質量部
メチルメタクリレート 20質量部
2−ヒドロキシエチルメタクリレート 10質量部
ベンゾフェノン 5質量部
トルエン 30質量部
酢酸エチル 30質量部
上記の配合の混合物を、穏やかに撹拌しながら、60℃に加熱して重合を開始させ、この温度で10時間撹拌し、側鎖にヒドロキシル基を有するアクリル樹脂を得た。その後、カレンズ MOI(2−イソシアナトエチルメタクリレート;昭和電工(株)製)5質量部を添加し、窒素雰囲気下で穏やかに撹拌しながら50℃で反応させ、光重合性官能基を有する反応性ポリマーの溶液1を得た。
得られた反応性ポリマーは、Tgが0℃であり、側鎖にメタクリロイル基を5モル%有していた。
配合II
反応性ポリマー溶液1 100質量部
トリシクロデカンジアクリレート 30質量部
1−ヒドロキシシクロヘキシルフェニルケトン 1質量部
シリカ微粒子(平均粒径50nm;商品名ケミスノーMP、
綜研化学(株)製) 5質量部
反応性ポリマー溶液1 100質量部
トリシクロデカンジアクリレート 30質量部
1−ヒドロキシシクロヘキシルフェニルケトン 1質量部
シリカ微粒子(平均粒径50nm;商品名ケミスノーMP、
綜研化学(株)製) 5質量部
上記配合の混合物を均一に溶解、混練し、剥離シート(幅300mm、長さ1000m、厚さ75μm;商品名No.23、藤森工業(株)製)上に、全面塗布し、乾燥厚さ20±2μmの光硬化性転写シートを形成し、シートの反対側に上記と同一の剥離シートを貼付し、ロール状に巻き上げ、光硬化性転写シートのフルエッジタイプのロール(直径0.5m)を得た。
[比較例3]
実施例6において、配合IIのシリカ微粒子を用いなかった以外は、同様にして光硬化性転写シートのロールを得た。
(1)光硬化性転写シートのロールの評価
(1−1)しみ出し
実施例6及び比較例3で得られたロールを、常温で1000時間放置した後、ロール側面の転写層のしみ出しを観察した。下記のよう評価した。
○:しみ出しが見られない。
△:しみ出しが若干見られる。
×:しみ出しが相当見られる。
実施例6において、配合IIのシリカ微粒子を用いなかった以外は、同様にして光硬化性転写シートのロールを得た。
(1)光硬化性転写シートのロールの評価
(1−1)しみ出し
実施例6及び比較例3で得られたロールを、常温で1000時間放置した後、ロール側面の転写層のしみ出しを観察した。下記のよう評価した。
○:しみ出しが見られない。
△:しみ出しが若干見られる。
×:しみ出しが相当見られる。
(1−2)転写シートのクリープ試験
上記実施例6及び比較例3で得られたロールを25℃で24時間放置した後、転写シートの転写層のクリープ試験を、動的粘弾性測定装置としてレオストレスRS300(HAAKE社製)を用いて行った。その際、φ=20mmのパラレルプレートを用いて、測定厚さ1mm(転写層を積層し成形した)、測定温度25℃にて、応力50Pa、120秒間の条件で行った。
上記実施例6及び比較例3で得られたロールを25℃で24時間放置した後、転写シートの転写層のクリープ試験を、動的粘弾性測定装置としてレオストレスRS300(HAAKE社製)を用いて行った。その際、φ=20mmのパラレルプレートを用いて、測定厚さ1mm(転写層を積層し成形した)、測定温度25℃にて、応力50Pa、120秒間の条件で行った。
上記試験結果から、測定された時間[t](秒)に対する歪み[γ](%)のプロットし、これに基づきlogγとlogtの関係を示すグラフを得、このグラフより、各例の直線近似の式:logγ=a+b・logtのbを求めた。
(2)得られる光情報記録媒体の評価
光硬化性転写シートのロールを円盤状に打ち抜いた後、一方の剥離シートを除去し、得られた円盤状光硬化性転写シートを、射出成形により成形したピットとしての凹凸面を有するポリカーボネート基板(厚さ1.1mm)の凹凸面に設けられたアルミニウム反射層(70nm)上に、転写シート面と反射層が接触するように配置し、シリコーンゴム製のローラを用いて2kgの荷重で光硬化性転写シートを押圧し、積層体を形成した(図2の(3)に対応)。
光硬化性転写シートのロールを円盤状に打ち抜いた後、一方の剥離シートを除去し、得られた円盤状光硬化性転写シートを、射出成形により成形したピットとしての凹凸面を有するポリカーボネート基板(厚さ1.1mm)の凹凸面に設けられたアルミニウム反射層(70nm)上に、転写シート面と反射層が接触するように配置し、シリコーンゴム製のローラを用いて2kgの荷重で光硬化性転写シートを押圧し、積層体を形成した(図2の(3)に対応)。
積層体の光硬化性転写シートのもう一方の剥離シートを除去し、その除去された転写シート表面に、ピットとしての凹凸面を有するニッケル製のスタンパを、シート表面とスタンパの凹凸面とが接触するように配置して、シリコーンゴム製のローラを用いて2kgの荷重でスタンパを押圧し、積層体を形成し、スタンパの凹凸形状を転写シート表面に転写した。
次に、光硬化性転写シート側から、メタルハライドランプを用いて、積算光量1000mJ/cm2の条件でUV照射し、転写シートを硬化させた。
積層体からスタンパを剥離、除去し、硬化した光硬化性転写シートの凹凸面上に銀合金をスパッタリングすることにより、銀合金の半透過反射層を形成した。この上に接着剤を介してポリカーボネートフィルム(厚さ70μm;商品名ピュアエースC110−70、帝人(株)製)を貼り付けた。
これにより2層の凹凸面を有する光情報記録媒体を得た。
(光情報記録媒体の評価)
(2−1)光線透過率(380〜420nmの波長領域)
一方の光硬化性転写シートを、JIS−K6717に従い380〜420nmの波長領域の光線透過率を測定した。70%以上を○、70%未満を×とした。
(2−1)光線透過率(380〜420nmの波長領域)
一方の光硬化性転写シートを、JIS−K6717に従い380〜420nmの波長領域の光線透過率を測定した。70%以上を○、70%未満を×とした。
(2−2)信号読み取り
得られた光情報記録媒体の再生波形を、波長405nmのレーザを用いて測定し、得られた再生波形と製造に用いたスタンパの波形と比較した。スタンパの波形と一致しているものを○、ほとんど一致していないものを×とした。
得られた光情報記録媒体の再生波形を、波長405nmのレーザを用いて測定し、得られた再生波形と製造に用いたスタンパの波形と比較した。スタンパの波形と一致しているものを○、ほとんど一致していないものを×とした。
得られた試験結果を表3に示す。
実施例6で得られた光硬化性転写シートは、bの値が小さく、ロールはしみ出しが無く、且つこれを用いて得られる光情報記録媒体のピット形状は良好なものであり、作業性、転写特性共に優れていた。一方、比較例3の、透明微粒子を用いないロールから得られた光情報記録媒体は、bの値が大きく、ピット形状は良好なものであるが、ロールにしみ出しがあり、その製造のための作業性は劣っていた。また、平均粒径が本発明の範囲外の透明微粒子を用いたロールは浸みだしが無かったが、これを用いて得られる光情報記録媒体のピット形状は良好とはいえないものであった。従って、本発明の光硬化性転写シートは、得られる光情報記録媒体の特性を劣化させることなく、その製造のための作業性を向上させたものであると言うことができる。
11 光硬化性転写シート
12a,12b 剥離シート
21 基板
23 半透明反射層
24 スタンパ
25 反射層
26 有機ポリマーフィルム(カバー層)
1,2 透明樹脂基板
1a,2a 反射層
3 接着剤層
1b 半透明層
4a ディスク基板
5A,5B 紫外線硬化樹脂
6a 反射層(又は記録層)
7 カバー層
12a,12b 剥離シート
21 基板
23 半透明反射層
24 スタンパ
25 反射層
26 有機ポリマーフィルム(カバー層)
1,2 透明樹脂基板
1a,2a 反射層
3 接着剤層
1b 半透明層
4a ディスク基板
5A,5B 紫外線硬化樹脂
6a 反射層(又は記録層)
7 カバー層
Claims (24)
- 活性水素を有する官能基及び光重合性官能基を有する反応性ポリマーを含む、加圧により変形可能な光硬化性組成物からなる光硬化性転写層を有する光硬化性転写シートであって、
光硬化性組成物が、さらに活性水素を有する官能基と反応性を有する基を少なくとも2個有する化合物を含んでいることを特徴とする光硬化性転写シート。 - 活性水素を有する官能基がヒドロキシル基である請求項1に記載の光硬化性転写シート。
- 活性水素を有する官能基と反応性を有する基がイソシアネート基である請求項1又は2に記載の光硬化性転写シート。
- 光硬化性組成物が、さらに光重合性官能基を有する反応性希釈剤を含んでいる請求項1〜3のいずれかに記載の光硬化性転写シート。
- 反応性ポリマーが、活性水素を有する官能基を0.1〜10モル%含む請求項1〜4のいずれかに記載の光硬化性転写シート。
- 活性水素を有する官能基と反応性を有する基を少なくとも2個有する化合物が、光硬化性組成物中に0.2〜2質量%の範囲で含まれる請求項1〜5のいずれかに記載の光硬化性転写シート。
- 反応性ポリマーが、光重合性官能基を1〜50モル%含む請求項1〜6のいずれかに記載の光硬化性転写シート。
- 光重合性官能基が、(メタ)アクリロイル基である請求項7に記載の光硬化性転写シート。
- 反応性ポリマーのガラス転移温度が20℃以下である請求項1〜8のいずれかに記載の光硬化性転写シート。
- 反応性ポリマーの数平均分子量が10000〜300000である請求項1〜9のいずれかに記載の光硬化性転写シート。
- 反応性ポリマーの重量平均分子量が10000〜300000である請求項1〜9のいずれかに記載の光硬化性転写シート。
- 光硬化性組成物が、光重合開始剤を0.1〜10質量%含む請求項1〜11のいずれかに記載の光硬化性転写シート。
- 活性水素を有する官能基と、活性水素を有する官能基と反応性を有する基を少なくとも2個有する化合物とを反応させた後の光硬化性転写層が、動的粘弾性測定装置を用いるクリープ試験において、常温で、応力50Pa、120秒間の条件で、時間[t](秒)に対する歪み[γ](%)の関係が、直線性を示し、且つ下記式:
logγ=a+b・logt
(但し、aが実数を表し、bが0.10〜0.55の範囲にある)を満足する請求項1〜12のいずれかに記載の光硬化性転写シート。 - 380〜420nmの波長領域の光透過率が70%以上である請求項1〜13のいずれかに記載の光硬化性転写シート。
- 380〜800nmの波長領域の光透過率が70%以上である請求項1〜14のいずれかに記載の光硬化性転写シート。
- 光硬化性転写層の厚さが5〜300μmである請求項1〜15のいずれかに記載の光硬化性転写シート。
- 光重合性官能基を有する反応性ポリマーを含む、加圧により変形可能な光硬化性組成物からなる光硬化性転写層を有する光硬化性転写シートであって、
光硬化性転写層が、動的粘弾性測定装置を用いるクリープ試験において、常温で、応力50Pa、120秒間の条件で、時間[t](秒)に対する歪み[γ](%)の関係が、直線性を示し、且つ下記式:
logγ=a+b・logt
(但し、aが実数を表し、bが0.10〜0.55の範囲にある)を満足することを特徴とする光硬化性転写シート。 - 光硬化性転写層の一方又は両方の表面に、剥離シートが設けられている請求項1〜17のいずれかに記載の光硬化性転写シート。
- 光硬化性転写シートが長尺状であり、かつ光硬化性転写層と剥離シートの幅が略同一である請求項18に記載の光硬化性転写シート。
- 下記の工程(2)〜(4):
(2)請求項18又は19に記載の光硬化性転写シートの一方の剥離シートを除去する工程;
(3)表面に記録ピット及び/又はグルーブとしての凹凸を有し、さらに該凹凸表面の凹凸に沿って反射層が設けられた基板の該反射層上に、該光硬化性転写シートの光硬化性転写層の表面が該反射層の凹凸表面に接触するように裁置し、これらを押圧して該光硬化性転写シートの表面が該反射層の凹凸表面に沿って密着された積層体を形成する工程;及び
(4)該積層体からもう一方の剥離シートを除去する工程、
を含むことを特徴とする光情報記録媒体の製造方法。 - 前記工程(2)の前に、
(1)光硬化性転写シートを円盤状に打ち抜く工程;又は
(1)光硬化性転写シートの光硬化性転写層と一方の剥離シートを円盤状に打ち抜き、もう一方の剥離シートをそのまま残す工程;
を行う請求項20に記載の光情報記録媒体の製造方法。 - 前記工程(4)を行った後、さらに
(5)該積層体の剥離シートが除去された光硬化性転写層の表面に、記録ピット及び/又はグルーブとしての凹凸を有するスタンパの該凹凸表面を裁置し、これらを押圧して該光硬化性転写シートの表面が該凹凸表面に沿って密着した積層体を形成する工程;
(6)該スタンパを有する積層体の光硬化性転写層を紫外線照射により硬化させ、次いでスタンパを除去することにより、光硬化性転写層の表面に凹凸を設ける工程;
を含む請求項20又は21に記載の光情報記録媒体の製造方法。 - 前記(5)〜(6)の工程を行った後、さらに
(7)光硬化性転写層の凹凸表面に反射層を設ける工程;
を含む請求項22に記載の光情報記録媒体の製造方法。 - 請求項20〜23のいずれかに記載の製造方法により得られる光情報記録媒体。
Priority Applications (5)
| Application Number | Priority Date | Filing Date | Title |
|---|---|---|---|
| JP2004291166A JP2005158232A (ja) | 2003-10-30 | 2004-10-04 | 光硬化性転写シート、これを用いた光情報記録媒体の製造方法、及び光情報記録媒体 |
| KR1020067006728A KR101137306B1 (ko) | 2003-10-07 | 2004-10-06 | 광경화성 전사시트, 이것을 사용한 광정보 기록매체의제조방법 및 광정보 기록매체 |
| US10/574,840 US8916335B2 (en) | 2003-10-07 | 2004-10-06 | Photo-curable transfer sheet, process for the preparation of optical information recording medium using the sheet, and optical information recording medium |
| EP04792331A EP1674505B1 (en) | 2003-10-07 | 2004-10-06 | Photocuring transfer sheet, method for manufacturing optical information recording medium using the sheet, and optical information recording medium |
| PCT/JP2004/015091 WO2005035635A1 (ja) | 2003-10-07 | 2004-10-06 | 光硬化性転写シート、これを用いた光情報記録媒体の製造方法、及び光情報記録媒体 |
Applications Claiming Priority (2)
| Application Number | Priority Date | Filing Date | Title |
|---|---|---|---|
| JP2003370779 | 2003-10-30 | ||
| JP2004291166A JP2005158232A (ja) | 2003-10-30 | 2004-10-04 | 光硬化性転写シート、これを用いた光情報記録媒体の製造方法、及び光情報記録媒体 |
Publications (1)
| Publication Number | Publication Date |
|---|---|
| JP2005158232A true JP2005158232A (ja) | 2005-06-16 |
Family
ID=34741209
Family Applications (1)
| Application Number | Title | Priority Date | Filing Date |
|---|---|---|---|
| JP2004291166A Pending JP2005158232A (ja) | 2003-10-07 | 2004-10-04 | 光硬化性転写シート、これを用いた光情報記録媒体の製造方法、及び光情報記録媒体 |
Country Status (1)
| Country | Link |
|---|---|
| JP (1) | JP2005158232A (ja) |
Cited By (6)
| Publication number | Priority date | Publication date | Assignee | Title |
|---|---|---|---|---|
| JP2007009133A (ja) * | 2005-07-04 | 2007-01-18 | Bridgestone Corp | 光硬化性転写シート、光情報記録媒体及びその製造方法 |
| JP2009124135A (ja) * | 2007-10-24 | 2009-06-04 | Hitachi Chem Co Ltd | 半導体用接着部材及び半導体装置 |
| WO2013129096A1 (ja) * | 2012-02-27 | 2013-09-06 | リンテック株式会社 | エネルギー線硬化型親水性粘着剤組成物、粘着シートおよび親水性構造体 |
| JP2014118325A (ja) * | 2012-12-17 | 2014-06-30 | Sekisui Chem Co Ltd | マイクロポンプ用ガス発生材及びマイクロポンプ |
| JP2019178283A (ja) * | 2018-03-30 | 2019-10-17 | 株式会社巴川製紙所 | 導光板用封止部材及びそれを用いた導光板の製造方法 |
| JP2019218118A (ja) * | 2018-06-21 | 2019-12-26 | 三井化学株式会社 | 医療用容器および医療用容器用環状オレフィン系樹脂組成物 |
-
2004
- 2004-10-04 JP JP2004291166A patent/JP2005158232A/ja active Pending
Cited By (8)
| Publication number | Priority date | Publication date | Assignee | Title |
|---|---|---|---|---|
| JP2007009133A (ja) * | 2005-07-04 | 2007-01-18 | Bridgestone Corp | 光硬化性転写シート、光情報記録媒体及びその製造方法 |
| JP2009124135A (ja) * | 2007-10-24 | 2009-06-04 | Hitachi Chem Co Ltd | 半導体用接着部材及び半導体装置 |
| WO2013129096A1 (ja) * | 2012-02-27 | 2013-09-06 | リンテック株式会社 | エネルギー線硬化型親水性粘着剤組成物、粘着シートおよび親水性構造体 |
| JPWO2013129096A1 (ja) * | 2012-02-27 | 2015-07-30 | リンテック株式会社 | エネルギー線硬化型親水性粘着剤組成物、粘着シートおよび親水性構造体 |
| JP2014118325A (ja) * | 2012-12-17 | 2014-06-30 | Sekisui Chem Co Ltd | マイクロポンプ用ガス発生材及びマイクロポンプ |
| JP2019178283A (ja) * | 2018-03-30 | 2019-10-17 | 株式会社巴川製紙所 | 導光板用封止部材及びそれを用いた導光板の製造方法 |
| JP2019218118A (ja) * | 2018-06-21 | 2019-12-26 | 三井化学株式会社 | 医療用容器および医療用容器用環状オレフィン系樹脂組成物 |
| JP7133997B2 (ja) | 2018-06-21 | 2022-09-09 | 三井化学株式会社 | 医療用容器および医療用容器用環状オレフィン系樹脂組成物 |
Similar Documents
| Publication | Publication Date | Title |
|---|---|---|
| KR101137306B1 (ko) | 광경화성 전사시트, 이것을 사용한 광정보 기록매체의제조방법 및 광정보 기록매체 | |
| WO2003032305A1 (en) | Photo-curable transfer sheet, laminate, optical information recording substrate, method for manufacture thereof, and optical information recording medium | |
| JP2007291339A (ja) | 光硬化性転写シート、これを用いた凹凸パターンの形成方法及び光情報記録媒体の製造方法、並びに光情報記録媒体 | |
| JP4165635B2 (ja) | 光情報記録媒体の製造方法 | |
| JP2003272244A (ja) | 光情報記録媒体の製造方法及び光情報記録媒体 | |
| JP2005158232A (ja) | 光硬化性転写シート、これを用いた光情報記録媒体の製造方法、及び光情報記録媒体 | |
| JP4479907B2 (ja) | 光硬化性転写シート、これを用いた光情報記録媒体の製造方法、及び光情報記録媒体 | |
| JP4764055B2 (ja) | 光硬化性転写シート、これを用いた光情報記録媒体の製造方法、及び光情報記録媒体 | |
| CN100475883C (zh) | 可光固化转印膜、使用该膜制备光学信息记录介质的方法和光学信息记录介质 | |
| JP2005182971A (ja) | 光情報記録媒体用光硬化性樹脂組成物、光硬化性転写シート及び光情報記録媒体 | |
| CN101506884B (zh) | 光固化性转印片、使用其的光学信息记录介质的制造方法、及光学信息记录介质 | |
| JP4764158B2 (ja) | 光硬化性転写シート、これを用いた光情報記録媒体の製造方法、及び光情報記録媒体 | |
| JP5016368B2 (ja) | 光硬化性転写シート、これを用いた光情報記録媒体の製造方法、及び光情報記録媒体 | |
| JP2005182964A (ja) | 光情報記録媒体及びその製造方法、並びに光硬化性組成物及び光硬化性転写シート | |
| CN101512646B (zh) | 光固化性转印片、使用该转印片制备光信息记录介质的方法和光信息记录介质 | |
| JP4656991B2 (ja) | 光硬化性転写シート、これを用いた光情報記録媒体の製造方法、及び光情報記録媒体 | |
| JP4658858B2 (ja) | 光硬化性転写シート、これを用いた光情報記録媒体の製造方法、及び光情報記録媒体 | |
| JP4070440B2 (ja) | 光情報記録媒体及びその製造方法 | |
| JP2005182963A (ja) | 光情報記録媒体及びその製造方法、並びに光硬化性組成物及び光硬化性転写シート | |
| JP2003272228A (ja) | 光硬化性転写シート及びその製造方法、積層体、光情報記録基板及び光情報記録媒体 | |
| JP2005116051A (ja) | 光硬化性転写シート、これを用いた光情報記録媒体の製造方法、及び光情報記録媒体 | |
| JP5016292B2 (ja) | 光硬化性転写シート、これを用いた光情報記録媒体の製造方法、及び光情報記録媒体 | |
| JP2005154598A (ja) | 光硬化性転写シート、これを用いた光情報記録媒体の製造方法、及び光情報記録媒体 | |
| JP4547294B2 (ja) | 光硬化性転写シート、これを用いた光情報記録媒体の製造方法、及び光情報記録媒体 | |
| JP4833737B2 (ja) | 光硬化性転写シート、これを用いた光情報記録媒体の製造方法、及び光情報記録媒体 |
Legal Events
| Date | Code | Title | Description |
|---|---|---|---|
| A621 | Written request for application examination |
Free format text: JAPANESE INTERMEDIATE CODE: A621 Effective date: 20070903 |
|
| A131 | Notification of reasons for refusal |
Free format text: JAPANESE INTERMEDIATE CODE: A131 Effective date: 20090915 |
|
| A521 | Request for written amendment filed |
Free format text: JAPANESE INTERMEDIATE CODE: A523 Effective date: 20091112 |
|
| A02 | Decision of refusal |
Free format text: JAPANESE INTERMEDIATE CODE: A02 Effective date: 20100105 |
