JP2005109331A - ステージ装置およびデバイス製造方法 - Google Patents

ステージ装置およびデバイス製造方法 Download PDF

Info

Publication number
JP2005109331A
JP2005109331A JP2003343229A JP2003343229A JP2005109331A JP 2005109331 A JP2005109331 A JP 2005109331A JP 2003343229 A JP2003343229 A JP 2003343229A JP 2003343229 A JP2003343229 A JP 2003343229A JP 2005109331 A JP2005109331 A JP 2005109331A
Authority
JP
Japan
Prior art keywords
stage
temperature
guide
unit
reticle
Prior art date
Legal status (The legal status is an assumption and is not a legal conclusion. Google has not performed a legal analysis and makes no representation as to the accuracy of the status listed.)
Granted
Application number
JP2003343229A
Other languages
English (en)
Other versions
JP4510419B2 (ja
JP2005109331A5 (ja
Inventor
Kenichiro Taji
謙一郎 田地
Kazunori Iwamoto
和徳 岩本
Current Assignee (The listed assignees may be inaccurate. Google has not performed a legal analysis and makes no representation or warranty as to the accuracy of the list.)
Canon Inc
Original Assignee
Canon Inc
Priority date (The priority date is an assumption and is not a legal conclusion. Google has not performed a legal analysis and makes no representation as to the accuracy of the date listed.)
Filing date
Publication date
Application filed by Canon Inc filed Critical Canon Inc
Priority to JP2003343229A priority Critical patent/JP4510419B2/ja
Publication of JP2005109331A publication Critical patent/JP2005109331A/ja
Publication of JP2005109331A5 publication Critical patent/JP2005109331A5/ja
Application granted granted Critical
Publication of JP4510419B2 publication Critical patent/JP4510419B2/ja
Anticipated expiration legal-status Critical
Expired - Fee Related legal-status Critical Current

Links

Images

Landscapes

  • Container, Conveyance, Adherence, Positioning, Of Wafer (AREA)
  • Exposure Of Semiconductors, Excluding Electron Or Ion Beam Exposure (AREA)
  • Exposure And Positioning Against Photoresist Photosensitive Materials (AREA)

Abstract

【課題】 経済的な構成で、精度劣化を生じさせることなく、ステージ天板の温度上昇を効果的に防止することができるステージ装置を提供する。
【解決手段】 処理対象物を保持して移動するステージ可動部5と、ステージ可動部に設けられた軸受手段24と、軸受手段を介してステージ可動部を案内するガイド面を有するステージガイド部25とを備えたステージ装置において、ステージ可動部の温度を制御するためにステージガイド部の温度を調整する温度調整手段27、28a、28bを設け、温度調整手段によって軸受手段を介した熱の移動を制御することにより、ステージ可動部の温度を制御する。
【選択図】 図2

Description

本発明は、半導体リソグラフィ工程等の高精度な加工工程で用いるに好適なステージ装置、およびこのステージ装置を用いたデバイス製造方法に関する。
従来、半導体デバイス等の製造に用いられる露光装置としては、ウエハやガラス基板等の基板をステップ移動させながら、基板上の複数の露光領域にレチクルやマスク等の原版のパターンを、投影光学系を介して順次露光するステップ・アンド・リピート型の露光装置(ステッパと称することもある)や、ステップ移動と走査露光とを繰り返すことによって、基板上の複数の領域に露光転写を繰り返すステップ・アンド・スキャン型の露光装置(スキャナと称することもある)が代表的である。特にステップ・アンド・スキャン型のものは、スリットにより制限して投影光学系の比較的光軸に近い部分のみを使用しているため、より高精度かつ広画角な微細パターンの露光が可能となっている。
これらの露光装置はウエハやレチクルを高速で移動させて位置決めするウエハステージ、レチクルステージ等のステージ装置を有しているが、ウエハを保持するウエハステージ天板やレチクルを保持するレチクルステージ天板の温度変動は、微細パターンの重ね合せ精度の劣化を引き起こす。熱による温度変動の要因としては、ウエハ、レチクル自体の熱膨張、位置計測用ミラーとウエハチャックやレチクルチャックとの間の熱膨張、天板上の基準マークや基準プレートの熱による位置変動等が該当する。また、天板へ伝達する熱を経路の観点から分類すると、静圧ガイドを介して伝達する熱、リニアモータ可動子を介して伝達する熱、雰囲気空間から伝達する熱、および露光光からの熱に分類することができる。
この熱による問題を解決するためには、熱の影響を極小化するためにステージ天板の構成部材に低熱膨張材を使用することや、ステージ空間の雰囲気温度を制御することや、ステージを駆動するアクチュエータ等の熱源自体を冷却して温調を行うことが一般的である。さらに有効な手段として、直接ステージ天板上のチャックに冷却手段を設ける方法が提案されている(たとえば特許文献1参照)。
一方、熱による別の問題として、ステージ装置各部の熱によるたわみやその変動がステージ装置の走行精度を悪化させるという問題がある。これについては、ステージ定盤にヒータさらには冷却手段を設け、ステージ定盤の温度分布を制御することによりステージ定盤に熱歪を発生させ、これにより走行精度の悪化を生じさせるたわみをキャンセルするという提案がなされている(たとえば特許文献2参照)。この場合、ヒータや冷却手段はステージ定盤に熱歪を生じさせるものであるにすぎないため、ステージ天板の熱による温度上昇を防止するためには、別途上述のような対策を講じる必要がある。
特開昭57−68835号公報 特開平5−203773号公報
しかしながら、ステージ天板の熱による温度上昇を防止するために、上述の直接天板を冷却する方法を用いるとすると、ステージ天板に冷媒などを通す経路や配管を設ける必要がある。かかる経路や配管は低熱膨張セラミック材で構成されるステージ天板の構成を複雑にすることに加え、配管が外部からの振動を伝えたり、配管自身が振動する等の問題がある。このことは、装置のコストアップと精度劣化を引き起こす。
本発明の目的は、かかる従来技術の問題点に鑑み、経済的な構成で、または精度劣化を生じさせることなく、ステージ天板の温度上昇を効果的に防止することができるステージ装置を提供することにある。
上記目的を達成するため、本発明のステージ装置は、対象物を保持して移動するステージ可動部と、前記ステージ可動部に設けられた軸受手段と、前記軸受手段と協働して前記ステージ可動部を移動方向に案内するガイド面を有するステージガイド部と、前記ステージ可動部の温度を制御するために前記ステージガイド部の温度を調整する温度調整手段とを具備することを特徴とする。
ここで、ステージ装置としては、たとえば、ステップ・アンド・スキャン型の露光装置におけるレチクルスキャンステージや、ステップ・アンド・リピート型の露光装置におけるウエハステージが該当する。対象物としてはたとえば、ウエハやガラス基板等の基板、またはレチクルやマスク等の原版が該当する。ステージ装置としては、たとえば半導体露光装置において基板や原版を位置決めするためのものが該当する。ステージ可動部としては、たとえば、原版や基板が搭載されるステージ天板、レチクルが搭載されるレチクルステージ、またはウエハが搭載されるウエハステージが該当する。なお「ステージ」なる語は、ステージ装置を意味する場合と、ステージ装置の天板部分や可動部分を意味する場合がある。軸受手段としては、たとえば、エアベアリング等の静圧軸受や、磁気軸受等の電磁力を利用した電磁ガイドが該当する。
温度調整手段としては、たとえば、ステージガイド部を冷却することにより温度調整を行うものや、ステージガイド部に設けた冷媒を通す流路および温度センサ、ならびに温度センサからの検出信号に基づき冷媒の温度を制御する温度制御ユニットを有するものや、ステージガイド部に設けたヒートパイプおよび温度センサ、ヒートパイプに接続された冷媒を通す流路、ならびに温度センサの出力に基づき冷媒の温度を制御する温度制御ユニットを有するものや、ステージガイド部の異なる複数の部分を別個に温度調整するものや、ステージ可動部の駆動パターンに応じてステージガイド部の異なる各部分を別個に温度調整するものや、ステージ可動部に設けた温度センサを備え、その検出信号に基づいて温度の調整を行うものが該当する。ステージガイド部としては、たとえばステージ定盤が該当する。
本発明の好ましい態様においては、ステージ装置はステージ可動部の移動を行うリニアモータを備え、リニアモータの固定子はステージガイド部を支持する構造体上、またはステージガイド部上に設けられており、ステージ装置は露光装置における原版または基板の位置決めに使用される。
この構成において、対象物についてのステージ装置による位置決め動作や、それに伴う露光等の処理に際し、種々の熱源からステージ可動部や対象物に伝わる熱の影響により、対象物の位置決め精度や加工精度が悪化するおそれがある。このため、ステージ可動部の温度を制御する必要があるが、従来は、ステージ可動部に冷却手段を設けていたため、ステージ可動部の構成を複雑化するとともに、冷媒用の配管が振動したり振動を伝えたりして位置決め精度や加工精度を劣化させるという問題があった。これに対し、本発明によれば、ステージ可動部の温度を制御するためにステージガイド部の温度を調整する温度調整手段を設けるようにしたため、ステージ可動部に温度調整手段を設ける必要がなくなり、従来の問題が解決されることになる。
ステージ可動部へ伝わる熱としては、ステージガイド部から軸受手段を経てステージ可動部へ伝わる熱と、それ以外の経路を経てステージ可動部へ伝わる熱とがある。ステージ可動部の温度を調整することにより、軸受手段を経てステージ可動部へ伝達しようとする熱はステージガイド部において未然に排除され、それ以外の経路からステージ可動部へ伝わった熱は、軸受手段を介してステージガイド部側へ吸収される。つまりステージ定盤の温度を調整することにより、エアベアリングのエアギャップや、磁気軸受のギャップを経た熱の流れが制御され、これによりステージ可動部の温度が制御されることになる。
本発明のデバイス製造方法は、本発明のステージ装置を用いてデバイスを製造することを特徴とする。したがって、簡単な構成で、かつ高い加工精度およびスループットをもってデバイスを製造することができる。
本発明によれば、ステージ可動部の温度を制御するためにステージガイド部の温度を調整する温度調整手段を設けるようにしたため、簡便な構成で、高い精度さらには高いスループットをもって対象物を移動または位置決めし、対象物に対する処理を行うことができる。たとえば、本ステージ装置を露光装置に適用した場合には、簡便な構成で、オーバレイ精度や線幅精度を向上させ、露光処理の迅速化を図ることができる。
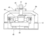
図1および図2は、本発明の第1の実施形態に係るレチクルスキャンステージの構成を示す平面図および正面図である。このレチクルスキャンステージはX、Yおよびθの3軸の自由度を有する。レチクルスキャンステージは、レチクル23を保持して移動する天板5、天板5に設けられたエアベアリング24、エアベアリング24と協働して天板5を案内するガイド面を有するステージガイド25、天板5の温度を制御するためにステージガイド25の温度を調整する温度調整手段、ステージガイド25を支持する基準構造体4、および、天板5を移動させ、位置決めするための電磁アクチュエータを備える。
基準構造体4上には基準となる平面ガイド面6が設けられており、ステージガイド25は平面ガイド面6上に設けられている。天板5はステージガイド25に対してエアベアリング24によって非接触に支持されており、XYθ方向に移動可能である。エアベアリング24は不図示の予圧磁石により天板5とステージガイド25との間に吸引力を発生させ、不図示の静圧パッドにより反発力を発生させることによって、高剛性のガイドを構成している。
電磁アクチュエータは天板5の両脇に設けられており、天板5の左右に固定された可動子2aおよび2b、可動子2aおよび2bをY方向の長ストロークおよびX方向の短ストロークで駆動するための左右に互いに分離・独立した固定子1aおよび1bを有する。固定子1aおよび1bは、平面ガイド面6に対して静圧軸受によって非接触に支持されており、XYθ方向(平面方向)に移動可能である。固定子1aおよび1bは、所定の重量を有し、後述する反力カウンタの機能を備えている。可動子2aおよび2bにはそれぞれ可動部Yマグネット10および可動部Xマグネット11が取り付けられている。固定子1aおよび1bの内部には、X軸リニアモータ単相コイル12、およびY方向に複数のコイルを並べたY軸リニアモータ多相コイル13が配置され、これらを切り替えて使用することにより、天板5をX軸方向およびY軸方向へ移動できるようになっている。
天板5のXYθ方向の位置はレーザヘッド16を光源とするレーザ干渉計を利用した測長装置によって計測されるようになっている。この測長装置は、基準構造体4に対して位置的に固定された、左右2個のY軸計測用干渉計19aおよび19b、前後2個のX軸計測用干渉計20aおよび20b、ならびにX軸計測用バーミラー18を備える。また、天板5に固定された、2つのY軸計測用ミラー17aおよび17b、ならびに2つの光学素子22aおよび22bを備える。
天板5のX軸方向位置は、X軸計測用干渉計20aおよび20bからのY方向の計測光が、光学素子22aおよび22bによってX方向に反射または偏向され、さらにX軸計測用バーミラー18によって反射され、逆の経路を経てX軸計測用干渉計20aおよび20bに戻ることによって計測される。固定子1aおよび1bのY軸位置は左右2個の固定子Y軸計測用干渉計21aおよび21bによって計測される。
このようなX−Yステージとして構成される本実施形態のレチクルスキャンステージは露光装置のウエハステージとしても用いることができる。その場合、天板5上に、ウエハを載置する。
レチクル23が載置された天板5は、電磁アクチュエータによってXYθ方向に移動する。その際、固定子1aおよび1bは、天板5全体に作用する駆動力の反作用としての駆動反力を受ける。この駆動反力により、固定子1aおよび1bは平面ガイド面6上を移動する。これにより、固定子1aおよび1bは、反力カウンタの役割を果たす。たとえば、天板5が+Y方向に移動すると、固定子1aおよび1bは−Y方向の駆動反力を受けて−Y方向に移動することになる。
なお、Y軸方向へ所定距離以上移動した固定子1aおよび1bを押し戻すために、左右2個のY軸位置制御用リニアモータ14aおよび14bが基準構造体4上に設けられている。また、X軸方向へ所定距離以上移動した固定子1aおよび1bを押し戻すために、左右前後4個のX軸位置制御用リニアモータ15が基準構造体4上に配置されている。これにより、天板5が所定以上移動した場合には、これとともに固定子1aおよび1bも所定以上移動されることになるが、Y軸位置制御用リニアモータ14aおよび14bならびにX軸位置制御用リニアモータ15によって、固定子1aおよび1bを所定位置に戻すように制御することができる。また、抵抗や摩擦などの影響によって、固定子1aおよび1bの位置にずれが生じても、前述の電磁アクチュエータの駆動によらず、Y軸位置制御用リニアモータ14aおよび14bならびにX軸位置制御用リニアモータ15により、固定子1aおよび1bの位置を修正することができる。
ステージガイド25の温度を調整する温度調整手段は、ステージガイド25に取り付けられた冷却路27および温度センサ28a、ならびに天板5上に取り付けられた温度センサ28bを有する。温度センサ28aおよび28bのうち、いずれか1つのみを設けるようにしても、温度調整機能を達成することは可能である。ステージガイド25は支持スペーサ26によって基準構造体4上に固定されている。
本レチクルスキャンステージが適用された露光装置における露光中およびアライメント中のステージ天板5およびレチクル23に影響を及ぼす熱外乱の要因および伝達経路としては、(1)リニアモータコイル12および13からの発熱が固定子(ステータ)1aおよび1bに伝達し、基準構造体4、支持スペーサ26、およびステージガイド(ステージ定盤)25を経、さらにエアベアリング24のギャップを介して天板5へ伝達する場合や、リニアモータコイル12および13からの発熱が固定子1aおよび1bに伝達し、さらにエアとXおよびYマグネット10および11を介して天板5へ伝達する場合、(2)レチクルの高速スキャン時にエアベアリング用予圧磁石または電磁ガイドの磁束が鉄系材料のステージガイド25内で変化することにより、渦電流が発生してステージガイド25の温度を上昇させ、その熱がエアベアリング24を介して天板5へ伝達する場合、(3)ステージ天板5の周りの雰囲気の温度変動により天板5へ熱が伝達する場合、および(4)レチクル23へ照射される露光光がレチクル23に熱を付与し、レチクル23自体が熱膨張する場合が考えられる。
そこで、露光時やアライメント時には、ステージガイド25に設けられた冷却路27に冷媒を循環させ、温度センサ28aによる検出温度が一定となるように冷媒の温度を制御することにより、ステージガイド25の温度を一定にする。これにより、支持スペーサ26を経て伝達してくる熱および前記渦電流に起因する発熱によるステージガイド25の温度変動を抑えることができる。このようにしてステージガイド25の温度を一定に制御することにより、ステージガイド25と天板5との間に温度差が生じると、エアベアリング24のエアギャップを介して天板5の熱がステージガイド25に伝達するので、天板5およびレチクル23の温度制御を行うことができる。
このとき、天板5上の温度センサ28bを用いて直接天板5の温度を計測し、冷媒の温度を制御することによって、センサ用のケーブルを引き回すことによるデメリットはあるものの、精度的には天板5およびレチクル23の温度制御性能をより向上させることができる。また、エアベアリング24の代わりに電磁力を利用した電磁ガイドを用いた構成の場合でも、大気中で用いられるときには、同様の作用により同様の効果が得られることは言うまでもない。電磁ガイドを真空中で用いる場合でも、空気層を介して熱を伝達させることはできないが、ステージ天板5の熱を輻射によりステージガイド25へ逃がすことが可能であるため、同様の効果を得ることができる。
本実形態のレチクルスキャンステージは、レチクルとウエハを共に同期走査しながら露光を行ってウエハの1つのショット領域にレチクルパターンの露光転写を行い、ウエハをステップ移動させることで複数のショット領域にパターンを並べて転写する、いわゆるステップ・アンド・スキャン型の走査型露光装置において好適に用いられる。ただし本発明のステージ装置はステップ・アンド・スキャン型の露光装置への適用に限定されるものではなく、レチクルステージへの適用に限定されるものでもない。ウエハステージが高速でステップ移動するステップ・アンド・リピート型の露光装置におけるウエハステージとしても有効である。
本実施形態によれば、露光装置に本レチクルスキャンステージを適用した場合、上述のように露光中およびアライメント中の熱外乱による天板5の温度変動を小さくすることができるので、オーバレイ精度の向上を図ることができる。また、ステージ天板5への冷媒用の配管等が不要であるため、露光処理時に配管等によってステージ天板5に作用する振動外乱、たとえば多相リニアモータの切替え時に発生するコギング、実装外乱等を極小化し、振動による精度劣化を抑えることができる。したがって、オーバレイ精度、線幅精度等の向上を図ることができる。また、ステージ天板5の速度および加速度を増加させ、スループットの向上を図ることができる。
図3は第2の実施形態に係るレチクルスキャンステージにおけるステージガイドの裏面を示す。ステージガイド25の中央にはレチクルを照射する露光光が通過する開口36が設けられている。また、長手方向の両サイドに沿って冷却路37−1〜37−4および温度センサ38−1〜38−4が設けられている。冷却路37−1〜37−4には別個に冷媒を循環させ、各冷媒の温度を、温度センサ38−1〜38−4からの検出信号に基づき、図示していない温度制御ユニットによりそれぞれ独立に制御できるようになっている。他の構成は第1実施形態の場合と同様である。
この構成において、本レチクルスキャンステージが適用された露光装置における露光時およびアライメント時には、冷却路37−1〜37−4が設けられたステージガイド35の各温調部分の温度は、対応する温度センサ38−1〜38−4からの検出信号に基づいて、温度制御ユニットにより別個に制御される。したがって、ステージガイド35において局所的な温度分布が発生した場合には、その温度分布に応じて、各温調部分についての独立した温度制御がなされることになる。
この例では4つの冷却路および温度センサが設けられているが、さらに多くのユニットを設けることによって、より局所的な温度制御が可能となる。また、あらかじめステージの駆動デューティに応じたステージガイド35の温度分布を求めておき、フィードフォワード的に各温調部分の温度を個別的に制御することにより、時定数の短い迅速な温度制御が可能となる。
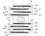
図4は、第3の実施形態に係るレチクルスキャンステージにおけるステージガイドの裏面を示す。ステージガイド25の裏面には複数のヒートパイプ30−1〜30−8、および温度センサ31−1〜31−8が設けられている。ステージガイド25の外部には冷却マニホールド32−1〜32−8が設けられており、それぞれヒートパイプ30−1〜30−8に繋げられている。冷却マニホールド32−1〜32−8には、それぞれ不図示の冷却路が接続されており、冷却マニホールド32−1〜32−8からは、各冷却路を経て装置外へ排熱し得るように構成されている。各冷却路を循環する冷媒の温度は、温度センサ31−1〜31−8からの検出信号に基づき、図示していない温度制御ユニットによって制御されるようになっている。
露光時およびアライメント時には、ステージガイド25の熱はヒートパイプ30−1〜30−8により、ステージガイド25の外部へ排出され、さらに冷却マニホールド32−1〜32−8を介し、冷却路を経て、装置外へ排出される。これにより、ステージガイド25の温度上昇が防止される。その際、冷却マニホールド32−1〜32−8に流す冷媒の温度を個別に制御することにより、ヒートパイプ30−1〜30−8の冷却効率を個別に制御して、ステージガイド25の局所的な温度分布を無くすることも可能である。
図5は第4の実施形態に係る露光装置の側面図である。この露光装置は、上述のいずれかの実施形態に係るレチクルスキャンステージと同様のステージ装置をウエハステージとして搭載した走査型露光装置である。この露光装置は、レチクルステージを構成するレチクルステージ定盤42およびレチクルステージ天板43、ウエハステージを構成するウエハステージ定盤46およびウエハステージ天板44、床または基盤40上にダンパ41を介して支持されている鏡筒定盤39、レチクルステージとウエハステージとの間に位置する投影光学系45、露光光を照射する照明光学系47を備える。レチクル定盤42および投影光学系45は鏡筒定盤39によって支持される。ウエハステージ定盤46は、床または基盤40上で支持されている。
ウエハステージは、その上に載置されるウエハの位置決めを行う。レチクルステージは回路パターンが形成されたレチクルを搭載して移動可能である。照明光学系47から射出される露光光はレチクルステージ上に搭載されたレチクルのパターンによりウエハステージ上のウエハへの露光を行う。
かかる露光処理に際し、レチクルとウエハとが露光光によって同期して走査されるように、ウエハステージ天板44はレチクルステージ天板43と同期して走査移動される。レチクルステージ天板43とウエハステージ天板44の走査移動中、両者の位置はそれぞれ干渉計によって継続的に検出され、レチクルステージ天板43とウエハステージ天板44の駆動部にそれぞれフィードバックされる。これによって、両者の走査移動の開始位置を正確に同期させるとともに、定速走査領域における走査速度を高精度で制御することができる。投影光学系47に対して両者が走査移動している間に、ウエハ上にはレチクルパターンが露光され、回路パターンが転写される。露光光としては、フッ素エキシマレーザ、ArFエキシマレーザ、KrFエキシマレーザ等の紫外光が用いられる。
本実施形態によれば、前述の各実施形態の場合と同様に、ウエハステージ天板44の温度を制御することが可能であるため、露光中あるいはアライメント中の位置ずれの誤差要因を小さくすることができる。したがって、ウエハ上に形成される各層のパターンのオーバレイ精度を向上させることができる。
次に上記説明したステージ装置を適用した露光装置を利用した半導体デバイスの製造プロセスを説明する。図6は半導体デバイスの全体的な製造プロセスのフローを示す。ステップ1(回路設計)では半導体デバイスの回路設計を行う。ステップ2(マスク製作)では設計した回路パターンを形成したマスクを製作する。一方、ステップ3(ウエハ製造)ではシリコン等の材料を用いてウエハを製造する。ステップ4(ウエハプロセス)は前工程と呼ばれ、上記用意したマスクとウエハを用いて、リソグラフィ技術によってウエハ上に実際の回路を形成する。次のステップ5(組み立て)は後工程と呼ばれ、ステップ4によって作製されたウエハを用いて半導体チップ化する工程であり、アッセンブリ工程(ダイシング、ボンディング)、パッケージング工程(チップ封入)等の組立て工程を含む。ステップ6(検査)ではステップ5で作製された半導体デバイスの動作確認テスト、耐久性テスト等の検査を行う。こうした工程を経て半導体デバイスが完成し、これを出荷(ステップ7)する。前工程と後工程はそれぞれ専用の別の工場で行い、これらの工場毎に遠隔保守システムによって保守がなされる。また前工程工場と後工程工場との間でも、インターネットまたは専用線ネットワークを介して生産管理や装置保守のための情報がデータ通信される。
図7は上記ウエハプロセスの詳細なフローを示す。ステップ11(酸化)ではウエハの表面を酸化させる。ステップ12(CVD)ではウエハ表面に絶縁膜を成膜する。ステップ13(電極形成)ではウエハ上に電極を蒸着によって形成する。ステップ14(イオン打込み)ではウエハにイオンを打ち込む。ステップ15(レジスト処理)ではウエハに感光剤を塗布する。ステップ16(露光)では上記説明した露光装置によってマスクの回路パターンをウエハに焼付露光する。ステップ17(現像)では露光したウエハを現像する。ステップ18(エッチング)では現像したレジスト像以外の部分を削り取る。ステップ19(レジスト剥離)ではエッチングが済んで不要となったレジストを取り除く。これらのステップを繰り返し行うことによって、ウエハ上に多重に回路パターンを形成する。各工程で使用する製造機器は遠隔保守システムによって保守がなされているので、トラブルを未然に防ぐと共に、もしトラブルが発生しても迅速な復旧が可能で、従来に比べて半導体デバイスの生産性を向上させることができる。
本発明の第1の実施形態に係るレチクルスキャンステージの平面図である。 図1のレチクルスキャンステージの正面図である。 本発明の第2の実施形態に係るレチクルスキャンステージにおけるステージガイドの裏面を示す図である。 本発明の第3の実施形態に係るレチクルスキャンステージにおけるステージガイドの裏面を示す図である。 本発明の第4の実施形態に係る露光装置の側面図である。 デバイスの製造プロセスのフローチャートである。 図6におけるウエハプロセスのフローチャートである。
符号の説明
1a,1b:固定子、2a,2b:可動子、4:基準構造体、5:天板、6:平面ガイド面、10:可動部Yマグネット、11:可動部Xマグネット、12:X軸リニアモータ単相コイル、13:Y軸リニアモータ多相コイル、14a,4b:Y軸位置制御用リニアモータ、15:X軸位置制御用リニアモータ、16:レーザヘッド、17a,17b:Y軸計測用ミラー、18:X軸計測用バーミラー、19a,19b:Y軸計測用干渉計、20a,20b:X軸計測用干渉計、21a,21b:固定子Y軸計測用干渉計、22a,22b:光学素子、23:レチクル、24:エアベアリング、25:ステージガイド、26:支持スペーサ、27:冷却路、28a,28b:温度センサ、30−1〜30−8:ヒートパイプ、31−1〜31−8:温度センサ、32−1〜32−8:冷却マニホールド、36:露光光通過用開口、39:鏡筒定盤、40:床・基盤、41:ダンパ、42:レチクルステージ定盤、43:レチクルステージ天板、44:ウエハステージ天板、45:投影光学系、46:ステージ定盤、47:照明光学系。

Claims (11)

  1. 対象物を保持して移動するステージ可動部と、前記ステージ可動部に設けられた軸受手段と、前記軸受手段と協働して前記ステージ可動部を移動方向に案内するガイド面を有するステージガイド部と、前記ステージ可動部の温度を制御するために前記ステージガイド部の温度を調整する温度調整手段とを具備することを特徴とするステージ装置。
  2. 前記温度調整手段は、前記ステージガイド部を冷却することにより前記温度の調整を行うものであることを特徴とする請求項1に記載のステージ装置。
  3. 前記温度調整手段は、前記ステージガイド部に設けた冷媒を通す流路および温度センサ、ならびに前記温度センサからの検出信号に基づき前記冷媒の温度を制御する温度制御ユニットを有することを特徴とする請求項1または2に記載のステージ装置。
  4. 前記温度調整手段は、前記ステージガイド部に設けたヒートパイプおよび温度センサ、前記ヒートパイプに接続された冷媒を通す流路、ならびに前記温度センサの出力に基づき前記冷媒の温度を制御する温度制御ユニットを有することを特徴とする請求項1または2に記載のステージ装置。
  5. 前記温度調整手段は、前記ステージガイド部の異なる複数の部分を別個に温度調整するものであることを特徴とする請求項1〜4のいずれか1項に記載のステージ装置。
  6. 前記温度調整手段は、前記ステージ可動部の駆動パターンに応じて前記ステージガイド部の異なる各部分を別個に温度調整するものであることを特徴とする請求項5に記載のステージ装置。
  7. 前記温度調整手段は、前記ステージ可動部に設けた温度センサを備え、その検出信号に基づいて前記温度の調整を行うものであることを特徴とする請求項1〜6のいずれか1項に記載のステージ装置。
  8. 前記軸受手段はエアベアリングであり、前記ステージガイド部はステージ定盤であり、前記温度調整手段は前記ステージ定盤の温度を調整することにより、前記エアベアリングのエアギャップを経た熱の移動を制御して、前記ステージ可動部の温度制御を行うものであることを特徴とする請求項1〜7のいずれか1項に記載のステージ装置。
  9. 前記軸受手段は磁気軸受であり、前記ステージガイド部はステージ定盤であり、前記温度調整手段は前記ステージ定盤の温度を調整することにより、前記磁気軸受のギャップを経た熱の移動を制御して、前記ステージ可動部の温度制御を行うものであることを特徴とする請求項1〜7のいずれか1項に記載のステージ装置。
  10. 前記ステージ可動部の移動を行うリニアモータを備え、前記リニアモータの固定子は前記ステージガイド部を支持する構造体上、または前記ステージガイド部上に設けられており、前記ステージ装置は露光装置における原版または基板の位置決めに使用されるものであることを特徴とする請求項1〜9のいずれか1項に記載のステージ装置。
  11. 請求項1〜9のいずれかに記載のステージ装置を用いてデバイスを製造することを特徴とするデバイス製造方法。
JP2003343229A 2003-10-01 2003-10-01 ステージ装置、露光装置およびデバイス製造方法 Expired - Fee Related JP4510419B2 (ja)

Priority Applications (1)

Application Number Priority Date Filing Date Title
JP2003343229A JP4510419B2 (ja) 2003-10-01 2003-10-01 ステージ装置、露光装置およびデバイス製造方法

Applications Claiming Priority (1)

Application Number Priority Date Filing Date Title
JP2003343229A JP4510419B2 (ja) 2003-10-01 2003-10-01 ステージ装置、露光装置およびデバイス製造方法

Publications (3)

Publication Number Publication Date
JP2005109331A true JP2005109331A (ja) 2005-04-21
JP2005109331A5 JP2005109331A5 (ja) 2006-11-16
JP4510419B2 JP4510419B2 (ja) 2010-07-21

Family

ID=34537271

Family Applications (1)

Application Number Title Priority Date Filing Date
JP2003343229A Expired - Fee Related JP4510419B2 (ja) 2003-10-01 2003-10-01 ステージ装置、露光装置およびデバイス製造方法

Country Status (1)

Country Link
JP (1) JP4510419B2 (ja)

Cited By (3)

* Cited by examiner, † Cited by third party
Publication number Priority date Publication date Assignee Title
JP2006351740A (ja) * 2005-06-15 2006-12-28 Sumitomo Heavy Ind Ltd 温調機能付きステージ
JP2012032666A (ja) * 2010-07-30 2012-02-16 Hitachi High-Technologies Corp 露光装置、露光方法、及び表示用パネル基板の製造方法
KR20200121728A (ko) * 2019-04-16 2020-10-26 캐논 가부시끼가이샤 기판 처리장치 및 물품의 제조 방법

Citations (7)

* Cited by examiner, † Cited by third party
Publication number Priority date Publication date Assignee Title
JPH01195389A (ja) * 1988-01-29 1989-08-07 Canon Inc 精密移動テーブル
JPH05203773A (ja) * 1991-07-09 1993-08-10 Nikon Corp ステ−ジ装置の調整方法、およびステ−ジ装置
JPH10127035A (ja) * 1996-10-16 1998-05-15 Canon Inc リニアモータおよびこれを用いたステージ装置ならびに露光装置
JP2000032733A (ja) * 1998-07-09 2000-01-28 Nikon Corp 平面モータ装置及び露光装置
WO2000036734A1 (en) * 1998-12-16 2000-06-22 Nikon Corporation Flat motor device and assembly method thereof, flat motor device driving method, stage device and driving method thereof, exposure system and exposure method, and device and production method thereof
JP2002118050A (ja) * 2000-10-10 2002-04-19 Canon Inc ステージ装置、露光装置、半導体デバイス製造方法、半導体製造工場、および露光装置の保守方法
JP2002217082A (ja) * 2001-01-12 2002-08-02 Nikon Corp ステージ装置及び露光装置

Patent Citations (7)

* Cited by examiner, † Cited by third party
Publication number Priority date Publication date Assignee Title
JPH01195389A (ja) * 1988-01-29 1989-08-07 Canon Inc 精密移動テーブル
JPH05203773A (ja) * 1991-07-09 1993-08-10 Nikon Corp ステ−ジ装置の調整方法、およびステ−ジ装置
JPH10127035A (ja) * 1996-10-16 1998-05-15 Canon Inc リニアモータおよびこれを用いたステージ装置ならびに露光装置
JP2000032733A (ja) * 1998-07-09 2000-01-28 Nikon Corp 平面モータ装置及び露光装置
WO2000036734A1 (en) * 1998-12-16 2000-06-22 Nikon Corporation Flat motor device and assembly method thereof, flat motor device driving method, stage device and driving method thereof, exposure system and exposure method, and device and production method thereof
JP2002118050A (ja) * 2000-10-10 2002-04-19 Canon Inc ステージ装置、露光装置、半導体デバイス製造方法、半導体製造工場、および露光装置の保守方法
JP2002217082A (ja) * 2001-01-12 2002-08-02 Nikon Corp ステージ装置及び露光装置

Cited By (4)

* Cited by examiner, † Cited by third party
Publication number Priority date Publication date Assignee Title
JP2006351740A (ja) * 2005-06-15 2006-12-28 Sumitomo Heavy Ind Ltd 温調機能付きステージ
JP2012032666A (ja) * 2010-07-30 2012-02-16 Hitachi High-Technologies Corp 露光装置、露光方法、及び表示用パネル基板の製造方法
KR20200121728A (ko) * 2019-04-16 2020-10-26 캐논 가부시끼가이샤 기판 처리장치 및 물품의 제조 방법
KR102797213B1 (ko) 2019-04-16 2025-04-18 캐논 가부시끼가이샤 기판 처리장치 및 물품의 제조 방법

Also Published As

Publication number Publication date
JP4510419B2 (ja) 2010-07-21

Similar Documents

Publication Publication Date Title
US6226073B1 (en) Stage system with driving mechanism, and exposure apparatus having the same
US6570645B2 (en) Stage system and stage driving method for use in exposure apparatus
JP4586367B2 (ja) ステージ装置及び露光装置
US6555936B1 (en) Flatmotor device and exposure device
JP4857505B2 (ja) 電気的制御系と空気圧制御系とを有する振動分離システムを動作させる方法及び装置
US20020080339A1 (en) Stage apparatus, vibration control method and exposure apparatus
JP5505871B2 (ja) 移動体装置及び露光装置
US7656062B2 (en) Split coil linear motor for z force
JP2005046941A (ja) ケーブル微動ユニット付きステージ装置
US7586218B2 (en) Moving apparatus, exposure apparatus, and device manufacturing method
JP4314555B2 (ja) リニアモータ装置、ステージ装置、及び露光装置
JP2006287014A (ja) 位置決め装置およびリニアモータ
US20040080727A1 (en) EUV exposure apparatus with cooling device to prevent overheat of electromagnetic motor in vacuum
US7053982B2 (en) Alignment apparatus and exposure apparatus
JP4510419B2 (ja) ステージ装置、露光装置およびデバイス製造方法
JP2005295762A (ja) ステージ装置および露光装置
JP2002198285A (ja) ステージ装置およびその制振方法並びに露光装置
JP4122815B2 (ja) リニアモータおよびステージ装置並びにリニアモータの制御方法
JP2004180361A (ja) リニアモータ及びリニアモータ製造方法及びステージ装置並びに露光装置
JP4614386B2 (ja) 位置決め装置、露光装置およびそれを用いたデバイス製造方法
JP2002198286A (ja) 露光装置
JP2006156554A (ja) ステージ装置およびそれを用いた露光装置、デバイス製造方法
JP2003299339A (ja) リニアモータおよびステージ装置並びに露光装置
JP2000348932A (ja) ステージ装置及び露光装置
JP2004335677A (ja) 平面モータ装置

Legal Events

Date Code Title Description
A521 Written amendment

Free format text: JAPANESE INTERMEDIATE CODE: A523

Effective date: 20061002

A621 Written request for application examination

Free format text: JAPANESE INTERMEDIATE CODE: A621

Effective date: 20061002

A977 Report on retrieval

Free format text: JAPANESE INTERMEDIATE CODE: A971007

Effective date: 20090126

A131 Notification of reasons for refusal

Free format text: JAPANESE INTERMEDIATE CODE: A131

Effective date: 20090204

A521 Written amendment

Free format text: JAPANESE INTERMEDIATE CODE: A523

Effective date: 20090327

RD02 Notification of acceptance of power of attorney

Free format text: JAPANESE INTERMEDIATE CODE: A7422

Effective date: 20090330

RD01 Notification of change of attorney

Free format text: JAPANESE INTERMEDIATE CODE: A7421

Effective date: 20090406

A521 Written amendment

Free format text: JAPANESE INTERMEDIATE CODE: A523

Effective date: 20090423

A131 Notification of reasons for refusal

Free format text: JAPANESE INTERMEDIATE CODE: A131

Effective date: 20090825

A521 Written amendment

Free format text: JAPANESE INTERMEDIATE CODE: A523

Effective date: 20091022

RD04 Notification of resignation of power of attorney

Free format text: JAPANESE INTERMEDIATE CODE: A7424

Effective date: 20100201

TRDD Decision of grant or rejection written
A01 Written decision to grant a patent or to grant a registration (utility model)

Free format text: JAPANESE INTERMEDIATE CODE: A01

Effective date: 20100427

A01 Written decision to grant a patent or to grant a registration (utility model)

Free format text: JAPANESE INTERMEDIATE CODE: A01

A61 First payment of annual fees (during grant procedure)

Free format text: JAPANESE INTERMEDIATE CODE: A61

Effective date: 20100430

FPAY Renewal fee payment (event date is renewal date of database)

Free format text: PAYMENT UNTIL: 20130514

Year of fee payment: 3

R150 Certificate of patent or registration of utility model

Ref document number: 4510419

Country of ref document: JP

Free format text: JAPANESE INTERMEDIATE CODE: R150

Free format text: JAPANESE INTERMEDIATE CODE: R150

FPAY Renewal fee payment (event date is renewal date of database)

Free format text: PAYMENT UNTIL: 20140514

Year of fee payment: 4

LAPS Cancellation because of no payment of annual fees