JP2005106979A - 電気光学装置の製造方法、電気光学装置、及び電子機器 - Google Patents

電気光学装置の製造方法、電気光学装置、及び電子機器 Download PDF

Info

Publication number
JP2005106979A
JP2005106979A JP2003337822A JP2003337822A JP2005106979A JP 2005106979 A JP2005106979 A JP 2005106979A JP 2003337822 A JP2003337822 A JP 2003337822A JP 2003337822 A JP2003337822 A JP 2003337822A JP 2005106979 A JP2005106979 A JP 2005106979A
Authority
JP
Japan
Prior art keywords
substrate
electro
liquid crystal
manufacturing
optical device
Prior art date
Legal status (The legal status is an assumption and is not a legal conclusion. Google has not performed a legal analysis and makes no representation as to the accuracy of the status listed.)
Granted
Application number
JP2003337822A
Other languages
English (en)
Other versions
JP4289105B2 (ja
Inventor
Takahito Harada
考人 原田
Motohiro Uejima
基弘 上島
Hidetoshi Murai
秀年 村井
Yoichi Momose
洋一 百瀬
Current Assignee (The listed assignees may be inaccurate. Google has not performed a legal analysis and makes no representation or warranty as to the accuracy of the list.)
Seiko Epson Corp
Original Assignee
Seiko Epson Corp
Priority date (The priority date is an assumption and is not a legal conclusion. Google has not performed a legal analysis and makes no representation as to the accuracy of the date listed.)
Filing date
Publication date
Application filed by Seiko Epson Corp filed Critical Seiko Epson Corp
Priority to JP2003337822A priority Critical patent/JP4289105B2/ja
Publication of JP2005106979A publication Critical patent/JP2005106979A/ja
Application granted granted Critical
Publication of JP4289105B2 publication Critical patent/JP4289105B2/ja
Anticipated expiration legal-status Critical
Expired - Fee Related legal-status Critical Current

Links

Images

Landscapes

  • Liquid Crystal (AREA)

Abstract

【課題】 基板上に塗布された液状体の濡れ広がり速度を容易に制御することが可能な電気光学装置の製造方法を提供する。
【解決手段】 本発明の電気光学装置の製造方法は、支持基板(第1の基板)10の封止面10aに前記液晶(電気光学物質)50を配置する工程(b)と、前記支持基板10の封止面10aを下側に向け、当該支持基板10の下方に配置した対向基板(第2の基板)20と貼り合わせる工程(c)とを有する。
【選択図】 図11

Description

本発明は、電気光学装置の製造方法、電気光学装置、及び電子機器に関するものである。
携帯電話等の電子機器におけるカラー画像表示部には、液晶装置等の電気光学装置が使用されている。液晶装置は、一対の透明基板の間に液晶層が挟持されて構成されている。この液晶装置を形成するには、まず一方の基板の表面周縁部にシール材を塗布する。その際、シール材の一部に液晶の注入口を形成しておく。次に、シール材の内側にスペーサを散布し、シール材を介して他方の基板を貼り合わせる。これにより、一対の基板とシール材とによって囲まれた領域に液晶セルが形成される。次に、真空中で液晶セル内を脱気し、液晶注入口を液晶槽内に浸漬した状態で、全体を大気圧下に戻す。すると、液晶セルと外部との圧力差および表面張力によって、液晶セル内に液晶が充填される。しかしながら、上述した方法で液晶を充填した場合には、充填時間が非常に長くなる。特に、対角1m以上の大型の基板を使用する場合には、液晶の充填に1日以上を要することになる。
そこで、上記液晶注入口を有しない枠状のシール材を設けた基板上に液晶を滴下し、基板の貼り合わせを行う滴下組立法が提案されている(たとえば、特許文献1参照。)。この方法は、まず一方の基板の表面周縁部に、熱硬化性樹脂等からなるシール材を塗布する。次に、そのシール材の内側に、液滴吐出装置により所定量の液晶を滴下する。最後に、シール材を介して他方の基板を貼り合わせ、液晶装置を形成するというものである。
特開昭63−179323号公報
上述した滴下組立法では、基板上に塗布された液晶が濡れ広がってシール材に到達する以前に基板を貼り合わせることとしているが、この液晶の拡散制御は困難性が高く、塗布された液晶の粘度が低く濡れ広がり速度が速い場合には、濡れ広がった液晶が硬化前のシール材と接触して、液晶に異物が混入し、この異物の混入により、液晶の配向機能が低下して表示ムラが発生する可能性が高くなる。また、高精度の貼り合わせを極めて高速に行える基板貼り合わせ装置が必要となり、設備コストにおいても不利なものとなる。さらには、携帯機器等に用いる小型の液晶装置の製造に適用する場合には、滴下した液晶とシール材との距離が短く、上記拡散制御を正常に行うことが困難になる。
本発明は、上記課題を解決するためになされたものであり、基板上に塗布された液状体の濡れ広がり速度を容易に制御することが可能な電気光学装置の製造方法を提供することを目的としている。また、表示品質に優れた電気光学装置、電子機器を提供することを目的としている。
本発明は、上記課題を解決するために、シール材を介して対向配置された第1の基板及び第2の基板が電気光学物質を挟持してなる電気光学装置の製造方法であって、前記第1の基板に前記電気光学物質を配置する工程と、前記電気光学物質が配置された面を下側に向けて前記第1の基板を支持し、前記第1の基板の下方に配置した前記第2の基板と貼り合わせる貼り合わせ工程とを含むことを特徴とする電気光学装置の製造方法を提供する。
この製造方法によれば、第1の基板の基板面に電気光学物質を配置した後、この第1の基板の上下面を反転させ、前記基板面にて電気光学物質を下方支持するので、上記基板面に配置された電気光学物質が面上で濡れ広がるのを防ぐことができる。これにより、基板貼り合わせ前に前記シール材と電気光学物質とが接触しなくなり、電気光学物質への異物の混入を低減でき、良好な電気光学特性を有する電気光学装置を製造することができる。また、電気光学物質を下側に向けた状態に前記第1の基板を保持するので、雰囲気から電気光学物質への異物の堆積を防止できるという利点もある。
本発明の電気光学装置の製造方法では、前記電気光学物質を配置する工程の前に、前記シール材を前記第1の基板に設ける工程を含むこともできる。
前記第1の基板にシール材を設けるならば、当該工程を第1の基板上に電気光学物質を配置する工程と同時に行うことで、製造効率を高めることが可能になる。
本発明の電気光学装置の製造方法では、前記貼り合わせ工程は、前記電気光学物質が前記シール材に接触する前に、前記第1の基板の前記電気光学物質が配置された面が下側を向くように、前記第1の基板を反転することが好ましい。すなわち、シール材と電気光学物質とを同一の基板上に設ける場合、両者の基板面への配置後、速やかに基板を反転させ、電気光学物質の分散を抑制することが好ましい。
本発明の電気光学装置の製造方法では、前記電気光学物質を配置する工程の前に、前記シール材を前記第2の基板に設ける工程を含むこともできる。
すなわち、本製造方法において、前記シール材は、電気光学物質を配置される第1の基板、あるいは対向側の第2の基板のいずれに形成しても良い。このように第2の基板にシール材を設けるならば、シール材と電気光学物質との接触をより確実に防止でき、電気光学物質への異物の混入を防止して良好な電気光学特性を容易に得ることが可能である。
本発明の電気光学装置の製造方法では、前記貼り合わせ工程は、前記電気光学物質が前記第1の基板の前記シール材が貼り付けられる領域に接触する前に、前記第1の基板の前記電気光学物質が配置された面が下側を向くように、前記第1の基板を反転することが好ましい。すなわち、シール材を第2の基板に設ける場合にも、第1の基板とシール材との接着性を確保するために、前記第1の基板を反転することで、前記両者の接着領域に電気光学物質が広がるのを防止しておくことが好ましい。
本発明の電気光学装置の製造方法では、前記貼り合わせ工程は、前記第1の基板をその長辺と平行な軸周りに反転することが好ましい。この製造方法によれば、前記第1の基板の上下面を反転するに際して、当該第1の基板の転回半径を小さくできるため、基板上に配置した電気光学物質が転回時に移動し難くなる。これにより、先の効果をより確実に得られるようになる。本製造方法は、特に第1の基板上に配置した電気光学物質の粘度が低い場合に用いて好適な製造方法である。
本発明の電気光学装置の製造方法では、前記貼り合わせ工程は、前記第1の基板をその短辺と平行な軸周りに反転することもできる。
本発明の電気光学装置の製造方法では、前記第1の基板の回転軸が、該第1の基板の面中心を通る軸であることが好ましい。この製造方法によれば、前記第1の基板の反転動作に際して、基板の回転半径を小さくでき、反転動作により基板上の電気光学物質が移動するのを防止することができる。
本発明の電気光学装置の製造方法では、前記第1の基板が、当該電気光学装置の画素を駆動制御するスイッチング素子を備えた基板であることが好ましい。
電気光学物質を基板上に配置した後に基板の貼り合わせを行う場合、基板間隔を保持するためのスペーサとして、一方の基板上に定置できる固着型スペーサやフォトリソグラフィ技術を用いたフォトスペーサを用いることが好ましい。そして、これらの固着型スペーサやフォトスペーサは、加熱工程や露光、現像工程が必要となるため、基板上の構成部材の熱による損傷防止、あるいは工程の連続性確保という点から、スイッチング素子が形成された基板側に設けられるのが通常である。本製造方法では、スイッチング素子が設けられた第1の基板に電気光学物質を配置するので、この第1の基板上に設けられた上記固着スペーサやフォトスペーサによって上記電気光学物質の拡散が阻害され、より効果的に電気光学物質が濡れ広がるのを防止することが可能になる。
本発明の電気光学装置の製造方法では、液滴吐出法を用いて前記電気光学物質を前記第1の基板上に配置することが好ましい。
この製造方法によれば、電気光学物質の滴下に液滴吐出法を用いるので、滴下する電気光学物質の量を正確に調節することができる。そのため、第1の基板、第2の基板、及びシール材に封入される電気光学物質量を正確に調節することができ、ひいてはセルギャップを正確に制御することができる。特に、基板上に配置した電気光学物質の量が多すぎる場合には、シール材と基板との間に電気光学物質が浸入し、シール材の接着力が低下するおそれがあるが、本製造方法では電気光学物質量を適切に制御できるため、この不具合が生じるのを効果的に防止でき、高歩留まりにて電気光学装置を製造することができる。
本発明の電気光学装置の製造方法では、前記電気光学物質が液晶であって、前記対向基板上に、当該電気光学装置のドット領域内で液晶層厚を異ならせるための液晶層厚調整層を形成する工程を含むこともできる。
すなわち本発明は、マルチギャップ構造を備えた半透過反射型の電気光学装置(液晶装置)の製造にも好適に用いることができる。前記液晶層厚調整層が形成された基板では、液晶側に配置される基板面に数μmの段差が設けられているため、このような段差を有する基板上に液晶を配置すると、段差に沿って液晶が濡れ広がりやすくなり好ましくない。そこで本製造方法では、液晶層厚調整層を第2の基板に形成し、液晶を滴下する第1の基板には段差を形成しないようにすることで、液晶が濡れ広がるのを効果的に防止するようになっている。
次に、本発明の電気光学装置は、先に記載の本発明の製造方法により得られたことを特徴とする。この構成によれば、電気光学物質と封止材との接触時間を短くできる製造方法により製造されたことで、電気光学物質への異物の混入が防止され、もって優れた電気光学特性を得られる電気光学装置を提供することができる。
次に、本発明の電子機器は、先に記載の本発明の電気光学装置を備えたことを特徴とする。この構成によれば、表示品質に優れた表示部を備えた電子機器を安価に提供することができる。
以下、本発明の実施の形態を図面を参照して説明する。
(液晶装置)
まず、本発明に係る製造方法により得られる電気光学装置の一形態である液晶装置について説明する。
図1は、本発明に係る液晶装置について、各構成要素とともに示す対向基板側から見た平面図であり、図2は図1のH−H’線に沿う断面図である。図3は、液晶装置の画像表示領域においてマトリクス状に形成された複数の画素における各種素子、配線等の等価回路図で、図4は、液晶装置の部分拡大断面図である。なお、以下の説明に用いた各図においては、各層や各部材を図面上で認識可能な程度の大きさとするため、各層や各部材毎に縮尺を異ならせてある。
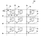
図1及び図2において、本実施の形態の液晶装置(電気光学装置)100は、対をなすTFTアレイ基板(第1の基板)10と対向基板(第2の基板)20とが光硬化性の封止材であるシール材52によって貼り合わされ、このシール材52によって区画された領域内に封入材としての液晶(電気光学物質)50が封入、保持されている。シール材52は、基板面内の領域において閉ざされた枠状に形成されてなり、液晶注入口を備えないものとなっている。
シール材52の形成領域の内側の領域には、遮光性材料からなる周辺見切り53が形成されている。シール材52の外側の領域には、データ線駆動回路201及び実装端子202がTFTアレイ基板10の一辺に沿って形成されており、この一辺に隣接する2辺に沿って走査線駆動回路204が形成されている。TFTアレイ基板10の残る一辺には、画像表示領域の両側に設けられた走査線駆動回路204の間を接続するための複数の配線205が設けられている。また、対向基板20のコーナー部の少なくとも1箇所においては、TFTアレイ基板10と対向基板20との間で電気的導通をとるための基板間導通材206が配設されている。
なお、データ線駆動回路201及び走査線駆動回路204をTFTアレイ基板10の上に形成する代わりに、例えば、駆動用LSIが実装されたTAB(Tape Automated Bonding)基板とTFTアレイ基板10の周辺部に形成された端子群とを異方性導電膜を介して電気的及び機械的に接続するようにしてもよい。なお、液晶装置100においては、使用する液晶50の種類、すなわち、TN(Twisted Nematic)モード、STN(Super Twisted Nematic)モード等の動作モードや、ノーマリホワイトモード/ノーマリブラックモードの別に応じて、位相差板、偏光板等が所定の向きに配置されるが、ここでは図示を省略する。
また、液晶装置100をカラー表示用として構成する場合には、対向基板20において、TFTアレイ基板10の後述する各画素電極に対向する領域に、例えば、赤(R)、緑(G)、青(B)のカラーフィルタをその保護膜とともに形成する。
このような構造を有する液晶装置100の画像表示領域においては、図3に示すように、複数の画素100aがマトリクス状に構成されているとともに、これらの画素100aの各々には、画素スイッチング用のTFT30が形成されており、画素信号S1、S2、…、Snを供給するデータ線6aがTFT30のソースに電気的に接続されている。データ線6aに書き込む画素信号S1、S2、…、Snは、この順に線順次で供給してもよく、相隣接する複数のデータ線6a同士に対して、グループ毎に供給するようにしてもよい。また、TFT30のゲートには走査線3aが電気的に接続されており、所定のタイミングで、走査線3aにパルス的に走査信号G1、G2、…、Gmをこの順に線順次で印加するように構成されている。
画素電極9は、TFT30のドレインに電気的に接続されており、スイッチング素子であるTFT30を一定期間だけオン状態とすることにより、データ線6aから供給される画素信号S1、S2、…、Snを各画素に所定のタイミングで書き込む。このようにして画素電極9を介して液晶に書き込まれた所定レベルの画素信号S1、S2、…、Snは、図2に示す対向基板20の対向電極21との間で一定期間保持される。なお、保持された画素信号S1、S2、…、Snがリークするのを防ぐために、画素電極9と対向電極21との間に形成される液晶容量と並列に蓄積容量60が付加されている。例えば、画素電極9の電圧は、ソース電圧が印加された時間よりも3桁も長い時間だけ蓄積容量60により保持される。これにより、電荷の保持特性は改善され、コントラスト比の高い液晶装置100を実現することができる。
図4は液晶装置100の部分拡大断面図であって、ガラス基板10’を主体として構成されるTFTアレイ基板10上には、ITO(インジウム錫酸化物)を主体とする透明電極にて構成された画素電極9がマトリクス状に形成されており(図3参照)、これら各画素電極9に対して画素スイッチング用のTFT30(図3参照)がそれぞれ電気的に接続されている。また、画素電極9が形成された領域の縦横の境界に沿って、データ線6a、走査線3aおよび容量線3bが形成され、TFT30がデータ線6aおよび走査線3aに対して接続されている。すなわち、データ線6aは、コンタクトホール8を介してTFT30の高濃度ソース領域1aに電気的に接続され、画素電極9は、コンタクトホール15及びドレイン電極6bを介してTFT30の高濃度ドレイン領域に電気的に接続されている。なお、画素電極9の表層にはポリイミド主体として構成される膜に対してラビング処理を行った配向膜12が形成されている。
一方、対向基板20においては、対向基板側のガラス基板20’上であって、TFTアレイ基板10上の画素電極9の縦横の境界領域と対向する領域に、ブラックマトリクスまたはブラックストライプと称せられる遮光膜23が形成され、その上層側にはITO膜からなる対向電極21が形成されている。また、対向電極21の上層側には、ポリイミド膜からなる配向膜22が形成されている。そして、TFTアレイ基板10と対向基板20との間には、液晶50がシール材52(図1参照)により基板内に封入されている。
(液晶装置の製造方法)
<デバイス製造装置>
次に、液晶装置100の製造の中、シール材の形成から、液晶滴下、基板貼合わせ、シール材硬化に至る工程を行うデバイス製造装置について説明する。
図5は、デバイス製造装置61の概略構成図である。
デバイス製造装置61は、図5に示すように、基板の給材及び除材を行う基板給除部62と材料供給部63と基板貼り合わせ部64と精密アライメント部164とを主体に構成されている。
図6は、基板給除部62および材料供給部63の概略構成図である。なお、以下の説明では、基板の表面に沿う方向をX方向(例えば図6中、左右方向)及びY方向(例えば図6中、紙面と垂直な方向)とし、XY平面と直交する方向をZ方向として説明する。
材料供給部63は、図6に示すように、基板を保持してX方向、Y方向及びθ方向(Z軸と平行な軸周りの回転方向)に移動自在なテーブル65と、テーブル65の上方に配設され液晶材料(電気光学物質)を吐出、滴下する液滴吐出ヘッド66と、液滴吐出ヘッド66の近傍に配設されシール材を塗布するシール材塗布部67とを主体に構成されている。
シール材塗布部67から塗布されるシール材には、略球形状のギャップ制御材が含まれており、ギャップ制御材の直径は基板のセルギャップとほぼ同じ寸法(例えば直径3μm)に形成されている。
なお、液晶材料を滴下させるのに液滴吐出ヘッド66の他に、精密薬液吐出機(計量型ディスペンサ)など、滴下する液晶材料量を制御できるものであればどのような装置を用いてもよい。また、ギャップ制御材は略球形状に形成され、シール材に含まれるものに限られることなく、繊維形状に形成されシール材に含まれるものや、シール材に含まれず基板から柱状に突出して形成されたもの等さまざまなものを使用することができるが、基板の所定位置に固定され、基板の貼り合わせ時等において基板上を移動しないものを用いることが好ましい。
また、基板給除部62は、材料供給部63と基板貼り合わせ部64との間、および基板貼り合わせ部64と精密アライメント部164との間で基板を搬送するキャリアを主な構成要素としており、本実施形態の場合、基板を表裏自在に支持して搬送可能な搬送ロボット62Rを備えている。すなわち、図6に示すように、搬送ロボット62Rはロボットハンド62hを備えており、このロボットハンド62hを用いて封止面10aを上側に向けてテーブル65上に載置されている支持基板10を受け取り、その上下面を反転させ、封止面10aが下側に向いた状態で支持基板10を支持できるようになっている。
なお、また基板給除部62は、図6に示した構成の他に、材料供給部63と基板貼り合わせ部64と精密アライメント部164とを接続する搬送機能を有したユニットを含んで構成されていてもよい。
図7は、基板貼り合わせ部64の概略構成図である。
基板貼り合わせ部64は、図7に示すように、基板を保持してX方向、Y方向及びθ方向に移動自在なテーブル68と、テーブル68上に設置された下チャック部69と、下チャック部69の上方に配置された真空チャンバ70と、真空チャンバ70内に下チャック部69と対向配置された上チャック部71と、上チャック部71をZ方向に移動自在に支持し、且つ下チャック部69に向けて加圧する下降機構72とを備えて構成されている。
真空チャンバ70の壁面には、覗き窓70aと排気部76とが配設されている。覗き窓70aの上方には、覗き窓70aを介して基板上のアライメントマークを拡大、観測する貼り合わせ用顕微鏡74と、拡大観測されたアライメントマークの画像を取り込むCCDカメラ81とを備えた光学測定手段が設けられている。排気部76には、収容空間70b内の気体を排気(真空引き)するための真空ポンプ等を備えた吸引装置(排気手段)78が接続されている。
また、真空チャンバ70には、UV照射ユニット82が備えられている。UV照射ユニット82には、シール材52を仮硬化させるための紫外線を放射する水銀ランプ等のUVランプが備えられ、必要に応じて、ファイバなどの導光手段が備えられる。
なお、UV照射ユニット82は、シール材52の粘度を高める程度のエネルギーを供給できればよい。また、シール材52にエネルギーを与える手段は、UVランプに限られることなく、加熱・冷却装置や、可視光照射装置など、シール材52の性質によりさまざまな装置を用いることができる。
さらに、基板貼り合わせ部64には、CCDカメラ81により取り込まれた画像を処理する画像処理部83と、画像処理部83により処理された画像情報に基づいてテーブル68と下降機構72とを制御する制御部84が設けられている。
また、下チャック部69及び上チャック部71には、互いに対向する保持面69a、71aでそれぞれ基板を保持するための保持機構(図示せず)が備えられている。
なお下チャック部69及び上チャック部71には、静電気力や粘着力を用いたチャック機構、または機械的に基板を保持する機械的保持機構など、略真空雰囲気においても基板を保持できる機構であればどのような機構が備えられていてもよい。
例えば、基板に石英ガラスを用いた場合、静電気力による保持方法を用いると保持力が弱く、基板の相対位置を十分な精度で調整することができない。その一方、接着力、分子間力、真空力、機械式保持等の保持方法であれば、石英ガラスでも十分な保持力を発揮することができるため、下チャック部69及び上チャック部71の保持機構に用いて好適である。
図8は、精密アライメント部164の概略構成図である。
精密アライメント部164は、基板を保持してX方向、Y方向及びθ方向に移動自在なテーブル168と、テーブル168上に設置された下チャック部169と、下チャック部169と対向配置された上チャック部171と、上チャック部171をZ方向に移動自在に支持し、且つ下チャック部169に向けて加圧する加圧機構172と、基板上のアライメントマークを拡大、観測するアライメント用顕微鏡174と、シール材52を硬化させる紫外線を照射する水銀ランプ等のUVランプ182とから概略構成されている。アライメント用顕微鏡174は、拡大観測されたアライメントマークの画像を取り込むCCDカメラ181とともに本装置の光学測定手段を構成している。
さらに、精密アライメント部164には、CCDカメラ181により取り込まれた画像を処理する画像処理部183と、画像処理部183により処理された画像情報に基づいてテーブル168を制御する制御部184が設けられている。
下チャック部169及び上チャック部171には、互いに対向する保持面169a、171aでそれぞれ基板を真空吸着するための吸着機構(図示せず)が備えられている。
なお下チャック部169及び上チャック部171には、静電気力や粘着力を用いたチャック機構、または機械的に基板を保持する機械的保持機構など、貼り合わされた基板をX軸、Y軸方向に動かすのに十分な保持力を発揮できる機構であれば、どのような機構が備えられていてもよい。
また、精密アライメント部164には、上チャック部171を下チャック部169に向けて加圧する加圧機構172が設けられていなくてもよい。
また、UVランプ182は、シール材52を硬化させることができればよく、UVランプ182の他に、例えば加熱・冷却装置や、可視光照射装置など、シール材52の性質によりさまざまな装置を用いることができる。
図6に示した液滴吐出ヘッド66としては、例えば図9に示す構成の液滴吐出ヘッドを用いることができる。液滴吐出ヘッド66のヘッド本体90には、リザーバ95および複数のインク室(圧力発生室)93が形成されている。リザーバ95は、各インク室93に液晶等の電気光学物質を含むインクを供給するための流路になっている。また、ヘッド本体90の一方端面には、インク吐出面66Pを構成するノズルプレートが装着されている。そのノズルプレートには、各インク室93に対応して、インクを吐出する複数のノズル91が開口されている。そして、各インク室93から対応するノズル91に向かって流路が形成されている。一方、ヘッド本体90の他方端面には振動板94が装着されている。
この振動板94はインク室93の壁面を構成している。その振動板94の外側には、各インク室93に対応して、ピエゾ素子(圧力発生手段)92が設けられている。ピエゾ素子92は、水晶等の圧電材料を一対の電極(図示せず)で挟持したものである。
図10は、ピエゾ素子の駆動電圧波形W1と、その駆動電圧に対応した液滴吐出ヘッド66の動作を示す概略図である。以下には、ピエゾ素子92を構成する一対の電極に対して、波形W1の駆動電圧が印加された場合について説明する。まず正勾配部a1,a3では、ピエゾ素子92が収縮してインク室93の容積が増加し、リザーバ95からインク室93内にインクが流入する。また負勾配部a2では、ピエゾ素子92が膨張してインク室93の容積が減少し、加圧されたインク99がノズル91から吐出される。そして、この駆動電圧波形W1の振幅および印加回数等により、インクの塗布量が決定される。
なお液滴吐出ヘッド66の駆動方式として、ピエゾ素子92を用いたピエゾジェットタイプに限られず、例えば熱膨張を利用したサーマルインクジェットタイプなどを採用してもよい。また液晶の塗布手段として、インクジェットヘッド以外の塗布手段を採用することも可能である。インクジェットヘッド以外の液晶塗布手段として、たとえばディスペンサを採用することができる。ディスペンサは、インクジェットヘッドに比べて大口径のノズルを有しているので、粘度が高い状態の液晶を吐出することも可能である。
<液晶装置の製造手順>
次に、上記のデバイス製造装置61により液晶装置100を製造する手順について図11ないし図14を参照して説明する。
まず、図4に示すように、ガラス基板10’上にTFT30を形成し、さらに画素電極9及び配向膜12等を形成してTFTアレイ基板10を得る一方、ガラス基板20’上に遮光膜23、対向電極21、配向膜22等を形成して対向基板20を得る。
なお、以下の説明においては、TFTアレイ基板10を支持基板10と称して説明する。
対向電極等が形成された対向基板20は基板給除部62により運搬され、図11(a)に示すように、下チャック部69に給材され、保持機構により対向基板20は保持される。
TFT等が形成された支持基板10は基板給除部62により運搬され、封止面10aを上側に向けて材料供給部63のテーブル65上に給材される(図6参照)。その後、テーブル65を移動させつつ、支持基板10上にシール材塗布部67からシール材が閉ざされた枠状(図1参照、符号52)に塗布される。また、テーブル65を移動させつつ液滴吐出ヘッド66から液晶を吐出、滴下して、図11(b)に示すように、シール材52で囲まれた所定位置に液晶50を配置する。
なお、図11(b)では、液晶50はシール材52で囲まれた領域の1ヶ所に滴下するように図示しているが、1ヶ所に滴下するものに限られることなく、複数ヶ所に滴下してもよい。
液晶が滴下された支持基板10は、基板給除部62の搬送ロボット62Rにより上下面を反転され(図6参照)、上記液晶50を滴下された面(封止面)を下側に向けた状態にて、基板貼り合わせ部64に運搬される。前記反転動作に際しては、支持基板10の長辺と平行な回転軸にて支持基板10を回転させることが好ましく、支持基板10の面中心を通る回転軸周りに支持基板10を回転させることがより好ましい。支持基板10の長辺と平行な回転軸周りに回転させることで支持基板10の回転半径を小さくでき、支持基板10の面中心を通る回転軸とすれば、前記回転半径をさらに小さくできる。このように支持基板10の回転半径を小さくすることで、反転動作時に基板上に滴下された液晶50が基板10上を移動するのを防止できる。
そして、図11(c)に示すように、上チャック部71に給材され(なお、以下の説明ではシール材52、液晶50の図示を適宜省略している)、保持機構により保持される。
その後、図12(d)に示すように、真空チャンバ70を下降させて下チャック部69に当接させ、収容空間70bを密封状態に閉塞する。収容空間70bが密封状態となったら、排気部76から負圧吸引して収容空間70b内を略真空状態(1.33Pa〜1.33×10−2Pa)とする。
収容空間70b内が略真空状態となったら、図12(e)に示すように、対向基板20と支持基板10とに形成されたアライメントマーク(図示せず)を貼り合わせ用顕微鏡74、74を用いて拡大してCCDカメラ81に取り込む。CCDカメラ81に取り込まれたアライメントマークの画像データは、画像処理部83に入力され対向基板20と支持基板10との相対位置が検出される。制御部84は、画像処理部83により検出された相対位置に基づき、テーブル68を駆動して対向基板20と支持基板10との相対位置のズレが±10μm以内になるように粗位置決めする。
なお、上記収容空間70b内の真空引きと、基板10、20の粗位置決めとは、同時に併行して実施してもよいし、粗位置決めを先に実施して真空引きを後から実施してもよい。真空引きと粗位置決めとを同時に実施した場合は、製造時間を短縮することができる。
また、上チャック部71には、貼り合わせ用顕微鏡74及び覗き窓70aの直下の位置に貫通孔71bが形成されており、この貫通孔71bを介して各基板10、20のアライメントマークを検出するようになっている。
基板10、20が粗位置決めされたら、図12(f)に示すように、下降機構72により上チャック部71を下降(相対移動)させて対向する基板10、20を貼り合わせる。さらに上チャック部71を下チャック部69に向けて下降させ、基板10、20に加圧してシール材52を所定厚さまで圧縮する。
基板10、20の貼り合わせが完了すると、UV照射ユニット82により紫外線を照射してシール材52を仮硬化させ、シール材の粘度を高める。
なお、基板10、20を貼り合わせた後の加圧は、製造のプロセスおよびシール材52などの選択によっては実施しなくてもよい。また、UV照射ユニット82によるシール材52の仮硬化も同様にシール材52によっては実施しなくてもよい。
また、貼り合わせ後から後述する精密位置合わせまでの間に、両基板の位置ズレの発生が予想され、そのズレ幅、方向が統計的に予想される場合には、位置ズレ発生後の基板10、20の位置関係が上述した範囲内に収まるように、あらかじめオフセットさせて粗位置決めしてもよい。
この後収容空間70b内に大気が導入され、略真空状態から大気圧に戻される。真空チャンバ70の収容空間70bが大気圧になると、圧力差により両基板10、20は押圧されてシール材52はさらに圧縮される。その後、上チャック部71と下チャック部69との保持を解除し、図13(g)に示すように、真空チャンバ70を上昇させる。そして、下チャック部69に非保持状態で載置されている基板(この場合は基板10、20が貼り合わされた液晶装置100)を基板給除部62により除材する。
貼り合わされた液晶装置100は基板給除部62により精密アライメント部164へ運搬され、図14に示すように、支持基板10が上チャック部171側に、対向基板20が下チャック部169側になるように給材される。上チャック部171と下チャック部169とは、それぞれ設けられた吸着機構により支持基板10と対向基板20とを真空吸着する。
支持基板10と対向基板20との保持が完了すると、大気圧下において、両基板10、20に形成されたアライメントマーク(図示せず)をアライメント用顕微鏡174、174を介してCCDカメラ181、181に取り込む。CCDカメラ181に取り込まれたアライメントマークの画像データは、画像処理部183に入力され対向基板20と支持基板10との相対位置が検出される。制御部184は、画像処理部183により検出された相対位置に基づき、テーブル168を駆動して対向基板20と支持基板10との相対位置のズレが±1μm以内になるように精密位置決めする。
また、上チャック部171には、アライメント用顕微鏡174の直下の位置に貫通孔171bが形成されており、この貫通孔171bを介して各基板10、20のアライメントマークを検出するようになっている。
基板10、20が精密位置決めされたら、加圧機構172により上チャック部171をさらに下降(相対移動)させて対向する基板10、20を加圧する。すると、シール材52はさらに圧縮され、シール材52に含まれるギャップ制御材52aが基板10、20に当接し、基板10、20の間隔が略3μm以下になるように調節される。
なお、加圧機構172による加圧方法は、一括して押圧力を加える加圧方法や、段階的に押圧力を上げる加圧方法、連続的に押圧力を上げる加圧方法、押圧してその押圧力を一時保持しその後押圧力を上げるS字加圧など、さまざまな加圧方法で加圧してもよい。
また、上チャック部171と下チャック部169とが対向基板20と支持基板10と接触して押圧する領域は、接触している面全体で押圧してもよいし、シール材52に含まれているギャップ制御材52aが配置されている領域のみに接触して押圧してもよい。ギャップ制御材52aが配置されている領域のみを押圧する方法では、ギャップ制御材52aが配置されていない領域を押圧しないので、基板10、20の撓みによる基板の狭ギャップ化や、基板上に配置されたスペーサによる構成部材の破損を防ぐことができる。
基板10、20のギャップが調節されると、UVランプ182により紫外線をシール材52に照射して硬化させ、基板10、20のギャップを保持させる。
なお、UVランプ182の照射は、加圧機構172の押圧力が所定圧力に到達した直後から照射したり、所定時間放置して液晶が液晶装置100のすみずみまで行き渡るまで待ってから照射したりするなど、さまざまなタイミングで照射を行ってもよい。また、使用するシール材によっては、必要な接着力を得るために、シール材硬化の工程をさらに追加してもよい。
シール材52の硬化が完了すると、上チャック部171と下チャック部169とによる保持を上下順次または同時に開放し、下チャック部69に非保持状態で載置されている液晶装置100を基板給除部62により除材する。
このようにして、液晶装置100の製造が完了する。
上記の製造方法によれば、支持基板10上に液晶を配置した後、支持基板10の上下面を反転させ、封止面10aに液晶50を保持した状態にて材料供給部63から基板貼り合わせ部64への搬送を行うとともに、基板貼り合わせ部64での基板貼り合わせ工程においても、液晶50を保持した支持基板10を対向基板20の上方に配置して貼り合わせを行うので、支持基板10上に配置された液晶50が濡れ広がるのを防止でき、基板貼り合わせ前に液晶50とシール材52とが接触することによるシール材52の接着力の低下や液晶50への異物の混入を効果的に防止することができる。これにより、液晶装置100の製造歩留まりを向上させることができる。また、基板10,20が貼り合わされる直前まで硬化前のシール材52と液晶50とは接触せず、貼り合わせ後直ちにシール材52の硬化が行われるため、硬化前のシール材52と液晶50との接触時間を短くすることができる。これにより、両者の接触による液晶50への異物の混入が低減され、液晶装置100の閾値ムラを低減することができ、高画質の表示が可能な液晶装置を製造することができる。
また、材料供給部63から排出して以降、液晶50が配置された封止面10aを下側に向けた状態で支持基板10を保持するので、工程間にて長時間の待機が生じた場合にも、支持基板10上で液晶50が濡れ広がることがなく、工程に不慮の停止が生じたとしても歩留まりの低下が生じ難くなっている。さらには、封止面10aを下側に向けて保持することで、上記待機時に大気中を浮遊する異物が液晶50やシール材52上に堆積するのを防止する効果も得られる。
液晶装置100のように液晶注入口を有さない、いわゆる封口レスのシール材52を備えた液晶装置を製造する場合、液晶50を基板上に配置した後に基板の貼り合わせを行うので、セルギャップを保持するために液晶50中に混入されるスペーサが動きやすく、スペーサの分布が不均一になり易くなる。そこで、係る構成の液晶装置では、一方の基板上に固定される固着型のスペーサや、一方の基板上にフォトリソグラフィ技術を用いて形成した柱状のスペーサ(フォトスペーサ)を用いることが好ましい。固着型スペーサは固着するための加熱工程が必要であり、フォトスペーサでは露光、現像工程が必要となるため、加熱によるカラーフィルタの損傷や工程の連続性を勘案して、TFT30が設けられた支持基板10側に固着スペーサやフォトスペーサを形成することが好ましい。そして、本実施形態では、これらのスペーサが設けられる支持基板10上に液晶50を滴下しているため、基板上に固定されたスペーサにより液晶50の分散が阻害され、シール材52と液晶50との接触が生じ難くなっている。
上記実施形態では、支持基板10上に、シール材52を形成するとともに、シール材52に囲まれる領域内に液晶50を滴下する場合について説明したが、シール材52は、予め対向基板20側に形成しておくこともできる。このような製造方法を採用すれば、液晶50とシール材52とが同一基板上に配置されないので、液晶50の滴下時や滴下後に硬化前のシール材52と液晶50とが接触するのをより効果的に防止することができる。
上記実施形態では、透過型の液晶装置100の製造に本発明の製造方法を適用する場合について説明したが、本発明に係る製造方法は、反射型、半透過反射型の液晶装置の製造にも好適に用いることができる。特に、半透過反射型の液晶装置であって、各ドット領域内を反射表示領域と透過表示領域とに区画するとともに、両領域の液晶層厚を異ならせた、いわゆるマルチギャップ構造の液晶装置の製造に用いる場合に本発明は有効である。
上記液晶層厚調整層が基板内面(封止面)に形成されている場合、透過表示領域と反射表示領域との間に、液晶層厚調整層による段差部が形成される。そして、この段差部は通常複数のドット領域に跨るように基板面内に延在するので、複数のドット領域の透過表示領域が連なった溝部が基板上に存在することとなる。そして、このような溝部を有する基板に対して液晶の滴下を行うと、前記溝部に沿って液晶が濡れ広がり、シール材と接触したり、シール材により接着される領域まで液晶が広がるおそれがある。そこで、本発明では、液晶を滴下する支持基板10ではなく、対向基板20に上記液晶層厚調整層を設けることが好ましい。このような製造方法とすることで、基板上にて液晶が濡れ広がるのを効果的に防止することができる。
本実施形態の製造方法では、大気圧雰囲気下で基板10、20の精密位置決めを行っているため、略真空状態での粗位置決めでは位置決め精度に対する要求が低くなる。そのため、基板貼り合わせ部64のテーブル68や下降機構72など位置決めに関する装置を簡略化することができ、基板貼り合わせ部64の簡略化、小型化を図ることができる。また、1工程の位置決め動作における位置決め精度が緩和されるので、貼り合わせに要する処理時間を短縮することができる。
また、基板10、20の精密位置決めは、大気圧雰囲気下で行われるので、例えば、略真空雰囲気下でも使用できる部品を用いる、真空チャンバ70内に収める等の制約が緩和される。そのため、精度の高い位置決め機構を用いることができ、十分な精度で相対位置を決めることができる。
基板貼り合わせ部64と精密アライメント部164とにおいて、基板10、20の相対位置決めが、各基板10、20に設けられたアライメントマークをCCDカメラ81、181により画像に取り込み、画像処理部83、183により処理した画像情報に基づき行われている。そのため、各基板10、20に設けられたアライメントマークの計測をより正確に、かつ素早く行うことができ、基板の粗位置決めや精密位置決めに要する処理時間を短縮することができる。
基板の保持方法に真空力および接着力、分子間力、機械式保持を用いているため、例えば、基板に石英ガラスを用いても、静電気力による保持方法のような保持力低下がなく、十分な保持力を発揮することができる。そのため、必要な相対位置精度を得やすくなる。
基板貼り合わせ部64において貼り合わせ完了後にシール材52の仮硬化を行っているので、硬化を行うまでに、略真空状態から大気圧に移る時の圧力変化や、基板貼り合わせ部64から精密アライメント部164への搬送時の振動などの力により粗位置決めした基板10、20の相対位置がずれるのを防ぐことができる。
液晶材料の滴下に液滴吐出ヘッド66を用いることにより、滴下する液晶材料の量を正確に調節することができる。そのため、基板10、20とシール材52に封入される液晶材料量を正確に調節することができ、ひいては基板10、20のセルギャップを正確に制御することができる。
(電子機器)
次に、本発明の電子機器の具体例について説明する。
図15(a)は、携帯電話の一例を示した斜視図である。図15(a)において、600は携帯電話本体を示し、601は上記実施形態の液晶装置を備えた液晶表示部を示している。
図15(b)は、ワープロ、パソコンなどの携帯型情報処理装置の一例を示した斜視図である。図15(b)において、700は情報処理装置、701はキーボードなどの入力部、703は情報処理本体、702は上記実施形態の液晶装置を備えた液晶表示部を示している。
図15(c)は、腕時計型電子機器の一例を示した斜視図である。図15(c)において、800は時計本体を示し、801は上記実施形態の液晶装置を備えた液晶表示部を示している。
図15(a)〜(c)に示す電子機器は、上記実施形態の液晶装置を備えたものであるので、高精度に基板が貼り合わされ、液晶の閾値ムラが低減されている高品質の表示が可能な表示部を有する電子機器となる。
図1は、液晶装置の平面構成図。 図2は、図1のH−H’線に沿う断面構成図。 図3は、液晶装置の等価回路図。 図4は、同、液晶装置の部分断面構成図。 図5は、実施形態に係るデバイス製造装置の概略構成図。 図6は、同、基板給除部および材料供給部の概略構成図である。 図7は、同、基板貼り合わせ部の概略構成図である。 図8は、同、精密アライメント部の概略構成図である。 図9は、液滴吐出ヘッドの一構成例を示す斜視構成図。 図10は、圧電素子の駆動電圧波形と、液滴吐出ヘッドの動作を示す説明図。 図11は、同、液晶装置の製造手順を示す図である。 図12は、同、液晶装置の製造手順を示す図である。 図13は、同、液晶装置の製造手順を示す図である。 図14は、同、液晶装置の製造手順を示す図である。 図15は、実施形態に係る電子機器の斜視構成図。
符号の説明
10 TFTアレイ基板(支持基板、第1の基板)、20 対向基板(第2の基板)、50 液晶(電気光学物質)、52 シール材、52a ギャップ制御材、66 液滴吐出ヘッド、100 液晶装置(電気光学装置)

Claims (13)

  1. シール材を介して対向配置された第1の基板及び第2の基板が電気光学物質を挟持してなる電気光学装置の製造方法であって、
    前記第1の基板に前記電気光学物質を配置する工程と、
    前記電気光学物質が配置された面を下側に向けて前記第1の基板を支持し、前記第1の基板の下方に配置した前記第2の基板と貼り合わせる貼り合わせ工程と
    を含むことを特徴とする電気光学装置の製造方法。
  2. 前記電気光学物質を配置する工程の前に、前記シール材を前記第1の基板に設ける工程を含むことを特徴とする請求項1に記載の電気光学装置の製造方法。
  3. 前記貼り合わせ工程は、
    前記電気光学物質が前記シール材に接触する前に、前記第1の基板の前記電気光学物質が配置された面が下側を向くように、前記第1の基板を反転することを特徴とする請求項2に記載の電気光学装置の製造方法。
  4. 前記電気光学物質を配置する工程の前に、前記シール材を前記第2の基板に設ける工程を含むことを特徴とする請求項1に記載の電気光学装置の製造方法。
  5. 前記貼り合わせ工程は、
    前記電気光学物質が前記第1の基板の前記シール材が貼り付けられる領域に接触する前に、前記第1の基板の前記電気光学物質が配置された面が下側を向くように、前記第1の基板を反転することを特徴とする請求項4に記載の電気光学装置の製造方法。
  6. 前記貼り合わせ工程は、
    前記第1の基板をその長辺と平行な軸周りに反転することを特徴とする請求項3または5に記載の電気光学装置の製造方法。
  7. 前記貼り合わせ工程は、
    前記第1の基板をその短辺と平行な軸周りに反転することを特徴とする請求項3または5に記載の電気光学装置の製造方法。
  8. 前記第1の基板の回転軸が、該第1の基板の面中心を通る軸であることを特徴とする請求項6又は7に記載の電気光学装置の製造方法。
  9. 前記第1の基板が、当該電気光学装置の画素を駆動制御するスイッチング素子を備えた基板であることを特徴とする請求項1ないし8のいずれか1項に記載の電気光学装置の製造方法。
  10. 液滴吐出法を用いて前記電気光学物質を前記第1の基板上に配置することを特徴とする請求項1ないし9のいずれか1項に記載の電気光学装置の製造方法。
  11. 前記電気光学物質が液晶であって、前記第2の基板上に、当該電気光学装置のドット領域内で液晶層厚を異ならせるための液晶層厚調整層を形成する工程を含むことを特徴とする請求項1ないし9のいずれか1項に記載の電気光学装置の製造方法。
  12. 請求項1ないし11のいずれか1項に記載の製造方法により得られたことを特徴とする電気光学装置。
  13. 請求項12に記載の電気光学装置を備えたことを特徴とする電子機器。
JP2003337822A 2003-09-29 2003-09-29 電気光学装置の製造方法、電気光学装置、及び電子機器 Expired - Fee Related JP4289105B2 (ja)

Priority Applications (1)

Application Number Priority Date Filing Date Title
JP2003337822A JP4289105B2 (ja) 2003-09-29 2003-09-29 電気光学装置の製造方法、電気光学装置、及び電子機器

Applications Claiming Priority (1)

Application Number Priority Date Filing Date Title
JP2003337822A JP4289105B2 (ja) 2003-09-29 2003-09-29 電気光学装置の製造方法、電気光学装置、及び電子機器

Publications (2)

Publication Number Publication Date
JP2005106979A true JP2005106979A (ja) 2005-04-21
JP4289105B2 JP4289105B2 (ja) 2009-07-01

Family

ID=34533531

Family Applications (1)

Application Number Title Priority Date Filing Date
JP2003337822A Expired - Fee Related JP4289105B2 (ja) 2003-09-29 2003-09-29 電気光学装置の製造方法、電気光学装置、及び電子機器

Country Status (1)

Country Link
JP (1) JP4289105B2 (ja)

Cited By (3)

* Cited by examiner, † Cited by third party
Publication number Priority date Publication date Assignee Title
JP2007271791A (ja) * 2006-03-30 2007-10-18 Shibaura Mechatronics Corp 基板貼り合わせ装置及び基板貼り合わせ方法
KR100778147B1 (ko) * 2006-12-13 2007-11-21 주식회사 탑 엔지니어링 액정 디스플레이 패널 제조용 디스펜싱 장치
JP2008116673A (ja) * 2006-11-02 2008-05-22 Au Optronics Corp 液晶パネル製造装置及び液晶パネルの製造方法

Cited By (3)

* Cited by examiner, † Cited by third party
Publication number Priority date Publication date Assignee Title
JP2007271791A (ja) * 2006-03-30 2007-10-18 Shibaura Mechatronics Corp 基板貼り合わせ装置及び基板貼り合わせ方法
JP2008116673A (ja) * 2006-11-02 2008-05-22 Au Optronics Corp 液晶パネル製造装置及び液晶パネルの製造方法
KR100778147B1 (ko) * 2006-12-13 2007-11-21 주식회사 탑 엔지니어링 액정 디스플레이 패널 제조용 디스펜싱 장치

Also Published As

Publication number Publication date
JP4289105B2 (ja) 2009-07-01

Similar Documents

Publication Publication Date Title
US12455477B2 (en) Display device having seal member without a plug extending around a periphery of a pixel region
US7679708B2 (en) Ring-shaped seal for LCD and method formed of first and second different material sealing members with respective first and second connecting portions each having respective first and second abutting parts that are continuous with the sealing members
JP4289105B2 (ja) 電気光学装置の製造方法、電気光学装置、及び電子機器
JP4830296B2 (ja) 液晶装置の製造方法、液晶装置、及び電子機器
JP2005106980A (ja) 電気光学装置の製造方法、及び電気光学装置の製造装置
JP2006276579A (ja) 電気光学装置の製造方法、電気光学装置、及び電子機器
JP4158466B2 (ja) 電気光学パネルの製造方法及び製造装置、並びに電子機器
JP2005099303A (ja) 基板貼り合わせ装置、電気光学装置の製造方法、及び電気光学装置
JP2005049507A (ja) 電気光学パネルの製造方法および電気光学パネル
JP2006259485A (ja) 電気光学装置の製造方法、及び電気光学装置の製造装置
JP2005128415A (ja) 電気光学装置の製造方法及び電気光学装置の製造装置及び電気光学装置
JP2006259484A (ja) 電気光学装置の製造方法、及び電気光学装置の製造装置
US20050280768A1 (en) Method for manufacturing liquid crystal display device
JP2006171063A (ja) 電気光学装置の製造装置及び方法
JP2004271820A (ja) 基板保持方法、基板保持具、デバイス製造方法、デバイス製造装置及び電気光学装置並びに電子機器
JP2008083327A (ja) 液晶装置の製造方法
JP2005115235A (ja) 電気光学装置用基板、デバイス製造方法、電気光学装置、電子機器
JP2005134561A (ja) 電気光学装置の製造方法、電気光学装置
JPH08179337A (ja) 液晶ストッパの塗布方法およびその塗布装置

Legal Events

Date Code Title Description
A621 Written request for application examination

Free format text: JAPANESE INTERMEDIATE CODE: A621

Effective date: 20060221

RD04 Notification of resignation of power of attorney

Free format text: JAPANESE INTERMEDIATE CODE: A7424

Effective date: 20070403

A977 Report on retrieval

Free format text: JAPANESE INTERMEDIATE CODE: A971007

Effective date: 20080314

A131 Notification of reasons for refusal

Free format text: JAPANESE INTERMEDIATE CODE: A131

Effective date: 20080318

A521 Written amendment

Free format text: JAPANESE INTERMEDIATE CODE: A523

Effective date: 20080515

A131 Notification of reasons for refusal

Free format text: JAPANESE INTERMEDIATE CODE: A131

Effective date: 20081224

A521 Written amendment

Free format text: JAPANESE INTERMEDIATE CODE: A523

Effective date: 20090217

TRDD Decision of grant or rejection written
A01 Written decision to grant a patent or to grant a registration (utility model)

Free format text: JAPANESE INTERMEDIATE CODE: A01

Effective date: 20090310

A01 Written decision to grant a patent or to grant a registration (utility model)

Free format text: JAPANESE INTERMEDIATE CODE: A01

A61 First payment of annual fees (during grant procedure)

Free format text: JAPANESE INTERMEDIATE CODE: A61

Effective date: 20090323

R150 Certificate of patent or registration of utility model

Free format text: JAPANESE INTERMEDIATE CODE: R150

FPAY Renewal fee payment (event date is renewal date of database)

Free format text: PAYMENT UNTIL: 20120410

Year of fee payment: 3

FPAY Renewal fee payment (event date is renewal date of database)

Free format text: PAYMENT UNTIL: 20120410

Year of fee payment: 3

FPAY Renewal fee payment (event date is renewal date of database)

Free format text: PAYMENT UNTIL: 20130410

Year of fee payment: 4

FPAY Renewal fee payment (event date is renewal date of database)

Free format text: PAYMENT UNTIL: 20130410

Year of fee payment: 4

FPAY Renewal fee payment (event date is renewal date of database)

Free format text: PAYMENT UNTIL: 20140410

Year of fee payment: 5

S531 Written request for registration of change of domicile

Free format text: JAPANESE INTERMEDIATE CODE: R313531

R350 Written notification of registration of transfer

Free format text: JAPANESE INTERMEDIATE CODE: R350

LAPS Cancellation because of no payment of annual fees