JP2005081663A - 樹脂製チューブ及び燃料系配管用チューブ - Google Patents
樹脂製チューブ及び燃料系配管用チューブ Download PDFInfo
- Publication number
- JP2005081663A JP2005081663A JP2003315332A JP2003315332A JP2005081663A JP 2005081663 A JP2005081663 A JP 2005081663A JP 2003315332 A JP2003315332 A JP 2003315332A JP 2003315332 A JP2003315332 A JP 2003315332A JP 2005081663 A JP2005081663 A JP 2005081663A
- Authority
- JP
- Japan
- Prior art keywords
- layer
- resin
- copolymer
- fuel
- resin tube
- Prior art date
- Legal status (The legal status is an assumption and is not a legal conclusion. Google has not performed a legal analysis and makes no representation as to the accuracy of the status listed.)
- Pending
Links
Images
Classifications
-
- B—PERFORMING OPERATIONS; TRANSPORTING
- B32—LAYERED PRODUCTS
- B32B—LAYERED PRODUCTS, i.e. PRODUCTS BUILT-UP OF STRATA OF FLAT OR NON-FLAT, e.g. CELLULAR OR HONEYCOMB, FORM
- B32B1/00—Layered products having a non-planar shape
- B32B1/08—Tubular products
-
- B—PERFORMING OPERATIONS; TRANSPORTING
- B32—LAYERED PRODUCTS
- B32B—LAYERED PRODUCTS, i.e. PRODUCTS BUILT-UP OF STRATA OF FLAT OR NON-FLAT, e.g. CELLULAR OR HONEYCOMB, FORM
- B32B27/00—Layered products comprising a layer of synthetic resin
- B32B27/36—Layered products comprising a layer of synthetic resin comprising polyesters
-
- F—MECHANICAL ENGINEERING; LIGHTING; HEATING; WEAPONS; BLASTING
- F16—ENGINEERING ELEMENTS AND UNITS; GENERAL MEASURES FOR PRODUCING AND MAINTAINING EFFECTIVE FUNCTIONING OF MACHINES OR INSTALLATIONS; THERMAL INSULATION IN GENERAL
- F16L—PIPES; JOINTS OR FITTINGS FOR PIPES; SUPPORTS FOR PIPES, CABLES OR PROTECTIVE TUBING; MEANS FOR THERMAL INSULATION IN GENERAL
- F16L11/00—Hoses, i.e. flexible pipes
- F16L11/04—Hoses, i.e. flexible pipes made of rubber or flexible plastics
- F16L11/045—Hoses, i.e. flexible pipes made of rubber or flexible plastics with four or more layers without reinforcement
-
- F—MECHANICAL ENGINEERING; LIGHTING; HEATING; WEAPONS; BLASTING
- F16—ENGINEERING ELEMENTS AND UNITS; GENERAL MEASURES FOR PRODUCING AND MAINTAINING EFFECTIVE FUNCTIONING OF MACHINES OR INSTALLATIONS; THERMAL INSULATION IN GENERAL
- F16L—PIPES; JOINTS OR FITTINGS FOR PIPES; SUPPORTS FOR PIPES, CABLES OR PROTECTIVE TUBING; MEANS FOR THERMAL INSULATION IN GENERAL
- F16L11/00—Hoses, i.e. flexible pipes
- F16L11/04—Hoses, i.e. flexible pipes made of rubber or flexible plastics
- F16L11/11—Hoses, i.e. flexible pipes made of rubber or flexible plastics with corrugated wall
-
- F—MECHANICAL ENGINEERING; LIGHTING; HEATING; WEAPONS; BLASTING
- F16—ENGINEERING ELEMENTS AND UNITS; GENERAL MEASURES FOR PRODUCING AND MAINTAINING EFFECTIVE FUNCTIONING OF MACHINES OR INSTALLATIONS; THERMAL INSULATION IN GENERAL
- F16L—PIPES; JOINTS OR FITTINGS FOR PIPES; SUPPORTS FOR PIPES, CABLES OR PROTECTIVE TUBING; MEANS FOR THERMAL INSULATION IN GENERAL
- F16L11/00—Hoses, i.e. flexible pipes
- F16L11/04—Hoses, i.e. flexible pipes made of rubber or flexible plastics
- F16L11/11—Hoses, i.e. flexible pipes made of rubber or flexible plastics with corrugated wall
- F16L11/118—Hoses, i.e. flexible pipes made of rubber or flexible plastics with corrugated wall having arrangements for particular purposes, e.g. electrically conducting
- F16L11/1185—Hoses, i.e. flexible pipes made of rubber or flexible plastics with corrugated wall having arrangements for particular purposes, e.g. electrically conducting electrically conducting
-
- F—MECHANICAL ENGINEERING; LIGHTING; HEATING; WEAPONS; BLASTING
- F16—ENGINEERING ELEMENTS AND UNITS; GENERAL MEASURES FOR PRODUCING AND MAINTAINING EFFECTIVE FUNCTIONING OF MACHINES OR INSTALLATIONS; THERMAL INSULATION IN GENERAL
- F16L—PIPES; JOINTS OR FITTINGS FOR PIPES; SUPPORTS FOR PIPES, CABLES OR PROTECTIVE TUBING; MEANS FOR THERMAL INSULATION IN GENERAL
- F16L11/00—Hoses, i.e. flexible pipes
- F16L11/04—Hoses, i.e. flexible pipes made of rubber or flexible plastics
- F16L11/12—Hoses, i.e. flexible pipes made of rubber or flexible plastics with arrangements for particular purposes, e.g. specially profiled, with protecting layer, heated, electrically conducting
- F16L11/127—Hoses, i.e. flexible pipes made of rubber or flexible plastics with arrangements for particular purposes, e.g. specially profiled, with protecting layer, heated, electrically conducting electrically conducting
-
- B—PERFORMING OPERATIONS; TRANSPORTING
- B32—LAYERED PRODUCTS
- B32B—LAYERED PRODUCTS, i.e. PRODUCTS BUILT-UP OF STRATA OF FLAT OR NON-FLAT, e.g. CELLULAR OR HONEYCOMB, FORM
- B32B2250/00—Layers arrangement
- B32B2250/24—All layers being polymeric
-
- B—PERFORMING OPERATIONS; TRANSPORTING
- B32—LAYERED PRODUCTS
- B32B—LAYERED PRODUCTS, i.e. PRODUCTS BUILT-UP OF STRATA OF FLAT OR NON-FLAT, e.g. CELLULAR OR HONEYCOMB, FORM
- B32B2250/00—Layers arrangement
- B32B2250/40—Symmetrical or sandwich layers, e.g. ABA, ABCBA, ABCCBA
-
- B—PERFORMING OPERATIONS; TRANSPORTING
- B32—LAYERED PRODUCTS
- B32B—LAYERED PRODUCTS, i.e. PRODUCTS BUILT-UP OF STRATA OF FLAT OR NON-FLAT, e.g. CELLULAR OR HONEYCOMB, FORM
- B32B2262/00—Composition or structural features of fibres which form a fibrous or filamentary layer or are present as additives
- B32B2262/02—Synthetic macromolecular fibres
- B32B2262/0276—Polyester fibres
- B32B2262/0284—Polyethylene terephthalate [PET] or polybutylene terephthalate [PBT]
-
- F—MECHANICAL ENGINEERING; LIGHTING; HEATING; WEAPONS; BLASTING
- F16—ENGINEERING ELEMENTS AND UNITS; GENERAL MEASURES FOR PRODUCING AND MAINTAINING EFFECTIVE FUNCTIONING OF MACHINES OR INSTALLATIONS; THERMAL INSULATION IN GENERAL
- F16L—PIPES; JOINTS OR FITTINGS FOR PIPES; SUPPORTS FOR PIPES, CABLES OR PROTECTIVE TUBING; MEANS FOR THERMAL INSULATION IN GENERAL
- F16L11/00—Hoses, i.e. flexible pipes
- F16L11/04—Hoses, i.e. flexible pipes made of rubber or flexible plastics
- F16L2011/047—Hoses, i.e. flexible pipes made of rubber or flexible plastics with a diffusion barrier layer
-
- Y—GENERAL TAGGING OF NEW TECHNOLOGICAL DEVELOPMENTS; GENERAL TAGGING OF CROSS-SECTIONAL TECHNOLOGIES SPANNING OVER SEVERAL SECTIONS OF THE IPC; TECHNICAL SUBJECTS COVERED BY FORMER USPC CROSS-REFERENCE ART COLLECTIONS [XRACs] AND DIGESTS
- Y10—TECHNICAL SUBJECTS COVERED BY FORMER USPC
- Y10T—TECHNICAL SUBJECTS COVERED BY FORMER US CLASSIFICATION
- Y10T428/00—Stock material or miscellaneous articles
- Y10T428/13—Hollow or container type article [e.g., tube, vase, etc.]
- Y10T428/1352—Polymer or resin containing [i.e., natural or synthetic]
- Y10T428/139—Open-ended, self-supporting conduit, cylinder, or tube-type article
- Y10T428/1393—Multilayer [continuous layer]
Landscapes
- Engineering & Computer Science (AREA)
- General Engineering & Computer Science (AREA)
- Mechanical Engineering (AREA)
- Rigid Pipes And Flexible Pipes (AREA)
- Laminated Bodies (AREA)
Abstract
【課題】通常のガソリンの他に含アルコール燃料に対しても優れた耐燃料透過性を有し、燃料遮断層と保護層との接着性が十分高く、端材等の再利用が容易で、安価な材料の構成で樹脂製チューブ及び燃料系配管用チューブを提供することにある。
【解決手段】PBN含有層、PBNとPTMGとから成る共重合体含有層、PBT含有層及びPBTセグメントを含む他の共重合体含有層の一方又は双方、を有する多層構造の管状樹脂層を備え、PBN含有層の内側及び外側には、PBNとPTMGとから成る共重合体含有層が配設されて成る樹脂製チューブ。
上述の如き樹脂製チューブから成る燃料系配管用チューブ。
【選択図】なし
【解決手段】PBN含有層、PBNとPTMGとから成る共重合体含有層、PBT含有層及びPBTセグメントを含む他の共重合体含有層の一方又は双方、を有する多層構造の管状樹脂層を備え、PBN含有層の内側及び外側には、PBNとPTMGとから成る共重合体含有層が配設されて成る樹脂製チューブ。
上述の如き樹脂製チューブから成る燃料系配管用チューブ。
【選択図】なし
Description
本発明は、樹脂製チューブ及び燃料系配管用チューブに係り、更に詳細には、軽量性及び防錆性に優れると共に、高温雰囲気下での優れた耐層間剥離性、高い燃料バリアー性(耐燃料透過性)及び耐燃料油性を有し、且つ再利用も容易な、ポリブチレンナフタレート樹脂を燃料遮断層として具備した樹脂製チューブ及び燃料系配管用チューブ、特に自動車への適用に好適な燃料系配管用チューブに関する。
従来から、フィードチューブ、リターンチューブ、エバポホース及びフィラーホース等の自動車の燃料系配管には、金属製、ゴム製、樹脂製又はこれらのうちの2種乃至3種を組み合わせた複合構造のものが使用されている。特に最近では、これまで主流であった金属製のものに替わって、錆の発生が無いことや軽量化が可能であること、更にコスト的に有利であることなどから、樹脂製のものに切り替わりつつある。
しかしながら、一般に樹脂製のものは、金属製のものに比べて、耐燃料透過性に劣るという欠点があり、今後益々厳しくなると予想される燃料蒸散規制に対しては、いっそう透過を抑えることが要求されている。
樹脂製配管等の耐燃料透過性を向上させることを目的とした開発は種々報告されてはいるものの、含アルコール燃料に対しても耐燃料透過性に優れ、しかも材料及び製造の面で現実的で安価な構成は報告されていない。
しかしながら、一般に樹脂製のものは、金属製のものに比べて、耐燃料透過性に劣るという欠点があり、今後益々厳しくなると予想される燃料蒸散規制に対しては、いっそう透過を抑えることが要求されている。
樹脂製配管等の耐燃料透過性を向上させることを目的とした開発は種々報告されてはいるものの、含アルコール燃料に対しても耐燃料透過性に優れ、しかも材料及び製造の面で現実的で安価な構成は報告されていない。
例えば、内層(バリア層)にフッ素樹脂(エチレン・テトラフルオロエチレン共重合体)を用い、中間層に接着層を設置し、外層にポリアミド12を用いた構成が提案されている(例えば、特許文献1参照。)。
また、バリア層にポリフェニレンサルファイド(PPS)を適用した構成が提案されている(例えば、特許文献2及び3参照。)。
更に、接着層を設けずプラズマ等の表面処理によってバリア層(内層)と保護層(外層)を接着させる方法が提案されている(例えば、特許文献4及び5参照。)。
特開平5−164273号公報
特開平11−156970号公報
特開平10−230556号公報
特開平10−30764号公報
特開2000−55248号公報
また、バリア層にポリフェニレンサルファイド(PPS)を適用した構成が提案されている(例えば、特許文献2及び3参照。)。
更に、接着層を設けずプラズマ等の表面処理によってバリア層(内層)と保護層(外層)を接着させる方法が提案されている(例えば、特許文献4及び5参照。)。
しかしながら、特許文献1に示される上述した従来技術では、(1)フッ素樹脂自体が高価である、(2)更にフッ素樹脂と外層であるポリアミド12とを接着するために用いる接着層が高価である、という問題点があった。これに対し、材料コストを抑制すべく、フッ素樹脂を含む層の薄肉化が検討されたが、十分な耐圧を確保することができないため、十分な薄肉化は困難となりコスト削減は達成され得ない。
一方、更に強い接着性を得るため、内層であるフッ素樹脂を押出し成形して、その表面にナトリウム−アンモニア錯体を含む化学処理液を適用して、活性基を導入する表面処理などをする場合には、製造工程が極めて複雑になると共に、更にコストを上昇させてしまう。
一方、更に強い接着性を得るため、内層であるフッ素樹脂を押出し成形して、その表面にナトリウム−アンモニア錯体を含む化学処理液を適用して、活性基を導入する表面処理などをする場合には、製造工程が極めて複雑になると共に、更にコストを上昇させてしまう。
また、特許文献2又は3に示される上述した従来技術では、(1)接着層を設ける必要がある、(2)PPS層及び接着層が高価である、という問題点があり、上述のフッ素樹脂と同様に現実的なコストレベルとなる組み合わせとはなり難い。
これらの問題は、いずれの場合においてもバリア層(内層)と保護層(外層)を異種の材料にしたことが原因である。即ち、異種材料を組み合わせた場合においては、そのままでは強い接着性が得られないため、接着層が必要となり、且つ接着層自体が高価であることから配管(積層チューブ)が必然的に高価になるという欠点がある。
これらの問題は、いずれの場合においてもバリア層(内層)と保護層(外層)を異種の材料にしたことが原因である。即ち、異種材料を組み合わせた場合においては、そのままでは強い接着性が得られないため、接着層が必要となり、且つ接着層自体が高価であることから配管(積層チューブ)が必然的に高価になるという欠点がある。
更に、特許文献4又は5に示される上述した従来技術では、製造工程が煩雑になり、上記問題の根本的な解決策とはなり難い。また、このような異種材料による組み合わせでは、工程内で端材を再利用することが極めて困難であり、この点も大きな問題となっている。
本発明は、このような従来技術の有する課題に鑑みてなされたものであり、その目的とするところは、通常のガソリンの他に含アルコール燃料に対しても優れた耐燃料透過性を有し、バリア層(燃料遮断層)と保護層(燃料遮断層以外の層)との接着性が十分高く、端材等の再利用が容易であると共に安価な材料の構成で樹脂製チューブ及び燃料系配管用チューブを提供することにある。
本発明者らは、上記目的を達成すべく鋭意検討を重ねた結果、所定のポリエステル樹脂を用いた多層構造とすることなどにより、上記目的が達成できることを見出し、本発明を完成するに至った。
即ち、本発明の樹脂製チューブは、ポリブチレンナフタレート(PBN)含有層、ポリブチレンナフタレート(PBN)とポリテトラメチレングリコール(PTMG)とから成る共重合体含有層、ポリブチレンテレフタレート(PBT)含有層及び/又はポリブチレンテレフタレート(PBT)セグメントを含む他の共重合体含有層、を有する多層構造の管状樹脂層を備える樹脂製チューブである。上記ポリブチレンナフタレート(PBN)含有層の内側及び外側には、上記ポリブチレンナフタレート(PBN)とポリテトラメチレングリコール(PTMG)とから成る共重合体含有層が配設されている。
また、本発明の燃料系配管用チューブは、上述の如き樹脂製チューブから成る。
また、本発明の燃料系配管用チューブは、上述の如き樹脂製チューブから成る。
本発明によれば、所定のポリエステル樹脂を用いた多層構造とすることとしたため、通常のガソリンの他に含アルコール燃料に対しても優れた耐燃料透過性を有し、各層間の接着性が十分高く、端材等の再利用が容易で、安価な材料構成である樹脂製チューブ及び燃料系配管用チューブを提供することができる。
以下、本発明の樹脂製チューブについて詳細に説明する。なお、本明細書において、「%」は特記しない限り質量百分率を表すものとする。
上述の如く、本発明の樹脂製チューブは、PBN含有層、PBNとPTMGとから成る共重合体含有層、PBT含有層及びPBTセグメントを含む他の共重合体含有層の一方又は双方、を有する多層構造の管状樹脂層を備える樹脂製チューブ、即ち多重管構造の樹脂製チューブである。上記PBN含有層の内側及び外側には、上記PBNとPTMGとから成る共重合体含有層が配設されている。
ここで、本発明の樹脂製チューブを具体例を挙げて説明する。
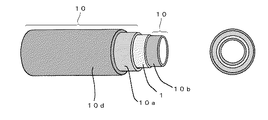
図1は、本発明の樹脂製チューブ(5層構造)の一例を示す斜視図及び断面図である。同図において、樹脂製チューブは、燃料等の流通し得る中空部分を中央に有し、燃料遮断層1と、外側層10a、内側層10b、最内層10c及び最外層10dから成る保護層10とを備える。燃料遮断層1の外側に外側層10aは配設され、燃料遮断層1の内側に内側層10bは配設される。
また、図2は、本発明の樹脂製チューブ(4層構造)の一例を示す斜視図及び断面図である。同図において、樹脂製チューブは、燃料等の流通し得る中空部分を中央に有し、燃料遮断層1と、外側層10a、内側層10b及び最外層10dから成る保護層10とを備える。燃料遮断層1の外側に外側層10aは配設され、燃料遮断層1の内側に内側層10bは配設される。
図1は、本発明の樹脂製チューブ(5層構造)の一例を示す斜視図及び断面図である。同図において、樹脂製チューブは、燃料等の流通し得る中空部分を中央に有し、燃料遮断層1と、外側層10a、内側層10b、最内層10c及び最外層10dから成る保護層10とを備える。燃料遮断層1の外側に外側層10aは配設され、燃料遮断層1の内側に内側層10bは配設される。
また、図2は、本発明の樹脂製チューブ(4層構造)の一例を示す斜視図及び断面図である。同図において、樹脂製チューブは、燃料等の流通し得る中空部分を中央に有し、燃料遮断層1と、外側層10a、内側層10b及び最外層10dから成る保護層10とを備える。燃料遮断層1の外側に外側層10aは配設され、燃料遮断層1の内側に内側層10bは配設される。
図1を参照して説明すると、燃料遮断層1を、PBN含有層とすることにより、通常のガソリン燃料の他、エタノールやメタノールなどのアルコールを含む混合燃料をチューブ内に流通させても、優れた耐燃料透過性を有する樹脂製チューブとなる。
更に、このPBN含有層と接する層、即ち外側層10a及び内側層10bの双方を、PBNとPTMGとから成る共重合体(以下、PBNエラストマと称す。)含有層とすることにより、最内層10cや最外層10dを、安価なPBT含有層及びPBTセグメントを含む他の共重合体(以下、PBTエラストマと称す。)含有層の一方又は双方としたときに、PBN含有層から成る燃料遮断層1に強固に接着することができ、その結果、経済的に安価な樹脂製チューブを製造することが可能となる。
なお、PBN含有層、PBNエラストマ含有層、PBT含有層及びPBTエラストマ含有層と記載しているが、それぞれPBN層、PBNエラストマ層、PBT層及びPBTエラストマ層の場合も含まれることは言うまでもない。
更に、このPBN含有層と接する層、即ち外側層10a及び内側層10bの双方を、PBNとPTMGとから成る共重合体(以下、PBNエラストマと称す。)含有層とすることにより、最内層10cや最外層10dを、安価なPBT含有層及びPBTセグメントを含む他の共重合体(以下、PBTエラストマと称す。)含有層の一方又は双方としたときに、PBN含有層から成る燃料遮断層1に強固に接着することができ、その結果、経済的に安価な樹脂製チューブを製造することが可能となる。
なお、PBN含有層、PBNエラストマ含有層、PBT含有層及びPBTエラストマ含有層と記載しているが、それぞれPBN層、PBNエラストマ層、PBT層及びPBTエラストマ層の場合も含まれることは言うまでもない。
上述のように、本発明の樹脂製チューブは、燃料遮断層1及び保護層10の材料が、PBN、PBTエラストマ、PBNエラストマ及びPBTから成るポリエステル樹脂群から選択されるため、これらの混和性の高さから、例えば、製造工程中に出る端材や不要となった使用済みの樹脂製チューブは、構成する各層を分離することなく、同時に粉砕し再溶融して、所望の樹脂製部品に再利用することが可能であるなど、工程内、工程外を問わずリサイクルが容易であるという利点がある。
また、燃料に接触する層は、最内層10c又は内側層10b(図2参照。)であり、双方の材料が、PBNエラストマ、PBTエラストマ及びPBTのうちから選択されるため、含エタノールガソリン、含メタノールガソリン、アミン系清浄材を含むガソリン又は劣化ガソリン、及びこれらの任意の混合物に対しても極めて優れた耐燃料油性を有する。
更に、燃料遮断層1、保護層10のいずれにおいても、金属等とのシール性が著しく向上するので、従来から用いているフッ素樹脂と異なり、樹脂製チューブに継手や金具の部品を挿入した場合でも、滑り難い樹脂製チューブとすることができる。
なお、上記劣化ガソリン等に対する耐燃料油性に関しては、上記列挙したポリエステル樹脂群のうちでは、PBNが最も優れ、次いでPBT、PBNエラストマ、PBTエラストマの順に優れる。したがって、最内層10cを、PBT含有層とすることが最も望ましく、PBNエラストマ含有層とすることが次に望ましい。
なお、上記劣化ガソリン等に対する耐燃料油性に関しては、上記列挙したポリエステル樹脂群のうちでは、PBNが最も優れ、次いでPBT、PBNエラストマ、PBTエラストマの順に優れる。したがって、最内層10cを、PBT含有層とすることが最も望ましく、PBNエラストマ含有層とすることが次に望ましい。
更にまた、相溶性が逸脱しない限り、ポリアミド6やポリアミド66などのポリアミド樹脂類及びビスフェノールAポリカーボネートなどのポリカーボネート樹脂類を、燃料遮断層1及び保護層10の一方又は双方に混合することも可能である。この場合、更に安価な材料構成とすることができる。
なお、一般的には最内層10c又は内側層10bと相溶しにくいポリプロピレンやポリエチレンなどであっても、エポキシ基導入やマレイン酸変性等の処理をすることによって、上述したポリアミド樹脂類などと同様に、混合することも可能であり、この場合も同様に、更に安価な材料構成とすることができる。
なお、一般的には最内層10c又は内側層10bと相溶しにくいポリプロピレンやポリエチレンなどであっても、エポキシ基導入やマレイン酸変性等の処理をすることによって、上述したポリアミド樹脂類などと同様に、混合することも可能であり、この場合も同様に、更に安価な材料構成とすることができる。
一方、このような本発明の樹脂製チューブは、柔軟なPBNエラストマ含有層を有するため、更に構成によってはPBTエラストマ含有層を有するため、例えば燃料系配管用チューブとして車両等へ取り付ける際には、屈曲させて容易に配置することができる。また、車両などにおける使用に際しても、保護層10の最も外側になる部分の材料が、PBNエラストマ、PBTエラストマ及びPBTのうちから選択されるため、燃料に接触する場合においても、十分な耐燃料油性を有する樹脂製チューブを得ることができる。
また、材料硬度を選定する目安としては、上記エラストマ類においては、常温での曲げ弾性率が1.5GPa以下であることが好ましい。例えば、具体例として外径φ8mm、肉厚1mm程度の中空チューブでは、特に常温での曲げ弾性率が1.0GPa以下であることが好ましい。なお、材料の硬度は、樹脂製チューブとして所望する硬さに応じて適宜選択が可能である。
本発明で使用するPBTエラストマとしては、PBTをハードセグメントとし、PTMGをソフトセグメントとするブロック型共重合体が、市場での入手性及び低温での柔軟性の面から望ましい。
また、これ以外の他のPBTエラストマとしては、酸成分としてテレフタル酸及びこのエステル形成性誘導体の一方又は双方と、水素添加ダイマー酸及びこのエステル形成性誘導体の一方又は双方とを含み、グリコール成分として1,4−ブタンジオールを含むランダム型共重合体が耐燃料油性の面から望ましい。
前者のブロック型共重合体は、上述の特性のうち、特に低温での柔軟性に優れているという面で、保護層10の一部又は全部へ適用することが望ましく。
後者のランダム型共重合体は、劣化ガソリンに対する耐燃料油性が優れているという点から、最内層10cへ適用することが望ましい。
また、これ以外の他のPBTエラストマとしては、酸成分としてテレフタル酸及びこのエステル形成性誘導体の一方又は双方と、水素添加ダイマー酸及びこのエステル形成性誘導体の一方又は双方とを含み、グリコール成分として1,4−ブタンジオールを含むランダム型共重合体が耐燃料油性の面から望ましい。
前者のブロック型共重合体は、上述の特性のうち、特に低温での柔軟性に優れているという面で、保護層10の一部又は全部へ適用することが望ましく。
後者のランダム型共重合体は、劣化ガソリンに対する耐燃料油性が優れているという点から、最内層10cへ適用することが望ましい。
上記2種類のPBTエラストマの更なる改良仕様として、PBTセグメントを含む共重合体が、酸成分としてテレフタル酸及びこのエステル形成性誘導体の一方又は双方と、水素添加ダイマー酸及びこのエステル形成性誘導体の一方又は双方とを含み、グリコール成分として1,4−ブタンジオールを含む共重合体ポリエステルにPTMGを共重合した共重合ポリエステルであってもよく、このような仕様にした場合は、保護層10のうちいずれの層にも適用可能である。また、このような改良を施したPBTエラストマの耐燃料油性は、PBTよりは劣るものの、PBNエラストマと同等以上である。
また、上記PBTエラストマがブロック型、ランダム型のいずれであっても、燃料遮断層1中のPBNと溶融温度が近いために、同一のクロスヘッドを用いて樹脂製チューブを同時押出し成形することが可能となる。
更に、上記組合せにおいては、層間に高い接着性を得ることができ、熱及び燃料など外部からの入力に対して優れた接着性を有する。
このように、同種の材料を組み合わせた構成を採用することによって、上述したようにリサイクルが容易と成るばかりでなく、従来のように接着層を別に設ける必要がなくなる。また、接着層が必要ないために、上述したように、耐燃料透過性、耐燃料油性及び柔軟性等の他の性能を向上させることが可能となる。
更に、上記組合せにおいては、層間に高い接着性を得ることができ、熱及び燃料など外部からの入力に対して優れた接着性を有する。
このように、同種の材料を組み合わせた構成を採用することによって、上述したようにリサイクルが容易と成るばかりでなく、従来のように接着層を別に設ける必要がなくなる。また、接着層が必要ないために、上述したように、耐燃料透過性、耐燃料油性及び柔軟性等の他の性能を向上させることが可能となる。
なお、上述した燃料遮断層1及び保護層10の構成材料は、特別なものである必要はなく、市場で容易に入手できるものを使用できる。また、必要に応じて、耐熱性や耐加水分解性を適宜付与したり、フィラーなどを混入して導電性を付与したり、無機材料等を混入して強化することが可能である。
特に、最内層10cの樹脂にケッチェンブラック等の導電性フィラーをその体積固有抵抗が102〜106Ω・cmの範囲となるように混入すれば、流れの速い流体が流通する配管、例えば車両のフィードラインに適用しても、流動帯電を防止することが可能となり、好適である。
特に、最内層10cの樹脂にケッチェンブラック等の導電性フィラーをその体積固有抵抗が102〜106Ω・cmの範囲となるように混入すれば、流れの速い流体が流通する配管、例えば車両のフィードラインに適用しても、流動帯電を防止することが可能となり、好適である。
なお、本発明の樹脂製チューブは、PBN含有層、PBNエラストマ含有層、PBT含有層及びPBTエラストマ含有層の一方又は双方を有する多層構造の管状樹脂層を備え、PBN含有層がPBNエラストマ含有層により挟まれていれば、図1又は2に示すような代表的な構造に限定されず、用途や要求性能に応じて、更に複数の燃料遮断層や保護層を有していてもよく、詳しくは後述するが蛇腹構造を備えていてもよい。
一方、上述のチューブ構成において、長さ方向にわたって、蛇腹構造の部分を設けることが望ましい。これにより、組付け時に有利な柔軟性及び使用時において十分な屈曲性の一方又は双方を与えることができ、直径10mm以上の配管、例えば車両の燃料システムにおけるベントホース等にも使用可能となり、広範な応用が可能となる。
このように、本発明の樹脂製チューブは、ガソリン燃料に限られず含アルコール燃料に対しても、優れた耐燃料透過性、即ち高い燃料遮断性を有することなどから、車両用の燃料配管として使用することが望ましい。
このように、本発明の樹脂製チューブは、ガソリン燃料に限られず含アルコール燃料に対しても、優れた耐燃料透過性、即ち高い燃料遮断性を有することなどから、車両用の燃料配管として使用することが望ましい。
また、各層の層厚比率は特に限定されず、所望の厚さ比率で樹脂製チューブを製造することが可能である。特に、押出し成形で製造するときの安定性及び耐燃料透過性を確保するという面から、各層の層厚割合が全層厚(樹脂製チューブの厚さ)に対して5%以上であることが好ましく、且つ燃料遮断層の保護としての面から、燃料遮断層の層厚割合は全層厚に対して5〜20%の割合であることが好ましい。例えば、肉厚1mmの中空チューブであって、図1のような5層構造のチューブにおいては、最内層10cが0.2mm、内側層10bが0.1mm、燃料遮断層1が0.1mm、外側層10aが0.1mm、最外層10dが0.5mmのような層構成が好適形態の1つである。
更に、燃料遮断層1であるPBN含有層を樹脂製チューブの全管状樹脂層の合計厚みのほぼ中央の位置に配設させることがより望ましい。なお、「PBN含有層を樹脂製チューブの全管状樹脂層の合計厚みのほぼ中央の位置に配設させる」とは、PBN含有層を全層厚のほぼ1/2の位置、例えば、全層厚1mmの場合は、0.5mmの位置を含むようにPBN含有層が配置している状態であり、完全に中央となる層構成が特に望ましい。
このような層構成の一例として、肉厚1mmの中空チューブで図1のような5層構造のチューブにおいては、最内層10cが0.3mm、内側層10bが0.15mm、燃料遮断層1が0.1mm、外側層10aが0.1mm、最外層10dが0.35mmのものを挙げることができ、このような場合、更に優れた低温衝撃性を確保することができる。
なお、樹脂製チューブの外径は、流通媒体の種類により異なるが、代表的には、3〜40mm程度であり、層厚は0.5〜3mm程度が一般的である。また、必要に応じて層厚は適宜改変することができる。
このような層構成の一例として、肉厚1mmの中空チューブで図1のような5層構造のチューブにおいては、最内層10cが0.3mm、内側層10bが0.15mm、燃料遮断層1が0.1mm、外側層10aが0.1mm、最外層10dが0.35mmのものを挙げることができ、このような場合、更に優れた低温衝撃性を確保することができる。
なお、樹脂製チューブの外径は、流通媒体の種類により異なるが、代表的には、3〜40mm程度であり、層厚は0.5〜3mm程度が一般的である。また、必要に応じて層厚は適宜改変することができる。
以下、本発明を実施例及び比較例により更に詳細に説明する。
(実施例1)
最内層としてPBT(ポリプラスチック株式会社製;700FP)、中間層として内層側から、PBNエラストマ(帝人化成株式会社製;L4310AN)、PBN(帝人化成株式会社製;TQB−OT)、PBNエラストマ(帝人化成株式会社製;L4310AN)、最外層としてPBTエラストマ(東レデュポン株式会社製;ハイトレル 5577)を最内層側から層厚比0.2:0.1:0.1:0.1:0.5で押し出し、図1に示すような5層構造の本例の樹脂製チューブ(押出し外径:8mm、内径:6mm)を得た。
最内層としてPBT(ポリプラスチック株式会社製;700FP)、中間層として内層側から、PBNエラストマ(帝人化成株式会社製;L4310AN)、PBN(帝人化成株式会社製;TQB−OT)、PBNエラストマ(帝人化成株式会社製;L4310AN)、最外層としてPBTエラストマ(東レデュポン株式会社製;ハイトレル 5577)を最内層側から層厚比0.2:0.1:0.1:0.1:0.5で押し出し、図1に示すような5層構造の本例の樹脂製チューブ(押出し外径:8mm、内径:6mm)を得た。
(実施例2)
実施例1の最内層をPBTとPTMGのブロック共重合体であるPBTエラストマ(東レデュポン株式会社製、ハイトレル 7277)とした以外は実施例1と同一の5層構造を採用し、本例の樹脂製チューブを得た。
実施例1の最内層をPBTとPTMGのブロック共重合体であるPBTエラストマ(東レデュポン株式会社製、ハイトレル 7277)とした以外は実施例1と同一の5層構造を採用し、本例の樹脂製チューブを得た。
(実施例3)
実施例1の最内層をテレフタル酸/水素添加ダイマー酸/1,4−ブタンジオールから成るランダム共重合体(カネボウ合繊株式会社製、PBTS01562)とした以外は実施例1と同一の5層構造を採用し、本例の樹脂製チューブを得た。
実施例1の最内層をテレフタル酸/水素添加ダイマー酸/1,4−ブタンジオールから成るランダム共重合体(カネボウ合繊株式会社製、PBTS01562)とした以外は実施例1と同一の5層構造を採用し、本例の樹脂製チューブを得た。
(実施例4)
実施例1の最内層をテレフタル酸/水素添加ダイマー酸/1,4−ブタンジオールから成るランダム共重合体とPTMGとの共重合体(カネボウ合繊株式会社製、PBTS01564)とした以外は実施例1と同一の5層構造を採用し、本例の樹脂製チューブを得た。
実施例1の最内層をテレフタル酸/水素添加ダイマー酸/1,4−ブタンジオールから成るランダム共重合体とPTMGとの共重合体(カネボウ合繊株式会社製、PBTS01564)とした以外は実施例1と同一の5層構造を採用し、本例の樹脂製チューブを得た。
(実施例5)
実施例1の最内層をテレフタル酸/水素添加ダイマー酸/1,4−ブタンジオールから成るランダム共重合体とPTMGとの共重合体にケッチェンブラックを6%混練した樹脂(カネボウ合繊株式会社製、PBTS01563)とした以外は実施例1と同一の5層構造を採用し、本例の樹脂製チューブを得た。
実施例1の最内層をテレフタル酸/水素添加ダイマー酸/1,4−ブタンジオールから成るランダム共重合体とPTMGとの共重合体にケッチェンブラックを6%混練した樹脂(カネボウ合繊株式会社製、PBTS01563)とした以外は実施例1と同一の5層構造を採用し、本例の樹脂製チューブを得た。
(実施例6)
実施例2の層厚比を最内層側から0.35:0.1:0.1:0.1:0.35とした以外は実施例2と同一の5層構造を採用し、本例の樹脂製チューブを得た。
実施例2の層厚比を最内層側から0.35:0.1:0.1:0.1:0.35とした以外は実施例2と同一の5層構造を採用し、本例の樹脂製チューブを得た。
(実施例7)
蛇腹部を設けた以外は実施例2と同一の5層構造を採用し、本例の樹脂製チューブ(ストレート部の外径:16mm、内径:13mm、蛇腹部の外径:22mm)を得た。
蛇腹部を設けた以外は実施例2と同一の5層構造を採用し、本例の樹脂製チューブ(ストレート部の外径:16mm、内径:13mm、蛇腹部の外径:22mm)を得た。
(比較例1)
内層にエチレンテトラフルオロエチレン共重合体(ETFE)、中間層にETFEとポリアミド12(PA12)の混合物、外層にPA12を用いて、内層:中間層:外層=1.5:1.5:7(層厚比率)で押し出し、3層構造の本例の樹脂製チューブ(押出し外径:8mm、内径:6mm)を得た。
内層にエチレンテトラフルオロエチレン共重合体(ETFE)、中間層にETFEとポリアミド12(PA12)の混合物、外層にPA12を用いて、内層:中間層:外層=1.5:1.5:7(層厚比率)で押し出し、3層構造の本例の樹脂製チューブ(押出し外径:8mm、内径:6mm)を得た。
(比較例2)
ポリアミド11(PA11)のみで単層の本例の樹脂製チューブ(押出し外径:8mm、内径:6mm)を得た。
上記各例の樹脂製チューブの仕様を表1に示す。なお、表1中おいて、中間層1とは内側層10b、中間層2とは燃料遮断層1、中間層3とは外側層10aを表す。
ポリアミド11(PA11)のみで単層の本例の樹脂製チューブ(押出し外径:8mm、内径:6mm)を得た。
上記各例の樹脂製チューブの仕様を表1に示す。なお、表1中おいて、中間層1とは内側層10b、中間層2とは燃料遮断層1、中間層3とは外側層10aを表す。
[性能評価]
(剥離強度試験)
上記各例の樹脂製チューブから1インチ幅の試験片を採取し、JIS−K6256の180°剥離試験を行った。なお、比較例1においては、内層と中間層の界面で測定を行った。
(剥離強度試験)
上記各例の樹脂製チューブから1インチ幅の試験片を採取し、JIS−K6256の180°剥離試験を行った。なお、比較例1においては、内層と中間層の界面で測定を行った。
(耐燃料透過性能試験)
上記各例の樹脂製チューブと同一の構成の材料を平板状に押出し、その平板(チューブと同じ層厚比で層厚合計値が1mmである。)を用いて耐燃料透過性試験を行った。ここで、耐燃料透過性能については、φ70mmの円盤状に打ち抜いた試料を、ガソリン又は含アルコール燃料の60℃雰囲気下での規定時間(800時間)後の燃料透過量を測定した。なお、ガソリンは、市販のレギュラーガソリン(製造会社:新日本石油株式会社、商品名:シルバーN)を用い、含アルコール燃料は、このレギュラーガソリン90体積部とエタノール10体積部を混合したものを用いた。
上記各例の樹脂製チューブと同一の構成の材料を平板状に押出し、その平板(チューブと同じ層厚比で層厚合計値が1mmである。)を用いて耐燃料透過性試験を行った。ここで、耐燃料透過性能については、φ70mmの円盤状に打ち抜いた試料を、ガソリン又は含アルコール燃料の60℃雰囲気下での規定時間(800時間)後の燃料透過量を測定した。なお、ガソリンは、市販のレギュラーガソリン(製造会社:新日本石油株式会社、商品名:シルバーN)を用い、含アルコール燃料は、このレギュラーガソリン90体積部とエタノール10体積部を混合したものを用いた。
(低温衝撃性試験)
JASO M317−1986 8.9項に記載の試験方法により、即ち−40℃雰囲気において、質量:0.45kg、先端R=16mmの圧子を高さ305mmより樹脂製チューブに落下させ、低温衝撃性を測定した。
JASO M317−1986 8.9項に記載の試験方法により、即ち−40℃雰囲気において、質量:0.45kg、先端R=16mmの圧子を高さ305mmより樹脂製チューブに落下させ、低温衝撃性を測定した。
得られた結果を表2に示す。表2中の◎、○、×は、比較例1の結果を○としたときの相対評価であり、◎はこれよりも優れていたもの、○は同等のもの、×は著しく劣るものを表す。
表2より、本発明の範囲に属する実施例1〜7は、本発明外の比較例1及び2と比較して同等以上の特性を示すことが分かる。
また、現時点では、低温衝撃性能(より低温領域における)の観点から、実施例4が最も良好な結果をもたらすものと思われる。
また、現時点では、低温衝撃性能(より低温領域における)の観点から、実施例4が最も良好な結果をもたらすものと思われる。
以上、本発明を若干の実施例により詳細に説明したが、本発明はこれらに限定されるものではなく、本発明の要旨の範囲で種々の変形が可能である。
例えば、本発明に使用される各層の材料樹脂には、例えば酸化防止剤及び熱安定剤(例えば、ヒンダードフェノール、ヒドロキノン、チオエーテル又はホスファイト類及びこれらの置換体等、更にはこれらの任意の組合せを含む。)、紫外線吸収材(例えば、レゾルシノール、サリシレート、ベンゾトリアゾール及びベンゾフェノン等。)、滑剤及び離型剤(例えば、シリコン樹脂、モンタン酸及びその塩、ステアリン酸及びその塩、ステアリルアルコール及びステアリルアミド等。)、染料(例えば、ニトロシン等。)及び顔料(例えば、硫化カドミウム、フタロシアニン等。)を含む着色剤、添加剤添着液(例えば、シリコンオイル等。)、結晶核剤(例えば、タルク、カリオン等。)などを単独又は適宜組み合わせて添加することができる。
また、樹脂製チューブの断面形状は、代表的には円形又は楕円形であるが、これら以外の断面形状であってもよい。
更に、各層の材料を用いた多重管構造のチューブ以外の形状、例えば雨どいのような形状や、シート状で使用しても、耐燃料透過性が得られることは言うまでもない。
例えば、本発明に使用される各層の材料樹脂には、例えば酸化防止剤及び熱安定剤(例えば、ヒンダードフェノール、ヒドロキノン、チオエーテル又はホスファイト類及びこれらの置換体等、更にはこれらの任意の組合せを含む。)、紫外線吸収材(例えば、レゾルシノール、サリシレート、ベンゾトリアゾール及びベンゾフェノン等。)、滑剤及び離型剤(例えば、シリコン樹脂、モンタン酸及びその塩、ステアリン酸及びその塩、ステアリルアルコール及びステアリルアミド等。)、染料(例えば、ニトロシン等。)及び顔料(例えば、硫化カドミウム、フタロシアニン等。)を含む着色剤、添加剤添着液(例えば、シリコンオイル等。)、結晶核剤(例えば、タルク、カリオン等。)などを単独又は適宜組み合わせて添加することができる。
また、樹脂製チューブの断面形状は、代表的には円形又は楕円形であるが、これら以外の断面形状であってもよい。
更に、各層の材料を用いた多重管構造のチューブ以外の形状、例えば雨どいのような形状や、シート状で使用しても、耐燃料透過性が得られることは言うまでもない。
1 燃料遮断層
10 保護層
10a 外側層
10b 内側層
10c 最内層
10d 最外層
10 保護層
10a 外側層
10b 内側層
10c 最内層
10d 最外層
Claims (8)
- ポリブチレンナフタレート含有層、ポリブチレンナフタレートとポリテトラメチレングリコールとから成る共重合体含有層、ポリブチレンテレフタレート含有層及び/又はポリブチレンテレフタレートセグメントを含む他の共重合体含有層、を有する多層構造の管状樹脂層を備える樹脂製チューブであって、
上記ポリブチレンナフタレート含有層の内側及び外側には、上記ポリブチレンナフタレートとポリテトラメチレングリコールとから成る共重合体含有層が配設されていることを特徴とする樹脂製チューブ。 - 上記ポリブチレンテレフタレートセグメントを含む他の共重合体含有層の少なくとも1層が、ポリブチレンテレフタレートとポリテトラメチレングリコールとから成る共重合体を含むことを特徴とする請求項1に記載の樹脂製チューブ。
- 上記ポリブチレンテレフタレートセグメントを含む他の共重合体含有層の少なくとも1層が、酸成分としてテレフタル酸及び/又はこのエステル形成性誘導体並びに水素添加ダイマー酸及び/又はこのエステル形成性誘導体を含み、グリコール成分として1,4−ブタンジオールを含む共重合ポリエステルを構成成分とする共重合体を含むことを特徴とする請求項1又は2に記載の樹脂製チューブ。
- 上記ポリブチレンテレフタレートセグメントを含む他の共重合体含有層の少なくとも1層が、
酸成分としてテレフタル酸及び/又はこのエステル形成性誘導体並びに水素添加ダイマー酸及び/又はこのエステル形成性誘導体を含み、グリコール成分として1,4−ブタンジオールを含む共重合ポリエステルと、
ポリテトラメチレングリコールと、を共重合した他の共重合ポリエステルを含むことを特徴とする請求項1〜3のいずれか1つの項に記載の樹脂製チューブ。 - 上記ポリブチレンナフタレート含有層が、全管状樹脂層の合計厚みのほぼ中央の位置に配設されていることを特徴とする請求項1〜4のいずれか1つの項に記載の樹脂製チューブ。
- 上記管状樹脂層の最内層の体積固有抵抗値が、102〜106Ω・cmであることを特徴とする請求項1〜5のいずれか1つの項に記載の樹脂製チューブ。
- 上記管状樹脂層の長さ方向に亘り、蛇腹構造の部分を少なくとも1箇所以上有することを特徴とする請求項1〜6のいずれか1つの項に記載の樹脂製チューブ。
- 請求項1〜7のいずれか1つの項に記載の樹脂製チューブから成ることを特徴とする車両の燃料系配管用チューブ。
Priority Applications (3)
| Application Number | Priority Date | Filing Date | Title |
|---|---|---|---|
| JP2003315332A JP2005081663A (ja) | 2003-09-08 | 2003-09-08 | 樹脂製チューブ及び燃料系配管用チューブ |
| EP04020862A EP1522780A1 (en) | 2003-09-08 | 2004-09-02 | Resin tube |
| US10/934,393 US20050053742A1 (en) | 2003-09-08 | 2004-09-07 | Resin tube |
Applications Claiming Priority (1)
| Application Number | Priority Date | Filing Date | Title |
|---|---|---|---|
| JP2003315332A JP2005081663A (ja) | 2003-09-08 | 2003-09-08 | 樹脂製チューブ及び燃料系配管用チューブ |
Publications (1)
| Publication Number | Publication Date |
|---|---|
| JP2005081663A true JP2005081663A (ja) | 2005-03-31 |
Family
ID=34225201
Family Applications (1)
| Application Number | Title | Priority Date | Filing Date |
|---|---|---|---|
| JP2003315332A Pending JP2005081663A (ja) | 2003-09-08 | 2003-09-08 | 樹脂製チューブ及び燃料系配管用チューブ |
Country Status (3)
| Country | Link |
|---|---|
| US (1) | US20050053742A1 (ja) |
| EP (1) | EP1522780A1 (ja) |
| JP (1) | JP2005081663A (ja) |
Families Citing this family (6)
| Publication number | Priority date | Publication date | Assignee | Title |
|---|---|---|---|---|
| JP5405862B2 (ja) * | 2008-03-31 | 2014-02-05 | ウィンテックポリマー株式会社 | 多層チューブ |
| IT1394221B1 (it) * | 2009-05-15 | 2012-06-01 | Colbachini Spa | Tubo flessibile di tipo perfezionato per il trasporto di materiali fluidi e di corrente elettrica. |
| ES2544518B2 (es) * | 2014-01-30 | 2016-02-18 | Óscar Javier MUÑOZ RODRÍGUEZ | Procedimiento de aplicación versátil de protección en estructuras e infraestructuras |
| JOP20190100A1 (ar) | 2016-11-19 | 2019-05-01 | Potenza Therapeutics Inc | بروتينات ربط مولد ضد مضاد لـ gitr وطرق استخدامها |
| JP7382149B2 (ja) * | 2019-03-19 | 2023-11-16 | 住友理工株式会社 | 多層チューブ |
| DE102023136201A1 (de) * | 2023-12-21 | 2025-06-26 | REHAU Industries SE & Co. KG | Thermisch gedämmte Rohranordnung |
Family Cites Families (17)
| Publication number | Priority date | Publication date | Assignee | Title |
|---|---|---|---|---|
| US121560A (en) * | 1871-12-05 | Improvement in churns | ||
| US18328A (en) * | 1857-10-06 | Machine foe | ||
| US144744A (en) * | 1873-11-18 | Improvement in polishing tools | ||
| JPH05164273A (ja) | 1991-12-07 | 1993-06-29 | Daikin Ind Ltd | 複合チューブ |
| DE4214383C2 (de) * | 1992-04-30 | 1996-08-14 | Inventa Ag | Koextrudiertes Mehrschicht-Polymer-Rohr |
| EP0637509B1 (en) * | 1993-08-03 | 2002-10-23 | Nitta Moore Company | A tube for fuel transportation |
| JPH1030764A (ja) | 1996-07-16 | 1998-02-03 | Tokai Rubber Ind Ltd | 燃料ホース |
| JP3915213B2 (ja) | 1996-12-16 | 2007-05-16 | 東レ株式会社 | 導電性樹脂組成物 |
| JPH11156970A (ja) | 1997-11-26 | 1999-06-15 | Toray Ind Inc | 多層中空成形体 |
| DE19831898B4 (de) * | 1998-07-16 | 2004-01-22 | Rasmussen Gmbh | Fluidleitung für Kraftstoffe und Kraftstoffdämpfe |
| JP2000055248A (ja) | 1998-08-10 | 2000-02-22 | Tokai Rubber Ind Ltd | 燃料ホースおよびその製法 |
| JP2000154890A (ja) * | 1998-11-18 | 2000-06-06 | Tokai Rubber Ind Ltd | 燃料配管用チューブ |
| JP3606204B2 (ja) * | 2001-01-19 | 2005-01-05 | 日産自動車株式会社 | 樹脂製チューブ |
| ES2220839T3 (es) * | 2001-04-10 | 2004-12-16 | Rasmussen Gmbh | Tubo multicapa para fluidos hidrocarbonados. |
| JP4184697B2 (ja) | 2001-04-12 | 2008-11-19 | 武田薬品工業株式会社 | スクリーニング方法 |
| JP2003287165A (ja) * | 2002-01-24 | 2003-10-10 | Tokai Rubber Ind Ltd | 燃料用ホース |
| JP3606280B2 (ja) * | 2002-07-16 | 2005-01-05 | 日産自動車株式会社 | 樹脂製チューブ及び燃料系配管用チューブ |
-
2003
- 2003-09-08 JP JP2003315332A patent/JP2005081663A/ja active Pending
-
2004
- 2004-09-02 EP EP04020862A patent/EP1522780A1/en not_active Withdrawn
- 2004-09-07 US US10/934,393 patent/US20050053742A1/en not_active Abandoned
Also Published As
| Publication number | Publication date |
|---|---|
| US20050053742A1 (en) | 2005-03-10 |
| EP1522780A1 (en) | 2005-04-13 |
Similar Documents
| Publication | Publication Date | Title |
|---|---|---|
| JP3606204B2 (ja) | 樹脂製チューブ | |
| US5469892A (en) | Corrugated polymeric tubing having at least three layers with at least two respective layers composed of polymeric materials dissimilar to one another | |
| US5284184A (en) | Corrugated multi-layer tubing having at least one fluoroplastic layer | |
| JP3126275B2 (ja) | 燃料移送用チューブ | |
| CN103038058B (zh) | 树脂制进油管及其制法 | |
| JP4783028B2 (ja) | 多層プラスチックパイプ | |
| JP5092724B2 (ja) | ホース内管用積層樹脂管状体及び冷媒輸送用ホース | |
| RU2518776C1 (ru) | Низкопроницаемый гибкий шланг подачи топлива | |
| JP3606280B2 (ja) | 樹脂製チューブ及び燃料系配管用チューブ | |
| JP3606213B2 (ja) | 樹脂製チューブ | |
| JP5474623B2 (ja) | 燃料用ホース | |
| JP2005081663A (ja) | 樹脂製チューブ及び燃料系配管用チューブ | |
| US20040013835A1 (en) | Multilayer plastic tube for fluids used in motor vehicles | |
| US10724659B2 (en) | Multilayer tube for guiding fuel fluid and method of manufacturing same | |
| CN100394094C (zh) | 多层树脂管和多层树脂容器 | |
| JP2009119682A (ja) | 樹脂チューブ | |
| JP2009137195A (ja) | ホース内管用積層樹脂管状体及び冷媒輸送用ホース | |
| JP5212733B2 (ja) | 多層ホース | |
| JP2004052870A (ja) | 蛇腹チューブ | |
| WO2002029298A2 (en) | Convoluted tubing having a non-convoluted inner layer for handling hydrocarbon materials | |
| WO2013145837A1 (ja) | 樹脂製フューエルチューブ |
Legal Events
| Date | Code | Title | Description |
|---|---|---|---|
| A621 | Written request for application examination |
Free format text: JAPANESE INTERMEDIATE CODE: A621 Effective date: 20060628 |
|
| A977 | Report on retrieval |
Free format text: JAPANESE INTERMEDIATE CODE: A971007 Effective date: 20081203 |
|
| A131 | Notification of reasons for refusal |
Free format text: JAPANESE INTERMEDIATE CODE: A131 Effective date: 20090106 |
|
| A02 | Decision of refusal |
Free format text: JAPANESE INTERMEDIATE CODE: A02 Effective date: 20091027 |
