JP2005073726A - 遊技機用筐体の取手孔カバー - Google Patents

遊技機用筐体の取手孔カバー Download PDF

Info

Publication number
JP2005073726A
JP2005073726A JP2003304249A JP2003304249A JP2005073726A JP 2005073726 A JP2005073726 A JP 2005073726A JP 2003304249 A JP2003304249 A JP 2003304249A JP 2003304249 A JP2003304249 A JP 2003304249A JP 2005073726 A JP2005073726 A JP 2005073726A
Authority
JP
Japan
Prior art keywords
handle hole
cover
casing
movable body
fitting insertion
Prior art date
Legal status (The legal status is an assumption and is not a legal conclusion. Google has not performed a legal analysis and makes no representation as to the accuracy of the status listed.)
Granted
Application number
JP2003304249A
Other languages
English (en)
Other versions
JP4192058B2 (ja
Inventor
Yasuo Nishihara
八州夫 西原
Current Assignee (The listed assignees may be inaccurate. Google has not performed a legal analysis and makes no representation or warranty as to the accuracy of the list.)
Yamasa Co Ltd
Original Assignee
Yamasa Co Ltd
Priority date (The priority date is an assumption and is not a legal conclusion. Google has not performed a legal analysis and makes no representation as to the accuracy of the date listed.)
Filing date
Publication date
Application filed by Yamasa Co Ltd filed Critical Yamasa Co Ltd
Priority to JP2003304249A priority Critical patent/JP4192058B2/ja
Publication of JP2005073726A publication Critical patent/JP2005073726A/ja
Application granted granted Critical
Publication of JP4192058B2 publication Critical patent/JP4192058B2/ja
Anticipated expiration legal-status Critical
Expired - Fee Related legal-status Critical Current

Links

Images

Landscapes

  • Pinball Game Machines (AREA)
  • Slot Machines And Peripheral Devices (AREA)

Abstract

【課題】 遊技機用筐体の取手孔を確実に閉塞するとともに取付けの作業性を向上する。
【解決手段】 取手孔カバー35のカバー本体部50を筐体3の外側から取手孔33に挿入すると、カバー本体部50の上面501および下面502が取手孔33の内周面331に摺接しつつ案内され、次に傾斜突部63の案内部および案内用突部62が取手孔33の内周面331に摺接しつつ案内され、続いて傾斜突部63の当接部および可動体612が内周面331に摺接しつつ案内される。嵌挿部60が取手孔33の内周面331に嵌まり込むと、抜け止め用突部52が取手孔33の周縁の筐体3の内側面311の上部に係止し、可動体612が取手孔33の内周面331に押されて揺動して、フック614が取手孔33の周縁の筐体3の内側面311の下部に係止する。また、フランジ部70が取手孔33の周縁の筐体3の外側面312に設けられたフランジ用凹部312aに当接する。
【選択図】 図8

Description

本発明は、スロットマシンなどの遊技機用筐体に穿設された取手孔を閉塞するための取手孔カバーに関するものである。
筐体内に遊技のための機器や制御基板などが内蔵されているスロットマシンなどの遊技機においては、遊技機を持ち運ぶ際の手掛かりとするために、たとえば筐体の両側面に取手孔が穿設されている。この取手孔は、持ち易さの観点から通常貫通孔とされる。従来、このような貫通孔に取り付けるための取手カバーが提案されている(例えば、特許文献1参照)。この特許文献1に記載の取手カバーは、軟質材料からなる環状で、金属製のビール樽の手掛け穴の内周に嵌着することによりビール樽を持ち易くしている。
特開平10−1141号公報(段落[0013])
ところで、上記特許文献1に記載の取手カバーは、遊技機用筐体の取手孔カバーには適さない。というのは、上記従来の取手カバーは環状で貫通孔を閉塞していないため、これを遊技機用筐体の取手孔カバーとして用いると、その隙間から針金などを差し込むことにより内部装置を傷付けて誤作動を起こさせるなどの不正行為が行われるおそれがあるからである。一方、本願の出願人は、遊技機用筐体の取手孔を確実に閉塞する取手孔カバーを提案している(特願2002−191606)。ところが、この取手孔カバーは、内側からねじで筐体に取り付けるようにしているため、取手孔を確実に閉塞して不正防止効果を高めることができるものの、取付けの作業性があまり良好なものではなかった。
本発明は、上記課題に鑑みてなされたもので、遊技機用筐体の取手孔を確実に閉塞することができるとともに、取付けの作業性を向上することができる遊技機用筐体の取手孔カバーを提供することを目的とする。
上記目的を達成するために、本発明は、遊技機の筐体に穿設された取手孔に取り付けられる取手孔カバーにおいて、奥部が閉塞された筒状を有し、前記筐体の外側から前記取手孔に挿入されるカバー本体部と、前記カバー本体部の開口に、前記カバー本体部の軸線に対してその軸線が傾斜して延設され前記取手孔の内周面に嵌まり込む短筒状の嵌挿部と、前記嵌挿部の開口端に設けられたフランジ部と、前記嵌挿部の外周面に設けられた連結部と、弾性を有した棒状であり、そのほぼ中央部で前記連結部によって揺動可能に支持された可動体と、前記可動体の前記カバー本体部側に位置する先端に形成されたフックとを備え、前記カバー本体部の前記取手孔への挿入に伴い、前記可動体が前記取手孔の内周面を摺接し、前記取手孔の内周面への前記嵌挿部の嵌まり込みにより、前記可動体が揺動して前記フックが前記取手孔の周縁の前記筐体の内側面に係止するとともに、前記フランジ部が前記取手孔の周縁の前記筐体の外側面に当接することを特徴としている(請求項1)。
また、上記目的を達成するために、本発明は、遊技機の筐体に穿設された取手孔に取り付けられる取手孔カバーにおいて、奥部が閉塞された筒状を有し、前記筐体の外側から前記取手孔に挿入されるカバー本体部と、前記カバー本体部の開口に延設され、前記カバー本体部側が前記取手孔の中心軸に接近する方向に傾斜した係止側面と、前記中心軸とほぼ平行な前記係止側面の反対面とを有し、前記取手孔の内周面に嵌まり込む短筒状の嵌挿部と、前記嵌挿部の開口端に設けられたフランジ部と、前記嵌挿部の前記係止側面の外周面に設けられた連結部と、弾性を有した棒状であり、そのほぼ中央部で前記連結部によって揺動可能に支持された可動体と、前記可動体の前記カバー本体部側に位置する先端に形成されたフックとを備え、前記カバー本体部の前記取手孔への挿入に伴い、前記可動体が前記取手孔の内周面を摺接し、前記取手孔の内周面への前記嵌挿部の嵌まり込みにより、前記可動体が揺動して前記フックが前記取手孔の周縁の前記筐体の内側面に係止するとともに、前記フランジ部が前記取手孔の周縁の前記筐体の外側面に当接することを特徴としている(請求項2)。
また、本発明は、前記可動体は、前記フックが前記嵌挿部の外周面に接近するように付勢されていることを特徴としている(請求項3)。
また、本発明は、前記取手孔はほぼ矩形で、前記カバー本体部および前記嵌挿部の断面外形は前記取手孔とほぼ同一形状を有し、前記可動体は前記嵌挿部の下面に少なくとも1個設けられ、前記嵌挿部の上面には、前記嵌挿部の前記取手孔への嵌まり込みにより前記取手孔の周縁の前記筐体の内側面の上部に係止する抜け止め用突部が設けられていることを特徴としている(請求項4)。
また、本発明は、前記嵌挿部の下面には、前記取手孔の内周面への前記嵌挿部の嵌まり込みにより該内周面に当接する当接用突部が、前記可動体に並んで少なくとも1個設けられていることを特徴としている(請求項5)。
また、本発明は、前記カバー本体部の下面の前記可動体の挿入方向の奥側には、前記カバー本体部の前記取手孔への挿入を案内する案内用突部が設けられていることを特徴としている(請求項6)。
また、本発明は、前記嵌挿部が前記取手孔の内周面に嵌まり込んだ状態で、前記カバー本体部の奥部の上端が前記嵌挿部の上面より上方に位置していることを特徴としている(請求項7)。
請求項1の発明によれば、カバー本体部の取手孔への挿入に伴い、弾性を有する可動体がたとえば撓みつつ取手孔の内周面を摺接するため、カバー本体部に続いて嵌挿部を筐体の外側から取手孔に挿入する際に妨げとならない。そして、取手孔の内周面への嵌挿部の嵌まり込みにより、連結部によりほぼ中央部で支持された可動体が揺動することとなり、この揺動によりフックが取手孔の周縁の筐体の内側面に係止する一方、フランジ部が取手孔の周縁の筐体の外側面に当接する。このフックの筐体の内側面への係止と、フランジ部の筐体の外側面への当接とによって筐体に確実に固定されることとなり、奥部が閉塞された筒状を有するカバー本体部により、取手孔を確実に閉塞することが可能になる。また、ねじなどの別の固定部材を用いておらず、カバー本体部を取手孔に挿入して嵌挿部を取手孔に嵌め込むだけでよいので、取手孔への取付けの作業性を大幅に向上することができる。
また、請求項2の発明によれば、カバー本体部の取手孔への挿入に伴い、弾性を有する可動体がたとえば撓みつつ取手孔の内周面を摺接するため、カバー本体部に続いて嵌挿部を筐体の外側から取手孔に挿入する際に妨げとならない。そして、取手孔の内周面への嵌挿部の嵌まり込みにより、連結部によりほぼ中央部で支持された可動体が揺動することとなり、この揺動によりフックが取手孔の周縁の筐体の内側面に係止する一方、フランジ部が取手孔の周縁の筐体の外側面に当接する。このフックの筐体の内側面への係止と、フランジ部の筐体の外側面への当接とによって筐体に確実に固定されることとなり、奥部が閉塞された筒状を有するカバー本体部により、取手孔を確実に閉塞することが可能になる。また、ねじなどの別の固定部材を用いておらず、カバー本体部を取手孔に挿入して嵌挿部を取手孔に嵌め込むだけでよいので、取手孔への取付けの作業性を大幅に向上することができる。
また、請求項3の発明によれば、可動体は、フックが嵌挿部の外周面に接近するように付勢されているため、カバー本体部に続いて嵌挿部を筐体の外側から取手孔に挿入する際に、フックが挿入の妨げとなるのを確実に防止することができる。なお、たとえば連結部と可動体と嵌挿部とを合成樹脂により一体的に形成することによって、フックが嵌挿部の外周面に接近するように連結部が可動体を付勢するような構成を容易に実現できる。
また、請求項4の発明によれば、嵌挿部の取手孔への嵌まり込みにより、嵌挿部の上面に設けられた抜け止め用突部が取手孔の周縁の筐体の内側面の上部に係止するとともに、嵌挿部の下面に設けられた可動体のフックが取手孔の周縁の筐体の内側面の下部に係止するため、筐体の内側面の上部および下部の係止によって、筐体に確実に固定することができる。
また、請求項5の発明によれば、嵌挿部の下面に可動体に並んで少なくとも1個設けられている当接用突部が、取手孔の内周面への嵌挿部の嵌まり込みにより該内周面に当接するため、可動体および当接用突部に平均した力が加わることから、可動体のみに無理な力が加えられて可動体が破損するような事態を避けることができる。
また、請求項6の発明によれば、カバー本体部の取手孔への挿入を案内する案内用突部が設けられているため、カバー本体部を取手孔に滑らかに挿入することができる。また、この案内用突部は、カバー本体部の下面の可動体の挿入方向の奥側に設けられているため、可動体が取手孔の内周面に衝突して破損するのを未然に防止することができる。
また、請求項7の発明によれば、嵌挿部が取手孔の内周面に嵌まり込んだ状態で、カバー本体部の奥部の上端が嵌挿部の上面より上方に位置しているため、遊技機用筐体を持ち運ぶべく取手孔カバーに手を差し込むと指先が嵌挿部に対してカバー本体部の奥部で上に向くことから、遊技機用筐体の持ち運びを容易に行うことができる。
図1はスロットマシンの外観の要部を示す斜視図である。このスロットマシンは、例えば図1に示すように構成されている。即ち、図1に示すように、スロットマシン1では、筐体3の前面開口が前面パネル5により開閉自在に閉塞され、この前面パネル5のほぼ中央高さの位置に操作板7が配設されると共に、この操作板7の上方に正面板9が配設されている。
この正面板9には3個の図柄表示窓11が並設されており、各図柄表示窓11から筐体3内に設けられた回転リール(図示省略)の図柄が視認可能になっている。また、操作板7には、クレジットされているメダルの枚数を減じてメダル投入に代えるためのベットスイッチ15、各回転リールの回転を開始させるためのスタートスイッチ17、各回転リールの回転をそれぞれ停止させるためのストップスイッチ19、メダル投入口21、および貯留メダルを払い出すための精算スイッチ23が設けられている。また、筐体3の内部には、それぞれ図示を省略しているが、各回転リールを回転駆動させるモータ、遊技メダルを払い出すホッパーユニット、電源ボックスや、遊技などの制御を行う制御基板などが内蔵されている。
筐体3の左右の側板31には、このスロットマシン1を運搬する際に持ち上げやすいように、側板31を貫通する取手孔33がそれぞれ穿設されている。この取手孔33は、側板31の高さ方向中央よりもやや上方に穿設された横長のほぼ矩形形状になっている。この取手孔33には、以下に説明する取手孔カバーが取り付けられている。なお、図1では、説明の便宜上、取手孔カバーの図示を省略している。
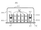
図2は本発明の一実施形態である取手孔カバーを斜め下から見た斜視図、図3は同取手孔カバーを斜め上から見た斜視図である。また、図4〜図6は取手孔カバーを示す図で、図4は平面図、図5は底面図、図6は左側面図である。なお、説明の便宜上、図6は図4および図5に比べて拡大して示している。
この取手孔カバー35は、合成樹脂(例えばポリプロピレン)により一体的に形成されており、奥部51が閉塞されたほぼ四角筒状のカバー本体部50と、カバー本体部50の開口に延設された短い四角筒状の嵌挿部60と、嵌挿部60の開口端に設けられたフランジ部70とを備えている。ここで、カバー本体部50および嵌挿部60の断面外形は、取手孔33とほぼ同一形状、すなわち横長のほぼ矩形になっている。
また、図6に示すように、カバー本体部50は、上面501および下面502がほぼ平行で、奥部51側(図中、左側)が高くなるように傾斜して形成されており、側面視ほぼ平行四辺形になっている。これに対して、嵌挿部60の上面601は水平に形成され、下面602はカバー本体部50の下面502がそのまま延設されて同一の傾斜を有している。その結果、厳密には嵌挿部60の外形は四角錐台状であって、嵌挿部60の軸線L1はほぼ水平に近くなっており、カバー本体部50の軸線L2は、奥部51側(図中、左側)が嵌挿部60の軸線L1より上向きになっている。
図5に示すように、嵌挿部60の下面602には、同図中、左右の両端に近い位置に、それぞれ可動部61が設けられている。この可動部61は、図6に示すように、嵌挿部60に延設された基部611と、弾性を有する棒状の可動体612と、可動体612を図中、左右方向のほぼ中央で揺動可能に支持する連結部613とを備えている。また、可動体612のカバー本体部50側に位置する先端に、フック614が形成されている。取手孔カバー35は、合成樹脂により一体的に形成されている。このため、連結部613は可撓性を有しており、その可撓性によって連結部613は可動体612を付勢して支持している。すなわち、取手孔カバー35が単体の場合には、連結部613はフック614がカバー本体部50の下面に接近するように可動体612を付勢しており、可動体612は、カバー本体部50の軸線L2とほぼ平行な方向に向いている。
また、図5に示すように、可動部61の挿入方向の奥側(同図中、上方)のカバー本体部50の下面502には、それぞれ案内用突部62が設けられている。この案内用突部62は、図2および図5に示すように、平面視コ字形状に形成されている。また、案内用突部62は、カバー本体部50の奥側から手前側(図2中、左側から右側)に向けて高くなるように傾斜して設けられている。この案内用突部62によって、取手孔33へのカバー本体部50の挿入を案内することができるとともに、取手孔33へのカバー本体部50の挿入の際に、側板31への衝突から可動部61を保護することができる。
また、図2および図5に示すように、両端の可動部61の間には、薄板状の傾斜突部63が複数(この実施形態では5個)並んで設けられている。この傾斜突部63は、取手孔33へのカバー本体部50の挿入方向(図5中、上下方向)に長く、カバー本体部50の下面502から嵌挿部60の下面602に亘って設けられている。傾斜突部63のうちカバー本体部50の下面502に対応する部分である案内部631は、側面視で案内用突部62とほぼ同一の傾斜を有するように形成されている。また、傾斜突部63のうち嵌挿部60の下面602に対応する部分である当接部632は、図6に示すように、表面が嵌挿部60の上面601とほぼ平行になるように形成されている。
また、図4および図6に示すように、カバー本体部50の上面501には、嵌挿部60の上面601との境界に沿って、抜け止め用突部52が設けられている。この抜け止め用突部52は、取手孔カバー35の幅方向(図4中、左右方向)に長く形成され、図6に示すように、嵌挿部60の上面601に対して垂直に立設されるように、側面視三角形に形成されている。このように、この実施形態では、傾斜突部63の当接部632が本発明の「当接用突部」に相当する。
次に、取手孔カバー35の取手孔33への取付けについて説明する。図7は筐体3の側板31の部分断面図、図8は取手孔カバー35が取手孔33に取り付けられた状態を示す部分断面図である。
取手孔カバー35のカバー本体部50を筐体3の外側(図7および図8中、右側)から取手孔33に挿入すると、カバー本体部50の上面501および下面502が取手孔33の内周面331に摺接しつつ挿入が案内される。次に、傾斜突部63の案内部631および案内用突部62が取手孔33の内周面331に摺接しつつ挿入がさらに案内される。さらに続いて、傾斜突部63の当接部632および可動体612が内周面331に摺接しつつ挿入が案内される。このとき、可動体612は弾性を有し、たとえば撓みつつ内周面331に摺接するため、可動体612が取手孔33への挿入の妨げとなることはない。また、連結部613はフック614がカバー本体部50の下面502に接近するように可動体612を付勢しているため、フック614が嵌挿部60の取手孔33への挿入の妨げとなることはない。
そして、嵌挿部60が取手孔33の内周面331に嵌まり込むと、抜け止め用突部52が取手孔33の上側周縁の筐体3の内側面311に係止するとともに、可動体612が取手孔33の内周面331により押されて付勢力に抗して揺動して、フック614が取手孔33の下側周縁の筐体3の内側面311に係止する。ここで、可動体612は、取手孔33の内周面331により押されているため、フック614の係止が確実に行われる。さらにまた、フランジ部70が取手孔33の周縁の筐体3の外側面312に設けられたフランジ嵌挿用凹部312aに当接する。これによって、取手孔カバー35が確実に筐体3に固定される。
このように、この実施形態によれば、嵌挿部60の下面602に設けられた連結部613と、可動体612のカバー本体部50側に位置する先端に形成されたフック614と、連結部613によって、フック614がカバー本体部50の下面502に接近する方向に付勢されるとともに揺動可能に支持された可動体612とを備え、取手孔33の内周面331への嵌挿部60の嵌まり込みにより、可動体612が揺動してフック614が取手孔33の周縁の筐体3の内側面311に係止するとともに、フランジ部70が取手孔33の周縁の筐体3の外側面312に当接するため、フック614による係止とフランジ部70による当接とによって、取手孔カバー35を確実に筐体3の取手孔33に取り付けることができる。また、ねじなどの別の固定部材を用いておらず、カバー本体部50を取手孔33に挿入して嵌挿部60を取手孔33に嵌め込むだけでよいので、取手孔33への取付けの作業性を大幅に向上することができる。
また、この実施形態によれば、奥部51が閉塞された四角筒状のカバー本体部50を用い、しかもフランジ部70を取手孔33の凹部312aに嵌挿させているため、筐体3の側板31を貫通して穿設されている取手孔33をほぼ密閉することができ、外部から筐体3内に異物を挿入して行う不正ないわゆるゴト行為を確実に防止することができる。
また、この実施形態によれば、合成樹脂で形成された可動体612は弾性を有するため、可動体612が取手孔33への挿入の妨げとなるのを防止することができる。また、連結部613と可動体612と基部611と嵌挿部60とを合成樹脂により一体的に形成しているため、可撓性を有し、その可撓性により可動体612を付勢して支持する連結部613を簡易な構成で容易に実現することができる。また、連結部613は、フック614がカバー本体部50の下面502に接近するように可動体612を付勢しているため、フック614がカバー本体部50の取手孔33への挿入の妨げとなるのを確実に防止できる。
また、この実施形態によれば、カバー本体部50の下面502から嵌挿部60の下面602に亘って、可動部61に並んで傾斜突部63を設けており、傾斜突部63のうち嵌挿部60の下面602に対応する部分である当接部632が、取手孔33の内周面331への嵌挿部60の嵌まり込みにより該内周面331に当接するため、可動体612および当接部632に平均した力が加わることから、可動体612のみに無理な力が加えられて可動体612が破損するような事態を避けることができる。
また、この実施形態によれば、カバー本体部50の下面502の可動体612の挿入方向の奥側には、カバー本体部50の取手孔33への挿入を案内する案内用突部62が設けられているため、カバー本体部50を取手孔33に滑らかに挿入することができる。また、この案内用突部62によって、可動体612が取手孔33の内周面331に衝突して破損するのを未然に防止することができる。
また、この実施形態によれば、嵌挿部60が取手孔33の内周面331に嵌まり込んだ状態で、カバー本体部50の奥部51の上端51aが嵌挿部60の上面601より上方に位置しているため、筐体3を持ち運ぶべく取手孔カバー35に手を差し込むと指先が嵌挿部60に対してカバー本体部50の奥部51で上に向くことから、筐体3の持ち運びを容易に行うことができる。
なお、本発明は上記実施形態に限定されるものではなく、その趣旨を逸脱しない限りにおいて上述したもの以外に種々の変更を行うことが可能である。例えば図9、図10に示す形態の取手孔カバー35でもよい。図9は別の形態の取手孔カバーを示す左側面図、図10は図9の取手孔カバーが取手孔に取り付けられた状態を示す部分断面図である。図9および図10では、上記実施形態と同一構成要素には同一符号を付している。
この形態では、カバー本体部50の上面501は、ほぼ水平、すなわち取手孔33の中心軸L3とほぼ平行になっており、カバー本体部50の下面502は奥部51側が中心軸L3に接近する方向に傾斜している。また、嵌挿部60の上面601はほぼ水平で、カバー本体部50の上面501とほぼ同一面を形成すべく上面501に延設されている。また、嵌挿部60の下面602は、カバー本体部50側が中心軸L3に接近する方向に傾斜しており、カバー本体部50の下面502とほぼ同一面を形成すべく下面502に延設されている。このように、この形態では、嵌挿部60の下面602が本発明の「係止側面」に相当し、嵌挿部60の上面601が本発明の「係止側面の反対面」に相当する。
そして、図9および図10に示す取手孔カバー35の取手孔33への取付手順は上記実施形態と全く同様であり、この形態でも、取手孔カバー35を確実に筐体3の取手孔33に取り付けることができ、取手孔33への取付けの作業性を大幅に向上することができるなど、上記実施形態と同様の効果を奏することができる。ただし、この形態では、カバー本体部50の上面501から嵌挿部60の上面601までほぼ水平であり、筐体3を持ち運ぶべく取手孔カバー35に手を差し込んでも、指先が嵌挿部60に対してカバー本体部50の奥部51で上に向くことがないため、筐体3の持ち運びについては、上記実施形態の方が容易に行える。なお、この形態でも、カバー本体部50の下面502に案内用突部62を形成しているが(図9、図10を参照)、この案内用突部62は特に必要ではなく削除しても構わない。
また、上記実施形態では、可動体612を嵌挿部60の下面602に設け、抜け止め用突部52をカバー本体部50の上面501に設けているが、可動体612および抜け止め用突部52を設ける位置は、これに限られない。たとえば可動体612を嵌挿部60の上面601に設け、抜け止め用突部52をカバー本体部50の下面502に設けてもよい。あるいはまた、左右の面など、それぞれ他の面に設けてもよい。ただし、係止による固定のための力を考えると、可動体612および抜け止め用突部52は、互いに対向する面に設けるのが好ましい。この可動体612および抜け止め用突部52を設ける位置については、図9および図10に示す形態でも同様である。
また、上記実施形態では、取手孔33はほぼ矩形にしているが、これに限られず、他の形状でもよい。この場合、カバー本体部50および嵌挿部60の断面外形は、取手孔33の形状に合わせてほぼ同一形状に形成すればよい。
また、上記実施形態ではスロットマシンとしているが、これに限られず、パチンコ機などの他の遊技機としてもよい。
スロットマシンの外観の要部を示す斜視図である。 本発明の一実施形態である取手孔カバーを斜め下から見た斜視図である。 同取手孔カバーを斜め上から見た斜視図である。 取手孔カバーを示す平面図である。 取手孔カバーを示す底面図である。 取手孔カバーを示す左側面図である。 筐体の側板の部分断面図である。 取手孔カバーが取手孔に取り付けられた状態を示す部分断面図である。 別の形態の取手孔カバーを示す左側面図である。 図9の取手孔カバーが取手孔に取り付けられた状態を示す部分断面図である。
符号の説明
1…スロットマシン、3…筐体、31…側板、311…筐体の内側面、312…筐体の外側面、33…取手孔、331…取手孔の内周面、35…取手孔カバー、50…カバー本体部、501…カバー本体部の上面、502…カバー本体部の下面、51…奥部、52…抜け止め用突部、60…嵌挿部、601…嵌挿部の上面(係止側面の反対面)、602…嵌挿部の下面(係止側面)、61…可動部、612…可動体、613…連結部、614…フック、62…案内用突部、63…傾斜突部、632…当接部(当接用突部)、70…フランジ部、L1…嵌挿部の軸線、L2…カバー本体部の軸線、L3…取手孔の中心軸

Claims (7)

  1. 遊技機の筐体に穿設された取手孔に取り付けられる取手孔カバーにおいて、
    奥部が閉塞された筒状を有し、前記筐体の外側から前記取手孔に挿入されるカバー本体部と、
    前記カバー本体部の開口に、前記カバー本体部の軸線に対してその軸線が傾斜して延設され前記取手孔の内周面に嵌まり込む短筒状の嵌挿部と、
    前記嵌挿部の開口端に設けられたフランジ部と、
    前記嵌挿部の外周面に設けられた連結部と、
    弾性を有した棒状であり、そのほぼ中央部で前記連結部によって揺動可能に支持された可動体と、
    前記可動体の前記カバー本体部側に位置する先端に形成されたフックとを備え、
    前記カバー本体部の前記取手孔への挿入に伴い、前記可動体が前記取手孔の内周面を摺接し、
    前記取手孔の内周面への前記嵌挿部の嵌まり込みにより、前記可動体が揺動して前記フックが前記取手孔の周縁の前記筐体の内側面に係止するとともに、前記フランジ部が前記取手孔の周縁の前記筐体の外側面に当接することを特徴とする遊技機用筐体の取手孔カバー。
  2. 遊技機の筐体に穿設された取手孔に取り付けられる取手孔カバーにおいて、
    奥部が閉塞された筒状を有し、前記筐体の外側から前記取手孔に挿入されるカバー本体部と、
    前記カバー本体部の開口に延設され、前記カバー本体部側が前記取手孔の中心軸に接近する方向に傾斜した係止側面と、前記中心軸とほぼ平行な前記係止側面の反対面とを有し、前記取手孔の内周面に嵌まり込む短筒状の嵌挿部と、
    前記嵌挿部の開口端に設けられたフランジ部と、
    前記嵌挿部の前記係止側面の外周面に設けられた連結部と、
    弾性を有した棒状であり、そのほぼ中央部で前記連結部によって揺動可能に支持された可動体と、
    前記可動体の前記カバー本体部側に位置する先端に形成されたフックとを備え、
    前記カバー本体部の前記取手孔への挿入に伴い、前記可動体が前記取手孔の内周面を摺接し、
    前記取手孔の内周面への前記嵌挿部の嵌まり込みにより、前記可動体が揺動して前記フックが前記取手孔の周縁の前記筐体の内側面に係止するとともに、前記フランジ部が前記取手孔の周縁の前記筐体の外側面に当接することを特徴とする遊技機用筐体の取手孔カバー。
  3. 前記可動体は、前記フックが前記嵌挿部の外周面に接近するように付勢されていることを特徴とする請求項1または2に記載の遊技機用筐体の取手孔カバー。
  4. 前記取手孔はほぼ矩形で、
    前記カバー本体部および前記嵌挿部の断面外形は前記取手孔とほぼ同一形状を有し、
    前記可動体は前記嵌挿部の下面に少なくとも1個設けられ、
    前記嵌挿部の上面には、前記嵌挿部の前記取手孔への嵌まり込みにより前記取手孔の周縁の前記筐体の内側面の上部に係止する抜け止め用突部が設けられていることを特徴とする請求項1ないし3のいずれかに記載の遊技機用筐体の取手孔カバー。
  5. 前記嵌挿部の下面には、前記取手孔の内周面への前記嵌挿部の嵌まり込みにより該内周面に当接する当接用突部が、前記可動体に並んで少なくとも1個設けられていることを特徴とする請求項4に記載の遊技機用筐体の取手孔カバー。
  6. 前記カバー本体部の下面の前記可動体の挿入方向の奥側には、前記カバー本体部の前記取手孔への挿入を案内する案内用突部が設けられていることを特徴とする請求項4または5に記載の遊技機用筐体の取手孔カバー。
  7. 前記嵌挿部が前記取手孔の内周面に嵌まり込んだ状態で、前記カバー本体部の奥部の上端が前記嵌挿部の上面より上方に位置していることを特徴とする請求項1ないし6のいずれかに記載の遊技機用筐体の取手孔カバー。
JP2003304249A 2003-08-28 2003-08-28 遊技機用筐体の取手孔カバー Expired - Fee Related JP4192058B2 (ja)

Priority Applications (1)

Application Number Priority Date Filing Date Title
JP2003304249A JP4192058B2 (ja) 2003-08-28 2003-08-28 遊技機用筐体の取手孔カバー

Applications Claiming Priority (1)

Application Number Priority Date Filing Date Title
JP2003304249A JP4192058B2 (ja) 2003-08-28 2003-08-28 遊技機用筐体の取手孔カバー

Publications (2)

Publication Number Publication Date
JP2005073726A true JP2005073726A (ja) 2005-03-24
JP4192058B2 JP4192058B2 (ja) 2008-12-03

Family

ID=34407989

Family Applications (1)

Application Number Title Priority Date Filing Date
JP2003304249A Expired - Fee Related JP4192058B2 (ja) 2003-08-28 2003-08-28 遊技機用筐体の取手孔カバー

Country Status (1)

Country Link
JP (1) JP4192058B2 (ja)

Cited By (8)

* Cited by examiner, † Cited by third party
Publication number Priority date Publication date Assignee Title
JP2005211417A (ja) * 2004-01-30 2005-08-11 Samii Kk 遊技機用外枠
JP2007105378A (ja) * 2005-10-17 2007-04-26 Samii Kk 遊技機
JP2008018091A (ja) * 2006-07-13 2008-01-31 Matsuroku Kk パイプ用のキャップ
JP2009291513A (ja) * 2008-06-09 2009-12-17 Sammy Corp 遊技機の筐体
JP2014076301A (ja) * 2013-09-19 2014-05-01 Sammy Corp 遊技機の筐体
JP6350925B1 (ja) * 2017-03-30 2018-07-04 ハイライツ・エンタテインメント株式会社 遊技機
JP6994283B1 (ja) 2020-10-30 2022-01-14 株式会社大都技研 遊技台
JP2022040782A (ja) * 2020-08-31 2022-03-11 株式会社大都技研 遊技台

Cited By (9)

* Cited by examiner, † Cited by third party
Publication number Priority date Publication date Assignee Title
JP2005211417A (ja) * 2004-01-30 2005-08-11 Samii Kk 遊技機用外枠
JP2007105378A (ja) * 2005-10-17 2007-04-26 Samii Kk 遊技機
JP2008018091A (ja) * 2006-07-13 2008-01-31 Matsuroku Kk パイプ用のキャップ
JP2009291513A (ja) * 2008-06-09 2009-12-17 Sammy Corp 遊技機の筐体
JP2014076301A (ja) * 2013-09-19 2014-05-01 Sammy Corp 遊技機の筐体
JP6350925B1 (ja) * 2017-03-30 2018-07-04 ハイライツ・エンタテインメント株式会社 遊技機
JP2022040782A (ja) * 2020-08-31 2022-03-11 株式会社大都技研 遊技台
JP6994283B1 (ja) 2020-10-30 2022-01-14 株式会社大都技研 遊技台
JP2022073948A (ja) * 2020-10-30 2022-05-17 株式会社大都技研 遊技台

Also Published As

Publication number Publication date
JP4192058B2 (ja) 2008-12-03

Similar Documents

Publication Publication Date Title
JP4192058B2 (ja) 遊技機用筐体の取手孔カバー
JP2009183344A (ja) 弾球遊技機のスルーチャッカー
JP5142185B2 (ja) 遊技機
JP4557587B2 (ja) 遊技機
JP4348675B2 (ja) 遊技機
JP4505541B2 (ja) 基板収納ケースの取付構造
JP2009045484A (ja) 遊技機
JP2007029443A (ja) 遊技機の基板ボックス保持構造
JP4818602B2 (ja) 遊技機
JP5876964B1 (ja) 遊技機用封止部材付きカバー及び遊技機
JP5574129B2 (ja) 遊技機
JP4615452B2 (ja) 遊技機
JP4943414B2 (ja) スロットマシン
JP4352418B2 (ja) 遊技機
JP2009219567A (ja) 遊技機
JP5368385B2 (ja) 遊技機
JP2005296542A (ja) 遊技機
JP4054636B2 (ja) 弾球遊技機
JP2012010916A (ja) 遊技機
JP2007252490A (ja) 錠装置及び遊技機
JP5543858B2 (ja) 遊技機
JP2009178595A (ja) 遊技機用筐体の取手孔カバー
JP2004081597A (ja) 弾球遊技機
JP6145199B1 (ja) 遊技機用部材の固定構造及び遊技機
JP2006136476A (ja) 遊技機

Legal Events

Date Code Title Description
A621 Written request for application examination

Free format text: JAPANESE INTERMEDIATE CODE: A621

Effective date: 20050615

A131 Notification of reasons for refusal

Free format text: JAPANESE INTERMEDIATE CODE: A131

Effective date: 20080708

A977 Report on retrieval

Free format text: JAPANESE INTERMEDIATE CODE: A971007

Effective date: 20080709

A521 Request for written amendment filed

Free format text: JAPANESE INTERMEDIATE CODE: A523

Effective date: 20080819

TRDD Decision of grant or rejection written
A01 Written decision to grant a patent or to grant a registration (utility model)

Free format text: JAPANESE INTERMEDIATE CODE: A01

Effective date: 20080916

A01 Written decision to grant a patent or to grant a registration (utility model)

Free format text: JAPANESE INTERMEDIATE CODE: A01

A61 First payment of annual fees (during grant procedure)

Free format text: JAPANESE INTERMEDIATE CODE: A61

Effective date: 20080919

FPAY Renewal fee payment (event date is renewal date of database)

Free format text: PAYMENT UNTIL: 20110926

Year of fee payment: 3

R150 Certificate of patent or registration of utility model

Ref document number: 4192058

Country of ref document: JP

Free format text: JAPANESE INTERMEDIATE CODE: R150

Free format text: JAPANESE INTERMEDIATE CODE: R150

FPAY Renewal fee payment (event date is renewal date of database)

Free format text: PAYMENT UNTIL: 20140926

Year of fee payment: 6

R250 Receipt of annual fees

Free format text: JAPANESE INTERMEDIATE CODE: R250

R250 Receipt of annual fees

Free format text: JAPANESE INTERMEDIATE CODE: R250

R250 Receipt of annual fees

Free format text: JAPANESE INTERMEDIATE CODE: R250

R250 Receipt of annual fees

Free format text: JAPANESE INTERMEDIATE CODE: R250

LAPS Cancellation because of no payment of annual fees