JP2004353420A - 排水桝の連結装置 - Google Patents

排水桝の連結装置 Download PDF

Info

Publication number
JP2004353420A
JP2004353420A JP2003155831A JP2003155831A JP2004353420A JP 2004353420 A JP2004353420 A JP 2004353420A JP 2003155831 A JP2003155831 A JP 2003155831A JP 2003155831 A JP2003155831 A JP 2003155831A JP 2004353420 A JP2004353420 A JP 2004353420A
Authority
JP
Japan
Prior art keywords
drainage basin
packing unit
annular
drainage
basin body
Prior art date
Legal status (The legal status is an assumption and is not a legal conclusion. Google has not performed a legal analysis and makes no representation as to the accuracy of the status listed.)
Granted
Application number
JP2003155831A
Other languages
English (en)
Other versions
JP4179925B2 (ja
Inventor
Naoshi Shimoda
直志 霜田
Current Assignee (The listed assignees may be inaccurate. Google has not performed a legal analysis and makes no representation or warranty as to the accuracy of the list.)
Maezawa Kasei Industries Co Ltd
Original Assignee
Maezawa Kasei Industries Co Ltd
Priority date (The priority date is an assumption and is not a legal conclusion. Google has not performed a legal analysis and makes no representation as to the accuracy of the date listed.)
Filing date
Publication date
Application filed by Maezawa Kasei Industries Co Ltd filed Critical Maezawa Kasei Industries Co Ltd
Priority to JP2003155831A priority Critical patent/JP4179925B2/ja
Publication of JP2004353420A publication Critical patent/JP2004353420A/ja
Application granted granted Critical
Publication of JP4179925B2 publication Critical patent/JP4179925B2/ja
Anticipated expiration legal-status Critical
Expired - Fee Related legal-status Critical Current

Links

Images

Landscapes

  • Sewage (AREA)

Abstract

【課題】複数の排水桝本体を水密に直接接続でき、止水するパッキンユニットを排水桝本体の接続部に確実に取り付けることができ、排水桝本体の接続作業が容易にできる。
【解決手段】排水桝本体1のフランジ部5,6にそれぞれ同一形状のパッキンユニット11を嵌合する環状のパッキンユニット嵌合凹部7,8を流入口2および流出口3のそれぞれ開口縁の周縁に形成する。環状のパッキンユニット嵌合凹部7,8に嵌合したパッキンユニット11は、排水桝本体1の流入口2および流出口3の内周と略一致する内径を有する環状保持部材12と、環状保持部材12の外周に嵌着し互いにフランジ部5,6を連結した排水桝本体1のパッキンユニット嵌合凹部7,8の内周面に圧着する環状弾性部材13とにて形成する。
【選択図】 図1

Description

【0001】
【発明の属する技術分野】
本発明は、建造物からの排水枝管を接続する排水桝において、特に複数の排水桝を連結して、例えば、建造物の床下に設置する場合に適した排水桝の連結装置に関する。
【0002】
【従来の技術】
従来、建造物内の各排水設備に接続した排水枝管を、建造物の床下から建物外の宅地内に配管し、宅地内に配管した排水管に接続する場合は、建造物から導出した排水枝管の接続部にそれぞれ排水桝を設置する必要がある。
【0003】
また、建造物から導出した排水枝管の接続部にそれぞれ排水桝を設置するには、狭い箇所に排水桝を設置しなくてはならない場合もあり、排水枝管が排水管の配設箇所から離れた位置に宅地内に導出されると排水管を延長して排水桝を設置しなければならず、配管の作業性が悪いなどの問題があり、この問題点を解決するために、各排水設備に接続された各排水枝管をそれぞれ接続する排水桝を、建物の床下にまとめて設置する方法が提案されている(例えば、特許文献1参照。)。
【0004】
【特許文献1】
特開平10−299073号公報(第3‐4頁、図1)
【0005】
【発明が解決しようとする課題】
しかしながら、建造物の床下に排水桝を集中的に設置する場合には、建造物外に設置する場合と違い、建造物の排水設備の位置がそれぞれ異なり、この各排水設備に接続した排水枝管は、集中的に配設された排水桝本体に対する流入方向がそれぞれ異なるため、この流入方向が異なる各排水枝管を集中的に設置された各排水桝にそれぞれ接続するためには、左側側部に枝管流入口が開口した排水桝本体と、右側側部に枝管流入口が開口した排水桝本体の2種類が必要になり、各排水桝本体ごとに高価な金型を用意しなければならず、経済性に問題があった。
【0006】
また、排水桝本体を連結する際に、排水桝本体の流入口と流出口にフランジ部を形成し、Oリングを介してボルトとナットで締結することにより、連結した排水桝全体の長さを短くすることが考えられる。しかし、隣接した排水桝本体のフランジ部を互いに接合することにより排水桝本体を互いに連結する場合、通常、一方のフランジ部の端面にOリング保持溝を形成し、他方のフランジ部の端面は平滑面とするため、排水桝の接合方向は必然的に定まってしまい、例えば、排水桝本体を水平方向に反転させて枝管流入口を左右兼用とするような使い方はできない。
【0007】
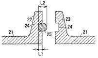
一方、排水桝本体の流入口および流出口にそれぞれ形成するフランジ部の端面を同一形状とすることは可能であるが、この場合には、図10に示すように、排水桝本体21,21のフランジ部22,23にそれぞれ互いに対向してOリング保持溝24,24をそれぞれ設けることが考えられる。そこで、排水桝本体21の枝管流入口を左右兼用とするには、当然に、Оリング保持溝24,24も流入側と流出側とを同一形状としなくてはならない。
【0008】
そして、排水桝本体21のフランジ部22,23に形成するОリング保持溝24,24の深さ寸法Lは、Оリング25によって止水するために必要な潰し代寸法をとるために、Oリング25の厚み寸法Lの二分の一よりも浅い寸法とする必要がある。
【0009】
このように、枝管流入口を左右兼用とすると、排水桝本体21のフランジ部22,23に形成するОリング保持溝24,24の深さ寸法LがOリングの厚み寸法Lの二分の一よりも浅いと、図11に示すように、排水桝本体21,21の接続作業に際して、一方の排水桝本体21のフランジ部22に形成したОリング保持溝24にОリング25を嵌合して結合する排水桝本体21のフランジ部22,23を互いに接続するときに、Oリング25がОリング保持溝24から脱落し易いという問題がある。
【0010】
さらに、Оリング保持溝24にOリング25を嵌合して、図12に示すようにフランジ部22,23をボルト、ナットにて締め付け結合する際には、Oリング25の反力のために排水桝本体21,21の接続作業をし難い問題がある。
【0011】
また、枝管流入口を排水桝本体の左右両側部に開口し、使用しない枝管流入口はプラグで閉塞する方法など、プラグを使用して左右兼用とする方法も知られているが、このような排水桝本体は成形するための構造が複雑となり、また、プラグの成形型も必要となり、経済性に問題がある。
【0012】
本発明は、上記問題点に鑑みなされたもので、複数の排水桝本体を直接接続できるとともに、互いに接続する排水桝本体の接続部において、容易に水密な接続ができ、止水するためのパッキンユニットを排水桝本体の接続部に確実に取り付けることができる排水桝の連結装置を提供するものである。
【0013】
【課題を解決するための手段】
請求項1記載の発明の排水桝の連結装置は、上部に掃除口を開口するとともに側部に枝管流入口を開口し、かつ、両端部に流入口と流出口とを開口し、この流入口と流出口とを底部に形成したインバート部にて連通し、この流入口および流出口の外周部にそれぞれフランジ部を形成した排水桝本体と、この排水桝本体のフランジ部を互いに水密に保持するパッキンユニットとを備え、前記排水桝本体のフランジ部の両端面にそれぞれ同一形状でかつ前記パッキンユニットを嵌合する環状のパッキンユニット嵌合凹部を前記排水桝本体の流入口および流出口のそれぞれ開口縁の周縁に形成し、この環状のパッキンユニット嵌合凹部に嵌合した前記パッキンユニットは、前記排水桝本体の流入口および流出口の内周と略一致する内径を有する環状保持部材と、この環状保持部材の外周に嵌着され互いにフランジ部を連結した前記排水桝本体のパッキンユニット嵌合凹部の内周面に圧着して環状の止水部を形成する環状弾性部材とにて構成したものである。
【0014】
そして、排水桝本体の流入口および流出口の外周部に形成したフランジ部を互いに直接接続することが可能になり、また、排水桝本体を互いに接続するに際し、接続する一方の排水桝本体のフランジ部に形成された環状のパッキンユニット嵌合凹部にパッキンユニットを嵌合し、フランジ部の端面から突出した前記パッキンユニットに他方の排水桝本体のパッキンユニット嵌合凹部を嵌合してフランジ部を互いに接合すると、このパッキンユニットは排水桝本体のフランジ部に設けた環状のパッキンユニット嵌合凹部に圧入されるので、前記排水桝本体を水密に接続することができ、また、このパッキンユニットが排水桝本体から脱落することが確実に防止できる。
【0015】
さらに、環状のパッキンユニット嵌合凹部に嵌合するパッキンユニットは、排水桝本体の環状保持部材の外周に排水桝本体のパッキンユニット嵌合凹部の内周面に圧着して環状の止水部を形成する環状弾性部材を嵌合したので、環状弾性部材の圧縮方向が排水桝本体の接続方向に対して垂直方向となり、排水桝本体を互いに接続する際に、排水桝本体を接続方向に環状弾性部材の反力が掛ることがなく、排水桝本体を容易に接続することができ、しかも、排水桝本体のフランジ部をしっかりと固定しなくても、パッキンユニットが抜けはずれない程度の保持力で接続できる。
【0016】
請求項2記載の発明の排水桝の連結装置は、請求項1記載の排水桝の連結装置において、パッキンユニットの環状保持部材の外周面には、環状弾性部材を保持する係合部を環状に形成したものである。
【0017】
そして、パッキンユニットの環状保持部材の外周面に形成した環状の係合部に環状弾性部材を係合保持することにより、パッキンユニットを排水桝本体のパッキンユニット嵌合凹部に圧入嵌合したとき、環状弾性部材がずれることなく、確実に止水でき、また、パッキンユニットをパッキンユニット嵌合凹部に容易に取り付けることが容易にできる。
【0018】
請求項3記載の発明の排水桝の連結装置は、請求項1または2記載の排水桝の連結装置において、パッキンユニットの環状弾性部材の外周面に、排水桝本体のフランジ部に形成したパッキンユニット嵌合凹部の内周面に圧着する少なくとも2条の環状リッブ部を形成したものである。
【0019】
そして、排水桝本体のフランジ部に形成したパッキンユニット嵌合凹部にパッキンユニットを嵌合すると、このパッキンユニットの環状弾性部材に形成した少なくとも2条の環状リッブ部がパッキンユニット嵌合凹部の内周面に圧着して少なくとも2条の環状の止水部を形成し、1つの環状弾性部材にて確実に止水効果が得られ、部品数が少なく安価に得られる。
【0020】
請求項4記載の発明の排水桝の連結装置は、請求項1ないし3のいずれかに記載の排水桝の連結装置において、排水桝本体の枝管流入口は、この枝管流入口の軸芯を中心として左右対称に形成したものである。
【0021】
そして、排水桝本体の左方向に排水枝管が配管される場合には、排水桝本体の枝管流入口を左方向に向けてこの枝管流入口に排水枝管を接続することができる一方で、排水桝本体の右方向に排水枝管が配管される場合には、排水桝本体を水平方向に反転させて枝管流入口を右方向に向けて、枝管流入口に排水枝管を接続することができ、また、枝管流入口を左右いずれの側に向けても排水の流れに支障をきたさない。また、前記排水桝本体は簡単な構造であり、この排水桝本体を成形するための金型の構造が複雑になることがないため、排水桝本体の作成コストを低く抑えることが可能になる。
【0022】
【発明の実施の形態】
以下、本発明の排水桝の連結装置における一実施の形態の構成を図面を参照して説明する。
【0023】
図1ないし図5に示すように、排水桝本体1は合成樹脂にて成形され、両端部には流入口2と流出口3とが開口され、この流入口2と流出口3とは内底部に形成されたインバート部4にて連通され、この流入口2および流出口3の外周部に沿って径方向外側にはフランジ部5,6がそれぞれ径方向に向かって環状に突出して形成されている。
【0024】
そして、前記排水桝本体1のフランジ部5,6の両端面にそれぞれ同一形状の環状のパッキンユニット嵌合凹部7,8が前記排水桝本体1の流入口2および流出口3のそれぞれ開口縁の周縁に形成されている。
【0025】
また、前記排水桝本体1の側部にはインバート部4に連通する枝管流入口9が、この排水桝本体1の側面からインバート部4と直交する方向に筒状に突出形成され、この枝管流入口9はその軸芯を中心として左右対称に形成されている。
【0026】
また、この各排水桝本体1の上部には、前記インバート部4の上方に位置して上面に開口した掃除口10が筒状に突設形成され、この掃除口10の下方側方に位置して前記枝管流入口9が開口し、また、この掃除口10にはそれぞれ掃除口蓋(図示せず)が着脱自在に設けられる。
【0027】
また、最上流端に配設される排水桝本体1の流入口2は、フランジ部5,6の端面と略同一形状の着脱自在に取り付けた閉塞板(図示せず)にて閉塞される。
【0028】
また、図1、図5および図6に示すように、前記排水桝本体1のフランジ部5,6に形成したパッキンユニット嵌合凹部7,8に嵌合されるパッキンユニット11は環状保持部材12と環状弾性部材13とにて構成されている。
【0029】
この環状保持部材12は前記排水桝本体1の流入口2および流出口3の内周と略一致する内径を有し、かつ前記パッキンユニット嵌合凹部7,8と略同一の環状に塩化ビニル樹脂などの材料によって成形されている。また、このパッキンユニット11の軸方向の寸法は前記パッキンユニット嵌合凹部7,8の深さの略2倍となっている。なお、パッキンユニット11は軸方向に垂直な平面に対して対称であるため、方向性がないので水平方向に反転させて前記排水桝本体1のパッキンユニット嵌合凹部7,8に嵌合しても問題はない。
【0030】
また、前記環状保持部材12の外周面には前記環状弾性部材13を保持する凹溝状の係合部14が環状に2条平行に形成され、この係合部14に係合して前記環状保持部材12の外周に嵌着されたOリングなどの環状弾性部材13は、互いにフランジ部5,6を連結した前記排水桝本体1のパッキンユニット嵌合凹部7,8の内周面に圧着して環状の止水部を形成する。
【0031】
なお、前記環状弾性部材13は、前記係合部14と略同一の環状で、断面形状は、前記係合部14の溝幅と略同一の直径を有する円形で、前記係合部14の深さは溝幅よりも小さい寸法で、前記環状保持部材12の係合部14に環状弾性部材13を嵌着した状態で、この環状弾性部材13の径方向の一部は前記環状保持部材12の外周面から突出する。
【0032】
また、前記排水桝本体1のフランジ部5,6を結合する保持体15は、両側縁に沿ってフランジ部5,6に係合する保持縁16を有し、接合したフランジ部5,6の外周面に巻回した状態で保持縁16がフランジ部5,6を挟着保持する。この場合、保持手段である保持体15は、ボルト、ナットによる接合構造よりも小さい力で保持できるので、保持手段を簡単な構造で小形にでき、排水桝本体1の高さを低くすることができる。
【0033】
なお、前記各排水桝本体1のフランジ部5,6はボルト、ナットにて接合する構成とすることもできる。
【0034】
さらに、前記排水桝本体1の下部には、この排水桝本体1を建造物の床下べた基礎面に支持する支持台部17が一体に設けられている。また、この排水桝本体1の支持台部17はこの排水桝本体1を床下べた基礎面から浮上した状態で床下面に吊下げ支持することもできる。
【0035】
次に、本発明の排水桝の施工方法について説明する。
【0036】
排水桝本体1を順次フランジ部5,6にて接合する際には、まず、排水枝管(図示せず)の配管レイアウトに応じ、排水桝本体1の連結数と各排水桝本体1の枝管流入口9の開口方向を決める。次に、連結する複数の排水桝本体1,1…のうち一方の排水桝本体1の例えば、一方のフランジ部5のパッキンユニット嵌合凹部7にパッキンユニット11を圧入嵌着する。この状態で、パッキンユニット嵌合凹部7に嵌合されたパッキンユニット11の環状保持部材12の軸方向の略半分はこのパッキンユニット嵌合凹部7から突出し、排水桝本体1のフランジ部5から突出する。
【0037】
次に、前記一方の排水桝本体1のフランジ部5のパッキンユニット嵌合凹部7から突出したパッキンユニット11を他方の排水桝本体1のフランジ部6のパッキンユニット嵌合凹部8の位置に合わせ、一方の排水桝本体1のフランジ部5と他方の排水桝本体1のフランジ部6とを互いに接合させて、パッキンユニット11を他方の排水桝本体1のパッキンユニット嵌合凹部8に嵌合させる。この際、環状弾性部材13は排水桝本体1,1の接合方向に反力は作用しないため、排水桝本体1,1の接続作業が容易にできる。この排水桝本体1,1を接合した状態で、両排水桝本体1,1のフランジ部5,6に保持体15を巻回してフランジ部5,6を結合保持する。
【0038】
この状態で、パッキンユニット11が排水桝本体1のパッキンユニット嵌合凹部7,8に挟着され、パッキンユニット11の環状保持部材12の係合部14に係合保持された環状弾性部材13,13が両排水桝本体1のパッキンユニット嵌合凹部7,8の内周面に圧着して環状の止水部を形成し、排水桝本体1のフランジ部5,6の接合部は互いに水密に保持される。
【0039】
なお、排水桝本体1の枝管流入口9は、軸芯を中心として左右対称に形成されているため、排水桝本体1の枝管流入口9を排水枝管(図示せず)の接続方向に向けてこの排水桝本体1を接続することにより、枝管流入口9にそれぞれ排水枝管(図示せず)を接続することができ、排水桝本体1の左右いずれの側に配設された排水枝管(図示せず)であっても枝管流入口9に接続することができる。
【0040】
また、排水桝本体1の掃除口10は、それぞれ掃除口蓋(図示せず)によって着脱自在に閉塞する。
【0041】
次に、他の実施の形態を図7及び図8に基づいて説明する。
【0042】
前記実施の形態では、パッキンユニット11の環状保持部材12の外周面には、環状弾性部材13,13を保持する係合部14を2条平行に環状に形成した構成について説明したが、この実施の形態においては、パッキンユニット11の環状保持部材12の外周面には、1つの帯状環状弾性部材13を保持する凹溝状の係合部14を1条環状に形成し、この帯状環状弾性部材13の外周面には接合された排水桝本体1,1のフランジ部5,6に形成したパッキンユニット嵌合凹部7,8の内周面に圧着する2条の環状リッブ部18,18を形成したものである。そして、他の構成は前記実施の形態と同一である。
【0043】
この構成では、排水桝本体1のフランジ部5,6に形成したパッキンユニット嵌合凹部7,8にパッキンユニット11を嵌合すると、このパッキンユニット11の環状弾性部材13に形成した少なくとも2条の環状リッブ部18,18がパッキンユニット嵌合凹部7,8の内周面に圧着して少なくとも2条の環状の止水部を形成し、1つの環状弾性部材13にて確実に止水効果が得られ、部品数が少なく安価に得られる。また、他の作用は前記実施の形態と同一である。
【0044】
また、図9に示すように、図7及び図8に示す実施の形態において、パッキンユニット11の環状保持部材12の外周面には、1つの帯状環状弾性部材13を保持する突起状の係合部14を1条環状に形成し、この帯状環状弾性部材13の内周面に突起状の係合部14に係合する凹溝状の被係合部19を形成し、外周面には接合された排水桝本体1,1のフランジ部5,6に形成したパッキンユニット嵌合凹部7,8の内周面に圧着する2条の環状リッブ部18,18を形成したものである。そして、他の構成は前記実施の形態と同一である。
【0045】
この構成でも、排水桝本体1のフランジ部5,6に形成したパッキンユニット嵌合凹部7,8にパッキンユニット11を嵌合すると、このパッキンユニット11の環状弾性部材13に形成した少なくとも2条の環状リッブ部18,18がパッキンユニット嵌合凹部7,8の内周面に圧着して少なくとも2条の環状の止水部を形成し、1つの環状弾性部材13にて確実に止水効果が得られ、部品数が少なく安価に得られる。また、他の作用は前記実施の形態と同一である。
【0046】
【発明の効果】
請求項1記載の発明によれば、排水桝本体の流入口および流出口の外周部に形成したフランジ部を互いに直接接続することが可能になり、また、排水桝本体を互いに接続するに際し、接続する一方の排水桝本体のフランジ部に形成された環状のパッキンユニット嵌合凹部にパッキンユニットを嵌合し、フランジ部の端面から突出した前記パッキンユニットに他方の排水桝本体のパッキンユニット嵌合凹部を嵌合してフランジ部を互いに接合すると、このパッキンユニットは排水桝本体のフランジ部に設けた環状のパッキンユニット嵌合凹部に圧入されるので、前記排水桝本体を水密に接続することができ、また、このパッキンユニットが排水桝本体から脱落することが確実に防止できる。
【0047】
さらに、環状のパッキンユニット嵌合凹部に嵌合するパッキンユニットは、排水桝本体の環状保持部材の外周に排水桝本体のパッキンユニット嵌合凹部の内周面に圧着して環状の止水部を形成する環状弾性部材を嵌合したので、環状弾性部材は排水桝本体の接続方向に反力が作用しないため、排水桝本体の接続作業が容易になる。
【0048】
請求項2記載の発明によれば、パッキンユニットを排水桝本体のパッキンユニット嵌合凹部に圧入嵌合したとき、環状弾性部材がずれることなく、確実に止水でき、また、パッキンユニットをパッキンユニット嵌合凹部に容易に取り付けることが容易にできる。
【0049】
請求項3記載の発明によれば、パッキンユニットの環状弾性部材に形成した少なくとも2条の環状リッブ部がパッキンユニット嵌合凹部の内周面に圧着して少なくとも2条の環状の止水部を形成し、1つの環状弾性部材にて確実に止水効果が得られ、部品数が少なく安価に得られる。
【0050】
請求項4記載の発明によれば、排水桝本体の左方向に排水枝管が配管される場合には、排水桝本体の枝管流入口を左方向に向けて、または、排水桝本体の右方向に排水枝管が配管される場合には、排水桝本体を水平方向に反転させて枝管流入口を右方向に向けて、枝管流入口に排水枝管を接続することができ、また、枝管流入口を左右いずれの側に向けても排水の流れに支障をきたすことがない。また、前記排水桝本体は簡単な構造であり、この排水桝本体を成形するための金型の構造が複雑になることがないため、排水桝本体の作成コストを低く抑えることが可能になる。
【図面の簡単な説明】
【図1】本発明の一実施の形態を示す排水桝本体の縦断正面図である。
【図2】同上排水桝本体の平面図である。
【図3】同上排水桝本体の側面図である。
【図4】同上パッキンユニットの側面図である。
【図5】同上パッキンユニットの縦断正面図である。
【図6】同上排水桝本体を連結した状態を示す一部の縦断正面図である。
【図7】本発明の他の実施の形態を示す排水桝の連結装置の一部の縦断正面図である。
【図8】同上パッキンユニットの縦断正面図である。
【図9】本発明の他の実施の形態を示す排水桝の連結装置のパッキンユニットの縦断正面図である。
【図10】本発明の前提となる排水桝本体の接続状態を示す一部の縦断正面図である。
【図11】同上排水桝本体の接続前の状態を示す一部の拡大縦断正面図である。
【図12】同上排水桝本体の接続状態を示す一部の拡大縦断正面図である。
【符号の説明】
1 排水桝本体
2 流入口
3 流出口
4 インバート部
5,6 フランジ部
7,8 パッキンユニット嵌合凹部
9 枝管流入口
10 掃除口
11 パッキンユニット
12 環状保持部材
13 環状弾性部材
14 係合部
18 環状リッブ部

Claims (4)

  1. 上部に掃除口を開口するとともに側部に枝管流入口を開口し、かつ、両端部に流入口と流出口とを開口し、この流入口と流出口とを底部に形成したインバート部にて連通し、この流入口および流出口の外周部にそれぞれフランジ部を形成した排水桝本体と、
    この排水桝本体のフランジ部を互いに水密に保持するパッキンユニットと
    を備え、
    前記排水桝本体のフランジ部の両端面にそれぞれ同一形状でかつ前記パッキンユニットを嵌合する環状のパッキンユニット嵌合凹部を前記排水桝本体の流入口および流出口のそれぞれ開口縁の周縁に形成し、
    この環状のパッキンユニット嵌合凹部に嵌合した前記パッキンユニットは、前記排水桝本体の流入口および流出口の内周と略一致する内径を有する環状保持部材と、この環状保持部材の外周に嵌着され互いにフランジ部を連結した前記排水桝本体のパッキンユニット嵌合凹部の内周面に圧着して環状の止水部を形成する環状弾性部材とにて構成した
    ことを特徴とする排水桝の連結装置。
  2. パッキンユニットの環状保持部材の外周面には、環状弾性部材を保持する係合部を環状に形成した
    ことを特徴とする請求項1記載の排水桝の連結装置。
  3. パッキンユニットの環状弾性部材の外周面に、排水桝本体のフランジ部に形成したパッキンユニット嵌合凹部の内周面に圧着する少なくとも2条の環状リッブ部を形成した
    ことを特徴とする請求項1または2記載の排水桝の連結装置。
  4. 排水桝本体の枝管流入口は、この枝管流入口の軸芯を中心として左右対称に形成した
    ことを特徴とする請求項1ないし3のいずれかに記載の排水桝の連結装置。
JP2003155831A 2003-05-30 2003-05-30 排水桝の連結装置 Expired - Fee Related JP4179925B2 (ja)

Priority Applications (1)

Application Number Priority Date Filing Date Title
JP2003155831A JP4179925B2 (ja) 2003-05-30 2003-05-30 排水桝の連結装置

Applications Claiming Priority (1)

Application Number Priority Date Filing Date Title
JP2003155831A JP4179925B2 (ja) 2003-05-30 2003-05-30 排水桝の連結装置

Publications (2)

Publication Number Publication Date
JP2004353420A true JP2004353420A (ja) 2004-12-16
JP4179925B2 JP4179925B2 (ja) 2008-11-12

Family

ID=34050118

Family Applications (1)

Application Number Title Priority Date Filing Date
JP2003155831A Expired - Fee Related JP4179925B2 (ja) 2003-05-30 2003-05-30 排水桝の連結装置

Country Status (1)

Country Link
JP (1) JP4179925B2 (ja)

Cited By (2)

* Cited by examiner, † Cited by third party
Publication number Priority date Publication date Assignee Title
JP2015078595A (ja) * 2014-09-24 2015-04-23 アロン化成株式会社 汚水排出システム
JP2015078513A (ja) * 2013-10-16 2015-04-23 アロン化成株式会社 汚水排出システム

Cited By (2)

* Cited by examiner, † Cited by third party
Publication number Priority date Publication date Assignee Title
JP2015078513A (ja) * 2013-10-16 2015-04-23 アロン化成株式会社 汚水排出システム
JP2015078595A (ja) * 2014-09-24 2015-04-23 アロン化成株式会社 汚水排出システム

Also Published As

Publication number Publication date
JP4179925B2 (ja) 2008-11-12

Similar Documents

Publication Publication Date Title
CA2829072C (en) Bathtub drain and overflow kit
US20040163165A1 (en) Flexible sleeve for connection to a plumbing fixture
CN104879592B (zh) 用于污水净化的管道通风器的固定装置
JP2004353420A (ja) 排水桝の連結装置
JP3936549B2 (ja) 回転自在の接続継手
JP3673215B2 (ja) 排水桝の連結装置
JP3651739B2 (ja) 排水管と排水桝との接続装置
JP3966706B2 (ja) 排水桝
JPS6136616Y2 (ja)
JP2015161376A (ja) 止水栓の接続部に用いられる脱落防止機能付きパッキン
JP2003301492A (ja) 排水用ヘッダーおよびこのヘッダーを使用した排水システム
JP4378639B2 (ja) 排水ますおよび排水ます用内副管
KR200359241Y1 (ko) 이중벽관용 새들형 분기구
JPS6311437Y2 (ja)
JP2020063572A (ja) 排水器のフランジ部付き部材及び該部材の金型構造
KR200345670Y1 (ko) 관로구용 방수 덮개구조
JP4541300B2 (ja) 合成樹脂製排水ます
KR200373615Y1 (ko) 욕실 설비 배관용 어댑터
KR200379819Y1 (ko) 이중벽관용 클램프타입 분리 소켓 결합구조
JP4904537B2 (ja) 排水クロス継手
JP2006274652A (ja) 排水ますおよび排水ますの埋設位置の調整方法
JP2002327489A (ja) 合流桝
KR100639929B1 (ko) 기능성 클램프 및 방법
JP3447775B2 (ja) 汚水桝
JP4891694B2 (ja) 集合排水装置

Legal Events

Date Code Title Description
A621 Written request for application examination

Free format text: JAPANESE INTERMEDIATE CODE: A621

Effective date: 20060509

A977 Report on retrieval

Free format text: JAPANESE INTERMEDIATE CODE: A971007

Effective date: 20080401

TRDD Decision of grant or rejection written
A01 Written decision to grant a patent or to grant a registration (utility model)

Free format text: JAPANESE INTERMEDIATE CODE: A01

Effective date: 20080813

A01 Written decision to grant a patent or to grant a registration (utility model)

Free format text: JAPANESE INTERMEDIATE CODE: A01

A61 First payment of annual fees (during grant procedure)

Free format text: JAPANESE INTERMEDIATE CODE: A61

Effective date: 20080826

R150 Certificate of patent or registration of utility model

Ref document number: 4179925

Country of ref document: JP

Free format text: JAPANESE INTERMEDIATE CODE: R150

Free format text: JAPANESE INTERMEDIATE CODE: R150

FPAY Renewal fee payment (event date is renewal date of database)

Free format text: PAYMENT UNTIL: 20110905

Year of fee payment: 3

FPAY Renewal fee payment (event date is renewal date of database)

Free format text: PAYMENT UNTIL: 20120905

Year of fee payment: 4

FPAY Renewal fee payment (event date is renewal date of database)

Free format text: PAYMENT UNTIL: 20130905

Year of fee payment: 5

LAPS Cancellation because of no payment of annual fees