JP2004333045A - コンロ用天板 - Google Patents
コンロ用天板 Download PDFInfo
- Publication number
- JP2004333045A JP2004333045A JP2003131091A JP2003131091A JP2004333045A JP 2004333045 A JP2004333045 A JP 2004333045A JP 2003131091 A JP2003131091 A JP 2003131091A JP 2003131091 A JP2003131091 A JP 2003131091A JP 2004333045 A JP2004333045 A JP 2004333045A
- Authority
- JP
- Japan
- Prior art keywords
- frame
- top plate
- horizontal frame
- vertical frame
- stove
- Prior art date
- Legal status (The legal status is an assumption and is not a legal conclusion. Google has not performed a legal analysis and makes no representation as to the accuracy of the status listed.)
- Granted
Links
- 239000000463 material Substances 0.000 claims description 3
- 230000000630 rising effect Effects 0.000 description 13
- 238000012856 packing Methods 0.000 description 7
- 238000000638 solvent extraction Methods 0.000 description 7
- 238000005192 partition Methods 0.000 description 6
- 238000003825 pressing Methods 0.000 description 5
- 239000011521 glass Substances 0.000 description 4
- 238000000034 method Methods 0.000 description 4
- 238000012805 post-processing Methods 0.000 description 3
- 229910000838 Al alloy Inorganic materials 0.000 description 2
- 210000000078 claw Anatomy 0.000 description 2
- 210000003298 dental enamel Anatomy 0.000 description 2
- 230000002093 peripheral effect Effects 0.000 description 2
- 239000000956 alloy Substances 0.000 description 1
- 239000003795 chemical substances by application Substances 0.000 description 1
- 239000000470 constituent Substances 0.000 description 1
- 230000005611 electricity Effects 0.000 description 1
- 230000001771 impaired effect Effects 0.000 description 1
- 239000007769 metal material Substances 0.000 description 1
- 238000012545 processing Methods 0.000 description 1
- 230000000452 restraining effect Effects 0.000 description 1
- 229920002379 silicone rubber Polymers 0.000 description 1
- 239000004945 silicone rubber Substances 0.000 description 1
Images
Landscapes
- Induction Heating Cooking Devices (AREA)
Abstract
【解決手段】枠体2a同士の突き合せ部にコーナ金具31を設け、コーナ金具31を両枠体の垂下壁部22の下端に螺子4止めすることにより両枠体を連結する。各枠体2aのスカート部21の内面にコーナ金具31に対する係合部26を形成し、係合部26にコーナ金具31を係合させることで各枠体2aのスカート部21が上下方向に位置決めされるようにする。
【選択図】 図5
Description
【発明の属する技術分野】
本発明は、天板主体と天板主体を囲う額縁状の外枠とで構成されるコンロ用天板に関する。
【0002】
【従来の技術】
従来、天板主体を化粧耐熱ガラスや化粧琺瑯板等の装飾性の高い板で構成するコンロ用天板は知られている。このような天板では、天板主体の周縁部を保護するため、天板主体を囲う額縁状の外枠を設けて、天板用の支持体(ドロップイン式コンロではカウンタトップ、卓上式コンロではコンロ本体)に天板を外枠において着座させている(例えば、特許文献1参照。)。
【0003】
外枠は、横方向に長手の前後一対の横枠体と、前後方向に長手の左右一対の縦枠体とを構成要素とし、各横枠体の左右の各端部に各縦枠体の前後の各端部を突き合せた状態で各横枠体と各縦枠体とを連結することにより組み立てられている。ここで、各横枠体と各縦枠体とは、夫々天板用の支持体に着座する外側のスカート部と、スカート部の内縁部から下方にのびる垂下壁部と、垂下壁部の下縁から内方に張り出す天板主体の受け部とを有する形状に形成されている。そして、横枠体と縦枠体との一方の枠体の受け部の端縁に雄形の嵌め合せ部、他方の枠体の受け部の端縁に雌形の嵌め合せ部を形成し、雌形の嵌め合せ部に雄形の嵌め合せ部を圧入することにより横枠体と縦枠体とを連結している。
【0004】
【特許文献1】
特開2001−193946号公報(段落0004、図1、図2)
【0005】
【発明が解決しようとする課題】
上記従来例のものでは、横枠体と縦枠体とが内方の受け部での嵌め合せにより連結されるため、外方のスカート部には嵌め合せによる拘束力が左程作用しなくなる。その結果、横枠体と縦枠体との突き合せ部において両枠体のスカート部に上下方向の段差を生じ、天板の体裁が損なわれることがある。
【0006】
本発明は、以上の点に鑑み、横枠体と縦枠体との突き合せ部におけるスカート部の段差の発生を防止し得るようにした体裁の良好なコンロ用天板を提供することをその課題としている。
【0007】
【課題を解決するための手段】
本発明は、天板主体と、天板主体を囲う額縁状の外枠とで構成されるコンロ用天板であって、外枠の構成要素となる横方向に長手の前後一対の横枠体と、前後方向に長手の左右一対の縦枠体とを、夫々コンロ用天板を支持する天板用支持体に着座する外側のスカート部と、スカート部の内縁部から下方にのびる垂下壁部とを有する形状に形成し、各横枠体の左右の各端縁に各縦枠体の前後の各端縁を突き合せた状態で各横枠体と各縦枠体とを連結することにより外枠を組み立てるものにおいて、上記課題を解決するために、各横枠体と各縦枠体との突き合せ部に夫々コーナ金具を設け、コーナ金具を横枠体と縦枠体とに跨らせて両枠体の垂下壁部の下端に螺子止めすることにより両枠体を連結すると共に、各横枠体と各縦枠体のスカート部の内面にコーナ金具に対する係合部を形成し、係合部にコーナ金具を係合させることで横枠体と縦枠体のスカート部が上下方向に位置決めされるようにすることを特徴とする。
【0008】
上記の構成によれば、コーナ金具により係合部を介して横枠体と縦枠体のスカート部が上下方向に位置決めされることになる。その結果、横枠体と縦枠体との突き合せ部において両枠体のスカート部に上下方向の段差は発生せず、天板の体裁が良好になる。
【0009】
ところで、各横枠体と各縦枠体とをアルミニウム合金等の金属材料の押出し成形材で形成する場合、各横枠体と各縦枠体の垂下壁部にコーナ金具の固定螺子用の螺子孔を後加工で形成したのでは、コストが高くなる。この場合、各横枠体と各縦枠体の垂下壁部を下方に開口する溝部を有する形状に形成し、コーナ金具の固定螺子の径を溝部の溝幅より若干大きくして、固定螺子を溝部に強制的にねじ込むようにすれば、螺子孔の加工が不要になり、コストダウンを図ることができる。
【0010】
【発明の実施の形態】
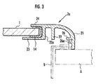
図1、図2は、カウンタトップAにコンロ本体Bを落とし込むようにして配置する(図3参照)ドロップイン式のグリル付きガスコンロ用の天板を示している。この天板は、耐熱ガラスから成る天板主体1と、天板主体1を囲う外枠2とで構成されている。天板主体1には、コンロ本体Bに設ける3個のバーナ(図示省略)を夫々臨ませる3個の開口部11,12.13が開設されている。
【0011】
外枠2は、横方向に長手の前後一対の横枠体2a,2bと、前後方向に長手の左右一対の縦枠体2c,2dと、後側の横枠体2bとの間にグリル用の排気口の配置スペースを画成する横方向に長手の仕切り用枠体2eとで構成されている。各枠体2a,2b,2c,2d,2eはアルミニウム合金の押出し成形材で形成されている。
【0012】
前側の横枠体2aは、図3に示すように、天板用の支持体たるカウンタトップAに着座する外側のスカート部21を備えている。スカート部21は、外方に向かって下方に湾曲する断面形状に形成されており、その外縁部下端においてカウンタトップAに着座する。前側の横枠体2aは、更に、スカート部21の内縁部から下方にのびる垂下壁部22と、垂下壁部22の下縁から内方に張り出す天板主体1用の受け部23と、スカート部21の内縁部から更に内方に張り出す天板主体1用の押え部24とを備えている。そして、垂下壁部22は、下方に開口する溝部22aを有する形状に形成されている。また、左右の縦枠体2c,2dは前側の横枠体2aと同一の断面形状に形成されており、図1、図2において左右の縦枠体2c,2dに対し前側の横枠体2aと同一の部分に上記と同一の符号を付している。尚、各縦枠体2c,2dの後部のグリル用排気口の配置スペースに合致する部分では、受け部23と押え部24とが後加工で切除されている。仕切り用枠体2eは、前側の横枠体2aからスカート部21を除去した断面形状に形成されており、垂下壁部22と受け部23と押え部24とを有する。
【0013】
後側の横枠体2bは、前側の横枠体2aと同様にスカート部21と垂下壁部22とを有するが、押え部24は無く、また、垂下壁部22の下縁から受け部23よりも長く内方に張り出す水平板部25を有しており、水平板部25に後加工でグリルの排気ダクトを臨ませる開口部25aを開設している。また、前後の横枠体2a,2bと左右の縦枠体2c,2dのスカート部21の内面には後記詳述する突条26が形成されている。
【0014】
天板主体1の周縁には、全周に亘って断面略コ字状のパッキン14が装着されている。そして、天板主体1の前縁部が前側の横枠体2aの受け部23と押え部24との間にパッキン14を介して挟み込まれ、また、天板主体1の左右の側縁部が左右の縦枠体2c,2dの受け部23と押え部24との間にパッキン14を介して挟み込まれ、更に、天板主体1の後縁部が仕切り用枠体2eの受け部23と押え部24との間にパッキン14を介して挟み込まれるようにしている。
【0015】
外枠2の組み立てに際しては、前側の横枠体2aの斜めにカットされた左右の各端縁に左右の各縦枠体2c,2dの斜めにカットされた前端縁を突き合わせた状態で前側の横枠体2aと左右の縦枠体2c,2dとを左右一対の第1コーナ金具31,31により連結する。また、仕切り用枠体2eの左右の各端縁を左右の各縦枠体2c,2dの後部内側面に突き合わせた状態で仕切り用枠体2eと左右の縦枠体2c,2dとを左右一対の第2コーナ金具32,32により連結し、更に、後側の横枠体2bの斜めにカットされた左右の各端縁に左右の各縦枠体2c,2dの斜めにカットされた後端縁を突き合わせた状態で後側の横枠体2bと左右の縦枠体2c,2dとを左右一対の第3コーナ金具33,33により連結する。
【0016】
各コーナ金具31,32,33の形状は基本的に直角二等辺三角形であるが、第1と第3の各コーナ金具31,33では、直角に交わる2つの斜辺3a,3aの底辺寄りの部分が段差3bを境にして内方にオフセットされている。そして、各第1コーナ金具31に、図4(a)に示す如く、内方にオフセットした斜辺部分に位置させて、前側の横枠体2aの垂下壁部22の外面と各縦枠体2c,2dの垂下壁部22の外面とに夫々当接する立上り部31,31を曲成すると共に、立上り部31,31の若干内側に位置する固定孔32,32を形成している。また、各第3コーナ金具33にも同様に、内方にオフセットした斜辺部分に位置させて、後側の横枠体2bの垂下壁部22の外面と各縦枠体2c,2dの垂下壁部22の外面とに夫々当接する立上り部を曲成すると共に、立上り部の若干内側に位置する固定孔を形成している。各第2コーナ金具32には、図4(b)に示す如く、直角に交わる2つの斜辺3a,3aに位置させて、仕切り用枠体2eの垂下壁部22の外面と各縦枠体2c,2dの垂下壁部22の外面とに夫々当接する立上り部31,31が曲成されると共に、立上り部31,31の若干内側に位置する固定孔32,32が形成されている。
【0017】
そして、前側の横枠体2aの左右の各端縁に左右の各縦枠体2c,2dの前端縁を突き合わせた状態で、各第1コーナ金具31をその一対の固定孔32,32に挿通する一対の固定螺子4,4で前側の横枠体2aの垂下壁部22の下端と各縦枠体2c,2dの垂下壁部22の下端とに螺子止めすることにより、前側の横枠体2aと左右の各縦枠体2c,2dとが連結される。また、仕切り用枠体2eの左右の各端縁を左右の各縦枠体2c,2dの後部内側面に突き合わせた状態で、各第2コーナ金具32をその一対の固定孔32,32に挿通する一対の固定螺子4,4で仕切り用枠体2eの垂下壁部22の下端と各縦枠体2c,2dの垂下壁部22の下端とに螺子止めすることにより、仕切り用枠体2eと左右の各縦枠体2c,2dとが連結される。同様に、後側の横枠体2bの左右の各端縁に左右の各縦枠体2c,2dの後端縁を突き合わせた状態で、各第3コーナ金具33をその一対の固定孔に挿通する一対の固定螺子4,4で後側の横枠体2bの垂下壁部22の下端と各縦枠体2c,2dの垂下壁部22の下端とに螺子止めすることにより、後側の横枠体2bと各縦枠体2c,2dとが連結される。
【0018】
ここで、各コーナ金具31,32,33の固定螺子4は、各枠体2a,2b,2c,2d,2eの垂下壁部22の溝部22aにねじ込まれるようになっている。即ち、固定螺子4の径を溝部22aの溝幅よりも若干大きくし、固定螺子4を溝部22aにその溝壁を切りながら強制的にねじ込むようにしている。尚、垂下壁部22に固定螺子4用の螺子孔を後加工で形成することも考えられるが、枠体の突き合せ端からの螺子孔の距離を正確に管理しないと、枠体同士をうまく連結できない。そのため、螺子孔の加工には手間が掛かり、コストアップの要因になる。一方、本実施形態では、枠体同士を突き合せた状態でコーナ金具31,32,33の固定孔32に合致する溝部22aの部分に固定螺子4を謂わば成り行きでねじ込むだけで、枠体同士を良好に連結できる。そして、螺子孔の加工が不要になるため、コストダウンを図れる。
【0019】
また、前後の横枠体2a,2bと左右の縦枠体2c,2dのスカート部21の外縁部内面には、内方に突出する突条26が形成され、この突条26に、内方に開口するスリット状の係合溝26aが形成されている。そして、係合溝26aに、第1と第3の各コーナ金具31,33の直角に交わる斜辺3aの部分が嵌め込まれるようにしている。かくして、突条26がコーナ金具31,33に対する係合部として機能し、スカート部21がコーナ金具31,33により突条26を介して上下方向に位置決めされる。その結果、各横枠体2a,2bと各縦枠体2c,2dとの突き合せ部において両枠体のスカート部21,21に上下方向の段差が発生することが確実に防止される。
【0020】
尚、第1と第3の各コーナ金具31,33に立上り部31が形成されていなければ、各横枠体2a,2bの端縁と各縦枠体2c,2dの端縁とが突き合うようにこれら枠体を仮組みした状態で、第1と第3の各コーナ金具31,33を各横枠体2a,2bと各縦枠体2c,2dとの突き合せコーナ部に向けて対角方向内方からスライドさせることにより、第1と第3の各コーナ金具31,33の斜辺3aを係合溝26aに差し込むことができる。然し、本実施形態のように第1と第3の各コーナ金具31,33に立上り部31が形成されていると、立上り部31が邪魔になって各コーナ金具31,33の斜辺3aを係合溝26aに差し込むことが困難になる。
【0021】
そこで、この場合は、前側の横枠体2aの左右の各端部に、予め第1コーナ金具31を、その一方の立上り部31を前側の横枠体2aの垂下壁部22の外面に沿わせた状態で、一方の斜辺3aが前側の横枠体2aの係合溝26aに挿入されるように、前側の横枠体2aの長手方向外方からスライドさせて装着しておき、この状態で左右の縦枠体2c、2dの前端間に前方から前側の横枠体2aを組み付ける。この際、前側の横枠体2aの左右の各端部に装着されている第1コーナ金具31の他方の立上り部31を各縦枠体2c、2dの垂下壁部22の外面に沿わせた状態で第1コーナ金具31の他方の斜辺3aが各縦枠体2c、2dの係合溝26aに前方からスライドして挿入されるようにする。また、後側の横枠体2bの左右の各端部に第3コーナ金具33を前側の横枠体2aと同様の要領で装着し、この状態で左右の縦枠体2c、2dの後端間に後方から後側の横枠体2bを組み付け、第3コーナ金具33の立上り部31を各縦枠体2c、2dの垂下壁部22の外面に沿わせた状態で第3コーナ金具33の斜辺3aが各縦枠体2c、2dの係合溝26aに後方からスライドして挿入されるようにする。かくして、立上り部31が形成されていても、第1と第3の各コーナ金具31,33の斜辺3aを前後の横枠体2a,2bと左右の縦枠体2c,2dの係合溝26aに差し込むことができる。
【0022】
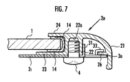
図6及び図7はコンロ用天板の第2の実施形態を示している。第2実施形態の基本的な構成は上記第1実施形態と同様であり、第1実施形態と同様の部材に上記と同一の符号を付している。第1実施形態と相違するのは、前後の各横枠体2a,2b及び左右の各縦枠体2c,2dのスカート部21と第1と第3の各コーナ金具31,33との係合のさせ方である。
【0023】
即ち、第2実施形態では、前後の各横枠体2a,2b及び左右の各縦枠体2c,2dのスカート部21の外縁部内面に形成する突条26に、第1実施形態のような係合溝26aは形成されていない。一方、第1と第3の各コーナ金具31,33の斜辺3aの中央部分には、突条26の上面に係合する爪部33が曲成されている。そして、爪部33とその両脇の斜辺部分とで突条26を上下から挟むようにして、突条26とコーナ金具31,33とを係合させている。このものでも、スカート部21がコーナ金具31,33により係合部たる突条26を介して上下方向に位置決めされ、各横枠体2a,2bと各縦枠体2c,2dとの突き合せ部において両枠体のスカート部21,21に上下方向の段差が発生することが確実に防止される。
【0024】
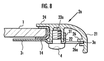
また、上記第1と第2の実施形態では、前側の横枠体2aと左右の縦枠体2c,2dと仕切り用枠体2eとに受け部23を形成して、これら受け部23により天板主体1をパッキン14を介して全周に亘って支持するようにしたが、受け部23を除去し、図8に示す第3実施形態のように、天板主体1をその四隅の各角部においてパッキン14を介して第1と第2の各コーナ金具31,32で支持することも可能である。
【0025】
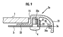
更に、天板主体1の周縁にパッキン14を装着せずに、図9に示す第4実施形態のように、天板主体1の周縁部をシリコンゴム等のコーキング剤15によって前側の横枠体2aと左右の縦枠体2c,2dと仕切り用枠体2eとに接着固定しても良い。この場合、前側の横枠体2aと左右の縦枠体2c,2d及び仕切り用枠体2eは、押え部24を除去した形状に形成される。
【0026】
尚、第3と第4の実施形態では、前後の各横枠体2a,2b及び左右の各縦枠体2c,2dのスカート部21と第1と第3の各コーナ金具31,33との係合方式として、スカート部21の内面の突条26に形成した係合溝26aにコーナ金具31,33を嵌め込む第1実施形態の方式を採用しているが、スカート部21の内面の突条26をコーナ金具31,33に形成した爪部33で上下から挟む第2実施形態の方式を採用することも勿論可能である。
【0027】
また、上記実施形態では、天板主体1の後方にグリル用排気口の配置スペースを画成するため、天板主体1の後縁に沿わせて仕切り用枠体2eを設けているが、グリルの無いコンロ用の天板では、仕切り用枠体2eは不要である。この場合は、後側の横枠体2bを前側の横枠体2aと同一形状に形成して、天板主体1の後縁に沿わせて配置し、この横枠体2bと前側の横枠体2aと左右の縦枠体2c,2dとで外枠2を構成する。
【0028】
以上、ドロップイン式のガスコンロ用天板に本発明を適用した実施形態について説明したが、エネルギー源を電気とする電気コンロ用の天板にも、また、卓上式のコンロ用天板にも同様に本発明を適用できる。尚、卓上式コンロでは、外枠のスカート部を天板用支持体たるコンロ本体に着座するように形成する。また、上記実施形態では、天板主体1をガラス製としたが、化粧琺瑯板等のガラス以外の材料で天板主体を形成する場合にも同様に本発明を適用できる。
【図面の簡単な説明】
【図1】本発明の第1実施形態の天板の平面図。
【図2】図1の天板の裏面図。
【図3】図2のIII―III線で切断した拡大断面図。
【図4】(a)第1コーナ金具の斜視図、(b)第2コーナ金具の斜視図。
【図5】図2のV―V線で切断した拡大断面図。
【図6】本発明の第2実施形態の天板の裏面図。
【図7】図6のVII―VII線で切断した拡大断面図。
【図8】本発明の第3実施形態の天板の要部の拡大断面図。
【図9】本発明の第4実施形態の天板の要部の拡大断面図。
【符号の説明】
A…カウンタトップ(天板用支持体)、1…天板主体、2…外枠、2a…前側の横枠体、2b…後側の横枠体、2c,2d…左右の縦枠体、21…スカート部、22…垂下壁部、22a…溝部、26…突条(係合部)、31,32,33…コーナ金具、3a…コーナ金具の斜辺(係合部に対するコーナ金具の係合箇所)、4…固定螺子
Claims (2)
- 天板主体と、天板主体を囲う額縁状の外枠とで構成されるコンロ用天板であって、
外枠の構成要素となる横方向に長手の前後一対の横枠体と、前後方向に長手の左右一対の縦枠体とを、夫々コンロ用天板を支持する天板用支持体に着座する外側のスカート部と、スカート部の内縁部から下方にのびる垂下壁部とを有する形状に形成し、各横枠体の左右の各端縁に各縦枠体の前後の各端縁を突き合せた状態で各横枠体と各縦枠体とを連結することにより外枠を組み立てるものにおいて、
各横枠体と各縦枠体との突き合せ部に夫々コーナ金具を設け、コーナ金具を横枠体と縦枠体とに跨らせて両枠体の垂下壁部の下端に螺子止めすることにより両枠体を連結すると共に、
各横枠体と各縦枠体のスカート部の内面にコーナ金具に対する係合部を形成し、係合部にコーナ金具を係合させることで横枠体と縦枠体のスカート部が上下方向に位置決めされるようにすることを特徴とするコンロ用天板。 - 請求項1に記載のコンロ用天板であって、各横枠体と各縦枠体とを押出し成形材で形成するものにおいて、
各横枠体と各縦枠体の垂下壁部を下方に開口する溝部を有する形状に形成し、コーナ金具の固定螺子の径を溝部の溝幅より若干大きくして、固定螺子を溝部に強制的にねじ込むことを特徴とするコンロ用天板。
Priority Applications (1)
| Application Number | Priority Date | Filing Date | Title |
|---|---|---|---|
| JP2003131091A JP4008381B2 (ja) | 2003-05-09 | 2003-05-09 | コンロ用天板 |
Applications Claiming Priority (1)
| Application Number | Priority Date | Filing Date | Title |
|---|---|---|---|
| JP2003131091A JP4008381B2 (ja) | 2003-05-09 | 2003-05-09 | コンロ用天板 |
Publications (2)
| Publication Number | Publication Date |
|---|---|
| JP2004333045A true JP2004333045A (ja) | 2004-11-25 |
| JP4008381B2 JP4008381B2 (ja) | 2007-11-14 |
Family
ID=33506365
Family Applications (1)
| Application Number | Title | Priority Date | Filing Date |
|---|---|---|---|
| JP2003131091A Expired - Fee Related JP4008381B2 (ja) | 2003-05-09 | 2003-05-09 | コンロ用天板 |
Country Status (1)
| Country | Link |
|---|---|
| JP (1) | JP4008381B2 (ja) |
Cited By (8)
| Publication number | Priority date | Publication date | Assignee | Title |
|---|---|---|---|---|
| JP2006300382A (ja) * | 2005-04-19 | 2006-11-02 | Matsushita Electric Ind Co Ltd | 組込み型加熱調理器 |
| WO2006120799A1 (ja) * | 2005-05-13 | 2006-11-16 | Matsushita Electric Industrial Co., Ltd. | 組込式調理器 |
| JP2006313045A (ja) * | 2005-05-09 | 2006-11-16 | Rinnai Corp | コンロの天板カバー |
| JP2008002754A (ja) * | 2006-06-22 | 2008-01-10 | Paloma Ind Ltd | 加熱調理器の天板構造 |
| KR101073731B1 (ko) * | 2009-04-30 | 2011-10-13 | 린나이코리아 주식회사 | 가스레인지 |
| KR101087373B1 (ko) | 2009-07-30 | 2011-11-25 | 린나이코리아 주식회사 | 가스레인지의 상판 결합장치 |
| KR101125890B1 (ko) * | 2009-07-30 | 2012-03-21 | 린나이코리아 주식회사 | 가스레인지의 상판 결합장치 |
| JP2022086715A (ja) * | 2020-11-30 | 2022-06-09 | 株式会社ハーマン | トッププレート及びこれを備えた加熱調理器 |
Families Citing this family (6)
| Publication number | Priority date | Publication date | Assignee | Title |
|---|---|---|---|---|
| US7345672B2 (en) | 1992-12-02 | 2008-03-18 | Immersion Corporation | Force feedback system and actuator power management |
| US20030040361A1 (en) | 1994-09-21 | 2003-02-27 | Craig Thorner | Method and apparatus for generating tactile feedback via relatively low-burden and/or zero burden telemetry |
| AU1328597A (en) | 1995-11-30 | 1997-06-19 | Virtual Technologies, Inc. | Tactile feedback man-machine interface device |
| US8169402B2 (en) | 1999-07-01 | 2012-05-01 | Immersion Corporation | Vibrotactile haptic feedback devices |
| DE20022244U1 (de) | 1999-07-01 | 2001-11-08 | Immersion Corp | Steuerung vibrotaktiler Empfindungen für Haptische Rückkopplungsvorrichtungen |
| US7561142B2 (en) | 1999-07-01 | 2009-07-14 | Immersion Corporation | Vibrotactile haptic feedback devices |
-
2003
- 2003-05-09 JP JP2003131091A patent/JP4008381B2/ja not_active Expired - Fee Related
Cited By (8)
| Publication number | Priority date | Publication date | Assignee | Title |
|---|---|---|---|---|
| JP2006300382A (ja) * | 2005-04-19 | 2006-11-02 | Matsushita Electric Ind Co Ltd | 組込み型加熱調理器 |
| JP2006313045A (ja) * | 2005-05-09 | 2006-11-16 | Rinnai Corp | コンロの天板カバー |
| WO2006120799A1 (ja) * | 2005-05-13 | 2006-11-16 | Matsushita Electric Industrial Co., Ltd. | 組込式調理器 |
| JP2008002754A (ja) * | 2006-06-22 | 2008-01-10 | Paloma Ind Ltd | 加熱調理器の天板構造 |
| KR101073731B1 (ko) * | 2009-04-30 | 2011-10-13 | 린나이코리아 주식회사 | 가스레인지 |
| KR101087373B1 (ko) | 2009-07-30 | 2011-11-25 | 린나이코리아 주식회사 | 가스레인지의 상판 결합장치 |
| KR101125890B1 (ko) * | 2009-07-30 | 2012-03-21 | 린나이코리아 주식회사 | 가스레인지의 상판 결합장치 |
| JP2022086715A (ja) * | 2020-11-30 | 2022-06-09 | 株式会社ハーマン | トッププレート及びこれを備えた加熱調理器 |
Also Published As
| Publication number | Publication date |
|---|---|
| JP4008381B2 (ja) | 2007-11-14 |
Similar Documents
| Publication | Publication Date | Title |
|---|---|---|
| JP2004333045A (ja) | コンロ用天板 | |
| US20020166299A1 (en) | Door frame | |
| JP2004233000A (ja) | コンロ用天板 | |
| KR101810812B1 (ko) | 엘리베이터 벽면장식판재의 고정장치 | |
| KR100954551B1 (ko) | 방화문 둘레 장착용 테두리골조의 모서리 고정장치 | |
| KR20040049779A (ko) | 곤로 상판의 장식테 | |
| JP2005188908A (ja) | コンロの天板の飾り枠 | |
| JP4189236B2 (ja) | 調理機器のトッププレート枠 | |
| JP2006090660A (ja) | 天板枠の固定構造 | |
| JP4034678B2 (ja) | コンロの天板 | |
| CN223048682U (zh) | 一种包框玻璃门及淋浴房 | |
| JP4109217B2 (ja) | コンロ用天板 | |
| JP5358815B2 (ja) | スパンドレル用ボーダー | |
| JP4895180B2 (ja) | 加熱調理器の天板構造 | |
| JPH0420954Y2 (ja) | ||
| JP3308834B2 (ja) | 戸 枠 | |
| JPS6317135Y2 (ja) | ||
| JP2005240471A (ja) | 外壁用役物 | |
| JPH1054180A (ja) | ドアフレームと壁パネルとのジョイント構造 | |
| JPH0528255Y2 (ja) | ||
| JPS6219835Y2 (ja) | ||
| JP2002356970A (ja) | 階段構造 | |
| JPS6337897Y2 (ja) | ||
| JP2006136572A (ja) | 椅子における背板の取付構造 | |
| JPH09296662A (ja) | パネル体 |
Legal Events
| Date | Code | Title | Description |
|---|---|---|---|
| A621 | Written request for application examination |
Free format text: JAPANESE INTERMEDIATE CODE: A621 Effective date: 20050805 |
|
| TRDD | Decision of grant or rejection written | ||
| A01 | Written decision to grant a patent or to grant a registration (utility model) |
Free format text: JAPANESE INTERMEDIATE CODE: A01 Effective date: 20070828 |
|
| A61 | First payment of annual fees (during grant procedure) |
Free format text: JAPANESE INTERMEDIATE CODE: A61 Effective date: 20070829 |
|
| FPAY | Renewal fee payment (event date is renewal date of database) |
Free format text: PAYMENT UNTIL: 20100907 Year of fee payment: 3 |
|
| R150 | Certificate of patent or registration of utility model |
Ref document number: 4008381 Country of ref document: JP Free format text: JAPANESE INTERMEDIATE CODE: R150 Free format text: JAPANESE INTERMEDIATE CODE: R150 |
|
| FPAY | Renewal fee payment (event date is renewal date of database) |
Free format text: PAYMENT UNTIL: 20100907 Year of fee payment: 3 |
|
| FPAY | Renewal fee payment (event date is renewal date of database) |
Free format text: PAYMENT UNTIL: 20110907 Year of fee payment: 4 |
|
| R250 | Receipt of annual fees |
Free format text: JAPANESE INTERMEDIATE CODE: R250 |
|
| FPAY | Renewal fee payment (event date is renewal date of database) |
Free format text: PAYMENT UNTIL: 20120907 Year of fee payment: 5 |
|
| R250 | Receipt of annual fees |
Free format text: JAPANESE INTERMEDIATE CODE: R250 |
|
| FPAY | Renewal fee payment (event date is renewal date of database) |
Free format text: PAYMENT UNTIL: 20120907 Year of fee payment: 5 |
|
| FPAY | Renewal fee payment (event date is renewal date of database) |
Free format text: PAYMENT UNTIL: 20130907 Year of fee payment: 6 |
|
| R250 | Receipt of annual fees |
Free format text: JAPANESE INTERMEDIATE CODE: R250 |
|
| R250 | Receipt of annual fees |
Free format text: JAPANESE INTERMEDIATE CODE: R250 |
|
| R250 | Receipt of annual fees |
Free format text: JAPANESE INTERMEDIATE CODE: R250 |
|
| R250 | Receipt of annual fees |
Free format text: JAPANESE INTERMEDIATE CODE: R250 |
|
| R250 | Receipt of annual fees |
Free format text: JAPANESE INTERMEDIATE CODE: R250 |
|
| R250 | Receipt of annual fees |
Free format text: JAPANESE INTERMEDIATE CODE: R250 |
|
| R250 | Receipt of annual fees |
Free format text: JAPANESE INTERMEDIATE CODE: R250 |
|
| R250 | Receipt of annual fees |
Free format text: JAPANESE INTERMEDIATE CODE: R250 |
|
| R250 | Receipt of annual fees |
Free format text: JAPANESE INTERMEDIATE CODE: R250 |
|
| R250 | Receipt of annual fees |
Free format text: JAPANESE INTERMEDIATE CODE: R250 |
|
| LAPS | Cancellation because of no payment of annual fees |