JP2004311069A - アルカリ電池 - Google Patents
アルカリ電池 Download PDFInfo
- Publication number
- JP2004311069A JP2004311069A JP2003099474A JP2003099474A JP2004311069A JP 2004311069 A JP2004311069 A JP 2004311069A JP 2003099474 A JP2003099474 A JP 2003099474A JP 2003099474 A JP2003099474 A JP 2003099474A JP 2004311069 A JP2004311069 A JP 2004311069A
- Authority
- JP
- Japan
- Prior art keywords
- positive electrode
- sealing
- battery
- active material
- alkaline battery
- Prior art date
- Legal status (The legal status is an assumption and is not a legal conclusion. Google has not performed a legal analysis and makes no representation as to the accuracy of the status listed.)
- Pending
Links
Images
Classifications
-
- Y02E60/12—
Landscapes
- Sealing Battery Cases Or Jackets (AREA)
- Primary Cells (AREA)
- Battery Electrode And Active Subsutance (AREA)
Abstract
【課題】オキシ水酸化ニッケル系化合物を正極活物質として採用したアルカリ電池において、封口部のシール材料を最適化することによって電解液の漏液を効果的に防止するものである。
【解決手段】本発明は、上記問題を解決するために、正極合剤の活物質としてコバルト化合物でコーティングしたオキシ水酸化ニッケル系化合物を正極活物質として配合したアルカリ電池において、正極缶の開口部と絶縁ガスケットとの封口部分にポリブテン系樹脂を主成分とし流動点が90〜95℃である封口シール剤を塗布することを特徴とするものである。このシール剤の厚さは3〜5μmの範囲とする。
【選択図】 図1
【解決手段】本発明は、上記問題を解決するために、正極合剤の活物質としてコバルト化合物でコーティングしたオキシ水酸化ニッケル系化合物を正極活物質として配合したアルカリ電池において、正極缶の開口部と絶縁ガスケットとの封口部分にポリブテン系樹脂を主成分とし流動点が90〜95℃である封口シール剤を塗布することを特徴とするものである。このシール剤の厚さは3〜5μmの範囲とする。
【選択図】 図1
Description
【0001】
【産業上の利用分野】
本発明は、アルカリ電池に関し、特にその封口部分に塗着するシール剤を改良して、長期高温貯蔵時での耐漏液特性を向上したオキシ水酸化ニッケル系物質を正極活物質として用いたアルカリ電池に関するものである。
【0002】
【従来の技術】
アルカリ電池は、放電及び自己劣化による水素ガス発生によって電池内部の電解液が外部へ流出するのを防止するために、正極缶の開口縁と絶縁ガスケットとの密着部(封口部)にシール剤を塗布し、これによって接触部分の微少隙間を埋め、この部分を気密することで封口性を高めるという封口構造が採用されている。また、かかるシール剤としては、アスファルトを主成分とした材料が用いられていた。
【0003】
一方、マンガン乾電池において、負極亜鉛缶の側面をポリスチレンなどの熱収縮チューブで被覆し、負極缶の開口端部と封口体との間にポリブテンからなるシール剤を付与することがしられている(特許文献1参照)。この電池において、シール剤としてポリブテンを採用しているのは、従来知られている上記アスファルト系のシール剤が保存中に劣化し易いという欠点を改善するためになされたものであるが、マンガン乾電池においては、電池の電解質に使用されている電解液が蒸発しやすく、これによって生じる電池性能の劣化を防止することを目的とするものである。
【0004】
一方、上記オキシ水酸化ニッケル系化合物を正極活物質として用いるアルカリ電池においては、電解液の蒸発よりも、電解液が電池封口部から漏出することによって生じる電池性能劣化の方が遙かに電池性能に与える影響が大きく、電池封口部のシール剤を改善することが強く求められていた。
【0005】
【特許文献1】特開2001−332230号公報
【0006】
【発明が解決しようとする課題】
本発明は、前記従来のアスファルトを主成分としたシール剤において、もともと密着性・粘性が乏しく、特に2〜3年後の長期期間貯蔵においてはシール剤自身が大きく劣化してしまい粘性がほとんどなくなったり、シール剤のひび割れによる隙間が生じ、その結果、電池内部にガスが発生した場合、内圧上昇によって電解液がその隙間を通って外部へ押し出され漏出してしまうという問題を解決するためになされたもので、オキシ水酸化ニッケル系化合物を正極活物質として採用したアルカリ電池において、封口部のシール材料を最適化することによって電解液の漏液を効果的に防止するものである。
【0007】
【課題を解決するための手段】
本発明は、上記問題を解決するために、正極合剤の活物質としてコバルト化合物でコーティングしたオキシ水酸化ニッケル系化合物を正極活物質として配合したアルカリ電池において、正極缶の開口部と絶縁ガスケットとの封口部分にポリブテン系樹脂を主成分とし流動点が90〜95℃である封口シール剤を塗布することを特徴とするものである。
【0008】
【発明の実施の形態】
以下本発明の実施の形態について詳細に説明する。
本発明を適用した電池の1例を、図を用いて説明する。
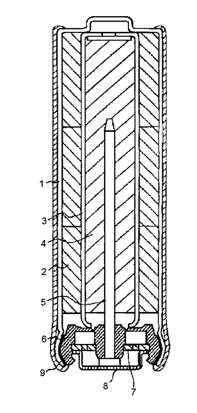
図1が、本発明をJIS規格LR6形(単3型)アルカリ電池に適用した一例を示す断面図である。
この図において、1は正極端子を兼ねる有底円筒形の正極缶であり、内面には黒鉛粉末を主成分とした導電性被膜が形成されている。この正極缶内には円筒状に加圧成形した3個の正極合剤2が分割充填されている。正極合剤2は、コバルト化合物でコーティングしたオキシ水酸化ニッケル系化合物を、黒鉛粉末などからなる導電剤、及び、ポリエチレンなどのバインダから構成される正極合剤で、乾式攪拌して混合した原料粉末を、アルカリ電解液を添加し、湿式攪拌を行い、さらに、均一に混合するため、湿式攪拌を行なって調製することができる。
【0009】
また、正極合剤2の中空部にはビニロン及びPVA繊維の不織布などからなる有底円筒状のセパレータ3が配置されている。このセパレータ3を介して、ゲル状亜鉛負極4が充填されている。ゲル状亜鉛負極4内には真鍮製の負極集電棒5が、その先端部をゲル状負極4に差し込むようにして装着されている。負極集電棒5の上部外周及び正極缶1の上部内周面には二重環状のポリアミド樹脂からなる絶縁ガスケット6が配設されている。また、絶縁ガスケット6の二重環状部の間にはリング状の金属板7が配設され、かつ金属板7には負極端子を兼ねる帽子形の金属封口板8が集電棒5の頭部に当接するように配設されている。そして、正極缶1の開口縁内側にはリング状にシール剤9が塗布されていて、正極缶1を内方に屈曲させることによりガスケット6及び金属封口板8で正極缶1内を密封口している。
【0010】
本発明は、上記したように正極缶の開口部と絶縁ガスケットとの封口部分に密着性・粘性が高く、長期貯蔵後にも劣化しないポリブテン系樹脂を主成分としたシール剤を塗布することで、その気密性を高め耐漏液特性を向上させたものである。
【0011】
本発明において用いられるポリブテン系樹脂材料は、1−ブテン、または2−ブテンの単独重合体、あるいはこれらの共重合体、さらに、ポリエチレン、ポリプロピレンなどとの共重合体、または、これらの単独重合体もしくは共重合体と、ポリオレフィンなどの重合体との混合物を塗布して用いることができる。ただし、この混合シール剤を使用した場合のポリブテン系樹脂の重量比率は80%以上でなくては十分な気密性は得られない。
上記共重合樹脂材料あるいは混合樹脂材料を使用する場合にも、流動点が90〜95℃の範囲にあるものを選択する必要がある。流動点をこの範囲にするためには、樹脂材料の重合度や、重合体分子の枝分かれの状態、あるいは、共重合樹脂であれば、共重合成分との組成比率、また、混合物であれば、それぞれの成分の配合比率を適切に制御することによって最適の流動点を有する樹脂材料を作製することができる。また、ポリブテン系樹脂材料に可塑剤を添加して、流動点を調整することもできる。この可塑剤としては、ポリ塩化ビニル樹脂などにおいて用いられているフタル酸エステル系可塑剤やリン酸エステル系可塑剤、あるいは、エポキシ化大豆油、脂肪酸エステルなどを用いることができる。
【0012】
本発明において、流動点とは、以下の方法で測定した温度である。すなわち、約160℃になっている試料を試験管に入れ、中央に温度計を差し込んだコルクで密封し、水平な面に乗せて室温下で静置する。温度が110℃になったら試験管を45°に傾けて、試料に流動性があるときは、元に戻す。以下、温度が2.5℃下がる毎にその操作を繰り返す。そして、傾けてから5秒間の間、試料が動かない温度を見つけ、この温度に2.5℃加算した温度を流動点とするものである。
【0013】
本発明において、ポリブテン系樹脂として90〜95℃の範囲の流動点を有するものを選択したのは次の理由による。すなわち、ポリブテンの流動点は90℃よりも低いと電池を高温化で保存した場合などに、流動し易くなってシール剤が塗着部から外部に漏出してしまうという問題がある。シール剤が漏出すると電池外表面を汚すだけではなく、ガスが発生した場合に、電解液が外部へ漏出してしまい、外部を汚染することになる。一方、流動点が95℃よりも高いと、シール剤が温度変化に対して柔軟性が悪くなり、従来のアスファルトを主成分としたシール剤と同様に密着性・粘性が低下するという問題がある。そのためポリブテンの流動点は90〜95℃の範囲が最も望ましい。
【0014】
本発明において、電池封口部に塗着するシール剤の厚さとしては、3〜5μmの範囲が適切である。シール剤の厚さが、上記範囲を下回った場合、この電池の外部環境例えば温度あるいは電池内部圧などの変化に対応して十分なシール効果を発揮せず、漏液などを生起するおそれがある。一方、シール剤の厚さが上記範囲を上回った場合、正極開口部と絶縁ガスケットとの距離(隙間)が広がってしまい、封口強度が劣ってしまう問題が発生して好ましくない。
【0015】
本発明の上記ポリブテン系樹脂シール剤は、有機溶剤に溶解して塗着することによって、電池封口部にシール部を形成することができる。
【0016】
本発明においては、上記シール剤を、オキシ水酸化ニッケル系化合物を正極活物質として用いたアルカリ電池に適用している。以下、このアルカリ電池の正極材料、負極材料、及び電解液について説明する。
【0017】
(正極材料)
本発明で用いる正極活物質は、オキシ水酸化ニッケル粒子を主体とする。
さらに、亜鉛もしくはコバルト単独あるいはその両方を共晶しているオキシ水酸化ニッケルは、低電解液比率でもその構造変化を少なくできるので好ましい。オキシ水酸化ニッケルに共晶させる亜鉛もしくはコバルトの量としては、1〜7%の範囲が好ましい。亜鉛の量がこの範囲を下回ると、条件によっては正極が膨潤するため、その利用率が低下し、放電容量が低下する。またこの範囲を上回ると、相対的にニッケル純度が低下するため、高容量化に適さなくなる。
【0018】
また、水酸化ニッケル表面に、さらに高導電性の高次コバルト化合物を被着させた複合オキシ水酸化物とすることが、オキシ水酸化ニッケル粒子同士の電子導電性を確保する理由で好ましい。
前記表面に被着するコバルト化合物としては、出発原料として例えば、水酸化コバルト(Co(OH)2)、一酸化コバルト(CoO)、三酸化二コバルト(Co2O3)、などをあげることができ、これを酸化処理してオキシ水酸化コバルト(CoOOH)、四酸化三コバルト(Co3O4)などの高導電性高次コバルト酸化物に転化させる。
【0019】
上記本発明の正極活物質は、例えば次の方法によって製造することができる。
亜鉛及びコバルトをドープした水酸化ニッケル粒子に、水酸化コバルトを添加し、大気雰囲気中で攪拌しながら水酸化ナトリウム水溶液を噴霧する。引き続きマイクロウェーブ加熱を施すことにより水酸化ニッケル表面にコバルト高次酸化物の層が形成された複合水酸化ニッケル粒子が生成する。さらに、この反応系に次亜塩素酸ナトリウムなどの酸化剤を添加して酸化を進め、コバルト高次酸化物が被着した複合オキシ水酸化ニッケルを製造することができる。これによって導電性が極めて優れた正極活物質を得ることができる。
【0020】
かかる際に用いるコバルト粒子あるいはコバルト化合物粒子は、比表面積が2.5〜30m3/gである水酸化コバルトを用いることが好ましい。コバルト粒子あるいはコバルト化合物粒子としてこの範囲のものを採用することによって水酸化ニッケルと水酸化コバルトとの接触面積が確保され、正極の利用率の向上につながる。
【0021】
また、上記ニッケル水酸化物の正極活物質にY、Er、Yb、Caの化合物を添加することにより、貯蔵時の容量維持率を改善することができる。用いられる上記化合物としては、例えばY2O3、Er2O3、Yb2O3、などの金属酸化物、およびCaF2などの金属フッ化物があげられる。これらの金属酸化物および金属フッ化物は、正極活物質であるニッケル水酸化物に対して、0.1〜2質量%の範囲で用いることができる。金属酸化物もしくは金属フッ化物の配合量が上記範囲を下回った場合、貯蔵特性の改善効果が得られず、一方配合量が上記範囲を上回った場合、相対的に正極活物質の量が減るので高容量化に適さなくなるため好ましくない。
本発明においては、正極の導電性を改善するために、正極材料に炭素粒子を含有させることが望ましい。
かかる炭素粒子としては、例えばアセチレンブラック、カーボンブラック等を用いることができる。配合量は、正極活物質:炭素粒子=100:3〜10(質量比)の範囲が適切である。炭素粒子の配合比がこれより高いと活物質量が相対的に減少するため高容量化に適さなくなり、一方、炭素粒子の配合比がこれより低いと電子電導性が相対的に低下するので高出力特性に適さなくなる。
【0022】
(負極材料)
本発明で用いられる負極材料は、負極活物質である亜鉛合金を主成分とする負極材料であり、公知の二酸化マンガン−亜鉛一次電池で使用されている亜鉛ゲルを用いることができる。この負極材料は、ゲル状であることが取り扱いの点で望ましい。これを負極材料をゲル状とするためには、負極活物質に電解液及び増粘剤を添加することにより容易にゲル化することができる。
【0023】
本発明において用いる亜鉛合金は、無汞化亜鉛合金として知られている水銀及び鉛を含まない亜鉛合金を用いることができる。具体的には、インジウム0.06質量%、ビスマス0.014質量%、アルミニウム0.0035質量%を含む亜鉛合金が、水素ガス発生の抑制効果があり望ましい。特にインジウム、ビスマスは放電性能を向上させるため望ましい。
負極作用物質として純亜鉛ではなく亜鉛合金を用いる理由は、アルカリ性電解液中での自己溶解速度を遅くし、密閉系の電池製品とした場合の電池内部での水素ガス発生を抑制して、漏液による事故を防止するためである。
【0024】
また、亜鉛合金の形状は、表面積を大きくして大電流放電に対応できるように粉末状とすることが望ましい。本発明において好ましい亜鉛合金の平均粒径は、100〜350μmの範囲が好ましい。亜鉛合金の平均粒径が上記範囲を上回った場合、表面積が比較的小さくなり大電流放電に対応することは困難になる。また、平均粒径が上記範囲を下回った場合、電池組み立て時の取り扱いが難しく、電解液及びゲル化剤と均一に混合することが困難になるばかりでなく、表面が活性であることから酸化されやすく不安定である。
【0025】
また、本発明において用いられる増粘剤としては、ポリビニルアルコール、ポリアクリル酸塩、CMC、アルギン酸などを用いることができる。特に、ポリアクリル酸ナトリウムが、強アルカリに対する耐薬品性に優れているため好ましい。
【0026】
(電解液)
本発明で用いられる電解液は、水酸化カリウム、水酸化ナトリウムなどのアルカリ塩を溶質として用いた水溶液が好ましく、特に、水酸化カリウムを用いることが、好ましい。
【0027】
また、本発明においては、上記水酸化カリウムなどのアルカリ塩を水に溶解した電解液中に亜鉛化合物を添加することが望ましい。かかる亜鉛化合物としては、酸化亜鉛、水酸化亜鉛などの化合物が挙げられるが、特に酸化亜鉛が好ましい。電解液として少なくとも亜鉛化合物を含有するアルカリ性水溶液を用いるのは、アルカリ性水溶液中での亜鉛合金の自己溶解が酸性系の電解液と比較して格段に少なく、更には亜鉛合金のアルカリ性電解液中での自己溶解を亜鉛化合物、例えば酸化亜鉛を溶解して亜鉛イオンを予め存在させておくことにより更に抑制するためである。
【0028】
【実施例】
以下、本発明を実施例によって説明する。
【0029】
(実施例1,2)
本実施例において、コバルト化合物をコーティングしたオキシ水酸化ニッケルを正極活物質として用い、図1に示すアルカリ電池を製作した。
まず、コバルト化合物でコーティングしたオキシ水酸化ニッケル120質量部、黒鉛粉末10.5質量部、ポリエチレン0.12質量部から構成される正極合剤で乾式攪拌を10分間、回転数300rpmで行なった後、アルカリ電解液6.0質量部を加え、湿式攪拌を10分間、回転数300rpmで行ない、さらに、均一に混合するため、湿式攪拌を回転数600rpmで10分間行なって正極原料を調製した。この正極原料として、黒鉛粉末含有率は8質量%、ポリエチレン添加量は1000ppmとした。得られた正極原料をプレス型に充填し、中空円筒状の正極合剤2を成形した。
この正極合剤を、有底円筒形の正極缶1内に収容し、正極合剤2の中空部にビニロン及びPVA繊維の不織布からなる有底円筒状のセパレータ3が配置した。また、その内部にゲル状負極4を充填した。
【0030】
ゲル状亜鉛負極4内には真鍮製の負極集電棒5を、その先端部をゲル状負極4に差し込むようにして装着した。負極集電棒5の上部外周及び正極缶1の上部内周面には二重環状のポリアミド樹脂からなる絶縁ガスケット6が配設した。また、絶縁ガスケット6の二重環状部の間にはリング状の金属板7を配設し、かつ金属板7には負極端子を兼ねる帽子形の金属封口板8が集電棒5の頭部に当接するように配設した。
【0031】
そして、正極缶1の開口縁内側にはリング状に、下記表1に示すシール剤9を塗布し、正極缶1を内方に屈曲させることによりガスケット6及び金属封口板8で正極缶1内を密封口した。
【0032】
(比較例1,2)
比較例として、従来から使用しているアスファルトを主成分としたシール剤を使用したLR6形アルカリ電池(比較例1)と、ポリブテンを主成分とし流動点を85℃に調整したシール剤を使用した同形の電池(比較例2)と、ポリブテンを主成分とし流動点を100℃に調整したシール剤を使用した同形の電池(比較例3)を組み立てた。
【0033】
上記のようにして組み立てた実施例及び比較例の各LR6形アルカリ乾電池について、60℃−93RHの条件下で15日間ごと90日間まで貯蔵し、電解液が電池外部へ漏出した電池の発生数を調査した。その結果を下記の表1に示した
【0034】
【表1】
【0035】
表1から明らかなように、本実施例のLR6形アルカリ電池は、比較例の同形の電池と比較して高温多湿貯蔵化での耐漏液特性が優れていることが明らかとなった。
上記したように、本実施例によると、正極合剤の活物質としてコバルト酸化物でコーティングしたオキシ水酸化ニッケルを配合したアルカリ乾電池の封口部分に塗着するシール剤にポリブテンを主成分とし流動点を90〜95℃に調整したシール剤を用いることで、長期期間の高温貯蔵においても電池外部への電解液の漏出が起こるといった不都合は生じなくなり、良好な耐漏液特性及び封口特性を保つことができることが判明した。
【0036】
(実施例3〜5及び比較例4〜6)
上記シール剤の最適厚さを判断するために、ポリブテン系樹脂をシール剤として用い、各種厚さに塗着して実施例1と同様にしてアルカリ電池を作製し、60℃93%RH貯蔵時における漏液発生数を調査した。その結果を下記表2に示す。
【0037】
【表2】
【0038】
上記表2の結果から、ポリブテン系樹脂シール剤においては、塗布厚さが、3〜5μmの範囲のものが、漏液防止性能にとって、もっともよい結果であった。
【0039】
(比較例7〜11)
本発明のシール剤の他の正極活物質を有する電池への適用の可能性を検討するために、シール剤について各種の流動点を有するポリブテン系樹脂を用いたR6形マンガン乾電池を製作し、60℃93%RH貯蔵時における漏液発生数を調査した。
その結果を下記表3に示す。
【0040】
【表3】
【0041】
上記表3に示す結果から明らかなように、本発明のシール剤をマンガン乾電池に適用したが、完全には漏液を阻止することができなかった。また、マンガン乾電池においての流動点の最適範囲は、85〜90のものであり、その範囲は上記オキシ水酸化ニッケル系化合物の場合と異なっていた。
これらのことから、本発明のシール剤をマンガン乾電池に適用しても、十分信頼性のあるシールを実現することは困難であることが判明した。
【0042】
【発明の効果】
以上説明したように、本発明のアルカリ電池は、従来より封口性能に優れ、電池の耐漏液特性を向上することができた。
【図面の簡単な説明】
【図1】本発明による製造されたJIS規格LR6形(単3形)アルカリ電池の断面図。
【符号の説明】
1…正極缶
2…正極合剤
3…セパレータ
4…ゲル状亜鉛負極
5…負極集電棒
6…絶縁ガスケット
7…リング状金属板
8…金属封口板
9…シール剤
【産業上の利用分野】
本発明は、アルカリ電池に関し、特にその封口部分に塗着するシール剤を改良して、長期高温貯蔵時での耐漏液特性を向上したオキシ水酸化ニッケル系物質を正極活物質として用いたアルカリ電池に関するものである。
【0002】
【従来の技術】
アルカリ電池は、放電及び自己劣化による水素ガス発生によって電池内部の電解液が外部へ流出するのを防止するために、正極缶の開口縁と絶縁ガスケットとの密着部(封口部)にシール剤を塗布し、これによって接触部分の微少隙間を埋め、この部分を気密することで封口性を高めるという封口構造が採用されている。また、かかるシール剤としては、アスファルトを主成分とした材料が用いられていた。
【0003】
一方、マンガン乾電池において、負極亜鉛缶の側面をポリスチレンなどの熱収縮チューブで被覆し、負極缶の開口端部と封口体との間にポリブテンからなるシール剤を付与することがしられている(特許文献1参照)。この電池において、シール剤としてポリブテンを採用しているのは、従来知られている上記アスファルト系のシール剤が保存中に劣化し易いという欠点を改善するためになされたものであるが、マンガン乾電池においては、電池の電解質に使用されている電解液が蒸発しやすく、これによって生じる電池性能の劣化を防止することを目的とするものである。
【0004】
一方、上記オキシ水酸化ニッケル系化合物を正極活物質として用いるアルカリ電池においては、電解液の蒸発よりも、電解液が電池封口部から漏出することによって生じる電池性能劣化の方が遙かに電池性能に与える影響が大きく、電池封口部のシール剤を改善することが強く求められていた。
【0005】
【特許文献1】特開2001−332230号公報
【0006】
【発明が解決しようとする課題】
本発明は、前記従来のアスファルトを主成分としたシール剤において、もともと密着性・粘性が乏しく、特に2〜3年後の長期期間貯蔵においてはシール剤自身が大きく劣化してしまい粘性がほとんどなくなったり、シール剤のひび割れによる隙間が生じ、その結果、電池内部にガスが発生した場合、内圧上昇によって電解液がその隙間を通って外部へ押し出され漏出してしまうという問題を解決するためになされたもので、オキシ水酸化ニッケル系化合物を正極活物質として採用したアルカリ電池において、封口部のシール材料を最適化することによって電解液の漏液を効果的に防止するものである。
【0007】
【課題を解決するための手段】
本発明は、上記問題を解決するために、正極合剤の活物質としてコバルト化合物でコーティングしたオキシ水酸化ニッケル系化合物を正極活物質として配合したアルカリ電池において、正極缶の開口部と絶縁ガスケットとの封口部分にポリブテン系樹脂を主成分とし流動点が90〜95℃である封口シール剤を塗布することを特徴とするものである。
【0008】
【発明の実施の形態】
以下本発明の実施の形態について詳細に説明する。
本発明を適用した電池の1例を、図を用いて説明する。
図1が、本発明をJIS規格LR6形(単3型)アルカリ電池に適用した一例を示す断面図である。
この図において、1は正極端子を兼ねる有底円筒形の正極缶であり、内面には黒鉛粉末を主成分とした導電性被膜が形成されている。この正極缶内には円筒状に加圧成形した3個の正極合剤2が分割充填されている。正極合剤2は、コバルト化合物でコーティングしたオキシ水酸化ニッケル系化合物を、黒鉛粉末などからなる導電剤、及び、ポリエチレンなどのバインダから構成される正極合剤で、乾式攪拌して混合した原料粉末を、アルカリ電解液を添加し、湿式攪拌を行い、さらに、均一に混合するため、湿式攪拌を行なって調製することができる。
【0009】
また、正極合剤2の中空部にはビニロン及びPVA繊維の不織布などからなる有底円筒状のセパレータ3が配置されている。このセパレータ3を介して、ゲル状亜鉛負極4が充填されている。ゲル状亜鉛負極4内には真鍮製の負極集電棒5が、その先端部をゲル状負極4に差し込むようにして装着されている。負極集電棒5の上部外周及び正極缶1の上部内周面には二重環状のポリアミド樹脂からなる絶縁ガスケット6が配設されている。また、絶縁ガスケット6の二重環状部の間にはリング状の金属板7が配設され、かつ金属板7には負極端子を兼ねる帽子形の金属封口板8が集電棒5の頭部に当接するように配設されている。そして、正極缶1の開口縁内側にはリング状にシール剤9が塗布されていて、正極缶1を内方に屈曲させることによりガスケット6及び金属封口板8で正極缶1内を密封口している。
【0010】
本発明は、上記したように正極缶の開口部と絶縁ガスケットとの封口部分に密着性・粘性が高く、長期貯蔵後にも劣化しないポリブテン系樹脂を主成分としたシール剤を塗布することで、その気密性を高め耐漏液特性を向上させたものである。
【0011】
本発明において用いられるポリブテン系樹脂材料は、1−ブテン、または2−ブテンの単独重合体、あるいはこれらの共重合体、さらに、ポリエチレン、ポリプロピレンなどとの共重合体、または、これらの単独重合体もしくは共重合体と、ポリオレフィンなどの重合体との混合物を塗布して用いることができる。ただし、この混合シール剤を使用した場合のポリブテン系樹脂の重量比率は80%以上でなくては十分な気密性は得られない。
上記共重合樹脂材料あるいは混合樹脂材料を使用する場合にも、流動点が90〜95℃の範囲にあるものを選択する必要がある。流動点をこの範囲にするためには、樹脂材料の重合度や、重合体分子の枝分かれの状態、あるいは、共重合樹脂であれば、共重合成分との組成比率、また、混合物であれば、それぞれの成分の配合比率を適切に制御することによって最適の流動点を有する樹脂材料を作製することができる。また、ポリブテン系樹脂材料に可塑剤を添加して、流動点を調整することもできる。この可塑剤としては、ポリ塩化ビニル樹脂などにおいて用いられているフタル酸エステル系可塑剤やリン酸エステル系可塑剤、あるいは、エポキシ化大豆油、脂肪酸エステルなどを用いることができる。
【0012】
本発明において、流動点とは、以下の方法で測定した温度である。すなわち、約160℃になっている試料を試験管に入れ、中央に温度計を差し込んだコルクで密封し、水平な面に乗せて室温下で静置する。温度が110℃になったら試験管を45°に傾けて、試料に流動性があるときは、元に戻す。以下、温度が2.5℃下がる毎にその操作を繰り返す。そして、傾けてから5秒間の間、試料が動かない温度を見つけ、この温度に2.5℃加算した温度を流動点とするものである。
【0013】
本発明において、ポリブテン系樹脂として90〜95℃の範囲の流動点を有するものを選択したのは次の理由による。すなわち、ポリブテンの流動点は90℃よりも低いと電池を高温化で保存した場合などに、流動し易くなってシール剤が塗着部から外部に漏出してしまうという問題がある。シール剤が漏出すると電池外表面を汚すだけではなく、ガスが発生した場合に、電解液が外部へ漏出してしまい、外部を汚染することになる。一方、流動点が95℃よりも高いと、シール剤が温度変化に対して柔軟性が悪くなり、従来のアスファルトを主成分としたシール剤と同様に密着性・粘性が低下するという問題がある。そのためポリブテンの流動点は90〜95℃の範囲が最も望ましい。
【0014】
本発明において、電池封口部に塗着するシール剤の厚さとしては、3〜5μmの範囲が適切である。シール剤の厚さが、上記範囲を下回った場合、この電池の外部環境例えば温度あるいは電池内部圧などの変化に対応して十分なシール効果を発揮せず、漏液などを生起するおそれがある。一方、シール剤の厚さが上記範囲を上回った場合、正極開口部と絶縁ガスケットとの距離(隙間)が広がってしまい、封口強度が劣ってしまう問題が発生して好ましくない。
【0015】
本発明の上記ポリブテン系樹脂シール剤は、有機溶剤に溶解して塗着することによって、電池封口部にシール部を形成することができる。
【0016】
本発明においては、上記シール剤を、オキシ水酸化ニッケル系化合物を正極活物質として用いたアルカリ電池に適用している。以下、このアルカリ電池の正極材料、負極材料、及び電解液について説明する。
【0017】
(正極材料)
本発明で用いる正極活物質は、オキシ水酸化ニッケル粒子を主体とする。
さらに、亜鉛もしくはコバルト単独あるいはその両方を共晶しているオキシ水酸化ニッケルは、低電解液比率でもその構造変化を少なくできるので好ましい。オキシ水酸化ニッケルに共晶させる亜鉛もしくはコバルトの量としては、1〜7%の範囲が好ましい。亜鉛の量がこの範囲を下回ると、条件によっては正極が膨潤するため、その利用率が低下し、放電容量が低下する。またこの範囲を上回ると、相対的にニッケル純度が低下するため、高容量化に適さなくなる。
【0018】
また、水酸化ニッケル表面に、さらに高導電性の高次コバルト化合物を被着させた複合オキシ水酸化物とすることが、オキシ水酸化ニッケル粒子同士の電子導電性を確保する理由で好ましい。
前記表面に被着するコバルト化合物としては、出発原料として例えば、水酸化コバルト(Co(OH)2)、一酸化コバルト(CoO)、三酸化二コバルト(Co2O3)、などをあげることができ、これを酸化処理してオキシ水酸化コバルト(CoOOH)、四酸化三コバルト(Co3O4)などの高導電性高次コバルト酸化物に転化させる。
【0019】
上記本発明の正極活物質は、例えば次の方法によって製造することができる。
亜鉛及びコバルトをドープした水酸化ニッケル粒子に、水酸化コバルトを添加し、大気雰囲気中で攪拌しながら水酸化ナトリウム水溶液を噴霧する。引き続きマイクロウェーブ加熱を施すことにより水酸化ニッケル表面にコバルト高次酸化物の層が形成された複合水酸化ニッケル粒子が生成する。さらに、この反応系に次亜塩素酸ナトリウムなどの酸化剤を添加して酸化を進め、コバルト高次酸化物が被着した複合オキシ水酸化ニッケルを製造することができる。これによって導電性が極めて優れた正極活物質を得ることができる。
【0020】
かかる際に用いるコバルト粒子あるいはコバルト化合物粒子は、比表面積が2.5〜30m3/gである水酸化コバルトを用いることが好ましい。コバルト粒子あるいはコバルト化合物粒子としてこの範囲のものを採用することによって水酸化ニッケルと水酸化コバルトとの接触面積が確保され、正極の利用率の向上につながる。
【0021】
また、上記ニッケル水酸化物の正極活物質にY、Er、Yb、Caの化合物を添加することにより、貯蔵時の容量維持率を改善することができる。用いられる上記化合物としては、例えばY2O3、Er2O3、Yb2O3、などの金属酸化物、およびCaF2などの金属フッ化物があげられる。これらの金属酸化物および金属フッ化物は、正極活物質であるニッケル水酸化物に対して、0.1〜2質量%の範囲で用いることができる。金属酸化物もしくは金属フッ化物の配合量が上記範囲を下回った場合、貯蔵特性の改善効果が得られず、一方配合量が上記範囲を上回った場合、相対的に正極活物質の量が減るので高容量化に適さなくなるため好ましくない。
本発明においては、正極の導電性を改善するために、正極材料に炭素粒子を含有させることが望ましい。
かかる炭素粒子としては、例えばアセチレンブラック、カーボンブラック等を用いることができる。配合量は、正極活物質:炭素粒子=100:3〜10(質量比)の範囲が適切である。炭素粒子の配合比がこれより高いと活物質量が相対的に減少するため高容量化に適さなくなり、一方、炭素粒子の配合比がこれより低いと電子電導性が相対的に低下するので高出力特性に適さなくなる。
【0022】
(負極材料)
本発明で用いられる負極材料は、負極活物質である亜鉛合金を主成分とする負極材料であり、公知の二酸化マンガン−亜鉛一次電池で使用されている亜鉛ゲルを用いることができる。この負極材料は、ゲル状であることが取り扱いの点で望ましい。これを負極材料をゲル状とするためには、負極活物質に電解液及び増粘剤を添加することにより容易にゲル化することができる。
【0023】
本発明において用いる亜鉛合金は、無汞化亜鉛合金として知られている水銀及び鉛を含まない亜鉛合金を用いることができる。具体的には、インジウム0.06質量%、ビスマス0.014質量%、アルミニウム0.0035質量%を含む亜鉛合金が、水素ガス発生の抑制効果があり望ましい。特にインジウム、ビスマスは放電性能を向上させるため望ましい。
負極作用物質として純亜鉛ではなく亜鉛合金を用いる理由は、アルカリ性電解液中での自己溶解速度を遅くし、密閉系の電池製品とした場合の電池内部での水素ガス発生を抑制して、漏液による事故を防止するためである。
【0024】
また、亜鉛合金の形状は、表面積を大きくして大電流放電に対応できるように粉末状とすることが望ましい。本発明において好ましい亜鉛合金の平均粒径は、100〜350μmの範囲が好ましい。亜鉛合金の平均粒径が上記範囲を上回った場合、表面積が比較的小さくなり大電流放電に対応することは困難になる。また、平均粒径が上記範囲を下回った場合、電池組み立て時の取り扱いが難しく、電解液及びゲル化剤と均一に混合することが困難になるばかりでなく、表面が活性であることから酸化されやすく不安定である。
【0025】
また、本発明において用いられる増粘剤としては、ポリビニルアルコール、ポリアクリル酸塩、CMC、アルギン酸などを用いることができる。特に、ポリアクリル酸ナトリウムが、強アルカリに対する耐薬品性に優れているため好ましい。
【0026】
(電解液)
本発明で用いられる電解液は、水酸化カリウム、水酸化ナトリウムなどのアルカリ塩を溶質として用いた水溶液が好ましく、特に、水酸化カリウムを用いることが、好ましい。
【0027】
また、本発明においては、上記水酸化カリウムなどのアルカリ塩を水に溶解した電解液中に亜鉛化合物を添加することが望ましい。かかる亜鉛化合物としては、酸化亜鉛、水酸化亜鉛などの化合物が挙げられるが、特に酸化亜鉛が好ましい。電解液として少なくとも亜鉛化合物を含有するアルカリ性水溶液を用いるのは、アルカリ性水溶液中での亜鉛合金の自己溶解が酸性系の電解液と比較して格段に少なく、更には亜鉛合金のアルカリ性電解液中での自己溶解を亜鉛化合物、例えば酸化亜鉛を溶解して亜鉛イオンを予め存在させておくことにより更に抑制するためである。
【0028】
【実施例】
以下、本発明を実施例によって説明する。
【0029】
(実施例1,2)
本実施例において、コバルト化合物をコーティングしたオキシ水酸化ニッケルを正極活物質として用い、図1に示すアルカリ電池を製作した。
まず、コバルト化合物でコーティングしたオキシ水酸化ニッケル120質量部、黒鉛粉末10.5質量部、ポリエチレン0.12質量部から構成される正極合剤で乾式攪拌を10分間、回転数300rpmで行なった後、アルカリ電解液6.0質量部を加え、湿式攪拌を10分間、回転数300rpmで行ない、さらに、均一に混合するため、湿式攪拌を回転数600rpmで10分間行なって正極原料を調製した。この正極原料として、黒鉛粉末含有率は8質量%、ポリエチレン添加量は1000ppmとした。得られた正極原料をプレス型に充填し、中空円筒状の正極合剤2を成形した。
この正極合剤を、有底円筒形の正極缶1内に収容し、正極合剤2の中空部にビニロン及びPVA繊維の不織布からなる有底円筒状のセパレータ3が配置した。また、その内部にゲル状負極4を充填した。
【0030】
ゲル状亜鉛負極4内には真鍮製の負極集電棒5を、その先端部をゲル状負極4に差し込むようにして装着した。負極集電棒5の上部外周及び正極缶1の上部内周面には二重環状のポリアミド樹脂からなる絶縁ガスケット6が配設した。また、絶縁ガスケット6の二重環状部の間にはリング状の金属板7を配設し、かつ金属板7には負極端子を兼ねる帽子形の金属封口板8が集電棒5の頭部に当接するように配設した。
【0031】
そして、正極缶1の開口縁内側にはリング状に、下記表1に示すシール剤9を塗布し、正極缶1を内方に屈曲させることによりガスケット6及び金属封口板8で正極缶1内を密封口した。
【0032】
(比較例1,2)
比較例として、従来から使用しているアスファルトを主成分としたシール剤を使用したLR6形アルカリ電池(比較例1)と、ポリブテンを主成分とし流動点を85℃に調整したシール剤を使用した同形の電池(比較例2)と、ポリブテンを主成分とし流動点を100℃に調整したシール剤を使用した同形の電池(比較例3)を組み立てた。
【0033】
上記のようにして組み立てた実施例及び比較例の各LR6形アルカリ乾電池について、60℃−93RHの条件下で15日間ごと90日間まで貯蔵し、電解液が電池外部へ漏出した電池の発生数を調査した。その結果を下記の表1に示した
【0034】
【表1】
【0035】
表1から明らかなように、本実施例のLR6形アルカリ電池は、比較例の同形の電池と比較して高温多湿貯蔵化での耐漏液特性が優れていることが明らかとなった。
上記したように、本実施例によると、正極合剤の活物質としてコバルト酸化物でコーティングしたオキシ水酸化ニッケルを配合したアルカリ乾電池の封口部分に塗着するシール剤にポリブテンを主成分とし流動点を90〜95℃に調整したシール剤を用いることで、長期期間の高温貯蔵においても電池外部への電解液の漏出が起こるといった不都合は生じなくなり、良好な耐漏液特性及び封口特性を保つことができることが判明した。
【0036】
(実施例3〜5及び比較例4〜6)
上記シール剤の最適厚さを判断するために、ポリブテン系樹脂をシール剤として用い、各種厚さに塗着して実施例1と同様にしてアルカリ電池を作製し、60℃93%RH貯蔵時における漏液発生数を調査した。その結果を下記表2に示す。
【0037】
【表2】
【0038】
上記表2の結果から、ポリブテン系樹脂シール剤においては、塗布厚さが、3〜5μmの範囲のものが、漏液防止性能にとって、もっともよい結果であった。
【0039】
(比較例7〜11)
本発明のシール剤の他の正極活物質を有する電池への適用の可能性を検討するために、シール剤について各種の流動点を有するポリブテン系樹脂を用いたR6形マンガン乾電池を製作し、60℃93%RH貯蔵時における漏液発生数を調査した。
その結果を下記表3に示す。
【0040】
【表3】
【0041】
上記表3に示す結果から明らかなように、本発明のシール剤をマンガン乾電池に適用したが、完全には漏液を阻止することができなかった。また、マンガン乾電池においての流動点の最適範囲は、85〜90のものであり、その範囲は上記オキシ水酸化ニッケル系化合物の場合と異なっていた。
これらのことから、本発明のシール剤をマンガン乾電池に適用しても、十分信頼性のあるシールを実現することは困難であることが判明した。
【0042】
【発明の効果】
以上説明したように、本発明のアルカリ電池は、従来より封口性能に優れ、電池の耐漏液特性を向上することができた。
【図面の簡単な説明】
【図1】本発明による製造されたJIS規格LR6形(単3形)アルカリ電池の断面図。
【符号の説明】
1…正極缶
2…正極合剤
3…セパレータ
4…ゲル状亜鉛負極
5…負極集電棒
6…絶縁ガスケット
7…リング状金属板
8…金属封口板
9…シール剤
Claims (2)
- 正極端子と容器を兼ねる有底円筒の正極缶と、その正極缶内に配置された中空円筒状の正極合剤と、有底円筒状のセパレータを介して、前記正極合剤の中空部に充填されたゲル状亜鉛負極を備え、前記正極合剤の活物質としてコバルト化合物でコーティングしたオキシ水酸化ニッケル系化合物を配合したアルカリ電池において、
正極缶の開口部縁と絶縁ガスケットとの封口部にポリブテン系樹脂を主成分とし、流動点が90〜95℃であるシール剤を塗布したことを特徴とするアルカリ電池。 - 前記正極缶の開口部縁と絶縁ガスケットとの封口部に塗着したシール剤の厚さが、3〜5μmであることを特徴とする請求項1記載のアルカリ電池。
Priority Applications (1)
| Application Number | Priority Date | Filing Date | Title |
|---|---|---|---|
| JP2003099474A JP2004311069A (ja) | 2003-04-02 | 2003-04-02 | アルカリ電池 |
Applications Claiming Priority (1)
| Application Number | Priority Date | Filing Date | Title |
|---|---|---|---|
| JP2003099474A JP2004311069A (ja) | 2003-04-02 | 2003-04-02 | アルカリ電池 |
Publications (1)
| Publication Number | Publication Date |
|---|---|
| JP2004311069A true JP2004311069A (ja) | 2004-11-04 |
Family
ID=33463922
Family Applications (1)
| Application Number | Title | Priority Date | Filing Date |
|---|---|---|---|
| JP2003099474A Pending JP2004311069A (ja) | 2003-04-02 | 2003-04-02 | アルカリ電池 |
Country Status (1)
| Country | Link |
|---|---|
| JP (1) | JP2004311069A (ja) |
Cited By (1)
| Publication number | Priority date | Publication date | Assignee | Title |
|---|---|---|---|---|
| WO2008044480A1 (en) | 2006-10-11 | 2008-04-17 | Panasonic Corporation | Alkaline primary battery |
Citations (4)
| Publication number | Priority date | Publication date | Assignee | Title |
|---|---|---|---|---|
| JPS62154553A (ja) * | 1985-12-27 | 1987-07-09 | Nippon Petrochem Co Ltd | 電池 |
| JPS647468A (en) * | 1987-06-30 | 1989-01-11 | Nippon Petrochemicals Co Ltd | Battery |
| JPH117924A (ja) * | 1997-06-18 | 1999-01-12 | Toshiba Battery Co Ltd | マンガン乾電池 |
| JP2003017081A (ja) * | 2001-06-29 | 2003-01-17 | Toshiba Battery Co Ltd | アルカリ乾電池 |
-
2003
- 2003-04-02 JP JP2003099474A patent/JP2004311069A/ja active Pending
Patent Citations (4)
| Publication number | Priority date | Publication date | Assignee | Title |
|---|---|---|---|---|
| JPS62154553A (ja) * | 1985-12-27 | 1987-07-09 | Nippon Petrochem Co Ltd | 電池 |
| JPS647468A (en) * | 1987-06-30 | 1989-01-11 | Nippon Petrochemicals Co Ltd | Battery |
| JPH117924A (ja) * | 1997-06-18 | 1999-01-12 | Toshiba Battery Co Ltd | マンガン乾電池 |
| JP2003017081A (ja) * | 2001-06-29 | 2003-01-17 | Toshiba Battery Co Ltd | アルカリ乾電池 |
Cited By (4)
| Publication number | Priority date | Publication date | Assignee | Title |
|---|---|---|---|---|
| WO2008044480A1 (en) | 2006-10-11 | 2008-04-17 | Panasonic Corporation | Alkaline primary battery |
| CN101449407B (zh) * | 2006-10-11 | 2011-02-02 | 松下电器产业株式会社 | 碱性一次电池 |
| EP2075861A4 (en) * | 2006-10-11 | 2012-03-07 | Panasonic Corp | ALKALINE PRIMARY BATTERY |
| US8247108B2 (en) | 2006-10-11 | 2012-08-21 | Panasonic Corporation | Alkaline primary battery comprising a sealing agent |
Similar Documents
| Publication | Publication Date | Title |
|---|---|---|
| JP4102184B2 (ja) | アルミニウム負極電池 | |
| US7763383B2 (en) | Sealed nickel-zinc primary cell | |
| JP4746278B2 (ja) | 非水電解質二次電池 | |
| TWI793199B (zh) | 非水電解質二次電池 | |
| JP2003017077A (ja) | 密閉型アルカリ亜鉛一次電池 | |
| US20120009465A1 (en) | Alkaline battery | |
| JP4102183B2 (ja) | 電池 | |
| JPH09306503A (ja) | リチウム二次電池 | |
| JP2004311069A (ja) | アルカリ電池 | |
| JP4562984B2 (ja) | 密閉型アルカリ一次電池 | |
| JP5153113B2 (ja) | アルカリ一次電池 | |
| JP4255762B2 (ja) | 亜鉛アルカリ電池 | |
| JP4480945B2 (ja) | 筒形アルカリ電池 | |
| JP2003017079A (ja) | 亜鉛アルカリ電池 | |
| JP2004139909A (ja) | 密閉型ニッケル亜鉛一次電池 | |
| JP2003017081A (ja) | アルカリ乾電池 | |
| JP2003017078A (ja) | 亜鉛アルカリ電池 | |
| JP2007227011A (ja) | アルカリ電池 | |
| JP2001006680A (ja) | 亜鉛アルカリ電池 | |
| JP2003017042A (ja) | 密閉型アルカリ亜鉛一次電池 | |
| JP2005038697A (ja) | 円筒形アルカリ電池 | |
| JP4102896B2 (ja) | 亜鉛アルカリ電池及びその亜鉛負極の製造方法 | |
| JP2004164863A (ja) | 密閉型ニッケル亜鉛一次電池 | |
| JP2000260438A (ja) | アルカリマンガン電池 | |
| JP2000113895A (ja) | 円筒形アルカリ電池 |
Legal Events
| Date | Code | Title | Description |
|---|---|---|---|
| A621 | Written request for application examination |
Free format text: JAPANESE INTERMEDIATE CODE: A621 Effective date: 20060331 |
|
| A977 | Report on retrieval |
Free format text: JAPANESE INTERMEDIATE CODE: A971007 Effective date: 20090925 |
|
| A131 | Notification of reasons for refusal |
Free format text: JAPANESE INTERMEDIATE CODE: A131 Effective date: 20091020 |
|
| A02 | Decision of refusal |
Free format text: JAPANESE INTERMEDIATE CODE: A02 Effective date: 20100427 |
