JP2004211971A - 空気調和機の室外機 - Google Patents
空気調和機の室外機 Download PDFInfo
- Publication number
- JP2004211971A JP2004211971A JP2002382588A JP2002382588A JP2004211971A JP 2004211971 A JP2004211971 A JP 2004211971A JP 2002382588 A JP2002382588 A JP 2002382588A JP 2002382588 A JP2002382588 A JP 2002382588A JP 2004211971 A JP2004211971 A JP 2004211971A
- Authority
- JP
- Japan
- Prior art keywords
- curved portion
- outdoor unit
- bell mouth
- flat portion
- curved
- Prior art date
- Legal status (The legal status is an assumption and is not a legal conclusion. Google has not performed a legal analysis and makes no representation as to the accuracy of the status listed.)
- Pending
Links
Images
Landscapes
- Air-Flow Control Members (AREA)
- Other Air-Conditioning Systems (AREA)
Abstract
【課題】空気流によって発生する騒音をより低減することができる空気調和機の室外機を提供する。
【解決手段】空気調和機の室外機は、回転軸を有する送風ファンとベルマウス9とを備える。ベルマウス9は、湾曲部92と平面部93とを有する。湾曲部92は、送風ファンによって回転軸方向に生じる空気流が通る開口を構成し、空気流の吸込み側へと近づくにつれて開口が広がるように曲率半径Rで湾曲する。平面部93は、湾曲部92の吸込み側の外縁の少なくとも一部から延設される。そして、回転軸を端部とする半平面で平面部93を切った断面における平面部93の長さを表す平面部長さLの最大値Lmと、湾曲部92の曲率半径Rとの比Lm/Rが、0.5≦Lm/R≦1.5である。
【選択図】 図6
【解決手段】空気調和機の室外機は、回転軸を有する送風ファンとベルマウス9とを備える。ベルマウス9は、湾曲部92と平面部93とを有する。湾曲部92は、送風ファンによって回転軸方向に生じる空気流が通る開口を構成し、空気流の吸込み側へと近づくにつれて開口が広がるように曲率半径Rで湾曲する。平面部93は、湾曲部92の吸込み側の外縁の少なくとも一部から延設される。そして、回転軸を端部とする半平面で平面部93を切った断面における平面部93の長さを表す平面部長さLの最大値Lmと、湾曲部92の曲率半径Rとの比Lm/Rが、0.5≦Lm/R≦1.5である。
【選択図】 図6
Description
【0001】
【発明の属する技術分野】
本発明は、空気調和機の室外機、特にベルマウスを備える空気調和機の室外機に関する。
【0002】
【従来の技術】
空気調和機の室外機には送風ファンが備えられ、送風ファンによって、室外機内に取り込まれ再び室外機の外部へと吹き出す空気流が生成される。そして、室外機から吹き出す空気の出口近傍には、図15に示すようなベルマウスが設けられ、室外へと吹き出す空気の流路が形成されることが多い。送風ファンによって生じた空気流はこのベルマウスを通過するが、このとき空気流による騒音が発生することがある。このため、従来、空気流の吸込み側に湾曲部が設けられたベルマウスが考案されている(特許文献1参照)。このベルマウスの湾曲部は、送風ファンによって生じる空気流が通る開口を構成しており、図16に示すように、空気流の吸込み側へと近づくにつれて開口が広がるように曲率半径Rで湾曲している。なお、図14において、右側が吸込み側であり、左側が吹出し側である。
【0003】
このような湾曲部がベルマウスの吸い込み側の外縁を構成することにより、空気流が円滑にベルマウスを通過することができ、空気流による騒音が低減される。
【0004】
【特許文献1】
特開平11−14101号公報(第1(b)図および第1(c)図)
【0005】
【発明が解決しようとする課題】
上記のような湾曲部がベルマウスの吸い込み側の外縁を構成することにより、空気流による騒音が低減する。しかし、空気調和機の使用者等にとっては、このような騒音はより低減されることが望ましい。
本発明の課題は、空気流によって発生する騒音をより低減することができる空気調和機の室外機を提供することにある。
【0006】
【課題を解決するための手段】
請求項1に記載の空気調和機の室外機は、回転軸を有する送風ファンと、ベルマウスとを備える。ベルマウスは、湾曲部と平面部とを有する。湾曲部は、送風ファンによって回転軸方向に生じる空気流が通る開口を構成し、空気流の吸込み側へと近づくにつれて開口が広がるように曲率半径Rで湾曲する。平面部は、湾曲部の吸込み側の外縁の少なくとも一部から延設される。そして、回転軸を端部とする半平面で平面部を切った断面における平面部の長さを表す平面部長さLの最大値Lmと、湾曲部の曲率半径Rとの比Lm/Rが、0.5≦Lm/R≦1.5である。
【0007】
この空気調和機の室外機では、湾曲部の吸込み側の外縁の少なくとも一部から平面部が延設されている。このため、ベルマウスへと吸い込まれる空気が湾曲部の吸込み側の外縁で巻き込まれることが平面部によって抑えられる。従って、湾曲部の吸込み側の外縁近傍での空気流の乱れを低減することができ、空気流による騒音を低減することができる。また、このような騒音の低減の効果は、平面部長さLと、湾曲部の曲率半径Rとに関係し、平面部長さLの最大値Lmと、湾曲部の曲率半径Rとの比Lm/Rが、0.5≦Lm/R≦1.5であることが望ましいことが、本願の発明者によって明らかになった。そして、この空気調和機の室外機は、この条件に適合するベルマウスを備えるため、空気流による騒音をより低減することができる。
【0008】
請求項2に記載の空気調和機の室外機は、請求項1に記載の空気調和機の室外機であって、平面部は、開口を挟んで対向するように設けられる。
この空気調和機の室外機では、平面部は、開口を挟んで対向するように設けられる。このため、この空気調和機の室外機では、送風音の偏りを低減することができる。
【0009】
請求項3に記載の空気調和機の室外機は、請求項1または2に記載の空気調和機の室外機であって、ベルマウスは、平面部と湾曲部とにわたって設けられるリブを有する。このリブは、平面部の吹出し側表面および湾曲部の湾曲の内側表面から起立しており、リブの稜線が平面部および湾曲部に近づくように凹んでいる。
【0010】
ベルマウスに平面部が設けられる場合、補強のために湾曲部と平面部とにわたってリブが設けられることが望ましい。しかし、このリブが空気流の妨げとなると、空気流による騒音が発生し易くなる。
この空気調和機の室外機では、リブは、平面部の吹出し側表面および湾曲部の湾曲の内側表面から起立しており、リブの稜線が平面部および湾曲部に近づくように凹んでいる。このため、リブが設けられている側の湾曲部と平面部との表面に沿って流れる空気流がリブによって妨げられることが低減している。これにより、この空気調和機の室外機では、リブによって騒音が生じる恐れを低減することができる。
【0011】
請求項4に記載の空気調和機の室外機は、第1回転軸を有する第1送風ファンと、第1ベルマウスと、第2回転軸を有する第2送風ファンと、第2ベルマウスとを備える。第1ベルマウスは、第1湾曲部と第1平面部とを有する。第1湾曲部は、第1送風ファンによって第1回転軸方向に生じる空気流が通る開口を構成し、空気流の吸込み側へと近づくにつれて開口が広がるように曲率半径R1で湾曲する。第1平面部は、第1湾曲部の吸込み側の外縁の少なくとも一部から延設される。第2送風ファンは、第1送風ファンと並んで設けられる。第2ベルマウスは、第1ベルマウスと並んで設けられ、第2湾曲部と第2平面部とを有する。第2湾曲部は、第2送風ファンによって第2回転軸方向に生じる空気流が通る開口を構成し、空気流の吸込み側へと近づくにつれて開口が広がるように曲率半径R2で湾曲する。第2平面部は、第2湾曲部の吸込み側の外縁の少なくとも一部から延設される。そして、第1回転軸を端部とする半平面で第1平面部を切った断面における第1平面部の長さを表す第1平面部長さL1の最大値Lm1と、第1湾曲部の曲率半径R1との比Lm1/R1が、0.5≦Lm1/R1≦1.5である。また、第2回転軸を端部とする半平面で第2平面部を切った断面における第2平面部の長さを表す第2平面部長さL2の最大値Lm2と、第2湾曲部の曲率半径R2との比Lm2/R2が、0.5≦Lm2/R2≦1.5である。そして、第1平面部と第2平面部とは、第1湾曲部と第2湾曲部とが近接する部分近傍を除いて設けられる。
【0012】
この空気調和機の室外機では、第1湾曲部の吸込み側の外縁の少なくとも一部から第1平面部が延設される。また、第2湾曲部の吸込み側の外縁の少なくとも一部から第2平面部が延設される。このため、第1ベルマウスや第2ベルマウスへと吸い込まれる空気が第1湾曲部や第2湾曲部の吸込み側の外縁近傍で巻き込まれることが抑えられる。従って、第1湾曲部や第2湾曲部の吸込み側の外縁での空気流の乱れを低減することができ、空気流による騒音を低減することができる。また、このような騒音の低減の効果は、第1平面部長さL1と、第1湾曲部の曲率半径R1とに関係し、第1平面部長さL1の最大値Lm1と、第1湾曲部の曲率半径R1との比Lm1/R1が、0.5≦Lm1/R1≦1.5であることが望ましく、同様に、第2平面部長さL2の最大値Lm2と、第2湾曲部の曲率半径R2との比Lm2/R2が、0.5≦Lm2/R2≦1.5であることが望ましいことが、本願の発明者によって明らかになった。そして、この空気調和機の室外機は、この条件の第1ベルマウスおよび第2ベルマウスを備えるため、空気流による騒音をより低減することができる。
【0013】
また、第1ベルマウスと第2ベルマウスとが並設される場合、空気調和機の室外機の大型化を抑制するという観点からは、第1ベルマウスと第2ベルマウスとは近接して配置されることが望ましい。
この空気調和機の室外機では、第1平面部と第2平面部とは、第1湾曲部と第2湾曲部とが近接する部分近傍を除いて設けられる。このため、第1平面部と第2平面部とが第1ベルマウスと第2ベルマウスとを近接させて設ける際の妨げとなる恐れが少ない。これにより、第1ベルマウスと第2ベルマウスとを近接させて設けることが容易になっており、空気調和機の室外機の大型化を抑制することができる。
【0014】
請求項5に記載の空気調和機の室外機は、請求項4に記載の空気調和機の室外機であって、第1ベルマウスの外縁および第2ベルマウスの外縁が略四角形に形成されている。
第1ベルマウスと第2ベルマウスとが並設される場合、第1ベルマウスと第2ベルマウスとが円形となっていると、第1ベルマウスと第2ベルマウスとの間に隙間が生じ易い。
【0015】
しかし、この空気調和機の室外機では、第1ベルマウスの外縁および第2ベルマウスの外縁が略四角形に形成されている。このため、第1ベルマウスと第2ベルマウスとが並設される場合でも、ベルマウスの平面部の間に隙間が生じ難くなっている。
【0016】
【発明の実施の形態】
<第1実施形態>
[全体構成]
本発明の第1実施形態が採用された空気調和機1の外観を図1に示す。空気調和機1は、室内に配置される室内機2と、室外に配置される室外機3とに分かれたセパレート型の空気調和機である。なお、図中では1台の室内機2が室外機3に接続されているが、一台の室外機3に複数台の室内機2が接続されてもよい。
【0017】
[室外機の概略構成]
室外機3は、略箱状のケーシング4を有しており、ケーシング4の内部は、仕切り板によって、左右に、通気室SP1と機械室SP2との2つの空間にそれぞれ分けられている。
左側に位置する通気室SP1は、室外熱交換器が配置され室外熱交換器を通って熱交換される空気が通る空間である。ケーシング4の前面には前板40が設けられている。前板40は、板金から形成されており、吹出し口41が設けられている。また、吹出し口41の前面には格子状の保護パネル42が設けられている。室外機3の背面から通気室SP1に吸い込まれた空気は、吹出し口41から排出される。なお、通気室SP1の背面側は開かれており、通気室SP1の背面側から室外の空気が通気室SP1へと取り込まれる。
【0018】
右側に位置する機械室SP2は、通気室SP1からある程度隔離された空間となっており、圧縮機や四路切換弁、電装品などが収容されている。
通気室SP1には、図2に示すように、室外熱交換器5、ファンモータ台6、ファンモータ7、送風ファン8、ベルマウス9などが配置されている。なお、図2は、室外機3の側面断面の模式図であるが、理解の容易のために、ファンモータ台6、ファンモータ7、送風ファン8については側面図として記載している。
【0019】
室外熱交換器5は、空気調和機1の冷媒回路の一部を構成しており、通過する空気との間で熱交換を行う。ファンモータ台6は、室外熱交換器5の前方に配置されており、下端が室外機3のケーシング4の底板43の上面に固定されている。ファンモータ7は、ファンモータ台6に支持されており、送風ファン8を回転駆動する。ファンモータ7は、中心軸が、水平方向に、すなわち、室外機3の正面および背面に垂直な方向を向くように配置されている。ファンモータ7の前方には、送風ファン8およびベルマウス9が配置されている。送風ファン8は、複数の羽を有するプロペラファンであり、ファンモータ台6およびファンモータ7の前方に位置している。送風ファン8は、ファンモータ7の回転軸72に固定されており、ファンモータ7によって回転駆動されることにより、空気の流れを生成する。ベルマウス9は、前板40の内側に取り付けられ、送風ファン8の周囲を覆うように配置されている。前板40およびベルマウス9については後に詳述する。送風ファン8によって生成された空気流は、外部から室外機3の背面側を通って室外機3内に取り込まれ、室外熱交換器5を通り、ベルマウス9の開口および前板40の吹出し口41を通って外部へと吹き出す(破線矢印A1参照)。
【0020】
[前板40の構成]
図3に前板40の正面図を示す。
前板40は、略板状の部材であり、室外機3の前面側に配置されている。前板40は、前板平面部44と吹出し部45とにより構成されている。
前板平面部44は、板状の部材であり、室外機3の前面を覆っている。前板平面部44の中央付近には、円形の開口からなる吹出し口41が設けられている。
【0021】
吹出し部45は、図2に示すように、吹出し口41の縁から連続して室外機3の内側へと突出する環状の部分であり、送風ファン8によって生じる空気流が通る円形の開口を構成している。吹出し部45と吹出し口41とが連続する部分には微小なアール面が形成されている。また、吹出し部45は、送風ファン8の前側部分の周囲を覆うように配置されている。
【0022】
[ベルマウス9の構成]
図4にベルマウス9の正面図、図5にベルマウス9の左側面図を示す。なお、図4は、ベルマウス9を前面側から見た図である。
ベルマウス9は、前板40の吹出し部45と共に、室外へと吹き出す空気が通る空気経路を形成している。ベルマウス9は、前板40の内側に配置されており、その外縁が略四角形状になっている。ベルマウス9は、円筒部91と、湾曲部92と平面部93とを有している。
【0023】
円筒部91は、薄肉の円筒形状を有している。円筒部91は、ベルマウス9の前側部分に、すなわち吹出し側部分を構成しており、送風ファン8によって生じる空気流が通る円形の開口を構成している。円筒部91は、中心が送風ファン8の回転軸と一致するように配置されており、内径が前板40の吹出し部45の内径と一致するように形成されている。このため、ベルマウス9が前板40に取り付けられた状態では、円筒部91の内周面と吹出し部45の内周面とが合致した状態となる。
【0024】
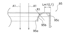
湾曲部92は、送風ファン8によって回転軸方向に生じる空気流が通る円形の開口を構成しており、回転軸方向の空気流の吸込み側へと近づくにつれて開口が広がるように曲率半径Rで湾曲している。湾曲部92は、円筒部91と共に空気経路を形成しており、開口の中心が送風ファン8の回転軸と一致するように配置されている。図6にベルマウス9の断面図を示す。湾曲部92は、環状の形状を有しており、空気流の吸込み側へと近づくにつれて、開口の径方向外側へと曲率半径Rで湾曲している。なお、図6では、図中上側が空気流の吸込み側(上流側)すなわち室外機3の背面側であり、図中下側が空気流の吹出し側(下流側)すなわち室外機3の前面側となっている。湾曲部92は、前側では円筒部91と同一の内径となっており、背面側へと近づくにつれて内径が拡大している。湾曲部92の吸込み側の外周縁は、図4に示すように、正面視において孔の周囲に沿った4つの円弧状の部分(図中の二点鎖線参照)と、各円弧の端部を繋ぐ直線状の部分とによって形成されている。湾曲部92の外周縁の直線状の部分は、四角形状のベルマウス9の外縁に沿った形状となっている。4つの円弧状の部分は、それぞれ対になって開口を挟んで対向するように配置されている。
【0025】
平面部93は、図4に示すように、湾曲部92の外周縁の4つの円弧状の部分からそれぞれ延設されており、開口を挟んで対向するように設けられている。具体的には、平面部は、4つの部分93a,93b,93c,93dに分かれて設けられており、各部分93a,93b,93c,93dが開口の中心を基準にして対称に配置されている。正面視において、平面部93の外縁は、湾曲部92の直線部分と共にベルマウス9の外縁に沿った形状となっており、四角形状の角部分近傍を構成している。また、平面部93は、図6に示すように。湾曲部92の吸込み側の外周縁から延設されている。平面部93は、径方向に略平行になっており、回転軸方向から約90度湾曲している湾曲部92の吸込み側の外縁と滑らかに連続している。
【0026】
また、送風ファン8の回転軸を端部とする平面で平面部93を切った断面における平面部93の長さで定義される平面部長さLは、湾曲部92の吸込み側の外縁から平面部93の外縁までの距離を表しており、平面部93の外縁がベルマウス9の外縁に沿った形状となるように、部分によって異なる値となっている。平面部長さLの最大値Lmは、湾曲部92の外周縁から四角形状の角部分までの距離であり、このベルマウス9では、平面部長さLの最大値Lmと、湾曲部92の曲率半径Rとの比Lm/Rが、Lm/R=1となっている。
【0027】
なお、本実施形態では、平面部93は、径方向に略平行になっており、回転軸方向から約90度湾曲している湾曲部92の吸込み側の外縁と滑らかに連続しているため、平面部長さLは、開口の中心から伸びる放射線方向の平面部93の長さとしても定義される。
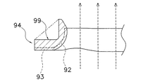
さらに、このベルマウス9には、平面部93と湾曲部92とにわたって設けられ、湾曲部92の外周縁の円周方向に交差する複数のリブ94が設けられている。リブ94は、平面部93の吹出し側表面および湾曲部の湾曲の内側表面から起立して設けられている。図7に、ベルマウス9のリブ94が設けられている部分の断面図を示す。リブ94は、その稜線99が平面部93および湾曲部92に近づくように凹んだ形状となっており、リブ94は、湾曲部92と平面部93との断面形状に概ね沿ったL字型形状となっている。
【0028】
[特徴]
(1)
この空気調和機1の室外機3では、図6に示すように、湾曲部92の吸込み側の外周縁から、径方向に略平行な平面部93が延設されている。このため、ベルマウス9へと吸い込まれる空気が湾曲部92の吸込み側の外周縁で巻き込まれることが抑えられる。従って、湾曲部92の吸込み側の外周縁での空気流の乱れが低減し、空気流による騒音が低減する。
【0029】
また、このような騒音の低減の効果は、平面部長さLと、湾曲部92の曲率半径Rとに関係し、平面部長さLの最大値Lmと、湾曲部92の曲率半径Rとの比Lm/Rが、0.5≦Lm/R≦1.5であることが望ましいことが本願の発明者によって明らかになっている。
空気流による騒音の低減に関する試験条件および試験結果を図8から図10に示す。
【0030】
この試験では、図8に示すように、平面部長さLの異なる複数種類のベルマウス9について、それぞれのベルマウス9が備えられた室外機3の送風音の大きさが測定された。試験は、曲率半径R=30mmに対して平面部長さL=0,15,30,45mmの4種類のベルマウス9に対して行われた。なお、試験で用いられたベルマウス9の外縁は円形になっており、各ベルマウス9の平面部長さLは一定となっている。すなわち、平面部長さL=平面部長さの最大値Lmとなっている。また、各ベルマウス9について、ファンモータへの入力電力は略一定とされ、送風ファン8による風量は一定とされている。
【0031】
図9に試験結果を表すグラフ、図10に実験結果の表を示す。
図9および図10から分かるように、平面部93が設けられていないL/R=0の場合と比較すると、L/R==0.5,L/R=1,L/R=1.5のいずれの場合も送風音が低下している。また、L/R==0.5,L/R=1,L/R=1.5のなかでも、L/R=1の場合が最も送風音が低下している。
【0032】
上述したように、室外機3が備えるベルマウス9では、平面部長さLの最大値Lmと、湾曲部92の曲率半径Rとの比Lm/Rが、Lm/R=1となっている。このため、この室外機3では、空気流による騒音がより低減することが分かる。
(2)
ベルマウス9に平面部93が設けられると、図16に示すような平面部93をほとんど有さない従来のベルマウスと比べてベルマウス9の寸法が増大する。一方、空気調和機1の室外機3の小型化の観点からは、ベルマウス9の寸法の増大はできるだけ抑えられることが望ましい。
【0033】
この空気調和機1の室外機3では、平面部93は、湾曲部92の外周縁の円周方向の全部に設けられるのではなく、その一部に設けられている。このため、ベルマウス9の平面部93が、湾曲部92の外周縁よりも大きな円形の形状となっている場合よりも、ベルマウス9の寸法の増大が抑えられている。
また、平面部93は、開口を挟んで対向するように配置されている。このため、平面部93の各部分93a,93b,93c,93dの配置は概ね均等になっており、送風音の偏りが防止されている。
【0034】
(3)
ベルマウス9に平面部93が設けられる場合、補強のために湾曲部92と平面部93との表面にリブ94を設けることが望ましい。一方、ベルマウス9の周囲を流れる空気流は、ベルマウス9の表面に沿って流れることがある。すなわち、平面部93の吹出し側表面および湾曲部の湾曲の内側表面にも、空気流が流れる。そして、リブ94がこのような空気流の妨げとなると、空気流による騒音が発生し易くなる。
【0035】
しかし、この空気調和機1の室外機3では、リブ94は、平面部93の吹出し側表面および湾曲部92の湾曲の内側表面から起立して設けられ、その稜線99が平面部93および湾曲部92に近づくように凹んだ形状となっている。このため、リブ94が設けられている側の湾曲部92と平面部93とに沿って流れる空気流がリブ94によって妨げられることが低減している。すなわち、湾曲部92と平面部93とにリブ94が設けられる場合には、リブの形状は、図7に二点鎖線で表すように、平面部93の吹出し側表面および湾曲部92の湾曲の内側表面を最短で繋ぐ略三角形状となることが通常である。しかし、このような形状では、平面部93の吹出し側表面および湾曲部の湾曲の内側表面に沿って湾曲部92の円周方向に流れる空気流の妨げとなり易い。従って、空気流による騒音が増大する恐れがある。しかし、リブ94は、稜線が平面部93および湾曲部92に近づくように凹んだ形状となっているため、湾曲部92の円周方向に沿って流れる空気流の妨げとなる恐れが少なくなっている。これにより、リブ94が設けられることによる騒音の増大が抑制されている。
【0036】
<第2実施形態>
本発明の第2実施形態が採用された空気調和機100の室外機300の外観を図11に示す。空気調和機100は、第1実施形態にかかる空気調和機1と同様に、室内に配置される室内機2と、室外に配置される室外機300とに分かれたセパレート型の空気調和機100であるが、室外機300は、内部に、第1回転軸を有する第1送風ファン81と、第2回転軸を有する第2送風ファン82との2つの送風ファンを備えている。そして、室外機300の前板46には、第1吹出し口47と第2吹出し口48との2つの吹出し口が設けられている。第1送風ファン81と第2送風ファン82とは、上下に並んで第1回転軸と第2回転軸とが平行になるように配置されており、第1吹出し口47と第2吹出し口48とは、第1送風ファン81と第2送風ファン82とに対応して上下に並んで配置されている。
【0037】
図12に、第1ベルマウス95と第2ベルマウス96とが取り付けられた状態の前板46を背面側から見た図を示す。
第1ベルマウス95と第2ベルマウス96とは、それぞれ第1実施形態にかかるベルマウス9と同様の形状を有しており、それぞれ第1吹出し口47と第2吹出し口48とに対応して上下に並んで取り付けられている。第1ベルマウス95は、第1円筒部95aと第1湾曲部95bと第1平面部95cとを有している。第2ベルマウス96は、第2円筒部96aと第2湾曲部96bと第2平面部96cとを有している。第1円筒部95aと第2円筒部96aとは、第1実施形態にかかるベルマウス9の円筒部91と同様の形状であり、第1湾曲部95bと第2湾曲部96bとは湾曲部92と同様の形状であり、第1平面部95cと第2平面部96cとは平面部93と同様の形状となっている。また、第1ベルマウス95の外縁および前記第2ベルマウス96の外縁は、それぞれ略四角形に形成されており、第1ベルマウス95と第2ベルマウス96とは、それぞれの外縁の辺が対向して近接するように配置されている。すなわち、第1平面部95cが設けられていない第1湾曲部95bの直線部分と、第2平面部96cが設けられていない第2湾曲部96bの直線部分とが近接するように、第1ベルマウス95と第2ベルマウス96とは配置されている。
【0038】
図13に第1ベルマウス95の断面図を、図14に第2ベルマウス96の断面図を示す。
第1回転軸を端部とする半平面で第1平面部95cを切った断面における第1平面部95cの長さを表す第1平面部長さL1の最大値Lm1と、第1湾曲部95bの曲率半径R1との比Lm1/R1が、Lm1/R1=1となっている。また、第2回転軸を端部とする半平面で第2平面部96cを切った断面における第2平面部96cの長さを表す第2平面部長さL2の最大値Lm2と、第2湾曲部96bの曲率半径R2との比Lm2/R2が、Lm2/R2=1となっている。
【0039】
[特徴]
この空気調和機100の室外機300では、第1湾曲部95bの吸込み側の外周縁から、径方向に略平行な第1平面部95cが延設されている。また、第2湾曲部96bの吸込み側の外周縁から、径方向に略平行な第2平面部96cが延設されている。そして、第1平面部長さL1の最大値Lm1と、第1湾曲部95bの曲率半径R1との比Lm1/R1=1であり、第2平面部長さL2の最大値Lm2と、第2湾曲部96bの曲率半径R2との比Lm2/R2=1となっている。このため、第1実施形態にかかる空気調和機1の室外機3と同様に、空気流による騒音が低減されている。
【0040】
また、第1ベルマウス95と第2ベルマウス96とが並設される場合、空気調和機100の室外機300の大型化を抑制するという観点からは、第1ベルマウス95と第2ベルマウス96とは近接して配置されることが望ましい。しかし、もし、第1平面部95cと第2平面部96cとがそれぞれ第1湾曲部95bと第2湾曲部96bとの全周を覆うように設けられる場合には、第1ベルマウス95と第2ベルマウス96との近接部分で第1平面部95cと第2平面部96cとが重なる恐れがある。従って、第1平面部95cと第2平面部96cとが重ならないように第1ベルマウス95と第2ベルマウス96との距離を隔てて配置することが必要となる。このため、空気調和機100の室外機300が大型化する恐れがある。
【0041】
しかし、この空気調和機100の室外機300では、第1平面部95cが設けられていない第1湾曲部95bの直線部分と、第2平面部96cが設けられていない第2湾曲部96bの直線部分とが近接するように、第1ベルマウス95と第2ベルマウス96とが配置されている。すなわち、第1ベルマウス95と第2ベルマウス96とにおいては、第1平面部95cと第2平面部96cとが、第1湾曲部95bと第2湾曲部96bとが近接する部分近傍を除いて設けられている。このため、第1平面部95cと第2平面部96cとが、第1ベルマウス95と第2ベルマウス96とを近接させて設ける際の妨げとならない。従って、第1ベルマウス95と第2ベルマウス96とを近接して配置することができる。これにより、空気調和機100の室外機300の大型化が抑制されている。
【0042】
<他の実施形態>
(1)
上記の第1実施形態では、平面部93は、湾曲部92の外周縁の4つの円弧状の部分からそれぞれ延設されている。すなわち、平面部93は、湾曲部92の外周縁の円周方向の全部に設けられるのではなく、その一部に設けられている。しかし、室外機3の内部の設置空間に余裕がある場合等には、湾曲部92の外周縁の円周方向の全部に平面部93が設けられてもよい。これによっても、空気流による騒音がより低減する。
【0043】
また、上記の第1実施形態では、ベルマウス9の外縁が四角形状となるように、平面部長さLが変化しているが、騒音の低減という観点からは、径方向長さLが一定となってもよい。すなわち、平面部93の外縁が円弧状、あるいは円形になっていてもよい。さらに、ベルマウス9の外縁が四角形状以外の多角形状となるように、平面部長さLが変化していてもよい。これらの場合も、平面部93が存在することにより、空気流の乱れを抑えて騒音を抑制することができる。
【0044】
(2)
上記の第1実施形態では、平面部長さLの最大値Lmと、湾曲部92の曲率半径Rとの比Lm/Rが、Lm/R=1となっている。また、上記の第2実施形態では、第1平面部長さL1の最大値Lm1と、第1湾曲部95bの曲率半径R1との比Lm1/R1=1であり、第2平面部長さL2の最大値Lm2と、第2湾曲部96bの曲率半径R2との比Lm2/R2=1となっている。上述した試験結果から分かるように、より望ましいのは上記のようなLm/R=1、Lm1/R1=1およびLm2/R2=1の場合であるが、0.5≦Lm/R≦1.5、0.5≦Lm1/R1≦1.5および0.5≦Lm2/R2≦1.5の範囲内であれば、空気流による騒音の低減の効果は十分に得られる。
【0045】
(3)
ベルマウス9の外縁の形状は四角形状に限らず、四角以外の多角形でもよい。また、第1ベルマウス95の第1湾曲部95bと第2ベルマウス96の第2湾曲部96bとには、それぞれ4つの直線部分が設けられているが、第1ベルマウス95と第2ベルマウス96との近接部分のみが直線上になっており、他の部分は円弧状に形成されていてもよい。この場合でも、第1ベルマウス95と第2ベルマウス96とを近接させて配置することができ、室外機3の大型化を抑制することができる。
【0046】
(4)
上記の第2実施形態では、第1ベルマウス95と第2ベルマウス96とが上下に2つ配置されているが、第1ベルマウス95と第2ベルマウス96との配置は上下に限られるものではない。第1送風ファン81と第2送風ファン82とが左右に配置されるのであれば、第1送風ファン81と第2送風ファン82との配置に合わせて第1ベルマウス95と第2ベルマウス96とが左右に並んで配置されてもよい。
【0047】
また、第1ベルマウス95と第2ベルマウス96とに加えて、さらに第3ベルマウスや第4ベルマウスなど、複数のベルマウスが追加されてもよい。
(5)
上記の第1実施形態では、ベルマウス9の開口は円形の形状となっており、湾曲部92も円形の開口を構成しているが、四角形や六角形などの多角形や楕円形など、他の形状の開口がベルマウス9に設けられてもよい。
【0048】
第2実施形態にかかる第1湾曲部95bおよび第2湾曲部96bについても同様である。
(6)
上記の第1実施形態では、平面部93が径方向に平行になっているが、平面部93は、湾曲部92の外縁から延設されていればよく、必ずしも径方向に平行になっていなくてもよい。
【0049】
第2実施形態にかかる第1平面部95cおよび第2平面部96cについても同様である。
【0050】
【発明の効果】
請求項1に記載の空気調和機の室外機では、湾曲部の吸込み側の外縁の少なくとも一部から平面部が延設されている。このため、ベルマウスへと吸い込まれる空気が湾曲部の吸込み側の外縁で巻き込まれることが平面部によって抑えられる。従って、湾曲部の吸込み側の外縁近傍での空気流の乱れを低減することができ、空気流による騒音を低減することができる。また、このような騒音の低減の効果は、平面部長さLと、湾曲部の曲率半径Rとに関係し、平面部長さLの最大値Lmと、湾曲部の曲率半径Rとの比Lm/Rが、0.5≦Lm/R≦1.5であることが望ましいことが、本願の発明者によって明らかになった。そして、この空気調和機の室外機は、この条件に適合するベルマウスを備えるため、空気流による騒音をより低減することができる。
【0051】
請求項2に記載の空気調和機の室外機では、平面部は、開口を挟んで対向するように設けられる。このため、この空気調和機の室外機では、送風音の偏りを低減することができる。
請求項3に記載の空気調和機の室外機では、リブは、平面部の吹出し側表面および湾曲部の湾曲の内側表面から起立しており、リブの稜線が平面部および湾曲部に近づくように凹んでいる。このため、リブが設けられている側の湾曲部と平面部との表面に沿って流れる空気流がリブによって妨げられることが低減している。これにより、この空気調和機の室外機では、リブによって騒音が生じる恐れを低減することができる。
【0052】
請求項4に記載の空気調和機の室外機では、第1湾曲部の吸込み側の外縁の少なくとも一部から第1平面部が延設される。また、第2湾曲部の吸込み側の外縁の少なくとも一部から第2平面部が延設される。このため、第1ベルマウスや第2ベルマウスへと吸い込まれる空気が第1湾曲部や第2湾曲部の吸込み側の外縁近傍で巻き込まれることが抑えられる。従って、第1湾曲部や第2湾曲部の吸込み側の外縁での空気流の乱れを低減することができ、空気流による騒音を低減することができる。また、このような騒音の低減の効果は、第1平面部長さL1と、第1湾曲部の曲率半径R1とに関係し、第1平面部長さL1の最大値Lm1と、第1湾曲部の曲率半径R1との比Lm1/R1が、0.5≦Lm1/R1≦1.5であることが望ましく、同様に、第2平面部長さL2の最大値Lm2と、第2湾曲部の曲率半径R2との比Lm2/R2が、0.5≦Lm2/R2≦1.5であることが望ましいことが、本願の発明者によって明らかになった。そして、この空気調和機の室外機は、この条件の第1ベルマウスおよび第2ベルマウスを備えるため、空気流による騒音をより低減することができる。
【0053】
また、第1ベルマウスと第2ベルマウスとが並設される場合、空気調和機の室外機の大型化を抑制するという観点からは、第1ベルマウスと第2ベルマウスとは近接して配置されることが望ましい。
この空気調和機の室外機では、第1平面部と第2平面部とは、第1湾曲部と第2湾曲部とが近接する部分近傍を除いて設けられる。このため、第1平面部と第2平面部とが第1ベルマウスと第2ベルマウスとを近接させて設ける際の妨げとなる恐れが少ない。これにより、第1ベルマウスと第2ベルマウスとを近接させて設けることが容易になっており、空気調和機の室外機の大型化を抑制することができる。
【0054】
請求項5に記載の空気調和機の室外機では、第1ベルマウスの外縁および第2ベルマウスの外縁が略四角形に形成されている。このため、第1ベルマウスと第2ベルマウスとが並設される場合でも、ベルマウスの平面部の間に隙間が生じ難くなっている。
【図面の簡単な説明】
【図1】第1実施形態にかかる空気調和機の外観図。
【図2】室外機の側面断面図。
【図3】前板の正面図。
【図4】ベルマウスの正面図。
【図5】ベルマウスの左側面図。
【図6】ベルマウスの断面図。
【図7】リブ近傍のベルマウスの断面図。
【図8】騒音低減効果試験の試験条件を表す図。
【図9】騒音低減効果試験の試験結果のグラフ。
【図10】騒音低減効果試験の試験結果の表。
【図11】第2実施形態にかかる空気調和機の外観図。
【図12】前板、第1ベルマウスおよび第2ベルマウスの正面図(背面側)。
【図13】第1ベルマウスの断面図。
【図14】第2ベルマウスの断面図。
【図15】従来のベルマウスの正面図。
【図16】従来のベルマウスの断面図。
【符号の説明】
1,100 空気調和機
3,300 室外機
8 送風ファン
9 ベルマウス
81 第1送風ファン
82 第2送風ファン
92 湾曲部
93 平面部
94 リブ
95 第1ベルマウス
95b 第1湾曲部
95c 第1平面部
96 第2ベルマウス
96b 第2湾曲部
96c 第2平面部
【発明の属する技術分野】
本発明は、空気調和機の室外機、特にベルマウスを備える空気調和機の室外機に関する。
【0002】
【従来の技術】
空気調和機の室外機には送風ファンが備えられ、送風ファンによって、室外機内に取り込まれ再び室外機の外部へと吹き出す空気流が生成される。そして、室外機から吹き出す空気の出口近傍には、図15に示すようなベルマウスが設けられ、室外へと吹き出す空気の流路が形成されることが多い。送風ファンによって生じた空気流はこのベルマウスを通過するが、このとき空気流による騒音が発生することがある。このため、従来、空気流の吸込み側に湾曲部が設けられたベルマウスが考案されている(特許文献1参照)。このベルマウスの湾曲部は、送風ファンによって生じる空気流が通る開口を構成しており、図16に示すように、空気流の吸込み側へと近づくにつれて開口が広がるように曲率半径Rで湾曲している。なお、図14において、右側が吸込み側であり、左側が吹出し側である。
【0003】
このような湾曲部がベルマウスの吸い込み側の外縁を構成することにより、空気流が円滑にベルマウスを通過することができ、空気流による騒音が低減される。
【0004】
【特許文献1】
特開平11−14101号公報(第1(b)図および第1(c)図)
【0005】
【発明が解決しようとする課題】
上記のような湾曲部がベルマウスの吸い込み側の外縁を構成することにより、空気流による騒音が低減する。しかし、空気調和機の使用者等にとっては、このような騒音はより低減されることが望ましい。
本発明の課題は、空気流によって発生する騒音をより低減することができる空気調和機の室外機を提供することにある。
【0006】
【課題を解決するための手段】
請求項1に記載の空気調和機の室外機は、回転軸を有する送風ファンと、ベルマウスとを備える。ベルマウスは、湾曲部と平面部とを有する。湾曲部は、送風ファンによって回転軸方向に生じる空気流が通る開口を構成し、空気流の吸込み側へと近づくにつれて開口が広がるように曲率半径Rで湾曲する。平面部は、湾曲部の吸込み側の外縁の少なくとも一部から延設される。そして、回転軸を端部とする半平面で平面部を切った断面における平面部の長さを表す平面部長さLの最大値Lmと、湾曲部の曲率半径Rとの比Lm/Rが、0.5≦Lm/R≦1.5である。
【0007】
この空気調和機の室外機では、湾曲部の吸込み側の外縁の少なくとも一部から平面部が延設されている。このため、ベルマウスへと吸い込まれる空気が湾曲部の吸込み側の外縁で巻き込まれることが平面部によって抑えられる。従って、湾曲部の吸込み側の外縁近傍での空気流の乱れを低減することができ、空気流による騒音を低減することができる。また、このような騒音の低減の効果は、平面部長さLと、湾曲部の曲率半径Rとに関係し、平面部長さLの最大値Lmと、湾曲部の曲率半径Rとの比Lm/Rが、0.5≦Lm/R≦1.5であることが望ましいことが、本願の発明者によって明らかになった。そして、この空気調和機の室外機は、この条件に適合するベルマウスを備えるため、空気流による騒音をより低減することができる。
【0008】
請求項2に記載の空気調和機の室外機は、請求項1に記載の空気調和機の室外機であって、平面部は、開口を挟んで対向するように設けられる。
この空気調和機の室外機では、平面部は、開口を挟んで対向するように設けられる。このため、この空気調和機の室外機では、送風音の偏りを低減することができる。
【0009】
請求項3に記載の空気調和機の室外機は、請求項1または2に記載の空気調和機の室外機であって、ベルマウスは、平面部と湾曲部とにわたって設けられるリブを有する。このリブは、平面部の吹出し側表面および湾曲部の湾曲の内側表面から起立しており、リブの稜線が平面部および湾曲部に近づくように凹んでいる。
【0010】
ベルマウスに平面部が設けられる場合、補強のために湾曲部と平面部とにわたってリブが設けられることが望ましい。しかし、このリブが空気流の妨げとなると、空気流による騒音が発生し易くなる。
この空気調和機の室外機では、リブは、平面部の吹出し側表面および湾曲部の湾曲の内側表面から起立しており、リブの稜線が平面部および湾曲部に近づくように凹んでいる。このため、リブが設けられている側の湾曲部と平面部との表面に沿って流れる空気流がリブによって妨げられることが低減している。これにより、この空気調和機の室外機では、リブによって騒音が生じる恐れを低減することができる。
【0011】
請求項4に記載の空気調和機の室外機は、第1回転軸を有する第1送風ファンと、第1ベルマウスと、第2回転軸を有する第2送風ファンと、第2ベルマウスとを備える。第1ベルマウスは、第1湾曲部と第1平面部とを有する。第1湾曲部は、第1送風ファンによって第1回転軸方向に生じる空気流が通る開口を構成し、空気流の吸込み側へと近づくにつれて開口が広がるように曲率半径R1で湾曲する。第1平面部は、第1湾曲部の吸込み側の外縁の少なくとも一部から延設される。第2送風ファンは、第1送風ファンと並んで設けられる。第2ベルマウスは、第1ベルマウスと並んで設けられ、第2湾曲部と第2平面部とを有する。第2湾曲部は、第2送風ファンによって第2回転軸方向に生じる空気流が通る開口を構成し、空気流の吸込み側へと近づくにつれて開口が広がるように曲率半径R2で湾曲する。第2平面部は、第2湾曲部の吸込み側の外縁の少なくとも一部から延設される。そして、第1回転軸を端部とする半平面で第1平面部を切った断面における第1平面部の長さを表す第1平面部長さL1の最大値Lm1と、第1湾曲部の曲率半径R1との比Lm1/R1が、0.5≦Lm1/R1≦1.5である。また、第2回転軸を端部とする半平面で第2平面部を切った断面における第2平面部の長さを表す第2平面部長さL2の最大値Lm2と、第2湾曲部の曲率半径R2との比Lm2/R2が、0.5≦Lm2/R2≦1.5である。そして、第1平面部と第2平面部とは、第1湾曲部と第2湾曲部とが近接する部分近傍を除いて設けられる。
【0012】
この空気調和機の室外機では、第1湾曲部の吸込み側の外縁の少なくとも一部から第1平面部が延設される。また、第2湾曲部の吸込み側の外縁の少なくとも一部から第2平面部が延設される。このため、第1ベルマウスや第2ベルマウスへと吸い込まれる空気が第1湾曲部や第2湾曲部の吸込み側の外縁近傍で巻き込まれることが抑えられる。従って、第1湾曲部や第2湾曲部の吸込み側の外縁での空気流の乱れを低減することができ、空気流による騒音を低減することができる。また、このような騒音の低減の効果は、第1平面部長さL1と、第1湾曲部の曲率半径R1とに関係し、第1平面部長さL1の最大値Lm1と、第1湾曲部の曲率半径R1との比Lm1/R1が、0.5≦Lm1/R1≦1.5であることが望ましく、同様に、第2平面部長さL2の最大値Lm2と、第2湾曲部の曲率半径R2との比Lm2/R2が、0.5≦Lm2/R2≦1.5であることが望ましいことが、本願の発明者によって明らかになった。そして、この空気調和機の室外機は、この条件の第1ベルマウスおよび第2ベルマウスを備えるため、空気流による騒音をより低減することができる。
【0013】
また、第1ベルマウスと第2ベルマウスとが並設される場合、空気調和機の室外機の大型化を抑制するという観点からは、第1ベルマウスと第2ベルマウスとは近接して配置されることが望ましい。
この空気調和機の室外機では、第1平面部と第2平面部とは、第1湾曲部と第2湾曲部とが近接する部分近傍を除いて設けられる。このため、第1平面部と第2平面部とが第1ベルマウスと第2ベルマウスとを近接させて設ける際の妨げとなる恐れが少ない。これにより、第1ベルマウスと第2ベルマウスとを近接させて設けることが容易になっており、空気調和機の室外機の大型化を抑制することができる。
【0014】
請求項5に記載の空気調和機の室外機は、請求項4に記載の空気調和機の室外機であって、第1ベルマウスの外縁および第2ベルマウスの外縁が略四角形に形成されている。
第1ベルマウスと第2ベルマウスとが並設される場合、第1ベルマウスと第2ベルマウスとが円形となっていると、第1ベルマウスと第2ベルマウスとの間に隙間が生じ易い。
【0015】
しかし、この空気調和機の室外機では、第1ベルマウスの外縁および第2ベルマウスの外縁が略四角形に形成されている。このため、第1ベルマウスと第2ベルマウスとが並設される場合でも、ベルマウスの平面部の間に隙間が生じ難くなっている。
【0016】
【発明の実施の形態】
<第1実施形態>
[全体構成]
本発明の第1実施形態が採用された空気調和機1の外観を図1に示す。空気調和機1は、室内に配置される室内機2と、室外に配置される室外機3とに分かれたセパレート型の空気調和機である。なお、図中では1台の室内機2が室外機3に接続されているが、一台の室外機3に複数台の室内機2が接続されてもよい。
【0017】
[室外機の概略構成]
室外機3は、略箱状のケーシング4を有しており、ケーシング4の内部は、仕切り板によって、左右に、通気室SP1と機械室SP2との2つの空間にそれぞれ分けられている。
左側に位置する通気室SP1は、室外熱交換器が配置され室外熱交換器を通って熱交換される空気が通る空間である。ケーシング4の前面には前板40が設けられている。前板40は、板金から形成されており、吹出し口41が設けられている。また、吹出し口41の前面には格子状の保護パネル42が設けられている。室外機3の背面から通気室SP1に吸い込まれた空気は、吹出し口41から排出される。なお、通気室SP1の背面側は開かれており、通気室SP1の背面側から室外の空気が通気室SP1へと取り込まれる。
【0018】
右側に位置する機械室SP2は、通気室SP1からある程度隔離された空間となっており、圧縮機や四路切換弁、電装品などが収容されている。
通気室SP1には、図2に示すように、室外熱交換器5、ファンモータ台6、ファンモータ7、送風ファン8、ベルマウス9などが配置されている。なお、図2は、室外機3の側面断面の模式図であるが、理解の容易のために、ファンモータ台6、ファンモータ7、送風ファン8については側面図として記載している。
【0019】
室外熱交換器5は、空気調和機1の冷媒回路の一部を構成しており、通過する空気との間で熱交換を行う。ファンモータ台6は、室外熱交換器5の前方に配置されており、下端が室外機3のケーシング4の底板43の上面に固定されている。ファンモータ7は、ファンモータ台6に支持されており、送風ファン8を回転駆動する。ファンモータ7は、中心軸が、水平方向に、すなわち、室外機3の正面および背面に垂直な方向を向くように配置されている。ファンモータ7の前方には、送風ファン8およびベルマウス9が配置されている。送風ファン8は、複数の羽を有するプロペラファンであり、ファンモータ台6およびファンモータ7の前方に位置している。送風ファン8は、ファンモータ7の回転軸72に固定されており、ファンモータ7によって回転駆動されることにより、空気の流れを生成する。ベルマウス9は、前板40の内側に取り付けられ、送風ファン8の周囲を覆うように配置されている。前板40およびベルマウス9については後に詳述する。送風ファン8によって生成された空気流は、外部から室外機3の背面側を通って室外機3内に取り込まれ、室外熱交換器5を通り、ベルマウス9の開口および前板40の吹出し口41を通って外部へと吹き出す(破線矢印A1参照)。
【0020】
[前板40の構成]
図3に前板40の正面図を示す。
前板40は、略板状の部材であり、室外機3の前面側に配置されている。前板40は、前板平面部44と吹出し部45とにより構成されている。
前板平面部44は、板状の部材であり、室外機3の前面を覆っている。前板平面部44の中央付近には、円形の開口からなる吹出し口41が設けられている。
【0021】
吹出し部45は、図2に示すように、吹出し口41の縁から連続して室外機3の内側へと突出する環状の部分であり、送風ファン8によって生じる空気流が通る円形の開口を構成している。吹出し部45と吹出し口41とが連続する部分には微小なアール面が形成されている。また、吹出し部45は、送風ファン8の前側部分の周囲を覆うように配置されている。
【0022】
[ベルマウス9の構成]
図4にベルマウス9の正面図、図5にベルマウス9の左側面図を示す。なお、図4は、ベルマウス9を前面側から見た図である。
ベルマウス9は、前板40の吹出し部45と共に、室外へと吹き出す空気が通る空気経路を形成している。ベルマウス9は、前板40の内側に配置されており、その外縁が略四角形状になっている。ベルマウス9は、円筒部91と、湾曲部92と平面部93とを有している。
【0023】
円筒部91は、薄肉の円筒形状を有している。円筒部91は、ベルマウス9の前側部分に、すなわち吹出し側部分を構成しており、送風ファン8によって生じる空気流が通る円形の開口を構成している。円筒部91は、中心が送風ファン8の回転軸と一致するように配置されており、内径が前板40の吹出し部45の内径と一致するように形成されている。このため、ベルマウス9が前板40に取り付けられた状態では、円筒部91の内周面と吹出し部45の内周面とが合致した状態となる。
【0024】
湾曲部92は、送風ファン8によって回転軸方向に生じる空気流が通る円形の開口を構成しており、回転軸方向の空気流の吸込み側へと近づくにつれて開口が広がるように曲率半径Rで湾曲している。湾曲部92は、円筒部91と共に空気経路を形成しており、開口の中心が送風ファン8の回転軸と一致するように配置されている。図6にベルマウス9の断面図を示す。湾曲部92は、環状の形状を有しており、空気流の吸込み側へと近づくにつれて、開口の径方向外側へと曲率半径Rで湾曲している。なお、図6では、図中上側が空気流の吸込み側(上流側)すなわち室外機3の背面側であり、図中下側が空気流の吹出し側(下流側)すなわち室外機3の前面側となっている。湾曲部92は、前側では円筒部91と同一の内径となっており、背面側へと近づくにつれて内径が拡大している。湾曲部92の吸込み側の外周縁は、図4に示すように、正面視において孔の周囲に沿った4つの円弧状の部分(図中の二点鎖線参照)と、各円弧の端部を繋ぐ直線状の部分とによって形成されている。湾曲部92の外周縁の直線状の部分は、四角形状のベルマウス9の外縁に沿った形状となっている。4つの円弧状の部分は、それぞれ対になって開口を挟んで対向するように配置されている。
【0025】
平面部93は、図4に示すように、湾曲部92の外周縁の4つの円弧状の部分からそれぞれ延設されており、開口を挟んで対向するように設けられている。具体的には、平面部は、4つの部分93a,93b,93c,93dに分かれて設けられており、各部分93a,93b,93c,93dが開口の中心を基準にして対称に配置されている。正面視において、平面部93の外縁は、湾曲部92の直線部分と共にベルマウス9の外縁に沿った形状となっており、四角形状の角部分近傍を構成している。また、平面部93は、図6に示すように。湾曲部92の吸込み側の外周縁から延設されている。平面部93は、径方向に略平行になっており、回転軸方向から約90度湾曲している湾曲部92の吸込み側の外縁と滑らかに連続している。
【0026】
また、送風ファン8の回転軸を端部とする平面で平面部93を切った断面における平面部93の長さで定義される平面部長さLは、湾曲部92の吸込み側の外縁から平面部93の外縁までの距離を表しており、平面部93の外縁がベルマウス9の外縁に沿った形状となるように、部分によって異なる値となっている。平面部長さLの最大値Lmは、湾曲部92の外周縁から四角形状の角部分までの距離であり、このベルマウス9では、平面部長さLの最大値Lmと、湾曲部92の曲率半径Rとの比Lm/Rが、Lm/R=1となっている。
【0027】
なお、本実施形態では、平面部93は、径方向に略平行になっており、回転軸方向から約90度湾曲している湾曲部92の吸込み側の外縁と滑らかに連続しているため、平面部長さLは、開口の中心から伸びる放射線方向の平面部93の長さとしても定義される。
さらに、このベルマウス9には、平面部93と湾曲部92とにわたって設けられ、湾曲部92の外周縁の円周方向に交差する複数のリブ94が設けられている。リブ94は、平面部93の吹出し側表面および湾曲部の湾曲の内側表面から起立して設けられている。図7に、ベルマウス9のリブ94が設けられている部分の断面図を示す。リブ94は、その稜線99が平面部93および湾曲部92に近づくように凹んだ形状となっており、リブ94は、湾曲部92と平面部93との断面形状に概ね沿ったL字型形状となっている。
【0028】
[特徴]
(1)
この空気調和機1の室外機3では、図6に示すように、湾曲部92の吸込み側の外周縁から、径方向に略平行な平面部93が延設されている。このため、ベルマウス9へと吸い込まれる空気が湾曲部92の吸込み側の外周縁で巻き込まれることが抑えられる。従って、湾曲部92の吸込み側の外周縁での空気流の乱れが低減し、空気流による騒音が低減する。
【0029】
また、このような騒音の低減の効果は、平面部長さLと、湾曲部92の曲率半径Rとに関係し、平面部長さLの最大値Lmと、湾曲部92の曲率半径Rとの比Lm/Rが、0.5≦Lm/R≦1.5であることが望ましいことが本願の発明者によって明らかになっている。
空気流による騒音の低減に関する試験条件および試験結果を図8から図10に示す。
【0030】
この試験では、図8に示すように、平面部長さLの異なる複数種類のベルマウス9について、それぞれのベルマウス9が備えられた室外機3の送風音の大きさが測定された。試験は、曲率半径R=30mmに対して平面部長さL=0,15,30,45mmの4種類のベルマウス9に対して行われた。なお、試験で用いられたベルマウス9の外縁は円形になっており、各ベルマウス9の平面部長さLは一定となっている。すなわち、平面部長さL=平面部長さの最大値Lmとなっている。また、各ベルマウス9について、ファンモータへの入力電力は略一定とされ、送風ファン8による風量は一定とされている。
【0031】
図9に試験結果を表すグラフ、図10に実験結果の表を示す。
図9および図10から分かるように、平面部93が設けられていないL/R=0の場合と比較すると、L/R==0.5,L/R=1,L/R=1.5のいずれの場合も送風音が低下している。また、L/R==0.5,L/R=1,L/R=1.5のなかでも、L/R=1の場合が最も送風音が低下している。
【0032】
上述したように、室外機3が備えるベルマウス9では、平面部長さLの最大値Lmと、湾曲部92の曲率半径Rとの比Lm/Rが、Lm/R=1となっている。このため、この室外機3では、空気流による騒音がより低減することが分かる。
(2)
ベルマウス9に平面部93が設けられると、図16に示すような平面部93をほとんど有さない従来のベルマウスと比べてベルマウス9の寸法が増大する。一方、空気調和機1の室外機3の小型化の観点からは、ベルマウス9の寸法の増大はできるだけ抑えられることが望ましい。
【0033】
この空気調和機1の室外機3では、平面部93は、湾曲部92の外周縁の円周方向の全部に設けられるのではなく、その一部に設けられている。このため、ベルマウス9の平面部93が、湾曲部92の外周縁よりも大きな円形の形状となっている場合よりも、ベルマウス9の寸法の増大が抑えられている。
また、平面部93は、開口を挟んで対向するように配置されている。このため、平面部93の各部分93a,93b,93c,93dの配置は概ね均等になっており、送風音の偏りが防止されている。
【0034】
(3)
ベルマウス9に平面部93が設けられる場合、補強のために湾曲部92と平面部93との表面にリブ94を設けることが望ましい。一方、ベルマウス9の周囲を流れる空気流は、ベルマウス9の表面に沿って流れることがある。すなわち、平面部93の吹出し側表面および湾曲部の湾曲の内側表面にも、空気流が流れる。そして、リブ94がこのような空気流の妨げとなると、空気流による騒音が発生し易くなる。
【0035】
しかし、この空気調和機1の室外機3では、リブ94は、平面部93の吹出し側表面および湾曲部92の湾曲の内側表面から起立して設けられ、その稜線99が平面部93および湾曲部92に近づくように凹んだ形状となっている。このため、リブ94が設けられている側の湾曲部92と平面部93とに沿って流れる空気流がリブ94によって妨げられることが低減している。すなわち、湾曲部92と平面部93とにリブ94が設けられる場合には、リブの形状は、図7に二点鎖線で表すように、平面部93の吹出し側表面および湾曲部92の湾曲の内側表面を最短で繋ぐ略三角形状となることが通常である。しかし、このような形状では、平面部93の吹出し側表面および湾曲部の湾曲の内側表面に沿って湾曲部92の円周方向に流れる空気流の妨げとなり易い。従って、空気流による騒音が増大する恐れがある。しかし、リブ94は、稜線が平面部93および湾曲部92に近づくように凹んだ形状となっているため、湾曲部92の円周方向に沿って流れる空気流の妨げとなる恐れが少なくなっている。これにより、リブ94が設けられることによる騒音の増大が抑制されている。
【0036】
<第2実施形態>
本発明の第2実施形態が採用された空気調和機100の室外機300の外観を図11に示す。空気調和機100は、第1実施形態にかかる空気調和機1と同様に、室内に配置される室内機2と、室外に配置される室外機300とに分かれたセパレート型の空気調和機100であるが、室外機300は、内部に、第1回転軸を有する第1送風ファン81と、第2回転軸を有する第2送風ファン82との2つの送風ファンを備えている。そして、室外機300の前板46には、第1吹出し口47と第2吹出し口48との2つの吹出し口が設けられている。第1送風ファン81と第2送風ファン82とは、上下に並んで第1回転軸と第2回転軸とが平行になるように配置されており、第1吹出し口47と第2吹出し口48とは、第1送風ファン81と第2送風ファン82とに対応して上下に並んで配置されている。
【0037】
図12に、第1ベルマウス95と第2ベルマウス96とが取り付けられた状態の前板46を背面側から見た図を示す。
第1ベルマウス95と第2ベルマウス96とは、それぞれ第1実施形態にかかるベルマウス9と同様の形状を有しており、それぞれ第1吹出し口47と第2吹出し口48とに対応して上下に並んで取り付けられている。第1ベルマウス95は、第1円筒部95aと第1湾曲部95bと第1平面部95cとを有している。第2ベルマウス96は、第2円筒部96aと第2湾曲部96bと第2平面部96cとを有している。第1円筒部95aと第2円筒部96aとは、第1実施形態にかかるベルマウス9の円筒部91と同様の形状であり、第1湾曲部95bと第2湾曲部96bとは湾曲部92と同様の形状であり、第1平面部95cと第2平面部96cとは平面部93と同様の形状となっている。また、第1ベルマウス95の外縁および前記第2ベルマウス96の外縁は、それぞれ略四角形に形成されており、第1ベルマウス95と第2ベルマウス96とは、それぞれの外縁の辺が対向して近接するように配置されている。すなわち、第1平面部95cが設けられていない第1湾曲部95bの直線部分と、第2平面部96cが設けられていない第2湾曲部96bの直線部分とが近接するように、第1ベルマウス95と第2ベルマウス96とは配置されている。
【0038】
図13に第1ベルマウス95の断面図を、図14に第2ベルマウス96の断面図を示す。
第1回転軸を端部とする半平面で第1平面部95cを切った断面における第1平面部95cの長さを表す第1平面部長さL1の最大値Lm1と、第1湾曲部95bの曲率半径R1との比Lm1/R1が、Lm1/R1=1となっている。また、第2回転軸を端部とする半平面で第2平面部96cを切った断面における第2平面部96cの長さを表す第2平面部長さL2の最大値Lm2と、第2湾曲部96bの曲率半径R2との比Lm2/R2が、Lm2/R2=1となっている。
【0039】
[特徴]
この空気調和機100の室外機300では、第1湾曲部95bの吸込み側の外周縁から、径方向に略平行な第1平面部95cが延設されている。また、第2湾曲部96bの吸込み側の外周縁から、径方向に略平行な第2平面部96cが延設されている。そして、第1平面部長さL1の最大値Lm1と、第1湾曲部95bの曲率半径R1との比Lm1/R1=1であり、第2平面部長さL2の最大値Lm2と、第2湾曲部96bの曲率半径R2との比Lm2/R2=1となっている。このため、第1実施形態にかかる空気調和機1の室外機3と同様に、空気流による騒音が低減されている。
【0040】
また、第1ベルマウス95と第2ベルマウス96とが並設される場合、空気調和機100の室外機300の大型化を抑制するという観点からは、第1ベルマウス95と第2ベルマウス96とは近接して配置されることが望ましい。しかし、もし、第1平面部95cと第2平面部96cとがそれぞれ第1湾曲部95bと第2湾曲部96bとの全周を覆うように設けられる場合には、第1ベルマウス95と第2ベルマウス96との近接部分で第1平面部95cと第2平面部96cとが重なる恐れがある。従って、第1平面部95cと第2平面部96cとが重ならないように第1ベルマウス95と第2ベルマウス96との距離を隔てて配置することが必要となる。このため、空気調和機100の室外機300が大型化する恐れがある。
【0041】
しかし、この空気調和機100の室外機300では、第1平面部95cが設けられていない第1湾曲部95bの直線部分と、第2平面部96cが設けられていない第2湾曲部96bの直線部分とが近接するように、第1ベルマウス95と第2ベルマウス96とが配置されている。すなわち、第1ベルマウス95と第2ベルマウス96とにおいては、第1平面部95cと第2平面部96cとが、第1湾曲部95bと第2湾曲部96bとが近接する部分近傍を除いて設けられている。このため、第1平面部95cと第2平面部96cとが、第1ベルマウス95と第2ベルマウス96とを近接させて設ける際の妨げとならない。従って、第1ベルマウス95と第2ベルマウス96とを近接して配置することができる。これにより、空気調和機100の室外機300の大型化が抑制されている。
【0042】
<他の実施形態>
(1)
上記の第1実施形態では、平面部93は、湾曲部92の外周縁の4つの円弧状の部分からそれぞれ延設されている。すなわち、平面部93は、湾曲部92の外周縁の円周方向の全部に設けられるのではなく、その一部に設けられている。しかし、室外機3の内部の設置空間に余裕がある場合等には、湾曲部92の外周縁の円周方向の全部に平面部93が設けられてもよい。これによっても、空気流による騒音がより低減する。
【0043】
また、上記の第1実施形態では、ベルマウス9の外縁が四角形状となるように、平面部長さLが変化しているが、騒音の低減という観点からは、径方向長さLが一定となってもよい。すなわち、平面部93の外縁が円弧状、あるいは円形になっていてもよい。さらに、ベルマウス9の外縁が四角形状以外の多角形状となるように、平面部長さLが変化していてもよい。これらの場合も、平面部93が存在することにより、空気流の乱れを抑えて騒音を抑制することができる。
【0044】
(2)
上記の第1実施形態では、平面部長さLの最大値Lmと、湾曲部92の曲率半径Rとの比Lm/Rが、Lm/R=1となっている。また、上記の第2実施形態では、第1平面部長さL1の最大値Lm1と、第1湾曲部95bの曲率半径R1との比Lm1/R1=1であり、第2平面部長さL2の最大値Lm2と、第2湾曲部96bの曲率半径R2との比Lm2/R2=1となっている。上述した試験結果から分かるように、より望ましいのは上記のようなLm/R=1、Lm1/R1=1およびLm2/R2=1の場合であるが、0.5≦Lm/R≦1.5、0.5≦Lm1/R1≦1.5および0.5≦Lm2/R2≦1.5の範囲内であれば、空気流による騒音の低減の効果は十分に得られる。
【0045】
(3)
ベルマウス9の外縁の形状は四角形状に限らず、四角以外の多角形でもよい。また、第1ベルマウス95の第1湾曲部95bと第2ベルマウス96の第2湾曲部96bとには、それぞれ4つの直線部分が設けられているが、第1ベルマウス95と第2ベルマウス96との近接部分のみが直線上になっており、他の部分は円弧状に形成されていてもよい。この場合でも、第1ベルマウス95と第2ベルマウス96とを近接させて配置することができ、室外機3の大型化を抑制することができる。
【0046】
(4)
上記の第2実施形態では、第1ベルマウス95と第2ベルマウス96とが上下に2つ配置されているが、第1ベルマウス95と第2ベルマウス96との配置は上下に限られるものではない。第1送風ファン81と第2送風ファン82とが左右に配置されるのであれば、第1送風ファン81と第2送風ファン82との配置に合わせて第1ベルマウス95と第2ベルマウス96とが左右に並んで配置されてもよい。
【0047】
また、第1ベルマウス95と第2ベルマウス96とに加えて、さらに第3ベルマウスや第4ベルマウスなど、複数のベルマウスが追加されてもよい。
(5)
上記の第1実施形態では、ベルマウス9の開口は円形の形状となっており、湾曲部92も円形の開口を構成しているが、四角形や六角形などの多角形や楕円形など、他の形状の開口がベルマウス9に設けられてもよい。
【0048】
第2実施形態にかかる第1湾曲部95bおよび第2湾曲部96bについても同様である。
(6)
上記の第1実施形態では、平面部93が径方向に平行になっているが、平面部93は、湾曲部92の外縁から延設されていればよく、必ずしも径方向に平行になっていなくてもよい。
【0049】
第2実施形態にかかる第1平面部95cおよび第2平面部96cについても同様である。
【0050】
【発明の効果】
請求項1に記載の空気調和機の室外機では、湾曲部の吸込み側の外縁の少なくとも一部から平面部が延設されている。このため、ベルマウスへと吸い込まれる空気が湾曲部の吸込み側の外縁で巻き込まれることが平面部によって抑えられる。従って、湾曲部の吸込み側の外縁近傍での空気流の乱れを低減することができ、空気流による騒音を低減することができる。また、このような騒音の低減の効果は、平面部長さLと、湾曲部の曲率半径Rとに関係し、平面部長さLの最大値Lmと、湾曲部の曲率半径Rとの比Lm/Rが、0.5≦Lm/R≦1.5であることが望ましいことが、本願の発明者によって明らかになった。そして、この空気調和機の室外機は、この条件に適合するベルマウスを備えるため、空気流による騒音をより低減することができる。
【0051】
請求項2に記載の空気調和機の室外機では、平面部は、開口を挟んで対向するように設けられる。このため、この空気調和機の室外機では、送風音の偏りを低減することができる。
請求項3に記載の空気調和機の室外機では、リブは、平面部の吹出し側表面および湾曲部の湾曲の内側表面から起立しており、リブの稜線が平面部および湾曲部に近づくように凹んでいる。このため、リブが設けられている側の湾曲部と平面部との表面に沿って流れる空気流がリブによって妨げられることが低減している。これにより、この空気調和機の室外機では、リブによって騒音が生じる恐れを低減することができる。
【0052】
請求項4に記載の空気調和機の室外機では、第1湾曲部の吸込み側の外縁の少なくとも一部から第1平面部が延設される。また、第2湾曲部の吸込み側の外縁の少なくとも一部から第2平面部が延設される。このため、第1ベルマウスや第2ベルマウスへと吸い込まれる空気が第1湾曲部や第2湾曲部の吸込み側の外縁近傍で巻き込まれることが抑えられる。従って、第1湾曲部や第2湾曲部の吸込み側の外縁での空気流の乱れを低減することができ、空気流による騒音を低減することができる。また、このような騒音の低減の効果は、第1平面部長さL1と、第1湾曲部の曲率半径R1とに関係し、第1平面部長さL1の最大値Lm1と、第1湾曲部の曲率半径R1との比Lm1/R1が、0.5≦Lm1/R1≦1.5であることが望ましく、同様に、第2平面部長さL2の最大値Lm2と、第2湾曲部の曲率半径R2との比Lm2/R2が、0.5≦Lm2/R2≦1.5であることが望ましいことが、本願の発明者によって明らかになった。そして、この空気調和機の室外機は、この条件の第1ベルマウスおよび第2ベルマウスを備えるため、空気流による騒音をより低減することができる。
【0053】
また、第1ベルマウスと第2ベルマウスとが並設される場合、空気調和機の室外機の大型化を抑制するという観点からは、第1ベルマウスと第2ベルマウスとは近接して配置されることが望ましい。
この空気調和機の室外機では、第1平面部と第2平面部とは、第1湾曲部と第2湾曲部とが近接する部分近傍を除いて設けられる。このため、第1平面部と第2平面部とが第1ベルマウスと第2ベルマウスとを近接させて設ける際の妨げとなる恐れが少ない。これにより、第1ベルマウスと第2ベルマウスとを近接させて設けることが容易になっており、空気調和機の室外機の大型化を抑制することができる。
【0054】
請求項5に記載の空気調和機の室外機では、第1ベルマウスの外縁および第2ベルマウスの外縁が略四角形に形成されている。このため、第1ベルマウスと第2ベルマウスとが並設される場合でも、ベルマウスの平面部の間に隙間が生じ難くなっている。
【図面の簡単な説明】
【図1】第1実施形態にかかる空気調和機の外観図。
【図2】室外機の側面断面図。
【図3】前板の正面図。
【図4】ベルマウスの正面図。
【図5】ベルマウスの左側面図。
【図6】ベルマウスの断面図。
【図7】リブ近傍のベルマウスの断面図。
【図8】騒音低減効果試験の試験条件を表す図。
【図9】騒音低減効果試験の試験結果のグラフ。
【図10】騒音低減効果試験の試験結果の表。
【図11】第2実施形態にかかる空気調和機の外観図。
【図12】前板、第1ベルマウスおよび第2ベルマウスの正面図(背面側)。
【図13】第1ベルマウスの断面図。
【図14】第2ベルマウスの断面図。
【図15】従来のベルマウスの正面図。
【図16】従来のベルマウスの断面図。
【符号の説明】
1,100 空気調和機
3,300 室外機
8 送風ファン
9 ベルマウス
81 第1送風ファン
82 第2送風ファン
92 湾曲部
93 平面部
94 リブ
95 第1ベルマウス
95b 第1湾曲部
95c 第1平面部
96 第2ベルマウス
96b 第2湾曲部
96c 第2平面部
Claims (5)
- 回転軸を有する送風ファン(8)と、
前記送風ファン(8)によって前記回転軸方向に生じる空気流が通る開口を構成し前記空気流の吸込み側へと近づくにつれて前記開口が広がるように曲率半径Rで湾曲する湾曲部(92)と、前記湾曲部(92)の吸込み側の外縁の少なくとも一部から延設される平面部(93)とを有するベルマウス(9)と、
を備え、
前記回転軸を端部とする半平面で前記平面部(93)を切った断面における前記平面部(93)の長さを表す平面部長さLの最大値Lmと、前記湾曲部(92)の曲率半径Rとの比Lm/Rが、0.5≦Lm/R≦1.5である、
空気調和機の室外機。 - 前記平面部(93)は、前記開口を挟んで対向するように設けられる、
請求項1に記載の空気調和機の室外機。 - 前記ベルマウス(9)は、前記平面部(93)と前記湾曲部(92)とにわたって設けられ、前記平面部(93)の吹出し側表面および前記湾曲部(92)の湾曲の内側表面から起立し稜線が前記平面部(93)および前記湾曲部(92)に近づくように凹んでいるリブ(94)を有する、
請求項1または2に記載の空気調和機の室外機。 - 第1回転軸を有する第1送風ファン(81)と、
前記第1送風ファン(81)によって前記第1回転軸方向に生じる空気流が通る開口を構成し前記空気流の吸込み側へと近づくにつれて前記開口が広がるように曲率半径R1で湾曲する第1湾曲部(95b)と、前記第1湾曲部(95b)の吸込み側の外縁の少なくとも一部から延設される第1平面部(95c)とを有する第1ベルマウス(95)と、
前記第1送風ファン(81)と並んで設けられ、第2回転軸を有する第2送風ファン(82)と、
前記第2送風ファン(82)によって前記第2回転軸方向に生じる空気流が通る開口を構成し前記空気流の吸込み側へと近づくにつれて前記開口が広がるように曲率半径R2で湾曲する第2湾曲部(96b)と、前記第2湾曲部(96b)の吸込み側の外縁の少なくとも一部から延設される第2平面部(96c)とを有し、前記第1ベルマウス(95)と並んで設けられる第2ベルマウス(96)と、
を備え、
前記第1回転軸を端部とする半平面で前記第1平面部(95c)を切った断面における前記第1平面部(95c)の長さを表す第1平面部長さL1の最大値Lm1と、前記第1湾曲部(95b)の曲率半径R1との比Lm1/R1が、0.5≦Lm1/R1≦1.5であり、
前記第2回転軸を端部とする半平面で前記第2平面部(96c)を切った断面における前記第2平面部(96c)の長さを表す第2平面部長さL2の最大値Lm2と、前記第2湾曲部(96b)の曲率半径R2との比Lm2/R2が、0.5≦Lm2/R2≦1.5であり、
前記第1平面部(95c)と前記第2平面部(96c)とは、前記第1湾曲部(95b)と前記第2湾曲部(96b)とが近接する部分近傍を除いて設けられる、
空気調和機の室外機。 - 前記第1ベルマウス(95)の外縁および前記第2ベルマウス(96)の外縁が略四角形に形成されている、
請求項4に記載の空気調和機の室外機。
Priority Applications (2)
| Application Number | Priority Date | Filing Date | Title |
|---|---|---|---|
| JP2002382588A JP2004211971A (ja) | 2002-12-27 | 2002-12-27 | 空気調和機の室外機 |
| CN 03242751 CN2700746Y (zh) | 2002-12-27 | 2003-03-28 | 空调机的室外机 |
Applications Claiming Priority (1)
| Application Number | Priority Date | Filing Date | Title |
|---|---|---|---|
| JP2002382588A JP2004211971A (ja) | 2002-12-27 | 2002-12-27 | 空気調和機の室外機 |
Publications (1)
| Publication Number | Publication Date |
|---|---|
| JP2004211971A true JP2004211971A (ja) | 2004-07-29 |
Family
ID=32818101
Family Applications (1)
| Application Number | Title | Priority Date | Filing Date |
|---|---|---|---|
| JP2002382588A Pending JP2004211971A (ja) | 2002-12-27 | 2002-12-27 | 空気調和機の室外機 |
Country Status (2)
| Country | Link |
|---|---|
| JP (1) | JP2004211971A (ja) |
| CN (1) | CN2700746Y (ja) |
Cited By (5)
| Publication number | Priority date | Publication date | Assignee | Title |
|---|---|---|---|---|
| JP2006118722A (ja) * | 2004-10-19 | 2006-05-11 | Hitachi Ltd | 空気調和機の室外機 |
| JP2007003134A (ja) * | 2005-06-27 | 2007-01-11 | Matsushita Electric Ind Co Ltd | 空気調和器の冷却装置 |
| CN1884930B (zh) * | 2005-06-23 | 2010-06-02 | 三星电子株式会社 | 空气净化器 |
| EP2333435A2 (en) | 2009-11-27 | 2011-06-15 | Sanyo Electric Co., Ltd. | Bell-mouth structure of air blower |
| JP2021162172A (ja) * | 2020-03-30 | 2021-10-11 | 株式会社富士通ゼネラル | 空気調和機の室外機 |
-
2002
- 2002-12-27 JP JP2002382588A patent/JP2004211971A/ja active Pending
-
2003
- 2003-03-28 CN CN 03242751 patent/CN2700746Y/zh not_active Expired - Lifetime
Cited By (5)
| Publication number | Priority date | Publication date | Assignee | Title |
|---|---|---|---|---|
| JP2006118722A (ja) * | 2004-10-19 | 2006-05-11 | Hitachi Ltd | 空気調和機の室外機 |
| CN1884930B (zh) * | 2005-06-23 | 2010-06-02 | 三星电子株式会社 | 空气净化器 |
| JP2007003134A (ja) * | 2005-06-27 | 2007-01-11 | Matsushita Electric Ind Co Ltd | 空気調和器の冷却装置 |
| EP2333435A2 (en) | 2009-11-27 | 2011-06-15 | Sanyo Electric Co., Ltd. | Bell-mouth structure of air blower |
| JP2021162172A (ja) * | 2020-03-30 | 2021-10-11 | 株式会社富士通ゼネラル | 空気調和機の室外機 |
Also Published As
| Publication number | Publication date |
|---|---|
| CN2700746Y (zh) | 2005-05-18 |
Similar Documents
| Publication | Publication Date | Title |
|---|---|---|
| US9513021B2 (en) | Blower and heat pump apparatus using the same | |
| CN108138798B (zh) | 鼓风机及具备该鼓风机的空气调节装置 | |
| JP4906555B2 (ja) | シロッコファン及び空気調和装置 | |
| CN110325745B (zh) | 螺旋桨式风扇、送风机以及空调机 | |
| US7461518B2 (en) | Fan and air conditioner | |
| JP4876784B2 (ja) | 両吸込型遠心送風機 | |
| JP2015081692A (ja) | 空気調和機の室内機 | |
| JP6709899B2 (ja) | 送風ファンおよびこれを用いた送風ユニット | |
| WO2015040668A1 (ja) | 空気調和機 | |
| WO2014050335A1 (ja) | 空気調和機 | |
| JP5293684B2 (ja) | 空気調和機の室内機 | |
| JP2004211971A (ja) | 空気調和機の室外機 | |
| TW200530539A (en) | Integral air conditioner | |
| WO2004088210A1 (ja) | 空気調和装置の室外機 | |
| WO2007119532A1 (ja) | ターボファン及び空気調和機 | |
| JP2002048085A (ja) | 多連型多翼送風機用羽根車、多連型多翼送風機および空気調和機 | |
| JP2007205268A (ja) | 遠心ファン | |
| WO2020152748A1 (ja) | 送風機、室内機および空気調和機 | |
| WO2019163450A1 (ja) | ターボファン、及び空気調和機の室内機 | |
| JP4274229B2 (ja) | 空気調和機 | |
| JP2007285164A (ja) | シロッコファン及び空気調和機 | |
| JP2000213768A (ja) | 空気調和機 | |
| JP4687741B2 (ja) | 空気調和機 | |
| JP2002022233A (ja) | 空気調和装置 | |
| WO2018042689A1 (ja) | 空気調和機 |
Legal Events
| Date | Code | Title | Description |
|---|---|---|---|
| A621 | Written request for application examination |
Free format text: JAPANESE INTERMEDIATE CODE: A621 Effective date: 20051129 |
|
| A977 | Report on retrieval |
Effective date: 20080609 Free format text: JAPANESE INTERMEDIATE CODE: A971007 |
|
| A131 | Notification of reasons for refusal |
Effective date: 20080708 Free format text: JAPANESE INTERMEDIATE CODE: A131 |
|
| A02 | Decision of refusal |
Effective date: 20090203 Free format text: JAPANESE INTERMEDIATE CODE: A02 |