JP2004150153A - 安全機構付引き手 - Google Patents

安全機構付引き手 Download PDF

Info

Publication number
JP2004150153A
JP2004150153A JP2002317406A JP2002317406A JP2004150153A JP 2004150153 A JP2004150153 A JP 2004150153A JP 2002317406 A JP2002317406 A JP 2002317406A JP 2002317406 A JP2002317406 A JP 2002317406A JP 2004150153 A JP2004150153 A JP 2004150153A
Authority
JP
Japan
Prior art keywords
sliding door
casing
door
pull
pull member
Prior art date
Legal status (The legal status is an assumption and is not a legal conclusion. Google has not performed a legal analysis and makes no representation as to the accuracy of the status listed.)
Granted
Application number
JP2002317406A
Other languages
English (en)
Other versions
JP3773483B2 (ja
Inventor
Yasuhiro Nishimura
康宏 西村
Mikio Nezu
幹夫 根津
Current Assignee (The listed assignees may be inaccurate. Google has not performed a legal analysis and makes no representation or warranty as to the accuracy of the list.)
Sekisui House Ltd
Nifco Inc
Original Assignee
Sekisui House Ltd
Nifco Inc
Priority date (The priority date is an assumption and is not a legal conclusion. Google has not performed a legal analysis and makes no representation as to the accuracy of the date listed.)
Filing date
Publication date
Application filed by Sekisui House Ltd, Nifco Inc filed Critical Sekisui House Ltd
Priority to JP2002317406A priority Critical patent/JP3773483B2/ja
Publication of JP2004150153A publication Critical patent/JP2004150153A/ja
Application granted granted Critical
Publication of JP3773483B2 publication Critical patent/JP3773483B2/ja
Anticipated expiration legal-status Critical
Expired - Lifetime legal-status Critical Current

Links

Images

Landscapes

  • Wing Frames And Configurations (AREA)

Abstract

【課題】指挟みを防止することのできる安全機構付引き手を提供すること。
【解決手段】引戸の一端に設けられた凹部に取付けられるとともに引手部材の一部を引戸面より突出させるための少なくとも2本の円弧状溝からなるガイド溝を有したケーシングと、該ケーシングの引戸面に対して出没自在に配設される引手部材と、該引手部材を前記ケーシングの引戸面から没入する方向へ付勢するバネ部材とを備え、前記引手部材に手をかけて引戸を移動させた際、前記バネ部材の付勢力に抗して引手部材が引戸面から突出するので、引き戸を閉める際に引手部材が当接して操作する者が指を挟むのを阻止することができる。
【選択図】 図1

Description

【0001】
【発明の属する技術分野】
本発明は、引き戸等の手を掛ける部分に使用される安全機構付引き手に関するものである。
【0002】
【従来の技術】
図8は、従来の引き戸用引き手の一例を示す斜視図である。ここで、安全機構付引き手1は、引違い移動時に重なり合う引戸2、3の内の引戸2に取付けられている。円内は、安全機構付引き手1を拡大して示す斜視図である。この従来例では、指詰めを防止するためのプロテクタ4が常に突出している(特許文献1参照)。また、図9に示すバータイプのものでは、バー5が常に引戸6の側面から突出して取付けられている。更に、図10に示す堀込み式の場合には、引戸7の一側端に切り込んだ取手8が形成されている。また、堀込み式の変形例として、図11に示すように手を掛ける部分を引戸10の側面より一段低く形成して引手9とし、指を挟まれ難くしたものが提案されている。
【0003】
【特許文献1】
特開平10−131553号公報
【0004】
【発明が解決しようとする課題】
しかし、上記した構成の従来の安全機構付引き手において、図8に示す例のものでは、手指を挟むのを防止するためのプロテクタが常に突出しているので、引戸を完全に収納、或いは重ね合わせることができず、見栄えも悪かった。引戸を開いた際の開口部も狭いという欠点が存在した。
また、図9に示すバータイプの引き手にあっても、バー5が常に引戸6の側面から突出して取付けられているので、引戸を完全に収納、或いは重ね合わせることができなかった。
更に、図10、11に示す形式のもにあっては、図12に示す様に引戸10は、フラットになり完全に収納することができるが、指を挟まれるおそれがあると共に、閉め難いと云う欠点が存在した。
【0005】
本発明は、上記実情に鑑み提案されたもので、閉成する際に引手部材が突出して指挟みを防止すると共に、引手部材を後退させて引き戸がフラット状態になるまで引き込むことのできる安全機構付引き手を提供することを目的とする。
【0006】
【課題を解決するための手段】
上記目的を達成するために、請求項1に記載の発明は、引戸の一端に設けられた凹部に取付けられるとともに引手部材の一部を引戸面より突出させるための少なくとも2本の円弧状溝からなるガイド溝を有したケーシングと、該ケーシングの引戸面に対して出没自在に配設される引手部材と、該引手部材を前記ケーシングの引戸面から没入する方向へ付勢するバネ部材とを備え、前記引手部材に手をかけて引戸を移動させた際、前記バネ部材の付勢力に抗して引手部材が引戸面から突出することを特徴としている。
【0007】
また、請求項2に記載の発明において、前記引手部材は、前記ケーシングに設けた保持部材によって引戸面から突出した状態を維持することを特徴とするものである。
【0008】
また、請求項3に記載の発明において、前記保持部材は、バネ手段であることを特徴とするものである。
【0009】
【発明の実施の形態】
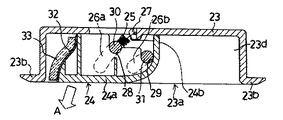
以下、一実施の形態を示す図面に基づいて本発明を詳細に説明する。ここで、図1は、本発明に係る安全機構付引き手の一例を示す正面図、図2は本発明の安全機構付引き手の使用状態を示す正面図、図3は本発明の安全機構付引き手の引手部材が後退した状態を示す横断面図である。安全機構付引き手20は、引戸21の一端に設けられた凹部22に取付けられるケーシング23と、このケーシグ23の引戸面23aに対して出没自在に配設される引手部材24と、該引手部材24を前記ケーシング23の引戸面から没入する方向へ付勢するバネ部材25とを備えている。
【0010】
ケーシング23は、周囲にフランジ部23bを有しており、引戸21の凹部に固定するためのビス穴23cを有している。このビス穴23cは、フランジ部23bに形成されている。また、ケーシング23は、引手部材24を収納する凹部23dを有している。凹部23dの対向する一対の面には、円弧状の長穴であるガイド溝26が形成されている。ガイド溝26は、少なくとも2本の長穴26a、26bから構成されている。ガイド溝26は、引手部材24を短いストロークで所望の角度で突出させると共に、効果的に後退させることができる。また、ケーシング23の凹部23dには、バネ部材25の一端を係止するためのフック27が形成されている。更に、ガイド溝26の長穴26a、26bは、仮想円中心をケーシング外側とする大きな同心の円弧状溝としている。つまり、仮想円中心と操作部24bとの距離をおくことで、引手部材24の移動をスムーズなものとしている。また、ケーシング奥側の長穴26aは、長穴26bよりも長い全長とすることで、引手部材24の回転角度を稼いでいる。これにより引手部材24の引戸移動方向への移動量に対して引戸面からの突出量を大きくすることが可能となっている。
【0011】
引手部材24は、ケーシング23の凹部23dに収納可能な縦寸法及び厚さを有している。引手部材24は、平坦な正面部24aと正面部24aとほぼ直角に配設された指を掛ける操作部24bとが曲線的に接続している。また、引手部材24は、長手方向に貫くピン穴28、29が形成されており、このピン穴28、29に支持ピン30、31が挿通される。更に、この支持ピン30、31の両端は、ケーシング23に形成されたガイド溝26である長穴26a、26bに遊嵌される。
【0012】
また、引手部材24の突出する端面32には、クッション部材33が貼着されている。このクッション部材33は、突出した引手部材24が、対向する引戸と衝突する際の衝撃を緩和することができる。更に、引手部材24の上下端面には、円弧状の浅溝34が形成されている。図6は、本発明の安全機構付引き手における浅溝34の拡大断面図である。ここで、この浅溝34の一部に深さの更に浅くなった括れ部34aが形成されており、この括れ部34aで対抗配設された板バネ35の半球形突部35aがクリックストップする。尚、浅溝34は、引手部材24の上下端面に設けてもよく、また上下のいずれか一方に設けてもよい。
【0013】
図7は、本発明の安全機構付引き手の板バネを示す要部斜視図である。ここで、板バネ35は、ケーシング23の上端に形成された取付け凹部36に半球形突部35aを下向きにして装着されており、止着ワッシャ37によって固定されている。半球形突部35aは、貫通孔からケーシング23の内側に突出しており、引手部材24に形成された浅溝34に当接している。
【0014】
次に、以上のように構成された安全機構付引き手20の使用方法について図3〜図5に基づいて説明する。先ず、引手部材24がケーシング23の凹部23dに収納された状態で引戸を開ける為に、引手部材24に指先をかけると、引手部材24がガイド溝26に沿って矢印A方向に突出する。図4は、引手部材24が完全に突出した状態を示し、図6に示すように板バネ35の半球形突部35aが括れ部34aを乗り越えて突出状態を維持する。この状態で、矢印B方向から対抗する引戸が近づいて来ても、引手部材24のクッション部材33に当接して、指が挟まれることがない。また、クッション部材33の存在により、対向する引戸の端面が破損する虞もない。
【0015】
引戸を更に完全に開成させるためには、突出した引手部材24が邪魔になるので、図5に示すように引手部材24を矢印C方向へ押し込む。すると、板バネ35の半球形突部35aが括れ部34aを乗り越えて、引手部材24がケーシング23の凹部23dに完全に収納される。この状態で、引戸は完全に開成することができる。
【0016】
【発明の効果】
この発明は上記した構成からなるので、以下に説明するような効果を奏することができる。
【0017】
請求項1に記載の発明では、引戸の一端に設けられた凹部に取付けられるとともに引手部材の一部を引戸面より突出させるための少なくとも2本の円弧状溝からなるガイド溝を有したケーシングと、該ケーシングの引戸面に対して出没自在に配設される引手部材と、該引手部材を前記ケーシングの引戸面から没入する方向へ付勢するバネ部材とを備え、前記引手部材に手をかけて引戸を移動させた際、前記バネ部材の付勢力に抗して引手部材が引戸面から突出することを特徴とするものである。
【0018】
このように構成したことによって、本発明の安全機構付引き手は、引き戸を閉成する際に引手部材に手をかけると、引戸面から引手部材が突出し、この引手部材が引き違い戸或いは戸袋の端面に当接し手指が挟まれることを防止できる。また、引戸を完全に収納する場合には、引手部材を引戸面から没入させればよい。したがって、引戸の端面がフラットになり、大きく開成することができる。更に、引手部材の少ない移動量で効果的に引戸面から突出させることができると共に、引手部材に手指を掛けただけで、無理なく突出させることができる。また、引手部材を所望の軌跡に沿って突出、後退させることができる。
【0019】
また、請求項2に記載の発明において、前記引手部材は、前記ケーシングに設けた保持部材によって引戸面から突出した状態を維持するので、手指を離しても引手部材が後退してしまわず、引戸のストッパとしての機能を果たすことができる。
【0020】
また、請求項3に記載の発明において、前記保持部材は、バネ手段であるので、引手部材に手指を掛けるのみで引戸面から突出し、その状態を維持することができる。
【図面の簡単な説明】
【図1】図1は、本発明に係る安全機構付引き手の一例を示す正面図である。
【図2】図2は、同安全機構付引き手の使用状態を示す正面図である。
【図3】図3は、同安全機構付引き手の引手部材が後退した状態を示す横断面図である。
【図4】図4は、同安全機構付引き手の引手部材が突出した状態を示す横断面図である。
【図5】図5は、同安全機構付引き手の引手部材が突出した状態を示す平面図である。
【図6】図6は、同安全機構付引き手における浅溝の拡大断面図である。
【図7】図7は、同安全機構付引き手の板バネを示す要部斜視図である。
【図8】図8は、従来の引き戸用引き手の一例を示す斜視図である。
【図9】図9は、従来の引き戸用引き手の別の例を示す説明図である。
【図10】図10は、従来の引き戸用引き手の他の例を示す説明図である。
【図11】図11は、従来の引き戸用引き手の更に別の例を示す説明図である。
【図12】図12は、従来の引き戸用引き手の閉成状態を示す説明図である。
【符号の説明】
20 安全機構付引き手
21 引戸
22 凹部
23 ケーシング
23a 引戸面
23b フランジ部
23c ビス穴
23d 凹部
24 引手部材
24a 正面部
24b 操作部
25 バネ部材
26 ガイド溝
27 フック
28、29 ピン穴
30、31 支持ピン
32 端面
33 クッション部材
34 浅溝
35 板バネ
35a 半球形突部
36 取付け凹部

Claims (3)

  1. 引戸の一端に設けられた凹部に取付けられるとともに引手部材の一部を引戸面より突出させるための少なくとも2本の円弧状溝からなるガイド溝を有したケーシングと、
    該ケーシングの引戸面に対して出没自在に配設される引手部材と、
    該引手部材を前記ケーシングの引戸面から没入する方向へ付勢するバネ部材とを備え、
    前記引手部材に手をかけて引戸を移動させた際、前記バネ部材の付勢力に抗して引手部材が引戸面から突出することを特徴とする安全機構付引き手。
  2. 前記引手部材は、前記ケーシングに設けた保持部材によって引戸面から突出した状態を維持することを特徴とする請求項1に記載の安全機構付引き手。
  3. 前記保持部材は、バネ手段であることを特徴とする請求項1または2に記載の安全機構付引き手。
JP2002317406A 2002-10-31 2002-10-31 安全機構付引き手 Expired - Lifetime JP3773483B2 (ja)

Priority Applications (1)

Application Number Priority Date Filing Date Title
JP2002317406A JP3773483B2 (ja) 2002-10-31 2002-10-31 安全機構付引き手

Applications Claiming Priority (1)

Application Number Priority Date Filing Date Title
JP2002317406A JP3773483B2 (ja) 2002-10-31 2002-10-31 安全機構付引き手

Publications (2)

Publication Number Publication Date
JP2004150153A true JP2004150153A (ja) 2004-05-27
JP3773483B2 JP3773483B2 (ja) 2006-05-10

Family

ID=32460814

Family Applications (1)

Application Number Title Priority Date Filing Date
JP2002317406A Expired - Lifetime JP3773483B2 (ja) 2002-10-31 2002-10-31 安全機構付引き手

Country Status (1)

Country Link
JP (1) JP3773483B2 (ja)

Cited By (7)

* Cited by examiner, † Cited by third party
Publication number Priority date Publication date Assignee Title
JP2007182687A (ja) * 2006-01-06 2007-07-19 Sankyo Tateyama Aluminium Inc 引戸用ハンドル装置
WO2012036244A1 (ja) * 2010-09-15 2012-03-22 株式会社ニフコ 指挟み込み防止具
KR101189327B1 (ko) * 2009-02-02 2012-10-09 가부시키가이샤 니프코 안전기구를 가지는 문손잡이
KR101390975B1 (ko) 2012-09-11 2014-05-02 오금배 미닫이식 도어용 안전 손잡이
CN105089347A (zh) * 2015-09-15 2015-11-25 广东名门锁业有限公司 一种移门锁拉手构造
KR101749426B1 (ko) * 2015-11-19 2017-07-03 장항용 미닫이 문용 안전 손잡이
CN114963077A (zh) * 2021-02-24 2022-08-30 漳州立达信光电子科技有限公司 快速拆装装置及灯具

Cited By (8)

* Cited by examiner, † Cited by third party
Publication number Priority date Publication date Assignee Title
JP2007182687A (ja) * 2006-01-06 2007-07-19 Sankyo Tateyama Aluminium Inc 引戸用ハンドル装置
KR101189327B1 (ko) * 2009-02-02 2012-10-09 가부시키가이샤 니프코 안전기구를 가지는 문손잡이
WO2012036244A1 (ja) * 2010-09-15 2012-03-22 株式会社ニフコ 指挟み込み防止具
KR101390975B1 (ko) 2012-09-11 2014-05-02 오금배 미닫이식 도어용 안전 손잡이
CN105089347A (zh) * 2015-09-15 2015-11-25 广东名门锁业有限公司 一种移门锁拉手构造
CN105089347B (zh) * 2015-09-15 2024-03-22 广东名门锁业有限公司 一种移门锁拉手构造
KR101749426B1 (ko) * 2015-11-19 2017-07-03 장항용 미닫이 문용 안전 손잡이
CN114963077A (zh) * 2021-02-24 2022-08-30 漳州立达信光电子科技有限公司 快速拆装装置及灯具

Also Published As

Publication number Publication date
JP3773483B2 (ja) 2006-05-10

Similar Documents

Publication Publication Date Title
JP4152716B2 (ja) ステー
JP2004150153A (ja) 安全機構付引き手
JP4231223B2 (ja) 引戸用取手
KR101189327B1 (ko) 안전기구를 가지는 문손잡이
JP2003232164A (ja) 引戸用の引手
KR200424013Y1 (ko) 도어 록
JP2000110416A (ja) 引戸用安全引手
JP3573302B2 (ja) キャビネット
JP3909577B2 (ja) 指詰め防止機能を備えた引戸
JP4022903B2 (ja) 窓障子の開閉装置
KR100809810B1 (ko) 도어 록
KR101430358B1 (ko) 미닫이 도어용 래치
TW202500056A (zh) 可防止過力解鎖的反彈滑軌結構
JPH1162332A (ja) 引戸の引き手
JPH08199889A (ja) ドアのラッチ装置
JPH0611334Y2 (ja) ラッチ作動型平面ハンドル装置
JPH09195608A (ja) 係止構造
JP2004257242A (ja) ウィング付き収納ボックスのオートロック装置
JP6401822B1 (ja) 内開き戸の施錠装置
JPH0531179Y2 (ja)
JP3041307B2 (ja) ウィング付き収納ボックスとこれに用いるオ―トロック装置及びデッドボルト
JP4343061B2 (ja) 扉開放防止具
JP5337684B2 (ja) 引手及びそれを用いた引戸構造
KR19990010945U (ko) 노트북 컴퓨터의 이동방지장치
JP3635312B2 (ja) 手挟み防止引手

Legal Events

Date Code Title Description
A977 Report on retrieval

Free format text: JAPANESE INTERMEDIATE CODE: A971007

Effective date: 20050920

A131 Notification of reasons for refusal

Free format text: JAPANESE INTERMEDIATE CODE: A131

Effective date: 20051011

A521 Request for written amendment filed

Free format text: JAPANESE INTERMEDIATE CODE: A523

Effective date: 20051207

TRDD Decision of grant or rejection written
A01 Written decision to grant a patent or to grant a registration (utility model)

Free format text: JAPANESE INTERMEDIATE CODE: A01

Effective date: 20060131

A61 First payment of annual fees (during grant procedure)

Free format text: JAPANESE INTERMEDIATE CODE: A61

Effective date: 20060214

R150 Certificate of patent or registration of utility model

Ref document number: 3773483

Country of ref document: JP

Free format text: JAPANESE INTERMEDIATE CODE: R150

Free format text: JAPANESE INTERMEDIATE CODE: R150

FPAY Renewal fee payment (event date is renewal date of database)

Free format text: PAYMENT UNTIL: 20090224

Year of fee payment: 3

FPAY Renewal fee payment (event date is renewal date of database)

Free format text: PAYMENT UNTIL: 20120224

Year of fee payment: 6

R250 Receipt of annual fees

Free format text: JAPANESE INTERMEDIATE CODE: R250

FPAY Renewal fee payment (event date is renewal date of database)

Free format text: PAYMENT UNTIL: 20130224

Year of fee payment: 7

R250 Receipt of annual fees

Free format text: JAPANESE INTERMEDIATE CODE: R250

FPAY Renewal fee payment (event date is renewal date of database)

Free format text: PAYMENT UNTIL: 20130224

Year of fee payment: 7

FPAY Renewal fee payment (event date is renewal date of database)

Free format text: PAYMENT UNTIL: 20160224

Year of fee payment: 10

R250 Receipt of annual fees

Free format text: JAPANESE INTERMEDIATE CODE: R250

FPAY Renewal fee payment (event date is renewal date of database)

Free format text: PAYMENT UNTIL: 20160224

Year of fee payment: 10

FPAY Renewal fee payment (event date is renewal date of database)

Free format text: PAYMENT UNTIL: 20160224

Year of fee payment: 10

R250 Receipt of annual fees

Free format text: JAPANESE INTERMEDIATE CODE: R250

R250 Receipt of annual fees

Free format text: JAPANESE INTERMEDIATE CODE: R250

R250 Receipt of annual fees

Free format text: JAPANESE INTERMEDIATE CODE: R250

S531 Written request for registration of change of domicile

Free format text: JAPANESE INTERMEDIATE CODE: R313531

R350 Written notification of registration of transfer

Free format text: JAPANESE INTERMEDIATE CODE: R350

S111 Request for change of ownership or part of ownership

Free format text: JAPANESE INTERMEDIATE CODE: R313117

R350 Written notification of registration of transfer

Free format text: JAPANESE INTERMEDIATE CODE: R350

R250 Receipt of annual fees

Free format text: JAPANESE INTERMEDIATE CODE: R250

R250 Receipt of annual fees

Free format text: JAPANESE INTERMEDIATE CODE: R250

R250 Receipt of annual fees

Free format text: JAPANESE INTERMEDIATE CODE: R250

R250 Receipt of annual fees

Free format text: JAPANESE INTERMEDIATE CODE: R250

EXPY Cancellation because of completion of term