JP2004148720A - 筆記具 - Google Patents

筆記具 Download PDF

Info

Publication number
JP2004148720A
JP2004148720A JP2002317699A JP2002317699A JP2004148720A JP 2004148720 A JP2004148720 A JP 2004148720A JP 2002317699 A JP2002317699 A JP 2002317699A JP 2002317699 A JP2002317699 A JP 2002317699A JP 2004148720 A JP2004148720 A JP 2004148720A
Authority
JP
Japan
Prior art keywords
writing
projection
horizontal plane
writing instrument
barrel
Prior art date
Legal status (The legal status is an assumption and is not a legal conclusion. Google has not performed a legal analysis and makes no representation as to the accuracy of the status listed.)
Granted
Application number
JP2002317699A
Other languages
English (en)
Other versions
JP4165738B2 (ja
Inventor
Kazuhiko Sasaki
和彦 佐々木
Current Assignee (The listed assignees may be inaccurate. Google has not performed a legal analysis and makes no representation or warranty as to the accuracy of the list.)
Pilot Corp
Original Assignee
Pilot Corp
Priority date (The priority date is an assumption and is not a legal conclusion. Google has not performed a legal analysis and makes no representation as to the accuracy of the date listed.)
Filing date
Publication date
Application filed by Pilot Corp filed Critical Pilot Corp
Priority to JP2002317699A priority Critical patent/JP4165738B2/ja
Publication of JP2004148720A publication Critical patent/JP2004148720A/ja
Application granted granted Critical
Publication of JP4165738B2 publication Critical patent/JP4165738B2/ja
Anticipated expiration legal-status Critical
Expired - Fee Related legal-status Critical Current

Links

Images

Landscapes

  • Pens And Brushes (AREA)
  • Mechanical Pencils And Projecting And Retracting Systems Therefor, And Multi-System Writing Instruments (AREA)
  • Clips For Writing Implements (AREA)

Abstract

【課題】筆記具を水平面上に放置した状態で、軸筒の任意の面が、常に略上面にくる筆記具を提供する。
【解決手段】軸筒内に筆記体を配設し、回り止め用の突部を一体に形成又は付設した筆記具において、前記突部が水平面上に当接した状態で、前記軸筒の水平面との接点からの垂線に対し、筆記具の径方向における重心位置が、前記垂線に対して突部に対向する位置にすることにより、前記筆記具を水平面上に放置した状態で、常に前記回り止め用の突部が略上面になる。
【選択図】 図1

Description

【0001】
【発明の属する技術分野】
本発明は、筆記具を水平面上に放置した状態で、軸筒の任意の面が、常に略上面になる筆記具に関する。
【0002】
【従来の技術】
【特許文献1】
「特開平10−217676号」
【特許文献2】
「特開平11−24563号」
【0003】
【従来技術】
ボールペン等の筆記具においては、略円筒状の軸筒内にボールペンレフィルを配設しているため、筆記具を水平面上、例えば机等に放置した状態では放置した状態のままに軸筒は停止している。また放置する時に水平面に対し平行方向に力が加わると、重力や自重等により力が消費するまで回転して停止する。
【0004】
こうした筆記具において、軸筒の外周面に突部を形成したり、クリップ部材を設けることにより、軸筒が回転しても突部やクリップ部材が水平面に当接することで、軸筒の回転を防止することができる。
【0005】
ところで、一般的に筆記具の軸筒の外周面には、商品名やメーカー名を印刷等によって表示している。この表示面は任意に設定されるが、クリップ部材を設けているものは、クリップ部材に表示している。
【0006】
【発明が解決しようとする課題】
しかし、前述したように筆記具を水平面上、例えば机等に放置した状態では、放置したままの状態或いは軸筒が回転し突部やクリップ部材が水平面に当接した状態で静止するため、筆記具の軸筒の外周面に印刷等で表示した、商品名やメーカー名の表示面が略上面にくるものではないという問題があった。
【0007】
特に、陳列ケースや店頭に筆記具を並べる場合には、クリップ位置や表示面がバラバラだと見栄えが悪く、ユーザーが目視しやすいように上面にくるように並べ替える必要あった。また、一度並べた筆記具が回転しないように、一本毎に仕切り等を設ける必要があった。
【0008】
本発明者は上記問題を鑑み、筆記具を水平面上に放置した状態で、軸筒の任意の面が、常に略上面にくる筆記具を提供することを目的とするものである。
【0009】
【課題を解決するための手段】
本発明は前記目的を達成するために、軸筒内に筆記体を配設し、回り止め用の突部を一体に形成又は付設した筆記具において、前記突部が水平面上に当接した状態で、前記軸筒の水平面との接点からの垂線に対し、筆記具の径方向における重心位置が、前記垂線に対して突部に対向する位置にすることにより、前記筆記具を水平面上に放置した状態で、常に前記回り止め用の突部が略上面になるものである。
【0010】
また、前記突部が、クリップ部材とするものである。
【0011】
さらには、前記軸筒の常に略上面となる面に、絵柄及び/又は文字を設けるものである。
【0012】
さらには、前記突部の径方向に対して対向する軸筒の外周面を平坦状にする。
【0013】
本発明における軸筒の常に略上面となる面とは、突部を形成している軸筒の表面で、かつ回り止め用の突部が略上面となった時に、同様に略上面となる軸筒の表面や突部の表面のことである。
【0014】
【発明の実施の形態】
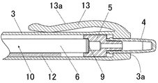
本発明の実施の形態を図面を用いて説明する。図1から図5に示す第1の実施の形態の筆記具1は、後軸3に、後軸の後端3aより外側に突出するように、先端にカム部(図示せず)を有するノック体4を配設し、さらに回転カム5を、回転カム5の突起が後軸3内に形成したカム溝(図示せず)に係合するように順次配設する。
【0015】
さらに、前軸2内に、インキ収容筒6の内部に剪断減粘性インキ(図示せず)を直詰めして収容し、先端にボールを回転自在に抱持したボールペンチップからなるペン先部8を、チップホルダー7を介して装着し、後端に尾栓9を有したボールペンレフィル10を、コイルスプリング11により前軸2の後端方向に付勢し摺動自在に配置する。前軸2には、グリップ部材14を一体に設けてあり、この前軸2と前記後軸3を螺合Rし筆記具1を得ている。
【0016】
ノック体4を押圧することにより、回転カム5による筆記体出没機構が作動し、ボールペンレフィル10がコイルスプリング11の弾発力に抗して前進し、図2に示すようにペン先部8が前軸2の先端開口部2aより突出し、その状態を維持して筆記可能とすることができる。
【0017】
後軸3内には、図4に示すようにクリップ部材13の中心Kから軸心Jに延びる線と重心Gが一直線上に作用するように重錘部材12を接着により配設することで、水平面に対しクリップ部材13が上面を向いた状態が維持される。また、何かの外力により、この平衡が崩れると筆記具1は傾動するが、後軸3には回り止めの突部となるクリップ部材13が一体に形成してあるので、クリップ部材13が水平面に当接して停止する。
【0018】
この時、図5の1−1に示すように、後軸3の水平面Hとの接点Tからの垂線Sに対し、筆記具1の径方向における重心位置Gが、前記垂線Sに対しクリップ部材13に対向する位置(垂線Sよりも外側)に重錘部材12を配設してある。その結果、重心Gからの力(矢印W)が、転倒した反対の方向に復帰力として作用し、クリップ部材13が上面を向いた状態(図5の1−3)に復帰する。また、図示はしていないが、クリップ部材13の表面13aには文字が印刷されている。
【0019】
ところで、実際には復帰速度が大きいときには、軸筒は円筒状で形成してあるので、復帰状態を通り過ぎてしまい反対側に傾動する。このような傾動を繰り返しつつ水平面に対しクリップ部材が上面を向いた状態に復帰する。
【0020】
また、図4の仮想線Lで示したように、後軸3のクリップ部材13の径方向に対して対向する外周面を平坦状にすることによって、クリップ部材13が上面を向いた状態を安定して維持できるので好ましい。
【0021】
本実施の形態では、便宜上、重錘部材を配設することで筆記具おける重心位置を調整しているが、筆記具を構成する部品の材質や肉圧、或いは配設位置等によって重心位置を調整してもよい。また本実施の形態では、便宜上、回転カムによるノック式筆記具を例示しているが、他の出没機構を有する筆記具やキャップ式等、特に限定することなく実施することができる。また、重錘部材の配設方法は接着や嵌合等、ノック操作や転がり等では移動しないように装着してあれば特に限定されない。
【0022】
また、本発明に使用する筆記具用インキは特に限定されるものではない。また、本発明の筆記具は、ノック式、キャップ式等、特に限定されるものではないが、前述したようにクリップ付の筆記具や、軸筒外周面に商品名やメーカー名等を印刷してある場合には本発明の効果は特に顕著である。
【0023】
【発明の効果】
本発明のノック式筆記具は前述した構成なので、筆記具を水平面上に放置した状態で、軸筒の任意の面が、常に略上面にくる筆記具を提供することができた。
【図面の簡単な説明】
【図1】第1の実施の形態の筆記具を示す縦断面図である。
【図2】図1における、ペン先部が突出した状態を示す図である。
【図3】図1における、要部拡大断面図である。
【図4】図1における、A−A断面図である。
【図5】第1の実施の形態における筆記具の復帰状態を示す状態図である。
【符号の説明】
1 筆記具
2 前軸
2a 先端開口部
3 後軸
3a 後端部
4 ノック体
5 回転カム
6 インキ収容筒
7 チップホルダー
8 ペン先部
9 尾栓
10 ボールペンレフィル
11 コイルスプリング
12 重錘部材
13 クリップ部材
14 グリップ部材
G 重心
H 平坦面
S 垂線
T 接点

Claims (4)

  1. 軸筒内に筆記体を配設し、回り止め用の突部を一体に形成又は付設した筆記具において、前記突部が水平面上に当接した状態で、前記軸筒の水平面との接点からの垂線に対し、筆記具の径方向における重心位置が、前記垂線に対して突部に対向する位置にすることにより、前記筆記具を水平面上に放置した状態で、常に前記回り止め用の突部が略上面になることを特徴とする筆記具。
  2. 前記突部が、クリップ部材であることを特徴とする請求項1に記載の筆記具。
  3. 前記軸筒の常に略上面となる面に、絵柄及び/又は文字を設けたことを特徴とする請求項1ないし2に記載の筆記具。
  4. 前記突部の径方向に対して対向する軸筒の外周面を平坦状にしたことを特徴とする請求項1ないし3のいずれか1項に記載の筆記具。
JP2002317699A 2002-10-31 2002-10-31 筆記具 Expired - Fee Related JP4165738B2 (ja)

Priority Applications (1)

Application Number Priority Date Filing Date Title
JP2002317699A JP4165738B2 (ja) 2002-10-31 2002-10-31 筆記具

Applications Claiming Priority (1)

Application Number Priority Date Filing Date Title
JP2002317699A JP4165738B2 (ja) 2002-10-31 2002-10-31 筆記具

Publications (2)

Publication Number Publication Date
JP2004148720A true JP2004148720A (ja) 2004-05-27
JP4165738B2 JP4165738B2 (ja) 2008-10-15

Family

ID=32461028

Family Applications (1)

Application Number Title Priority Date Filing Date
JP2002317699A Expired - Fee Related JP4165738B2 (ja) 2002-10-31 2002-10-31 筆記具

Country Status (1)

Country Link
JP (1) JP4165738B2 (ja)

Cited By (2)

* Cited by examiner, † Cited by third party
Publication number Priority date Publication date Assignee Title
JP2012166504A (ja) * 2011-02-16 2012-09-06 Tombow Pencil Co Ltd 転がり防止筆記具
CN109426370A (zh) * 2017-08-31 2019-03-05 夏普株式会社 触摸笔以及使用该触摸笔的显示装置

Cited By (4)

* Cited by examiner, † Cited by third party
Publication number Priority date Publication date Assignee Title
JP2012166504A (ja) * 2011-02-16 2012-09-06 Tombow Pencil Co Ltd 転がり防止筆記具
CN109426370A (zh) * 2017-08-31 2019-03-05 夏普株式会社 触摸笔以及使用该触摸笔的显示装置
JP2019046089A (ja) * 2017-08-31 2019-03-22 シャープ株式会社 タッチペン及びそれを用いた表示装置
CN109426370B (zh) * 2017-08-31 2021-09-14 夏普株式会社 触摸笔以及使用该触摸笔的显示装置

Also Published As

Publication number Publication date
JP4165738B2 (ja) 2008-10-15

Similar Documents

Publication Publication Date Title
US5678939A (en) Card-shaped, hinged writing instrument
JP2004148720A (ja) 筆記具
JP7115785B1 (ja) 筆記具及び筆記具システム
JP2012061605A (ja) 複式筆記具
JP3283164B2 (ja) 多芯筆記具
JP2004025780A (ja) 多芯筆記具
USD451957S1 (en) Ball-point pen
JP4417177B2 (ja) ノック式筆記具
JP3033204U (ja) タッチペン又は筆記具として使用可能な両用ペン
JP2012166381A (ja) 筆記具
JP7515032B1 (ja) 圧縮バネを利用した筆圧調節型ボールペン。
JP2004025781A (ja) 多芯筆記具
JP2001310583A (ja) 筆記具
JP7444510B1 (ja) 複式筆記具
JP3067150U (ja) 複合筆記具
KR200363363Y1 (ko) 6각 연필형 볼펜의 뚜껑
JP2599464Y2 (ja) 印鑑付筆記具
KR200204113Y1 (ko) 심회전식 필기구
JP4373900B2 (ja) 筆記具
KR200241727Y1 (ko) 볼펜
KR200204114Y1 (ko) 심회전식 필기구
JP2003072285A (ja) ボールペン
JPS5852149Y2 (ja) シヤ−プペンシル
JPH0645795U (ja) 印鑑付筆記具
JP2023007853A (ja) ノック式筆記具

Legal Events

Date Code Title Description
A621 Written request for application examination

Free format text: JAPANESE INTERMEDIATE CODE: A621

Effective date: 20050901

A977 Report on retrieval

Free format text: JAPANESE INTERMEDIATE CODE: A971007

Effective date: 20070531

A131 Notification of reasons for refusal

Free format text: JAPANESE INTERMEDIATE CODE: A131

Effective date: 20070702

A521 Written amendment

Free format text: JAPANESE INTERMEDIATE CODE: A523

Effective date: 20070820

A131 Notification of reasons for refusal

Free format text: JAPANESE INTERMEDIATE CODE: A131

Effective date: 20080225

A521 Written amendment

Free format text: JAPANESE INTERMEDIATE CODE: A523

Effective date: 20080305

TRDD Decision of grant or rejection written
A01 Written decision to grant a patent or to grant a registration (utility model)

Free format text: JAPANESE INTERMEDIATE CODE: A01

Effective date: 20080724

A01 Written decision to grant a patent or to grant a registration (utility model)

Free format text: JAPANESE INTERMEDIATE CODE: A01

A61 First payment of annual fees (during grant procedure)

Free format text: JAPANESE INTERMEDIATE CODE: A61

Effective date: 20080724

FPAY Renewal fee payment (event date is renewal date of database)

Free format text: PAYMENT UNTIL: 20110808

Year of fee payment: 3

FPAY Renewal fee payment (event date is renewal date of database)

Free format text: PAYMENT UNTIL: 20110808

Year of fee payment: 3

FPAY Renewal fee payment (event date is renewal date of database)

Free format text: PAYMENT UNTIL: 20120808

Year of fee payment: 4

FPAY Renewal fee payment (event date is renewal date of database)

Free format text: PAYMENT UNTIL: 20130808

Year of fee payment: 5

FPAY Renewal fee payment (event date is renewal date of database)

Free format text: PAYMENT UNTIL: 20130808

Year of fee payment: 5

FPAY Renewal fee payment (event date is renewal date of database)

Free format text: PAYMENT UNTIL: 20140808

Year of fee payment: 6

LAPS Cancellation because of no payment of annual fees