EP4166707B1 - Wäschepflegegerät mit einem automatischen dosiersystem - Google Patents

Wäschepflegegerät mit einem automatischen dosiersystem Download PDF

Info

Publication number
EP4166707B1
EP4166707B1 EP22196884.5A EP22196884A EP4166707B1 EP 4166707 B1 EP4166707 B1 EP 4166707B1 EP 22196884 A EP22196884 A EP 22196884A EP 4166707 B1 EP4166707 B1 EP 4166707B1
Authority
EP
European Patent Office
Prior art keywords
containers
laundry care
care appliance
storage unit
container
Prior art date
Legal status (The legal status is an assumption and is not a legal conclusion. Google has not performed a legal analysis and makes no representation as to the accuracy of the status listed.)
Active
Application number
EP22196884.5A
Other languages
English (en)
French (fr)
Other versions
EP4166707A1 (de
Inventor
Alper Ayhaner
Necdet Patel
Jörg Ziegler
Current Assignee (The listed assignees may be inaccurate. Google has not performed a legal analysis and makes no representation or warranty as to the accuracy of the list.)
BSH Hausgeraete GmbH
Original Assignee
BSH Hausgeraete GmbH
Priority date (The priority date is an assumption and is not a legal conclusion. Google has not performed a legal analysis and makes no representation as to the accuracy of the date listed.)
Filing date
Publication date
Application filed by BSH Hausgeraete GmbH filed Critical BSH Hausgeraete GmbH
Publication of EP4166707A1 publication Critical patent/EP4166707A1/de
Application granted granted Critical
Publication of EP4166707B1 publication Critical patent/EP4166707B1/de
Active legal-status Critical Current
Anticipated expiration legal-status Critical

Links

Images

Classifications

    • DTEXTILES; PAPER
    • D06TREATMENT OF TEXTILES OR THE LIKE; LAUNDERING; FLEXIBLE MATERIALS NOT OTHERWISE PROVIDED FOR
    • D06FLAUNDERING, DRYING, IRONING, PRESSING OR FOLDING TEXTILE ARTICLES
    • D06F39/00Details of washing machines not specific to a single type of machines covered by groups D06F9/00 - D06F27/00 
    • D06F39/02Devices for adding soap or other washing agents
    • DTEXTILES; PAPER
    • D06TREATMENT OF TEXTILES OR THE LIKE; LAUNDERING; FLEXIBLE MATERIALS NOT OTHERWISE PROVIDED FOR
    • D06FLAUNDERING, DRYING, IRONING, PRESSING OR FOLDING TEXTILE ARTICLES
    • D06F39/00Details of washing machines not specific to a single type of machines covered by groups D06F9/00 - D06F27/00 
    • DTEXTILES; PAPER
    • D06TREATMENT OF TEXTILES OR THE LIKE; LAUNDERING; FLEXIBLE MATERIALS NOT OTHERWISE PROVIDED FOR
    • D06FLAUNDERING, DRYING, IRONING, PRESSING OR FOLDING TEXTILE ARTICLES
    • D06F39/00Details of washing machines not specific to a single type of machines covered by groups D06F9/00 - D06F27/00 
    • D06F39/12Casings; Tubs
    • DTEXTILES; PAPER
    • D06TREATMENT OF TEXTILES OR THE LIKE; LAUNDERING; FLEXIBLE MATERIALS NOT OTHERWISE PROVIDED FOR
    • D06FLAUNDERING, DRYING, IRONING, PRESSING OR FOLDING TEXTILE ARTICLES
    • D06F58/00Domestic laundry dryers
    • D06F58/20General details of domestic laundry dryers 
    • D06F58/203Laundry conditioning arrangements
    • DTEXTILES; PAPER
    • D06TREATMENT OF TEXTILES OR THE LIKE; LAUNDERING; FLEXIBLE MATERIALS NOT OTHERWISE PROVIDED FOR
    • D06FLAUNDERING, DRYING, IRONING, PRESSING OR FOLDING TEXTILE ARTICLES
    • D06F23/00Washing machines with receptacles, e.g. perforated, having a rotary movement, e.g. oscillatory movement, the receptacle serving both for washing and for centrifugally separating water from the laundry 
    • D06F23/02Washing machines with receptacles, e.g. perforated, having a rotary movement, e.g. oscillatory movement, the receptacle serving both for washing and for centrifugally separating water from the laundry  and rotating or oscillating about a horizontal axis

Definitions

  • the invention relates to a laundry care appliance with an automatic dosing system according to claim 1.
  • Dosing devices in laundry care appliances allow precise dosing of a laundry care product, which can be automatically adjusted to the size and type of cleaning and/or drying load and, if necessary, to the degree of soiling and/or dryness depending on a set cleaning program and/or drying program.
  • the user of a laundry care appliance equipped with such a dosing device only has to place one or more storage containers in a storage receiving device provided for this purpose on the laundry care appliance and no longer has to worry about dosing.
  • the dosing device for treatment agents for a washing machine.
  • the dosing device comprises several containers, wherein the dosing device or the containers are arranged outside the washing machine and are connected to the washing machine via a line.
  • a laundry treatment cabinet which has a drawer with containers for laundry treatment agents in the lower area.
  • the drawer can be extended horizontally by a motor, while the containers themselves can be moved vertically upwards by means of a drive.
  • a cover element 25 is arranged on the laundry care device 1 in the lower area A.
  • the cover element 25 covers the storage unit receiving device 21.
  • the cover element 25 can be arranged on the laundry care device 1 so that it can be pivoted and/or folded and/or detachably.
  • a push-push opening mechanism is also conceivable, which opens the cover element 25 in order to access the storage unit receiving device 21.
  • Other mechanisms for opening or removing the cover element 25 from the laundry care device 1 are conceivable.
  • Fig. 2 a front and side view of a laundry care device 1 with the storage unit 22 arranged therein is shown.
  • the storage unit 22 is designed for a quantity of laundry care products which is intended for a predeterminable number of cleaning processes.
  • the laundry care product is stored or kept in the storage unit 22 and, when required, is dispensed by the automatic dosing system 2 requested and fed into the receiving container 15 after mixing.
  • the storage unit 22 is arranged in the storage unit receiving device 21.
  • the storage unit 22 comprises at least two containers 23. In the present embodiment there are three containers 23. However, it is also conceivable that the storage unit 22 comprises exactly two containers 23 or more than three containers 23.
  • the storage unit 22 is arranged in the lower area A of the laundry care device 1. This means that the storage unit 22 is arranged in the installation position below the door unit 17 in the laundry care device 1.
  • the storage unit 22 is essentially accommodated in the storage unit receiving device 21.
  • the cover element 25 is in the present embodiment in Fig. 2 already opened so that the containers 23 of the storage unit 22 are visible.
  • the containers 23 of the storage unit 22 shown in the embodiment have front elements 31.
  • the front elements 31 can be designed, for example, as handle elements 33 and/or as lid elements 33.
  • the front elements 31 of the at least two containers 23 are in Fig. 2 arranged in a first position. This means that the at least two containers 23 of the storage unit 22 are accommodated in the storage unit receiving device 21. This in turn means that the at least two containers 23 of the storage unit 22 are arranged substantially in the housing 3 of the laundry care appliance 1.
  • the at least two containers 23 of the storage unit 22 can be designed, for example, as refillable containers 23 or as replacement containers 23.
  • a container opening 34 is preferably formed behind the front element 31 or behind the lid element 33, through which the refillable containers 23 of the storage unit 22 can be filled and/or cleaned.
  • the respective front element 31 is preferably designed as a lid element 33 and as a handle element 33.
  • the exchange containers 23 can be removed from the storage unit 22 or from the storage unit receiving device 21 using the front element 31.
  • the respective front element 31 is preferably designed as a handle element 33.
  • the containers 23 can also be designed as a cartridge or as a reusable container.
  • the at least two containers 23 and the front elements 31 or the handle elements 33 and/or the lid elements 33 of the storage unit 22 are in Fig. 2 each arranged in a first position.
  • the at least two containers 23 are located in the first position essentially in the storage unit receiving device 21.
  • the front elements 31 or the handle elements 33 and/or the lid elements 33 of the storage unit 22 are arranged essentially in the first plane E1, so that the plane E1 runs essentially through the front elements 31 or the handle elements 33 and/or the lid elements 33.
  • the front elements 31 are received in the first position essentially in the housing 3 of the laundry care appliance 1.
  • Fig. 4a and Fig. 4b the extended state of the lifting device 35 is shown.
  • the lifting device 35 can be tilted or pivoted in such a way that the at least two containers 23 of the storage unit 22 are essentially moved out of the first level E1.
  • This means that the storage unit 22 is arranged essentially outside the storage unit receiving device 21 or outside the housing 3 of the laundry care appliance 1, so that the front elements 31 or the handle elements 33 and/or the lid elements 33 of the containers 23 of the storage unit 22 are located essentially in the region of the second level E2, so that the second level E2 runs essentially through the front elements 31 or the handle elements 33 and/or the lid elements 33.
  • the second level E2 runs, for example, in the region of the door unit 17. This makes filling and/or cleaning and/or replacing the containers 23 easier for a user.
  • the second level E2 can extend into a lower area or into an upper area of the door unit 17 or between the lower area and the upper area of the door unit 17.
  • the front elements 31 or the handle elements 33 and/or the lid elements 33 of the containers 23 of the storage unit 22 are in Fig. 4a and in Fig. 4b each arranged in a second position. This means that the front elements 31 or the handle elements 33 and/or the lid elements 33 of the containers 23 of the storage unit 22 are located at least partially outside the housing 3 of the laundry care appliance 1 and are at least partially arranged in the second level E2.
  • the storage unit 22 or the at least two containers 23 of the storage unit 22 are, in the extended state, essentially outside the housing 3 of the laundry care appliance 1 and at least partially in the upper region B and in the second level E2 of the laundry care appliance 1. At least a section of the at least two containers 23 of the storage unit 22 are preferably arranged in the region of the door unit 17.
  • a locking device 53 is provided.
  • the locking device 53 is intended to lock at least one container 23 of the at least two containers 23 in the extended state of the lifting device 35 so that the at least one container 23 of the at least two containers 23 is fixed and held in position.
  • the locking device 53 can also lock the at least two containers 23 of the storage unit 22 in the second position.
  • the lifting device 135 further comprises at least two pivot arms 141a, 141b.
  • the pivot arms 141a, 141b each have a first end 143a, 143b and a second end 145a, 145b.
  • a pivot joint 147 is arranged at the first end 143a, 143b of the respective pivot arm 141a, 141b, wherein the respective pivot joint 147 is arranged on the respective guide rail 139a, 139b.
  • a further swivel joint 149 is arranged on the respective second end 145a, 145b of the respective swivel arm 141a, 141b, wherein the respective further swivel joint 149 is connected to a holding device 151a, 151b.
  • the two holding devices 151a, 151b are arranged essentially parallel to one another.
  • the two holding devices 151a, 151b are connected to at least one container 23 of the at least two containers 23.
  • the two holding devices 151a, 151b are connected to at least one container 23 of the at least two containers 23 in such a way that the at least one container 23 can be moved from the retracted state of the lifting device 135 into an extended state of the lifting device 135.
  • a locking device 153 is provided.
  • the locking device 153 is intended to lock at least one container 23 of the at least two containers 23 in the extended state of the lifting device 135, so that the at least one container 23 of the at least two containers 23 is fixed and held in the second position.
  • At least one of the two containers 23 is arranged at least partially or in sections in the second level E2. If the storage unit 22 can only be moved as a whole unit, the at least two containers 23 of the storage unit 22 are arranged by the lifting device 135 at least partially or in sections in the second level E2.
  • front elements 31 or the handle elements 33 and/or the lid elements 33 of the containers 23 of the storage unit 22 are in Fig. 5a and in Fig. 5b are arranged in the second position.
  • front elements 31 or the handle elements 33 and/or the lid elements 33 of the containers 23 of the storage unit 22 are located at least partially outside the housing 3 of the laundry care appliance 1 and are at least partially arranged in the second level E2.
  • a lifting device 35, 135 can also assume both embodiments, a tilted or pivoted position, as well as a raised position.
  • the lifting device 35, 135 is first raised and then tilted or pivoted. This could, for example, allow the at least two containers 23 to be arranged even higher, for example in the area above the level E2 in the direction of the top 9 of the laundry care device 1.
  • Other embodiments are conceivable.
  • FIG. 6 A process for filling and/or cleaning and/or changing containers 23 of the storage unit 22 of a laundry care appliance 1 is shown schematically.
  • the storage unit 22 is initially accommodated in the storage unit receiving device 21 of a laundry care device 1 with automatic dosing system 2. By removing the cover element 25, the storage unit 22 becomes visible and can be moved out of the storage unit receiving device 21. For example, by pulling on the storage unit 22 and/or on one of the containers 23 of the storage unit 22, the storage unit 22 or at least one of the at least two containers 23 is pulled out of the storage unit receiving device 21. This is done with a lifting device 35, 135, which is in Fig. 4a , 4b or Fig. 5a , 5b The pulling out or moving out of the storage unit 22 or of at least one of the at least two containers 23 can be done manually, semi-automatically or fully automatically.
  • the storage unit 22 or at least one of the at least two containers 23 is pulled out of the storage unit receiving device 21, so that the storage unit 22 or the at least one container 23 of the at least two containers 23 is arranged substantially outside the housing 3 of the laundry care appliance 1 and substantially in the first plane E1, the storage unit 22 or the at least one container 23 of the at least two containers 23 can be moved into the extended state of the lifting device 35, 135.
  • the storage unit 22 or the at least one container 23 of the at least two containers 23 can be locked in order to be held in the second position.
  • the at least one container 23 of the at least two containers 23 can then be cleaned and/or filled and/or removed.
  • the storage unit 22 or the at least one container 23 of the at least two containers 23 can then be moved back into the laundry care appliance 1 so that the lifting device 35, 135 is again in the retracted state. In the retracted state of the lifting device 35, the storage unit 22 or the at least one container 23 of the at least two containers 23 is arranged in the first position.
  • the process for filling and/or cleaning and/or changing containers 23 of the storage unit 22 of a laundry care appliance 1 comprises the following steps: opening the cover element 25 (V1), moving out at least one container 23 of the storage unit 22 (V2), pivoting or lifting at least one container 23 of the storage unit 22 (V3), filling/cleaning/changing at least one container 23 of the storage unit 22 (V4), retracting at least one container 23 of the storage unit 22 (V5), closing the cover element 25 (V6).
  • the laundry care appliance 1 can be reinserted and carry out further cleaning and/or drying processes.
  • the filling and/or cleaning and/or changing of containers 23 of the storage unit 22 of a laundry care device 1 can preferably only be carried out when the laundry care device 1 is not running. This means that a laundry care process, such as the running in of water during a washing process, has not yet begun or has not yet been started. It is conceivable that the user before starting the cleaning and/or drying process, a message is received that the storage unit 22 does not contain enough laundry care products to be able to carry out a cleaning and/or drying process. Other messages, such as light signals and/or illuminated symbols and/or a message on a smartphone are conceivable.
  • each individual container 23 of the at least two containers 23 of the storage unit 22 is arranged on a lifting device 35, 135 so that each of the at least two containers 23 can be moved individually.
  • each container 23 is assigned a lifting device 35, 135 so that each container 23 can be extended and tilted and/or swiveled and/or lifted individually. This has the advantage that not all of the at least two containers 23 always have to be moved.

Landscapes

  • Engineering & Computer Science (AREA)
  • Textile Engineering (AREA)
  • Accessory Of Washing/Drying Machine, Commercial Washing/Drying Machine, Other Washing/Drying Machine (AREA)
  • Detail Structures Of Washing Machines And Dryers (AREA)

Description

  • Die Erfindung betrifft ein Wäschepflegegerät mit einem automatischen Dosiersystem nach Anspruch 1.
  • Dosiereinrichtung in Wäschepflegegeräten erlauben eine präzise Dosierung eines Wäschepflegemittels, die an Größe und Art einer Reinigungs- und/oder Trocknungsladung und gegebenenfalls auch an einen Verschmutzungsgrad und/oder Trocknungsgrad in Abhängigkeit von einem eingestellten Reinigungsprogramm und/oder Trocknungsprogramm automatisch angepasst werden kann. Der Benutzer einer mit einer solchen Dosiereinrichtung bestückten Wäschepflegegerät muss lediglich einen oder mehrere Vorratsbehälter in eine dafür vorgesehene Vorratsaufnahmeeinrichtung des Wäschepflegegeräts platzieren und muss sich nicht mehr um die Dosierung kümmern.
  • In der DE 10 2007 048 197 A1 ist eine Dosiereinrichtung für Behandlungsmittel für eine Waschmaschine offenbart. Die Dosiereinrichtung umfasst mehrere Behälter, wobei die Dosiereinrichtung beziehungsweise die Behälter außerhalb der Waschmaschine angeordnet sind und über Leitung mit der Waschmaschine verbunden sind.
  • In der EP 2 479 335 A1 ist eine Dosiereinrichtung für flüssige und zähflüssige Zugabemittel für eine Waschmaschine offenbart. Das Zugabemittel ist hier in Behältern aufgenommen, wobei die Behälter in einer als Schub fungierenden verschiebbaren Aufnahme aufgenommen sind. Die Behälter beziehungsweise der Schub ist im Bereich einer Bodenplatte der Waschmaschine ausgebildet.
  • In der EP 2 784 205 A1 ist ein Vorratsbehälter und eine Dosiereinrichtung offenbart. Die Vorratsbehälter weisen ein Gehäuse auf, welches ausgebildet ist, entlang einer Einschubrichtung in eine Aufnahmeeinrichtung eines wasserführenden Haushaltsgerätes eingeschoben zu werden.
  • In der US 2019/106829 A1 ist eine Waschmaschine offenbart, die im Bodenbereich eine Behälterschublade für einen Waschmittelvorrat aufweist. Die Schublade ist mittels einer schräg nach oben gestellten Schiene ausfahrbar.
  • In der WO 2020/050610 A1 ist ein Wäschebehandlungs Schrank gezeigt, der im unteren Bereich eine Schublade mit Behältern für Wäschebehandlungsmitteln aufweist. Die Schublade ist in horizontaler Richtung motorisch ausfahrbar, während die Behälter selbst mittels eines Antriebes vertikal nach oben befördert werden können.
  • Ein Benutzer muss sich bei den oben genannten, bekannten Lösungen beim Befüllen und/oder Reinigen eines Vorratsbehälters weit nach unten beugen, um an die Vorratsbehälter zu gelangen. Die Lösung, die Vorratsbehälter außerhalb der Waschmaschine anzubringen, bringt mit sich, dass nicht nur Platz zum Aufstellen der Wachmaschine benötigt wird, sondern zusätzlicher Platz für die Vorratsbehälter benötigt wird.
  • Es ist eine Aufgabe der Erfindung ein Wäschepflegegerät mit einer automatischen Dosiervorrichtung und einer dafür vorgesehenen Vorratseinheit für eine Menge von Wäschepflegemitteln, welche für eine vorgebare Anzahl an Reinigungsvorgängen vorgesehen ist, zu schaffen, bei dem ein Befüllen und/oder Auffüllen und/oder Austauschen und/oder Reinigen der Vorratseinheit für einen Benutzer ergonomisch vorteilhaft ausgestaltet ist und bei dem einem Benutzer das Befüllen und/oder Austauschen und/oder Reinigen der Vorratseinheit erleichtert und der Stand der Technik dabei weiterentwickelt wird.
  • Die Aufgabe der Erfindung wird durch die Merkmale des unabhängigen Anspruchs 1 gelöst. Weitere vorteilhafte Ausgestaltungen der Erfindung sind in den Unteransprüchen angegeben sowie in der Beschreibung und den Zeichnungen.
  • Gemäß einem ersten Aspekt der Erfindung wird die erfindungsgemäße Aufgabe durch ein Wäschepflegegerät mit einem automatischen Dosiersystem gelöst, wobei das Wäschepflegegerät eine Vorratseinheit für eine Menge von Wäschepflegemitteln, welche für eine vorgebare Anzahl an Reinigungsvorgängen und/oder Trocknungsvorgängen vorgesehen ist, umfasst, wobei die Vorratseinheit mindestens zwei Behälter zum Aufnehmen und Aufbewahren von Wäschepflegemitteln umfasst. Das Wäschepflegegerät umfasst weiterhin ein Gehäuse, wobei das Gehäuse eine Frontwand und eine Öffnung aufweist, wobei durch die Öffnung ein in dem Gehäuse angeordneter Aufnahmebehälter zum Aufnehmen von Wäsche erreichbar ist, und eine Türeinheit zum im Wesentlichen Verschließen der Öffnung. Weiterhin umfasst das Wäschepflegegerät eine Vorratseinheitaufnahmeeinrichtung zum Aufnehmen der Vorratseinheit, wobei die Vorratseinheit mindestens zwei Behälter umfasst, wobei die Vorratseinheitaufnahmeeinrichtung in einer Einbaulage unterhalb der Türeinheit im Bereich einer Bodenplatte des Wäschepflegegeräts angeordnet ist, wobei das Wäschepflegegerät mindestens eine Hebevorrichtung umfasst, wobei die mindestens zwei Behälter der Vorratseinheit mit der mindestens einen Hebevorrichtung verbunden sind. Die mindestens zwei Behälter der Vorratseinheit sind in einem eingefahrenen Zustand der mindestens einen Hebevorrichtung in einer ersten Ebene des Wäschepflegegeräts angeordnet und in der Vorratseinheitaufnahmeeinrichtung aufgenommen sind, wobei sich die erste Ebene im Wesentlichen parallel zur Bodenplatte erstreckt, und die mindestens eine Hebevorrichtung in einem ausgefahrenen Zustand mindestens einen Behälter der mindestens zwei Behälter der Vorratseinheit im Wesentlichen derart außerhalb des Gehäuses anordnet, dass zumindest ein Abschnitt des mindestens einen Behälters der mindestens zwei Behälter der Vorratseinheit in eine zweite Ebene, die sich parallel zu der Bodenplatte erstreckt und von der Bodenplatte weiter beabstandet ist als die erste Ebene, des Wäschepflegegeräts hineinragt.
  • Die mindestens eine Hebevorrichtung umfasst eine an jeder Seitenwand angeordnete Führungsschiene, wobei jeweils eine Laufschiene in jeder Führungsschiene verschiebbar angeordnet beziehungsweise gelagert ist, und wobei an einem jeweiligen Ende der Laufschiene parallel zu den Seitenwänden drehbar festgelegte und parallel zueinander beabstandet angeordente Schwenkarme angeordnet sind, wobei ein erstes Ende des jeweiligen Schwenkarms im Wesentlichen mit einem Drehgelenk an der jeweiligen Laufschiene angeordnet ist, und wobei an einem zweiten Ende der Schwenkarme jeweils ein weiteres Drehgelenk ausgebildet ist und an den weiteren Drehgelenken jeweils eine Haltevorrichtung angeordnet ist, wobei die Haltevorrichtungen im Wesentlichen parallel zueinander angeordnet sind und die Haltevorrichtungen mit mindestens einen Behälter der mindestens zwei Behälter der Vorratseinheit derart verbunden sind, dass in dem ausgefahrenen Zustand der mindestens einen Hebevorrichtung der mindestens eine Behälter der mindestens zwei Behälter der Vorratseinheit zumindest abschnittsweise in die zweite Ebene hineinragt.
  • Durch diese Ausgestaltung der mindestens einen Hebevorrichtung kann gewährleistet werden, dass die mindestens eine Hebevorrichtung wenig Einbauraum im Wäschepflegegerät benötigt. Die mindestens eine Hebevorrichtung und die daran angeordnete Vorratseinheit funktionieren im Prinzip wie ein ausziehbarer Schub mit einer darin integrierten mindestens einen Hebevorrichtung, die die Vorratseinheit in die zweite Position bewegt beziehungsweise die Behälter derart bewegt, dass zumindest ein Abschnitt mindestens eines Behälters der mindestens zwei Behälter in die zweite Ebene zumindest teilweise und/oder abschnitsweise hineinragt.
  • Das Gehäuse umfasst zwei Seitenwände, die im Wesentlichen parallel zueinander angeordnet sind, die Bodenplatte und eine Oberseite, wobei die Bodenplatte im Wesentlichen parallel zu der Oberseite angeordnet ist. Jede Seitenwand ist dabei mit der Bodenplatte als auch mit der Oberseite verbunden.
  • Die Vorratseinheitaufnahmeeinrichtung kann als eine Art Kammer ausgebildet sein. Die Vorratseinheitaufnahmeeinrichtung kann als eine Baugruppe in das Wäschepflegegerät eingesetzt werden. Des Weiteren kann die Vorratseinheitaufnahmeeinrichtung Verbindungselemente, wie elektrische Anschlüsse und/oder fluidtechnische Anschlüsse, die beispielsweise die Vorratseinheit mit dem Aufnahmebehälter verbinden, sodass die Wäschepflegemittel in den Aufnahmebehälter befördert werden können, und/oder mit dem automatischen Dosiersystem koppeln.
  • Die Vorratseinheit wird durch die mindestens eine Hebevorrichtung dem Benutzer, der in der Regel beim Beladen des Wäschepflegegeräts vor dem Gerät steht, entgegen gehoben. Das bedeutet, der Benutzer muss sich nicht hinknien oder runterbücken, um an die Vorratseinheit zu gelangen, die in einem unteren Bereich des Wäschepflegegeräts angeordnet ist. Dadurch wird dem Benutzer ein Befüllen und/oder Auffüllen und/oder Austauschen und/oder Reinigen der Vorratseinheit und der die Vorratseinheit umfassenden Behälter erleichtert und ergonomischer gestaltet.
  • Vorzugsweise weist das Wäschepflegegerät einen ersten Bereich und einen zweiten Bereich auf, wobei in dem ersten Bereich im Wesentlichen die Vorratseinheitaufnahmeeinrichtung und in dem zweiten Bereich im Wesentlichen die Öffnung und die Türeinheit des Wäschepflegegeräts angeordnet sind, wobei die erste Ebene in dem ersten Bereich und die zweite Ebene in dem zweiten Bereich ausgebildet ist, wobei der erste Bereich und der zweite Bereich im Wesentlichen räumlich voneinander getrennt sind.
  • Die Vorratseinheitaufnahmeeinrichtung ist im Wesentlichen eine separater Raum und/oder Kammer, die von dem Aufnahmebehälter getrennt ausgebildet ist. Für den Benutzer ist die Aufteilung des Wäschepflegegeräts derart, dass in dem zweiten Bereich des Wäschepflegegeräts, wie der Benutzer es gewohnt ist, der Aufnahmebehälter beziehungsweise die Öffnung zum Beladen des Aufnahmebehälters angeordnet ist. Der erste Bereich ist im Wesentlichen in einen unteren Bereich des Wäschepflegegeräts ausgebildet. Das bedeutet, der erste Bereich ist im Bereich der Bodenplatte ausgebildet. Der zweite Bereich ist ein oberer Bereich des Wäschepflegegeräts. Der zweie Bereich erstreckt sich von dem ersten Bereich in Richtung einer Oberseite des Wäschepflegegeräts. Durch die räumliche Trennung des ersten Bereichs und es zweiten Bereichs wird eine saubere Aufteilung des Wäschepflegegeräts geschaffen.
  • An dem Wäschepflegegerät ist vorteilhafterweise ein Abdeckelement angeordnet, wobei das Abdeckelement die Vorratseinheitaufnahmeeinrichtung abdeckt, und das Abdeckelement schwenkbar und/oder klappbar und/oder kippbar und/oder lösbar an dem Wäschepflegegerät angeordnet ist.
  • Dadurch wird die Vorratseinheitaufnahmeeinrichtung abgedeckt, sodass ein schönes Design des Wäschepflegegeräts, aber auch ein Schutzmechanismus geschaffen wird, der ein versehentliches Hineingreifen zu der Vorratseinheit verhindert. Des Weiteren sammeln sich in der Vorratseinheit beziehungsweise in der Vorratseinheitaufnahmeeinrichtung weniger Schmutzpartikel, die einen reibungslosen Betrieb der Vorratseinheit beziehungsweise der Vorratseinheitaufnahmeeinrichtung einschränken könnten.
  • Vorzugsweise sind die mindestens zwei Behälter der Vorratseinheit nachfüllbare Behälter und/oder austauschbare Behälter. Die austauschbaren Behälter können beispielsweise als Kartuschen ausgebildet sein, die aus der Vorratseinheit beziehungsweise der Vorratseinheitaufnahmeeinrichtung einfach und schnell entnehmbar und einfach und schnell einsetzbar sind. Nachfüllbare Behälter sind dafür vorgesehen, wieder aufgefüllt zu werden. Das bedeutet, ein Behälter bleibt im Wesentlichen in der Vorratseinheit angeordnet und wird lediglich befüllt, wenn dieser leer geworden ist oder dem Benutzer angezeigt und/oder gemeldet wird, dass der betreffende Behälter bald leer wird oder leer geworden ist. Beide Lösungen, nachfüllbare Behälter und austauschbare Behälter bringen verschiedene Vorteile mit sich. Denkbar ist aber auch, dass die mindestens zwei Behälter entnehmbare Behälter, aber trotzdem wieder auffüllbar sind.
  • In einer vorteilhaften Ausführungsform ist jeder der mindestens zwei Behälter vorteilhafterweise einzeln bewegbar, wobei mindestens einem Behälter der mindestens zwei Behälter der Vorratseinheit eine Hebevorrichtung zugeordnet ist. Vorzugsweise ist jedem Behälter der mindestens zwei Behälter der Vorratseinheit eine Hebevorrichtung zugeordnet. Dadurch wird ermöglicht, dass Behälter, die beispielsweise mit unterschiedlichen Wäschepflegemitteln beziehungsweise Wäschepflegesubstanzen befüllt sind, einzeln ausgetauscht und/oder befüllt und/oder gereinigt werden, so dass nicht immer die gesamte Vorratseinheit bewegt werden muss.
  • In einer weiteren vorteilhaften Ausführungsform sind die mindestens zwei Behälter als eine gemeinsame Einheit mit der Hebevorrichtung bewegbar. Dadurch wird nur eine Hebevorrichtung benötigt, wodurch geringe Produktionskosten entstehen im Vergleich zu der oberen Lösung, bei der jeder Behälter an einer eigenen Hebevorrichtung angeordnet ist.
  • Vorteilhafterweise weisen die mindestens zwei Behälter jeweils ein Frontelement auf, wobei das Frontelement jeweils mindestens in einer ersten Position oder in einer zweiten Position anordenbar ist, wobei sich die mindestens zwei Behälter der Vorratseinheit in der ersten Position im Wesentlichen in der Vorratseinheitaufnahmeeinrichtung befinden und in der ersten Ebene des Wäschepflegegeräts angeordnet sind und wobei sich mindestens ein Behälter der mindestens zwei Behälter der Vorratseinheit in der zweiten Position zumindest teilweise außerhalb des Gehäuses des Wäschepflegegeräts befindet und zumindest teilweise in der zweiten Ebene des Wäschepflegegeräts angeordnet ist.
  • Die mindestens zwei Behälter können verschiedene Position einnehmen, wobei aber die erste Position und die zweite Position zwei bevorzugte Position sind. In der ersten Position sind die mindestens zwei Behälter der Vorratseinheit im Wesentlichen im Wäschepflegegerät angeordnet. In der zweiten Position sind die mindestens zwei Behälter der Vorratseinheit im Wesentlichen außerhalb des Wäschepflegegeräts angeordnet.
  • Vorzugsweise ist die mindestens eine Hebevorrichtung derart ausgebildet, dass mindestens ein Behälter der mindestens zwei Behälter der Vorratseinheit anhebbar und/oder zumindest kippbar und/oder zumindest schwenkbar ist.
  • Mindestens ein Behälter der mindestens zwei Behälter ist in der zweiten Position zumindest teilweise außerhalb der Vorratseinheitaufnahmevorrichtung angeordnet. Das bedeutet, die Vorratseinheit beziehungsweise mindestens ein Behälter der mindestens zwei Behälter der Vorratseinheit ist so anordenbar, dass ein Entnehmen und/oder Befüllen und/oder Reinigen des Behälters möglichst komfortabel gestaltet ist. Vorzugsweise sind die mindestens zwei Behälter der Vorratseinheit derart anordenbar.
  • Die mindestens zwei Behälter sind derart anhebbar und/oder zumindest kippbar und/oder zumindest schwenkbar, dass das jeweilige Frontelement des jeweiligen Behälters zumindest teilweise in der zweiten Ebene des Wäschepflegegeräts angeordnet ist und/oder vor der Türeinheit außerhalb des Gehäuses des Wäschepflegegeräts anordenbar ist. Dadurch wird erreicht, dass die mindestens zwei Behälter für einen Benutzer gut erreichbar sind, um die Behälter beispielsweise auszutauschen und/oder neu zu Befüllen und/oder zu Reinigen.
  • Vorzugsweise ist eine Arretiervorrichtung ausgebildet, die mindestens einen Behälter der mindestens zwei Behälter der Vorratseinheit in dem ausgefahrenen Zustand der mindestens einen Hebevorrichtung arretiert. Dadurch kann gewährleistet werden, dass der mindestens eine Behälter in dem ausgefahren Zustand gehalten wird, so dass ein Benutzer ohne den Behälter halten zu müssen, den Behälter befüllen und/oder austauschen und/oder reinigen kann.
  • Es sind viele verschiedene Arten denkbar, wie die mindestens eine Hebevorrichtung bedient beziehungsweise angesteuert werden kann. Die mindestens eine Hebevorrichtung ist vorteilhafterweise manuell und/oder halbautomatisch und/oder automatisch von dem eingefahrenen Zustand in den ausgefahrenen Zustand versetzbar, wobei mindestens ein Behälter der mindestens zwei Behälter der Vorratseinheit aus der ersten Ebene zumindest abschnittsweise und/oder teilweise in die zweite Ebene bringbar ist.
  • Weitere Eigenschaften und Vorteile der vorliegenden Erfindung ergeben sich aus der nachfolgenden Beschreibung unter Bezugnahme auf die Zeichnungen.
  • Fig. 1
    zeigt eine schematische Front und Seitenansicht eines Wäschepflegegerät mit einer automatischen Dosiereinheit;
    Fig. 2
    zeigt eine Front und Seitenansicht eines Wäschepflegegeräts mit einer im Wäschepflegegerät angeordneten Vorratseinheit;
    Fig. 3
    zeigt eine Front und Seitenansicht eines Wäschepflegegeräts mit einer herausbewegten Vorratseinheit;
    Fig. 4a
    zeigt ein Wäschepflegegerät mit einem Ausführungsbeispiel einer ausgefahrenen Hebevorrichtung;
    Fig. 4b
    zeigt eine schematische Seitenansicht des Ausführungsbeispiels einer ausgefahrenen Hebevorrichtung;
    Fig. 5a
    zeigt ein Wäschepflegegerät mit einem weiteren Ausführungsbeispiel einer ausgefahrenen Hebevorrichtung;
    Fig. 5b
    zeigt eine schematische Seitenansicht des weiteren Ausführungsbeispiels einer ausgefahrenen Hebevorrichtung;
    Fig. 6
    zeigt schematisch einen Vorgang zum Befüllen und/oder Reinigen und/oder Wechseln von Behältern einer Vorratseinheit eines Wäschepflegegeräts.
  • In Fig. 1 ist eine schematische Front und Seitenansicht eines beispielhaft dargestellten Wäschepflegegeräts 1 mit einem automatischen Dosiersystem 2 gezeigt. Das Wäschepflegegerät 1 kann eine Waschmaschine, ein Wäschetrockner und/oder ein Waschtrockner sein. Das automatische Dosiersystem 2 ist zum Dosieren von Wäschepflegemitteln vorgesehen.
  • Das Wäschepflegegerät 1 umfasst ein Gehäuse 3. Das Gehäuse 3 besteht im Wesentlichen aus Seitenwänden 5, einer Frontwand 7, einer Oberseite 9 und einer Bodenplatte 11. Die Frontwand 7 beziehungsweise das Gehäuse 3 des Wäschepflegegeräts 1 umfasst des Weiteren mindestens eine Öffnung 13. Durch die Öffnung 13 ist ein Aufnahmebehälter 15 erreichbar, der im Gehäuse 3 des Wäschepflegegeräts 1 angeordnet ist. Eine Türeinheit 17 ist an dem Wäschepflegegerät 1 angeordnet und ist dafür vorgesehen, die Öffnung 11 zu verschließen. Die Seitenwände 5 sind zueinander im Wesentlichen parallel angeordnet. Des Weiteren ist die Oberseite 9 im Wesentlichen parallel zu der Bodenplatte 11 angeordnet.
  • In dem gezeigten Ausführungsbeispiel in Fig. 1 ist beispielhaft eine Bedieneinheit 19 dargestellt. Die Bedieneinheit 19 ist aber nicht zwingend erforderlich. Die Bedieneinheit 19 kann als Drehwähler ausgestaltet sein und/oder als Druckknopf und/oder Taste und/oder eine Kombination aus Drehwähler und Druckknopf und/oder Taste sein. Die Bedieneinheit 19 kann beispielsweise als ein An- und Ausschaltknopf fungieren und/oder als Drehwähler ausgebildet sein, um beispielsweise verschiedene Bedienprogramme aufzurufen und/oder Bedienparameter einzustellen. Des Weiteren kann die Bedieneinheit 19 auch als eine Art Bestätigungstaste und/oder Bestätigungsdruckknopf ausgebildet sein. Wenn keine Bedieneinheit 19 ausgebildet ist, ist im Wäschepflegegerät 1 zumindest eine Kommunikationseinheit ausgebildet, die Befehle beispielsweise kabellos empfangen kann.
  • Das Wäschepflegegerät 1 kann in einem ersten Bereich A und in einen zweiten Bereich B aufgeteilt werden. Der erste Bereich A kann auch als unterer Bereich A bezeichnet werden. Der zweite Bereich B kann auch als oberer Bereich B bezeichnet werden. Der erste Bereich A und der zweite Bereich B grenzen im Wesentlichen aneinander, wobei der erste Bereich A und der zweite Bereich B im Wesentlichen räumlich voneinander getrennt sind. Der erste Bereich A erstreckt sich von der Bodenplatte 11 in Richtung der Türeinheit 17. Der zweite Bereich erstreckt sich im Wesentlichen von dem ersten Bereich A in Richtung der Oberseite 9 des Wäschepflegegeräts 1.
  • Eine Vorratseinheitaufnahmeeinrichtung 21 ist im Wesentlichen in dem ersten Bereich A des Wäschepflegegeräts 1 ausgebildet. Die Vorratseinheitaufnahmeeinrichtung 21 ist in Einbaulage unterhalb der Türeinheit 17 im Bereich der Bodenplatte 11 des Wäschepflegegeräts 1 angeordnet. Die Vorratseinheitaufnahmeeinrichtung 21 ist zum Aufnehmen von einer Vorratseinheit 22 vorgesehen, wobei die Vorratseinheit 22 mindestens einen Behälter 23 (gezeigt in Fig. 2) umfasst. In dem zweiten Bereich B ist im Wesentlichen die Öffnung 13 ausgebildet und die Türeinheit17 des Wäschepflegegeräts 1 angeordnet.
  • Des Weiteren erstreckt sich eine erste Ebene E1 in dem ersten Bereich A beziehungsweise in dem unteren Bereich A des Wäschepflegegeräts 1. Die erste Ebene E1 verläuft im Wesentlichen parallel zur Bodenplatte 11 und im Bereich der Vorratseinheitaufnahmeeinrichtung 21 des Wäschepflegegeräts 1. Eine zweite Ebene E2, die sich parallel zu der Bodenplatte 11 erstreckt und von der Bodenplatte 11 weiter beabstandet ist als die erste Ebene E1, verläuft in dem zweiten Bereich des Wäschepflegegeräts 1. Die zweite Ebene E2 verläuft im Wesentlichen im Bereich der Türeinheit 17 des Wäschepflegegeräts 1. Die erste Ebene E1 und die zweite Ebene E2 verlaufen im Wesentlichen horizontal und verlaufen im Wesentlichen parallel zu einander.
  • In dem unteren Bereich A ist an dem Wäschepflegegerät 1 ein Abdeckelement 25 angeordnet. Das Abdeckelement 25 deckt die Vorratseinheitaufnahmeeinrichtung 21 ab. Das Abdeckelement 25 kann dabei schwenkbar und/oder klappbar und/oder lösbar an dem Wäschepflegegerät 1 angeordnet sein. Denkbar ist auch ein push-push Öffnungsmechanismus, der das Abdeckelement 25 öffnet, um an die Vorratseinheitaufnahmevorrichtung 21 zu gelangen. Weitere Mechanismen zum Öffnen beziehungsweise Entfernen des Abdeckelements 25 von dem Wäschepflegegerät 1 sind denkbar.
  • In Fig. 2 ist eine Front und Seitenansicht eines Wäschepflegegeräts 1 mit der darin angeordneten Vorratseinheit 22 gezeigt. Die Vorratseinheit 22 ist für eine Menge von Wäschepflegemitteln, welche für eine vorgebare Anzahl an Reinigungsvorgängen vorgesehen ist, ausgelegt. In der Vorratseinheit 22 wird das Wäschepflegemittel gelagert beziehungsweise aufbewahrt und bei Bedarf von dem automatischen Dosiersystem 2 angefordert und nach einem Vermengen in den Aufnahmebehälter 15 eingespeist. Die Vorratseinheit 22 ist in der Vorratseinheitaufnahmevorrichtung 21 angeordnet. Die Vorratseinheit 22 umfasst mindestens zwei Behälter 23. In dem vorliegenden Ausführungsbeispiel sind es drei Behälter 23. Es ist aber auch denkbar, dass die Vorratseinheit 22 genau zwei Behälter 23 umfasst oder mehr als drei Behälter 23. Wie oben bereits erwähnt wurde, ist die Vorratseinheit 22 in dem unteren Bereich A des Wäschepflegegeräts 1 angeordnet. Das bedeutet, die Vorratseinheit 22 ist in Einbaulage unterhalb der Türeinheit 17 in dem Wäschepflegegerät 1 angeordnet.
  • In Fig. 2 ist die Vorratseinheit 22 im Wesentlichen in der Vorratseinheitaufnahmevorrichtung 21 aufgenommen. Das bedeutet, dass die Vorratseinheit 22 im Wesentlichen im Bereich der ersten Ebene E1 angeordnet ist. Das Abdeckelement 25 ist in dem vorliegenden Ausführungsbeispiel in Fig. 2 bereits geöffnet, so dass die Behälter 23 der Vorratseinheit 22 sichtbar sind. Die Behälter 23 der in dem Ausführungsbeispiel gezeigten Vorratseinheit 22 weisen Frontelement 31 auf. Die Frontelemente 31 können beispielsweise als Griffelemente 33 und/oder als Deckelelemente 33 ausgebildet sein. Die Frontelemente 31 der mindestens zwei Behälter 23 sind in Fig. 2 in einer ersten Position angeordnet. Das bedeutet, dass die mindestens zwei Behälter 23 der Vorratseinheit 22 in der Vorratseinheitaufnahmevorrichtung 21 aufgenommen sind. Das bedeutet wiederum, dass die mindestens zwei Behälter 23 der Vorratseinheit 22 im Wesentlichen in dem Gehäuse 3 des Wäschepflegegeräts 1 angeordnet sind.
  • Die mindestens zwei Behälter 23 der Vorratseinheit 22 können beispielsweise als nachfüllbare Behälter 23 oder als Austauschbehälter 23 ausgebildet sein.
  • Sind die Behälter 23 als nachfüllbare Behälter 23 ausgebildet, ist vorzugsweise hinter dem Frontelement 31 beziehungsweise hinter dem Deckelelement 33 eine Behälteröffnung 34 ausgebildet, durch die die nachfüllbaren Behälter 23 der Vorratseinheit 22 befüllt und/oder gereinigt werden können. In diesem Fall ist das jeweilige Frontelement 31 vorzugsweise als Deckelelement 33 und als Griffelement 33 ausgebildet.
  • Sind die Behälter 23 als Austauschbehälter 23 ausgebildet, sind die Austauschbehälter 23 mit Hilfe des Frontelements 31 aus der Vorratseinheit 22 beziehungsweise aus der Vorratseinheitaufnahmevorrichtung 21 entnehmbar. In diesem Fall ist das jeweilige Frontelement 31 vorzugsweise als Griffelement 33 ausgebildet. Die Behälter 23 können in diesem Fall auch als Kartusche ausgebildet sein oder als ein Mehrwegbehältnis.
  • Die mindestens zwei Behälter 23 und die Frontelemente 31 beziehungsweise die Griffelemente 33 und/oder die Deckelelemente 33 der Vorratseinheit 22 sind in Fig. 2 jeweils in einer ersten Position angeordnet. Die mindestens zwei Behälter 23 befinden sich in der ersten Position im Wesentlichen in der Vorratseinheitaufnahmeeinrichtung 21. Die Frontelemente 31 beziehungsweise die Griffelemente 33 und/oder die Deckelelemente 33 der Vorratseinheit 22 sind im Wesentlichen in der ersten Ebene E1 angeordnet, sodass die Ebene E1 im Wesentlichen durch die Frontelement 31 beziehungsweise die Griffelemente 33 und/oder die Deckelelemente 33 verläuft. Die Frontelemente 31 sind in der ersten Position im Wesentlichen in dem Gehäuse 3 des Wäschepflegegeräts 1 aufgenommen.
  • In Fig. 3 ist eine Front und Seitenansicht eines Wäschepflegegeräts 1 mit einer aus der Vorratseinheitaufnahmevorrichtung 21 herausbewegten Vorratseinheit 22 gezeigt. Die Vorratseinheit 22 in Fig. 3 umfasst beispielsweise zwei Behälter 23. Die Behälter 23 der Vorratseinheit 22 werden mit mindestens einer Hebevorrichtung 35 aus der Vorratseinheitaufnahmevorrichtung 21 herausbewegt. Die mindestens eine Hebevorrichtung 35 ist im Wesentlichen in der Vorratseinheitaufnahmevorrichtung 21 angeordnet. Die Vorratseinheitaufnahmevorrichtung 21 kann als eine Art Kammer ausgebildet sein, in der die Vorratseinheit 22 aufnehmbar ist beziehungsweise aufgenommen ist. Die Hebevorrichtung 35 ist zumindest abschnittsweise aus der Vorratseinheitaufnahmevorrichtung 21 herausbewegbar.
  • Die mindestens eine Hebevorrichtung 35 umfasst zwei Führungsschiene 37a, 37b. Die zwei Führungsschiene 37a, 37b sind parallel zueinander und jeweils im Bereich der Seitenwände 5 des Wäschepflegegeräts 1 angeordnet. Die zwei Führungsschiene 37a, 37b sind insbesondere in der Vorratseinheitaufnahmevorrichtung 21 angeordnet. In den zwei Führungsschienen 37a, 37b ist jeweils eine Laufschiene 39a, 39b verschiebbar angeordnet. Die Vorratseinheit 22 ist im Wesentlichen an der Hebevorrichtung 35 angeordnet und ist mit den Elementen der Hebevorrichtung 35, wie beispielsweise der Führungsschienen 37a, 37b und/oder der Laufschienen 39a, 39b bewegbar verbunden. Die mindestens zwei Behälter 23 der Vorratseinheit 22 sind im Wesentlichen an den Laufschienen 39a, 39b der Hebevorrichtung 35 angeordnet und können entlang der Führungsschienen 37a, 37b und/oder der Laufschienen 39a, 39b der Hebevorrichtung 35 bewegt werden.
  • Die Frontelemente 31 beziehungsweise die Griffelemente 33 und/oder die Deckelelemente 33 der Behälter 23 der Vorratseinheit 22 befinden sich im Wesentlichen in der ersten Ebene E1, sodass die erste Ebene E1 im Wesentlichen durch die Frontelemente 31 beziehungsweise die Griffelemente 33 und/oder die Deckelelemente 33 verläuft. Die Vorratseinheit 22 ist in Fig. 3 im Wesentlichen außerhalb und/oder der Vorratseinheitaufnahmevorrichtung 21 beziehungsweise abschnittsweise außerhalb des Gehäuses 3 des Wäschepflegegeräts 1 angeordnet.
  • In Fig. 4a ist ein Ausführungsbeispiel eines Wäschepflegegeräts 1 mit einer ausgefahrenen Hebevorrichtung 35 gezeigt. In Fig. 4b ist eine schematische Seitenansicht eines Wäschepflegegeräts 1 mit der ausgefahrenen Hebevorrichtung 35 gezeigt. Die Hebevorrichtung 35 umfasst weiterhin mindesten zwei Schwenkarme 41a, 41b. Die Schwenkarme 41a, 41b weisen jeweils ein erstes Ende 43a, 43b und ein zweites Ende 45a, 45b auf. An dem jeweils ersten Ende 43a, 43b des jeweiligen Schwenkarms 41a, 41b ist ein Drehgelenk 47 angeordnet, wobei das jeweilige Drehgelenk 47 an der jeweiligen Laufschiene 39a, 39b angeordnet ist.
  • An dem jeweiligen zweiten Ende 45a, 45b des jeweiligen Schwenkarms 41a, 41b ist ein weiteres Drehgelenk 49 angeordnet, wobei das jeweilige weitere Drehgelenk 49 jeweils mit einer Haltevorrichtung 51a, 51b verbunden ist. In dem Ausführungsbeispiel der Fig. 4a und Fig. 4b ist das weitere Drehgelenk 49 starr ausgebildet und im Wesentlichen als Befestigungselement verwendet, das den jeweiligen Schwenkarm 41a, 41b mit dem mindestens einen Behälter 23 verbindet. Die beiden Haltevorrichtung 51a, 51b sind im Wesentlichen parallel zueinander angeordnet. Die beiden Haltevorrichtung 51a, 51b sind mit mindestens einem Behälter 23 der mindestens zwei Behälter 23 verbunden. Die beiden Haltevorrichtung 51a, 51b sind mit mindestens einem Behälter 23 der mindestens zwei Behälter 23 derart verbunden, dass der mindestens eine Behälter 23 aus dem eingefahrenen Zustand der Hebevorrichtung 35, in einen ausgefahrenen Zustand der Hebevorrichtung 35, bewegbar ist.
  • In Fig. 4a und Fig. 4b ist der ausgefahrene Zustand der Hebevorrichtung 35 gezeigt. Die Hebevorrichtung 35 ist derart kippbar oder schwenkbar, dass die mindestens zwei Behälter 23 der Vorratseinheit 22 aus der ersten Ebene E1 im Wesentlichen herausbewegt sind. Das bedeutet, die Vorratseinheit 22 ist im Wesentlichen außerhalb der Vorratseinheitaufnahmevorrichtung 21 beziehungsweise außerhalb des Gehäuses 3 des Wäschepflegegeräts 1 angeordnet, so dass die Frontelemente 31 beziehungsweise die Griffelemente 33 und/oder die Deckelelemente 33 der Behälter 23 der Vorratseinheit 22 sich im Wesentlichen im Bereich der zweiten Ebene E2 befinden, sodass die zweite Ebene E2 im Wesentlichen durch die Frontelemente 31 beziehungsweise die Griffelemente 33 und/oder die Deckelelemente 33 verläuft. Die zweite Ebene E2 verläuft beispielsweise im Bereich der Türeinheit 17. Dadurch wird ein Befüllen und/oder Reinigen und/oder Austauschen der Behälter 23 für einen Benutzer einfacher gestaltet. Die zweite Ebene E2 kann dabei in einen unteren Bereich oder in einen oberen Bereich der Türeinheit 17 oder zwischen dem unteren Bereich und den oberen Bereich der Türeinheit 17 verlaufen.
  • Die Frontelemente 31 beziehungsweise die Griffelemente 33 und/oder die Deckelelemente 33 der Behälter 23 der Vorratseinheit 22 sind in Fig. 4a und in Fig. 4b jeweils in einer zweiten Position angeordnet. Das bedeutet, die Frontelemente 31 beziehungsweise die Griffelemente 33 und/oder die Deckelelemente 33 der Behälter 23 der Vorratseinheit 22 befinden sich zumindest teilweise außerhalb des Gehäuses 3 des Wäschepflegegeräts 1 und sind zumindest teilweise in der zweiten Ebene E2 angeordnet. Die Vorratseinheit 22 beziehungsweise die mindestens zwei Behälter 23 der Vorratseinheit 22 sind in dem ausgefahrenen Zustand im Wesentlichen außerhalb des Gehäuses 3 des Wäschepflegegeräts 1 und zumindest teilweise im oberen Bereich B und in der zweiten Ebene E2 des Wäschepflegegeräts 1 angeordnet. Zumindest ein Abschnitt der mindestens zwei Behälter 23 der Vorratseinheit 22 sind vorzugsweise im Bereich der Türeinheit 17 angeordnet.
  • Des Weiteren ist eine Arretiervorrichtung 53 vorgesehen. Die Arretiervorrichtung 53 ist dafür vorgesehen, mindestens einen Behälter 23 der mindestens zwei Behälter 23 in dem ausgefahrenen Zustand der Hebevorrichtung 35 zu arretieren, so dass der mindestens einen Behälter 23 der mindestens zwei Behälter 23 fixiert ist und Position gehalten wird. Wie den Fig. 4a und Fig. 4b gezeigt ist, kann die Arretiervorrichtung 53 auch die mindestens zwei Behälter 23 der Vorratseinheit 22 in der zweiten Position arretieren.
  • Es versteht sich von selbst, dass die Vorratseinheit 22 möglichst nah am Wäschepflegegerät 1 anordenbar ist. Des Weiteren ist es vorteilhaft, wenn die Führungsschienen 37a, 37b und die Laufschienen 39a, 39b in einem ausgefahrenen Zustand nicht zu weit aus dem Wäschepflegegerät 1 ragen, so dass ein Benutzer über die Führungsschienen 37a, 37b und/oder die Laufschienen 39a, 39b beim Befüllen und/oder Reinigen und/oder Austauschen der Behälter 23 stolpern könnte.
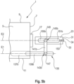
  • In den Fig. 5a und 5b ist eine weitere Ausführungsform einer Hebevorrichtung 135 gezeigt. In Fig. 5a ist ein Wäschepflegegerät 1 mit einem weiteren Ausführungsbeispiel einer ausgefahrenen Hebevorrichtung 135 gezeigt. In Fig. 5b ist eine schematische Seitenansicht eines Wäschepflegegeräts 1 mit der ausgefahrenen Hebevorrichtung 135 gezeigt.
  • Das Wäschepflegegerät 1 umfasst die Vorratseinheitaufnahmevorrichtung 21. In der Vorratseinheitaufnahmevorrichtung 21 ist im Wesentlichen die Hebevorrichtung 135 angeordnet. Die Hebevorrichtung 135 ist zumindest abschnittsweise oder zumindest teilweise aus der Vorratseinheitaufnahmevorrichtung 21 herausbewegbar. Die Hebevorrichtung 135 umfasst mindestens zwei Führungsschienen 137a, 137b. Die zwei Führungsschiene 137a, 137b sind parallel zueinander und jeweils im Bereich der Seitenwände 5 des Wäschepflegegeräts 1 angeordnet. Die zwei Führungsschiene 137a, 137b sind insbesondere in der Vorratseinheitaufnahmevorrichtung 21 angeordnet. In den zwei Führungsschienen 137a, 137b ist jeweils eine Laufschiene 139a, 139b verschiebbar angeordnet beziehungsweise gelagert.
  • Die Hebevorrichtung 135 umfasst weiterhin mindesten zwei Schwenkarme 141a, 141b. Die Schwenkarme 141a, 141b weisen jeweils ein erstes Ende 143a, 143b und ein zweites Ende 145a, 145b auf. An dem jeweils ersten Ende 143a, 143b des jeweiligen Schwenkarms 141a, 141b ist ein Drehgelenk 147 angeordnet, wobei das jeweilige Drehgelenk 147 an der jeweiligen Laufschiene 139a, 139b angeordnet ist.
  • An dem jeweiligen zweiten Ende 145a, 145b des jeweiligen Schwenkarms 141a, 141b ist ein weiteres Drehgelenk 149 angeordnet, wobei das jeweilige weitere Drehgelenk 149 jeweils mit einer Haltevorrichtung 151a, 151b verbunden ist. Die beiden Haltevorrichtung 151a, 151b sind im Wesentlichen parallel zueinander angeordnet. Die beiden Haltevorrichtungen 151a, 151b sind mit mindestens einem Behälter 23 der mindestens zwei Behälter 23 verbunden. Die beiden Haltevorrichtung 151a, 151b sind mit mindestens einem Behälter 23 der mindestens zwei Behälter 23 derart verbunden, dass der mindestens eine Behälter 23 aus dem eingefahrenen Zustand der Hebevorrichtung 135, in einen ausgefahrenen Zustand der Hebevorrichtung 135, mit bewegbar ist.
  • Die beiden Haltevorrichtungen 151a, 151b können jeweils eine weitere Führungsschiene 155a, 155b umfassen. In den jeweils weiteren Führungsschiene 155a, 155b können die weiteren Drehgelenke 149 verschiebbar gelagert sein. Dadurch kann der mindestens eine Behälter 23 der mindestens zwei Behälter 23 im ausgefahrenen Zustand der Hebevorrichtung 135 weiter verschoben werden, so dass eine für einen Benutzer optimale Anordnung beziehungsweise Einstellung der Vorratseinheit 22 einstellbar ist.
  • Des Weiteren ist eine Arretiervorrichtung 153 vorgesehen. Die Arretiervorrichtung 153 ist dafür vorgesehen, mindestens einen Behälter 23 der mindestens zwei Behälter 23 in dem ausgefahrenen Zustand der Hebevorrichtung 135 zu arretieren, so dass der mindestens einen Behälter 23 der mindestens zwei Behälter 23 fixiert ist und in der zweiten Position gehalten wird.
  • In dem ausgefahrenen Zustand der Hebevorrichtung 135 beziehungsweise in dem angehobenen Zustand der Hebevorrichtung 135 ist mindestens einer der beiden Behälter 23 zumindest teilweise oder abschnittsweise in der zweiten Ebene E2 angeordnet. Ist die Vorratseinheit 22 nur als ganze Einheit bewegbar, so sind die mindestens zwei Behälter 23 der Vorratseinheit 22 von der Hebevorrichtung 135 zumindest teilweise oder abschnittsweise in der zweiten Ebene E2 angeordnet.
  • Das bedeutet, die Frontelemente 31 beziehungsweise die Griffelemente 33 und/oder die Deckelelemente 33 der Behälter 23 der Vorratseinheit 22 sind in Fig. 5a und in Fig. 5b jeweils in der zweiten Position angeordnet. Das bedeutet wiederum, die Frontelemente 31 beziehungsweise die Griffelemente 33 und/oder die Deckelelemente 33 der Behälter 23 der Vorratseinheit 22 befinden sich zumindest teilweise außerhalb des Gehäuses 3 des Wäschepflegegeräts 1 und sind zumindest teilweise in der zweiten Ebene E2 angeordnet.
  • Es ist denkbar, dass auch eine Hebevorrichtung 35, 135 beide Ausführungsformen, eine gekippte oder geschwenkte Stellung, als auch eine angehobene Stellung einnehmen kann. Die Hebevorrichtung 35, 135 wird dafür zunächst angehoben und anschließend gekippt oder geschwenkt. Dadurch könnten beispielsweise die mindestens zwei Behälter 23 noch weiter oben, beispielsweise im Bereich über der Ebene E2 in Richtung der Oberseite 9 des Wäschepflegegeräts 1, angeordnet werden. Weitere Ausführungen sind denkbar.
  • In Fig. 6 ist schematisch ein Vorgang zum Befüllen und/oder Reinigen und/oder Wechseln von Behältern 23 der Vorratseinheit 22 eines Wäschepflegegeräts 1 dargestellt.
  • Die Vorratseinheit 22 ist zunächst in der Vorratseinheitaufnahmeeinrichtung 21 eines Wäschepflegegeräts 1 mit automatischen Dosiersystem 2 aufgenommen. Durch Entfernen des Abdeckelements 25, wird die Vorratseinheit 22 sichtbar und kann aus der Vorratseinheitaufnahmeeinrichtung 21 herausbewegt werden. Beispielsweise durch ein Ziehen an der Vorratseinheit 22 und/oder an einem der Behälter 23 der Vorratseinheit 22 wird die Vorratseinheit 22 beziehungsweise mindestens einer der mindestens zwei Behälter 23 aus der Vorratseinheitaufnahmeeinrichtung 21 herausgezogen. Dies erfolgt mit einer Hebevorrichtung 35, 135, die in Fig. 4a, 4b oder Fig. 5a, 5b beschrieben ist. Das Herausziehen beziehungsweise das Herausbewegen der Vorratseinheit 22 beziehungsweise des mindestens einen der mindestens zwei Behälter 23 kann manuell als auch halbautomatisch oder vollautomatisch erfolgen.
  • Ist die Vorratseinheit 22 beziehungsweise mindestens einer der mindestens zwei Behälter 23 aus der Vorratseinheitaufnahmeeinrichtung 21 herausgezogen, so dass die Vorratseinheit 22 beziehungsweise der mindestens eine Behälter 23 der mindestens zwei Behälter 23 im Wesentlichen außerhalb des Gehäuses 3 des Wäschepflegegeräts 1 und im Wesentlichen in der ersten Ebene E1 angeordnet ist, kann die Vorratseinheit 22 oder der mindestens eine Behälter 23 der mindestens zwei Behälter 23 in den ausgefahrenen Zustand der Hebevorrichtung 35, 135 bewegt werden.
  • Das erfolgt durch ein Kippen und/oder Schwenken und/oder Anheben der Vorratseinheit 22 oder des mindestens einen Behälters 23 der mindestens zwei Behälter 23, sodass die Vorratseinheit 22 oder der mindestens eine Behälter 23 der mindestens zwei Behälter 23 zumindest teilweise oder abschnittsweise in der zweiten Ebene E2 angeordnet ist.
  • Ist die Vorratseinheit 22 oder der mindestens eine Behälter 23 der mindestens zwei Behälter 23 zumindest teilweise oder abschnittsweise in der zweiten Ebene E2 angeordnet, kann die Vorratseinheit 22 oder der mindestens eine Behälter 23 der mindestens zwei Behälter 23 arretiert werden, um in der zweiten Position gehalten zu werden. Anschließend kann ein Reinigen und/oder Befüllen und/oder Entnehmen des mindestens eines Behälters 23 der mindestens zwei Behälter 23 erfolgen. Anschließend kann die Vorratseinheit 22 oder der mindestens eine Behälter 23 der mindestens zwei Behälter 23 wieder zurück in das Wäschepflegegerät 1 bewegt werden, so dass sich die Hebevorrichtung 35, 135 wieder in dem eingefahrenen Zustand befindet. In dem eingefahrenen Zustand der Hebevorrichtung 35, ist die die Vorratseinheit 22 beziehungsweise der mindestens eine Behälter 23 der mindestens zwei Behälter 23 in der ersten Position angeordnet.
  • Kurz zusammengefasst, umfasst der Vorgang zum Befüllen und/oder Reinigen und/oder Wechseln von Behältern 23 der Vorratseinheit 22 eines Wäschepflegegeräts 1 folgende Schritte: Öffnen des Abdeckelements 25 (V1), Herausbewegen mindestens eines Behälters 23 der Vorratseinheit 22 (V2), Schwenken beziehungsweise Anheben mindestens eines Behälters 23 der Vorratseinheit 22 (V3), Befüllen/Reinigen/Wechseln des mindestens eines Behälters 23 der Vorratseinheit 22 (V4), Einfahren des mindestens eines Behälters 23 der Vorratseinheit 22 (V5), Schließen des Abdeckelements 25 (V6). Das Wäschepflegegerät 1 kann wiedereingesetzt werden und weitere Reinigungs- und/oder Trocknungsvorgänge durchführen.
  • Das Befüllen und/oder Reinigen und/oder Wechseln von Behältern 23 der Vorratseinheit 22 eines Wäschepflegegeräts 1 kann vorzugsweise nur bei einem nichtlaufenden Wäschepflegegerät 1 durchgeführt werden. Das bedeutet ein Wäschepflegeprozess, wie beispielsweise ein Einlaufen von Wasser bei einem Waschvorgang, hat noch nicht begonnen beziehungsweise wurde noch nicht gestartet. Es ist denkbar, dass der Nutzer vor dem Starten des Reinigungs- und/oder Trocknungsvorgang eine Mitteilung erhält, dass die Vorratseinheit 22 nicht genügend Wäschepflegemittel enthält, um einen Reinigungs- und/oder Trocknungsvorgang durchführen zu können. Weitere Mitteilungen, wie beispielsweise Leuchtsignale und/oder leuchtende Symbole und/oder Mitteilung auf ein Smartphone sind denkbar. Es ist auch denkbar, dass die Mitteilung an den Nutzer nach Beenden eines Reinigungs- und/oder Trocknungsvorgang, das beispielsweise für einen nächsten Reinigungs- und/oder Trocknungsvorgang nicht genügend Wäschepflegemittel in der Vorratseinheit 22 vorhanden sei, und/oder vor dem Starten eines Reinigungs- und/oder Trocknungsvorgang angezeigt beziehungsweise ausgegeben wird und/oder die Mitteilung an einen Nutzer erfolgt, dass demnächst die Vorratseinheit 22 aufgefüllt werden muss. Bei letzteren Beispiel ist es denkbar, dass beispielsweise noch mindestens zwei Reinigungs- und/oder Trocknungsvorgang durchgeführt werden können, so dass ein Nutzer neues Wäschepflegemittel organisieren kann, ohne unter Zeitdruck zu geraten. Vorzugsweise kann ein Reinigungs- und/oder Trocknungsvorgang nicht gestartet werden, wenn nicht genügend Wäschepflegemittel in der Vorratseinheit 22 vorhanden ist.
  • Des Weiteren ist es vorstellbar, dass jeder einzelne Behälter 23 der mindestens zwei Behälter 23 der Vorratseinheit 22 an einer Hebevorrichtung 35, 135 angeordnet ist, so dass jeder der mindestens zwei Behälter 23 einzeln bewegbar ist. Das bedeutet, jedem Behälter 23 ist eine Hebevorrichtung 35, 135 zugeordnet, so dass jeder Behälter 23 einzeln ausgefahren und gekippt und/oder geschwenkt und/oder angehoben werden kann. Dies hat den Vorteil, dass nicht immer alle Behälter 23 der mindestens zwei Behälter 23 bewegt werden müssen.
  • Es ist aber auch vorstellbar, dass die mindestens zwei Behälter 23 als eine gemeinsame Einheit mit nur einer Hebevorrichtung 35, 135 bewegbar sind. Das bedeutet, Die mindestens zwei Behälter 23 sind miteinander verbunden, so dass die Behälter 23 der Vorratseinheit 22 des Wäschepflegegeräts 1 mit nur einer Hebevorrichtung 35, 135 bewegbar sind. Dies hat den Vorteil, dass Produktionskosten möglichst geringgehalten werden können.
  • BEZUGSZEICHENLISTE
  • 1.
    Wäschepflegegerät
    2.
    Automatisches Dosiersystem
    3.
    Gehäuse
    5.
    Seitenwand
    7.
    Frontwand
    9.
    Oberseite
    11.
    Bodenplatte
    13.
    Öffnung
    15.
    Aufnahmebehälter
    17.
    Türeinheit
    19.
    Bedieneinheit
    21.
    Vorratseinheitaufnahmeeinrichtung
    22.
    Vorratseinheit
    23.
    Behältnis
    25.
    Abdeckelement
    31.
    Frontelement
    33.
    Griff-/Deckelelement
    34.
    Behälteröffnung
    35.
    Hebevorrichtung
    37a.
    Führungsschiene
    37b.
    Führungsschiene
    39a.
    Laufschiene
    39b.
    Laufschiene
    41a.
    Schwenkarm
    41b.
    Schwenkarm
    43a.
    1. Ende
    43b.
    1. Ende
    45a.
    2. Ende
    45b.
    2. Ende
    47.
    Drehgelenk
    49.
    Weiteres Drehgelenk
    51a.
    Haltevorrichtung
    51b.
    Haltevorrichtung
    53.
    Arretiervorrichtung
    135.
    Hebevorrichtung
    137a.
    Führungsschiene
    137b.
    Führungsschiene
    139a.
    Laufschiene
    139b.
    Laufschiene
    141a.
    Schwenkarm
    141b.
    Schwenkarm
    143a.
    Erstes Ende
    143b.
    Erstes Ende
    145a.
    Zweites Ende
    145b.
    Zweites Ende
    147.
    Drehgelenk
    149.
    Weiteres Drehgelenk
    151a.
    Haltevorrichtung
    151b.
    Haltevorrichtung
    153.
    Arretiervorrichtung
    155a.
    Weitere Führungsschiene
    155b.
    Weitere Führungsschiene
    A.
    Erster / Unterer Bereich
    B.
    Zweiter / Oberer Bereich
    E1.
    Erste Ebene
    E2.
    Zweite Ebene
    V1.
    Erster Vorgang
    V2.
    Zweiter Vorgang
    V3.
    Dritter Vorgang
    V4.
    Vierter Vorgang
    V5.
    Fünfter Vorgang
    V6.
    Sechster Vorgang

Claims (11)

  1. Wäschepflegegerät (1) mit einem automatischen Dosiersystem (2), wobei das Wäschepflegegerät (1) eine Vorratseinheit (22) für eine Menge von Wäschepflegemitteln, welche für eine vorgebbare Anzahl an Reinigungs- und/oder Trocknungsvorgängen vorgesehen ist, umfasst, wobei die Vorratseinheit (22) mindestens zwei Behälter (23) zum Aufnehmen und Aufbewahren von Wäschepflegemitteln umfasst, mit
    einem Gehäuse (3), wobei das Gehäuse (3) eine Frontwand (7) und eine Öffnung (13) aufweist, wobei durch die Öffnung (13) ein in dem Gehäuse (3) angeordneter Aufnahmebehälter (15) zum Aufnehmen von Wäsche erreichbar ist,
    einer Türeinheit (17) zum im Wesentlichen Verschließen der Öffnung (13),
    einer Vorratseinheitaufnahmeeinrichtung (21) zum Aufnehmen der Vorratseinheit (22), wobei die Vorratseinheitaufnahmeeinrichtung in einer Einbaulage unterhalb der Türeinheit (17) im Bereich einer Bodenplatte (11) des Wäschepflegegeräts (1) angeordnet ist,
    wobei das Wäschepflegegerät (1) mindestens eine Hebevorrichtung (35, 135) umfasst, wobei die mindestens zwei Behälter (23) der Vorratseinheit (22) mit der mindestens einen Hebevorrichtung (35, 135) verbunden sind, wobei die mindestens zwei Behälter (23) der Vorratseinheit (22) in einem eingefahrenen Zustand der mindestens einen Hebevorrichtung (35, 135) in einer ersten Ebene (E1) des Wäschepflegegeräts (1) angeordnet sind und in der Vorratseinheitaufnahmeeinrichtung (21) aufgenommen sind, wobei sich die erste Ebene (E1) im Wesentlichen parallel zur Bodenplatte (11) erstreckt, und die mindestens einen Hebevorrichtung (35, 135) in einem ausgefahrenen Zustand mindestens einen Behälter (23) der mindestens zwei Behälter (23) der Vorratseinheit (22) im Wesentlichen derart außerhalb des Gehäuses (3) anordnet, dass zumindest ein Abschnitt des mindestens einen Behälters (23) der mindestens zwei Behälter (23) der Vorratseinheit (22) in eine zweite Ebene (E2), die sich parallel zu der Bodenplatte (11) erstreckt und von der Bodenplatte (11) weiter beabstandet ist als die erste Ebene (E1), des Wäschepflegegeräts (1) hineinragt, wobei die mindestens eine Hebevorrichtung (35, 135) eine an jeder Seitenwand (5) angeordnete Führungsschiene (37a, 37b, 137a, 137b) umfasst, wobei jeweils eine Laufschiene (39a, 39b, 139a, 139b) in jeder Führungsschiene (37a, 37b, 137a, 137b) verschiebbar angeordnet ist,
    dadurch gekennzeichnet, dass
    an einem jeweiligen Ende der Laufschiene (39a, 39b, 139a, 139b) parallel zu den Seitenwänden (5) drehbar festgelegte und parallel zueinander beabstandet angeordente Schwenkarme (41a, 41b, 141a, 141b) angeordnet sind, wobei ein erstes Ende (43a, 43b, 143a, 143b) des jeweiligen Schwenkarms (41a, 41b, 141a, 141b) im Wesentlichen mit einem Drehgelenk (47, 147) an der jeweiligen Laufschiene (39a, 39b, 139a, 139b) angeordnet ist, und wobei an einem zweiten Ende (45a, 45b, 145a, 145b) der Schwenkarme (41a, 41b, 141a, 141b) jeweils ein weiteres Drehgelenk (49, 149) ausgebildet ist und an den weiteren Drehgelenken (49, 149) jeweils eine Haltevorrichtung (51a, 51b, 151a, 151b) angeordnet ist, wobei die Haltevorrichtungen (51a, 51b, 151a, 151b) im Wesentlichen parallel zueinander angeordnet sind und die Haltevorrichtungen (51a, 51b, 151a, 151b) mit mindestens einen Behälter (23) der mindestens zwei Behälter (23) der Vorratseinheit (22) derart verbunden sind, dass in dem ausgefahrenen Zustand der mindestens einen Hebevorrichtung (35, 135) der mindestens eine Behälter (23) der mindestens zwei Behälter (23) der Vorratseinheit (22) zumindest abschnittsweise in die zweite Ebene (E2) hineinragt.
  2. Wäschepflegegerät (1) nach Anspruch 1, dadurch gekennzeichnet, dass das Wäschepflegegerät (1) einen ersten Bereich (A) und einen zweiten Bereich (B) aufweist, wobei in dem ersten Bereich (A) im Wesentlichen die Vorratseinheitaufnahmeeinrichtung (21) und in dem zweiten Bereich (B) im Wesentlichen die Öffnung (13) und die Türeinheit (11) des Wäschepflegegeräts (1) angeordnet sind, wobei die erste Ebene (E1) in dem ersten Bereich (A) und die zweite Ebene (E2) in dem zweiten Bereich (B) ausgebildet ist, wobei der erste Bereich (A) und der zweite Bereich (B) im Wesentlichen räumlich voneinander getrennt sind.
  3. Wäschepflegegerät (1) nach Anspruch 1 oder 2, dadurch gekennzeichnet, dass ein Abdeckelement (25) an dem Wäschepflegegerät (1) angeordnet ist und das Abdeckelement (25) die Vorratseinheitaufnahmeeinrichtung (21) abdeckt, wobei das Abdeckelement (25) schwenkbar und/oder klappbar und/oder kippbar und/oder lösbar an dem Wäschepflegegerät (1) angeordnet ist.
  4. Wäschepflegegerät (1) nach einem der vorangehenden Ansprüche, dadurch gekennzeichnet, dass die mindestens zwei Behälter (23) nachfüllbare Behälter (23) und/oder austauschbare Behälter (23) sind.
  5. Wäschepflegegerät (1) nach einem der vorangehenden Ansprüche, dadurch gekennzeichnet, dass jeder der mindestens zwei Behälter (23) einzeln bewegbar ist, wobei mindestens einem Behälter (23) der mindestens zwei Behälter (23) der Vorratseinheit (22) eine der mindestens einen Hebevorrichtung (35, 135) zugeordnet ist, vorzugsweise jedem Behälter (23) der mindestens zwei Behälter (23) der Vorratseinheit (22) eine der Hebevorrichtungen (35, 135) zugeordnet ist.
  6. Wäschepflegegerät (1) nach einem der Ansprüche 1 bis 4, dadurch gekennzeichnet, dass die mindestens zwei Behälter (23) als eine gemeinsame Einheit mit der mindestens einen Hebevorrichtung (35, 135) bewegbar sind.
  7. Wäschepflegegerät (1) nach einem der vorangehenden Ansprüche, dadurch gekennzeichnet, dass die mindestens zwei Behälter (23) jeweils ein Frontelement (31) aufweisen, wobei das jeweilige Frontelement (31) jeweils mindestens in einer ersten Position oder in einer zweiten Position anordenbar ist, wobei sich die mindestens zwei Behälter (23) der Vorratseinheit (22) in der ersten Position im Wesentlichen in der Vorratseinheitaufnahmeeinrichtung (21) befinden und in der ersten Ebene (E1) des Wäschepflegegeräts (1) angeordnet sind und wobei sich mindestens ein Behälter (23) der mindestens zwei Behälter (23) der Vorratseinheit (22) in der zweiten Position zumindest teilweise außerhalb des Gehäuses (3) des Wäschepflegegeräts (1) befindet und zumindest teilweise in der zweiten Ebene (E2) des Wäschepflegegeräts (1) angeordnet ist.
  8. Wäschepflegegerät (1) nach einem der vorangehenden Ansprüche, dadurch gekennzeichnet, dass die mindestens eine Hebevorrichtung (35, 135) derart ausgebildet ist, dass mindestens ein Behälter (23) der mindestens zwei Behälter (23) der Vorratseinheit (22) anhebbar und/oder zumindest kippbar und/oder zumindest schwenkbar ist.
  9. Wäschepflegegerät (1) nach einem der Ansprüche 7 oder 8, dadurch gekennzeichnet, dass der mindestens eine Behälter (23) der mindestens zwei Behälter (23) derart anhebbar und/oder zumindest kippbar und/oder zumindest schwenkbar ist, dass das jeweilige Frontelement (31) des jeweiligen Behälters (23) zumindest teilweise in der zweiten Ebene (E2) des Wäschepflegegeräts (1) angeordnet ist und/oder vor der Türeinheit (17) außerhalb des Gehäuses (3) des Wäschepflegegeräts (1) anordenbar ist.
  10. Wäschepflegegerät (1) nach einem der vorangehenden Ansprüche, dadurch gekennzeichnet, dass eine Arretiervorrichtung (53, 153) ausgebildet ist, die mindestens einen Behälter (23) der mindestens zwei Behälter (23) der Vorratseinheit (22) in dem ausgefahrenen Zustand der mindestens einen Hebevorrichtung (35, 135) arretiert.
  11. Wäschepflegegerät (1) nach einem der vorangehenden Ansprüche, dadurch gekennzeichnet, dass die mindestens eine Hebevorrichtung (35, 135) manuell und/oder halbautomatisch und/oder automatisch von dem eingefahrenen Zustand in den ausgefahrenen Zustand versetzbar ist, wobei mindestens ein Behälter (23) der mindestens zwei Behälter (23) der Vorratseinheit (22) aus der ersten Ebene (E1) zumindest abschnittsweise und/oder teilweise in die zweite Ebene (E2) bringbar ist.
EP22196884.5A 2021-10-18 2022-09-21 Wäschepflegegerät mit einem automatischen dosiersystem Active EP4166707B1 (de)

Applications Claiming Priority (1)

Application Number Priority Date Filing Date Title
DE102021211725.2A DE102021211725A1 (de) 2021-10-18 2021-10-18 Wäschepflegegerät mit einem automatischen Dosiersystem

Publications (2)

Publication Number Publication Date
EP4166707A1 EP4166707A1 (de) 2023-04-19
EP4166707B1 true EP4166707B1 (de) 2025-01-29

Family

ID=83400825

Family Applications (1)

Application Number Title Priority Date Filing Date
EP22196884.5A Active EP4166707B1 (de) 2021-10-18 2022-09-21 Wäschepflegegerät mit einem automatischen dosiersystem

Country Status (3)

Country Link
EP (1) EP4166707B1 (de)
CN (1) CN115992434A (de)
DE (1) DE102021211725A1 (de)

Citations (1)

* Cited by examiner, † Cited by third party
Publication number Priority date Publication date Assignee Title
DE102013103025A1 (de) * 2013-03-25 2014-09-25 Miele & Cie. Kg Vorratsbehälter und Dosiereinrichtung

Family Cites Families (6)

* Cited by examiner, † Cited by third party
Publication number Priority date Publication date Assignee Title
DE102007048197A1 (de) 2007-10-08 2009-04-16 Miele & Cie. Kg Dosiereinrichtung für Behandlungsmittel für eine Waschmaschine und Waschmaschine
ES2528342T3 (es) 2011-01-19 2015-02-09 Miele & Cie. Kg Dispositivo dosificador para aditivos líquidos y viscosos para una máquina lavadora y máquina lavadora
EP2994565B1 (de) 2014-03-04 2020-02-19 LG Electronics Inc. Waschmaschine
US10815605B2 (en) * 2017-10-06 2020-10-27 Whirlpool Corporation Laundry treating appliance having a bulk dispensing assembly
EP3473764B1 (de) * 2017-10-18 2020-08-12 Electrolux Laundry Systems Sweden AB Waschmaschinenwaschmittelspender
WO2020050610A1 (en) * 2018-09-06 2020-03-12 Lg Electronics Inc. Laundry treating apparatus

Patent Citations (1)

* Cited by examiner, † Cited by third party
Publication number Priority date Publication date Assignee Title
DE102013103025A1 (de) * 2013-03-25 2014-09-25 Miele & Cie. Kg Vorratsbehälter und Dosiereinrichtung

Also Published As

Publication number Publication date
DE102021211725A1 (de) 2023-04-20
CN115992434A (zh) 2023-04-21
EP4166707A1 (de) 2023-04-19

Similar Documents

Publication Publication Date Title
DE69316482T2 (de) Geschirrspülmaschine
EP1554970B1 (de) Vorrichtung und Verfahren zur Zuführung von Hilfsstoffen in ein flüssigkeitsführendes Haushaltsgerät
DE60213061T2 (de) Waschmittelschublade für eine Waschmaschine
DE60102828T2 (de) Haushaltsgeschirrspülmaschine mit einer Tür, die ein eine Vertiefung aufweisenden Paneel aufweist, sowie einen Geschirrspülmitteldosierbehälter, der vom oberen Geschirrkorb gestützt ist
DE69413500T2 (de) Frontlader-Waschmaschine
EP3660198B1 (de) Verfahren zum betrieb einer waschmaschine
WO1993007792A1 (de) Kaffeemaschine
DE4116228A1 (de) Insbesondere fuer kleinteile ausgelegte geschirrspuelmaschine
DE1955256A1 (de) Wasch- und Zusatzmitteleinspuelvorrichtung fuer Waschmaschinen
EP3228233B1 (de) Haubengeschirrspüler zur aufnahme mehrerer geschirrkörbe
CH707837A1 (de) Getränkeautomat sowie Verfahren zum Betrieb eines solchen Getränkeautomaten.
EP4166707B1 (de) Wäschepflegegerät mit einem automatischen dosiersystem
WO2016059129A2 (de) Verfahren und vorrichtung für die backofenreinigung
DE4000378A1 (de) Vorrichtung zum dosieren eines fluessigen zugabemittels fuer wasch- oder geschirrspuelmaschinen
DE19807595A1 (de) Haushalt-Waschmaschine mit einer Zuführungs-Einrichtung für flüssige Waschhilfsmittel
DE69827378T2 (de) Vorrichtung zum Filtern von Waschflüssigkeit in einem Geschirrspüler
DE202010012473U1 (de) Behälterreinigungssystem
WO2010130568A1 (de) Spülmaschine
DE69610796T2 (de) Wäschewaschmaschine mit Vorrichtung zum Filtern der Waschlauge
DE68903506T2 (de) Waschmitteleinspuelschale fuer waschmaschinen.
DE69906521T2 (de) Verfahren und vorrichtung in einer trockenreinigungsmaschine
DE3012725A1 (de) Waschmaschine
EP0605507B1 (de) Verfahren und Vorrichtung zur Steuerung und Regelung der Reinigungsmittelzufuhr einer Geschirrspülmaschine
DE2264777C3 (de) Haushaltsmüllpresse mit herausschwenkbarer Beschickungsklappe
DE8711236U1 (de) Einspülvorrichtung in frontbeschickten Geschirrspülmaschinen

Legal Events

Date Code Title Description
PUAI Public reference made under article 153(3) epc to a published international application that has entered the european phase

Free format text: ORIGINAL CODE: 0009012

STAA Information on the status of an ep patent application or granted ep patent

Free format text: STATUS: THE APPLICATION HAS BEEN PUBLISHED

AK Designated contracting states

Kind code of ref document: A1

Designated state(s): AL AT BE BG CH CY CZ DE DK EE ES FI FR GB GR HR HU IE IS IT LI LT LU LV MC MK MT NL NO PL PT RO RS SE SI SK SM TR

STAA Information on the status of an ep patent application or granted ep patent

Free format text: STATUS: REQUEST FOR EXAMINATION WAS MADE

17P Request for examination filed

Effective date: 20231019

RBV Designated contracting states (corrected)

Designated state(s): AL AT BE BG CH CY CZ DE DK EE ES FI FR GB GR HR HU IE IS IT LI LT LU LV MC MK MT NL NO PL PT RO RS SE SI SK SM TR

RIC1 Information provided on ipc code assigned before grant

Ipc: D06F 23/02 20060101ALN20240729BHEP

Ipc: D06F 58/20 20060101ALI20240729BHEP

Ipc: D06F 39/12 20060101ALI20240729BHEP

Ipc: D06F 39/02 20060101ALI20240729BHEP

Ipc: D06F 39/00 20200101AFI20240729BHEP

GRAP Despatch of communication of intention to grant a patent

Free format text: ORIGINAL CODE: EPIDOSNIGR1

STAA Information on the status of an ep patent application or granted ep patent

Free format text: STATUS: GRANT OF PATENT IS INTENDED

RIC1 Information provided on ipc code assigned before grant

Ipc: D06F 23/02 20060101ALN20240830BHEP

Ipc: D06F 58/20 20060101ALI20240830BHEP

Ipc: D06F 39/12 20060101ALI20240830BHEP

Ipc: D06F 39/02 20060101ALI20240830BHEP

Ipc: D06F 39/00 20200101AFI20240830BHEP

INTG Intention to grant announced

Effective date: 20240919

GRAS Grant fee paid

Free format text: ORIGINAL CODE: EPIDOSNIGR3

GRAA (expected) grant

Free format text: ORIGINAL CODE: 0009210

STAA Information on the status of an ep patent application or granted ep patent

Free format text: STATUS: THE PATENT HAS BEEN GRANTED

AK Designated contracting states

Kind code of ref document: B1

Designated state(s): AL AT BE BG CH CY CZ DE DK EE ES FI FR GB GR HR HU IE IS IT LI LT LU LV MC MK MT NL NO PL PT RO RS SE SI SK SM TR

REG Reference to a national code

Ref country code: GB

Ref legal event code: FG4D

Free format text: NOT ENGLISH

REG Reference to a national code

Ref country code: CH

Ref legal event code: EP

REG Reference to a national code

Ref country code: DE

Ref legal event code: R096

Ref document number: 502022002767

Country of ref document: DE

REG Reference to a national code

Ref country code: IE

Ref legal event code: FG4D

Free format text: LANGUAGE OF EP DOCUMENT: GERMAN

REG Reference to a national code

Ref country code: NL

Ref legal event code: MP

Effective date: 20250129

PG25 Lapsed in a contracting state [announced via postgrant information from national office to epo]

Ref country code: NL

Free format text: LAPSE BECAUSE OF FAILURE TO SUBMIT A TRANSLATION OF THE DESCRIPTION OR TO PAY THE FEE WITHIN THE PRESCRIBED TIME-LIMIT

Effective date: 20250129

PG25 Lapsed in a contracting state [announced via postgrant information from national office to epo]

Ref country code: RS

Free format text: LAPSE BECAUSE OF FAILURE TO SUBMIT A TRANSLATION OF THE DESCRIPTION OR TO PAY THE FEE WITHIN THE PRESCRIBED TIME-LIMIT

Effective date: 20250429

PG25 Lapsed in a contracting state [announced via postgrant information from national office to epo]

Ref country code: FI

Free format text: LAPSE BECAUSE OF FAILURE TO SUBMIT A TRANSLATION OF THE DESCRIPTION OR TO PAY THE FEE WITHIN THE PRESCRIBED TIME-LIMIT

Effective date: 20250129

PG25 Lapsed in a contracting state [announced via postgrant information from national office to epo]

Ref country code: PL

Free format text: LAPSE BECAUSE OF FAILURE TO SUBMIT A TRANSLATION OF THE DESCRIPTION OR TO PAY THE FEE WITHIN THE PRESCRIBED TIME-LIMIT

Effective date: 20250129

PG25 Lapsed in a contracting state [announced via postgrant information from national office to epo]

Ref country code: ES

Free format text: LAPSE BECAUSE OF FAILURE TO SUBMIT A TRANSLATION OF THE DESCRIPTION OR TO PAY THE FEE WITHIN THE PRESCRIBED TIME-LIMIT

Effective date: 20250129

REG Reference to a national code

Ref country code: LT

Ref legal event code: MG9D

PG25 Lapsed in a contracting state [announced via postgrant information from national office to epo]

Ref country code: NO

Free format text: LAPSE BECAUSE OF FAILURE TO SUBMIT A TRANSLATION OF THE DESCRIPTION OR TO PAY THE FEE WITHIN THE PRESCRIBED TIME-LIMIT

Effective date: 20250429

Ref country code: IS

Free format text: LAPSE BECAUSE OF FAILURE TO SUBMIT A TRANSLATION OF THE DESCRIPTION OR TO PAY THE FEE WITHIN THE PRESCRIBED TIME-LIMIT

Effective date: 20250529

PG25 Lapsed in a contracting state [announced via postgrant information from national office to epo]

Ref country code: HR

Free format text: LAPSE BECAUSE OF FAILURE TO SUBMIT A TRANSLATION OF THE DESCRIPTION OR TO PAY THE FEE WITHIN THE PRESCRIBED TIME-LIMIT

Effective date: 20250129

PG25 Lapsed in a contracting state [announced via postgrant information from national office to epo]

Ref country code: LV

Free format text: LAPSE BECAUSE OF FAILURE TO SUBMIT A TRANSLATION OF THE DESCRIPTION OR TO PAY THE FEE WITHIN THE PRESCRIBED TIME-LIMIT

Effective date: 20250129

Ref country code: PT

Free format text: LAPSE BECAUSE OF FAILURE TO SUBMIT A TRANSLATION OF THE DESCRIPTION OR TO PAY THE FEE WITHIN THE PRESCRIBED TIME-LIMIT

Effective date: 20250529

PG25 Lapsed in a contracting state [announced via postgrant information from national office to epo]

Ref country code: GR

Free format text: LAPSE BECAUSE OF FAILURE TO SUBMIT A TRANSLATION OF THE DESCRIPTION OR TO PAY THE FEE WITHIN THE PRESCRIBED TIME-LIMIT

Effective date: 20250430

Ref country code: BG

Free format text: LAPSE BECAUSE OF FAILURE TO SUBMIT A TRANSLATION OF THE DESCRIPTION OR TO PAY THE FEE WITHIN THE PRESCRIBED TIME-LIMIT

Effective date: 20250129

PG25 Lapsed in a contracting state [announced via postgrant information from national office to epo]

Ref country code: SE

Free format text: LAPSE BECAUSE OF FAILURE TO SUBMIT A TRANSLATION OF THE DESCRIPTION OR TO PAY THE FEE WITHIN THE PRESCRIBED TIME-LIMIT

Effective date: 20250129

PG25 Lapsed in a contracting state [announced via postgrant information from national office to epo]

Ref country code: SM

Free format text: LAPSE BECAUSE OF FAILURE TO SUBMIT A TRANSLATION OF THE DESCRIPTION OR TO PAY THE FEE WITHIN THE PRESCRIBED TIME-LIMIT

Effective date: 20250129

PG25 Lapsed in a contracting state [announced via postgrant information from national office to epo]

Ref country code: DK

Free format text: LAPSE BECAUSE OF FAILURE TO SUBMIT A TRANSLATION OF THE DESCRIPTION OR TO PAY THE FEE WITHIN THE PRESCRIBED TIME-LIMIT

Effective date: 20250129

PGFP Annual fee paid to national office [announced via postgrant information from national office to epo]

Ref country code: DE

Payment date: 20250930

Year of fee payment: 4

PG25 Lapsed in a contracting state [announced via postgrant information from national office to epo]

Ref country code: IT

Free format text: LAPSE BECAUSE OF FAILURE TO SUBMIT A TRANSLATION OF THE DESCRIPTION OR TO PAY THE FEE WITHIN THE PRESCRIBED TIME-LIMIT

Effective date: 20250129

PGFP Annual fee paid to national office [announced via postgrant information from national office to epo]

Ref country code: AT

Payment date: 20251020

Year of fee payment: 4

PG25 Lapsed in a contracting state [announced via postgrant information from national office to epo]

Ref country code: EE

Free format text: LAPSE BECAUSE OF FAILURE TO SUBMIT A TRANSLATION OF THE DESCRIPTION OR TO PAY THE FEE WITHIN THE PRESCRIBED TIME-LIMIT

Effective date: 20250129

Ref country code: CZ

Free format text: LAPSE BECAUSE OF FAILURE TO SUBMIT A TRANSLATION OF THE DESCRIPTION OR TO PAY THE FEE WITHIN THE PRESCRIBED TIME-LIMIT

Effective date: 20250129

PG25 Lapsed in a contracting state [announced via postgrant information from national office to epo]

Ref country code: RO

Free format text: LAPSE BECAUSE OF FAILURE TO SUBMIT A TRANSLATION OF THE DESCRIPTION OR TO PAY THE FEE WITHIN THE PRESCRIBED TIME-LIMIT

Effective date: 20250129

PG25 Lapsed in a contracting state [announced via postgrant information from national office to epo]

Ref country code: SK

Free format text: LAPSE BECAUSE OF FAILURE TO SUBMIT A TRANSLATION OF THE DESCRIPTION OR TO PAY THE FEE WITHIN THE PRESCRIBED TIME-LIMIT

Effective date: 20250129