EP3775375B1 - Zungenschiene - Google Patents

Zungenschiene Download PDF

Info

Publication number
EP3775375B1
EP3775375B1 EP19717411.3A EP19717411A EP3775375B1 EP 3775375 B1 EP3775375 B1 EP 3775375B1 EP 19717411 A EP19717411 A EP 19717411A EP 3775375 B1 EP3775375 B1 EP 3775375B1
Authority
EP
European Patent Office
Prior art keywords
rail
section
tongue
cross
tongue rail
Prior art date
Legal status (The legal status is an assumption and is not a legal conclusion. Google has not performed a legal analysis and makes no representation as to the accuracy of the status listed.)
Active
Application number
EP19717411.3A
Other languages
English (en)
French (fr)
Other versions
EP3775375A1 (de
Inventor
Markus PÖSENDORFER
Peter DORNIG
Current Assignee (The listed assignees may be inaccurate. Google has not performed a legal analysis and makes no representation or warranty as to the accuracy of the list.)
Voestalpine Turnout Technology Zeltweg GmbH
Voestalpine Railway Systems GmbH
Original Assignee
Voestalpine Turnout Technology Zeltweg GmbH
Voestalpine Railway Systems GmbH
Priority date (The priority date is an assumption and is not a legal conclusion. Google has not performed a legal analysis and makes no representation as to the accuracy of the date listed.)
Filing date
Publication date
Family has litigation
First worldwide family litigation filed litigation Critical https://patents.darts-ip.com/?family=66175085&utm_source=google_patent&utm_medium=platform_link&utm_campaign=public_patent_search&patent=EP3775375(B1) "Global patent litigation dataset” by Darts-ip is licensed under a Creative Commons Attribution 4.0 International License.
Application filed by Voestalpine Turnout Technology Zeltweg GmbH, Voestalpine Railway Systems GmbH filed Critical Voestalpine Turnout Technology Zeltweg GmbH
Priority to SI201930299T priority Critical patent/SI3775375T1/sl
Priority to RS20220610A priority patent/RS63365B1/sr
Priority to HRP20220666TT priority patent/HRP20220666T1/hr
Publication of EP3775375A1 publication Critical patent/EP3775375A1/de
Application granted granted Critical
Publication of EP3775375B1 publication Critical patent/EP3775375B1/de
Active legal-status Critical Current
Anticipated expiration legal-status Critical

Links

Images

Classifications

    • EFIXED CONSTRUCTIONS
    • E01CONSTRUCTION OF ROADS, RAILWAYS, OR BRIDGES
    • E01BPERMANENT WAY; PERMANENT-WAY TOOLS; MACHINES FOR MAKING RAILWAYS OF ALL KINDS
    • E01B5/00Rails; Guard rails; Distance-keeping means for them
    • E01B5/02Rails
    • EFIXED CONSTRUCTIONS
    • E01CONSTRUCTION OF ROADS, RAILWAYS, OR BRIDGES
    • E01BPERMANENT WAY; PERMANENT-WAY TOOLS; MACHINES FOR MAKING RAILWAYS OF ALL KINDS
    • E01B7/00Switches; Crossings
    • E01B7/02Tongues; Associated constructions
    • EFIXED CONSTRUCTIONS
    • E01CONSTRUCTION OF ROADS, RAILWAYS, OR BRIDGES
    • E01BPERMANENT WAY; PERMANENT-WAY TOOLS; MACHINES FOR MAKING RAILWAYS OF ALL KINDS
    • E01B7/00Switches; Crossings
    • E01B7/02Tongues; Associated constructions
    • E01B7/06Constructions with flexible tongues or flexible fishplates

Definitions

  • the invention relates to a tongue rail for use in a rail switch, comprising a rail head, a rail web and a rail foot, the tongue rail having a first longitudinal section intended for contact with a stock rail and a second longitudinal section lying outside the contact area, the tongue rail has a basic cross-sectional profile in the second longitudinal section and preferably the basic profile in the first longitudinal section is machined to form a running width adjustment, in particular in the rail head, with a vertical central axis being defined in the second longitudinal section in cross-section through the center of the rail head, and a first section of the rail foot on a first side of the central axis and a second section of the rail foot is arranged on a second side of the central axis opposite the first side, the width of the first section of the rail foot being im Cross-section is larger than the width of the second section of the rail foot.
  • the invention also relates to a rail switch, comprising a point rail and a stock rail.
  • tongue rails are known in which the rail base of the basic profile is not symmetrical in cross-section in relation to a central axis running through the center of the rail head, but rather the area of the tongue rail facing away from the stock rail has a wider rail base than the area facing the stock rail.
  • adjusting devices are required, which are connected to the tongue rails via a connecting linkage.
  • the mechanical adjustment of the tongue rail is carried out with the aid of an electric, electro-hydraulic or hydraulic switch drive, with a separate locking device or one integrated in the switch drive and in any case a separate end-of-travel test device being provided.
  • End position testing devices of this type are used to mechanically scan the current status of the points in the case of points and to generate a test signal which can be used to determine whether the points have been switched correctly and whether the adjacent and the off tongue are in their respective correct end positions.
  • the end position testing device usually has a testing linkage which extends essentially transversely to the longitudinal direction of the rail and which is displaced in the longitudinal direction of the linkage when the switch is switched.
  • the positions of the test rods are recorded with the help of electromechanical converters, for example in the form of limit switches or reed test contacts, which are arranged in a housing that is usually mounted on a sleeper to the side of the points.
  • Misalignments can have various causes. For example, the case can arise that the tongue rail cannot come into full contact with the stock rail because a foreign body is jammed between the tongue rail and the stock rail. Due to the elastic deformability of the tongue rail, it can happen in such a case that the tongue rail is pressed against the stock rail in the positioning levels by the positioning devices despite the foreign body and the arranged end position checking devices indicate that the end position has been correctly assumed. However, due to the foreign body, the tongue rail is warped between the positioning levels. So there is a misalignment of the tongue rail that is not detected by the end position testing devices.
  • the present invention therefore aims to create a tongue rail for a rail switch in which even relatively small foreign bodies lying between the tongue rail and the stock rail, in particular foreign bodies with a size of e.g. 12 mm, can be reliably detected.
  • the tongue rail according to the invention is essentially designed such that the cross section of the tongue rail has a ratio between the vertical area moment of inertia I y and the horizontal area moment of inertia I x of greater than 0.7 at at least one point along the length of the rail.
  • the vertical moment of inertia is the axial moment of inertia of the cross section with respect to a vertical y-axis.
  • the horizontal moment of inertia is understood to mean the axial moment of inertia of the cross section with respect to a horizontal x-axis.
  • the vertical area moment of inertia I y determines the flexural rigidity of the tongue rail in the transverse direction, i.e.
  • the increase in the vertical area moment of inertia I y in relation to the horizontal area moment of inertia I x , so that a ratio of more than 0.5 is achieved according to the invention provides on the one hand a sufficiently high bending stiffness and a high load-bearing capacity and on the other hand only a low additional material requirements and thus a low increase in weight of the tongue rail.
  • the ratio according to the invention between the area moments of inertia is achieved by widening and/or increasing the first section of the rail foot.
  • the ratio between the width of the first section of the rail foot and the height of the tongue rail is at least 0.80.
  • the width of the remote section of the rail foot is increased while the rail height remains the same. Since this means that material is added in an area that is relatively far away from the central axis, this measure has a relatively strong effect on the vertical area moment of inertia, so that a relatively large effect can be achieved with a small increase in material.
  • the specified lower limit value for the ratio between the width of the first section of the rail foot and the height of the tongue rail applies here to the geometry of the tongue rail in the second, unmachined longitudinal section.
  • the width of the first section of the rail foot In the first longitudinal section of the tongue rail, when this is processed, the width of the first section of the rail foot generally remains constant, but the height of the tongue rail is generally the same however, designed to decrease in the direction of the tip of the tongue, so that higher ratio values result in this section than in the second longitudinal section of the tongue rail.
  • the cross section of the tongue rail has a ratio between the vertical moment of inertia I y and the horizontal moment of inertia I x greater than 0.5, preferably greater than 0.6, particularly preferably greater than 0.7.
  • the ratio according to the invention between the area moments of inertia is therefore preferably formed in a longitudinal section of the tongue rail which is not intended for contact with a stock rail.
  • the rail head is unmachined in this longitudinal section, while the rail head is preferably machined in the longitudinal section of the intended contact with a stock rail, in order to achieve an adjustment of the contact surface of the tongue rail to the undercut of the stock rail on the one hand and a running width adjustment on the other.
  • the processing of the rail head usually leads to a smaller reduction in the vertical area moment of inertia than in a reduction in the horizontal area moment of inertia.
  • the processing of the rail head means that the ratio between the vertical area moment of inertia I y and the horizontal area moment of inertia I x is greater in the first longitudinal section, ie in the contact area, than in the second longitudinal section of the tongue rail.
  • the ratio between the vertical moment of inertia I y and the horizontal moment of inertia I x of the tongue rail is at no point along the entire length of the tongue rail less than 0.5, preferably less than 0.6, particularly preferably less than 0 .7 is to ensure even reinforcement of the tongue rail.
  • the lower limit value for the ratio I y /I x in the second longitudinal section of the tongue rail is preferably dependent chosen from the height of the cross-sectional basic profile, namely such that the ratio I y / I x in the second longitudinal section at a height of the cross-sectional basic profile of> 130mm is greater than 0.5, that the ratio I y / I x in the second longitudinal section is greater than 0.6 at a height of the basic cross-sectional profile of 120-130mm and that the ratio I y /I x in the second longitudinal section is greater than 0.7 at a height of the basic cross-sectional profile of ⁇ 120mm.
  • the ratio I y /I x is, according to a further preferred embodiment, multiplied by the height of the basic cross-sectional profile of the tongue rail and the rail profile is chosen such that the parameter I y • h/I x is greater than 80 mm in the second longitudinal section.
  • a ratio between the vertical moment of inertia I y and the horizontal moment of inertia I x of the tongue rail is greater than 1.1, preferably greater than 1.2 , particularly preferably greater than 1.3. Due to the processing of the tongue rail in this first longitudinal section of the tongue rail, the ratio between the vertical and horizontal moment of inertia is, as already mentioned, greater than in the second longitudinal section of the tongue rail, which is not designed to rest on a stock rail. As a result of this measure, the tongue rail is reinforced and made stiffer, particularly in the area of the system in which a malposition of the tongue rail is most likely.
  • the lower limit for said ratio in the second longitudinal section is Switch rail preferably selected depending on the height of the basic cross-sectional profile, namely in such a way that the ratio between the width of the first section of the rail foot and the height of the tongue rail in the second longitudinal section is greater than 0.7 at a height of the basic cross-sectional profile of >130 mm is that said ratio in the second longitudinal section is greater than 0.75 at a base cross-sectional height of 120-130mm and said ratio in the second longitudinal section is greater than 0.8 at a base cross-sectional height of ⁇ 120mm .
  • the ratio between the width of the first section of the rail foot and the height of the tongue rail in the second longitudinal section, in particular in the entire second longitudinal section is less than 1.1, preferably less than 1.0, more preferably less than 0.90.
  • the end area of the first section of the rail foot is higher than the end area of the second section of the rail foot. This measure can also be used to efficiently stiffen the tongue rail while at the same time minimizing the increase in weight.
  • the rail web is wider on the first side of the central axis than on the second side of the axis, with the rail web on the first side of the central axis preferably being wider over the entire length of the tongue rail than the rail head is formed.
  • the web of the rail is also reinforced on the opposite side of the central axis in order to increase the vertical area moment of inertia and thus the rigidity of the tongue rail.
  • the web of the rail is particularly preferably designed to be wider on the first side than the rail head, as a result of which a significant increase in the vertical area moment of inertia is achieved.
  • the tongue rail has a step-shaped cross section on the first side.
  • the rail web has a wider cross section on the first side than the rail head and the rail base has a wider cross section than the rail web on the first side.
  • the transitions between the areas of different widths can be designed with a transition radius or as beveled areas. It is further preferably provided here that the rail web on the second side is designed to be less wide than the rail head.
  • the height of the rail foot on the first side and on the second side increases continuously at least in one area towards the central axis, the gradient on the second side preferably being greater than the gradient on the first side.
  • a rail switch comprising a tongue rail according to the invention and a stock rail, the second side of the tongue rail being arranged such that it can be placed against the stock rail.
  • the tongue rail in the first longitudinal section of the tongue rail, there is preferably at least one positioning plane with a positioning device, in which the tongue rail can be placed against the tongue rail with the aid of the positioning device.
  • the stock rail and the tongue rail are arranged inclined to one another. With such an arrangement, the driving behavior on the rail switch can be improved.
  • FIG. 1 a plan view of a rail switch according to the invention, 2 a first cross section of a tongue rail according to the invention according to a first embodiment, 3 a second cross section of the first embodiment along the in 1 line marked AA, 4 according to a comparison of the profile 3 with a conventional profile and figure 5 a cross section of a tongue rail according to the invention according to a second embodiment.
  • a rail switch comprising two tongue rails 1 and two Stock rails 2.
  • the tongue rails 1 are each assigned to a stock rail 2.
  • Arranged along the switch are three control levels 3a, 3b and 3c, in which control devices (not shown) and end position testing devices (not shown) for selectively adjusting the tongue rail 1 toward the stock rail 2 or away from the stock rail 2 are arranged.
  • control devices not shown
  • end position testing devices not shown
  • the tongue rail 1 is in contact with the stock rail 2 in a first longitudinal section, which extends from the first 3a to the third positioning plane 3c.
  • the clamping area of the tongue rail 1 is also denoted by 4 and is located in a second longitudinal section of the tongue rail, which extends from the third positioning plane 3 c to the clamping area 4 .
  • the tongue rail 1 has a cross section that changes along the length of the tongue rail, the cross section of the rail head of the tongue rail 1 being varied in particular.
  • the tongue rail is unprocessed and therefore has a basic profile.
  • the rail head in particular is machined, specifically with a width that decreases from the third 3c to the first 3a setting level.
  • the ratio between the vertical moment of inertia I y and the horizontal moment of inertia I x of the tongue rail is greater than 0.5 in at least one longitudinal section. This ratio is preferably greater than 0.5 in all longitudinal sections.
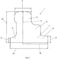
  • a cross section of a tongue rail according to the invention is shown according to a first embodiment.
  • This cross-section shows no adaptation of the Rail head to the stock rail 2 and relates to the second longitudinal section of the tongue rail 1, in which the tongue rail 1 is not intended to rest against the stock rail 2.
  • the tongue rail 1 has a rail head 5 , a rail web 6 and a rail foot 7 .
  • a central axis 9 is defined by the middle of the width 8 of the rail head 4 .
  • the first section 10 of the rail foot 7 on the first side is wider than the second section 11 of the rail foot 7. Furthermore, the height 12 of the first section 10 is greater than the height 13 of the second section 11 is formed.
  • the tongue rail 1 has a ratio between the vertical moment of inertia I y and the horizontal moment of inertia I x of greater than 0.5.
  • the vertical moment of inertia I y is 1503.5 cm 4 and the horizontal moment of inertia I x 1913.9 cm 4 .
  • the ratio I y to I x is therefore about 0.79.
  • the parameter I y •h/I x is 105.26 mm.
  • the ratio between the width 16 of the first section 10 and the rail height 15 is approximately 0.82.
  • the 3 shows a cross section of the in 2 illustrated embodiment of the tongue rail in the first longitudinal section, namely along the in 1 line marked AA, where the same parts are denoted by the same reference numbers as in FIG 2 .
  • the rail head 5 and the section 11 of the rail foot, starting from the in 2 illustrated basic profile are processed in order to allow the system to the stock rail 2 and to form the transition of the running edge from the stock rail 2 to the switch rail 1 as stepless as possible.
  • the vertical moment of inertia in this area of the tongue rail 1 is approx. 1227.5 cm 4 and the horizontal moment of inertia is approx. 925.7 cm 4 .
  • the ratio I y to I x is therefore about 1.33.
  • FIG. 4 is the cross section of the tongue rail 1 according to the invention 3 placed over a corresponding cross section of a conventional tongue rail 17. From this illustration it can be seen that the section 10 of the foot of the rail has been widened and raised a certain amount in order to obtain the desired ratio of I y /I x .
  • FIG 5 a cross section of a tongue rail 1 according to the invention is shown according to a second embodiment.
  • This cross section is in the second longitudinal section of the tongue rail 1, in which the tongue rail 1 is not intended to rest against the stock rail 2, so that the tongue rail has no processing of the rail head and the rail foot here.
  • Same reference numerals as in 2 correspond to equal parts.
  • the embodiment according to figure 5 differs from the execution according to 2 mainly because the rail web 6 jeffleß in the execution figure 5 on the first page wider than that Rail head 5 is formed.
  • the width 16 of the first section 10 is also wider than the rail web 6 so that a stair shape is created.
  • the ratio I y to I x is therefore about 0.93.
  • the parameter I y •h/I x is 125.1 mm.
  • the ratio between the width 16 of the first section and the rail height is 15 (as in the embodiment according to 2 ) about 0.82.

Landscapes

  • Engineering & Computer Science (AREA)
  • Mechanical Engineering (AREA)
  • Architecture (AREA)
  • Civil Engineering (AREA)
  • Structural Engineering (AREA)
  • Seats For Vehicles (AREA)
  • Railway Tracks (AREA)
  • Surgical Instruments (AREA)
  • Chain Conveyers (AREA)
  • Rear-View Mirror Devices That Are Mounted On The Exterior Of The Vehicle (AREA)
  • Train Traffic Observation, Control, And Security (AREA)

Description

  • Die Erfindung betrifft eine Zungenschiene für die Verwendung in einer Schienenweiche, umfassend einen Schienenkopf, einen Schienensteg und einen Schienenfuß, wobei die Zungenschiene einen ersten, für eine Anlage an eine Backenschiene vorgesehenen Längsabschnitt und einen zweiten, außerhalb des Anlagebereichs liegenden Längsabschnitt aufweist, wobei die Zungenschiene im zweiten Längsabschnitt ein Querschnitts-Grundprofil aufweist und vorzugsweise das Grundprofil im ersten Längsabschnitt zur Ausbildung einer verlaufenden Breitenanpassung insbesondere im Schienenkopf bearbeitet ist, wobei im zweiten Längsabschnitt im Querschnitt durch die Mitte des Schienenkopfes eine vertikal verlaufende Mittelachse definiert ist, und ein erster Abschnitt des Schienenfußes auf einer ersten Seite der Mittelachse und ein zweiter Abschnitt des Schienenfußes auf einer der ersten Seite gegenüberliegenden zweiten Seite der Mittelachse angeordnet ist, wobei die Breite des ersten Abschnitts des Schienenfußes im Querschnitt größer ist als die Breite des zweiten Abschnitts des Schienenfußes.
  • Die Erfindung betrifft weiters eine Schienenweiche, umfassend eine Zungenschiene sowie eine Backenschiene.
  • Aus dem Stand der Technik, wie beispielsweise aus dem Katalog der Firma Voestalpine Schienen GmbH: "PROFILE PROGRAMM SECTION PROGRAMME" (am 1. März 2004 veröffentlicht) oder aus EP 3 141 448 A , sind Zungenschienen bekannt, bei denen der Schienenfuß des Grundprofils im Querschnitt in Relation zu einer durch die Mitte des Schienenkopfes verlaufenden Mittelachse nicht symmetrisch ist, sondern der der Backenschiene abgewandte Bereich der Zungenschiene einen breiteren Schienenfuß aufweist als der der Backenschiene zugewandte Bereich. Diese Ausführungen haben den Vorteil, dass der der Backenschiene zugewandte Bereich der Zungenschiene weniger Platz einnimmt, sodass die Zungenschiene leichter an die Backenschiene herangeführt werden kann.
  • Um Zungenschienen relativ zu Fahrschienen zwischen einer Anlageposition und einer Ablageposition zu verstellen, sind Stelleinrichtungen erforderlich, die über ein Verbindungsgestänge mit den Zungenschienen verbunden sind. Die mechanische Umstellung der Zungenschiene erfolgt mit Hilfe eines elektrischen, elektrohydraulischen oder hydraulischen Weichenantriebes, wobei neben dem Weichenantrieb eine gesonderte oder in diesen integrierte Verschlusseinrichtung sowie jedenfalls eine gesonderte Endlagenprüfeinrichtung vorgesehen sind. Derartige Endlagenprüfeinrichtungen dienen dazu, bei Weichen den aktuellen Zustand der Weiche mechanisch abzutasten und ein Prüfsignal zu erzeugen, anhand dessen festgestellt werden kann, ob die Weiche korrekt umgestellt wurde und ob sich die anliegende und die abliegende Zunge in ihrer jeweiligen korrekten Endlage befinden. Die Endlagenprüfeinrichtung weist üblicherweise ein Prüfergestänge auf, welches sich im Wesentlichen quer zur Schienenlängsrichtung erstreckt und welches beim Umstellen der Weiche in Längsrichtung des Gestänges verschoben wird. Die Positionen der Prüferstangen werden mit Hilfe von elektromechanischen Wandlern erfasst, beispielsweise in der Form von Endschaltern bzw. Zungenprüfkontakten, welche in einem zumeist seitlich der Weiche auf einer Schwelle montierten Gehäuse angeordnet sind.
  • Bei modernen Schienenweichen ist es erforderlich, eine Mehrzahl von Stellebenen entlang der Längsrichtung der Weiche vorzusehen, in denen jeweils eine Stelleinrichtung sowie eine dieser zugeordnete Endlagenprüfeinrichtung angeordnet sind, um an einer Mehrzahl von Stellen die korrekte Einnahme der jeweiligen Endlagen überprüfen zu können. Auf diese Weise kann ein Bruch der Schienenweiche oder eine Verwölbung derselben oder andere Fehlfunktionen besser erfasst werden. Der Abstand zwischen den Stellebenen beträgt üblicherweise zwischen 5,4 und 6,7 m. Im Bereich der Stellebenen bzw. zwischen den Stellebenen kann durch die Endlagenprüfeinrichtungen überprüft werden, ob sich die Zungenschiene in der richtigen Position befindet.
  • Fehlstellungen können verschiedene Ursachen haben. Beispielsweise kann der Fall eintreten, dass die Zungenschiene nicht vollständig in Anlage an die Backenschiene gelangen kann, weil ein Fremdkörper zwischen Zungenschiene und Backenschiene eingeklemmt ist. Aufgrund der elastischen Verformbarkeit der Zungenschiene kann es in einem solchen Fall vorkommen, dass die Zungenschiene in den Stellebenen von den Stelleinrichtungen trotz des Fremdkörpers an die Backenschiene gedrückt wird und die angeordneten Endlagenprüfeinrichtungen die korrekte Einnahme der Endlage anzeigen. Zwischen den Stellebenen jedoch weist die Zungenschiene auf Grund des Fremdkörpers eine Verwölbung auf. Es tritt also eine Fehlstellung der Zungenschiene auf, die durch die Endlagenprüfeinrichtungen nicht erkannt wird.
  • Die soeben beschriebenen Umstände lassen sich beispielsweise den Fachartikeln "LCC-Senkung mit standardisierten Weichenstellsystemen", R. Bänsch, A. Ziemann, EI-Eisenbahningenieur, April 2010, 48 - 53 sowie "Effizienz innen liegender Endlagenprüfer", H. Achleitner, Signal + Draht (99), 3/2007 entnehmen.
  • Versuche haben gezeigt, dass Fremdkörper bei herkömmlichen Schienenweichen erst ab einer Größe von ca. 22 mm zuverlässig erkannt werden, weil die maximale oder auf einen bestimmten Wert begrenzte Stellkraft der Stelleinrichtungen dann nicht mehr ausreicht, um die Zungenschiene unter Überwindung eines solchen Abstandes zu verbiegen und an die Backenschiene zu drücken. Mit Rücksicht auf die höher werdenden Geschwindigkeiten des Schienenverkehrs stellen jedoch zunehmend auch kleinere Fremdkörper eine Gefahr für die Sicherheit des Schienenverkehrs dar.
  • Die vorliegende Erfindung zielt daher darauf ab, eine Zungenschiene für eine Schienenweiche zu schaffen, bei der auch relativ kleine, zwischen der Zungen- und der Backenschiene liegende Fremdkörper, insbesondere Fremdkörper mit einer Größe von z.B. 12 mm, zuverlässig erkannt werden können.
  • Zur Lösung dieser Aufgabe ist die erfindungsgemäße Zungenschiene im Wesentlichen derart ausgebildet, dass der Querschnitt der Zungenschiene an zumindest einer Stelle entlang der Schienenlängserstreckung ein Verhältnis zwischen dem vertikalen Flächenträgheitsmoment Iy und dem horizontalen Flächenträgheitsmoment Ix von größer als 0,7 aufweist. Unter dem vertikalen Flächenträgheitsmoment wird das axiale Flächenträgheitsmoment des Querschnitts bezüglich einer vertikalen y-Achse verstanden. Unter dem horizontalen Flächenträgheitsmoment wird das axiale Flächenträgheitsmoment des Querschnitts bezüglich einer horizontalen x-Achse verstanden. Das vertikale Flächenträgheitsmoment Iy bestimmt die Biegesteifigkeit der Zungenschiene in Querrichtung, also insbesondere gegen eine während des Umstellvorganges auftretende Verformung bspw. durch einen zwischen der Zungenschiene und der Backenschiene liegenden Fremdkörper. Durch die, ausgehend von einer herkömmlichen Zungenschiene, erfindungsgemäß vorgesehene Erhöhung des vertikalen Flächenträgheitsmoments Iy im Verhältnis zum horizontalen Flächenträgheitsmoment Ix, sodass ein Verhältnis von größer 0,5 erreicht wird, wird einerseits eine ausreichend hohe Biegesteifigkeit sowie eine hohe Tragfähigkeit und andererseits lediglich ein geringer Mehrbedarf an Material und damit eine geringe Gewichtszunahme der Zungenschiene erzielt.
  • Das erfindungsgemäße Verhältnis zwischen den Flächenträgheitsmomenten wird durch eine Verbreiterung und/oder Erhöhung des ersten Abschnitts des Schienenfußes erreicht. Erfindungsgemäß ist hierbei vorgesehen, dass das Verhältnis zwischen der Breite des ersten Abschnitts des Schienenfußes und der Höhe der Zungenschiene zumindest 0,80 beträgt. Hierbei wird also die Breite des abliegenden Abschnitts des Schienenfußes bei gleichbleibender Schienenhöhe vergrößert. Da hierdurch Material in einem von der Mittelachse relativ weit entfernten Bereich hinzugefügt ist, wirkt sich diese Maßnahme relativ stark auf das vertikale Flächenträgheitsmoment aus, sodass mit einer geringen Materialzunahme eine relativ große Wirkung erzielt werden kann. Der angegebene untere Grenzwert für das Verhältnis zwischen der Breite des ersten Abschnitts des Schienenfußes und der Höhe der Zungenschiene gilt hierbei für die Geometrie der Zungenschiene in dem zweiten, unbearbeiteten Längsabschnitt. Im ersten Längsabschnitt der Zungenschiene bleibt zwar, wenn dieser bearbeitet ist, die Breite des ersten Abschnitts des Schienenfußes in der Regel konstant, die Höhe der Zungenschiene ist in der Regel jedoch in Richtung zur Zungenspitze abnehmend ausgebildet, sodass sich in diesem Abschnitt höhere Verhältniswerte ergeben als im zweiten Längsabschnitt der Zungenschiene.
  • Bevorzugt ist hierbei vorgesehen, dass der Querschnitt der Zungenschiene an zumindest einer Stelle entlang des außerhalb des Anlagebereichs liegenden zweiten Längsabschnitts, vorzugsweise im gesamten zweiten Längsabschnitt, d.h. im unbearbeiteten Bereich der Zungenschiene, ein Verhältnis zwischen dem vertikalen Flächenträgheitsmoment Iy und dem horizontalen Flächenträgheitsmoment Ix von größer als 0,5, bevorzugt größer als 0,6, besonders bevorzugt größer als 0,7 aufweist. Das erfindungsgemäße Verhältnis zwischen den Flächenträgheitsmomenten ist daher bevorzugt in einem Längsabschnitt der Zungenschiene ausgebildet, der nicht für die Anlage an eine Backenschiene vorgesehen ist. In diesem Längsabschnitt ist der Schienenkopf unbearbeitet, während der Schienenkopf im Längsabschnitt der vorgesehenen Anlage an eine Backenschiene vorzugsweise bearbeitet ist, um einerseits eine Anpassung der Anlagefläche der Zungenschiene an den Unterschnitt der Backenschiene und andererseits eine verlaufende Breitenanpassung zu erreichen. Die Bearbeitung des Schienenkopfes führt im Vergleich zum Grundprofil in der Regel in einem geringeren Ausmaß zu einer Verringerung des vertikalen Flächenträgheitsmoments als zu einer Verringerung des horizontalen Flächenträgheitsmoments. Dadurch führt die Bearbeitung des Schienenkopfes dazu, dass das Verhältnis zwischen dem vertikalen Flächenträgheitsmoment Iy und dem horizontalen Flächenträgheitsmoment Ix im ersten Längsabschnitt, d.h. im Anlagebereich, größer ist als im zweiten Längsabschnitt der Zungenschiene.
  • Bevorzugt ist daher weiters vorgesehen, dass das Verhältnis zwischen dem vertikalen Flächenträgheitsmoment Iy und dem horizontalen Flächenträgheitsmoment Ix der Zungenschiene an keiner Stelle entlang der gesamten Längserstreckung der Zungenschiene kleiner als 0,5, bevorzugt kleiner als 0,6, besonders bevorzugt kleiner als 0,7 ist, um eine gleichmäßige Verstärkung der Zungenschiene sicherzustellen.
  • Da das Verhältnis zwischen dem vertikalen Flächenträgheitsmoment Iy und dem horizontalen Flächenträgheitsmoment Ix der Zungenschiene nicht unerheblich von der Höhe des Querschnitts-Grundprofils der Zungenschiene abhängt, ist der untere Grenzwert für das Verhältnis Iy/Ix im zweiten Längsabschnitt der Zungenschiene bevorzugt in Abhängigkeit von der Höhe des Querschnitts-Grundprofils gewählt, nämlich derart, dass das Verhältnis Iy/Ix im zweiten Längsabschnitt bei einer Höhe des Querschnitts-Grundprofils von > 130mm größer als 0,5 ist, dass das Verhältnis Iy/Ix im zweiten Längsabschnitt bei einer Höhe des Querschnitts-Grundprofils von 120-130mm größer als 0,6 ist und dass das Verhältnis Iy/Ix im zweiten Längsabschnitt bei einer Höhe des Querschnitts-Grundprofils von < 120mm größer als 0,7 ist.
  • Um den Einfluss der Zungenschienenhöhe auf das besagte Verhältnis weiter zu reduzieren, wird das Verhältnis Iy/Ix gemäß einer weiteren bevorzugten Ausführungsform mit der Höhe des Querschnitts-Grundprofils der Zungenschiene multipliziert und das Schienenprofil wird so gewählt, dass der dadurch erhaltene Parameter Iy•h/Ix im zweiten Längsabschnitt größer als 80 mm ist.
  • Weiters ist bevorzugt vorgesehen, dass der Querschnitt der Zungenschiene an zumindest einer Stelle entlang des zur Anlage an eine Backenschiene vorgesehenen ersten Längsabschnitts der Zungenschiene, insbesondere in der der Zungenspitze zugewandten Hälfte des ersten Längsabschnitts, ein Verhältnis zwischen dem vertikalen Flächenträgheitsmoment Iy und dem horizontalen Flächenträgheitsmoment Ix der Zungenschiene von größer als 1,1, bevorzugt größer als 1,2, besonders bevorzugt größer 1,3 aufweist. Durch die Bearbeitung der Zungenschiene in diesem ersten Längsabschnitt der Zungenschiene ist das Verhältnis zwischen vertikalem und horizontalem Flächenträgheitsmoment wie bereits erwähnt größer als im zweiten Längsabschnitt der Zungenschiene, die nicht zur Anlage an eine Backenschiene ausgebildet ist. Durch diese Maßnahme wird die Zungenschiene insbesondere im Bereich der Anlage, in welchem eine Fehlstellung der Zungenschiene am wahrscheinlichsten ist, verstärkt und steifer ausgeführt.
  • Besonders bevorzugt ist vorgesehen, dass an zumindest einer Stelle im zur Anlage an eine Backenschiene vorgesehenen ersten Längsabschnitt der Zungenschiene, insbesondere in der der Zungenspitze abgewandten Hälfte des ersten Längsabschnitts, das Verhältnis zwischen dem vertikalen Flächenträgheitsmoment Iy und dem horizontalen Flächenträgheitsmoment Ix der Zungenschiene weniger als 1,6, bevorzugt 1,4, besonders bevorzugt 1,2 beträgt. Dadurch wird das Steifigkeits-Materialverbrauch-Verhältnis weiter verbessert.
  • Da das Verhältnis zwischen der Breite des ersten Abschnitts des Schienenfußes und der Höhe der Zungenschiene nicht unerheblich von der Höhe des Querschnitts-Grundprofils der Zungenschiene abhängt, ist der untere Grenzwert für das besagte Verhältnis im zweiten Längsabschnitt der Zungenschiene bevorzugt in Abhängigkeit von der Höhe des Querschnitts-Grundprofils gewählt, nämlich derart, dass das Verhältnis zwischen der Breite des ersten Abschnitts des Schienenfußes und der Höhe der Zungenschiene im zweiten Längsabschnitt bei einer Höhe des Querschnitts-Grundprofils von > 130mm größer als 0,7 ist, dass das besagte Verhältnis im zweiten Längsabschnitt bei einer Höhe des Querschnitts-Grundprofils von 120-130mm größer als 0,75 ist und dass das besagte Verhältnis im zweiten Längsabschnitt bei einer Höhe des Querschnitts-Grundprofils von < 120mm größer als 0,8 ist.
  • Um ein optimales Verhältnis zwischen den Flächenträgheitsmomenten zu erreichen, ist weiters bevorzugt vorgesehen, dass das Verhältnis zwischen der Breite des ersten Abschnitts des Schienenfußes und der Höhe der Zungenschiene im zweiten Längsabschnitt, insbesondere im gesamten zweiten Längsabschnitt, weniger als 1,1, bevorzugt weniger als 1,0, besonders bevorzugt weniger als 0,90 beträgt.
  • Weiters ist bevorzugt vorgesehen, dass der Endbereich des ersten Abschnitts des Schienenfußes höher als der Endbereich des zweiten Abschnitts des Schienenfußes ist. Auch durch diese Maßnahme kann effizient eine Versteifung der Zungenschiene bei gleichzeitig geringer Gewichtszunahme erzielt werden.
  • In einer bevorzugten Ausbildung ist vorgesehen, dass der Schienensteg auf der ersten Seite der Mittelachse breiter ausgebildet ist als auf der zweiten Seite der Achse, wobei der Schienensteg auf der ersten Seite der Mittelachse bevorzugt über die gesamte Länge der Zungenschiene breiter als der Schienenkopf ausgebildet ist. Hierbei wird also zusätzlich zum Schienenfuß auch der Schienensteg auf der abliegenden Seite der Mittelachse verstärkt ausgebildet, um das vertikale Flächenträgheitsmoment und damit die Steifigkeit der Zungenschiene zu erhöhen. Besonders bevorzugt ist der Schienensteg auf der ersten Seite breiter als der Schienenkopf ausgebildet, wodurch eine erhebliche Erhöhung des vertikalen Flächenträgheitsmoments erzielt wird.
  • Hierbei ist besonders bevorzugt vorgesehen, dass die Zungenschiene auf der ersten Seite einen treppenförmigen Querschnitt aufweist. Hierbei weist der Schienensteg auf der ersten Seite einen breiteren Querschnitt als der Schienenkopf auf und der Schienenfuß weist auf der ersten Seite einen breiteren Querschnitt als der Schienensteg auf. Die Übergänge zwischen den unterschiedlich breiten Bereichen können mit einem Übergangsradius oder als abgeschrägte Bereiche ausgebildet sein. Hierbei ist weiters bevorzugt vorgesehen, dass der Schienensteg auf der zweiten Seite weniger breit als der Schienenkopf ausgebildet ist.
  • In einer alternativen Ausführung ist vorgesehen, dass - wie dies bei sog. asymmetrischen Zungenprofilen für sich gesehen bereits bekannt ist - der Schienensteg im Querschnitt auf der zweiten Seite der Mittelachse breiter ausgebildet ist als auf der ersten Seite der Mittelachse.
  • Weiters ist bevorzugt vorgesehen, dass die Höhe des Schienenfußes auf der ersten Seite und auf der zweiten Seite jeweils zumindest in einem Bereich kontinuierlich zur Mittelachse hin ansteigt, wobei bevorzugt die Steigung der zweiten Seite größer ist als die Steigung der ersten Seite.
  • Dadurch wird eine kompakte Schiene, die einfach gefertigt werden kann, erhalten.
  • Erfindungsgemäß ist weiters eine Schienenweiche vorgesehen, umfassend eine erfindungsgemäße Zungenschiene sowie eine Backenschiene, wobei die Zungenschiene mit der zweiten Seite an die Backenschiene anlegbar angeordnet ist.
  • Hierbei ist im ersten Längsabschnitt der Zungenschiene bevorzugt zumindest eine Stellebene mit einer Stelleinrichtung vorgesehen, in welcher die Zungenschiene mithilfe der Stelleinrichtung an die Zungenschiene anlegbar ist.
  • Weiters ist bevorzugt vorgesehen, dass die Backenschiene und die Zungenschiene zueinander geneigt angeordnet sind. Durch eine solche Anordnung kann das Fahrverhalten auf der Schienenweiche verbessert werden.
  • Die Erfindung wird nachfolgend anhand eines in der Zeichnung dargestellten Ausführungsbeispiels näher erläutert. In dieser zeigen Fig. 1 eine Draufsicht auf eine erfindungsgemäße Schienenweiche, Fig. 2 einen ersten Querschnitt einer erfindungsgemäßen Zungenschiene gemäß einer ersten Ausführungsform, Fig. 3 einen zweiten Querschnitt der ersten Ausführungsform entlang der in Fig. 1 mit A-A gekennzeichneten Linie, Fig. 4 einen Vergleich des Profils gemäß Fig. 3 mit einem herkömmlichen Profil und Fig. 5 einen Querschnitt einer erfindungsgemäßen Zungenschiene gemäß einer zweiten Ausführungsform.
  • In Fig. 1 ist eine erfindungsgemäße Schienenweiche dargestellt, umfassend zwei Zungenschienen 1 sowie zwei Backenschienen 2. Die Zungenschienen 1 sind jeweils einer Backenschiene 2 zugeordnet. Entlang der Weiche sind drei Stellebenen 3a, 3b und 3c angeordnet, in welchen nicht dargestellte Stellvorrichtungen sowie nicht dargestellte Endlagenprüfvorrichtungen zum wahlweisen Verstellen der Zungenschiene 1 zur Backenschiene 2 hin bzw. von der Backenschiene 2 weg angeordnet sind. Im anliegenden Zustand liegt die Zungenschiene 1 in einem ersten Längsabschnitt, der sich von der ersten 3a bis zur dritten Stellebene 3c erstreckt, an der Backenschiene 2 an. Mit 4 ist weiters der Einspannbereich der Zungenschiene 1 bezeichnet, der sich in einem zweiten Längsabschnitt der Zungenschiene befindet, der sich von der dritten Stellebene 3c bis zum Einspannbereich 4 erstreckt. Die Zungenschiene 1 weist einen Querschnitt auf, der sich entlang des Längsverlaufes der Zungenschiene ändert, wobei insbesondere der Querschnitt des Schienenkopfs der Zungenschiene 1 variiert wird. Im zweiten Längsabschnitt ist die Zungenschiene unbearbeitet und weist daher ein Grundprofil auf. Im ersten Längsabschnitt ist insbesondere der Schienenkopf bearbeitet, und zwar mit sich von der dritten 3c zur ersten 3a Stellebene hin verringernder Breite.
  • Weiters ist hierbei vorgesehen, dass das Verhältnis zwischen dem vertikalen Flächenträgheitsmoment Iy und dem horizontalen Flächenträgheitsmoment Ix der Zungenschiene in zumindest einem Längsabschnitt größer als 0,5 ist. Bevorzugt ist dieses Verhältnis in allen Längsabschnitten größer als 0,5.
  • In Fig. 2 ist ein Querschnitt einer erfindungsgemäßen Zungenschiene gemäß einer ersten Ausführungsform dargestellt. Dieser Querschnitt weist keine Anpassung des Schienenkopfes an die Backenschiene 2 auf und betrifft den zweiten Längsabschnitt der Zungenschiene 1, in welchem die Zungenschiene 1 nicht zur Anlage an die Backenschiene 2 vorgesehen ist. Die Zungenschiene 1 weist einen Schienenkopf 5, einen Schienensteg 6 sowie einen Schienenfuß 7 auf. Durch die Mitte der Breite 8 des Schienenkopfes 4 wird eine Mittelachse 9 definiert. Der erste Abschnitt 10 des Schienenfußes 7 auf der ersten Seite ist breiter ausgebildet als der zweite Abschnitt 11 des Schienenfußes 7. Weiters ist die Höhe 12 des ersten Abschnitts 10 größer als die Höhe 13 des zweiten Abschnitts 11 ausgebildet. Die Zungenschiene 1 weist ein Verhältnis zwischen dem vertikalen Flächenträgheitsmoment Iy und dem horizontalen Flächenträgheitsmoment Ix von größer 0,5 auf.
  • Bei einem speziellen Ausführungsbeispiel der in Fig. 2 dargestellten Ausbildung mit einer Breite 14 des gesamten Schienenfußes 6 von 165 mm, einer Schienenhöhe 15 von 134 mm, einer Breite 16 des ersten Abschnitts des Schienenfußes 7 von 110 mm, einer Höhe 12 des ersten Abschnitts von 29 mm, und einer Höhe 13 des zweiten Abschnitts von 20 mm beträgt das vertikale Flächenträgheitsmoment Iy 1503,5 cm4 and das horizontale Flächenträgheitsmoment Ix 1913,9 cm4. Das Verhältnis Iy zu Ix beträgt daher ca. 0,79. Der Parameter Iy•h/Ix beträgt 105,26 mm. Weiters beträgt das Verhältnis zwischen der Breite 16 des ersten Abschnitts 10 und der Schienenhöhe 15 ca. 0,82.
  • Die Fig. 3 zeigt einen Querschnitt der in Fig. 2 dargestellten Ausführungsform der Zungenschiene in dem ersten Längsabschnitt, nämlich entlang der in Fig. 1 mit A-A bezeichneten Linie, wobei gleiche Teile mit gleichen Bezugszeichen bezeichnet sind wie in Fig. 2. Es ist ersichtlich, dass der Schienenkopf 5 sowie der Abschnitt 11 des Schienenfußes ausgehend von dem in Fig. 2 dargestellten Grundprofil bearbeitet sind, um die Anlage an die Backenschiene 2 zu ermöglichen und den Übergang der Fahrkante von der Backenschiene 2 auf die Zungenschiene 1 möglichst stufenlos auszubilden. Bei einer speziellen Ausführungsform der in Fig. 3 dargestellten Ausbildung, die ausgehend von dem Grundprofil gemäß Fig. 2 die oben angegebenen Maße aufweist beträgt das vertikale Trägheitsmoment in diesem Bereich der Zungenschiene 1 ca. 1227,5 cm4 und das horizontale Trägheitsmoment ca. 925,7 cm4. Das Verhältnis Iy zu Ix beträgt daher ca. 1,33.
  • Fig. 4 ist der Querschnitt der erfindungsgemäßen Zungenschiene 1 gemäß Fig. 3 über einen entsprechenden Querschnitt einer herkömmlichen Zungenschiene 17 gelegt. Aus dieser Darstellung ist ersichtlich, dass der Abschnitt 10 des Schienenfußes um ein bestimmtes Maß verbreitert und erhöht wurde, um das gewünschte Verhältnis von Iy/Ix zu erhalten.
  • In Fig. 5 ist ein Querschnitt einer erfindungsgemäßen Zungenschiene 1 gemäß einer zweiten Ausführungsform dargestellt. Dieser Querschnitt liegt im zweiten Längsabschnitt der Zungenschiene 1, in welchem die Zungenschiene 1 nicht zur Anlage an die Backenschiene 2 vorgesehen ist, sodass die Zungenschiene hier keine Bearbeitung des Schienenkopfes und des Schienenfußes aufweist. Gleiche Bezugszeichen wie bei Fig. 2 entsprechen gleichen Teilen. Die Ausführungsform gemäß Fig. 5 unterscheidet sich von der Ausführung gemäß Fig. 2 vor allem dadurch, dass der Schienensteg 6 bei der Ausführung jemäß Fig. 5 auf der ersten Seite breiter als der Schienenkopf 5 ausgebildet ist. Die Breite 16 des ersten Abschnitts 10 ist weiters breiter als der Schienensteg 6 ausgebildet, sodass eine Treppenform entsteht.
  • Bei den gleichen Maßen wie beim Ausführungsbeispiel gemäß Fig. 2 beträgt das vertikale Flächenträgheitsmoment Iy 1851,1 cm4 und das horizontale Flächenträgheitsmoment Ix 1983,0 cm4. Das Verhältnis Iy zu Ix beträgt daher ca 0,93. Der Parameter Iy•h/Ix beträgt 125,1 mm. Weiters beträgt das Verhältnis zwischen der Breite 16 des ersten Abschnitts und der Schienenhöhe 15 (wie bei der Ausführung gemäß Fig. 2) ca. 0,82.

Claims (12)

  1. Zungenschiene für die Verwendung in einer Schienenweiche, umfassend einen Schienenkopf (5), einen Schienensteg (6) und einen Schienenfuß (7), wobei die Zungenschiene (1) einen ersten, für eine Anlage an eine Backenschiene (2) vorgesehenen Längsabschnitt und einen zweiten, außerhalb des Anlagebereichs liegenden Längsabschnitt aufweist, wobei die Zungenschiene (1) im zweiten Längsabschnitt ein Querschnitts-Grundprofil aufweist und vorzugsweise das Grundprofil im ersten Längsabschnitt zur Ausbildung einer verlaufenden Breitenanpassung insbesondere im Schienenkopf (5) bearbeitet ist, wobei im zweiten Längsabschnitt im Querschnitt durch die Mitte des Schienenkopfes (5) eine vertikal verlaufende Mittelachse (9) definiert ist, und ein erster Abschnitt (10) des Schienenfußes (7) auf einer ersten Seite der Mittelachse (9) und ein zweiter Abschnitt (11) des Schienenfußes (7) auf einer der ersten Seite gegenüberliegenden zweiten Seite der Mittelachse (9) angeordnet ist, wobei die Breite des ersten Abschnitts (10) des Schienenfußes (7) im Querschnitt größer ist als die Breite des zweiten Abschnitts (11) des Schienenfußes (7), dadurch gekennzeichnet, dass der Querschnitt der Zungenschiene (1) an zumindest einer Stelle entlang der Schienenlängserstreckung ein Verhältnis zwischen dem vertikalen Flächenträgheitsmoment Iy und dem horizontalen Flächenträgheitsmoment Ix von größer als 0,7 aufweist und das Verhältnis zwischen der Breite des ersten Abschnitts (10) des Schienenfußes (7) und der Höhe der Zungenschiene (1) an zumindest einer Stelle entlang der Längserstreckung der Zungenschiene (1), bevorzugt im ersten und/oder im zweiten Längsabschnitt, besonders bevorzugt an jeder Stelle entlang der Längserstreckung der Zungenschiene (1), zumindest 0,80 beträgt.
  2. Zungenschiene nach Anspruch 1, dadurch gekennzeichnet, dass das Verhältnis Iy/Ix im zweiten Längsabschnitt bei einer Höhe des Querschnitts-Grundprofils von > 130mm größer als 0,5 ist, dass das Verhältnis Iy/Ix im zweiten Längsabschnitt bei einer Höhe des Querschnitts-Grundprofils von 120-130mm größer als 0,6 ist und dass das Verhältnis Iy/Ix im zweiten Längsabschnitt bei einer Höhe des Querschnitts-Grundprofils von < 120mm größer als 0,7 ist.
  3. Zungenschiene nach Anspruch 1 oder 2, dadurch gekennzeichnet, dass das Verhältnis Iy/Ix, multipliziert mit der Höhe des Querschnitts-Grundprofils der Zungenschiene, im zweiten Längsabschnitt größer als 80 mm beträgt.
  4. Zungenschiene nach einem der Ansprüche 1 bis 3, dadurch gekennzeichnet, dass das Verhältnis zwischen der Breite des ersten Abschnitts (10) des Schienenfußes (7) und der Höhe der Zungenschiene (1) im zweiten Längsabschnitt bei einer Höhe des Querschnitts-Grundprofils von > 130mm größer als 0,7 ist, dass das besagte Verhältnis im zweiten Längsabschnitt bei einer Höhe des Querschnitts-Grundprofils von 120-130mm größer als 0,75 ist und dass das besagte Verhältnis im zweiten Längsabschnitt bei einer Höhe des Querschnitts-Grundprofils von < 120mm größer als 0,8 ist.
  5. Zungenschiene nach einem der Ansprüche 1 bis 4, dadurch gekennzeichnet, dass der Endbereich des ersten Abschnitts (10) des Schienenfußes (7) höher als der Endbereich des zweiten Abschnitts (11) des Schienenfußes (7) ist.
  6. Zungenschiene nach einem der Ansprüche 1 bis 5, dadurch gekennzeichnet, dass der Schienensteg (6) auf der ersten Seite der Mittelachse (9) breiter ausgebildet ist als auf der zweiten Seite der Mittelachse (9), wobei der Schienensteg (6) auf der ersten Seite der Mittelachse (9) über die gesamte Länge der Zungenschiene (1) bevorzugt breiter als der Schienenkopf (5) ausgebildet ist.
  7. Zungenschiene nach Anspruch 6, dadurch gekennzeichnet, dass die Zungenschiene (1) auf der ersten Seite einen treppenförmigen Querschnitt aufweist.
  8. Zungenschiene nach einem der Ansprüche 1 bis 5, dadurch gekennzeichnet, dass der Schienensteg (6) im Querschnitt auf der zweiten Seite der Mittelachse (9) breiter ausgebildet ist als auf der ersten Seite der Mittelachse (9).
  9. Zungenschiene nach einem der Ansprüche 1 bis 8, dadurch gekennzeichnet, dass die Höhe des Schienenfußes (7) auf der ersten Seite und auf der zweiten Seite jeweils zumindest in einem Bereich kontinuierlich zur Mittelachse (9) hin ansteigt, wobei bevorzugt die Steigung der zweiten Seite größer ist als die Steigung der ersten Seite.
  10. Zungenschiene nach einem der Ansprüche 1 bis 9, dadurch gekennzeichnet, dass das Verhältnis zwischen dem vertikalen Flächenträgheitsmoment Iy und dem horizontalen Flächenträgheitsmoment Ix der Zungenschiene (1) an keiner Stelle entlang der gesamten Längserstreckung der Zungenschiene (1) kleiner als 0,5, bevorzugt kleiner als 0,6, besonders bevorzugt kleiner als 0,7 ist.
  11. Schienenweiche, umfassend eine Zungenschiene (1) nach einem der Ansprüche 1 bis 10 sowie eine Backenschiene (2), wobei die Zungenschiene (1) mit der zweiten Seite an die Backenschiene (2) anlegbar angeordnet ist.
  12. Schienenweiche nach Anspruch 11, dadurch gekennzeichnet, dass die Backenschiene (2) und die Zungenschiene (1) zueinander geneigt angeordnet sind.
EP19717411.3A 2018-03-29 2019-03-29 Zungenschiene Active EP3775375B1 (de)

Priority Applications (3)

Application Number Priority Date Filing Date Title
SI201930299T SI3775375T1 (sl) 2018-03-29 2019-03-29 Tirnica kretnice
RS20220610A RS63365B1 (sr) 2018-03-29 2019-03-29 Šina sa jezičkom
HRP20220666TT HRP20220666T1 (hr) 2018-03-29 2019-03-29 Tračnica s jezičcem

Applications Claiming Priority (2)

Application Number Priority Date Filing Date Title
ATA87/2018A AT521128B1 (de) 2018-03-29 2018-03-29 Zungenschiene
PCT/AT2019/000006 WO2019183649A1 (de) 2018-03-29 2019-03-29 Zungenschiene

Publications (2)

Publication Number Publication Date
EP3775375A1 EP3775375A1 (de) 2021-02-17
EP3775375B1 true EP3775375B1 (de) 2022-05-04

Family

ID=66175085

Family Applications (1)

Application Number Title Priority Date Filing Date
EP19717411.3A Active EP3775375B1 (de) 2018-03-29 2019-03-29 Zungenschiene

Country Status (14)

Country Link
EP (1) EP3775375B1 (de)
CN (1) CN112262243B (de)
AT (1) AT521128B1 (de)
AU (1) AU2019240737B2 (de)
ES (1) ES2922241T3 (de)
HR (1) HRP20220666T1 (de)
HU (1) HUE059186T2 (de)
LT (1) LT3775375T (de)
PL (1) PL3775375T3 (de)
PT (1) PT3775375T (de)
RS (1) RS63365B1 (de)
SI (1) SI3775375T1 (de)
WO (1) WO2019183649A1 (de)
ZA (1) ZA202005809B (de)

Citations (3)

* Cited by examiner, † Cited by third party
Publication number Priority date Publication date Assignee Title
DE23231C (de) H. BÜSSING in Braunschweig Vorrichtung zur Verminderung des Bewegungswiderstandes bei Weichenzungen
AT342637B (de) 1976-02-09 1978-04-10 Faigle Heinz Weiche fur schienenfahrzeuge mit einer zungenvorrichtung
EP3409561A1 (de) 2017-05-31 2018-12-05 Silsud S.R.L. Schaltmaschine für eine schienenweiche und system zum verschieben der schaltpunkte einer schienenweiche mit solch einer schaltmaschine

Family Cites Families (9)

* Cited by examiner, † Cited by third party
Publication number Priority date Publication date Assignee Title
FR2698110B1 (fr) * 1992-11-16 1995-02-03 Cogifer Rail-aiguille perfectionné pour appareil de voie.
SE520003C2 (sv) * 1999-03-05 2003-05-06 Ericsson Telefon Ab L M Förfarande och anordning för att åstadkomma allmän information till användare i ett mobilradionät
US7387280B2 (en) * 2002-06-27 2008-06-17 Vae Eisenbahnsysteme Gmbh Points comprising a reinforced switch tongue blade
KR20100098149A (ko) * 2009-02-27 2010-09-06 푀스트알피네 베베게 게엠베하 운트 코. 카게 차륜 세트의 제어식 가이드 장치
WO2015092396A2 (en) * 2013-12-20 2015-06-25 Loughborough University Railway points, railway points operating apparatus and railway track crossing
CN103757996B (zh) * 2014-02-10 2016-04-13 中铁山桥集团有限公司 一种道岔侧向尖轨平面线型的设计方法
CN203878424U (zh) * 2014-03-12 2014-10-15 中铁宝桥集团有限公司 城市轨道交通道岔尖轨
CN103924488B (zh) * 2014-03-12 2016-07-13 中铁宝桥集团有限公司 城市轨道交通道岔尖轨及制作工艺
EA030076B1 (ru) * 2015-09-09 2018-06-29 Фоссло Кожифер Стрелочный перевод, содержащий остряк и рамный рельс

Patent Citations (3)

* Cited by examiner, † Cited by third party
Publication number Priority date Publication date Assignee Title
DE23231C (de) H. BÜSSING in Braunschweig Vorrichtung zur Verminderung des Bewegungswiderstandes bei Weichenzungen
AT342637B (de) 1976-02-09 1978-04-10 Faigle Heinz Weiche fur schienenfahrzeuge mit einer zungenvorrichtung
EP3409561A1 (de) 2017-05-31 2018-12-05 Silsud S.R.L. Schaltmaschine für eine schienenweiche und system zum verschieben der schaltpunkte einer schienenweiche mit solch einer schaltmaschine

Non-Patent Citations (8)

* Cited by examiner, † Cited by third party
Title
A: "NORME CHINOISE TB/T 3109-2013", NORME CHINOISE, 1 June 2013 (2013-06-01), pages 1 - 42, XP093026935
ACHLEITNER H: "EFFIZIENZ INNEN LIEGENDER ENDLAGENPRUEFER", SIGNAL UND DRAHT: SIGNALLING & DATACOMMUNICATION, EURAILPRESS, DE, vol. 99, no. 03, 1 March 2007 (2007-03-01), DE , pages 25 - 28, XP001504569, ISSN: 0037-4997
ANONYMOUS: "Applications ferroviaires Voie — Appareils de voie", NORME EUROPÉENNE, NF EN 13232-4+A1, 1 December 2011 (2011-12-01), pages 1 - 23, XP093027540
ANONYMOUS: "Norme européenne NF EN 13232-5, Applications ferroviaires Voie — Appareils de voie", AFNOR, ASSOCIATION FRANÇAISE DE NORMALISATION, AFNOR, 1 December 2005 (2005-12-01), pages 1 - 30, XP093027458
ANONYMOUS: "Produits sidérurgiques Rail pour appareils — Rail aiguille type Zu51", NORME FRANCAISE, NF A 45-344, 1 December 1990 (1990-12-01), pages 1 - 4, XP093026925
ANONYMOUS: "Railway applications Track — Rail", NORMES FRANCAISES., AFNOR, PARIS., FR, 1 September 2010 (2010-09-01), FR , pages 1 - 112, XP093026922, ISSN: 0335-3931
CHAPAS PIERRE: "Voie ferrée - Composants, construction et maintenance", TECHNIQUES DE LINGÉNIEUR, 10 November 2012 (2012-11-10), pages 1 - 20, XP093027473
ESVELD COENRAAD: "SWITCHES AND CROSSINGS, The standard turnout", MODERN RAILWAY TRACK SECOND EDITION, TU DELFT, 1 January 2001 (2001-01-01), pages 333 - 335, XP093027472

Also Published As

Publication number Publication date
AT521128A1 (de) 2019-10-15
HUE059186T2 (hu) 2022-10-28
PT3775375T (pt) 2022-07-22
LT3775375T (lt) 2022-06-27
SI3775375T1 (sl) 2022-09-30
ES2922241T3 (es) 2022-09-12
HRP20220666T1 (hr) 2022-08-19
EP3775375A1 (de) 2021-02-17
RS63365B1 (sr) 2022-07-29
CN112262243B (zh) 2022-07-08
AU2019240737B2 (en) 2024-05-02
CN112262243A (zh) 2021-01-22
AT521128B1 (de) 2021-01-15
AU2019240737A1 (en) 2020-10-22
ZA202005809B (en) 2021-09-29
PL3775375T3 (pl) 2022-08-16
WO2019183649A1 (de) 2019-10-03

Similar Documents

Publication Publication Date Title
DE2702750C3 (de) Gleitschuh für die Spanneinrichtung einer Gnfcenverbmivorrichtung
EP1197319B1 (de) Keiltrieb
EP2585390A1 (de) Segmentkorper für einen fordergutabstreifer
EP1576218B1 (de) Schaftrahmen und webschaft für webmaschinen
DE9105328U1 (de) Stationäre Stützvorrichtung
DE102014102993B4 (de) Werkzeugschieber
EP3775375B1 (de) Zungenschiene
EP0802102A1 (de) Weichenendverschluss
DE10150709A1 (de) Markise
DE1752346C3 (de) Bombiervorrichtung für eine Abkantpresse
EP4279659A1 (de) Schlitzwandgerät und verfahren zum erstellen eines schlitzes im boden
EP1180080B1 (de) Einrichtung zum verstellen und zum elastischen verriegeln von beweglichen weichenteilen
WO1997047813A1 (de) Vorrichtung zum umstellen von weichenzungen
DE10128097B4 (de) Halter für ein zu bearbeitendes Werkstück
EP0152521A2 (de) Rostbelag für mechanisch bewegte stufenförmige Feuerungsroste von Grossfeuerungen
DE4441561C2 (de) Schalldämmendes Schienenlager
EP4177188B1 (de) Stapelsäule, puffersystem mit stapelsäule und verfahren zum anpassen eines puffersystems
DE19847973C1 (de) Vorschubeinrichtung zum schrittweisen Werkstücktransport in Produktionsmaschinen
EP3919683A1 (de) Verbindungsvorrichtung
EP3095534B1 (de) Biegemaschine
DE102022109309B3 (de) Niederzugspanner
EP3708287B1 (de) Verschiebewagen für eine schweissmaschine, insbesondere für eine gitterschweissmaschine
EP3067447B1 (de) Weblitze vorzugsweise zur verarbeitung von bandförmigem kettmaterial und verfahren zur herstellung einer weblitze
CH669619A5 (de)
CH653174A5 (en) Spring set of a relay having a contact spring which is not prestressed

Legal Events

Date Code Title Description
STAA Information on the status of an ep patent application or granted ep patent

Free format text: STATUS: UNKNOWN

STAA Information on the status of an ep patent application or granted ep patent

Free format text: STATUS: THE INTERNATIONAL PUBLICATION HAS BEEN MADE

PUAI Public reference made under article 153(3) epc to a published international application that has entered the european phase

Free format text: ORIGINAL CODE: 0009012

STAA Information on the status of an ep patent application or granted ep patent

Free format text: STATUS: REQUEST FOR EXAMINATION WAS MADE

17P Request for examination filed

Effective date: 20200922

AK Designated contracting states

Kind code of ref document: A1

Designated state(s): AL AT BE BG CH CY CZ DE DK EE ES FI FR GB GR HR HU IE IS IT LI LT LU LV MC MK MT NL NO PL PT RO RS SE SI SK SM TR

AX Request for extension of the european patent

Extension state: BA ME

DAV Request for validation of the european patent (deleted)
DAX Request for extension of the european patent (deleted)
GRAP Despatch of communication of intention to grant a patent

Free format text: ORIGINAL CODE: EPIDOSNIGR1

STAA Information on the status of an ep patent application or granted ep patent

Free format text: STATUS: GRANT OF PATENT IS INTENDED

INTG Intention to grant announced

Effective date: 20211027

REG Reference to a national code

Ref country code: RO

Ref legal event code: EPE

GRAS Grant fee paid

Free format text: ORIGINAL CODE: EPIDOSNIGR3

GRAA (expected) grant

Free format text: ORIGINAL CODE: 0009210

STAA Information on the status of an ep patent application or granted ep patent

Free format text: STATUS: THE PATENT HAS BEEN GRANTED

AK Designated contracting states

Kind code of ref document: B1

Designated state(s): AL AT BE BG CH CY CZ DE DK EE ES FI FR GB GR HR HU IE IS IT LI LT LU LV MC MK MT NL NO PL PT RO RS SE SI SK SM TR

REG Reference to a national code

Ref country code: GB

Ref legal event code: FG4D

Free format text: NOT ENGLISH

REG Reference to a national code

Ref country code: CH

Ref legal event code: EP

REG Reference to a national code

Ref country code: AT

Ref legal event code: REF

Ref document number: 1489161

Country of ref document: AT

Kind code of ref document: T

Effective date: 20220515

REG Reference to a national code

Ref country code: IE

Ref legal event code: FG4D

Free format text: LANGUAGE OF EP DOCUMENT: GERMAN

Ref country code: DE

Ref legal event code: R096

Ref document number: 502019004277

Country of ref document: DE

REG Reference to a national code

Ref country code: NL

Ref legal event code: FP

REG Reference to a national code

Ref country code: PT

Ref legal event code: SC4A

Ref document number: 3775375

Country of ref document: PT

Date of ref document: 20220722

Kind code of ref document: T

Free format text: AVAILABILITY OF NATIONAL TRANSLATION

Effective date: 20220715

REG Reference to a national code

Ref country code: SE

Ref legal event code: TRGR

REG Reference to a national code

Ref country code: GR

Ref legal event code: EP

Ref document number: 20220401487

Country of ref document: GR

Effective date: 20220808

REG Reference to a national code

Ref country code: HR

Ref legal event code: T1PR

Ref document number: P20220666

Country of ref document: HR

REG Reference to a national code

Ref country code: ES

Ref legal event code: FG2A

Ref document number: 2922241

Country of ref document: ES

Kind code of ref document: T3

Effective date: 20220912

REG Reference to a national code

Ref country code: HU

Ref legal event code: AG4A

Ref document number: E059186

Country of ref document: HU

PG25 Lapsed in a contracting state [announced via postgrant information from national office to epo]

Ref country code: NO

Free format text: LAPSE BECAUSE OF FAILURE TO SUBMIT A TRANSLATION OF THE DESCRIPTION OR TO PAY THE FEE WITHIN THE PRESCRIBED TIME-LIMIT

Effective date: 20220804

Ref country code: FI

Free format text: LAPSE BECAUSE OF FAILURE TO SUBMIT A TRANSLATION OF THE DESCRIPTION OR TO PAY THE FEE WITHIN THE PRESCRIBED TIME-LIMIT

Effective date: 20220504

PG25 Lapsed in a contracting state [announced via postgrant information from national office to epo]

Ref country code: IS

Free format text: LAPSE BECAUSE OF FAILURE TO SUBMIT A TRANSLATION OF THE DESCRIPTION OR TO PAY THE FEE WITHIN THE PRESCRIBED TIME-LIMIT

Effective date: 20220904

PG25 Lapsed in a contracting state [announced via postgrant information from national office to epo]

Ref country code: SM

Free format text: LAPSE BECAUSE OF FAILURE TO SUBMIT A TRANSLATION OF THE DESCRIPTION OR TO PAY THE FEE WITHIN THE PRESCRIBED TIME-LIMIT

Effective date: 20220504

Ref country code: EE

Free format text: LAPSE BECAUSE OF FAILURE TO SUBMIT A TRANSLATION OF THE DESCRIPTION OR TO PAY THE FEE WITHIN THE PRESCRIBED TIME-LIMIT

Effective date: 20220504

Ref country code: DK

Free format text: LAPSE BECAUSE OF FAILURE TO SUBMIT A TRANSLATION OF THE DESCRIPTION OR TO PAY THE FEE WITHIN THE PRESCRIBED TIME-LIMIT

Effective date: 20220504

REG Reference to a national code

Ref country code: DE

Ref legal event code: R026

Ref document number: 502019004277

Country of ref document: DE

PLBI Opposition filed

Free format text: ORIGINAL CODE: 0009260

26 Opposition filed

Opponent name: VOSSLOH COGIFER

Effective date: 20230203

PG25 Lapsed in a contracting state [announced via postgrant information from national office to epo]

Ref country code: AL

Free format text: LAPSE BECAUSE OF FAILURE TO SUBMIT A TRANSLATION OF THE DESCRIPTION OR TO PAY THE FEE WITHIN THE PRESCRIBED TIME-LIMIT

Effective date: 20220504

REG Reference to a national code

Ref country code: HR

Ref legal event code: ODRP

Ref document number: P20220666

Country of ref document: HR

Payment date: 20230320

Year of fee payment: 5

PLAX Notice of opposition and request to file observation + time limit sent

Free format text: ORIGINAL CODE: EPIDOSNOBS2

P01 Opt-out of the competence of the unified patent court (upc) registered

Effective date: 20230523

PLAF Information modified related to communication of a notice of opposition and request to file observations + time limit

Free format text: ORIGINAL CODE: EPIDOSCOBS2

PLBB Reply of patent proprietor to notice(s) of opposition received

Free format text: ORIGINAL CODE: EPIDOSNOBS3

PG25 Lapsed in a contracting state [announced via postgrant information from national office to epo]

Ref country code: MC

Free format text: LAPSE BECAUSE OF FAILURE TO SUBMIT A TRANSLATION OF THE DESCRIPTION OR TO PAY THE FEE WITHIN THE PRESCRIBED TIME-LIMIT

Effective date: 20220504

REG Reference to a national code

Ref country code: BE

Ref legal event code: MM

Effective date: 20230331

PG25 Lapsed in a contracting state [announced via postgrant information from national office to epo]

Ref country code: LU

Free format text: LAPSE BECAUSE OF NON-PAYMENT OF DUE FEES

Effective date: 20230329

REG Reference to a national code

Ref country code: IE

Ref legal event code: MM4A

PG25 Lapsed in a contracting state [announced via postgrant information from national office to epo]

Ref country code: IE

Free format text: LAPSE BECAUSE OF NON-PAYMENT OF DUE FEES

Effective date: 20230329

PG25 Lapsed in a contracting state [announced via postgrant information from national office to epo]

Ref country code: BE

Free format text: LAPSE BECAUSE OF NON-PAYMENT OF DUE FEES

Effective date: 20230331

REG Reference to a national code

Ref country code: HR

Ref legal event code: ODRP

Ref document number: P20220666

Country of ref document: HR

Payment date: 20240322

Year of fee payment: 6

PLAB Opposition data, opponent's data or that of the opponent's representative modified

Free format text: ORIGINAL CODE: 0009299OPPO

R26 Opposition filed (corrected)

Opponent name: VOSSLOH COGIFER

Effective date: 20230203

PGFP Annual fee paid to national office [announced via postgrant information from national office to epo]

Ref country code: SE

Payment date: 20250321

Year of fee payment: 7

PGFP Annual fee paid to national office [announced via postgrant information from national office to epo]

Ref country code: PT

Payment date: 20250320

Year of fee payment: 7

Ref country code: DE

Payment date: 20250319

Year of fee payment: 7

Ref country code: HR

Payment date: 20250320

Year of fee payment: 7

REG Reference to a national code

Ref country code: HR

Ref legal event code: ODRP

Ref document number: P20220666

Country of ref document: HR

Payment date: 20250320

Year of fee payment: 7

PGFP Annual fee paid to national office [announced via postgrant information from national office to epo]

Ref country code: RO

Payment date: 20250324

Year of fee payment: 7

Ref country code: LT

Payment date: 20250221

Year of fee payment: 7

Ref country code: NL

Payment date: 20250319

Year of fee payment: 7

PGFP Annual fee paid to national office [announced via postgrant information from national office to epo]

Ref country code: BG

Payment date: 20250321

Year of fee payment: 7

PGFP Annual fee paid to national office [announced via postgrant information from national office to epo]

Ref country code: HU

Payment date: 20250321

Year of fee payment: 7

PGFP Annual fee paid to national office [announced via postgrant information from national office to epo]

Ref country code: AT

Payment date: 20250320

Year of fee payment: 7

Ref country code: GR

Payment date: 20250320

Year of fee payment: 7

Ref country code: LV

Payment date: 20250313

Year of fee payment: 7

Ref country code: SI

Payment date: 20250320

Year of fee payment: 7

PGFP Annual fee paid to national office [announced via postgrant information from national office to epo]

Ref country code: FR

Payment date: 20250326

Year of fee payment: 7

Ref country code: CZ

Payment date: 20250325

Year of fee payment: 7

Ref country code: PL

Payment date: 20250321

Year of fee payment: 7

PGFP Annual fee paid to national office [announced via postgrant information from national office to epo]

Ref country code: IT

Payment date: 20250325

Year of fee payment: 7

Ref country code: SK

Payment date: 20250326

Year of fee payment: 7

Ref country code: GB

Payment date: 20250324

Year of fee payment: 7

PGFP Annual fee paid to national office [announced via postgrant information from national office to epo]

Ref country code: RS

Payment date: 20250321

Year of fee payment: 7

PGFP Annual fee paid to national office [announced via postgrant information from national office to epo]

Ref country code: TR

Payment date: 20250324

Year of fee payment: 7

PGFP Annual fee paid to national office [announced via postgrant information from national office to epo]

Ref country code: ES

Payment date: 20250429

Year of fee payment: 7

PGFP Annual fee paid to national office [announced via postgrant information from national office to epo]

Ref country code: CH

Payment date: 20250401

Year of fee payment: 7

PG25 Lapsed in a contracting state [announced via postgrant information from national office to epo]

Ref country code: CY

Free format text: LAPSE BECAUSE OF FAILURE TO SUBMIT A TRANSLATION OF THE DESCRIPTION OR TO PAY THE FEE WITHIN THE PRESCRIBED TIME-LIMIT; INVALID AB INITIO

Effective date: 20190329

PLAB Opposition data, opponent's data or that of the opponent's representative modified

Free format text: ORIGINAL CODE: 0009299OPPO

R26 Opposition filed (corrected)

Opponent name: VOSSLOH SWITCH SYSTEMS FRANCE

Effective date: 20230203