EP3623112B1 - Aufbewahrungseinrichtung und verfahren zu ihrer nutzung - Google Patents

Aufbewahrungseinrichtung und verfahren zu ihrer nutzung Download PDF

Info

Publication number
EP3623112B1
EP3623112B1 EP19191675.8A EP19191675A EP3623112B1 EP 3623112 B1 EP3623112 B1 EP 3623112B1 EP 19191675 A EP19191675 A EP 19191675A EP 3623112 B1 EP3623112 B1 EP 3623112B1
Authority
EP
European Patent Office
Prior art keywords
card
housing
container
wall
information carrier
Prior art date
Legal status (The legal status is an assumption and is not a legal conclusion. Google has not performed a legal analysis and makes no representation as to the accuracy of the status listed.)
Active
Application number
EP19191675.8A
Other languages
English (en)
French (fr)
Other versions
EP3623112C0 (de
EP3623112A1 (de
Inventor
Edwin Bunnik
Timo Kuhls
Current Assignee (The listed assignees may be inaccurate. Google has not performed a legal analysis and makes no representation or warranty as to the accuracy of the list.)
Tanos GmbH
Original Assignee
Tanos GmbH Verpacken Ordnen Praesentieren
Priority date (The priority date is an assumption and is not a legal conclusion. Google has not performed a legal analysis and makes no representation as to the accuracy of the date listed.)
Filing date
Publication date
Application filed by Tanos GmbH Verpacken Ordnen Praesentieren filed Critical Tanos GmbH Verpacken Ordnen Praesentieren
Publication of EP3623112A1 publication Critical patent/EP3623112A1/de
Application granted granted Critical
Publication of EP3623112C0 publication Critical patent/EP3623112C0/de
Publication of EP3623112B1 publication Critical patent/EP3623112B1/de
Active legal-status Critical Current
Anticipated expiration legal-status Critical

Links

Images

Classifications

    • BPERFORMING OPERATIONS; TRANSPORTING
    • B25HAND TOOLS; PORTABLE POWER-DRIVEN TOOLS; MANIPULATORS
    • B25HWORKSHOP EQUIPMENT, e.g. FOR MARKING-OUT WORK; STORAGE MEANS FOR WORKSHOPS
    • B25H3/00Storage means or arrangements for workshops facilitating access to, or handling of, work tools or instruments
    • B25H3/02Boxes

Definitions

  • the invention further relates to a method for inserting and removing an information carrier card into a card holder and from a card holder in a storage device of the aforementioned type.
  • One from the DE 91 11 986 U1 Known storage device of this type has a container housing made of a metal sheet, in the walls of which shallow recesses are pressed, in which U-shaped profiled holding rails sit, which are used to hold labels.
  • One from the EP 2 485 874 B1 Known storage device comprises a storage container, the container housing of which has a rectangular contoured box-shaped housing base and a housing cover pivotably mounted on the housing base.
  • a storage container the container housing of which has a rectangular contoured box-shaped housing base and a housing cover pivotably mounted on the housing base.
  • card receptacles designed in a shaft-like manner are designed for the detachable insertion of an information carrier card designed in credit card format.
  • the card holder is delimited on its top side by an upper edge surface which is formed by a projection of the housing cover.
  • the housing cover When the housing cover is swiveled up, this upper edge surface is removed from the card holder, so that an upward-pointing insertion opening in the card holder is exposed, through which the information carrier card can be inserted as required to assume a use position or pulled out to assume a standby position.
  • the information carrier card In the inserted position of use, the information carrier card is inserted with its two side card edge sections into a holding slot, which is in the area of the side edge surfaces of the card holder by a holding rib between the base area of the card holder and a holding rib positioned at a distance in front of it is defined.
  • a certain problem is associated with the card holders in that they impair the stability of the housing wall of the container housing.
  • the invention is based on the object of taking measures which, in conjunction with good handling of the information carrier card, ensure improved stability of a container housing equipped with at least one card holder.
  • the container housing is made of plastic, with each holding rib being formed in one piece with one of the two side frame legs and being formed on the long side facing the card holder and with only the Lower edge surface of the card holder defining lower frame legs of the boundary frame has an engagement recess, the boundary frame otherwise being uninterrupted.
  • the card holder apart from the engagement recess, is framed by a self-contained boundary frame, which is formed in its entirety on a one-piece wall section of the housing wall and is therefore not composed of components of several separate container components.
  • the boundary frame stiffens the housing wall, which ensures high stability for the housing wall despite the provision of a card holder. Since the engagement recess only has to allow the engagement of a fingertip, its width can be limited to a finger's width, so that the boundary frame has only a slight interruption that does not have a detrimental effect on the stabilization function.
  • the information carrier card can be easily inserted into its position of use and, if necessary, pulled out again into the ready position that is separate from the container housing.
  • an information carrier card is used that has bending-elastic properties so that it has a high level of flexibility. It consists in particular of an elastic plastic material, for example PVC.
  • the two side retaining ribs are shorter than the side edge surfaces of the card holder, so that they end at a distance in front of the upper edge surface of the card holder, the gap thus formed defining a card insertion gap which allows the information carrier card to be inserted through the card holder in conjunction with a bending process Insert the card insertion gap from above into the two holding slots.
  • the free space between the two holding ribs acts as a viewing opening through which the information carrier card can be recognized and which makes it possible to read information applied to the information carrier card.
  • Removing the inserted information carrier card is again associated with an elastic bending process, but is not carried out by pushing it out through the card insertion gap, but rather towards the front directly through the viewing opening.
  • the engagement recess formed in the boundary frame allows a user to insert the fingertip of a finger into the card holder and there into the area behind the inserted information carrier card and simultaneously or subsequently act on the back of the information carrier card. This can then be pulled forward through the viewing opening.
  • the engagement recess is located exclusively in a lower frame leg of the boundary frame that defines the lower edge surface of the card holder. Otherwise, the bounding box is uninterrupted. In this way, the two card insertion columns are arranged adjacent to the upper edge surface of the card holder, while the engagement recess is located in the area of the opposite lower edge surface of the card holder. This makes it easier to pull out the information carrier card because its side edges are supported in the holding slots in the height range in which manual pressure is exerted from the back when pulling it out, and an optimal curvature process can therefore be formed. Between each retaining rib and The engagement recess extends one of two length sections of the lower frame leg, referred to as frame leg sections.
  • the information carrier card is preferably the size of a so-called credit card, as is often used as a bank card or credit card.
  • it has the ID-1 format in accordance with the ISO/IEC 7810 standard.
  • the outline of the card holder is adapted to this format, so that the information carrier card is reliably fixed in place so that it cannot be lost.
  • the card holder is preferably designed in the housing wall of the container housing in such a way that the upper edge surface lies vertically at the top in a usual position of use of the storage container.
  • the card holder can be designed with any orientation in the housing wall, for example in such a way that its upper edge surface is arranged laterally or at the bottom in a usual position of use of the storage container.
  • the length of the engagement recess is preferably limited to the functionally required minimum. On both sides of the engagement recess there is a length section of the upper or lower frame leg of the boundary frame that has the engagement recess. These two Length sections of the frame leg extend along the viewing opening.
  • the engagement recess is arranged centrally between the two side edge surfaces of the card holder, so that length sections of the associated frame leg of the boundary frame of equal length adjoin on both sides of the engagement recess.
  • the holding ribs extend on their underside opposite the upper end face to the lower edge surface of the card holder, where they expediently merge into the lower edge surface in one piece.
  • each card insertion gap is preferably 25% to 35%, preferably 30%, of the length of a lateral edge surface. It is considered expedient if the length of the card insertion gap is in the range of 25% to 35% of the length of the associated lateral edge surface.
  • At least the upper edge surface and the lower edge surface of the card holder are expediently formed on a frame leg of the boundary frame, which protrudes from the housing wall as a rib-like projection.
  • the information carrier card can carry any information that is necessary or appropriate for the use of the associated storage container. For example, it may carry content information regarding one or more objects stored in the storage room. Such information can, for example, be printed on the card surface so that it can be read visually through the viewing window when the information carrier card is in the position of use. Such information can be implemented alphanumeric or using an electronically readable code. At least one piece of information can alternatively or additionally also be contained in a wirelessly readable electronic component of the information carrier card, for example in a transponder suitable for so-called RFID technology.
  • the container housing preferably has an at least essentially rectangular floor plan. This promotes space-saving storage, especially in cases where the storage device has several storage containers.
  • the container housing has a lower housing part which has a bottom wall and a peripheral peripheral wall of the housing wall which projects up from the edge of the bottom wall in a height direction of the container housing.
  • the peripheral wall creates an access opening on the top side opposite the bottom wall for the storage room, through which objects can be stored in the storage room and also taken out again.
  • the peripheral wall is composed of a front wall, a rear wall opposite the front wall transversely to the height direction, and two side walls that are opposite one another and each connect the front wall to the rear wall.
  • the lower housing part like in particular the entire container housing, preferably consists of a plastic material.
  • At least one card receptacle is preferably formed on the outside of the peripheral wall of the lower housing part of the container housing. It is preferably located on the front wall. The entire boundary frame is therefore formed in one piece with the peripheral wall.
  • the card receptacle is located on the peripheral wall of the housing part, it is advantageous if the upper edge surface of the card receptacle is formed on a rib-shaped upper frame leg of the boundary frame, which is arranged in the area of the upper side of the peripheral wall oriented in the height direction and functions as a stiffening rib of the peripheral wall .
  • the one-piece design between this upper frame leg and the peripheral wall causes the peripheral wall to be stiffened at the upper edge of the card holder, particularly even when the access opening is uncovered.
  • the container housing can be the only housing part that has the lower housing part. In this case, the access opening remains open at all times.
  • the container housing contains, in addition to the lower housing part, a housing cover which is attached to the Lower housing part is pivotally mounted about a pivot axis perpendicular to the height direction, so that it can be pivoted either into a closed position covering the access opening and into at least one open position releasing the access opening.
  • the boundary frame of the card holder is formed integrally with a one-piece wall section of the housing wall of the lower housing part, i.e. is located in its entirety on the peripheral wall, the peripheral wall maintains a high level of rigidity regardless of whether the housing cover occupies the closed position or an open position.
  • the housing cover has no limitation function with regard to the card holder.
  • the information carrier card placed in the card holder is therefore always fixed with the same reliability, regardless of the position of the housing cover.
  • the container housing is designed such that the housing cover can be releasably locked to the lower housing part in the closed position.
  • Corresponding locking means are expediently located on the outside of the front of the container housing. They include, for example, a rotating latch.
  • the container housing has an upper handle on the outside on a top side pointing in a height direction, which can be grasped with one hand.
  • This upper handle can in principle be designed to be rigid, but is expediently pivotally mounted on the container housing in such a way that it can optionally be pivoted into a non-use position pivoted towards the container housing or can be pivoted into a position of use that is pivoted away from the container housing and projects upwards.
  • the storage container has a housing lid
  • the upper handle is arranged on the outside of the housing lid. If the housing cover is pivoted into an open position, the upper handle follows the pivoting movement.
  • the container housing can have a front handle on the outside on a front side oriented at right angles to the height direction of the container housing.
  • the front handle can be immovably attached to the container housing, but is preferably pivotally mounted so that it can be positioned either in a non-use position pivoted towards the container housing or in a use position pivoted away from the container housing. If the container housing has a lower housing part, the front handle is expediently located exclusively on the lower housing part, regardless of whether a housing cover is arranged thereon or not.
  • Optimum variability in handling a storage container is achieved if both an upper handle and a front handle are arranged on the container housing.
  • the storage device comprises a shelf structure in which the at least one storage container can be accommodated in a pull-out manner when not in use.
  • the storage container has a guide device on the outside of the container housing, which fits together with a counter-guide device arranged on the shelf structure and also belonging to the storage device.
  • both the guide device and the counter-guide device are structured like a rail and engage in one another in a linearly displaceable manner, which facilitates the storage container being easily pulled out or pushed in from the shelf structure or into the shelf structure.
  • the storage facility can only contain a single storage container. However, it is advantageous if it includes several storage containers that can be stacked on top of one another in a height direction. This means they can be stored to save space.
  • each of the several stackable storage containers has a lower coupling device on its container housing in the area of the underside and an upper coupling device in the area of the top, these two coupling devices being adapted to one another in such a way that storage containers stacked directly on top of one another in a height direction can be stored by the interaction of the upper ones Coupling device of the respective lower storage container and the lower coupling device of the respective upper storage container can be releasably coupled to one another in a manner that cannot be detached from one another.
  • the storage containers have a lower housing part and a housing cover that can be pivoted in this regard, these two components being releasably lockable by locking means in a closed position of the housing cover, it is advantageous if the locking means fulfill a multiple function and are also designed as components of at least one of the coupling devices.
  • the storage device designated overall by reference number 1, comprises at least one storage container 2 and at least one information carrier card 3 that can be detachably attached to the storage container 2.
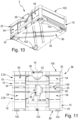
  • the basic structure of the storage container 2 is from the Figures 1 to 10 visible.
  • the Figure 11 shows two storage containers 2 of the storage device 1 in a state stacked on top of one another to form a container stack 98.
  • the storage device 1 can in principle contain either only a single storage container 2 or several storage containers 2.
  • Several storage containers 2 are preferably designed identically or differ as shown in Figure 11 in their height.
  • the information carrier card 3 preferably has a rectangular outline and is in particular the size of a credit card. Their dimensions correspond in particular to the ID-1 format according to the ISO/IEC 7810 standard. However, other dimensions are also possible.
  • the information carrier card 3 consists of a flexible material, in particular a plastic material and preferably PVC. It has two opposing main card surfaces 4, which are also referred to below as the front main card surface 4a and the rear main card surface 4b for special distinction.
  • the card surface 5 of at least one of the main card surfaces 4a, 4b, in particular that of the front main card surface 4a is provided with information 6, which is only indicated schematically in the drawing, which is preferably printed, but in principle can also be attached in another way.
  • the information 6 is, for example, related to the use of the storage container 2 Information, for example information about the contents of the storage container 2.
  • the information carrier card 3 can additionally or alternatively have at least one in Figure 3 indicated electronic component 7 contained in which information is stored which can be read out wirelessly using a suitable receiver system.
  • This electronic component 7 is, for example, the transponder of an RFID system.
  • the information carrier card 3 has two mutually perpendicular first and second card main axes 8, 9 lying in the card plane. On the two opposite sides, oriented in the axial direction of the first card main axis 8, the information carrier card 3 each has one in the axial direction
  • the information carrier card 3 also has, on a side pointing in the axial direction of the second card main axis 9, an upper card edge section 13 which extends between the side card edge sections 12 and an upper card edge section 13 which extends between the side card edge sections 12 and an upper card edge section 12 which extends on the second main card axis 9
  • Lower card edge section 14 assigned to the edge area of the information carrier card 3 and also extending between the two side card edge sections 12.
  • the information carrier card 3 In its undeformed basic state, the information carrier card 3 has a flat dimension. It then extends in a map plane spanned by the two main map axes 8, 9. Even with slight manual force, the information carrier card 3 can be elastically bent so that it has a curved shape in which the first card main axis 8 is curved in an arc and the mutual distance between the two sides Card edge sections 12 are smaller than in the undeformed basic state.
  • the information carrier card 3 When the manual deforming force is removed, the information carrier card 3 returns to the flat, undeformed basic state due to its elasticity.
  • the storage container 2 has a container housing 15 with a vertical axis 16, a longitudinal axis 17 perpendicular thereto and a transverse axis 18 which is perpendicular to both the vertical axis 16 and the longitudinal axis 17.
  • the axial direction of the vertical axis 16 defines a height direction designated by the same reference number 16, while the Axial direction of the longitudinal axis 17 defines a longitudinal direction 17 and the axial direction of the transverse axis 18 defines a transverse direction 18 of the container housing 15.
  • the dimensions in the height direction 16 determine a height
  • the dimensions in the longitudinal direction 17 determine a depth
  • the dimensions in the transverse direction 18 determine a width of the container housing 15.
  • the container housing 15 preferably has a rectangular outline in the plane perpendicular to the vertical axis 16.
  • the container housing 15 has a housing wall 22 which is formed inside the housing Figures 4 and 9 visible storage space 23 limited. Any objects to be stored can be accommodated in the storage space 23, for example tools and in particular power tools.
  • the container housing 15 expediently has a lower housing part 24 and a pivotable part on it Housing cover 25 mounted on the lower housing part 24.
  • the housing wall 22 consists of a bottom wall 26 closing off the storage space 23 on the underside and of a peripheral wall 27 projecting upwards from the outer edge of this bottom wall 26 in the height direction 16.
  • the peripheral wall 27 encloses the storage space 23 around the vertical axis 16, framing an access opening 28 for the storage space 23 on its upper side opposite the bottom wall 26. Objects can be inserted into the storage space 23 and removed from the storage space 23 through the access opening 28.
  • the peripheral wall 27, which is integral with the bottom wall 26, is composed of a front wall 32, a rear wall 33 opposite the front wall 32 in the longitudinal direction 17, and two side walls 34.
  • the side walls 34 lie opposite each other in the transverse direction 18 and each connect the front wall 32 to the rear wall 33.
  • the housing cover 25 is assigned to the access opening 28 and is mounted on the lower housing part 24 so as to be pivotable about a pivot axis 35 which is perpendicular to the height direction 16, preferably in the area of the rear wall 33.
  • the pivot axis 35 preferably runs in the transverse direction 18.
  • the housing cover 25 can be pivoted either in a closed position resting on the upper edge surface 37 of the peripheral wall 27 and thereby covering the access opening 28 or in at least one open position releasing the access opening 28 and thus also the storage space 23.
  • the Figure 9 shows one Open position, in the other figures the housing cover 25 assumes its closed position.
  • the closed position of the housing cover 25 can expediently be releasably locked.
  • suitable locking means 38 which can be operated manually, can be found, for example, in the area of the front of the container housing 15 assigned to the front wall 25.
  • the locking means 38 include a rotary latch 42 rotatably mounted on the housing cover 25 and a locking projection 43 arranged on the outside of the front wall 32.
  • the rotary latch 42 can be rotated about an axis of rotation 44 that is parallel to the longitudinal axis 17 in the closed position of the housing cover 25 and can be rotated in this way be brought into and out of locking engagement with the associated locking projection 43.
  • the storage container 2 can also be designed without a housing cover 25.
  • the container housing 15 then preferably consists only of the box-shaped lower housing part 24.
  • the storage space 23 is accessible at any time through the constantly open access opening 28.
  • the container housing 15 expediently has an upper handle 45.
  • this upper handle 45 is arranged on the housing cover 25.
  • the upper handle 45 is preferably pivotable relative to the container housing 15, so that it can be positioned either in a non-use position 46 pivoted towards the container housing 15 or in at least one use position 47 pivoted away from the container housing 15 and projecting upwards.
  • the pivoting movement 49 is in Figure 1 indicated by a curved double arrow. The drawing shows the position of use 47 of the upper handle 45 only in Figure 1 shown and indicated there with dash-dotted lines.
  • the upper handle 45 is preferably a bow handle with two handle legs and a connecting web, wherein it is pivotably mounted on the container housing 15, in particular on the housing cover 25, via the two handle legs.
  • the connecting web can be grasped with one hand to carry the storage container 2.
  • the upper handle 45 expediently assumes a position recessed in the housing cover 25 in such a way that it does not protrude beyond an upper cover end surface 48 pointing upwards in the height direction 16.
  • the storage device 1 contains at least one storage container 2, which has a storage space 23 which is delimited by a drawer which can be pulled out of the container housing 15 transversely to the height direction 16.
  • the storage container 2 can be designed overall as a drawer container, which has a fixed upper end wall instead of a pivotable housing cover and has one or more drawers that can be pulled out or pushed in as required.
  • the storage container 2 can also combine both a storage space 23 closed by a housing cover 25 and at least one drawer.
  • the container housing 15 has a front handle 52 on the outside on a front side oriented at right angles to the height direction 16. This is the case in the exemplary embodiment, with the front handle 52 here is arranged on the outside of the front wall 32.
  • the front handle 52 is in addition to the upper handle 45, but can also be present as an alternative to the upper handle 45.
  • the front handle 52 can in principle also be attached to the container housing 15 in a non-pivoting manner. However, it is more advantageous if the front handle 52, which is implemented in the exemplary embodiment, can be pivoted relative to the container housing 15 according to the double arrow 53. It can then either be in a non-use position pivoted towards the outside of the front wall 32 and in an in Figure 9 The use position can be positioned in the use position indicated by dash-dotted lines and pivoted forward away from the front wall 32.
  • each storage container 2 is equipped on the outer surface of the housing wall 22 of its container housing 15 with at least one card holder 54, which makes it possible to hold one of the information carrier cards 3 already mentioned while assuming a position of use.
  • the storage container 2 forms a transport unit together with the at least one information carrier card 3 located in the use position.
  • the card holder 54 is designed in particular as a wall recess into which the information carrier card 3 can be detachably inserted.
  • two card receptacles 54 are located independently of one another on the lower housing part 24 of the container housing 15. Additionally or alternatively, at least one card receptacle 54 could also be formed on the optional housing cover 25.
  • the two card receptacles 54 there are two card receptacles 54 in the outer surface 55 of the front wall 32 of the lower housing part 24 facing away from the storage space 23.
  • the two card receptacles 54 are each assigned to one of the two end regions of the front wall 32 oriented in the transverse direction 18, to which one of the side walls 34 each adjoins .
  • the two card holders 54 are in particular arranged mirror-symmetrically to a reference plane which is spanned by the vertical axis 16 and the longitudinal axis 17.
  • the optional locking means 38 and the optional front handle 52 are preferably located centrally between the two card receptacles 54 which are spaced apart from one another in the transverse direction 18.
  • At least one card holder 54 can also be formed, for example, on at least one of the two side walls 34 or on the rear wall 33. It is also entirely possible to equip the lower housing part 25 with only a single card holder 54. This is then located, for example, on the outside of the front wall 32 or on the outside of one of the two side walls 34.
  • All card receptacles 54 of the storage container 2 are preferably designed to be identical to one another. This applies to the illustrated embodiment.
  • an information carrier card 3 If an information carrier card 3 is located outside a card holder 54, it can be handled independently of the storage container 2, for example for storage or to equip it with the information to be provided 6. This state of the information carrier card 3, which is separate from the storage container 2, is referred to as the ready position of the information carrier card 3 for better differentiation. In contrast, a position of use is spoken of when the information carrier card 3 is captively inserted into a card holder 54 according to its intended purpose.
  • Each card holder 54 has an at least substantially rectangular outline, which is adapted to that of the information carrier card 3 to be held.
  • An information carrier card 3 located in the position of use is supported on all sides in the card plane spanned by the two main card axes 8, 9 by the card holder's peripheral limiting means, which are formed in one piece with the housing wall 22, so that with respect to the housing wall 22 there is little or no Movement play remains.
  • the aforementioned delimitation means consist of an at least essentially rectangular contoured delimitation frame 56, which peripherally frames the card receptacle 54 while specifying its outer contour.
  • the card holder 54 has a vertical axis 57, also referred to as the vertical direction, and a transverse axis 58, also referred to as the transverse direction, whereby it is integrated in particular into the housing wall 22 in such a way that its vertical axis 57 is aligned with the vertical axis 16 of the container housing 15 and its transverse axis 58 is aligned with the transverse axis 18 of the container housing 16 is rectified.
  • the boundary frame 56 has an upper frame leg 62 assigned to and in particular adjacent to the upper edge surface 37 of the peripheral wall 27, which also extends in the transverse direction 58 as well as one closer to it in the height direction 57 Bottom wall 26 lying lower frame leg 63 of the boundary frame 56.
  • the upper frame leg 62 is connected to the lower frame leg 63 by two side frame legs 64, 65 which are spaced apart from one another in the transverse direction 58 and each extend in the height direction 57.
  • the entire boundary frame 56 is formed in one piece with a one-piece wall section 66 of the housing wall 22, which in the exemplary embodiment is formed by a portion of the front wall 32 of the lower housing part 24.
  • the two side frame legs 64, 65 each define a lateral edge surface 67 with their longitudinal sides facing the card receptacle 54.
  • the upper frame leg 62 defines an upper edge surface 68 and the lower one which extends between the two side edge surfaces 67 and also faces the card receptacle 54
  • Frame leg 63 has a lower edge surface 69 pointing upwards towards the card holder 54.
  • the card holder 54 is peripherally bordered by these edge surfaces 67, 68, 69.
  • the boundary frame 56 frames a base area 72 of the card holder 54 formed by a section of the outer surface 55 of the front wall 32. This base area 72 is projected beyond by the boundary frame 56 in a depth direction 59, which, for example, coincides with the longitudinal direction 17 of the container housing 15.
  • a holding rib 74 extends along each of the two lateral edge surfaces 67 and is positioned at a distance in front of the base surface 72 of the card holder 54 in the depth direction 59.
  • Each holding rib 74 is preferably formed in one piece with one of the two side frame legs 64, 64 and on its long side facing the card holder 54 molded.
  • the space between the base surface 72 and a respective holding rib 74 forms a holding slot 73 for the information carrier card 3 in the position of use.
  • the holding slot 73 is open along the side to the card holder 54, so that the information carrier card in the position of use with its two side card edge sections 12 can dip into one of the holding slots 73 in the transverse direction 58. In this way, the information carrier card 3 cannot fall forward out of the card holder 54.
  • the area between the two holding ribs 74 is open. It forms a viewing opening 75 through which the information carrier card 3 positioned in the card holder 54 can be seen. In particular, the viewing opening 75 allows information 6 located on the information carrier card 3 to be read.
  • the viewing opening 75 is limited at the top and bottom by the upper frame leg 62 and the lower frame leg 63.
  • Each holding rib 74 is shorter than the associated lateral edge surface 67 of the card holder 54. Each holding rib 74 is therefore also shorter than each of the two side frame legs 64, 65 of the boundary frame 56.
  • Each holding rib 74 extends starting from the lower frame leg 63 in the height direction 57 towards the upper frame leg 62, but ends before reaching the upper frame leg 62. As a result, a gap remains between the upper end face 76 of a respective holding rib 74 and the section of the upper edge surface 68 opposite in the height direction 57, which will be referred to below as a card insertion gap 77 due to its function.
  • the base area 72 of the card holder 54 is not covered.
  • the base area 72 is covered exclusively by the two holding ribs 74.
  • each retaining rib 74 expediently merge in one piece into the lower edge surface 69 or into the lower frame leg 63.
  • each retaining rib 74 ends on the underside at a distance in front of the lower frame leg 63, although this is preferably only a relatively small distance.
  • the length of the card insertion gap 77 measured in the height direction 57 is expediently only 25% to 35% of the total length of the adjacent lateral edge surface 67 measured in the same direction.
  • a gap length of 30% of the length of the lateral edge surface 67 is considered particularly advantageous .
  • the boundary frame 56 which is formed in one piece with the peripheral wall 27 of the lower housing part 24, is interrupted at one point in the area of the lower edge surface 69 of the card holder 54 by an engagement recess 78 which is spaced from each of the two side edge surfaces 67.
  • the engagement recess 78 divides the lower frame leg 63 into two lower frame leg sections 63a, 63b, each of which extends towards one another in the transverse direction 58 starting from one of the two side frame legs 64, 65, but with end faces 82 facing each other to form the engagement recess 78 end at a distance from each other.
  • the length of the engagement recess 78 measured between these two end faces 82 is smaller than the clear distance between the two holding ribs 74.
  • the boundary frame 56 is interrupted exclusively by the engagement recess 78 and is otherwise uninterrupted and self-contained all around.
  • the base surface 72 of the card holder 54 passes flush through the engagement recess 78 into the section of the outer surface 55 of the front wall 72 which adjoins the lower frame leg 63.
  • the mutually facing end faces 82 are preferably rounded or beveled, such that the length of the engagement recess 78 measured in the transverse direction 58 increases as the distance from the base surface 72 increases.
  • the length of the engagement recess 78 is dimensioned sufficiently large to be able to push a fingertip through from below, with the aim of pulling an information carrier card 3 occupying the position of use out of the card holder 54.
  • the preferred length of the engagement recess 78, measured in the transverse direction 58, is in the range of the width of a human finger. The length is preferably between two and three centimeters.
  • the starting point is the in Figure 1 State shown on the left, in which the information carrier card 3 is in its ready position outside the card holder 54.
  • the information carrier card 3 is adjusted accordingly Figure 5 with its lower map edge section 14 is inserted into the card holder 54 from above at the height of the two card insertion columns 77. Since the base area 72 is recessed with respect to the boundary frame 56, this occurs in connection with an elastic bending of the information carrier card 3 about an area parallel to the first card main axis 8.
  • the information carrier card 3 is concavely curved on the side facing the viewer.
  • the information carrier card 3 is supported all around by the boundary frame 56, with the exception of the slight interruption in the area of the engagement recess 78, and is kept essentially immovable.
  • the holding ribs 74 ensure that the information carrier card 3 cannot fall out to the front.
  • the Figures 7 and 8 show method steps for consciously removing the information carrier card 3 from the card holder 54. This occurs, for example, if the information carrier card 3 is to be replaced due to a change in the container contents.
  • the engagement recess 78 comes into play during the removal process.
  • 85 in. can be passed through it Figure 7 the fingertip of a human finger 86 can be inserted into the card holder 54 from below in such a way that the fingertip 87 according to Figure 8 in the area of the lower card edge section 14 comes to rest behind the information carrier card 3, i.e. between the information carrier card 3 and the base surface 72. Due to the thickness of the finger, this process is associated with an elastic bulging of the information carrier card 3 through the viewing opening 75.
  • the information carrier card 3 is convexly curved outwards about the vertical axis 57 on the side facing the viewer.
  • the finger 86 is pulled away from the container housing 15 in the longitudinal direction 17 according to arrow 88, the information carrier card 3, which is still gripped behind by the fingertip 87, being pulled out of the card holder 54 completely according to arrow 91, with elastic bending through the viewing opening 75.
  • the information carrier card 3 is initially held back in the area of its two side card edge sections 12 by the retaining ribs 74. However, as the curvature increases, the two side card edge sections 12 approach each other to such an extent that the length of the information carrier card 3 measured in the transverse direction 58 is less than the clear width of the viewing opening 75 between the two holding ribs 74. The information carrier card 3 can then be placed between the Snap out of the card holder 54 through both retaining ribs 74.
  • the engagement recess 78 is arranged centrally between the two side edge surfaces 67.
  • the two lower frame leg sections 63a, 63b are of the same length.
  • the formation of the engagement recess 78 in the lower frame leg 63 has the advantage that the housing wall 22 is relatively stiff there due to the relatively large distance from the upper edge surface 37 of the peripheral wall 27 and does not experience any disadvantageous weakening in the structural rigidity due to the interruption of the boundary frame 56.
  • engagement recess 78 could also be provided in the upper frame leg 62.
  • the upper frame leg 62 is expediently formed in the area of the access opening 28, so that in the area of the upper edge surface 37 it forms a stiffening rib that stiffens the peripheral wall 27. It is advantageous if the upper edge surface 37 is at least partially formed on the upper frame leg 62.
  • the design of the card holder 54 increases the rigidity of the housing wall 22 not affected.
  • the peripheral wall 27 has a high level of stability even in the area of the card holders 54, even when the storage container 2 is open.
  • the upper frame leg 62 can be referred to as a rib-like projection of the housing wall 22.
  • the card receptacle 54 is preferably formed inside a channel-like wall recess 92 which is open towards the front of the container housing 15 and which extends outside in the front wall 32 in the height direction 16 over preferably the entire height of the lower housing part 24.
  • the base area 72 of the card holder 54 is formed by a surface section of the preferably flat channel base area 93 of the channel-like wall recess 92.
  • the channel-like wall recess 92 is laterally delimited by two boundary wall sections 94, which are formed by, for example, bead-like partial areas of the peripheral wall 27.
  • the two side frame legs 64, 65 are, for example, each formed directly by a length section of one of the two boundary wall sections 94, with the holding ribs 74 being formed on one of these boundary wall sections 94.
  • the upper frame leg 62 and the lower frame leg 63 which is locally interrupted by the engagement recess 76, run as rib-like projections of the housing wall 22 between the two boundary wall sections 94, protruding forward from the channel base surface 93 in the longitudinal direction 17. Both the upper and lower frame legs 62, 63 as well as the holding ribs 74 expediently do not protrude outwards beyond the channel-like wall recess 92.
  • An advantageous embodiment of the storage device 1 contains an in Figure 3 Shelf structure 95, indicated only schematically by dash-dotted lines, which is designed to store at least one storage container 2 when not in use.
  • the shelf structure 95 offers the possibility of holding the at least one storage container 2 in a drawer-like manner.
  • Such a shelf structure 95 can be installed, for example, in a workshop or in a service vehicle.
  • the storage container 2 has a guide device 96 on the outside of the container housing 15, via which it can be brought into engagement in a detachable, linearly displaceable manner by means of an adapted counter-guide device 97 of the storage device 1 arranged on the shelf structure 95.
  • the guide device 96 includes a guide rail 96a, 96b on the outside of each side wall 34 in the area of the underside of the container.
  • the counter-guide device 97 has two counter-guide rails 97a, 97b, which are arranged at a distance from one another on the shelf structure 95 in such a way that the storage container 2 can be brought into engagement with them from one end face by means of its guide rails 96a, 96b.
  • the guide rails 96a, 96b and the counter-guide rails 97a, 97b are coordinated with one another in such a way that the storage container 2 can be inserted into the shelf structure 95 in its longitudinal direction 17 and can be pulled out of the shelf structure 95.
  • the front handle 52 can be used for this handling.
  • the container housing 15 is made of a plastic material.
  • the guide device 96 is expediently formed in one piece in the lower housing part 24.
  • the storage device 1 preferably contains several of the storage containers 2 described. These storage containers 2 preferably have the same outline in the plane perpendicular to the vertical axis 16. The multiple storage containers 2 can differ from one another in height.
  • a container stack 98 consisting of at least two storage containers 2 stacked on top of one another results, as shown in FIG Figure 11 is shown as an example.
  • an upper container 2, 2a sits with its container underside 99 on the container top 100 of another container 2, 2b arranged underneath.
  • Each storage container 2 expediently has a lower coupling device 102 on its container housing 15 in the area of the container underside 99, which is, for example, in the Figure 10 is designed in an obvious manner.
  • each storage container 2 has an upper coupling device 103 on the container top 100, the preferred embodiment of which Figure 1 is visible.
  • the two coupling devices 102, 103 are adapted to one another in such a way that, through their interaction, the storage containers 2 stacked directly on top of one another can be releasably coupled to one another in a manner that is independent of one another.
  • Such a coupled state is in Figure 10 shown.
  • the container stack 98 can then be moved using the upper handle 45 of the top one Carry and transport the storage container 2 uniformly.
  • the locking means 38 explained above preferably belong at least partially to the two coupling devices 102, 103.
  • the rotary lock 44 can be in one Figure 11
  • the coupling position shown at 104 can be rotated, in which it irremovably couples the two storage containers 2 stacked on top of one another in the area of the front of the container.
  • Further components of the coupling devices 102, 103 are formed in the illustrated embodiment by projections formed on the container bottom 99 and by depressions formed on the container top 100.
  • the projections and depressions engage at least partially in one another in such a way that they overlap or engage behind one another transversely to the height direction 16 and also effect a coupling of two storage containers 2 stacked on top of one another that cannot be removed from one another, in particular in the area of the back of the container.
  • the projections are expediently feet used to place the storage container 2 on a surface.

Landscapes

  • Engineering & Computer Science (AREA)
  • Mechanical Engineering (AREA)
  • Details Of Rigid Or Semi-Rigid Containers (AREA)

Description

  • Die Erfindung betrifft eine Aufbewahrungseinrichtung, mit mindestens einem Aufbewahrungsbehälter, der ein Behältergehäuse mit einer einen Aufbewahrungsraum begrenzenden Gehäusewand aufweist, wobei in der Außenfläche der Gehäusewand mindestens eine einem im Wesentlichen rechteckigen Umriss aufweisende Kartenaufnahme ausgebildet ist, die randseitig zumindest von zwei sich in einer Querrichtung mit Abstand gegenüberliegenden seitlichen Randflächen sowie einer sich zwischen den beiden seitlichen Randflächen erstreckenden oberen Randfläche begrenzt ist, wobei im Bereich der beiden seitlichen Randflächen jeweils eine sich längs der seitlichen Randfläche erstreckende Halterippe angeordnet ist, die einer Grundfläche der Kartenaufnahme mit Abstand vorgelagert ist und gemeinsam mit dieser Grundfläche einen Halteschlitz definiert, und mit mindestens einer bezüglich dem Aufbewahrungsbehälter gesonderten rechteckigen Informationsträgerkarte, die wahlweise in einer Bereitschaftsposition außerhalb der Kartenaufnahme oder in einer in die Kartenaufnahme eingesteckten Gebrauchsposition angeordnet werden kann, wobei sie in der Gebrauchsposition mit einander entgegengesetzten seitlichen Karten-Randabschnitten jeweils in einen der beiden Halteschlitze eintaucht, sodass sie an einem Herausfallen aus der Kartenaufnahme gehindert und durch eine seitlich von den beiden Halterippen begrenzte Sichtöffnung hindurch erkennbar ist,
    • wobei die Kartenaufnahme an ihrer der oberen Randfläche in einer Höhenrichtung mit Abstand gegenüberliegenden Unterseite durch eine sich zwischen den beiden Halterippen erstreckende untere Randfläche begrenzt ist, wobei sämtliche Randflächen der Kartenaufnahme von einem die Kartenaufnahme peripher umrahmenden Begrenzungsrahmen gebildet sind, der einstückig mit einem einstückigen Wandabschnitt der Gehäusewand ausgebildet ist und der einen der oberen Randfläche der Umfangswand zugeordneten, sich in der Querrichtung erstreckenden oberen Rahmenschenkel, einen sich ebenfalls in der Querrichtung erstreckenden unteren Rahmenschenkel und zwei den oberen Rahmenschenkel mit dem unteren Rahmenschenkel verbindende, in der Querrichtung zueinander beabstandete und sich jeweils in der Höhenrichtung erstreckende seitliche Rahmenschenkel aufweist,
    • wobei jede Halterippe kürzer ist als die ihr zugeordnete seitliche Randfläche der Kartenaufnahme und jede Halterippe mit einer oberen Stirnfläche in einem Abstand vor der oberen Randfläche der Kartenaufnahme endet, wobei der dadurch gebildete Zwischenraum jeweils einen Karten-Einführspalt definiert, durch den hindurch die über biegeelastische Eigenschaften verfügende Informationsträgerkarte in Verbindung mit einem reversiblen Biegevorgang unter gleichzeitigem, von oben her erfolgendem Einstecken der seitlichen Karten-Randabschnitte in die Halteschlitze aus der Bereitschaftsposition in die Gebrauchsposition bringbar ist,
    • und wobei der Begrenzungsrahmen im Bereich der unteren Randfläche der Kartenaufnahme lokal durch eine von den beiden seitlichen Randflächen beabstandete Eingriffsaussparung unterbrochen ist, deren Länge geringer ist als der lichte Abstand zwischen den beiden Halterippen und durch die hindurch die in der Gebrauchsposition befindliche Informationsträgerkarte mit einem Finger hintergreifbar und unter elastischem Verbiegen und Auswölben durch die Sichtöffnung hindurch in die Bereitschaftsposition herausziehbar ist.
  • Die Erfindung betrifft ferner ein Verfahren zum Einsetzen und zum Entnehmen einer Informationsträgerkarte in eine Kartenaufnahme und aus einer Kartenaufnahme bei einer Aufbewahrungseinrichtung der vorgenannten Art.
  • Eine aus der DE 91 11 986 U1 bekannte Aufbewahrungseinrichtung dieser Art hat ein aus einem Metallblech bestehendes Behältergehäuse, in dessen Wände flache Vertiefungen eingedrückt sind, in denen U-förmig profilierte Halteschienen sitzen, die zum Festhalten von Etiketten dienen.
  • Eine aus der EP 2 485 874 B1 bekannte Aufbewahrungseinrichtung umfasst einen Aufbewahrungsbehälter, dessen Behältergehäuse ein rechteckig konturiertes kistenförmiges Gehäuseunterteil und einen an dem Gehäuseunterteil verschwenkbar gelagerten Gehäusedeckel aufweist. Außen in einer Vorderwand des Gehäuseunterteils sind schachtartig ausgebildete Kartenaufnahmen zum lösbaren Einstecken je einer im Scheckkartenformat gestalteten Informationsträgerkarte ausgebildet. Die Kartenaufnahme ist an ihrer Oberseite zum Verhindern eines Herausfallens der eingesteckten Informationsträgerkarte durch eine obere Randfläche begrenzt, die von einem Vorsprung des Gehäusedeckels gebildet ist. Bei hochgeschwenktem Gehäusedeckel ist somit diese obere Randfläche von der Kartenaufnahme entfernt, sodass eine nach oben weisende Einstecköffnung der Kartenaufnahme freigegeben ist, durch die hindurch die Informationsträgerkarte nach Bedarf zur Einnahme einer Gebrauchsposition einsteckbar oder zur Einnahme einer Bereitschaftsposition herausziehbar ist. In der eingesteckten Gebrauchsposition ist die Informationsträgerkarte mit ihren beiden seitlichen Karten-Randabschnitten in je einen Halteschlitz eingesteckt, der im Bereich seitlicher Randflächen der Kartenaufnahme durch eine zwischen der Grundfläche der Kartenaufnahme und eine diesbezüglich mit Abstand vorgelagerte Halterippe definiert ist. Eine gewisse Problematik ist mit den Kartenaufnahmen dahingehend verbunden, dass sie die Stabilität der Gehäusewand des Behältergehäuses beeinträchtigen.
  • Der Erfindung liegt die Aufgabe zu Grunde, Maßnahmen zu treffen, die in Verbindung mit einer guten Handhabbarkeit der Informationsträgerkarte eine verbesserte Stabilität eines mit mindestens einer Kartenaufnahme ausgestatteten Behältergehäuses gewährleisten.
  • Zur Lösung dieser Aufgabe ist bei einer Aufbewahrungseinrichtung in Verbindung mit den eingangs genannten Merkmalen erfindungsgemäß vorgesehen, dass das Behältergehäuse aus Kunststoff besteht, wobei jede Halterippe einstückig mit einem der beiden seitlichen Rahmenschenkel ausgebildet und an dessen der Kartenaufnahme zugewandter Längsseite angeformt ist und wobei ausschließlich der die untere Randfläche der Kartenaufnahme definierende untere Rahmenschenkel des Begrenzungsrahmens eine Eingriffsaussparung aufweist, wobei der Begrenzungsrahmen im Übrigen ununterbrochen ist.
  • Die Aufgabe wird ferner bei einem Verfahren der eingangs genannten Art dadurch gelöst,
    • dass die Informationsträgerkarte zum Einsetzen in eine Kartenaufnahme in Verbindung mit einem reversiblen Biegevorgang von oben her durch die Karten-Einführspalte hindurch mit ihren beiden seitlichen Karten-Randabschnitte in die Halteschlitze eingesteckt wird, und dass die Informationsträgerkarte zum Entnehmen aus einer Kartenaufnahme durch die Eingriffsaussparung hindurch mit einem Finger hintergriffen und unter elastischem Verbiegen und Auswölben durch die Sichtöffnung hindurch aus der Kartenaufnahme herausgezogen wird.
  • Auf diese Weise ist die Kartenaufnahme abgesehen von der Eingriffsaussparung durch einen in sich geschlossenen Begrenzungsrahmen umrahmt, der in seiner Gesamtheit an einem einstückigen Wandabschnitt der Gehäusewand ausgebildet ist und sich somit nicht aus Bestandteilen mehrerer gesonderter Behälterbestandteile zusammensetzt. Durch den Begrenzungsrahmen erfährt die Gehäusewand eine Aussteifung, was trotz Bereitstellung einer Kartenaufnahme eine hohe Stabilität für die Gehäusewand gewährleistet. Da die Eingriffsaussparung nur den Eingriff einer Fingerkuppe ermöglichen muss, kann sich ihre Breite auf eine Fingerbreite beschränken, sodass der Begrenzungsrahmen eine nur geringfügige, sich auf die Stabilisierungsfunktion nicht nachteilig auswirkende Unterbrechung hat. Ungeachtet der peripheren rahmenförmigen Begrenzung der Kartenaufnahme kann die Informationsträgerkarte sehr einfach in ihre Gebrauchsposition eingesteckt und bei Bedarf auch wieder in die vom Behältergehäuse getrennte Bereitschaftsposition herausgezogen werden. Hierzu wird eine Informationsträgerkarte verwendet, die über biegeelastische Eigenschaften verfügt sodass sie eine hohe Flexibilität hat. Sie besteht insbesondere aus einem elastischen Kunststoffmaterial, beispielsweise aus PVC. Die beiden seitlichen Halterippen sind kürzer als die seitlichen Randflächen der Kartenaufnahme, sodass sie mit einem Abstand vor der oberen Randfläche der Kartenaufnahme enden, wobei der dadurch gebildete Zwischenraum einen Karten-Einführspalt definiert, der es erlaubt, die Informationsträgerkarte in Verbindung mit einem Biegevorgang durch die Karten-Einführspalte hindurch von oben her in die beiden Halteschlitze einzuschieben. Sobald die Informationsträgerkarte in der Kartenaufnahme sitzt, stützt sie sich in der Höhenrichtung an der oberen und an der unteren Randfläche ab und ist somit verliersicher gehalten. Der zwischen den beiden Halterippen vorhandene Freiraum fungiert als Sichtöffnung, durch die hindurch die Informationsträgerkarte erkennbar ist und die es ermöglicht, auf die Informationsträgerkarte aufgebrachte Informationen abzulesen. Das Entnehmen der eingesteckten Informationsträgerkarte ist wiederum mit einem elastischen Biegevorgang verbunden, erfolgt jedoch nicht durch Herausschieben durch die Karten-Einführspalte hindurch, sondern nach vorne hin unmittelbar durch die Sichtöffnung hindurch. Die in dem Begrenzungsrahmen ausgebildete Eingriffsaussparung erlaubt es einem Nutzer, die Fingerkuppe eines Fingers in die Kartenaufnahme und dort in den hinter der eingesteckten Informationsträgerkarte liegenden Bereich einzuführen und gleichzeitig oder anschließend auf die Rückseite der Informationsträgerkarte einzuwirken. Selbige kann dadurch nach vorne durch die Sichtöffnung hindurch herausgezogen werden. Ermöglicht wird dies dadurch, dass sich der Abstand zwischen den beiden Karten-Randabschnitten aufgrund eines Auswölbens der sich randseitig an den Halterippen abstützenden Informationsträgerkarte verringert, sodass die Informationsträgerkarte an den der Sichtöffnung zugewandten Längsseiten aus den Halteschlitzen heraustreten kann.
  • Die Eingriffsaussparung befindet sich ausschließlich in einem die untere Randfläche der Kartenaufnahme definierenden unteren Rahmenschenkel des Begrenzungsrahmens. Im Übrigen ist der Begrenzungsrahmen ununterbrochen. Auf diese Weise sind die beiden Karten-Einführspalte benachbart zu der oberen Randfläche der Kartenaufnahme angeordnet, während sich die Eingriffsaussparung im Bereich der gegenüberliegenden unteren Randfläche der Kartenaufnahme befindet. Dies erleichtert das Herausziehen der Informationsträgerkarte, weil ihre Seitenränder in demjenigen Höhenbereich, in dem beim Herausziehen von der Rückseite her manueller Druck ausgeübt wird, in den Haltschlitzen abgestützt sind und sich folglich ein optimaler Wölbungsvorgang ausbilden kann. Zwischen jeder Halterippe und der Eingriffsaussparung erstreckt sich einer von zwei als Rahmenschenkelabschnitte bezeichneten Längenabschnitten des unteren Rahmenschenkels.
  • Die Informationsträgerkarte hat vorzugsweise die Größe einer sogenannten Scheckkarte, wie sie häufig als Bankkarte oder Kreditkarte Verwendung findet. Sie hat insbesondere das Format ID-1 gemäß der Norm ISO/IEC 7810. Der Umriss der Kartenaufnahme ist an dieses Format angepasst, sodass die in der Gebrauchsposition eingesteckt Informationsträgerkarte zuverlässig verliersicher fixiert ist.
  • Bevorzugt ist die Kartenaufnahme derart in der Gehäusewand des Behältergehäuses ausgebildet, dass die obere Randfläche in einer üblichen Gebrauchsposition des Aufbewahrungsbehälters vertikal oben liegt. Grundsätzlich kann die Kartenaufnahme aber mit beliebiger Ausrichtung in der Gehäusewand ausgebildet sein, beispielsweise auch derart, dass ihre obere Randfläche in einer üblichen Gebrauchsposition des Aufbewahrungsbehälters seitlich oder unten angeordnet ist.
  • Vorteilhafte Weiterbildungen der Erfindung gehen aus den Unteransprüchen hervor.
  • Die Länge der Eingriffsaussparung ist bevorzugt auf das funktionell erforderliche Mindestmaß beschränkt. Beidseits an die Eingriffsaussparung schließt sich je ein Längenabschnitt des die Eingriffsaussparung aufweisenden oberen oder unteren Rahmenschenkels des Begrenzungsrahmens ans. Diese beiden Längenabschnitte des Rahmenschenkels erstrecken sich entlang der Sichtöffnung. Vorzugsweise ist die Eingriffsaussparung mittig zwischen den beiden seitlichen Randflächen der Kartenaufnahme angeordnet, sodass sich beidseits der Eingriffsaussparung gleich lange Längenabschnitte des zugeordneten Rahmenschenkels des Begrenzungsrahmens anschließen.
  • Es ist von Vorteil, wenn sich die Halterippen an ihrer der oberen Stirnfläche entgegengesetzten Unterseite bis zur unteren Randfläche der Kartenaufnahme erstrecken, wo sie zweckmäßigerweise einstückig in die untere Randfläche übergehen.
  • Bevorzugt beträgt die Länge jedes Karten-Einführspaltes 25% bis 35%, bevorzugt 30% der Länge einer seitlichen Randfläche. Als zweckmäßig wird es erachtet, wenn die Länge des Karten-Einführspaltes im Bereich von 25% bis 35% der Länge der zugeordneten seitlichen Randfläche beträgt.
  • Zumindest die obere Randfläche und die untere Randfläche der Kartenaufnahme sind zweckmäßigerweise an je einem Rahmenschenkel des Begrenzungsrahmens ausgebildet, der als rippenartiger Vorsprung von der Gehäusewand abragt.
  • Die Informationsträgerkarte kann beliebige Informationen tragen, die für die Nutzung des zugeordneten Aufbewahrungsbehälters notwendig oder zweckmäßig sind. Sie kann beispielsweise Inhaltsinformationen bezüglich eines oder mehrerer in dem Aufbewahrungsraum aufbewahrter Objekte tragen. Solche Informationen können beispielsweise auf die Kartenoberfläche aufgedruckt sein, sodass sie in der Gebrauchsposition der Informationsträgerkarte durch das Sichtfenster hindurch visuell abgelesen werden können. Solche Informationen können alphanumerisch oder mittels eines elektronisch auslesbaren Codes realisiert sein. Mindestens eine Information kann alternativ oder zusätzlich auch in einem drahtlos auslesbaren elektronischen Baustein der Informationsträgerkarte enthalten sein, beispielsweise in einem für die sogenannte RFID-Technologie geeigneten Transponder.
  • Bevorzugt hat das Behältergehäuse einen zumindest im Wesentlichen rechteckigen Grundriss. Dies begünstigt eine platzsparende Lagerung, insbesondere auch in Fällen, in denen die Aufbewahrungseinrichtung über mehrere Aufbewahrungsbehälter verfügt.
  • Insbesondere im Zusammenhang mit einem rechteckigen Grundriss des Behältergehäuses ist es vorteilhaft, wenn das Behältergehäuse ein Gehäuseunterteil aufweist, das über eine Bodenwand und eine vom Rand der Bodenwand in einer Höhenrichtung des Behältergehäuses hochragende periphere Umfangswand der Gehäusewand aufweist. Durch die Umfangswand wird an der der Bodenwand entgegengesetzten Oberseite eine Zugriffsöffnung für den Aufbewahrungsraum umrahmt, durch die hindurch Objekte in den Aufbewahrungsraum eingelagert und auch wieder herausgenommen werden können. Die Umfangswand setzt sich aus einer Vorderwand, einer der Vorderwand quer zu der Höhenrichtung gegenüberliegenden Rückwand und zwei sich gegenüberliegenden und jeweils die Vorderwand mit der Rückwand verbindenden Seitenwänden zusammen. Bevorzugt besteht das Gehäuseunterteil wie insbesondere das gesamte Behältergehäuse aus einem Kunststoffmaterial.
  • Mindestens eine Kartenaufnahme ist einschließlich ihrer sämtlichen Randflächen bevorzugt außen an der Umfangswand des Gehäuseunterteils des Behältergehäuses ausgebildet. Sie befindet sich vorzugsweise an der Vorderwand. Der gesamte Begrenzungsrahmen ist somit einstückig mit Umfangswand ausgebildet.
  • Befindet sich die Kartenaufnahme an der Umfangswand des Gehäuseteils, ist es vorteilhaft, wenn die obere Randfläche der Kartenaufnahme an einem rippenförmigen oberen Rahmenschenkel des Begrenzungsrahmens ausgebildet ist, der im Bereich der in der Höhenrichtung orientierten Oberseite der Umfangswand angeordnet ist und als eine Versteifungsrippe der Umfangswand fungiert. Die Einstückigkeit zwischen diesem oberen Rahmenschenkel und der Umfangswand bewirkt eine Aussteifung der Umfangswand am oberen Rand der Kartenaufnahme insbesondere auch dann, wenn die Zugriffsöffnung unabgedeckt ist.
  • Das Behältergehäuse kann als einziges Gehäuseteil über das Gehäuseunterteil verfügen. In diesem Fall bleibt die Zugriffsöffnung ständig offen.
  • Alternativ enthält das Behältergehäuse zusätzlich zu dem Gehäuseunterteil einen Gehäusedeckel, der an dem Gehäuseunterteil um eine zu der Höhenrichtung rechtwinkelige Schwenkachse verschwenkbar gelagert ist, sodass er wahlweise in eine die Zugriffsöffnung abdeckende Schließstellung und in mindestens eine die Zugriffsöffnung freigebende Offenstellung verschwenkbar ist. Da der Begrenzungsrahmen der Kartenaufnahme integral mit einem einstückigen Wandabschnitt der Gehäusewand des Gehäuseunterteils ausgebildet ist, sich also in seiner Gesamtheit an der Umfangswand befindet, behält die Umfangswand eine hohe Steifigkeit unabhängig davon, ob der Gehäusedeckel die Schließstellung oder eine Offenstellung einnimmt.
  • Der Gehäusedeckel hat keine Begrenzungsfunktion bezüglich der Kartenaufnahme. Die in der Kartenaufnahme platzierte Informationsträgerkarte ist somit unabhängig von der Stellung des Gehäusedeckels immer mit der gleichen Zuverlässigkeit fixiert.
  • Vorzugsweise ist das Behältergehäuse so ausgebildet, dass der Gehäusedeckel in der Schließstellung mit dem Gehäuseunterteil lösbar verriegelbar ist. Entsprechende Verriegelungsmittel befinden sich zweckmäßigerweise außen an der Vorderseite des Behältergehäuses. Sie umfassen beispielsweise einen Drehriegel.
  • Für die manuelle Handhabung des mindestens einen Aufbewahrungsbehälters ist es vorteilhaft, wenn sein Behältergehäuse außen an einer in einer Höhenrichtung weisenden Oberseite über einen oberen Handgriff verfügt, der mit einer Hand umgreifbar ist. Dieser obere Handgriff kann prinzipiell starr ausgebildet sein, ist jedoch zweckmäßigerweise derart schwenkbar am Behältergehäuse gelagert, dass er wahlweise in eine an das Behältergehäuse herangeschwenkte Nichtgebrauchsstellung oder in eine vom Behältergehäuse weggeschwenkte und nach oben ragende Gebrauchsstellung verschwenkbar ist.
  • Wenn der Aufbewahrungsbehälter über einen Gehäusedeckel verfügt, ist es zweckmäßig, wenn der obere Handgriff außen an dem Gehäusedeckel angeordnet ist. Wird der Gehäusedeckel in eine Offenstellung verschwenkt, macht der obere Handgriff die Schwenkbewegung mit.
  • Zusätzlich oder alternativ kann das Behältergehäuse außen an einer rechtwinkelig zu der Höhenrichtung des Behältergehäuses orientierten Vorderseite über einen Front-Handgriff verfügen. Der Front-Handgriff kann unbeweglich am Behältergehäuse angebracht sein, ist jedoch vorzugsweise schwenkbar gelagert, sodass er wahlweise in einer an das Behältergehäuse herangeschwenkten Nichtgebrauchsstellung oder in einer vom Behältergehäuse weggeschwenkten Gebrauchsstellung positionierbar ist. Verfügt das Behältergehäuse über ein Gehäuseunterteil, befindet sich der Front-Handgriff zweckmäßigerweise ausschließlich an dem Gehäuseunterteil, und zwar unabhängig davon, ob daran ein Gehäusedeckel angeordnet ist oder nicht.
  • Eine optimale Variabilität bei der Handhabung eines Aufbewahrungsbehälters ist gegeben, wenn am Behältergehäuse sowohl ein oberer Handgriff als auch ein Front-Handgriff angeordnet ist.
  • In einer vorteilhaften Ausgestaltung umfasst die Aufbewahrungseinrichtung eine Regalstruktur, in der der mindestens eine Aufbewahrungsbehälter während seines Nichtgebrauchs in herausziehbarer Weise aufnehmbar ist. In diesem Zusammenhang ist es von Vorteil, wenn der Aufbewahrungsbehälter an der Außenseite des Behältergehäuses eine Führungseinrichtung aufweist, die mit einer an der Regalstruktur angeordneten, ebenfalls zu der Aufbewahrungseinrichtung gehörenden Gegen-Führungseinrichtung zusammenpasst. Bevorzugt sind sowohl die Führungseinrichtung als auch die Gegen-Führungseinrichtung schienenartig strukturiert und greifen linear verschiebbar ineinander ein, was ein leichtgängiges Herausziehen oder Einschieben des Aufbewahrungsbehälters aus der Regalstruktur beziehungsweise in die Regalstruktur begünstigt.
  • Die Aufbewahrungseinrichtung kann nur einen einzigen Aufbewahrungsbehälter enthalten. Vorteilhaft ist es jedoch, wenn sie mehrere Aufbewahrungsbehälter umfasst, die in einer Höhenrichtung aufeinander stapelbar sind. Sie können dadurch platzsparend gelagert werden.
  • Es ist vorteilhaft, wenn jeder der mehreren stapelbaren Aufbewahrungsbehälter an seinem Behältergehäuse im Bereich der Unterseite eine untere Kopplungseinrichtung und im Bereich der Oberseite eine obere Kopplungseinrichtung aufweist, wobei diese beiden Kopplungseinrichtungen derart aneinander angepasst sind, dass in einer Höhenrichtung unmittelbar aufeinandergestapelte Aufbewahrungsbehälter durch Zusammenwirken der oberen Kopplungseinrichtung des jeweils unteren Aufbewahrungsbehälters und der unteren Kopplungseinrichtung des jeweils oberen Aufbewahrungsbehälters in voneinander unabhebbarer Weise lösbar miteinander koppelbar sind.
  • Wenn die Aufbewahrungsbehälter ein Gehäuseunterteil und einen diesbezüglich verschwenkbaren Gehäusedeckel aufweisen, wobei diese beiden Komponenten durch Verriegelungsmittel in einer Schließstellung des Gehäusedeckels lösbar verriegelbar sind, ist es vorteilhaft, wenn die Verriegelungsmittel eine Mehrfachfunktion erfüllen und auch als Bestandteile mindestens einer der Kopplungseinrichtungen ausgebildet sind.
  • Nachfolgend wird die Erfindung anhand der beiliegenden Zeichnungen näher erläutert. In dieser zeigen:
  • Figur 1
    eine bevorzugte erste Ausführungsform der erfindungsgemäßen Aufbewahrungseinrichtung mit einem perspektivisch abgebildeten Aufbewahrungsbehälter und zwei Informationsträgerkarten, wobei eine der Informationsträgerkarten in der am Aufbewahrungsbehälter fixierten Gebrauchsposition und eine weitere Informationsträgerkarte in einer vom Aufbewahrungsbehälter entfernten Bereitschaftsposition gezeigt ist,
    Figur 2
    den in Figur 1 strichpunktierten Ausschnitt II in einer vergrößerten Darstellung, wobei strichpunktiert eine die Gebrauchsposition einnehmende Informationsträgerkarte angedeutet ist,
    Figur 3
    eine Vorderansicht des Aufbewahrungsbehälters aus Figur 1 mit Blickrichtung gemäß Pfeil III aus Figur 1,
    Figur 4
    eine partielle Schnittdarstellung des Aufbewahrungsbehälters gemäß Schnittlinie IV-IV in Figur 3 im Bereich einer der Kartenaufnahmen, wobei eine in die Gebrauchsposition in der Kartenaufnahme befindliche Informationsträgerkarte strichpunktiert angedeutet ist,
    Figuren 5 und 6
    den in Figur 1 strichpunktiert umrahmten Ausschnitt II im Zusammenhang mit zwei aufeinanderfolgenden Phasen des Vorgangs des Einsteckens der Informationsträgerkarte in die Gebrauchsposition,
    Figur 7
    in einer den Figuren 5 und 6 entsprechenden Darstellungsweise den Zustand einer ihre Gebrauchsposition in der Kartenaufnahme einnehmenden Informationsträgerkarte im Moment des Ansetzens eines schematisch angedeuteten Fingers im Bereich der Eingriffsaussparung zum Zwecke des Entnehmens der Informationsträgerkarte,
    Figur 8
    in einer der Figur 7 entsprechenden Darstellungsweise den Vorgang des Entnehmens einer Informationsträgerkarte durch Herausziehen aus der Kartenaufnahme mittels eines durch die Eingriffseinsparung hindurch hinter die Informationsträgerkarte greifenden Fingers,
    Figur 9
    eine isometrische Darstellung eines Aufbewahrungsbehälters der Aufbewahrungseinrichtung im in eine Offenstellung verschwenktem Zustand des Gehäusedeckels,
    Figur 10
    eine perspektivische Unteransicht des Aufbewahrungsbehälters, und
    Figur 11
    einen aus zwei aufeinandergestapelten und vertikal unabhebbar miteinander gekoppelten Aufbewahrungsbehältern der Aufbewahrungseinrichtung bestehenden Behälterstapel, wobei wie in den Figuren 9 und 10 die vorhandenen Kartenaufnahmen unbestückt sind und wobei die beiden Aufbewahrungsbehälter abgesehen von einer unterschiedlichen Bauhöhe identisch ausgebildet sind.
  • Die insgesamt mit Bezugsziffer 1 bezeichnete Aufbewahrungseinrichtung umfasst mindestens einen Aufbewahrungsbehälter 2 und mindestens eine lösbar an dem Aufbewahrungsbehälter 2 anbringbare Informationsträgerkarte 3. Der grundsätzliche Aufbau der Aufbewahrungsbehälter 2 ist aus den Figuren 1 bis 10 ersichtlich. Die Figur 11 zeigt zwei Aufbewahrungsbehälter 2 der Aufbewahrungseinrichtung 1 in einem unter Bildung eines Behälterstapels 98 aufeinandergestapelten Zustand.
  • Die Aufbewahrungseinrichtung 1 kann grundsätzlich entweder nur einen einzigen Aufbewahrungsbehälter 2 oder auch mehrere Aufbewahrungsbehälter 2 enthalten. Mehrere Aufbewahrungsbehälter 2 sind vorzugsweise identisch ausgebildet oder unterscheiden sich entsprechend der Darstellung in Figur 11 in ihrer Höhe.
  • Die Informationsträgerkarte 3 hat vorzugsweise einen rechteckigen Umriss und ist insbesondere in der Größe einer Scheckkarte ausgeführt. Ihre Abmessungen entsprechen insbesondere dem Format ID-1 gemäß der Norm ISO/IEC 7810. Andere Abmessungen sind jedoch ebenfalls möglich.
  • Die Informationsträgerkarte 3 besteht aus einem biegeelastischen Material, insbesondere aus einem Kunststoffmaterial und bevorzugt aus PVC. Sie hat zwei einander entgegengesetzte Kartenhauptflächen 4, die im Folgenden zur besonderen Unterscheidung auch als vordere Kartenhauptfläche 4a und als hintere Kartenhauptfläche 4b bezeichnet werden. Bevorzugt ist die Kartenoberfläche 5 mindestens einer der Kartenhauptflächen 4a, 4b, insbesondere diejenige der vorderen Kartenhauptfläche 4a, mit in der Zeichnung nur schematisch angedeuteten Informationen 6 versehen, die bevorzugt aufgedruckt sind, grundsätzlich aber auch auf andere Weise angebracht sein können. Bei den Informationen 6 handelt es sich beispielsweise um sich auf die Nutzung des Aufbewahrungsbehälters 2 beziehende Informationen, beispielsweise Informationen über einen Inhalt des Aufbewahrungsbehälters 2.
  • Die Informationsträgerkarte 3 kann zusätzlich oder alternativ mindestens einen nur in Figur 3 angedeuteten elektronischen Baustein 7 enthalten, in dem Informationen abgespeichert sind die mittels eines geeigneten Empfängersystems drahtlos auslesbar sind. Bei diesem elektronischen Baustein 7 handelt es sich beispielsweise um den Transponder eines RFID-Systems.
  • Die Informationsträgerkarte 3 hat zwei in der Kartenebene liegende, zueinander rechtwinkelige erste und zweite Karten-Hauptachsen 8, 9. An den beiden einander entgegengesetzten, in der Achsrichtung der ersten Karten-Hauptachse 8 orientierten Seiten hat die Informationsträgerkarte 3 jeweils einen sich in der Achsrichtung der zweiten Karten-Hauptachse 9 erstreckenden seitlichen Karten-Randabschnitt 12. Die Informationsträgerkarte 3 hat außerdem an einer in der Achsrichtung der zweiten Karten-Hauptachse 9 weisenden Seite einen sich zwischen den seitlichen Karten-Randabschnitten 12 erstreckenden oberen Karten-Randabschnitt 13 und einem dem diesbezüglich entgegengesetzten Randbereich der Informationsträgerkarte 3 zugeordneten, sich ebenfalls zwischen den beiden seitlichen Karten-Randabschnitten 12 erstreckenden unteren Karten-Randabschnitt 14.
  • In ihrem unverformten Grundzustand hat die Informationsträgerkarte 3 eine ebene Ausdehnung. Sie erstreckt sich dann in einer durch die beiden Karten-Hauptachsen 8, 9 aufgespannten Kartenebene. Schon mit geringfügiger manueller Krafteinwirkung ist die Informationsträgerkarte 3 jedoch elastisch in sich verbiegbar, sodass sie eine gekrümmte Form aufweist, in der die erste Karten-Hauptachse 8 bogenförmig gekrümmt ist und der gegenseitige Abstand zwischen den beiden seitlichen Karten-Randabschnitten 12 kleiner ist als im unverformten Grundzustand. Dieser im Folgenden auch als ausgewölbter Zustand bezeichnete Zustand der Informationsträgerkarte 3 ist in Figur 8 ersichtlich.
  • Bei Wegnahme der manuellen Verformungskraft kehrt die Informationsträgerkarte 3 aufgrund ihrer Elastizität in den ebenen, unverformten Grundzustand zurück.
  • Der Aufbewahrungsbehälter 2 hat ein Behältergehäuse 15 mit einer Hochachse 16, einer dazu rechtwinkeligen Längsachse 17 und einer zu sowohl der Hochachse 16 als auch der Längsachse 17 rechtwinkeligen Querachse 18. Die Achsrichtung der Hochachse 16 definiert eine mit dem gleichen Bezugszeichen 16 bezeichnete Höhenrichtung, während die Achsrichtung der Längsachse 17 eine Längsrichtung 17 und die Achsrichtung der Querachse 18 eine Querrichtung 18 des Behältergehäuses 15 definiert. Exemplarisch bestimmen die Abmessungen in der Höhenrichtung 16 eine Höhe, die Abmessungen in der Längsrichtung 17 eine Tiefe und die Abmessungen in der Querrichtung 18 eine Breite des Behältergehäuses 15.
  • Bevorzugt hat das Behältergehäuse 15 in der zur Hochachse 16 rechtwinkeligen Ebene einen rechteckigen Umriss.
  • Das Behältergehäuse 15 hat eine Gehäusewand 22, die einen im Gehäuseinnern ausgebildeten, aus Figuren 4 und 9 ersichtlichen Aufbewahrungsraum 23 begrenzt. In dem Aufbewahrungsraum 23 können beliebige aufzubewahrende Objekte untergebracht werden, beispielsweise Werkzeuge und insbesondere Elektrowerkzeuge.
  • Zweckmäßigerweise hat das Behältergehäuse 15 ein Gehäuseunterteil 24 und einen schwenkbeweglich an dem Gehäuseunterteil 24 gelagerten Gehäusedeckel 25. Die Gehäusewand 22 besteht bei dem bevorzugt kistenförmigen Gehäuseunterteil 24 aus einer den Aufbewahrungsraum 23 an der Unterseite abschließenden Bodenwand 26 und aus einer vom äu-ßeren Rand dieser Bodenwand 26 in der Höhenrichtung 16 nach oben ragenden Umfangswand 27. Die Umfangswand 27 umschließt den Aufbewahrungsraum 23 rings um die Hochachse 16 herum, wobei sie an ihrer der Bodenwand 26 entgegengesetzten Oberseite eine Zugriffsöffnung 28 für den Aufbewahrungsraum 23 umrahmt. Durch die Zugriffsöffnung 28 hindurch können Objekte in den Aufbewahrungsraum 23 eingelegt und aus dem Aufbewahrungsraum 23 herausgenommen werden.
  • Die mit der Bodenwand 26 einstückige Umfangswand 27 setzt sich aus einer Vorderwand 32, einer der Vorderwand 32 in der Längsrichtung 17 gegenüberliegenden Rückwand 33 und zwei Seitenwänden 34 zusammen. Die Seitenwände 34 liegen sich in der Querrichtung 18 gegenüber und verbinden jeweils die Vorderwand 32 mit der Rückwand 33.
  • Der Gehäusedeckel 25 ist der Zugriffsöffnung 28 zugeordnet und ist, bevorzugt im Bereich der Rückwand 33, um eine zu der Höhenrichtung 16 rechtwinkelige Schwenkachse 35 verschwenkbar an dem Gehäuseunterteil 24 gelagert. Die Schwenkachse 35 verläuft bevorzugt in der Querrichtung 18.
  • Im Rahmen einer in Figur 9 durch einen Doppelpfeil angedeuteten Schwenkbewegung 36 kann der Gehäusedeckel 25 wahlweise in einer auf der oberen Randfläche 37 der Umfangswand 27 aufliegenden und dadurch die Zugriffsöffnung 28 abdeckenden Schließstellung oder in mindestens einer die Zugriffsöffnung 28 und somit auch den Aufbewahrungsraum 23 freigebenden Offenstellung verschwenkt werden. Die Figur 9 zeigt eine solche Offenstellung, in den anderen Figuren nimmt der Gehäusedeckel 25 jeweils seine Schließstellung ein.
  • Die Schließstellung des Gehäusedeckels 25 ist zweckmäßigerweise lösbar verriegelbar. Hierzu finden sich exemplarisch im Bereich der der Vorderwand 25 zugeordneten Vorderseite des Behältergehäuses 15 geeignete Verriegelungsmittel 38, die manuell betätigbar sind. Exemplarisch umfassen die Verriegelungsmittel 38 einen am Gehäusedeckel 25 drehbar gelagerten Drehriegel 42 und einen außen an der Vorderwand 32 angeordneten Verriegelungsvorsprung 43. Der Drehriegel 42 ist um eine in der Schließstellung des Gehäusedeckels 25 zu der Längsachse 17 parallele Drehachse 44 verdrehbar und kann auf diese Weise wahlweise in und außer Verriegelungseingriff mit dem zugeordneten Verriegelungsvorsprung 43 gebracht werden.
  • Gemäß einem nicht illustrierten Ausführungsbeispiel kann der Aufbewahrungsbehälter 2 auch ohne Gehäusedeckel 25 ausgeführt sein. Das Behältergehäuse 15 besteht dann bevorzugt nur aus dem kistenförmigen Gehäuseunterteil 24. In diesem Fall ist der Aufbewahrungsraum 23 durch die ständig offene Zugriffsöffnung 28 hindurch jederzeit zugänglich.
  • Außen an der in der Höhenrichtung 16 orientierten Oberseite weist das Behältergehäuse 15 zweckmäßigerweise einen oberen Handgriff 45 auf. Exemplarisch ist dieser obere Handgriff 45 am Gehäusedeckel 25 angeordnet. Bevorzugt ist der obere Handgriff 45 relativ zum Behältergehäuse 15 verschwenkbar, sodass er wahlweise in einer an das Behältergehäuse 15 herangeschwenkten Nichtgebrauchsstellung 46 oder in mindestens einer vom Behältergehäuse 15 weggeschwenkten und nach oben ragenden Gebrauchsstellung 47 positionierbar ist. Die Schwenkbewegung 49 ist in Figur 1 durch einen gekrümmten Doppelpfeil angedeutet. In der Zeichnung ist die Gebrauchsstellung 47 des oberen Handgriffes 45 nur in Figur 1 gezeigt und dort strichpunktiert angedeutet.
  • Der obere Handgriff 45 ist bevorzugt ein Bügelgriff mit zwei Griffschenkeln und einem Verbindungssteg, wobei er über die beiden Griffschenkel am Behältergehäuse 15, insbesondere an dem Gehäusedeckel 25 verschwenkbar gelagert ist. Der Verbindungssteg ist zum Tragen des Aufbewahrungsbehälters 2 mit einer Hand umgreifbar.
  • Der obere Handgriff 45 nimmt in der Nichtgebrauchsstellung 46 zweckmäßigerweise eine in dem Gehäusedeckel 25 derart versenkte Position ein, dass er nicht über eine in der Höhenrichtung 16 nach oben weisende obere Deckelabschlussfläche 48 hinausragt.
  • Bei einem nicht gezeigten Ausführungsbeispiel enthält die Aufbewahrungseinrichtung 1 mindestens einen Aufbewahrungsbehälter 2, der einen Aufbewahrungsraum 23 hat, der durch eine quer zu der Höhenrichtung 16 aus dem Behältergehäuse 15 herausziehbare Schublade begrenzt ist. Der Aufbewahrungsbehälter 2 kann insgesamt als ein Schubladenbehälter ausgeführt sein, der anstelle eines verschwenkbaren Gehäusedeckels eine feststehende obere Abschlusswand aufweist und über eine oder mehrere nach Bedarf herausziehbare oder einschiebbare Schubladen verfügt. Der Aufbewahrungsbehälter 2 kann auch kombiniert sowohl einen durch einen Gehäusedeckel 25 verschlossenen Aufbewahrungsraum 23 als auch mindestens eine Schublade umfassen.
  • Von Vorteil ist es, wenn das Behältergehäuse 15 außen an einer rechtwinkelig zu der Höhenrichtung 16 orientierten Vorderseite einen Front-Handgriff 52 aufweist. Beim Ausführungsbeispiel ist dies der Fall, wobei der Front-Handgriff 52 hier außen an der Vorderwand 32 angeordnet ist. Der Front-Handgriff 52 ist zusätzlich zu dem oberen Handgriff 45 vorhanden, kann aber auch alternativ zu dem oberen Handgriff 45 vorhanden sein.
  • Wie der obere Handgriff 45 kann auch der Front-Handgriff 52 prinzipiell unverschwenkbar fest am Behältergehäuse 15 angebracht sein. Vorteilhafter ist es jedoch, wenn der Front-Handgriff 52, was beim Ausführungsbeispiel realisiert ist, relativ zum Behältergehäuse 15 gemäß Doppelpfeil 53 verschwenkbar ist. Er kann dann wahlweise in einer außen an die Vorderwand 32 herangeschwenkten Nichtgebrauchsstellung und in einer in Figur 9 strichpunktiert angedeuteten, nach vorne von der Vorderwand 32 weggeschwenkten Gebrauchsstellung positioniert werden.
  • Zur Information über beispielsweise dem Inhalt und/oder den Verwendungszweck ist jeder Aufbewahrungsbehälter 2 an der Außenfläche der Gehäusewand 22 seines Behältergehäuses 15 mit mindestens einer Kartenaufnahme 54 ausgestattet, die es ermöglicht, eine der schon erwähnten Informationsträgerkarten 3 unter Einnahme einer Gebrauchsposition aufzunehmen. Der Aufbewahrungsbehälter 2 bildet zusammen mit der mindestens einen in der Gebrauchsposition befindlichen Informationsträgerkarte 3 eine Transporteinheit. Die Kartenaufnahme 54 ist insbesondere als eine Wandvertiefung ausgebildet, in die die Informationsträgerkarte 3 lösbar einsteckbar ist.
  • Exemplarisch befinden sich unabhängig voneinander zwei Kartenaufnahmen 54 am Gehäuseunterteil 24 des Behältergehäuses 15. Zusätzlich oder alternativ könnte mindestens eine Kartenaufnahme 54 auch an dem optionalen Gehäusedeckel 25 ausgebildet sein.
  • Exemplarisch befinden sich zwei Kartenaufnahmen 54 in der dem Aufbewahrungsraum 23 abgewandten Außenfläche 55 der Vorderwand 32 des Gehäuseunterteils 24. Die beiden Kartenaufnahmen 54 sind je einem der beiden in der Querrichtung 18 orientierten Endbereiche der Vorderwand 32 zugeordnet, an die sich jeweils eine der Seitenwände 34 anschließt. Die beiden Kartenaufnahmen 54 sind insbesondere spiegelsymmetrisch zu einer Referenzebene angeordnet, die durch die Hochachse 16 und die Längsachse 17 aufgespannt wird. Die optionalen Verriegelungsmittel 38 und der optionale Front-Handgriff 52 liegen bevorzugt mittig zwischen den beiden in der Querrichtung 18 zueinander beabstandeten Kartenaufnahmen 54.
  • Mindestens eine Karteaufnahme 54 kann beispielsweise auch an mindestens einer der beiden Seitenwände 34 oder an der Rückwand 33 ausgebildet sein. Es ist ferner durchaus möglich, das Gehäuseunterteil 25 insgesamt mit nur einer einzigen Kartenaufnahme 54 auszustatten. Diese befindet sich dann beispielsweise außen an der Vorderwand 32 oder außen an einer der beiden Seitenwände 34.
  • Bevorzugt sind sämtliche Kartenaufnahmen 54 des Aufbewahrungsbehälters 2 untereinander identisch ausgebildet. Dies trifft auf das illustrierte Ausführungsbeispiel zu.
  • In den Figuren 1 bis 3 ist die in dem in Figur 1 strichpunktiert umrahmten Bereich II abgebildete Kartenaufnahme 54 unbestückt, während die in der Vorderansicht rechtsliegende weitere Kartenaufnahme 54 mit einer Informationsträgerkarte 3 bestückt ist.
  • Befindet sich eine Informationsträgerkarte 3 außerhalb einer Kartenaufnahme 54, kann sie unabhängig vom Aufbewahrungsbehälter 2 gehandhabt werden, beispielsweise zur Aufbewahrung oder zur Ausstattung mit den bereitzustellenden Informationen 6. Dieser vom Aufbewahrungsbehälter 2 getrennte Zustand der Informationsträgerkarte 3 wird zur besseren Unterscheidung als Bereitschaftposition der Informationsträgerkarte 3 bezeichnet. Im Gegensatz dazu wird von einer Gebrauchsposition gesprochen, wenn die Informationsträgerkarte 3 ihrer Bestimmung entsprechend in eine Kartenaufnahme 54 unverlierbar eingesetzt ist.
  • Jede Kartenaufnahme 54 hat einen zumindest im Wesentlichen rechteckigen Umriss, der an denjenigen der aufzunehmenden Informationsträgerkarte 3 angepasst ist. Eine in der Gebrauchsposition befindliche Informationsträgerkarte 3 ist durch die Kartenaufnahme peripher begrenzende Begrenzungsmittel, die einstückig mit der Gehäusewand 22 ausgebildet sind, in der von den beiden Karten-Hauptachsen 8, 9 aufgespannten Kartenebene allseits abgestützt, sodass bezüglich der Gehäusewand 22 kein oder ein nur geringes Bewegungsspiel bleibt.
  • Die vorgenannten Begrenzungsmittel bestehen aus einem zumindest im Wesentlichen rechteckig konturierten Begrenzungsrahmen 56, der die Kartenaufnahme 54 unter Vorgabe deren Außenkontur peripher umrahmt. Die Kartenaufnahme 54 hat eine auch als Höhenrichtung bezeichnete Hochachse 57 und eine auch als Querrichtung bezeichnete Querachse 58, wobei sie insbesondere so in die Gehäusewand 22 integriert ist, dass ihre Hochachse 57 mit der Hochachse 16 des Behältergehäuses 15 und ihre Querachse 58 mit der Querachse 18 des Behältergehäuses 16 gleichgerichtet ist.
  • Der Begrenzungsrahmen 56 hat einen der oberen Randfläche 37 der Umfangswand 27 zugeordneten und insbesondere benachbarten oberen Rahmenschenkel 62, der sich ebenso in der Querrichtung 58 erstreckt wie ein in der Höhenrichtung 57 näher bei der Bodenwand 26 liegender unterer Rahmenschenkel 63 des Begrenzungsrahmens 56. Der obere Rahmenschenkel 62 ist mit dem unteren Rahmenschenkel 63 durch zwei in der Querrichtung 58 zueinander beabstandete und sich jeweils in der Höhenrichtung 57 erstreckende seitliche Rahmenschenkel 64, 65 verbunden. Der gesamte Begrenzungsrahmen 56 ist einstückig mit einem seinerseits einstückigen Wandabschnitt 66 der Gehäusewand 22 ausgebildet, der beim Ausführungsbeispiel von einem Teilbereich der Vorderwand 32 des Gehäuseunterteils 24 gebildet ist.
  • Die beiden seitlichen Rahmenschenkel 64, 65 definieren mit ihren der Kartenaufnahme 54 zugewandten Längsseiten jeweils eine seitliche Randfläche 67. In entsprechender Weise definieren der obere Rahmenschenkel 62 eine sich zwischen den beiden seitlichen Randflächen 67 erstreckende, ebenfalls der Kartenaufnahme 54 zugewandte obere Randfläche 68 und der untere Rahmenschenkel 63 eine nach oben zur Kartenaufnahme 54 weisende untere Randfläche 69. Durch diese Randflächen 67, 68, 69 ist die Kartenaufnahme 54 peripher umrandet.
  • Der Begrenzungsrahmen 56 umrahmt eine von einem Abschnitt der Außenoberfläche 55 der Vorderwand 32 gebildete Grundfläche 72 der Kartenaufnahme 54. Diese Grundfläche 72 wird von dem Begrenzungsrahmen 56 in einer Tiefenrichtung 59, die exemplarisch mit der Längsrichtung 17 des Behältergehäuses 15 zusammenfällt, überragt.
  • Entlang den beiden seitlichen Randflächen 67 erstreckt sich jeweils eine Halterippe 74, die der Grundfläche 72 der Kartenaufnahme 54 in der Tiefenrichtung 59 mit Abstand vorgelagert ist. Jede Halterippe 74 ist bevorzugt einstückig mit einem der beiden seitlichen Rahmenschenkel 64, 64 ausgebildet und an dessen der Kartenaufnahme 54 zugewandter Längsseite angeformt. Der Zwischenraum zwischen der Grundfläche 72 und einer jeweiligen Halterippe 74 bildet einen Halteschlitz 73 für die in der Gebrauchsposition befindliche Informationsträgerkarte 3. Der Halteschlitz 73 ist längsseits zur Kartenaufnahme 54 hin offen, sodass die in der Gebrauchsposition befindliche Informationsträgerkarte mit ihren beiden seitlichen Karten-Randabschnitten 12 in der Querrichtung 58 in jeweils einen der Halteschlitze 73 eintauchen kann. Auf diese Weise kann die Informationsträgerkarte 3 nicht nach vorne aus der Kartenaufnahme 54 herausfallen.
  • Der Bereich zwischen den beiden Halterippen 74 ist offen. Er bildet eine Sichtöffnung 75, durch die hindurch die in der Kartenaufnahme 54 positionierte Informationsträgerkarte 3 erkennbar ist. Insbesondere erlaubt die Sichtöffnung 75 ein Ablesen von auf der Informationsträgerkarte 3 befindlichen Informationen 6.
  • Oben und unten ist die Sichtöffnung 75 durch den oberen Rahmenschenkel 62 und den unteren Rahmenschenkel 63 begrenzt.
  • Jede Halterippe 74 ist kürzer als die ihr zugeordnete seitliche Randfläche 67 der Kartenaufnahme 54. Somit ist jede Halterippe 74 auch kürzer als jeder der beiden seitlichen Rahmenschenkel 64, 65 des Begrenzungsrahmens 56.
  • Jede Halterippe 74 erstreckt sich ausgehend vom unteren Rahmenschenkel 63 in der Höhenrichtung 57 in Richtung zum oberen Rahmenschenkel 62, wobei sie aber vor dem Erreichen des oberen Rahmenschenkels 62 endet. Dadurch verbleibt zwischen der oberen Stirnfläche 76 einer jeweiligen Halterippe 74 und dem in der Höhenrichtung 57 gegenüberliegenden Abschnitt der oberen Randfläche 68 ein Zwischenraum, der aufgrund seiner Funktion im Folgenden als Karten-Einführspalt 77 bezeichnet sei.
  • Im Bereich des Karten-Einführspaltes 77 ist die Grundfläche 72 der Kartenaufnahme 54 nicht überdeckt. Eine Überdeckung der Grundfläche 72 erfolgt ausschließlich durch die beiden Halterippen 74.
  • Die beiden Halterippen 74 gehen zweckmäßigerweise einstückig in die untere Randfläche 69 beziehungsweise in den unteren Rahmenschenkel 63 über. Bei einem nicht illustrierten Ausführungsbeispiel endet jede Halterippe 74 an der Unterseite in einem Abstand vor dem unteren Rahmenschenkel 63, wobei es sich vorzugsweise aber nur um einen relativ geringen Abstand handelt.
  • Die in der Höhenrichtung 57 gemessene Länge des Karten-Einführspaltes 77 beträgt zweckmäßigerweise nur 25% bis 35% der in der gleichen Richtung gemessenen Gesamtlänge der jeweils benachbarten seitlichen Randfläche 67. Als besonders vorteilhaft wird eine Spaltlänge von 30% der Länge der seitlichen Randfläche 67 erachtet.
  • Der mit der Umfangswand 27 des Gehäuseunterteils 24 einstückig ausgebildete Begrenzungsrahmen 56 ist im Bereich der unteren Randfläche 69 der Kartenaufnahme 54 an einer Stelle durch eine Eingriffsaussparung 78 unterbrochen, die zu jeder der beiden seitlichen Randflächen 67 beabstandet ist. Die Eingriffsaussparung 78 unterteilt den unteren Rahmenschenkel 63 in zwei untere Rahmenschenkelabschnitte 63a, 63b, die sich jeweils ausgehend von einem der beiden seitlichen Rahmenschenkel 64, 65 in der Querrichtung 58 aufeinander zu erstrecken, wobei sie jedoch unter Bildung der Eingriffsaussparung 78 mit einander zugewandten Stirnflächen 82 mit Abstand zueinander enden. Die zwischen diesen beiden Stirnflächen 82 gemessene Länge der Eingriffsaussparung 78 ist kleiner als der lichte Abstand zwischen den beiden Halterippen 74. Zweckmäßigerweise ist der Begrenzungsrahmens 56 ausschließlich durch die Eingriffsaussparung 78 unterbrochen und im übrigen unterbrechungslos und ringsum in sich geschlossen.
  • Vorzugsweise geht die Grundfläche 72 der Kartenaufnahme 54 durch die Eingriffsaussparung 78 hindurch flächenbündig in den sich unterhalb des unteren Rahmenschenkels 63 anschließenden Abschnitt der Außenfläche 55 der Vorderwand 72 über.
  • Die einander zugewandten Stirnflächen 82 sind vorzugsweise abgerundet oder abgeschrägt, derart, dass die in der Querrichtung 58 gemessene Länge der Eingriffsaussparung 78 mit zunehmender Entfernung von der Grundfläche 72 größer wird.
  • Die Länge der Eingriffsaussparung 78 ist ausreichend groß bemessen, um von unten her eine Fingerspitze hindurchschieben zu können, mit dem Ziel, eine die Gebrauchsposition einnehmende Informationsträgerkarte 3 aus der Kartenaufnahme 54 herauszuziehen. Die bevorzugte, in der Querrichtung 58 gemessene Länge der Eingriffsaussparung 78 liegt im Bereich der Breite eines menschlichen Fingers. Vorzugsweise beträgt die Länge zwischen zwei und drei Zentimetern.
  • In den Figuren 5 bis 8 ist eine bevorzugte Verfahrensweise zur Nutzung der Informationsträgerkarte 3 im Zusammenhang mit einer Kartenaufnahme 54 illustriert.
  • Ausgangspunkt ist der in Figur 1 linker Hand abgebildete Zustand, in dem sich die Informationsträgerkarte 3 in ihrer Bereitschaftsposition außerhalb der Kartenaufnahme 54 befindet.
  • Um nun die Informationsträgerkarte 3 in die Gebrauchsposition in der Kartenaufnahme 54 einzusetzen, wird die Informationsträgerkarte 3 gemäß Figur 5 mit ihrem unteren Karten-Randabschnitt 14 voraus auf der Höhe der beiden Karten-Einführspalte 77 von oben her in die Kartenaufnahme 54 eingeschoben. Da die Grundfläche 72 bezüglich des Begrenzungsrahmens 56 vertieft ist, geschieht dies im Zusammenhang mit einem elastischen Verbiegen der Informationsträgerkarte 3 um einen zu der ersten Karten-Hauptachse 8 parallelen Bereich. Die Informationsträgerkarte 3 ist dabei an der dem Betrachter zugewandten Seite konkav gewölbt.
  • Bei dem Einführen durch die Karten-Einführspalte 77 hindurch wird die Informationsträgerkarte 3 mit ihren beiden seitlichen Karten-Randabschnitten 12 von oben her in die nach oben offenen Halteschlitze 73 eingeschoben. Sie wird weiterhin gemäß Pfeil 83 in der Höhenrichtung 57 nach unten verschoben, sodass sie letztlich gemäß Figur 6 über ihre gesamte in der Höhenrichtung 57 gemessene Höhe in der Kartenaufnahme 54 zu liegen kommt. Zum Ende des Einschiebevorganges gemäß Pfeil 83 schnappt der bis dahin nach vorne herausgebogene obere Karten-Randabschnitt 13 gemäß Pfeil 84 in Richtung zur Grundfläche 72 und dadurch in die Kartenaufnahme 54 hinein. Somit liegt der in Figur 7 gezeigte Zustand vor, in dem die eingesteckt Informationsträgerkarte 3 sich selbsttätig in den unverformten Grundzustand zurückgebogen hat und die eingesteckte Gebrauchsposition einnimmt.
  • In dieser Gebrauchsposition ist die Informationsträgerkarte 3 mit Ausnahme der geringfügigen Unterbrechung im Bereich der Eingriffsaussparung 78 ringsum durch den Begrenzungsrahmen 56 abgestützt und im Wesentlichen unbeweglich gehalten. Die Halterippen 74 sorgen dafür, dass die Informationsträgerkarte 3 nicht nach vorne herausfallen kann.
  • Die Figuren 7 und 8 zeigen Verfahrensschritte zum bewussten Entnehmen der Informationsträgerkarte 3 aus der Kartenaufnahme 54. Dies erfolgt beispielsweise dann, wenn aufgrund einer Änderung des Behälterinhaltes ein Austausch der Informationsträgerkarte 3 erfolgen soll.
  • Bei dem Entnahmevorgang kommt die Eingriffsaussparung 78 zum Tragen. Durch sie hindurch kann gemäß Pfeil 85 in Figur 7 die Fingerkuppe eines menschlichen Fingers 86 derart von unten her in die Kartenaufnahme 54 eingeführt werden, dass die Fingerkuppe 87 gemäß Figur 8 im Bereich des unteren Karten-Randabschnittes 14 hinter der Informationsträgerkarte 3 zu liegen kommt, also zwischen der Informationsträgerkarte 3 und der Grundfläche 72. Dieser Vorgang ist aufgrund der Fingerdicke mit einem elastischen Auswölben der Informationsträgerkarte 3 durch die Sichtöffnung 75 hindurch verbunden. Die Informationsträgerkarte 3 ist an der dem Betrachter zugewandten Seite um die Hochachse 57 konvex nach außen gewölbt.
  • Im nächsten Schritt wird der Finger 86 gemäß Pfeil 88 in der Längsrichtung 17 vom Behältergehäuse 15 weggezogen, wobei die nach wie vor von der Fingerkuppe 87 hintergriffene Informationsträgerkarte 3 unter elastischem Verbiegen durch die Sichtöffnung 75 hindurch komplett gemäß Pfeil 91 aus der Kartenaufnahme 54 herausgezogen wird.
  • Bei dem Herausziehvorgang gemäß Pfeil 91 wird die Informationsträgerkarte 3 zunächst noch im Bereich ihrer beiden seitlichen Karten-Randabschnitte 12 durch die Halterippen 74 zurückgehalten. Mit zunehmender Wölbung nähern sich die beiden seitlichen Karten-Randabschnitte 12 jedoch soweit aneinander an, dass die in der Querrichtung 58 gemessene Länge der Informationsträgerkarte 3 geringer ist als die lichte Weite der Sichtöffnung 75 zwischen den beiden Halterippen 74. Dann kann die Informationsträgerkarte 3 zwischen den beiden Halterippen 74 hindurch aus der Kartenaufnahme 54 herausschnappen.
  • Für die geschilderte Handhabung ist es zwar nicht zwingend, jedoch vorteilhaft, wenn die Eingriffsaussparung 78 mittig zwischen den beiden seitlichen Randflächen 67 angeordnet ist. Die beiden unteren Rahmenschenkelabschnitte 63a, 63b sind in diesem Fall gleich lang.
  • Die Ausbildung der Eingriffsaussparung 78 in dem unteren Rahmenschenkel 63 hat den Vorteil, dass die Gehäusewand 22 dort aufgrund des relativ großen Abstandes zur oberen Randfläche 37 der Umfangswand 27 relativ steif ist und durch die Unterbrechung des Begrenzungsrahmens 56 keine nachteilige Schwächung in der strukturellen Steifigkeit erfährt.
  • Grundsätzlich könnte die Eingriffsaussparung 78 aber auch in dem oberen Rahmenschenkel 62 vorgesehen sein.
  • Der obere Rahmenschenkel 62 ist zweckmäßigerweise im Bereich der Zugriffsöffnung 28 ausgebildet, sodass er im Bereich der oberen Randfläche 37 eine die Umfangswand 27 aussteifende Versteifungsrippe bildet. Es ist vorteilhaft, wenn die obere Randfläche 37 zumindest teilweise an dem oberen Rahmenschenkel 62 ausgebildet ist.
  • Da der obere Rahmenschenkel 62 ununterbrochen ist und sich an dem gleichen einstückigen Wandabschnitt 66 des Behältergehäuses 15 befindet, an dem auch die anderen Bestandteile des Begrenzungsrahmens 56 ausgebildet sind - vorliegend an dem Gehäuseunterteil 24 - wird durch die Ausbildung der Kartenaufnahme 54 die Steifigkeit der Gehäusewand 22 nicht beeinträchtigt.
  • Indem der die obere Randfläche 68 aufweisende obere Rahmenschenkel 62 einstückig mit dem Gehäuseunterteil 24 ausgebildet ist und nicht zu dem gesonderten Gehäusedeckel 25 gehört, verfügt die Umfangswand 27 selbst bei geöffnetem Aufbewahrungsbehälter 2 auch im Bereich der Kartenaufnahmen 54 über eine hohe Stabilität.
  • Man kann den oberen Rahmenschenkel 62 als rippenartiger Vorsprung der Gehäusewand 22 bezeichnen. Entsprechendes gilt beim Ausführungsbeispiel auch für den durch die Eingriffsaussparung 78 lokal unterbrochenen und dadurch zweigeteilten unteren Rahmenschenkel 63.
  • Vorzugsweise ist die Kartenaufnahme 54 im Innern einer zur Vorderseite des Behältergehäuses 15 hin offenen kanalartigen Wandvertiefung 92 ausgebildet, die sich außen in der Vorderwand 32 in der Höhenrichtung 16 über bevorzugt die gesamte Höhe des Gehäuseunterteils 24 hinweg erstreckt. Die Grundfläche 72 der Kartenaufnahme 54 ist von einem Flächenabschnitt der bevorzugt ebenen Kanalgrundfläche 93 der kanalartigen Wandvertiefung 92 gebildet.
  • Seitlich ist die kanalartige Wandvertiefung 92 von zwei Begrenzungs-Wandabschnitten 94 begrenzt, die von beispielsweise wulstartigen Teilbereichen der Umfangswand 27 gebildet sind. Die beiden seitlichen Rahmenschenkel 64, 65 sind exemplarisch jeweils unmittelbar von einem Längenabschnitt eines der beiden Begrenzungs-Wandabschnitte 94 gebildet, wobei die Halterippen 74 an jeweils einem dieser Begrenzungs-Wandabschnitte 94 angeformt sind. Der obere Rahmenschenkel 62 und der durch die Eingriffsaussparung 76 lokal unterbrochene untere Rahmenschenkel 63 verlaufen als rippenartige Vorsprünge der Gehäusewand 22 zwischen den beiden Begrenzungs-Wandabschnitten 94, wobei sie von der Kanalgrundfläche 93 in der Längsrichtung 17 nach vorne abstehen. Sowohl der obere und untere Rahmenschenkel 62, 63 als auch die Halterippen 74 stehen zweckmäßigerweise nicht nach außen über die kanalartige Wandvertiefung 92 vor.
  • Eine vorteilhafte Ausgestaltung der Aufbewahrungseinrichtung 1 enthält eine in Figur 3 nur strichpunktiert schematisch angedeutete Regalstruktur 95, die ausgebildet ist, um mindestens einen Aufbewahrungsbehälter 2 während seines Nichtgebrauches zu lagern. Die Regalstruktur 95 bietet die Möglichkeit, den mindestens einen Aufbewahrungsbehälter 2 in nach Art einer Schublade herausziehbarer Weise aufzunehmen. Eine solche Regalstruktur 95 kann beispielsweise in einer Werkstatt oder in einem Service-Kraftfahrzeug installiert sein.
  • In diesem Zusammenhang hat der Aufbewahrungsbehälter 2 an der Außenseite des Behältergehäuses 15 eine Führungseinrichtung 96, über die er mittels einer daran angepassten, an der Regalstruktur 95 angeordneten Gegen-Führungseinrichtung 97 der Aufbewahrungseinrichtung 1 in lösbarer Weise linear verschiebbar in Eingriff bringbar ist. Exemplarisch umfasst die Führungseinrichtung 96 je eine Führungsschiene 96a, 96b an der Außenseite jeder Seitenwand 34 im Bereich der Behälterunterseite. Die Gegen-Führungseinrichtung 97 hat zwei Gegen-Führungsschienen 97a, 97b, die derart beabstandet zueinander an der Regalstruktur 95 angeordnet sind, dass der Aufbewahrungsbehälter 2 mittels seiner Führungsschienen 96a, 96b mit ihnen von einer Stirnseite her in Eingriff bringbar ist. Die Führungsschienen 96a, 96b und die Gegen-Führungsschienen 97a, 97b sind so aufeinander abgestimmt, dass der Aufbewahrungsbehälter 2 in seiner Längsrichtung 17 in die Regalstruktur 95 einschiebbar und aus der Regalstruktur 95 herausziehbar ist. Bei dieser Handhabung kann der Front-Handgriff 52 genutzt werden.
  • Das Behältergehäuse 15 besteht aus einem Kunststoffmaterial. Die Führungseinrichtung 96 ist zweckmäßigerweise einstückig im Gehäuseunterteil 24 ausgebildet.
  • Die Aufbewahrungseinrichtung 1 enthält vorzugsweise mehrere der beschriebenen Aufbewahrungsbehälter 2. Diese Aufbewahrungsbehälter 2 haben vorzugsweise in der zu der Hochachse 16 rechtwinkeligen Ebene den gleichen Umriss. In der Höhe können die mehreren Aufbewahrungsbehälter 2 sich voneinander unterscheiden.
  • Bevorzugt sind mehrere Aufbewahrungsbehälter 2 in der Höhenrichtung 16 aufeinander stapelbar, sodass sich ein aus mindestens zwei aufeinandergestapelten Aufbewahrungsbehältern 2 bestehender Behälterstapel 98 ergibt, wie dies in Figur 11 exemplarisch gezeigt ist. Im gestapelten Zustand sitzt ein jeweils oberer Behälter 2, 2a mit seiner Behälterunterseite 99 auf der Behälteroberseite 100 eines darunter angeordneten weiteren Behälters 2, 2b.
  • Zweckmäßigerweise hat jeder Aufbewahrungsbehälter 2 im Bereich der Behälterunterseite 99 an seinem Behältergehäuse 15 eine untere Kopplungseinrichtung 102, die beispielsweise in der aus Figur 10 ersichtlichen Weise ausgebildet ist. Außerdem hat jeder Aufbewahrungsbehälter 2 an der Behälteroberseite 100 eine obere Kopplungseinrichtung 103, deren bevorzugte Ausgestaltung aus Figur 1 ersichtlich ist. Die beiden Kopplungseinrichtungen 102, 103 sind derart aneinander angepasst, dass durch ihr Zusammenwirken die unmittelbar aufeinandergestapelten Aufbewahrungsbehälter 2 in voneinander unabhebarer Weise lösbar miteinander koppelbar sind. Ein derart gekoppelter Zustand ist in Figur 10 gezeigt. Der Behälterstapel 98 lässt sich dann mittels des oberen Handgriffes 45 des obersten Aufbewahrungsbehälters 2 einheitlich tragen und transportieren.
  • Die weiter oben erläuterten Verriegelungsmittel 38 gehören vorzugsweise zumindest partiell zu den beiden Kopplungseinrichtungen 102, 103. Beispielsweise kann der Drehriegel 44 in eine in Figur 11 bei 104 abgebildete Kopplungsstellung verdreht werden, in der er die beiden aufeinandergestapelten Aufbewahrungsbehälter 2 im Bereich der Behältervorderseite unabhebbar miteinander koppelt.
  • Weitere Bestandteile der Kopplungseinrichtungen 102, 103 sind bei dem illustrierten Ausführungsbeispiel von an der Behälterunterseite 99 ausgebildeten Vorsprüngen und von an der Behälteroberseite 100 ausgebildeten Vertiefungen gebildet. Im aufeinandergestapelten Zustand zweier Aufbewahrungsbehälter 2 greifen die Vorsprünge und Vertiefungen zumindest teilweise so ineinander ein, dass sie sich quer zu der Höhenrichtung 16 überlappen bzw. hintergreifen und ebenfalls eine voneinander unabhebbare Kopplung zweier aufeinandergestapelter Aufbewahrungsbehälter 2 bewirken, insbesondere im Bereich der Behälterrückseite. Bei den Vorsprüngen handelt es sich zweckmäßigerweise um zum Abstellen des Aufbewahrungsbehälters 2 auf einem Untergrund dienende Standfüße.

Claims (14)

  1. Aufbewahrungseinrichtung, mit mindestens einem Aufbewahrungsbehälter (2), der ein Behältergehäuse (15) mit einer einen Aufbewahrungsraum (23) begrenzenden Gehäusewand (22) aufweist, wobei in der Außenfläche der Gehäusewand (22) mindestens eine einen im Wesentlichen rechteckigen Umriss aufweisende Kartenaufnahme (54) ausgebildet ist, die randseitig zumindest von zwei sich in einer Querrichtung (58) mit Abstand gegenüberliegenden seitlichen Randflächen (67) sowie einer sich zwischen den beiden seitlichen Randflächen (67) erstreckenden oberen Randfläche (68) begrenzt ist, wobei im Bereich der beiden seitlichen Randflächen (67) jeweils eine sich längs der seitlichen Randfläche (67) erstreckende Halterippe (74) angeordnet ist, die einer Grundfläche (72) der Kartenaufnahme (54) mit Abstand vorgelagert ist und gemeinsam mit dieser Grundfläche (72) einen Halteschlitz (73) definiert, und mit mindestens einer bezüglich dem Aufbewahrungsbehälter (2) gesonderten rechteckigen Informationsträgerkarte (3), die wahlweise in einer Bereitschaftsposition außerhalb der Kartenaufnahme (54) oder in einer in die Kartenaufnahme (54) eingesteckten Gebrauchsposition angeordnet werden kann, wobei sie in der Gebrauchsposition mit einander entgegengesetzten seitlichen Karten-Randabschnitten (12) jeweils in einen der beiden Halteschlitze (73) eintaucht, sodass sie an einem Herausfallen aus der Kartenaufnahme (54) gehindert und durch eine seitlich von den beiden Halterippen (74) begrenzte Sichtöffnung (75) hindurch erkennbar ist,
    - wobei die Kartenaufnahme (54) an ihrer der oberen Randfläche (68) in einer Höhenrichtung (57) mit Abstand gegenüberliegenden Unterseite durch eine sich zwischen den beiden Halterippen (74) erstreckende untere Randfläche (69) begrenzt ist, wobei sämtliche Randflächen (66, 67, 68, 69) der Kartenaufnahme (54) von einem die Kartenaufnahme (54) peripher umrahmenden Begrenzungsrahmen (56) gebildet sind, der einstückig mit einem einstückigen Wandabschnitt (66) der Gehäusewand (22) ausgebildet ist und der einen der oberen Randfläche (37) der Umfangswand (27) zugeordneten, sich in der Querrichtung (58) erstreckenden oberen Rahmenschenkel (62), einen sich ebenfalls in der Querrichtung (58) erstreckenden unteren Rahmenschenkel (63) und zwei den oberen Rahmenschenkel (62) mit dem unteren Rahmenschenkel (63) verbindende, in der Querrichtung (58) zueinander beabstandete und sich jeweils in der Höhenrichtung (57) erstreckende seitliche Rahmenschenkel (64, 65) aufweist,
    - wobei jede Halterippe (74) kürzer ist als die ihr zugeordnete seitliche Randfläche (67) der Kartenaufnahme (54) und jede Halterippe (74) mit einer oberen Stirnfläche (76) in einem Abstand vor der oberen Randfläche (68) der Kartenaufnahme (54) endet, wobei der dadurch gebildete Zwischenraum jeweils einen Karten-Einführspalt (77) definiert, durch den hindurch die über biegeelastische Eigenschaften verfügende Informationsträgerkarte (3) in Verbindung mit einem reversiblen Biegevorgang unter gleichzeitigem, von oben her erfolgendem Einstecken der seitlichen Karten-Randabschnitte (12) in die Halteschlitze (73) aus der Bereitschaftsposition in die Gebrauchsposition bringbar ist,
    - und wobei der Begrenzungsrahmen (56) im Bereich der unteren Randfläche (69) der Kartenaufnahme (54) lokal durch eine von den beiden seitlichen Randflächen (67) beabstandete Eingriffsaussparung (78) unterbrochen ist, deren Länge geringer ist als der lichte Abstand zwischen den beiden Halterippen (74) und durch die hindurch die in der Gebrauchsposition befindliche Informationsträgerkarte (3) mit einem Finger hintergreifbar und unter elastischem Verbiegen und Auswölben durch die Sichtöffnung (75) hindurch in die Bereitschaftsposition herausziehbar ist,
    dadurch gekennzeichnet,
    dass das Behältergehäuse (15) aus Kunststoff besteht, wobei jede Halterippe (74) einstückig mit einem der beiden seitlichen Rahmenschenkel (64,65) ausgebildet und an dessen der Kartenaufnahme (54) zugewandter Längsseite angeformt ist und wobei ausschließlich der die untere Randfläche (69) der Kartenaufnahme (54) definierende untere Rahmenschenkel (63) des Begrenzungsrahmens (56) eine Eingriffsaussparung (78) aufweist, wobei der Begrenzungsrahmen (56) im Übrigen ununterbrochen ist.
  2. Aufbewahrungseinrichtung nach Anspruch 1, dadurch gekennzeichnet, dass die Eingriffsaussparung (78) mittig zwischen den beiden seitlichen Randflächen (67) der Kartenaufnahme (54) angeordnet ist, wobei sich beidseits der Eingriffsaussparung (78) gleich lange Rahmenschenkelabschnitte (63a, 63b) eines unteren oder oberen Rahmenschenkels (63, 62) des Begrenzungsrahmens (56) anschließen.
  3. Aufbewahrungseinrichtung nach Anspruch 1 oder 2, dadurch gekennzeichnet, dass sich die Halterippen (74) an ihrer der oberen Stirnfläche (76) entgegengesetzten Unterseite bis zur unteren Randfläche (69) der Kartenaufnahme erstrecken und dort zweckmäßigerweise einstückig in die untere Randfläche (69) übergehen.
  4. Aufbewahrungseinrichtung nach einem der Ansprüche 1 bis 3, dadurch gekennzeichnet, dass zumindest die obere Randfläche (68) und die untere Randfläche (69) der Kartenaufnahme (54) jeweils an einem als rippenartiger Vorsprung der Gehäusewand ausgebildeten oberen und unteren Rahmenschenkel (62, 63) des Begrenzungsrahmens (56) ausgebildet sind.
  5. Aufbewahrungseinrichtung nach einem der Ansprüche 1 bis 4, dadurch gekennzeichnet, dass die Informationsträgerkarte (3) eine mit Informationen (6) bedruckte Kartenoberfläche (5) hat und/oder mindestens einen drahtlos auslesbaren elektronischen Baustein (7) enthält.
  6. Aufbewahrungseinrichtung nach einem der Ansprüche 1 bis 5, dadurch gekennzeichnet, dass das Behältergehäuse (15) einen zumindest im Wesentlichen rechteckigen Grundriss hat.
  7. Aufbewahrungseinrichtung nach einem der Ansprüche 1 bis 6, dadurch gekennzeichnet, dass das Behältergehäuse (15) ein Gehäuseunterteil (24) aufweist, das eine Bodenwand (26) und eine vom Rand der Bodenwand (26) in einer Höhenrichtung (16) des Behältergehäuses (15) hochragende periphere Umfangswand (27) der Gehäusewand (22) aufweist, wobei die Umfangswand (27) an ihrer der Bodenwand (16) entgegengesetzten Oberseite eine Zugriffsöffnung (28) für den Aufbewahrungsraum (23) umrahmt und sich aus einer Vorderwand (32), einer der Vorderwand (32) quer zu der Höhenrichtung (16) gegenüberliegenden Rückwand (33) und zwei sich gegenüberliegenden und jeweils die Vorderwand (32) mit der Rückwand (33) verbindenden Seitenwänden (34) zusammensetzt.
  8. Aufbewahrungseinrichtung nach Anspruch 7, dadurch gekennzeichnet, dass mindestens eine Kartenaufnahme (54) einschließlich ihrer sämtlichen Randflächen (67, 68, 69) außen an der Umfangswand (27) des Gehäuseunterteils (24) des Behältergehäuses (15) ausgebildet ist, insbesondere an der Vorderwand (32), wobei zweckmäßigerweise die obere Randfläche (68) der Kartenaufnahme (54) an einem rippenförmigen oberen Rahmenschenkel (62) des Begrenzungsrahmens (56) ausgebildet ist, der im Bereich der in der Höhenrichtung (16) orientierten Oberseite der Umfangswand (27) angeordnet ist und dort eine Versteifungsrippe der Umfangswand (27) bildet.
  9. Aufbewahrungseinrichtung nach Anspruch 7 oder 8, dadurch gekennzeichnet, dass das Behältergehäuse (15) einen an dem Gehäuseunterteil (24) um eine zur Höhenrichtung (16) des Behältergehäuses (15) rechtwinkelige Schwenkachse (35) verschwenkbar gelagerten Gehäusedeckel (25) aufweist, der in eine die Zugriffsöffnung (28) abdeckende Schließstellung und in mindestens eine die Zugriffsöffnung (28) freigebende Offenstellung verschwenkbar ist, wobei er zweckmäßigerweise in der Schließstellung durch Verriegelungsmittel (38) des Aufbewahrungsbehälters (2) mit dem Gehäuseunterteil (24) lösbar verriegelbar ist.
  10. Aufbewahrungseinrichtung nach einem der Ansprüche 1 bis 9, dadurch gekennzeichnet, dass das Behältergehäuse (15) au-ßen an einer in der Höhenrichtung (16) des Behältergehäuses (15) weisenden Oberseite einen oberen Handgriff (45) aufweist, der zweckmäßigerweise derart schwenkbar am Behältergehäuse (15) gelagert ist, dass er wahlweise in eine an das Behältergehäuse (15) herangeschwenkte Nichtgebrauchsstellung (46) oder in mindestens eine vom Behältergehäuse (15) weggeschwenkte und nach oben ragende Gebrauchsstellung (47) verschwenkbar ist.
  11. Aufbewahrungseinrichtung nach Anspruch 10 in Verbindung mit Anspruch 9, dadurch gekennzeichnet, dass der obere Handgriff außen an dem Gehäusedeckel (25) angeordnet ist.
  12. Aufbewahrungseinrichtung nach einem der Ansprüche 1 bis 11, dadurch gekennzeichnet, dass das Behältergehäuse (15) au-ßen an einer rechtwinkelig zur Höhenrichtung (16) des Behältergehäuses (15) orientierten Vorderseite einen zweckmäßigerweise schwenkbar gelagerten Front-Handgriff (52) aufweist, und/oder dass der Aufbewahrungsbehälter (2) an der Außenseite des Behältergehäuses (15) eine Führungseinrichtung (96) aufweist, über die er herausziehbar in einer Regalstruktur (95) aufnehmbar ist.
  13. Aufbewahrungseinrichtung nach einem der Ansprüche 1 bis 12, dadurch gekennzeichnet, dass sie mehrere stapelbare Aufbewahrungsbehälter (2, 2a, 2b) umfasst, die jeweils an ihrem Behältergehäuse (15) im Bereich der Behälterunterseite (99) eine untere Kopplungseinrichtung (102) und im Bereich der Behälteroberseite (100) eine obere Kopplungseinrichtung (103) aufweisen, wobei diese beiden Kopplungseinrichtungen (102, 103) derart aneinander angepasst sind, dass in einer Höhenrichtung (16) unmittelbar aufeinandergestapelte Aufbewahrungsbehälter (2, 2a, 2b) durch Zusammenwirken der oberen Kopplungseinrichtung (103) des jeweils unteren Aufbewahrungsbehälters (2, 2b) und der unteren Kopplungseinrichtung (102) des jeweils oberen Aufbewahrungsbehälters (2, 2a) in voneinander unabhebbarer Weise lösbar miteinander koppelbar sind.
  14. Verfahren zum Einsetzen und zum Entnehmen einer Informationsträgerkarte (3) in eine Kartenaufnahme (54) und aus einer Kartenaufnahme (54) bei einer Aufbewahrungseinrichtung (1) nach einem der Ansprüche 1 bis 13,
    dadurch gekennzeichnet, dass die Informationsträgerkarte (3) zum Einsetzen in eine Kartenaufnahme (54) in Verbindung mit einem reversiblen Biegevorgang von oben her durch die Karten-Einführspalte (77) hindurch mit ihren beiden seitlichen Karten-Randabschnitte (12) in die Halteschlitze (73) eingesteckt wird, und dass die Informationsträgerkarte (3) zum Entnehmen aus einer Kartenaufnahme (54) durch die Eingriffsaussparung (78) hindurch mit einem Finger (86) hintergriffen und unter elastischem Verbiegen und Auswölben durch die Sichtöffnung (75) hindurch aus der Kartenaufnahme (54) herausgezogen wird.
EP19191675.8A 2018-09-14 2019-08-14 Aufbewahrungseinrichtung und verfahren zu ihrer nutzung Active EP3623112B1 (de)

Applications Claiming Priority (1)

Application Number Priority Date Filing Date Title
DE102018215669.7A DE102018215669B4 (de) 2018-09-14 2018-09-14 Aufbewahrungseinrichtung und Verfahren zu ihrer Nutzung

Publications (3)

Publication Number Publication Date
EP3623112A1 EP3623112A1 (de) 2020-03-18
EP3623112C0 EP3623112C0 (de) 2023-11-01
EP3623112B1 true EP3623112B1 (de) 2023-11-01

Family

ID=67658779

Family Applications (1)

Application Number Title Priority Date Filing Date
EP19191675.8A Active EP3623112B1 (de) 2018-09-14 2019-08-14 Aufbewahrungseinrichtung und verfahren zu ihrer nutzung

Country Status (2)

Country Link
EP (1) EP3623112B1 (de)
DE (1) DE102018215669B4 (de)

Family Cites Families (7)

* Cited by examiner, † Cited by third party
Publication number Priority date Publication date Assignee Title
DE9111986U1 (de) * 1991-09-26 1992-01-23 Fritz Schäfer GmbH, 5908 Neunkirchen Transport- und/oder Lagerkasten
DE20119308U1 (de) * 2001-11-27 2002-01-31 Bekuplast Kunststoffverarbeitungs-GmbH, 49824 Ringe Transport- und Lagerbehälter aus Kunststoff mit integriertem Etikettenhalter
CN102137795B (zh) * 2009-06-29 2013-03-06 Tts工具技术系统股份两合公司 堆叠的容器相互锁止的堆叠式容器装置
WO2011032568A1 (de) * 2009-09-15 2011-03-24 Tts Tooltechnic Systems Ag & Co. Kg Behälteranordnung
WO2011131213A1 (de) * 2010-04-21 2011-10-27 Tts Tooltechnic Systems Ag & Co. Kg Tragegriffanordnung und behälteranordnung
WO2015043615A1 (de) * 2013-09-27 2015-04-02 Tts Tooltechnic Systems Ag & Co. Kg Transportsystem mit einem transportbehälter
CN104108512B (zh) * 2014-06-12 2017-06-16 上海鸿研物流技术有限公司 物流单元及其卡片安装单元

Also Published As

Publication number Publication date
DE102018215669B4 (de) 2021-02-04
EP3623112C0 (de) 2023-11-01
EP3623112A1 (de) 2020-03-18
DE102018215669A1 (de) 2020-03-19

Similar Documents

Publication Publication Date Title
AT393748B (de) Bildbetrachtungsgeraet
EP3814064B1 (de) Aufbewahrungseinrichtung
DE9414118U1 (de) Verpackungsbehälter
DE2802459A1 (de) Archivierungseinrichtung
DE102020111731A1 (de) Reinigungswagen
EP3024622B1 (de) Transportsystem mit einem transportbehälter
EP0630509B1 (de) Kassenlade
DE2026371A1 (de) Kasten mit Kartenhalter für Kreditkarten oder ähnliches
EP3623112B1 (de) Aufbewahrungseinrichtung und verfahren zu ihrer nutzung
DE8901835U1 (de) Modulcontainer für Einzel- bzw. Doppel- "compact-disc"-Kassetten mit versenkbaren Stegen sowie einer mit Hilfe von Biegefedern durch Drucktasten steuerbaren Ausstoßvorrichtung
EP0360987B1 (de) Werkzeugbehältnis
DE3740425A1 (de) Brieflocher mit einer auf ein locherunterteil aufgerasteten schnitzelwanne
DE2416752C3 (de) Kassette zur Aufnahme von Münzen
EP0246253B1 (de) Behälter zur aufnahme eines bilderstapels
EP0100823B1 (de) Bandkassettenbehälter
DE2133575A1 (de) Packung zur Aufbewahrung und Abgabe von gestapeltem Blattmaterial
EP3817894A1 (de) Aufbewahrungseinrichtung
DE3636672A1 (de) Organisationsmittel fuer papierboegen, insbesondere edv-papierboegen
EP1487706A1 (de) Behältereinsatz
DE29813929U1 (de) Aufbewahrungsschatulle, insbesondere Schmuckschatulle
DE9210640U1 (de) Kassettenstapelbox
EP4434389A1 (de) Behälter zur lösbaren anbringung an einer haltevorrichtung
DE2811823A1 (de) Zwischenwand fuer gefache in organisationsschraenken
DE1944527C (de) Karteikasten
DE9111050U1 (de) Stehsammler

Legal Events

Date Code Title Description
PUAI Public reference made under article 153(3) epc to a published international application that has entered the european phase

Free format text: ORIGINAL CODE: 0009012

STAA Information on the status of an ep patent application or granted ep patent

Free format text: STATUS: THE APPLICATION HAS BEEN PUBLISHED

AK Designated contracting states

Kind code of ref document: A1

Designated state(s): AL AT BE BG CH CY CZ DE DK EE ES FI FR GB GR HR HU IE IS IT LI LT LU LV MC MK MT NL NO PL PT RO RS SE SI SK SM TR

AX Request for extension of the european patent

Extension state: BA ME

STAA Information on the status of an ep patent application or granted ep patent

Free format text: STATUS: REQUEST FOR EXAMINATION WAS MADE

17P Request for examination filed

Effective date: 20200807

RBV Designated contracting states (corrected)

Designated state(s): AL AT BE BG CH CY CZ DE DK EE ES FI FR GB GR HR HU IE IS IT LI LT LU LV MC MK MT NL NO PL PT RO RS SE SI SK SM TR

GRAP Despatch of communication of intention to grant a patent

Free format text: ORIGINAL CODE: EPIDOSNIGR1

STAA Information on the status of an ep patent application or granted ep patent

Free format text: STATUS: GRANT OF PATENT IS INTENDED

INTG Intention to grant announced

Effective date: 20230621

GRAS Grant fee paid

Free format text: ORIGINAL CODE: EPIDOSNIGR3

GRAA (expected) grant

Free format text: ORIGINAL CODE: 0009210

STAA Information on the status of an ep patent application or granted ep patent

Free format text: STATUS: THE PATENT HAS BEEN GRANTED

AK Designated contracting states

Kind code of ref document: B1

Designated state(s): AL AT BE BG CH CY CZ DE DK EE ES FI FR GB GR HR HU IE IS IT LI LT LU LV MC MK MT NL NO PL PT RO RS SE SI SK SM TR

REG Reference to a national code

Ref country code: GB

Ref legal event code: FG4D

Free format text: NOT ENGLISH

REG Reference to a national code

Ref country code: CH

Ref legal event code: EP

REG Reference to a national code

Ref country code: IE

Ref legal event code: FG4D

Free format text: LANGUAGE OF EP DOCUMENT: GERMAN

REG Reference to a national code

Ref country code: DE

Ref legal event code: R096

Ref document number: 502019009798

Country of ref document: DE

U01 Request for unitary effect filed

Effective date: 20231129

U07 Unitary effect registered

Designated state(s): AT BE BG DE DK EE FI FR IT LT LU LV MT NL PT SE SI

Effective date: 20231205

PG25 Lapsed in a contracting state [announced via postgrant information from national office to epo]

Ref country code: GR

Free format text: LAPSE BECAUSE OF FAILURE TO SUBMIT A TRANSLATION OF THE DESCRIPTION OR TO PAY THE FEE WITHIN THE PRESCRIBED TIME-LIMIT

Effective date: 20240202

PG25 Lapsed in a contracting state [announced via postgrant information from national office to epo]

Ref country code: IS

Free format text: LAPSE BECAUSE OF FAILURE TO SUBMIT A TRANSLATION OF THE DESCRIPTION OR TO PAY THE FEE WITHIN THE PRESCRIBED TIME-LIMIT

Effective date: 20240301

PG25 Lapsed in a contracting state [announced via postgrant information from national office to epo]

Ref country code: ES

Free format text: LAPSE BECAUSE OF FAILURE TO SUBMIT A TRANSLATION OF THE DESCRIPTION OR TO PAY THE FEE WITHIN THE PRESCRIBED TIME-LIMIT

Effective date: 20231101

PG25 Lapsed in a contracting state [announced via postgrant information from national office to epo]

Ref country code: IS

Free format text: LAPSE BECAUSE OF FAILURE TO SUBMIT A TRANSLATION OF THE DESCRIPTION OR TO PAY THE FEE WITHIN THE PRESCRIBED TIME-LIMIT

Effective date: 20240301

Ref country code: GR

Free format text: LAPSE BECAUSE OF FAILURE TO SUBMIT A TRANSLATION OF THE DESCRIPTION OR TO PAY THE FEE WITHIN THE PRESCRIBED TIME-LIMIT

Effective date: 20240202

Ref country code: ES

Free format text: LAPSE BECAUSE OF FAILURE TO SUBMIT A TRANSLATION OF THE DESCRIPTION OR TO PAY THE FEE WITHIN THE PRESCRIBED TIME-LIMIT

Effective date: 20231101

PG25 Lapsed in a contracting state [announced via postgrant information from national office to epo]

Ref country code: RS

Free format text: LAPSE BECAUSE OF FAILURE TO SUBMIT A TRANSLATION OF THE DESCRIPTION OR TO PAY THE FEE WITHIN THE PRESCRIBED TIME-LIMIT

Effective date: 20231101

Ref country code: PL

Free format text: LAPSE BECAUSE OF FAILURE TO SUBMIT A TRANSLATION OF THE DESCRIPTION OR TO PAY THE FEE WITHIN THE PRESCRIBED TIME-LIMIT

Effective date: 20231101

Ref country code: NO

Free format text: LAPSE BECAUSE OF FAILURE TO SUBMIT A TRANSLATION OF THE DESCRIPTION OR TO PAY THE FEE WITHIN THE PRESCRIBED TIME-LIMIT

Effective date: 20240201

Ref country code: HR

Free format text: LAPSE BECAUSE OF FAILURE TO SUBMIT A TRANSLATION OF THE DESCRIPTION OR TO PAY THE FEE WITHIN THE PRESCRIBED TIME-LIMIT

Effective date: 20231101

PG25 Lapsed in a contracting state [announced via postgrant information from national office to epo]

Ref country code: CZ

Free format text: LAPSE BECAUSE OF FAILURE TO SUBMIT A TRANSLATION OF THE DESCRIPTION OR TO PAY THE FEE WITHIN THE PRESCRIBED TIME-LIMIT

Effective date: 20231101

PG25 Lapsed in a contracting state [announced via postgrant information from national office to epo]

Ref country code: SK

Free format text: LAPSE BECAUSE OF FAILURE TO SUBMIT A TRANSLATION OF THE DESCRIPTION OR TO PAY THE FEE WITHIN THE PRESCRIBED TIME-LIMIT

Effective date: 20231101

PG25 Lapsed in a contracting state [announced via postgrant information from national office to epo]

Ref country code: SM

Free format text: LAPSE BECAUSE OF FAILURE TO SUBMIT A TRANSLATION OF THE DESCRIPTION OR TO PAY THE FEE WITHIN THE PRESCRIBED TIME-LIMIT

Effective date: 20231101

Ref country code: SK

Free format text: LAPSE BECAUSE OF FAILURE TO SUBMIT A TRANSLATION OF THE DESCRIPTION OR TO PAY THE FEE WITHIN THE PRESCRIBED TIME-LIMIT

Effective date: 20231101

Ref country code: CZ

Free format text: LAPSE BECAUSE OF FAILURE TO SUBMIT A TRANSLATION OF THE DESCRIPTION OR TO PAY THE FEE WITHIN THE PRESCRIBED TIME-LIMIT

Effective date: 20231101

REG Reference to a national code

Ref country code: DE

Ref legal event code: R097

Ref document number: 502019009798

Country of ref document: DE

PLBE No opposition filed within time limit

Free format text: ORIGINAL CODE: 0009261

STAA Information on the status of an ep patent application or granted ep patent

Free format text: STATUS: NO OPPOSITION FILED WITHIN TIME LIMIT

U20 Renewal fee for the european patent with unitary effect paid

Year of fee payment: 6

Effective date: 20240816

26N No opposition filed

Effective date: 20240802

PG25 Lapsed in a contracting state [announced via postgrant information from national office to epo]

Ref country code: MC

Free format text: LAPSE BECAUSE OF FAILURE TO SUBMIT A TRANSLATION OF THE DESCRIPTION OR TO PAY THE FEE WITHIN THE PRESCRIBED TIME-LIMIT

Effective date: 20231101

PG25 Lapsed in a contracting state [announced via postgrant information from national office to epo]

Ref country code: IE

Free format text: LAPSE BECAUSE OF NON-PAYMENT OF DUE FEES

Effective date: 20240814

U20 Renewal fee for the european patent with unitary effect paid

Year of fee payment: 7

Effective date: 20250730

PGFP Annual fee paid to national office [announced via postgrant information from national office to epo]

Ref country code: GB

Payment date: 20250822

Year of fee payment: 7

PGFP Annual fee paid to national office [announced via postgrant information from national office to epo]

Ref country code: CH

Payment date: 20250901

Year of fee payment: 7

PG25 Lapsed in a contracting state [announced via postgrant information from national office to epo]

Ref country code: RO

Free format text: LAPSE BECAUSE OF FAILURE TO SUBMIT A TRANSLATION OF THE DESCRIPTION OR TO PAY THE FEE WITHIN THE PRESCRIBED TIME-LIMIT

Effective date: 20231101

PG25 Lapsed in a contracting state [announced via postgrant information from national office to epo]

Ref country code: CY

Free format text: LAPSE BECAUSE OF FAILURE TO SUBMIT A TRANSLATION OF THE DESCRIPTION OR TO PAY THE FEE WITHIN THE PRESCRIBED TIME-LIMIT; INVALID AB INITIO

Effective date: 20190814

PG25 Lapsed in a contracting state [announced via postgrant information from national office to epo]

Ref country code: HU

Free format text: LAPSE BECAUSE OF FAILURE TO SUBMIT A TRANSLATION OF THE DESCRIPTION OR TO PAY THE FEE WITHIN THE PRESCRIBED TIME-LIMIT; INVALID AB INITIO

Effective date: 20190814