EP3524133B1 - Illuminated suction apparatus - Google Patents
Illuminated suction apparatus Download PDFInfo
- Publication number
- EP3524133B1 EP3524133B1 EP18204713.4A EP18204713A EP3524133B1 EP 3524133 B1 EP3524133 B1 EP 3524133B1 EP 18204713 A EP18204713 A EP 18204713A EP 3524133 B1 EP3524133 B1 EP 3524133B1
- Authority
- EP
- European Patent Office
- Prior art keywords
- waveguide
- light
- optical waveguide
- suction tube
- suction
- Prior art date
- Legal status (The legal status is an assumption and is not a legal conclusion. Google has not performed a legal analysis and makes no representation as to the accuracy of the status listed.)
- Active
Links
Images
Classifications
-
- A—HUMAN NECESSITIES
- A61—MEDICAL OR VETERINARY SCIENCE; HYGIENE
- A61B—DIAGNOSIS; SURGERY; IDENTIFICATION
- A61B1/00—Instruments for performing medical examinations of the interior of cavities or tubes of the body by visual or photographical inspection, e.g. endoscopes; Illuminating arrangements therefor
- A61B1/00131—Accessories for endoscopes
- A61B1/00135—Oversleeves mounted on the endoscope prior to insertion
-
- A—HUMAN NECESSITIES
- A61—MEDICAL OR VETERINARY SCIENCE; HYGIENE
- A61B—DIAGNOSIS; SURGERY; IDENTIFICATION
- A61B1/00—Instruments for performing medical examinations of the interior of cavities or tubes of the body by visual or photographical inspection, e.g. endoscopes; Illuminating arrangements therefor
- A61B1/00163—Optical arrangements
- A61B1/00165—Optical arrangements with light-conductive means, e.g. fibre optics
- A61B1/0017—Details of single optical fibres, e.g. material or cladding
-
- A—HUMAN NECESSITIES
- A61—MEDICAL OR VETERINARY SCIENCE; HYGIENE
- A61B—DIAGNOSIS; SURGERY; IDENTIFICATION
- A61B1/00—Instruments for performing medical examinations of the interior of cavities or tubes of the body by visual or photographical inspection, e.g. endoscopes; Illuminating arrangements therefor
- A61B1/012—Instruments for performing medical examinations of the interior of cavities or tubes of the body by visual or photographical inspection, e.g. endoscopes; Illuminating arrangements therefor characterised by internal passages or accessories therefor
- A61B1/015—Control of fluid supply or evacuation
-
- A—HUMAN NECESSITIES
- A61—MEDICAL OR VETERINARY SCIENCE; HYGIENE
- A61B—DIAGNOSIS; SURGERY; IDENTIFICATION
- A61B1/00—Instruments for performing medical examinations of the interior of cavities or tubes of the body by visual or photographical inspection, e.g. endoscopes; Illuminating arrangements therefor
- A61B1/06—Instruments for performing medical examinations of the interior of cavities or tubes of the body by visual or photographical inspection, e.g. endoscopes; Illuminating arrangements therefor with illuminating arrangements
- A61B1/0607—Instruments for performing medical examinations of the interior of cavities or tubes of the body by visual or photographical inspection, e.g. endoscopes; Illuminating arrangements therefor with illuminating arrangements for annular illumination
-
- A—HUMAN NECESSITIES
- A61—MEDICAL OR VETERINARY SCIENCE; HYGIENE
- A61B—DIAGNOSIS; SURGERY; IDENTIFICATION
- A61B1/00—Instruments for performing medical examinations of the interior of cavities or tubes of the body by visual or photographical inspection, e.g. endoscopes; Illuminating arrangements therefor
- A61B1/06—Instruments for performing medical examinations of the interior of cavities or tubes of the body by visual or photographical inspection, e.g. endoscopes; Illuminating arrangements therefor with illuminating arrangements
- A61B1/0625—Instruments for performing medical examinations of the interior of cavities or tubes of the body by visual or photographical inspection, e.g. endoscopes; Illuminating arrangements therefor with illuminating arrangements for multiple fixed illumination angles
-
- A—HUMAN NECESSITIES
- A61—MEDICAL OR VETERINARY SCIENCE; HYGIENE
- A61B—DIAGNOSIS; SURGERY; IDENTIFICATION
- A61B1/00—Instruments for performing medical examinations of the interior of cavities or tubes of the body by visual or photographical inspection, e.g. endoscopes; Illuminating arrangements therefor
- A61B1/06—Instruments for performing medical examinations of the interior of cavities or tubes of the body by visual or photographical inspection, e.g. endoscopes; Illuminating arrangements therefor with illuminating arrangements
- A61B1/07—Instruments for performing medical examinations of the interior of cavities or tubes of the body by visual or photographical inspection, e.g. endoscopes; Illuminating arrangements therefor with illuminating arrangements using light-conductive means, e.g. optical fibres
-
- A—HUMAN NECESSITIES
- A61—MEDICAL OR VETERINARY SCIENCE; HYGIENE
- A61B—DIAGNOSIS; SURGERY; IDENTIFICATION
- A61B17/00—Surgical instruments, devices or methods
-
- A—HUMAN NECESSITIES
- A61—MEDICAL OR VETERINARY SCIENCE; HYGIENE
- A61B—DIAGNOSIS; SURGERY; IDENTIFICATION
- A61B18/00—Surgical instruments, devices or methods for transferring non-mechanical forms of energy to or from the body
- A61B18/04—Surgical instruments, devices or methods for transferring non-mechanical forms of energy to or from the body by heating
- A61B18/12—Surgical instruments, devices or methods for transferring non-mechanical forms of energy to or from the body by heating by passing a current through the tissue to be heated, e.g. high-frequency current
-
- A—HUMAN NECESSITIES
- A61—MEDICAL OR VETERINARY SCIENCE; HYGIENE
- A61B—DIAGNOSIS; SURGERY; IDENTIFICATION
- A61B90/00—Instruments, implements or accessories specially adapted for surgery or diagnosis and not covered by any of the groups A61B1/00 - A61B50/00, e.g. for luxation treatment or for protecting wound edges
- A61B90/30—Devices for illuminating a surgical field, the devices having an interrelation with other surgical devices or with a surgical procedure
-
- A—HUMAN NECESSITIES
- A61—MEDICAL OR VETERINARY SCIENCE; HYGIENE
- A61M—DEVICES FOR INTRODUCING MEDIA INTO, OR ONTO, THE BODY; DEVICES FOR TRANSDUCING BODY MEDIA OR FOR TAKING MEDIA FROM THE BODY; DEVICES FOR PRODUCING OR ENDING SLEEP OR STUPOR
- A61M1/00—Suction or pumping devices for medical purposes; Devices for carrying-off, for treatment of, or for carrying-over, body-liquids; Drainage systems
- A61M1/71—Suction drainage systems
- A61M1/76—Handpieces
-
- A—HUMAN NECESSITIES
- A61—MEDICAL OR VETERINARY SCIENCE; HYGIENE
- A61M—DEVICES FOR INTRODUCING MEDIA INTO, OR ONTO, THE BODY; DEVICES FOR TRANSDUCING BODY MEDIA OR FOR TAKING MEDIA FROM THE BODY; DEVICES FOR PRODUCING OR ENDING SLEEP OR STUPOR
- A61M1/00—Suction or pumping devices for medical purposes; Devices for carrying-off, for treatment of, or for carrying-over, body-liquids; Drainage systems
- A61M1/84—Drainage tubes; Aspiration tips
-
- A—HUMAN NECESSITIES
- A61—MEDICAL OR VETERINARY SCIENCE; HYGIENE
- A61M—DEVICES FOR INTRODUCING MEDIA INTO, OR ONTO, THE BODY; DEVICES FOR TRANSDUCING BODY MEDIA OR FOR TAKING MEDIA FROM THE BODY; DEVICES FOR PRODUCING OR ENDING SLEEP OR STUPOR
- A61M2205/00—General characteristics of the apparatus
- A61M2205/58—Means for facilitating use, e.g. by people with impaired vision
- A61M2205/587—Lighting arrangements
-
- Y—GENERAL TAGGING OF NEW TECHNOLOGICAL DEVELOPMENTS; GENERAL TAGGING OF CROSS-SECTIONAL TECHNOLOGIES SPANNING OVER SEVERAL SECTIONS OF THE IPC; TECHNICAL SUBJECTS COVERED BY FORMER USPC CROSS-REFERENCE ART COLLECTIONS [XRACs] AND DIGESTS
- Y10—TECHNICAL SUBJECTS COVERED BY FORMER USPC
- Y10T—TECHNICAL SUBJECTS COVERED BY FORMER US CLASSIFICATION
- Y10T29/00—Metal working
- Y10T29/49—Method of mechanical manufacture
- Y10T29/49826—Assembling or joining
Definitions
- illumination of the surgical field is typically achieved through the use of headlamps and surgical microscopes.
- these illumination sources provide lighting that is either poor in quality or poorly directed.
- access to the desired anatomical target area may be achieved through an angled incision on one side of the patient's midline.
- Light emanating from an operating microscope is static and may be poorly directed relative to the angle of surgical access.
- light from a headlamp may be adjusted as a physician tilts or moves his head to redirect the output beam, but still may be blocked by various anatomical structures such as the spinous process or layers of tissue and muscle. Lighting from either source may not be adequate as the physician progresses through various phases of the procedure requiring visualization of the anatomy at varied depths from the skin-level incision.
- Hand-held instruments such as suction devices are routinely used during surgical procedures such as spine surgery. These devices are typically connected to a standard suction source in the operating room, enabling the physician to dynamically and efficiently remove blood, bone fragments, or fluid previously irrigated into the surgical site. These suction devices are sometimes also used to provide low force retraction of fat, muscle, or other structures during the procedure. The surgeon holds the suction device from its proximal end, manipulating the distal portion of the suction device during the surgical procedure in order to provide suction at the desired location. Hand-held suction devices are widely available in a variety of distal tip configurations suited to various surgical applications (Frazier, Poole, Fukijima, etc).
- Document WO 2009/116969 A1 describes an illumination system comprising an arthroscope, endoscope or other suitable surgical tool and an attachable cannula comprising a transparent or semi-transparent material capable of carrying light from the proximal end of the cannula to the distal end of the cannula, thereby illuminating the surgical field.
- the surgical filed is thus illuminated through components that do not occupy space that may otherwise be used for the optics of the arthroscope.
- the arthroscopic illumination system further comprises one or more illumination sources disposed at the proximal end of the cannula.
- the illumination source may be optically coupled with the cannula at the hub or other appropriate location.
- the cannula comprises a sterilizable polymer which functions as a waveguide.
- a waveguide is a material medium that confines and guides light.
- Document US 6 086 583 discloses an electric cautery used with an endoscope including a hood mounted to a distal end of an insertion part of the endoscope, wherein an electrode is provided to an inner surface and/or an end surface of the hood and a cable is provided to supply electricity to the electrode, wherein the cable extends in the channel of the insertion part of the endoscope.
- the present invention relates generally to the field of surgical illumination and more specifically to illumination systems with integrated surgical tools.
- An illuminated medical device according to the present invention is defined in claim 1.
- the exemplary devices described below provide improved illumination in a surgical suction device.
- the illuminated suction device described below includes a metal suction tube having a proximal end and a distal end connected by a central portion.
- the proximal end of the suction tube is provided with fittings for connection to a vacuum source.
- the suction tube has an inner surface and an outer surface, with a layer of optical cladding having a refractive index that may be between 1.29 and 1.67 on the outer surface of the central section of the suction tube, and an illumination waveguide having a proximal end and a distal end.
- the illumination waveguide is formed surrounding the optical cladding on the central portion of the suction tube, and serves to conduct light around the suction tube from the proximal end to the distal end of the illumination waveguide.
- the illumination waveguide may have a refractive index between 1.46 and 1.7 and may have a numerical aperture between .33 and .70.
- An illumination input is formed into the proximal end of the illumination waveguide for conducting light from a source to the illumination waveguide.
- the illuminated suction apparatus includes suction and illumination functions integrated into a hand-held device suited to meet the ergonomic needs of the physician.
- the hand-held, repositionable suction function already prevalently used in surgical procedures is surrounded by an illuminated waveguide which enables the physician to apply lighting directly to the desired region of the anatomy below the skin regardless of incision angle, depth, and surrounding anatomical obstructions.
- the illumination waveguide is a solid structure designed to specifically guide light from a high-intensity light source and is fabricated using injection molding of an optical-grade polymer with a specific index of refraction such as cyclo-olefin polymer or copolymer or any other suitable acrylic or plastic.
- the illumination waveguide can be engineered to efficiently transmit light from its distal output by sheathing or surrounding it with a second material of lower index of refraction properly coordinated to the index of refraction of the core material to preserve Total Internal Reflection (TIR).
- TIR Total Internal Reflection
- This solid-state, structure guided illumination waveguide is powered via a fiber optic cable connected to a high intensity light source such as 300W xenon sources supplied by Luxtec, BFW, and others.
- the illuminated suction apparatus may also include one or more barbs, ridges or other protrusions on the proximal end of the suction lumen enabling the connection of standard PVC surgical tubing or other suitable vacuum conduit.
- a generally solid waveguide for suction illumination rather than optical fibers, eliminates losses due to the non-transmissive spaces between the optical fibers and reduces losses solely to those associated with Fresnel reflections.
- the marked reduction in losses associated with a fiber/fiber junction allows for high intensity light transmission to the waveguide without significant heating of the interface or need for heat sink devices or mechanisms at the interface.
- light from a standard 300 watt light source can be transmitted with use of standard connectors such as ACMI, with a steady state temperature below the temperatures harmful to body tissue without design alteration.
- an illumination waveguide also referred to herein as an optical waveguide
- Microstructures such as facets, lenses and or lens arrays can be applied to any suitable surfaces of the illumination waveguide and light can be extracted incrementally along the walls of the device with injection molded structures and other suitable structures at minimal added cost.
- Use of sequential extraction surfaces, changes in the numerical aperture of the device as a function of position, use of extraction structures- either micro or macro structural, with or without changes in the numerical aperture, selective cladding, selective reflective coatings, etc, all can be used to shape the output profile of the waveguide to meet the design specifications or light specifications requested by the user for specific surgical suction illumination applications.
- the device is meant to be disposable, fabricated out of low cost materials to enable leverage of manufacturing efficiencies through use of processes such as high-volume injection molding, over-molding, and metal & polymer extrusion. Device assembly would be engineered to minimize labor costs.
- a low cost, high-performance combination device provides an attractive alternative to existing discrete illumination and suction devices while minimizing incremental cost to the user.
- the illuminated suction apparatus comprises a hand-held surgical device combining a high-performance illumination waveguide with suction. This device would be useful in various surgical procedures including open and minimally invasive orthopedics.
- the illumination waveguide may also be combined with other surgical devices such as surgical drills and probes, etc.
- the illumination waveguide may be fabricated with fiber optic pigtails, index matching liquid and or suction lumens.
- the surgical suction field must be illuminated by the illumination waveguide while the distal suction tip is in active contact with the tissue and or fluid surface.
- the output light from the illumination waveguide must emanate from a point on the waveguide that is proximal to the distal suction tip of the device.
- the waveguide shape may be configured to control the numerical aperture of the waveguide and thus, the divergence angle of the exiting light.
- one or more refraction elements such as lenses of any suitable size may be formed in or near the distal end of the waveguide to control the light emitted from the waveguide.
- the distal tip of the suction tube may be configured to transmit light or reflect light such that the surgeon sees the distal tip of the suction as illuminated such that he/she can localize the distal tip of the suction device in their peripheral vision without directly looking at or focusing on the tip of the device. Extending a thin layer of the waveguide to the tip can provide the effect.
- One or more surfaces in an optical waveguide sheath or adapters or connectors may be polarized using any suitable technique such as micro-optic structure, thin film coating or other coatings. Use of polarized light in a surgical environment may provide superior illumination and coupled with the use of complementary polarized coatings on viewing devices such as cameras or surgeon's glasses may reduce reflected glare providing less visual distortion and more accurate color rendering of the surgical site.
- One or more surfaces of an optical waveguide sheath may also include light filtering elements to emit light of one or more frequencies that may enhance visualization of specific tissues.
- an illuminated suction device comprises a suction tube having a proximal end, a distal end, and a central portion therebetween.
- the proximal end is fluidly connectable to a vacuum source, and the suction tube further comprises an inner surface and an outer surface.
- An inner layer of optical cladding is disposed circumferentially around the outer surface of the central portion of the suction tube, and the device also includes a non-fiber optic optical waveguide.
- the optical waveguide has a proximal end, a distal end, and a central portion therebetween. Light is transmitted through the waveguide by total internal reflection and the light exits the distal end of the optical waveguide to illuminate a surgical field.
- the optical waveguide is disposed against the suction tube with the inner layer of optical cladding disposed therebetween.
- the device also has an outer layer of optical cladding disposed circumferentially around the suction tube and the optical waveguide.
- the suction tube may comprise a tube having a cylindrically shaped cross-section.
- the distal end of the suction tube may be disposed further distally than the distal end of the optical waveguide.
- the device may further comprise a suction control mechanism disposed near the proximal end of the suction tube.
- the suction control mechanism may be adapted to control strength of suction provided by the suction tube.
- the suction tube may also be electrically conductive and may act as an electrode for conducting an electrical signal. A distal portion of the suction tube main remain free of cladding. A portion of the suction tube may remain unobstructed by the optical waveguide.
- the inner layer of optical cladding may have an index of refraction between 1 and 1.42.
- the inner layer of optical cladding may form a tube having a substantially circular cross-section.
- the inner layer of the optical cladding may be concentric with the suction tube.
- the optical waveguide may have a refractive index between 1.46 and 1.70.
- the optical waveguide may have a numerical aperture between 0.33 and 0.7.
- the distal end of the optical waveguide may comprise an array of lenses integrally formed in the distal end thereof.
- the array of lenses may be arranged so that at least a first lens overlaps with a second lens, and such that a spot of light emitted from the first lens overlaps with a spot of light emitted from the second lens.
- the distal end of the optical waveguide may comprise a plurality of microstructures for extracting light therefrom and the microstructures may be adapted to direct the extracted light to form a pre-selected illumination pattern.
- the optical waveguide may comprise one or more light extracting structures near the distal end of the waveguide and the light extracting structures may be disposed on an outer surface of the optical waveguide.
- the light extracting structures may be adapted to extract light from the optical waveguide and they may be adapted to direct the extracted light laterally and distally away from the optical waveguide to form a pre-selected illumination pattern.
- the optical waveguide may have an inner curved surface and an outer curved surface, and the inner curved surface may have a radius of curvature different than that of the outer curved surface.
- An air gap may be maintained between the suction tube and the optical waveguide.
- Standoffs may be disposed on the suction tube or on the optical waveguide in order to prevent engagement of the suction tube and the optical waveguide. This helps to maintain the air gap between the suction tube and optical waveguide.
- the optical waveguide may comprise a polarizing element for polarizing light exiting the distal end of the optical waveguide. The distal end of the optical waveguide may not be flat.
- the optical waveguide may also have a filter element for filtering light so that one or more wavelengths of light are delivered to the illumination area.
- the outer layer of optical cladding may have a refractive index between 1.29 and 1.67.
- the outer layer of optical cladding may form a tube that is non-concentric with the suction tube. A portion of the outer layer of optical cladding may directly contact a portion of the inner layer of optical cladding.
- the device may further comprise a light conducting conduit that is integrally formed as a single piece with the proximal end of the optical waveguide, and the light conducting conduit may be adapted to introduce light from a light source into the optical waveguide.
- the light conducting conduit may comprise two light conducting conduits each having substantially rectangular cross-sections.
- the two light conducting conduits may be integrally formed as a single piece with the proximal end of the optical waveguide.
- the optical waveguide may be slidably coupled with the suction tube. Therefore, proximal movement of the optical waveguide relative to the suction tube increases spot size of the light exiting the distal end of the optical waveguide.
- the device may further comprise a handle coupled to the proximal end of the optical waveguide and the proximal end of the suction tube.
- An air gap may be disposed between the waveguide and an inner surface of the handle.
- Standoffs may be disposed on an inner surface of the handle or on an outer surface of the optical waveguide in order to prevent engagement of the handle and optical waveguide, thereby helping to maintain the air gap therebetween.
- a method of illuminating tissue in a surgical field of a patient comprises providing an illuminated suction apparatus having a suction tube and a non-fiber optic optical waveguide that transmits light therethrough by total internal reflection.
- the suction tube and optical waveguide are coupled together to form a single handheld instrument.
- the method also comprises positioning a distal end of the illuminated suction apparatus in the surgical field, and illuminating the surgical field by extracting light from the optical waveguide.
- Light extraction features disposed on a distal end or an outer surface of the optical waveguide are used to extract the light, and also to direct the extracted light to form a pre-selected illumination pattern in the surgical field. While illuminating the surgical field, fluid or debris may be suctioned from the surgical field with the suction tube.
- the illuminated suction apparatus may comprise an inner layer of optical cladding that is disposed around the suction tube.
- the inner layer of optical cladding may be disposed between the suction tube and the optical waveguide.
- An outer layer of optical cladding may be disposed around both the suction tube and the optical waveguide.
- the distal end of the illuminated suction apparatus may be positioned into engagement with the tissue while a distal end of the optical waveguide does not engage the tissue.
- a distal end of the optical waveguide may comprise an array of lenses integrally formed therein.
- Illuminating the surgical field may comprise projecting a spot of light from each lens in the array such that at least a first spot of light overlaps with a second spot of light in the surgical field.
- Illuminating the surgical field may also comprise extracting light from the optical waveguide with one or more light extracting structures. The extracted light may be directed laterally and distally away from the optical waveguide.
- Illuminating the surgical field may comprise illuminating the surgical field with polarized light.
- Illuminating the surgical field may comprise filtering light delivered by the waveguide so that one or more wavelengths of light are delivered to the surgical field.
- the method may further comprise controlling suction strength provided by the suction tube with a suction control mechanism.
- the method may also comprise stimulating the tissue with electrical current delivered by the suction tube.
- the optical waveguide may be slidably positioned relative to the suction tube thereby allowing an increase or decrease in spot size of the extracted light on the tissue.
- a method of manufacturing an illuminated suction apparatus comprises providing a suction tube having a proximal end, a distal end, a central section disposed therebetween, an inner surface and an outer surface, and providing a non-fiber optic optical waveguide having a proximal end, a distal end, and an outer surface.
- the optical waveguide transmits light therethrough by total internal reflection.
- An inner layer of optical cladding is fit over the outer surface of the central section of the suction tube, and the optical waveguide is coupled with the suction tube with the inner layer of optical cladding disposed therebetween.
- An outer layer of optical cladding is fit over the outer surface of the suction tube and over the outer surface of the optical waveguide.
- the suction tube may comprise a tube having a circular cross-section.
- the optical waveguide may have a first curved side with a first radius of curvature and a second curved side with a second radius of curvature. The first radius of curvature may be different than the second radius of curvature.
- Fitting the inner layer may comprise heat shrinking the inner layer onto the suction tube.
- Coupling the optical waveguide with the suction tube may comprise disposing the suction tube in an elongated open or closed channel disposed along the optical waveguide.
- Fitting the outer layer may comprise heat shrinking the outer layer onto the suction tube and the optical waveguide.
- illuminated suction apparatus 10 includes suction tube 12 made of any suitable material such as aluminum, stainless steel or any suitable acrylic or other polymer.
- Suction tube 12 encloses suction lumen 12L.
- Illumination waveguide 14 is secured over cladding layer 15 on central portion 12A of suction tube 12 leaving input or proximal portion 12P and distal portion 12D exposed.
- Illumination waveguide 14 may have one or more sides, surfaces or other portions that are configured such as flat side 14S or side 14T to optimize light mixing as light 11L travels from illuminator input end 14P to exit through light output face, or distal face 14F on output end 14D.
- Illumination waveguide 14 is made of an optical grade engineering thermoplastic such as cyclo olefin polymer which efficiently transmits light. Any other suitable material such as Cyclic Olefin Copolymer, Polycarbonate, Acrylic and or TPC may also be used.
- the angles and bends of the waveguide structure are engineered so light transmits through the waveguide via total internal reflection (TIR).
- TIR total internal reflection
- the side walls and other features have angles and flat areas such that light is mixed and not allowed to escape until it reaches the distal end 14D of the waveguide and exits with a selected uniformity. Light that is reflected by TIR is internally reflected with high efficiency (nearly 100% efficiency).
- Suction tube 12 introduces a curved interface with illumination waveguide 14 that changes the angle of reflection and creates unwanted scatter of the light.
- cladding material 15 with a specific index of refraction is placed between the suction tube and the waveguide. TIR can also be potentially disrupted by blood or foreign matter from the surgical site coming into contact with exterior exposed surface 14X of illumination waveguide 14. Exterior cladding layer 15X having a specific refractive index can also be attached to the outside of the waveguide.
- the waveguide material may or may not completely surround suction tube 12 in order to provide an illumination pattern from distal end 14D unobstructed by a shadow from the metallic or malleable plastic suction tube.
- Suction tube 12 could be treated (for example anodized in the case of aluminum) in order to reduce glare or reflections resulting from interaction with light output from the illuminator.
- FIG. 1B illustrates an alternative embodiment of an illuminated suction apparatus 10a having electrodes.
- One or more electrodes 13e may be disposed on a distal portion of the suction tube 12, and/or one or more electrodes 15e may be disposed on a distal portion of the waveguide 14.
- the electrodes allow the illuminated suction apparatus to be used as a probe for stimulating various tissues such as nerves, or for cauterizing tissue.
- Wires or other conductors may couple the electrodes to the proximal end of the illuminated suction apparatus 10a which may then may be coupled with an energy source that provides the current delivered by electrodes 13e or 15e.
- the electrodes may be attached to the outer surface of the suction tube, or a portion of the outer cladding 15 may be removed to allow the metal suction tube to be exposed and used as an electrode.
- the suction tube itself may be used as a conductor and electrode.
- electrodes may be attached to the outer surface of the waveguide, or a portion of the cladding 15X may be removed to allow portions of the waveguide to be exposed and used as an electrode if conductive, or the electrodes may be coupled to the waveguide.
- the illuminated suction apparatus may then be operated in monopolar or bipolar mode.
- distal face 14F of waveguide 14 may include any suitable surface treatment to control how light 11L forms illumination pattern 19.
- One or more lenses, or lens arrays such as lens array 24 may be formed on distal face 14F.
- Suitable optical features such as lens array 24 may include lenses of identical, similar or different shapes and sizes to produce the desired illumination pattern or patterns. Combinations of lens shapes and radii may be used to optimize lens arrangement on the distal or output face of the waveguide.
- the lens array may include lenses on any portion of distal face 14F.
- Distal face 14F is generally planar and may be described with respect to orthogonal axes 26X and 26Y. Individual lenses of lens array 24 may also be oriented differently, i.e.
- a plurality of lenses is disposed on the distal face 14F. Light is projected from each lens distally toward the surgical field in an illumination pattern.
- the pitch of the lenses may be adjusted such that the illumination patterns are discrete and separate from one another, or the pitch of the lenses may be adjusted such that the illumination patterns overlap with one another.
- Overlapping illumination patterns help eliminate non-uniform illumination that results from optical defects in the lenses and/or waveguide. Optical defects may be caused by parting lines, gates, scratches, etc. in the optical waveguide and lenses. By overlapping illumination patterns, the non-uniformities are "covered up” or “washed out” by other illumination patterns provided by adjacent lenses in the lens array. Additional details about this feature are disclosed below.
- lens 24A may adopt any suitable geometry and may be curved or faceted with one or more facets such as facets 25. Polygonal shapes such as lens 24A allow the lenses to be located immediately adjacent to each other eliminating undirected light leakage between the lenses.
- the distal end of the waveguide may be flat or it may be curved (convex or concave) in order to help shape and direct light to the surgical field.
- Polarizing elements or filters may also be coupled to the distal end so that the waveguide delivers polarized light to the surgical field which may be advantageous in preferentially visualizing certain tissues.
- the polarizing elements may also be a wire grid polarizer.
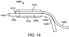
- FIG 14 illustrates another exemplary embodiment of an illuminated suction apparatus 1400.
- the illuminated suction apparatus 1400 includes an illumination waveguide 1410 disposed adjacent a suction tube 1402.
- the suction tube may be formed of malleable metal or another malleable material such that it has a straight relatively rigid distal section 1402r, and a pre-bent flexible proximal section 1402f.
- the suction tube 1402 may be joined to a flexible tubing 1406 that fluidly connects the suction tube 1402 to a vacuum source (not illustrated) and thus the distal tip 1404 of the suction tube 1402 may be used to remove fluid or other material from the surgical field.
- Illumination waveguide 1410 is preferably a non-fiber optic waveguide (preferably as are any of the waveguides described herein).
- the waveguide may be cylindrical as illustrated in Figure 14 , or it may have other profiles such as a square cross-section, rectangular, oval, elliptical, ovoid, etc., or any of the other geometries described herein.
- the pre-bent malleable section 1402 allows a surgeon or other operator to bent the suction device so that it can access various surgical sites and accommodate differing anatomies.
- Another possible cross-section for the illumination waveguide is illustrated in Figures 14A-14B where the height h of the waveguide 1410a tapers down such that the proximal end is higher than the distal end.
- the width of the waveguide 1410a may also increase from the proximal end to the distal end as seen in Fig. 14B . This geometry results in a trumpet shaped waveguide having a lower profile so that it may fit in a smaller incision and take up less space in the surgical field.
- the illumination waveguide therefore has a flat upper surface and a flat lower surface, as does the suction tube 1402. Therefore, the bottom surface of the illumination waveguide lays flush against the upper surface of the suction tube.
- An outer sheath 1414 such as heat shrink may then be used to hold the illumination waveguide and suction tube together.
- the outer sheath 1414 may be selected to have desirable optical properties in order to minimize loss of light.
- FEP heat shrink has a desirable index of refraction so that light is transmitted along the waveguide 1410 and then extracted from the distal portion 1412 using any of the extraction features described herein.
- the outer sheath 1414 may also be a tight fitting polymer sheath that is stretched over the waveguide and suction tube, and may not be heat shrink tubing. Additionally, a separate layer of cladding such as heat shrink tubing or tightly fitting tubing (not illustrated) that can be stretched may be disposed over the suction tube in order to minimize light loss caused by contact between the suction tube and the illumination waveguide. The separate layer of cladding may be FEP tubing or any of the other materials described herein, and preferably is disposed entirely around the circumference of the suction tube.
- a fiber optic cable 1408 couples the illumination waveguide with an external light source (not shown). The fiber optics cable in this embodiment is preferably integral with the waveguide (e.g.
- the fiber optic cable is releasably connected to the waveguide.
- the fiber optic cable 1408 may be coupled with the waveguide 1402 such that when the malleable bent portion 1402 is bent, the fiber optic cable 1408 bends with the suction tube 1402f, or in other embodiments, the fiber optic cable 1408 need not be coupled with the bent malleable portion 1402f and may hang freely and independently of the suction tube.
- the waveguide position along the suction tube may be adjustable.
- illuminated suction apparatus 1500 includes an illumination waveguide 1502 coupled to a fiber optic cable 1504.
- the illumination waveguide 1502 is slidably disposed over suction tube 1506 which is connected to flexible vacuum tubing 1508.
- the waveguide may slide proximally or distally relative to the suction tube 1506 and this permits regulation of light output spot size and brightness in the surgical field.
- the waveguide 1502 is advanced distally relative to the suction tube 1506 thereby resulting in a smaller spot of light 1510 and a more brightly lit distal tip of the suction tube and surgical field.
- the illumination waveguide is retracted proximally relative to the suction tube and thus the light spot size 1510 is larger and more diffuse than in Figure 15B and therefore less brightly lighting up the distal tip of the suction tube as well as less brightly illuminating the surgical field.
- the waveguide 1502 in Fig. 15A may have a circular cross-section or it may have other cross-sections such as flat, curved, rectangular, or any of the cross-sections disclosed herein.
- the waveguide has a concave inner surface that forms a saddle for receiving the suction tube, and a convex outer surface. This allows the waveguide to be mated with the suction tube with a low profile, as discussed herein with respect to Fig. 16 .
- Light 11L from light source 11 is conducted to the illumination waveguide using any suitable apparatus such as fiber optic cable 11C and is then conducted through waveguide 14 and exits from any appropriate structure or structures on or near distal end 14D of the waveguide.
- the light source such as an LED could be integrated into the suction handle eliminating the need for a fiber optic connection.
- Vacuum from suction source 13 is conducted to illuminated suction apparatus 20 using any suitable suction tube such as tube 13T which is connected to vacuum input 22P.
- the vacuum available at the distal end of suction tube 12 may be controlled by covering all or a portion of suction hole H in handle 22.
- Illuminated suction apparatus 10 may be integrated into a handle such as handle 22 made of relatively low-cost engineering plastic such as ABS or polycarbonate.
- Handle 22 may be formed from two or more components that could be separate injection molded components designed to be snap fit, glued, or ultrasonically welded together.
- the handle could be formed over an illuminated suction apparatus such as apparatus 10 through an over-molding process.
- the proximal portion of the combined device such as illuminated suction apparatus 20 would also contain a hole, hole H, properly positioned to allow the surgeon to enable the suction function by obstructing all or a portion of the hole with a finger; the hole communicates with the suction pathway in the device, disabling suction by creating a "suction leak" when it is not blocked.
- the proximal end of handle 22 may also contain inputs for a traditional fiber optic cable to be attached to illumination waveguide 14, such as a male ACMI connection or other suitable connector, and a vacuum port such as vacuum port 22P which may be a barbed fitting suitable for standard flexible suction PVC suction tubing of various sizes to be attached.
- the fiber optic cable is attached to a high-intensity light source such as light 11.
- Suction tube 13T is attached to any standard vacuum source in the OR such as a waste collection container with integrated vacuum pump such as vacuum source 13.
- light beam 11B exits waveguide distal face 14F at a specific angle based on the optical properties such as the numerical aperture (NA) of the input source, index of refraction of the material, and shape of the waveguide.
- Light pattern 19 cast onto the target surgical field is optimized based on the specific distance 16 the illuminator is set back from the distal tip 12D of the suction tube.
- divergence angle 18 of light beam 11B results in a specific illumination pattern 19 with a total light output and illumination size 17 at any target plane normal to the illuminator such as plane 21.
- the plane at the distal tip of the suction tube is of particular interest, since the physician will place the distal tip at the desired surgical target to enable suction or retract tissue.
- Figure 4A illustrates an alternative embodiment of an illuminated suction apparatus having light extraction features 23 on a lateral surface of the illumination waveguide that extract light 25 and direct the light 25 laterally and distally toward the surgical field.
- the extraction features may include prisms, lenses, lenslets, multiple facets, or other surface features known in the art that extract light from the waveguide and direct the light to a desired area in a desired pattern.
- the extraction features may be disposed in a discrete area to extract light only from that area, or the extraction features may be disposed circumferentially around the waveguide so that a uniform ring of light emits from the waveguide. Using both lateral extraction features and distal light features allows diffuse light to emit from the lateral surfaces of the waveguide while more focused light can be emitted from the distal tip of the waveguide.
- light source 11 is transmitting light 11L into cyclo olefin polymer core 30 with refractive index 1.52, fluorinated ethylene propylene (FEP) cladding 32 with refractive index 1.33, and an external environment 34 surrounding cladding 32.
- Light source 11 is assumed to be in air with a refractive index of 1 and a numerical aperture (NA) of 0.55 which corresponds to a half-cone angle, angle 36, of 33.4 degrees.
- the NA of source 11 is the angle of incidence on the core when light 11L is coupled in which corresponds to angle 37.
- This ray trace can be worked backwards from the critical angle to determine the maximum source NA that will still allow for all light to undergo TIR at the core-cladding boundary. If reflection angle 41 is 61.0 degrees which corresponds to the critical angle for the selected core and cladding, then internal refraction angle 39 is 29 degrees which means that angle 37 must be 47.4 degrees. From 47.4 degrees, the source NA is calculated to be 0.74. Therefore, when using the cyclo olefin polymer/FEP combination, an input source with a much higher NA/Efficiency can be used.
- the critical angle is smaller than the angle from the 0.55NA (68.8 degrees). If no cladding is used, at the index of 1.417 and higher, the critical angle equals to the input angle causing light leakage because TIR is not maintained. Moreover, the combination of a cyclo olefin polymer core with FEP cladding allows the use of an input source with NA exceeding 0.55. The input source would enable greater light capture from a source due to the larger acceptance angle and provide more light through the illumination conduit assuming constant transmission efficiency. Understanding the critical angles of FEP and open environment, structures can be designed more accurately to extract the light from the illumination conduit.
- Any suitable cladding materials such as FEP can be applied to central portion 12A of suction tube 12 through methods such as manual or semi-automated shrink-application of oversized FEP with a heat gun or focused heat from a hot-box nozzle, leveraging FEP's characteristic shrink ratio. Any other technique of a cladding such as FEP may be used such as applying a liquid coating or vapor deposition of FEP to central portion 12A or any other suitable surface to be clad. Suction tube 12 with integrated cladding 15 can then have illumination waveguide 14 insert-molded (via conventional high-volume injection molding) and waveguide 14 will able to maintain total internal reflection.
- cladding 15 between suction tube 12 and illumination waveguide 14 enables the suction tube to be formed of any suitable material such as metal or plastic.
- the choice of the plastic material for the suction tube needs to be such that the index of that material is below 1.42 for use with a waveguide having an index of 1.52 to maintain the differential at the interface of the suction tube and the waveguide.
- use of plastic may create challenges with injection molding processes which require relatively high temperatures and pressures inside of the molding cavity.
- the device can be manufactured such that illumination waveguide 14 is formed with an internal lumen with no additional suction conduit running through it. The challenge posed by this approach is the potential light transmission efficiency losses stemming from evacuating biological material (blood, etc) through the lumen and making contact with the internal surface of the illumination waveguide lumen throughout the procedure.
- Cladding with an index of 1.33 shows no light transmission dependence on the refractive index of the surrounding environment or the cladding thickness when used with an illumination waveguide having a refractive index at or near 1.52.
- the light coupled into the illumination waveguide is constrained to the core due to total internal reflection at the core-cladding interface.
- Teflon FEP with an index of 1.33 used as a cladding material with a cyclo olefin polymer core with index 1.52 shows no dependence on cladding thickness in three representative simulated surgical environments.
- a low index of refraction polymer may be injection molded or otherwise formed over the waveguide.
- Figure 17 illustrates an illumination waveguide 1704 having such a polymer 1706 molded thereover. This allows the polymer to minimize light loss from the waveguide, and also allows the polymer 1706 casing to be used for attaching to the suction tube or other surgical instruments.
- the two may be bonded together, solvent bonded, welded, or otherwise joined together.
- snaps or other coupling mechanisms may be joined to the polymer and suction tube forming a snap fitting.
- An illumination waveguide formed from material with a refractive index of 1.46 showed light transmission dependence on both cladding thickness as well as the external environment. This is a result of introducing light into the illumination waveguide at an NA of 0.55. Under this condition, light enters the core at an angle that is less than the critical angle of the core-cladding boundary, resulting in light propagating into the cladding. Since light propagates through the cladding, the cladding-environment boundary condition (critical angle) is a factor in the light transmission. Due to light propagating through the cladding, the cladding thickness also affects the transmission, because as the thickness increases, the rays bounce at the boundaries fewer times as they traverse the length of the waveguide.
- central portion 52 between light input section 54 and illuminated waveguide body 55 should be curved to form angle 53 between the input and body as close to 180 degrees as possible. Almost any bend or radius in the tube will cause some light leakage. However, if angle 53 in central portion 52 is limited to 150 degrees or greater, the light leakage is very low and the light transmission efficiency is maximized. Where angle 53 is less than 150 degrees, light leakage may be reduced by reducing or otherwise controlling the divergence of the light within the waveguide or by using any other suitable technique.
- the shape of illuminated waveguide 51 morphs or cylindrically “sweeps” or “blends” from a solid cylindrical input, input section 54 into a circular hollow tube of waveguide body 55.
- Waveguide bore 56 may accommodate any suitable surgical tools such as suction tube 58. Suitable surgical tools access waveguide bore 56 through access opening 59.
- light exits waveguide body at or near distal end 60 with the majority of light exiting through distal surface 61.
- Distal surface 61 may be flat or it may any other suitable simple or complex shape.
- Distal surface 61 may have any of the surface features disclosed herein for extracting and directing light to a field of illumination.
- the NA of the illumination waveguide increases, thus increasing the light divergence as light emerges from the distal end of the illuminator.
- the NA can also be influenced by bends. It may be possible to counter-bend to adjust the NA.
- Other techniques for controlling the NA of the waveguide may also include molding or machining features into the surfaces of the waveguide.
- the concepts illustrated above can also be manufactured as two halves that are over molded around any suitable surgical tool such as suction tube 58.
- Figs. 6A-6C illustrate various cross-sections of the waveguide in Fig. 6, and Fig.
- a suction tube 1610 is disposed in the concave saddle portion 1604 of the waveguide 1602 as seen in Figure 16 .
- Optical cladding 1606 such as heat shrink tubing is disposed circumferentially entirely around the suction tube 1610, and then another layer of optical cladding 1608 such as heat shrink is dispose entirely around the circumference of both waveguide 1602 and suction tube 1610.
- a portion of the cladding on the suction tube contacts a portion of the outer cladding where no waveguide surrounds the suction tube.
- the inner saddle has a first radius of curvature and the outer surface has a different radius of curvature (here larger than the inner radius of curvature).
- Alternative embodiments may have other combinations of radii of curvature.
- disposable illuminated waveguide 70 can be supplied as a stand-alone device.
- Various suction devices or other suitable tools such as suction tool 71 can be inserted though central bore 72, the working channel of the illumination waveguide.
- a connection could be constructed between waveguide 70 and a surgical tool such as suction tool 71 that would allow the waveguide to be secured to various suction devices, enabling both waveguide 70 and suction tool 71 to be manipulated as a single unit.
- This concept can be applied to other devices that would fit through central bore 72 such as drills, etc.
- illuminated surgical apparatus 74 lends itself to dynamic positioning of the waveguide 70 relative to any surgical tool inserted in central bore 72, such as suction tool 71.
- the user could rotate the illuminator about the suction device as in rotation 75, as well as telescope illuminator along the length of the suction tube along path 76, repositioning or expanding or contracting illumination field 77 as needed during the procedure.
- An alternative approach involves splitting the solid input circle or ellipse such as input 78 of Figure 7 and split input 80 is formed as in Figure 8 in which half of input light 11L is directed to one half of the input, arm 82, and the other half of input light 11L is directed to the second half of the input, arm 83.
- arms 82 and 83 come together in a generally rectangular cross-section as input 80 to engage fiber optic cable 11C.
- input 80 can have circular cross-section with semi-circular arm(s), elliptical or multi faceted for better mixing of light.
- Inputs 78 and 80 may be hollow or tubular and may also be shaped to operate as a lens or may include a plurality of lenses.
- a fiber optic cable may be coupled to the input portion of the waveguide thereby allowing light from an external light source to be delivered from the light source to the waveguide.
- the fiber optic cable may be releasably coupled with the light input portion of the waveguide, or the fiber optic cable may be a single piece fixedly coupled with the light input portion of the waveguide and integral therewith (e.g.
- the integrated fiber optic cable, or the releasably coupled fiber optic cable may be used with any of the waveguide embodiments disclosed herein.
- the integrated fiber optic cable or the releasable fiber optic cable may also be used in any of the other embodiments disclosed herein.
- various artifacts may be formed in or on an optical part that may result in unpredictable performance of the optical part.
- Features such a gate scar, injector pin marks, parting lines, molded-in stress and any bends or sharp edges may create irregular and unpredictable output light patterns.
- the output surface of the waveguide may simply be roughened which will diffuse the light output. Roughened output surfaces cause significant efficiency loss and raise the output angle of the light.
- An alternative approach may be to create a pattern that projects multiple overlapping images of the defect pattern which will result in uniform illumination while minimizing efficiency loss and output angle. This can be achieved with a lens array on output surface such as lens array 24 of Figure 2 .
- the design of a lens array for the input or output of an illumination waveguide should consider the focal length of the lenses, the quantity of lenses in the array, any suitable patterns for the array, and the spacing between the lenses.
- the lens focal length of the lenses needs to be selected to minimize diffusion, and to maximize the radius of the lenses of the array.
- the lens diameter should also consider the tooling to be used to create the lenses. Tool marks left or created by the tooling should be a small percentage of the diameter of the lenses. Similarly, making the lenses too small makes them difficult to manufacture and diffuses the light output. If the lenses are too large, there will be too few overlapping images and the resulting light pattern will not be uniform.
- Incoherent and uncollimated light is going to diverge due to the geometry and refractive index of the waveguide; any divergence added by the lens array needs to be considered. Divergence of five to 10 degrees due to the lenses would be selected to maintain output light divergence close to the inherent divergence of the waveguide.
- Lens array pattern is also important.
- the lens array pattern is a balance between manufacturing complexity and lens spacing. Hexagonal lenses provide minimal inter-lens spacing and minimal wasted space while maintaining light projection characteristics similar to spherical lenses.
- a rectangular lens array pattern may be selected of a square or rectangular spot pattern is desired.
- a rectangular illumination pattern may be produced by varying the lens pitch between the X and Y dimensions in the plane of the output face on which the lenses are formed. For example, additional microstructure features can be added to the distal end of an illumination waveguide to optimize control of the illumination pattern as well as to homogenize the light output field.
- Anti-reflection features can be added to the input and output faces of the illuminator to reduce normal Fresnel reflection losses.
- the features of the waveguide such as curves, bends, and mounting features, can cause undesired reflections, light leakage, glare, and non-uniform output patterns resulting in poor performance.
- Adding microstructure features which may be refractive or diffractive on or near the distal portion of the illumination waveguide can potentially provide better light uniformity and or to bias the divergence or convergence of the illumination pattern as well to homogenize the light output of the illumination field.
- Features or tapering of the waveguide can also be added to the outside of an illumination waveguide to control the illumination output.
- micro lenses such as lens 78L or other micropattern structures can be added to an illumination waveguide input such as input 78 to better control the input beam shape or other light input characteristics.
- the light input arm can be round, square or multi faceted to provide a better mix of the light.
- the waveguide can be made in various shapes or cross sections.
- preferred cross-sectional shapes are round, elliptical, or hexagonal.
- Other cross-sectional shapes such as rectangles, triangles, or squares are possible.
- generally regular surfaces of the waveguide, as well as odd number of surfaces may cause a secondary pattern at the output. This pattern would manifest as bright and dark spots.
- Cross sections resembling even numbered higher order polygons such as the hexagon are currently preferred. As the number of faces in the cross-section increase, these cross sections would approach a circle, such a device design would potentially complicate manufacturing processing (such as injection molding), thereby increasing costs.
- the illuminator can be tapered to increase or decrease its cross section as light travels from the input to extraction zones. Tapering biases the NA, causing either a tighter output spot (for increased area at the exit) or a larger more diffuse spot (decreased exit surface area, breaking TIR).
- the illumination may need to be uniformly circumferential or delivered in an off axis orientation for most of the lighting to orient anterior to the retractor.
- the design of the handle structure could include a portion that partially or fully covers the length of waveguide 94 to create the desired air gap.
- Features such as standoffs 93X can be molded into the surface of the handle in contact with the illuminator and need to be located in optical dead zones (zones where there is little or no TIR) to create a gap between components and minimize light leakage through the contact points.
- air gap 95 can be formed without standoffs based on the design tolerance between the ID of the illuminator and OD of the suction tube or with one or more standoffs such as standoff 92X or standoff 94X or any suitable combination.
- the air gaps between the handle/waveguide and/or wavguide/suction tube may be used in any of the illuminated suction apparatus embodiments disclosed herein.
- the divergence of light output from illuminated waveguide 94 can be controlled by permitting all or a portion of distal casing 96 to slide along axis 97 over the illuminator. The user can slide the tube down over the illuminated waveguide 94 to reduce the divergence angle and reduce the divergence of light 99L.
- handle 93 must accommodate a suitable routing and termination of the suction channel and solid-state illuminator such that a suction flow control hole H is presented to the user in an ergonomically favorable position.
- hole H may be present at or near the top surface 98 of the proximal handle. This can accomplished by forming handle 93 with at least two parts such as top section 93T and bottom section 93B.
- top handle portion 93T also contains suction flow control hole H.
- Suction flow control may also be provided by a valve or other similar apparatus that enables controlled adjustable suction.
- the top and bottom handle portions are sealed, with the bottom portion 93B creating a chamber in communication with proximal termination 92P of suction tube 92.
- Evacuated debris can be kept from flowing through to vacuum tube conduit 93P and out of hole H based on the geometry of the chamber 100 and pathway to flow control hole H.
- a "strainer” or “filter” such as filter 102 may be included in handle 93 to capture any solid or liquid debris and prevent the debris from making their way out through hole H.
- Features in handle 93 could also allow the user to disassemble the top and bottom portions to clear any collected debris.
- suction lumen 108 may be formed in suction element 109 that may be formed around an illuminator such as waveguide 110, as shown in illuminated suction apparatus 111. This configuration would allow for output light 112 to exit from a cylindrical source such as waveguide 110 without the shadowing caused by having a central illumination tube coaxial to the illuminator.
- the routing of the suction conduit through the illuminator can be varied to optimize the illumination output and balance ergonomic considerations.
- illuminated suction apparatus 116 is configured to enable suction tube 118 to be strategically routed through illumination waveguide 120 at angle 121 such that (1) proximal exposed end 118P is at the top of the device where the suction control function can be more readily accessed by the user; and (2) distal end 118D of the suction tube emerges from the bottom of the device below illumination output 122, providing optimized lighting of the surgical site from above the suction tube.
- the suction tube changes light transmission paths through the illumination waveguide by introducing reflective surfaces which more thoroughly mix the light. It is possible to maintain the efficiency by using high reflective coatings, air gaps and cladding such as cladding 123. However, the added reflectance surfaces of the suction tube may cause the NA to increase.
- Rotationally symmetric illuminated suction devices such as illuminated suction apparatus 116 may produce circumferential, uniform light output with strategic positioning of the suction tube that mitigates shadowing from the suction tube protruding from the distal surface of the waveguide.
- Light traversing the illuminated waveguide may have challenges with secondary reflectance surfaces, thus widening the light output pattern.
- Illuminated suction apparatus 116 is also expected to have a very large NA.
- illumination waveguides such as waveguides disclosed above may also be made malleable out of material like silicone. This can be useful to "pull over" an instrument like suction tube.
- the illumination waveguide can be made of a malleable material such as silicone allowing it to be pulled over a rigid suction tube, potentially lowering cost.
- the malleable illumination waveguide material can be formed over a deformable suction tube structure, or a deformable structure that contains selective strength members (beams, etc). This would enable dynamic shaping of the suction tube to various desired shapes suited to the clinical application.
- the illumination waveguide can be fabricated with materials of varying indices in a "stacked" or “composite” structure to shape and control the light output.
- An alternative approach involves splitting an illumination waveguide with a solid light input with a circular or elliptical cross-section, routing and re-combining the waveguide into the original starting geometry.
- An illumination waveguide can then be molded over an internal suction tube.
- the suction tube in this configuration could run alongside the spit illuminator geometry.
- the intermediate shape of the waveguide can be manipulated.
- the input and output light patterns should be very similar in shape and intensity.
Landscapes
- Health & Medical Sciences (AREA)
- Life Sciences & Earth Sciences (AREA)
- Surgery (AREA)
- Heart & Thoracic Surgery (AREA)
- Engineering & Computer Science (AREA)
- Veterinary Medicine (AREA)
- Public Health (AREA)
- Biomedical Technology (AREA)
- Animal Behavior & Ethology (AREA)
- General Health & Medical Sciences (AREA)
- Physics & Mathematics (AREA)
- Nuclear Medicine, Radiotherapy & Molecular Imaging (AREA)
- Medical Informatics (AREA)
- Molecular Biology (AREA)
- Optics & Photonics (AREA)
- Pathology (AREA)
- Radiology & Medical Imaging (AREA)
- Biophysics (AREA)
- Vascular Medicine (AREA)
- Anesthesiology (AREA)
- Hematology (AREA)
- Oral & Maxillofacial Surgery (AREA)
- Plasma & Fusion (AREA)
- Otolaryngology (AREA)
- Endoscopes (AREA)
- External Artificial Organs (AREA)
- Light Guides In General And Applications Therefor (AREA)
- Surgical Instruments (AREA)
Priority Applications (1)
| Application Number | Priority Date | Filing Date | Title |
|---|---|---|---|
| EP24213892.3A EP4497370A3 (en) | 2010-12-16 | 2011-12-16 | Illuminated suction apparatus |
Applications Claiming Priority (4)
| Application Number | Priority Date | Filing Date | Title |
|---|---|---|---|
| US42381310P | 2010-12-16 | 2010-12-16 | |
| EP11848284.3A EP2651283B1 (en) | 2010-12-16 | 2011-12-16 | Illuminated suction apparatus |
| EP15173175.9A EP3000381B1 (en) | 2010-12-16 | 2011-12-16 | Illuminated suction apparatus |
| PCT/US2011/065636 WO2012083247A1 (en) | 2010-12-16 | 2011-12-16 | Illuminated suction apparatus |
Related Parent Applications (2)
| Application Number | Title | Priority Date | Filing Date |
|---|---|---|---|
| EP15173175.9A Division EP3000381B1 (en) | 2010-12-16 | 2011-12-16 | Illuminated suction apparatus |
| EP11848284.3A Division EP2651283B1 (en) | 2010-12-16 | 2011-12-16 | Illuminated suction apparatus |
Related Child Applications (1)
| Application Number | Title | Priority Date | Filing Date |
|---|---|---|---|
| EP24213892.3A Division EP4497370A3 (en) | 2010-12-16 | 2011-12-16 | Illuminated suction apparatus |
Publications (2)
| Publication Number | Publication Date |
|---|---|
| EP3524133A1 EP3524133A1 (en) | 2019-08-14 |
| EP3524133B1 true EP3524133B1 (en) | 2024-11-20 |
Family
ID=46245142
Family Applications (4)
| Application Number | Title | Priority Date | Filing Date |
|---|---|---|---|
| EP15173175.9A Active EP3000381B1 (en) | 2010-12-16 | 2011-12-16 | Illuminated suction apparatus |
| EP11848284.3A Active EP2651283B1 (en) | 2010-12-16 | 2011-12-16 | Illuminated suction apparatus |
| EP24213892.3A Pending EP4497370A3 (en) | 2010-12-16 | 2011-12-16 | Illuminated suction apparatus |
| EP18204713.4A Active EP3524133B1 (en) | 2010-12-16 | 2011-12-16 | Illuminated suction apparatus |
Family Applications Before (3)
| Application Number | Title | Priority Date | Filing Date |
|---|---|---|---|
| EP15173175.9A Active EP3000381B1 (en) | 2010-12-16 | 2011-12-16 | Illuminated suction apparatus |
| EP11848284.3A Active EP2651283B1 (en) | 2010-12-16 | 2011-12-16 | Illuminated suction apparatus |
| EP24213892.3A Pending EP4497370A3 (en) | 2010-12-16 | 2011-12-16 | Illuminated suction apparatus |
Country Status (6)
| Country | Link |
|---|---|
| US (3) | US8568304B2 (enExample) |
| EP (4) | EP3000381B1 (enExample) |
| JP (2) | JP6317583B2 (enExample) |
| KR (5) | KR102113700B1 (enExample) |
| CN (2) | CN103379849B (enExample) |
| WO (1) | WO2012083247A1 (enExample) |
Families Citing this family (74)
| Publication number | Priority date | Publication date | Assignee | Title |
|---|---|---|---|---|
| US8795162B2 (en) | 2009-11-10 | 2014-08-05 | Invuity, Inc. | Illuminated suction apparatus |
| US8292805B2 (en) | 2009-11-10 | 2012-10-23 | Invuity, Inc. | Illuminated suction apparatus |
| US9913577B2 (en) | 2010-09-28 | 2018-03-13 | Obp Medical Corporation | Speculum |
| EP3000381B1 (en) | 2010-12-16 | 2018-11-07 | Invuity, Inc. | Illuminated suction apparatus |
| US9114202B1 (en) * | 2011-11-15 | 2015-08-25 | Bionix Development Corporation | Lighted suction device |
| WO2013082350A1 (en) * | 2011-11-30 | 2013-06-06 | Corning Cable Systems Llc | Methods for creating a demarcation location in a structure and associated assemblies |
| US20140170589A1 (en) * | 2012-01-23 | 2014-06-19 | Shona Huang | Lighted teeth cleaning apparatus |
| TWI533897B (zh) * | 2012-04-27 | 2016-05-21 | 鄭明輝 | 抽取脂肪裝置 |
| US20140039582A1 (en) * | 2012-08-06 | 2014-02-06 | Jay Wilson | Apparatus and method for using ultraviolet light with pulsatile lavage |
| KR20150082347A (ko) * | 2012-11-01 | 2015-07-15 | 알콘 리서치, 리미티드 | 조절가능한 조명 개구를 갖는 조명식 유리체 절제 커터 |
| WO2014093664A1 (en) | 2012-12-12 | 2014-06-19 | Invuity, Inc. | Illuminated suction apparatus |
| JP6110935B2 (ja) * | 2013-03-29 | 2017-04-05 | 富士フイルム株式会社 | 手術装置及び外套管 |
| DE112014001742T5 (de) | 2013-03-29 | 2015-12-17 | Fujifilm Corporation | Chirurgisches Gerät, Aussenrohr, Endoskop und Behandlungswerkzeug |
| JP6023872B2 (ja) | 2013-03-29 | 2016-11-09 | 富士フイルム株式会社 | 内視鏡手術装置 |
| JP6097819B2 (ja) | 2013-03-29 | 2017-03-15 | 富士フイルム株式会社 | 手術装置、外套管、内視鏡及び処置具 |
| JP6093849B2 (ja) | 2013-03-29 | 2017-03-08 | 富士フイルム株式会社 | 内視鏡手術装置 |
| KR102313660B1 (ko) * | 2013-09-16 | 2021-10-18 | 인뷰이티 인코퍼레이티드 | 열 제어 조명 장치 |
| EP2910194A1 (en) * | 2014-02-21 | 2015-08-26 | 3DIntegrated ApS | Surgical instrument |
| EP3228254B1 (en) * | 2014-02-21 | 2020-01-01 | 3DIntegrated ApS | A set comprising a surgical instrument |
| WO2015170659A1 (ja) * | 2014-05-08 | 2015-11-12 | 日機装株式会社 | 体腔内液体灌流システム用吸引器具 |
| US10068173B2 (en) * | 2014-05-22 | 2018-09-04 | Invuity, Inc. | Medical device featuring cladded waveguide |
| EP3939491A1 (en) * | 2014-11-12 | 2022-01-19 | Invuity, Inc. | Improved thermally controlled illumination devices |
| CN111887909B (zh) * | 2014-12-02 | 2024-10-25 | 英弗伊蒂股份有限公司 | 用于将光学输入耦合到照明装置的方法和设备 |
| AU2015360712B2 (en) * | 2014-12-08 | 2020-05-21 | Invuity, Inc. | Methods and apparatus for electrosurgical illumination and sensing |
| EP3034553A1 (de) * | 2014-12-19 | 2016-06-22 | LANXESS Deutschland GmbH | Polyamidzusammensetzungen |
| US9867602B2 (en) | 2015-02-05 | 2018-01-16 | Obp Medical Corporation | Illuminated surgical retractor |
| US10420538B2 (en) | 2015-02-05 | 2019-09-24 | Obp Medical Corporation | Illuminated surgical retractor |
| CN104644271B (zh) * | 2015-03-13 | 2016-10-12 | 范伟力 | 裹覆型深部照明器 |
| US9757018B2 (en) | 2015-03-31 | 2017-09-12 | Acclarent, Inc. | Medical guidewire with integral light transmission |
| WO2016170654A1 (ja) * | 2015-04-23 | 2016-10-27 | オリンパス株式会社 | 照明装置、内視鏡及び内視鏡システム |
| US10939899B2 (en) | 2015-06-03 | 2021-03-09 | Obp Medical Corporation | End cap assembly for retractor and other medical devices |
| US10881387B2 (en) | 2015-06-03 | 2021-01-05 | Obp Medical Corporation | Retractor |
| ES2968069T3 (es) | 2015-06-03 | 2024-05-07 | Obp Surgical Corp | Retractor |
| EP3319541B1 (en) * | 2015-07-07 | 2024-01-10 | Kogent Surgical, LLC | Illuminated microsurgical probe |
| US10244931B2 (en) | 2015-07-13 | 2019-04-02 | Novartis Ag | Illuminated ophthalmic infusion line and associated devices, systems, and methods |
| JP6776327B2 (ja) | 2015-07-21 | 2020-10-28 | スリーディインテグレイテッド アーペーエス3Dintegrated Aps | カニューレアセンブリキット、套管針アセンブリキット、スリーブアセンブリ、低侵襲性手術システム及び方法 |
| US11020144B2 (en) * | 2015-07-21 | 2021-06-01 | 3Dintegrated Aps | Minimally invasive surgery system |
| DK178899B1 (en) | 2015-10-09 | 2017-05-08 | 3Dintegrated Aps | A depiction system |
| US11173008B2 (en) | 2015-11-01 | 2021-11-16 | Alcon Inc. | Illuminated ophthalmic cannula |
| EP3407927B1 (en) * | 2016-01-29 | 2023-06-21 | Boston Scientific Scimed Inc. | Medical device |
| US9956053B2 (en) | 2016-03-04 | 2018-05-01 | Novartis Ag | Cannula with an integrated illumination feature |
| WO2017209754A1 (en) | 2016-06-02 | 2017-12-07 | GYRUS ACMI, INC. (d/b/a OLYMPUS SURGICAL TECHNOLOGIES AMERICA) | Endoscope working channel protection |
| US10722621B2 (en) * | 2016-07-11 | 2020-07-28 | Obp Medical Corporation | Illuminated suction device |
| CN108211004A (zh) * | 2016-12-12 | 2018-06-29 | 重庆润泽医药有限公司 | 一种脑颅手术中的引流装置 |
| CN108211002A (zh) * | 2016-12-12 | 2018-06-29 | 重庆润泽医药有限公司 | 一种脑颅手术引流设备 |
| CN108607146A (zh) * | 2016-12-12 | 2018-10-02 | 重庆润泽医药有限公司 | 一种脑颅手术引流系统 |
| CN108211006A (zh) * | 2016-12-13 | 2018-06-29 | 重庆润泽医药有限公司 | 一种手术用脑颅手术引流装置 |
| EP3654859A4 (en) | 2017-07-18 | 2020-12-02 | Obp Medical Corporation | CONTACTLESS MINIMALLY INFRACTION ACT (MINT) FOR SAMPLING THE GREAT SAPHEN VEIN (GSV) AND VENOUS HYDRODISSECTOR AND SPREADER INTENDED TO BE USED DURING THE ACT AT MINT |
| US20210153734A1 (en) * | 2017-08-31 | 2021-05-27 | The Insides Company Limited | Improved medical device |
| JP6850236B2 (ja) * | 2017-09-29 | 2021-03-31 | 富士フイルム株式会社 | 内視鏡 |
| US10278572B1 (en) | 2017-10-19 | 2019-05-07 | Obp Medical Corporation | Speculum |
| US20200246105A1 (en) * | 2017-10-19 | 2020-08-06 | Intuitive Surgical Operations, Inc. | Systems and methods for illumination of a patient anatomy in a teleoperational system |
| US10799229B2 (en) | 2018-02-20 | 2020-10-13 | Obp Medical Corporation | Illuminated medical devices |
| KR102189518B1 (ko) * | 2018-11-08 | 2020-12-11 | 한국표준과학연구원 | 비강 내 점막접촉탐침을 구비한 생체신호 측정 장치 |
| CN113423349A (zh) * | 2019-02-08 | 2021-09-21 | 回弹治疗公司 | 带有照明的套管系统 |
| USD911521S1 (en) | 2019-02-19 | 2021-02-23 | Obp Medical Corporation | Handle for medical devices including surgical retractors |
| CN111184539A (zh) * | 2019-04-26 | 2020-05-22 | 张霞玲 | 一种具有监测功能的神经内镜 |
| US11903557B2 (en) | 2019-04-30 | 2024-02-20 | Psip2 Llc | Endoscope for imaging in nonvisible light |
| USD904607S1 (en) | 2019-05-07 | 2020-12-08 | Obp Medical Corporation | Nasal retractor |
| RU191394U1 (ru) * | 2019-05-16 | 2019-08-05 | Федеральное государственное автономное образовательное учреждение высшего образования "Белгородский государственный национальный исследовательский университет" (НИУ "БелГУ") | Наконечник для аспирации |
| US11654227B1 (en) * | 2019-06-20 | 2023-05-23 | Sang In Han | Wet seal suction device |
| US12070261B2 (en) | 2019-07-23 | 2024-08-27 | Pathy Medical, Llc | Lighting device for handheld surgical instrument with smoke evacuation system |
| US10716642B1 (en) | 2019-07-23 | 2020-07-21 | Pathy Medical, Llc | Lighting device for handheld surgical instrument with smoke evacuation system |
| US10959609B1 (en) | 2020-01-31 | 2021-03-30 | Obp Medical Corporation | Illuminated suction device |
| US10966702B1 (en) | 2020-02-25 | 2021-04-06 | Obp Medical Corporation | Illuminated dual-blade retractor |
| JP2023532125A (ja) * | 2020-07-01 | 2023-07-26 | パシー メディカル, エルエルシー | 煙排出システムを備えたハンドヘルド手術器具用の照明装置 |
| CN116322542A (zh) * | 2020-09-09 | 2023-06-23 | 史赛克欧洲运营有限公司 | 电外科装置、使用方法和制造方法 |
| US20240057872A1 (en) * | 2020-12-28 | 2024-02-22 | Leadoptik Inc. | Methods and Systems for Multi-Functional Miniaturized Endoscopic Imaging and Illumination |
| EP4404818A1 (en) * | 2021-09-28 | 2024-07-31 | Psip2 Llc | Illumination for endoscope |
| EP4162883A1 (en) | 2021-10-06 | 2023-04-12 | K2M, Inc. | Offset hohmann |
| US11809010B1 (en) | 2022-04-29 | 2023-11-07 | Corning Research & Development Corporation | Methods for preparing round fiber optic cables and fiber optic cable assemblies for flat cable connector termination |
| KR20240038859A (ko) * | 2022-09-16 | 2024-03-26 | 린 테크놀로지스 인코포레이티드 | 신경 감지 및 이미지 촬영을 위한 비강 내 삽입형 전극 장치 |
| US12318080B2 (en) | 2023-07-21 | 2025-06-03 | Coopersurgical, Inc. | Illuminated surgical retractor capable of hand-held operation and of being mounted to a fixed frame |
| US12523347B2 (en) | 2023-09-15 | 2026-01-13 | Research & Design Innovations, Llc | Illuminated accessory assembly for motorized vessels and method of mounting the same |
Citations (4)
| Publication number | Priority date | Publication date | Assignee | Title |
|---|---|---|---|---|
| US5651783A (en) * | 1995-12-20 | 1997-07-29 | Reynard; Michael | Fiber optic sleeve for surgical instruments |
| US6086583A (en) * | 1997-06-05 | 2000-07-11 | Asahi Kogaku Kogyo Kabushiki Kaisha | Electric cautery for endoscope |
| US6773409B2 (en) * | 2001-09-19 | 2004-08-10 | Surgrx Llc | Surgical system for applying ultrasonic energy to tissue |
| WO2009116969A1 (en) * | 2008-03-20 | 2009-09-24 | Invuity, Inc. | Illuminated cannula |
Family Cites Families (55)
| Publication number | Priority date | Publication date | Assignee | Title |
|---|---|---|---|---|
| US510524A (en) | 1893-12-12 | Flower-trellis | ||
| US3261356A (en) | 1963-10-21 | 1966-07-19 | American Cystoscope Makers Inc | Suction and illumination device |
| US3638644A (en) | 1969-03-05 | 1972-02-01 | Michael Elbert | Illuminated surgical speculum |
| US3626471A (en) | 1969-10-13 | 1971-12-07 | Robert E Florin | Illuminated suction brain retractor |
| US3641332A (en) | 1969-10-30 | 1972-02-08 | Ebert Michael | Fiber optics illumination system |
| DE2302614A1 (de) | 1973-01-19 | 1974-07-25 | Efrudec Vertriebsgesellschaft | Spatel, vorzugsweise aus kunststoff |
| US4226228A (en) | 1978-11-02 | 1980-10-07 | Shin Hee J | Multiple joint retractor with light |
| DE3023266A1 (de) | 1980-06-21 | 1982-01-07 | Original Hanau Heraeus Gmbh, 6450 Hanau | Wundhaken fuer chirurgische zwecke |
| US4592344A (en) | 1980-07-25 | 1986-06-03 | Scheer Peter M | Combination illuminator and lip and cheek expander |
| US4697578A (en) | 1981-07-17 | 1987-10-06 | Burgin Kermit H | Acrylooptic tongue depressor and handle therefor incorporating adjustable viewing optics |
| DE3367727D1 (en) | 1982-07-30 | 1987-01-08 | Heraeus Gmbh W C | Retractor for surgical purposes |
| JPS5924805A (ja) * | 1982-07-31 | 1984-02-08 | Sumitomo Electric Ind Ltd | センサ用光フアイバ |
| US5085657A (en) * | 1983-03-14 | 1992-02-04 | Ben Simhon Haim | Electrosurgical instrument |
| JPS59228205A (ja) * | 1983-06-09 | 1984-12-21 | Sumitomo Electric Ind Ltd | 溝付き光伝送路 |
| US4562832A (en) | 1984-01-21 | 1986-01-07 | Wilder Joseph R | Medical instrument and light pipe illumination assembly |
| US4605990A (en) | 1984-01-21 | 1986-08-12 | Wilder Joseph R | Surgical clip-on light pipe illumination assembly |
| US4597030A (en) | 1985-01-31 | 1986-06-24 | American Hospital Supply Corporation | Surgical illuminator |
| US4643172A (en) | 1985-10-21 | 1987-02-17 | Taff Barry E | Luminescent tongue depressor |
| FR2610511A1 (fr) | 1987-02-06 | 1988-08-12 | Issalene Robert | Instrument dentaire et canules pour aspirer, nettoyer, secher et eclairer dans la bouche |
| JPS63257578A (ja) | 1987-04-15 | 1988-10-25 | 森 敬 | 光照射治療装置 |
| US4807599A (en) | 1987-05-08 | 1989-02-28 | Med-Struments, Inc. | Illuminating tongue depressor |
| DE3736066C1 (de) | 1987-10-24 | 1988-11-10 | Aesculap Werke Ag | Wundhaken |
| US5324285A (en) | 1989-04-28 | 1994-06-28 | C.B.A. Moulin De Classe | Laser-catheter |
| US4961617A (en) | 1989-07-19 | 1990-10-09 | Ferrydon Shahidi | Fibre optic waveguide illuminating elements |
| JP2948839B2 (ja) * | 1989-10-24 | 1999-09-13 | オリンパス光学工業株式会社 | 超音波手術用ハンドピース |
| US4992047A (en) | 1989-12-29 | 1991-02-12 | Charlene Warner | Surgical suction tool |
| US5213092A (en) * | 1991-10-31 | 1993-05-25 | Martin Uram | Aspirating endoscope |
| US5353786A (en) | 1992-01-24 | 1994-10-11 | Wilk Peter J | Surgical lighting method |
| US5588952A (en) * | 1993-08-02 | 1996-12-31 | Dandolu; Bhaktavathsala R. | Intracardiac illuminator with suction |
| US6185356B1 (en) | 1995-06-27 | 2001-02-06 | Lumitex, Inc. | Protective cover for a lighting device |
| US5931670A (en) | 1996-10-29 | 1999-08-03 | Davis; James M. | Illuminated dental suction appliance |
| US7306559B2 (en) | 1997-07-02 | 2007-12-11 | Lumitex, Inc. | Illuminated surgical retractor |
| US6591049B2 (en) * | 1997-07-02 | 2003-07-08 | Lumitex, Inc. | Light delivery systems and applications thereof |
| CA2362332A1 (en) | 1999-02-19 | 2000-08-24 | Scimed Life Systems, Inc. | Laser lithotripsy device with suction |
| KR100486152B1 (ko) | 2003-06-10 | 2005-04-29 | 주식회사 탑알앤디 | 광 석션 카테터 |
| DE102005013714A1 (de) * | 2004-04-07 | 2005-12-22 | Carl Zeiss Meditec Ag | Elektrische Sonde für die Mikrochirurgie |
| US7322962B2 (en) * | 2004-04-23 | 2008-01-29 | Leonard Edward Forrest | Device and method for treatment of intervertebral disc disruption |
| US20080275298A1 (en) | 2004-10-11 | 2008-11-06 | Novation Science, Llc | Dual View Endoscope |
| US7620279B2 (en) | 2004-12-17 | 2009-11-17 | Poly Optics Australia Pty. Ltd. | Polyurethane light guides |
| US9675235B2 (en) * | 2005-03-21 | 2017-06-13 | Jonas V. Lieponis | Multi-purpose surgical instrument with removable component |
| US7842027B2 (en) | 2005-03-21 | 2010-11-30 | Lieponis Jonas V | Multi-purpose surgical instrument with integral optical system |
| US20060211918A1 (en) | 2005-03-21 | 2006-09-21 | Lieponis Jonas V | Surgical instrument with integral optical system |
| US7510524B2 (en) | 2005-04-04 | 2009-03-31 | Invuity, Inc. | Optical waveguide sheath |
| US7248772B2 (en) | 2005-07-26 | 2007-07-24 | Fuji Xerox Co., Ltd. | Flexible optical waveguide |
| EP2010057A1 (en) | 2006-04-10 | 2009-01-07 | Led Medical Diagnostics, Inc. | Multipurpose diseased tissue detection devices, systems and methods |
| US20080249404A1 (en) * | 2006-12-28 | 2008-10-09 | Olympus Medical Systems Corp. | Gastric therapy system and method for suturing gastric wall |
| US20080269735A1 (en) | 2007-04-26 | 2008-10-30 | Agustina Vila Echague | Optical array for treating biological tissue |
| AU2008308606B2 (en) | 2007-10-05 | 2014-12-18 | Ethicon Endo-Surgery, Inc. | Ergonomic surgical instruments |
| KR20090055416A (ko) | 2007-11-28 | 2009-06-02 | 주식회사 탑알앤디 | 의료용 석션 카테터 |
| KR20090092534A (ko) * | 2008-02-27 | 2009-09-01 | 미토테크 주식회사 | 조명 기능을 구비한 의료용 석션 장치 및 그 석션 장치에사용하는 일회용 석션 팁 |
| US8292805B2 (en) * | 2009-11-10 | 2012-10-23 | Invuity, Inc. | Illuminated suction apparatus |
| US8795162B2 (en) | 2009-11-10 | 2014-08-05 | Invuity, Inc. | Illuminated suction apparatus |
| IT1396922B1 (it) | 2009-11-12 | 2012-12-20 | Pagani | Dispositivo deodorante. |
| EP3000381B1 (en) | 2010-12-16 | 2018-11-07 | Invuity, Inc. | Illuminated suction apparatus |
| WO2014093664A1 (en) | 2012-12-12 | 2014-06-19 | Invuity, Inc. | Illuminated suction apparatus |
-
2011
- 2011-12-16 EP EP15173175.9A patent/EP3000381B1/en active Active
- 2011-12-16 EP EP11848284.3A patent/EP2651283B1/en active Active
- 2011-12-16 CN CN201180067638.1A patent/CN103379849B/zh not_active Expired - Fee Related
- 2011-12-16 KR KR1020197021157A patent/KR102113700B1/ko active Active
- 2011-12-16 US US13/328,773 patent/US8568304B2/en active Active
- 2011-12-16 KR KR1020137017704A patent/KR101921984B1/ko not_active Expired - Fee Related
- 2011-12-16 CN CN201710078492.XA patent/CN106821512B/zh not_active Expired - Fee Related
- 2011-12-16 EP EP24213892.3A patent/EP4497370A3/en active Pending
- 2011-12-16 JP JP2013544849A patent/JP6317583B2/ja not_active Expired - Fee Related
- 2011-12-16 KR KR1020207013957A patent/KR102161945B1/ko not_active Expired - Fee Related
- 2011-12-16 EP EP18204713.4A patent/EP3524133B1/en active Active
- 2011-12-16 WO PCT/US2011/065636 patent/WO2012083247A1/en not_active Ceased
- 2011-12-16 KR KR1020207027343A patent/KR102197551B1/ko not_active Expired - Fee Related
- 2011-12-16 KR KR1020187033455A patent/KR102003724B1/ko not_active Expired - Fee Related
-
2012
- 2012-12-12 US US13/712,020 patent/US8870761B2/en active Active
-
2013
- 2013-09-27 US US14/039,823 patent/US8936551B2/en active Active
-
2016
- 2016-09-13 JP JP2016178239A patent/JP2017012792A/ja active Pending
Patent Citations (4)
| Publication number | Priority date | Publication date | Assignee | Title |
|---|---|---|---|---|
| US5651783A (en) * | 1995-12-20 | 1997-07-29 | Reynard; Michael | Fiber optic sleeve for surgical instruments |
| US6086583A (en) * | 1997-06-05 | 2000-07-11 | Asahi Kogaku Kogyo Kabushiki Kaisha | Electric cautery for endoscope |
| US6773409B2 (en) * | 2001-09-19 | 2004-08-10 | Surgrx Llc | Surgical system for applying ultrasonic energy to tissue |
| WO2009116969A1 (en) * | 2008-03-20 | 2009-09-24 | Invuity, Inc. | Illuminated cannula |
Also Published As
| Publication number | Publication date |
|---|---|
| EP3000381B1 (en) | 2018-11-07 |
| KR102003724B1 (ko) | 2019-07-25 |
| CN106821512B (zh) | 2020-12-08 |
| KR20130132521A (ko) | 2013-12-04 |
| KR20200068719A (ko) | 2020-06-15 |
| JP2014506152A (ja) | 2014-03-13 |
| US20140024901A1 (en) | 2014-01-23 |
| EP3000381A1 (en) | 2016-03-30 |
| EP2651283A1 (en) | 2013-10-23 |
| KR102161945B1 (ko) | 2020-10-21 |
| JP2017012792A (ja) | 2017-01-19 |
| WO2012083247A1 (en) | 2012-06-21 |
| US20130012783A1 (en) | 2013-01-10 |
| EP4497370A2 (en) | 2025-01-29 |
| CN103379849B (zh) | 2017-03-08 |
| CN106821512A (zh) | 2017-06-13 |
| JP6317583B2 (ja) | 2018-04-25 |
| US8568304B2 (en) | 2013-10-29 |
| KR20190089088A (ko) | 2019-07-29 |
| EP2651283B1 (en) | 2015-07-29 |
| US20140005490A1 (en) | 2014-01-02 |
| US8870761B2 (en) | 2014-10-28 |
| EP4497370A3 (en) | 2025-03-12 |
| KR20200113288A (ko) | 2020-10-06 |
| KR102113700B1 (ko) | 2020-05-21 |
| KR20180127525A (ko) | 2018-11-28 |
| KR102197551B1 (ko) | 2021-01-04 |
| US8936551B2 (en) | 2015-01-20 |
| KR101921984B1 (ko) | 2018-11-26 |
| EP3524133A1 (en) | 2019-08-14 |
| CN103379849A (zh) | 2013-10-30 |
| EP2651283A4 (en) | 2013-12-04 |
Similar Documents
| Publication | Publication Date | Title |
|---|---|---|
| EP3524133B1 (en) | Illuminated suction apparatus | |
| US12251273B2 (en) | Illuminated suction apparatus | |
| US9308054B2 (en) | Illuminated suction apparatus | |
| EP2931112B1 (en) | Illuminated suction apparatus |
Legal Events
| Date | Code | Title | Description |
|---|---|---|---|
| STAA | Information on the status of an ep patent application or granted ep patent |
Free format text: STATUS: UNKNOWN |
|
| PUAI | Public reference made under article 153(3) epc to a published international application that has entered the european phase |
Free format text: ORIGINAL CODE: 0009012 |
|
| STAA | Information on the status of an ep patent application or granted ep patent |
Free format text: STATUS: THE APPLICATION HAS BEEN PUBLISHED |
|
| AC | Divisional application: reference to earlier application |
Ref document number: 3000381 Country of ref document: EP Kind code of ref document: P Ref document number: 2651283 Country of ref document: EP Kind code of ref document: P |
|
| AK | Designated contracting states |
Kind code of ref document: A1 Designated state(s): AL AT BE BG CH CY CZ DE DK EE ES FI FR GB GR HR HU IE IS IT LI LT LU LV MC MK MT NL NO PL PT RO RS SE SI SK SM TR |
|
| STAA | Information on the status of an ep patent application or granted ep patent |
Free format text: STATUS: REQUEST FOR EXAMINATION WAS MADE |
|
| 17P | Request for examination filed |
Effective date: 20200211 |
|
| RBV | Designated contracting states (corrected) |
Designated state(s): AL AT BE BG CH CY CZ DE DK EE ES FI FR GB GR HR HU IE IS IT LI LT LU LV MC MK MT NL NO PL PT RO RS SE SI SK SM TR |
|
| STAA | Information on the status of an ep patent application or granted ep patent |
Free format text: STATUS: EXAMINATION IS IN PROGRESS |
|
| 17Q | First examination report despatched |
Effective date: 20220211 |
|
| GRAP | Despatch of communication of intention to grant a patent |
Free format text: ORIGINAL CODE: EPIDOSNIGR1 |
|
| STAA | Information on the status of an ep patent application or granted ep patent |
Free format text: STATUS: GRANT OF PATENT IS INTENDED |
|
| INTG | Intention to grant announced |
Effective date: 20240617 |
|
| RIN1 | Information on inventor provided before grant (corrected) |
Inventor name: RICHARDSON, DERRICK Inventor name: GASSON, JONATHAN, G. Inventor name: TRAUNER, KENNETH, B. Inventor name: ERISMANN, FERNANDO Inventor name: VAYSER, ALEX |
|
| GRAS | Grant fee paid |
Free format text: ORIGINAL CODE: EPIDOSNIGR3 |
|
| GRAA | (expected) grant |
Free format text: ORIGINAL CODE: 0009210 |
|
| STAA | Information on the status of an ep patent application or granted ep patent |
Free format text: STATUS: THE PATENT HAS BEEN GRANTED |
|
| AC | Divisional application: reference to earlier application |
Ref document number: 2651283 Country of ref document: EP Kind code of ref document: P Ref document number: 3000381 Country of ref document: EP Kind code of ref document: P |
|
| AK | Designated contracting states |
Kind code of ref document: B1 Designated state(s): AL AT BE BG CH CY CZ DE DK EE ES FI FR GB GR HR HU IE IS IT LI LT LU LV MC MK MT NL NO PL PT RO RS SE SI SK SM TR |
|
| P01 | Opt-out of the competence of the unified patent court (upc) registered |
Free format text: CASE NUMBER: APP_56286/2024 Effective date: 20241015 |
|
| REG | Reference to a national code |
Ref country code: GB Ref legal event code: FG4D |
|
| REG | Reference to a national code |
Ref country code: CH Ref legal event code: EP |
|
| REG | Reference to a national code |
Ref country code: DE Ref legal event code: R096 Ref document number: 602011075109 Country of ref document: DE |
|
| REG | Reference to a national code |
Ref country code: IE Ref legal event code: FG4D |
|
| REG | Reference to a national code |
Ref country code: NL Ref legal event code: FP |
|
| REG | Reference to a national code |
Ref country code: LT Ref legal event code: MG9D |
|
| PG25 | Lapsed in a contracting state [announced via postgrant information from national office to epo] |
Ref country code: IS Free format text: LAPSE BECAUSE OF FAILURE TO SUBMIT A TRANSLATION OF THE DESCRIPTION OR TO PAY THE FEE WITHIN THE PRESCRIBED TIME-LIMIT Effective date: 20250320 Ref country code: PT Free format text: LAPSE BECAUSE OF FAILURE TO SUBMIT A TRANSLATION OF THE DESCRIPTION OR TO PAY THE FEE WITHIN THE PRESCRIBED TIME-LIMIT Effective date: 20250320 Ref country code: HR Free format text: LAPSE BECAUSE OF FAILURE TO SUBMIT A TRANSLATION OF THE DESCRIPTION OR TO PAY THE FEE WITHIN THE PRESCRIBED TIME-LIMIT Effective date: 20241120 |
|
| PG25 | Lapsed in a contracting state [announced via postgrant information from national office to epo] |
Ref country code: FI Free format text: LAPSE BECAUSE OF FAILURE TO SUBMIT A TRANSLATION OF THE DESCRIPTION OR TO PAY THE FEE WITHIN THE PRESCRIBED TIME-LIMIT Effective date: 20241120 |
|
| REG | Reference to a national code |
Ref country code: AT Ref legal event code: MK05 Ref document number: 1742782 Country of ref document: AT Kind code of ref document: T Effective date: 20241120 |
|
| PG25 | Lapsed in a contracting state [announced via postgrant information from national office to epo] |
Ref country code: BG Free format text: LAPSE BECAUSE OF FAILURE TO SUBMIT A TRANSLATION OF THE DESCRIPTION OR TO PAY THE FEE WITHIN THE PRESCRIBED TIME-LIMIT Effective date: 20241120 |
|
| PG25 | Lapsed in a contracting state [announced via postgrant information from national office to epo] |
Ref country code: ES Free format text: LAPSE BECAUSE OF FAILURE TO SUBMIT A TRANSLATION OF THE DESCRIPTION OR TO PAY THE FEE WITHIN THE PRESCRIBED TIME-LIMIT Effective date: 20241120 |
|
| PG25 | Lapsed in a contracting state [announced via postgrant information from national office to epo] |
Ref country code: NO Free format text: LAPSE BECAUSE OF FAILURE TO SUBMIT A TRANSLATION OF THE DESCRIPTION OR TO PAY THE FEE WITHIN THE PRESCRIBED TIME-LIMIT Effective date: 20250220 |
|
| PG25 | Lapsed in a contracting state [announced via postgrant information from national office to epo] |
Ref country code: LV Free format text: LAPSE BECAUSE OF FAILURE TO SUBMIT A TRANSLATION OF THE DESCRIPTION OR TO PAY THE FEE WITHIN THE PRESCRIBED TIME-LIMIT Effective date: 20241120 Ref country code: GR Free format text: LAPSE BECAUSE OF FAILURE TO SUBMIT A TRANSLATION OF THE DESCRIPTION OR TO PAY THE FEE WITHIN THE PRESCRIBED TIME-LIMIT Effective date: 20250221 Ref country code: AT Free format text: LAPSE BECAUSE OF FAILURE TO SUBMIT A TRANSLATION OF THE DESCRIPTION OR TO PAY THE FEE WITHIN THE PRESCRIBED TIME-LIMIT Effective date: 20241120 |
|
| PG25 | Lapsed in a contracting state [announced via postgrant information from national office to epo] |
Ref country code: PL Free format text: LAPSE BECAUSE OF FAILURE TO SUBMIT A TRANSLATION OF THE DESCRIPTION OR TO PAY THE FEE WITHIN THE PRESCRIBED TIME-LIMIT Effective date: 20241120 |
|
| PG25 | Lapsed in a contracting state [announced via postgrant information from national office to epo] |
Ref country code: RS Free format text: LAPSE BECAUSE OF FAILURE TO SUBMIT A TRANSLATION OF THE DESCRIPTION OR TO PAY THE FEE WITHIN THE PRESCRIBED TIME-LIMIT Effective date: 20250220 |
|
| PG25 | Lapsed in a contracting state [announced via postgrant information from national office to epo] |
Ref country code: SM Free format text: LAPSE BECAUSE OF FAILURE TO SUBMIT A TRANSLATION OF THE DESCRIPTION OR TO PAY THE FEE WITHIN THE PRESCRIBED TIME-LIMIT Effective date: 20241120 |
|
| PG25 | Lapsed in a contracting state [announced via postgrant information from national office to epo] |
Ref country code: DK Free format text: LAPSE BECAUSE OF FAILURE TO SUBMIT A TRANSLATION OF THE DESCRIPTION OR TO PAY THE FEE WITHIN THE PRESCRIBED TIME-LIMIT Effective date: 20241120 |
|
| PG25 | Lapsed in a contracting state [announced via postgrant information from national office to epo] |
Ref country code: EE Free format text: LAPSE BECAUSE OF FAILURE TO SUBMIT A TRANSLATION OF THE DESCRIPTION OR TO PAY THE FEE WITHIN THE PRESCRIBED TIME-LIMIT Effective date: 20241120 |
|
| PG25 | Lapsed in a contracting state [announced via postgrant information from national office to epo] |
Ref country code: RO Free format text: LAPSE BECAUSE OF FAILURE TO SUBMIT A TRANSLATION OF THE DESCRIPTION OR TO PAY THE FEE WITHIN THE PRESCRIBED TIME-LIMIT Effective date: 20241120 |
|
| PG25 | Lapsed in a contracting state [announced via postgrant information from national office to epo] |
Ref country code: SK Free format text: LAPSE BECAUSE OF FAILURE TO SUBMIT A TRANSLATION OF THE DESCRIPTION OR TO PAY THE FEE WITHIN THE PRESCRIBED TIME-LIMIT Effective date: 20241120 |
|
| PG25 | Lapsed in a contracting state [announced via postgrant information from national office to epo] |
Ref country code: CZ Free format text: LAPSE BECAUSE OF FAILURE TO SUBMIT A TRANSLATION OF THE DESCRIPTION OR TO PAY THE FEE WITHIN THE PRESCRIBED TIME-LIMIT Effective date: 20241120 |
|
| PG25 | Lapsed in a contracting state [announced via postgrant information from national office to epo] |
Ref country code: IT Free format text: LAPSE BECAUSE OF FAILURE TO SUBMIT A TRANSLATION OF THE DESCRIPTION OR TO PAY THE FEE WITHIN THE PRESCRIBED TIME-LIMIT Effective date: 20241120 |
|
| REG | Reference to a national code |
Ref country code: CH Ref legal event code: PL |
|
| PG25 | Lapsed in a contracting state [announced via postgrant information from national office to epo] |
Ref country code: LU Free format text: LAPSE BECAUSE OF NON-PAYMENT OF DUE FEES Effective date: 20241216 |
|
| REG | Reference to a national code |
Ref country code: DE Ref legal event code: R097 Ref document number: 602011075109 Country of ref document: DE |
|
| PG25 | Lapsed in a contracting state [announced via postgrant information from national office to epo] |
Ref country code: SE Free format text: LAPSE BECAUSE OF FAILURE TO SUBMIT A TRANSLATION OF THE DESCRIPTION OR TO PAY THE FEE WITHIN THE PRESCRIBED TIME-LIMIT Effective date: 20241120 |
|
| PG25 | Lapsed in a contracting state [announced via postgrant information from national office to epo] |
Ref country code: MC Free format text: LAPSE BECAUSE OF FAILURE TO SUBMIT A TRANSLATION OF THE DESCRIPTION OR TO PAY THE FEE WITHIN THE PRESCRIBED TIME-LIMIT Effective date: 20241120 |
|
| PLBE | No opposition filed within time limit |
Free format text: ORIGINAL CODE: 0009261 |
|
| STAA | Information on the status of an ep patent application or granted ep patent |
Free format text: STATUS: NO OPPOSITION FILED WITHIN TIME LIMIT |
|
| REG | Reference to a national code |
Ref country code: BE Ref legal event code: MM Effective date: 20241231 |
|
| PG25 | Lapsed in a contracting state [announced via postgrant information from national office to epo] |
Ref country code: BE Free format text: LAPSE BECAUSE OF NON-PAYMENT OF DUE FEES Effective date: 20241231 |
|
| PG25 | Lapsed in a contracting state [announced via postgrant information from national office to epo] |
Ref country code: CH Free format text: LAPSE BECAUSE OF NON-PAYMENT OF DUE FEES Effective date: 20241231 |
|
| 26N | No opposition filed |
Effective date: 20250821 |
|
| PG25 | Lapsed in a contracting state [announced via postgrant information from national office to epo] |
Ref country code: IE Free format text: LAPSE BECAUSE OF NON-PAYMENT OF DUE FEES Effective date: 20241216 |
|
| PGFP | Annual fee paid to national office [announced via postgrant information from national office to epo] |
Ref country code: NL Payment date: 20251003 Year of fee payment: 15 |
|
| PGFP | Annual fee paid to national office [announced via postgrant information from national office to epo] |
Ref country code: DE Payment date: 20250930 Year of fee payment: 15 |
|
| PGFP | Annual fee paid to national office [announced via postgrant information from national office to epo] |
Ref country code: GB Payment date: 20251001 Year of fee payment: 15 |
|
| PGFP | Annual fee paid to national office [announced via postgrant information from national office to epo] |
Ref country code: FR Payment date: 20251008 Year of fee payment: 15 |