EP3504382B2 - Profile d'accroche permettant le passage d'air et ensemble de plafond comprenant un tel profile - Google Patents

Profile d'accroche permettant le passage d'air et ensemble de plafond comprenant un tel profile Download PDF

Info

Publication number
EP3504382B2
EP3504382B2 EP17768172.3A EP17768172A EP3504382B2 EP 3504382 B2 EP3504382 B2 EP 3504382B2 EP 17768172 A EP17768172 A EP 17768172A EP 3504382 B2 EP3504382 B2 EP 3504382B2
Authority
EP
European Patent Office
Prior art keywords
profile
air
room
hanger
plenum
Prior art date
Legal status (The legal status is an assumption and is not a legal conclusion. Google has not performed a legal analysis and makes no representation as to the accuracy of the status listed.)
Active
Application number
EP17768172.3A
Other languages
German (de)
English (en)
Other versions
EP3504382B1 (fr
EP3504382A1 (fr
EP3504382B8 (fr
Inventor
Jean-Marc Scherrer
Damien LANG
Current Assignee (The listed assignees may be inaccurate. Google has not performed a legal analysis and makes no representation or warranty as to the accuracy of the list.)
Individual
Original Assignee
Individual
Priority date (The priority date is an assumption and is not a legal conclusion. Google has not performed a legal analysis and makes no representation as to the accuracy of the date listed.)
Filing date
Publication date
Family has litigation
First worldwide family litigation filed litigation Critical https://patents.darts-ip.com/?family=57796426&utm_source=google_patent&utm_medium=platform_link&utm_campaign=public_patent_search&patent=EP3504382(B2) "Global patent litigation dataset” by Darts-ip is licensed under a Creative Commons Attribution 4.0 International License.
Application filed by Individual filed Critical Individual
Priority to SI201731282T priority Critical patent/SI3504382T1/sl
Priority to SM20220499T priority patent/SMT202200499T1/it
Priority to RS20221149A priority patent/RS63855B1/sr
Priority to HRP20221500TT priority patent/HRP20221500T1/hr
Publication of EP3504382A1 publication Critical patent/EP3504382A1/fr
Publication of EP3504382B1 publication Critical patent/EP3504382B1/fr
Publication of EP3504382B2 publication Critical patent/EP3504382B2/fr
Application granted granted Critical
Publication of EP3504382B8 publication Critical patent/EP3504382B8/fr
Active legal-status Critical Current
Anticipated expiration legal-status Critical

Links

Images

Classifications

    • EFIXED CONSTRUCTIONS
    • E04BUILDING
    • E04BGENERAL BUILDING CONSTRUCTIONS; WALLS, e.g. PARTITIONS; ROOFS; FLOORS; CEILINGS; INSULATION OR OTHER PROTECTION OF BUILDINGS
    • E04B9/00Ceilings; Construction of ceilings, e.g. false ceilings; Ceiling construction with regard to insulation
    • E04B9/02Ceilings; Construction of ceilings, e.g. false ceilings; Ceiling construction with regard to insulation having means for ventilation or vapour discharge
    • EFIXED CONSTRUCTIONS
    • E04BUILDING
    • E04BGENERAL BUILDING CONSTRUCTIONS; WALLS, e.g. PARTITIONS; ROOFS; FLOORS; CEILINGS; INSULATION OR OTHER PROTECTION OF BUILDINGS
    • E04B9/00Ceilings; Construction of ceilings, e.g. false ceilings; Ceiling construction with regard to insulation
    • E04B9/30Ceilings; Construction of ceilings, e.g. false ceilings; Ceiling construction with regard to insulation characterised by edge details of the ceiling; e.g. securing to an adjacent wall
    • E04B9/303Ceilings; Construction of ceilings, e.g. false ceilings; Ceiling construction with regard to insulation characterised by edge details of the ceiling; e.g. securing to an adjacent wall for flexible tensioned membranes
    • FMECHANICAL ENGINEERING; LIGHTING; HEATING; WEAPONS; BLASTING
    • F24HEATING; RANGES; VENTILATING
    • F24FAIR-CONDITIONING; AIR-HUMIDIFICATION; VENTILATION; USE OF AIR CURRENTS FOR SCREENING
    • F24F7/00Ventilation
    • F24F7/04Ventilation with ducting systems, e.g. by double walls; with natural circulation
    • EFIXED CONSTRUCTIONS
    • E04BUILDING
    • E04BGENERAL BUILDING CONSTRUCTIONS; WALLS, e.g. PARTITIONS; ROOFS; FLOORS; CEILINGS; INSULATION OR OTHER PROTECTION OF BUILDINGS
    • E04B9/00Ceilings; Construction of ceilings, e.g. false ceilings; Ceiling construction with regard to insulation
    • E04B9/02Ceilings; Construction of ceilings, e.g. false ceilings; Ceiling construction with regard to insulation having means for ventilation or vapour discharge
    • E04B2009/026Ceilings; Construction of ceilings, e.g. false ceilings; Ceiling construction with regard to insulation having means for ventilation or vapour discharge the supporting ceiling grid acting as air diffusers
    • EFIXED CONSTRUCTIONS
    • E04BUILDING
    • E04BGENERAL BUILDING CONSTRUCTIONS; WALLS, e.g. PARTITIONS; ROOFS; FLOORS; CEILINGS; INSULATION OR OTHER PROTECTION OF BUILDINGS
    • E04B9/00Ceilings; Construction of ceilings, e.g. false ceilings; Ceiling construction with regard to insulation
    • E04B9/04Ceilings; Construction of ceilings, e.g. false ceilings; Ceiling construction with regard to insulation comprising slabs, panels, sheets or the like
    • E04B2009/0492Ceilings; Construction of ceilings, e.g. false ceilings; Ceiling construction with regard to insulation comprising slabs, panels, sheets or the like with fabrics tensioned on frames

Definitions

  • the invention relates to the field of false ceilings, and in particular that of stretch ceilings.
  • the air circulated can come from a ventilation and/or air conditioning system (heating, cooling, dehumidification, humidification).
  • False ceiling designs are known that allow air to pass into the room to be treated.
  • a false ceiling fixing system is known that allows the false ceiling hanging profiles to be spaced apart by means of brackets or spacers fixed at regular intervals and thus generating a peripheral space.
  • the patent application may be cited FR2815112 , and also the document FR 2 597 906 .
  • the invention aims to remedy these problems by proposing a hanging profile allowing simple and rapid assembly of a ceiling assembly allowing the circulation of new and/or treated air within a room.
  • the invention also aims to propose a ceiling assembly allowing precise control of air diffusion around the periphery of the room.
  • the invention also aims to propose a ceiling assembly making it possible to avoid any visible device, and in particular grilles, while ensuring the circulation of air within the room concerned, whether this is circulation linked to the air conditioning or ventilation of the room concerned.
  • the invention proposes a profile for hanging a canvas for producing a stretched ceiling in a room to be treated, as defined by claim 1.
  • the hanging profile comprising at least two wings connected to each other by a connecting wall which extends horizontally between the room and a plenum, one of the wings being arranged to allow the hanging profile to be fixed to a wall of the room to be treated, a second wing, which constitutes a wing for hanging the canvas, being provided with a blocking end for a harpoon of a canvas, the connecting wall and the wing for hanging the canvas being arranged to together define an unobstructed slot for the passage of air through the profile and delimited by the blocking end of the harpoon of the wing for hanging the canvas, the profile comprising at least one passage opening arranged to allow the passage of air through said profile from or towards the slot, characterized in that the passage opening is provided on the connecting wall, said attachment profile defining, along the entire length of the wall, an open slot for the passage of air between
  • the air passage slot is delimited by the wall or by the fixing wing of the profile.
  • the configuration of the profile according to the invention thus makes it possible to define, along the entire wall, an open slot for the passage of air between the plenum and the room, devoid of any element blocking or hindering the passage of air, unlike the aforementioned prior arts.
  • the openings provided on the connecting wall of the profile according to the invention which can each represent an open surface of several square centimeters (for example 4 cm 2 ) while being spaced less than 1 cm from each other, can form, for one meter of profile according to the invention, a cumulative open surface of several hundred square centimeters, thus offering a possibility of maximized air circulation.
  • openings are provided on the profile according to the invention, on the connecting wall which extends horizontally between the room and the plenum, which facilitates the circulation of air between the room and the plenum.
  • one of the wings which constitutes a wing for hanging the canvas, converges in the direction of the wing allowing the attachment of the hanging profile or the wall on which the hanging profile is fixed.
  • the wing for hanging the canvas is arranged to have an angle of inclination relative to the other wing of less than 90 degrees, and preferably between 30 and 50 degrees.
  • the passage opening(s) is (are) provided on the connecting wall. It may also be provided, according to an alternative embodiment, that the attachment wing of the canvas and the connecting wall both comprise at least one passage opening.
  • the advantage of such an arrangement of the hanging profile is to prevent the passage opening leading to the upper slab from being visible from the room when the stretch ceiling is in place.
  • the canvas's hanging wing is provided with a plate allowing it to support a partition wall.
  • the wings are arranged to define a slot communicating with the passage opening, said slot being delimited by the wing for fixing the profile to the wall or by the wall itself when the hanging profile is fixed to said wall and by the wing for hanging the canvas.
  • the hanging profile comprises a deflector formed in the slot and arranged to deflect the air flow passing through the profile towards the passage opening or the slot depending on whether the air enters through the slot or the passage opening.
  • the profile according to the invention is formed by the association of two distinct parts secured to each other, the first part forming a profile of which one of the branches forms the fixing wing, the second part forming a profile provided with a means of securing to the first part and at least one means of attaching a canvas.
  • the securing means is in the form of an internal groove for receiving the end of a branch of the first part of the profile, made in the thickness of the second part of the profile.
  • the hanging profile is provided with at least one cover for closing an air passage opening.
  • This or these covers are added parts capable of being positioned on certain openings of the profile to limit the circulation of air at this location, for example to protect a decorative element such as a work of art positioned at this location on the wall.
  • Said ceiling assembly and the hanging profiles allowing, according to a first configuration, the blowing and suction of air within the same room, and therefore in the same volume and, according to a second configuration, the blowing of air within the room to be treated (ventilation and/or air conditioning) and the suction of air in an adjoining room, said ceiling assembly being equipped with a ventilation and/or air conditioning system fluidically connected, at least at the inlet, to the plenum of the room to be treated.
  • the wings of the hanging profile are arranged to define a slot communicating with the passage opening and oriented so that the air circulates at the outlet of the plenum along the wall on which said profile is fixed.
  • the air blown along the vertical walls equipped with a hanging profile allowing the passage of air will in fact make it possible to temper the walls thus reducing the temperature difference between these walls and the ambient air.
  • the plenum comprises first and second spaces separated by a dividing wall, one of the spaces defining a plenum space for the entry of air into the room, the other space defining a plenum space for the exit of air from the room.
  • the ceiling assembly comprises a plenum delimited by a stretched ceiling mounted in a room adjoining the room to be treated and the upper slab of the adjoining room, said plenum being separated from the plenum of the room to be treated by a partition crossed by at least one conduit allowing fluid communication between the two plenums.
  • the ceiling assembly is equipped with a ventilation and/or air conditioning system fluidly connected, at least at the inlet, to the plenum of the room to be treated.
  • the air conditioning system is housed in the plenum of the adjoining room.
  • the ceiling assembly and the hanging profiles according to the invention offer the possibility of implementing, according to a first configuration, the blowing and suction of air within the same room, and therefore in the same volume and, according to a second configuration, the blowing of air within the room to be treated (ventilation and/or air conditioning) and the suction of air in an adjoining room.
  • the plenum between the upper slab and the stretched ceiling will be advantageously separated into two distinct and airtight volumes with respect to each other.
  • This separation can be achieved in two ways: either by means of a "classic" separation profile resting on a vertical separation wall, the stretched ceiling will then be fitted with a “separator” at the right of the separation profile, or by means of a particular profile of the hanging profile (profile with plate allowing the fixing of a vertical separation wall. In the latter case, there will then be no need to install a separator on the stretched ceiling.
  • the ceiling assembly thus produced with the hanging profiles according to the invention makes it possible to completely do without air supply or suction grilles so that the aesthetics of the room are improved.
  • part of the power will be transmitted by radiation (hot or cold) from the ceiling, the rest by the circulation of air blown by means of the profiles (on the periphery of the room), thus generating excellent thermal comfort for the occupants.
  • FIG. 1 illustrates a schematic view of a ceiling assembly allowing the circulation of air within a room to be treated 1.
  • room to be treated we mean a room intended to receive fresh air or to be treated according to the system implemented (ventilation system as illustrated on the Figure 1 or air conditioning system).
  • the ceiling assembly implements inside the room to be treated 1 a stretched ceiling (or false ceiling) formed from a stretched canvas 3 extending between the wall walls 4a, 4b of the room to be treated 1 and fixed to them via hanging profiles and delimiting, with the upper slab 8, a plenum 14 and a plenum 16 separated in a sealed manner by a wall 11 provided with a separation profile 27.
  • a stretched ceiling or false ceiling
  • two of the walls of the room are provided with hanging profiles arranged to allow the passage of air between the plenums 14 and 16 and the room to be treated 1.
  • hanging profiles arranged to allow the passage of air between the plenums 14 and 16 and the room to be treated 1.
  • blowing profile 6a and suction profile 6b are however identical. Examples of blowing/suction profiles will be described later.
  • the suction profiles 6b are fixed to the walls located opposite the walls equipped with the blowing profiles 6a. This has the advantage of obtaining optimal air sweeping of the room to be treated 1.
  • the ceiling assembly further comprises a vertical dividing wall 11 arranged in the plenum 14 to delimit two spaces, one of the spaces defining a plenum space for the entry of air into the room, the other space defining a plenum space for the exit of air from the room.
  • a supply plenum 14 in which the fresh air is received and of a suction plenum 16 in which the air sucked from the room to be treated 1 is received.
  • the partition wall 11 is made integral at the bottom with a separation profile 27 taking up the stretched ceiling as shown in the figure. Figure 1 .
  • a separation profile is known per se.
  • the blowing plenum 14 is equipped with a fresh air blowing air duct 17 passing through the wall of the portion of the upper slab 8 delimiting the blowing plenum.
  • the suction plenum 16 is equipped with an air suction air duct 18 passing through the portion of the upper slab delimiting the suction plenum.
  • FIG. 2 shows an example of the production of a blowing and suction profile 6a, 6b allowing the passage of air between the room to be treated 1 and the associated plenums 14 and 16 and implemented in the ceiling assembly of the Figure 1 .
  • the blowing and suction profile 6a, 6b comprises a first vertical wing 60 and a second wing 61 connected to each other by a horizontal connecting wall 62.
  • the first wing defines a fixing wing 60 allowing the profile to be fixed to the wall.
  • the fixing wing has holes 21 for the passage of fixing means such as screws, rivets or the like.
  • the fixing wing 60 extends from the connecting wall and above the latter (i.e. upwards). It is extended in the lower part by a third vertical wing 63.
  • the second wing defines a hanging wing 61 allowing the canvas to be hung.
  • the hanging wing converges towards the third wing.
  • the hanging wing has an angle of inclination relative to the third wing at an angle of between 30 and 50 degrees, and a presence of 45 degrees.
  • this attachment wing 61 carries on its internal wall directed towards the wall, an attachment means 30 for a harpoon 50 of a canvas, configured to place the harpoon of the canvas at a distance from the wall that it runs along so as to define a passage slot for the air.
  • the attachment means 30 thus places the harpoon of the canvas along the lower edge of the attachment wall 61 while leaving an air passage slot between the harpoon and the wall (or the third vertical wing 63).
  • the distance separating the attachment end of the means 30 can be between 0.5 and 5 cm, preferably being between 1.5 and 3 cm and more preferably of the order of 2 cm.
  • the harpoon of the canvas may be provided to be elastically deformable, and the attachment means 30 may be in the form of a C-shaped hook in cross section curved towards the internal wall of the attachment wall 61 so as to form with this internal wall, a passage groove for the elastically deformed harpoon, leading to a groove for receiving the harpoon in its non-deformed configuration and a rim for blocking the harpoon received in the groove and kept at a distance from the wall 4a by the attachment wall 61 in order to allow air to pass through.
  • the attachment wing defines with the third wing a slot 22 having a passage opening 22a having an opening axis substantially parallel to the wing for fixing to the wall wall.
  • This thus makes it possible to ensure air blowing at the inlet of the room along the wall wall on which the blowing profile is fixed and at the outlet of the room (and therefore at the inlet of the plenum) an air suction having a trajectory substantially tangential to the wall wall carrying the suction profile.
  • the slot allows, with the openings provided in the attachment wing, the passage of air between the plenum and the room.
  • the blowing and suction profile 6a, 6b has passage openings 19 allowing the passage of air between the plenum and the room.
  • the openings are rectangular windows aligned along the hanging wing.
  • the openings may have another shape and/or be arranged differently.
  • the number of openings is variable and a single opening or several openings may be provided. There may also be no openings, the profile thus configured then becoming a “classic” profile 7 for hanging the stretch ceiling.
  • the hanging profiles 6a, 6b exist in different calibers, these calibers allowing to propose different widths of the slot 22 located in the lower part of the profile and therefore different sections of the opening 22a.
  • the use of blowing profiles thus calibrated makes it possible to perfectly control the speed of air blown on the periphery of the walls equipped with these profiles.
  • the air speed is calculated according to the flow of air blown, it is determined so as to obtain a sufficient range of the flow of air blown to reach the bottom of the vertical wall while respecting the air speeds perceived by the occupants of the very low room and therefore optimal comfort.
  • the use of suction profiles thus calibrated makes it possible to control the suction speed so as to ensure optimal air sweeping.
  • the blowing and suction profile 6a, 6b comprises a deflector 23 ( figure 8 ) to deflect the air flow towards the passage openings or the passage slot depending on whether the air enters through the passage slot or through the passage openings.
  • a deflector has the advantage of improving the passage of air by minimizing the passage resistance to the air and therefore the air pressure losses of the profiles.
  • the deflector connects the connecting wall to the third wing.
  • the deflector can be of any shape (straight, curved, etc.), the optimal shape however respecting an arc of a circle as shown in the figure 8 .
  • Fresh air is blown into the supply plenum via the supply duct passing through the upper slab, into the supply plenum to pass through the supply profile.
  • the fresh air flows along the wall fitted with the profile.
  • the sucked air is then drawn towards the stretched ceiling following a path substantially tangential to the wall provided with the suction profile to pass through the suction profile.
  • the sucked air is then extracted from the supply plenum via the extraction duct.
  • Adjoining room 2 is shown equipped with a stretched ceiling. It is of course obvious that this could not be equipped with a ceiling, the adjoining room not being used for the purpose of air circulation in the room to be treated, as is the case with the ceiling assemblies illustrated in the figures 3 to 7 , 11 and 12 .
  • FIG. 3 represents a particular embodiment in which the fresh air is blown into the room to be treated 1 and the air suction is carried out in an adjoining room 2.
  • the room to be treated 1 is equipped with a stretched ceiling 3 delimiting with the upper slab a plenum.
  • the stretched ceiling is attached to the wall walls 4a, 4b of the room via hanging profiles.
  • only one of the wall walls, the furthest in the example (wall 4a) is equipped with a profile allowing the passage of air, the remaining walls being equipped with conventional hanging profiles 7 (i.e. not being arranged to allow the passage of air), these profiles 7 can also be produced by means of profiles 6a / 6b not provided with openings 19 for the passage of air on the wing 61.
  • the profile is a blowing profile 6a.
  • the adjoining room 2 is equipped with a stretched ceiling 5 delimiting a plenum with the upper slab a plenum 15.
  • the stretched ceiling is attached to the walls of the adjoining room via hanging profiles, at least one of the hanging profiles being a suction profile 6b. If all the walls are not equipped with suction profiles 6b, the remaining walls can be equipped with conventional profiles 7 for hanging a stretched ceiling. In the example illustrated, only one wall, here the furthest from the room to be treated (wall 4c), is provided with suction profiles.
  • Plenum 14 of the room to be treated 1 forms the supply plenum while plenum 15 of the adjoining room 2 forms the suction plenum.
  • the sucked air passes between the volume of the treated room 1 and the volume of the adjoining room 2 via an existing or purpose-created leak between the two rooms, for example a gap under the door 4 separating the two rooms.
  • the sucked air then reaches the plenum 15 via the peripheral suction slot 22 generated by the installation of suction profiles 6b.
  • the sucked air will then be extracted from the plenum of the adjoining room via an air duct 18 passing through the upper slab from the plenum of the adjoining room.
  • FIG. 4 represents another embodiment in which the circulating air is treated air coming from air conditioning equipment 12 located in the room adjoining the room to be treated 1.
  • the ceiling assembly follows the arrangement of the ceiling assembly of the Figure 3 in which the fresh air inlet and air extraction ducts are replaced respectively by a blowing air duct 9 connected to the outlet of the air conditioning equipment and a suction air duct 10 connected to the inlet of the air conditioning equipment, the blowing duct passing through the wall separating the plenum of the room to be treated and the plenum of the adjoining room.
  • the plenum of the room to be treated forms the blowing plenum while the plenum of the adjoining room forms the suction plenum.
  • the treated air is blown into the plenum of the room to be treated1 by the air conditioning equipment via the blowing duct which passes through the blowing profile to run along the wall fitted with the profile.
  • the sucked air passes between the volume of the treated room 1 and the volume of the adjoining room 2 via a leak between the two rooms.
  • the sucked air then reaches the plenum 15 of the adjoining room via the peripheral suction slot 22 generated by the suction profile 6 where it reaches the air conditioning equipment via the suction air duct 10.
  • the ceiling assembly illustrated in the Figure 5 allows this constraint to be overcome.
  • the ceiling assembly implemented has a similar arrangement to the ceiling assembly of the Figure 1 . It further comprises a suction air duct 15 passing through the partition separating the suction plenum of the room to be treated and the plenum of the adjoining room in which the air conditioning equipment is installed, as well as a blowing air duct 9 passing through the partition separating the two rooms and the dividing wall 11 separating the suction plenum and the blowing plenum of the room to be treated.
  • the adjoining room is equipped with a stretched ceiling 5 attached to the wall walls of the adjoining room via conventional hanging profiles 7 (i.e. not arranged to allow air to pass through).
  • the sucked air reaches the suction plenum 16 through the peripheral suction slot 22 generated by the installation of the associated suction profile 6.
  • the sucked air then reaches the intake of any air conditioning machinery by means of the suction air duct 10.
  • the treated air is then put back into circulation via the blowing duct 9.
  • the ceiling assembly thus produced makes it possible to treat a room that is very airtight (for acoustic reasons, for example) in relation to its adjoining rooms 2.
  • FIG. 9 illustrates an alternative embodiment of the hanging profile not claimed.
  • the hanging profile 24 has the same shape as the profile of the Figure 2 except that it further comprises a horizontal plate 25 extending under the passage openings, in a direction opposite to the third wing.
  • the plate has the function of supporting a vertical partition wall without having to resort to installing a visible separator on the stretched ceiling, as illustrated in the figures 10 to 12 This improves the aesthetic appearance of the stretch ceiling while ensuring air circulation within the room.
  • the suction profiles 24 are fixed on the walls located opposite the walls equipped with the blowing profiles. This has the advantage of obtaining optimal air sweeping of the room to be treated 1.
  • the plate 25 can advantageously be provided with a riser at its end or with any attachment allowing the attachment of the vertical separation wall.
  • blowing and suction profiles 6a, 6b, 24 can be provided with a grid arranged at the openings 19 so as to cover them.
  • the presence of a grid thus makes it possible to prevent any impurity or insect from accessing the plenum 14, 15, 16) located between the upper slab and the stretched ceiling.
  • the suction and blowing profile 24 has been illustrated with such a filter 26 ( Figure 13 ).
  • the profiles intended for suction 6b, 24 are provided with a filter.
  • This filter can then replace the filters present in the ventilation and/or air conditioning machinery connected to the system.
  • the filter is removable to allow its replacement or cleaning.
  • figure 14 shows a possibility of integrating such a filter into a suction profile of the type of that of the profile 24.
  • the filter 28 is held against the inner face of the attachment wing 61, placed on the edge 20b delimiting the attachment groove 20 of the fabric, and is held by a longitudinal tab 28 carried by the inner face of the connecting wall 62.
  • inner face we mean the faces oriented towards the slot 22.
  • a profile can be provided that does not include a third wing.
  • the slot will be delimited by the hanging wing of the canvas and the wall on which the profile is fixed.
  • the third wing constitutes the fixing wing.
  • the ceiling assembly is compatible with any air conditioning and/or ventilation technology.
  • the air conditioning and/or ventilation equipment can be placed in the plenum 14 located above the room 1 to be treated, in the plenum 15 of any room adjoining the room 1 to be treated, but also in any other location in the building.
  • the invention allows the implementation of any type of stretched ceiling (classic, acoustic, etc.) and allows the use of any process compatible with stretched ceilings, for example backlighting systems, sound diffusion systems, etc.
  • an LED strip system could be installed at the angle between the wing 61 and the connecting wall 62 generating thus providing peripheral lighting of the room without the LED strip being visible.
  • At least one wall will be equipped with a blowing profile. It will be possible to choose the walls equipped with blowing profiles 6 and therefore to choose the walls along which the treated air and/or the fresh air are blown.
  • the other walls can be equipped with classic profiles 7 for hanging the stretched ceiling. This choice makes it possible to optimize the thermal comfort of the room. In particular, it will be chosen for example to blow along the exterior walls of the room, these walls being generally colder than the ambient air in winter and warmer than the ambient air in summer.
  • FIG 16 illustrates another variant embodiment of a ceiling assembly, the latter comprising lighting means 40 fixed to the upper slab 8.
  • the ceiling assembly illustrated has a stretched ceiling formed by two stretched canvases 3a, 3b extending between the wall walls 4a, 4b of the room to be treated. Said canvases 3a, 3b, arranged parallel to each other, are fixed to the wall walls using two hanging profiles 32, 34, one constituting a blowing profile 32, the other constituting a suction profile 34. An enlarged view of the blowing profile 32 is illustrated in the Figure 17 .
  • the blowing profile 32 comprises a fixing wing 60 connected to the hanging wing 61 of canvases by a connecting wall 62.
  • said wings 60, 61 are arranged so that, when the blowing profile 32 is fixed on the wall 4a, the attachment wing 61 is inclined relative to the connecting wall by converging in the direction of the wall 4a.
  • the attachment wing 61 comprises two attachment grooves 20a, 20b of said fabrics 3a, 3b. One of the grooves is provided in the upper part of the attachment wing 61 with an opening on the inside of the profile, the other groove being provided in the lower part of the attachment wing 61.
  • the passage openings 19 for the passage of air between the plenum 14 located above the upper stretched fabric 3b are carried by the connecting wall 62.
  • the blowing profile 32 further comprises a vertical wing 64 extending from the connecting wall 62, parallel to the fixing wing 60, in a direction opposite to the attachment wing 61.
  • the vertical wing 64 is provided at the end of the connecting wall 62.
  • This vertical wing 64 has the function of preventing the diffusion of light coming from the light means 40 via the passage openings 19 and the passage slot 22. This will subsequently be referred to as a blocking wing 64 (or screen-forming wing).
  • the ceiling assembly advantageously comprises a profile 36 of substantially V-shaped section fixed to the upper slab 8 of the room, in the vicinity of the hanging profile 32, as illustrated in the figure 16 . More particularly, the profile 36 is arranged relative to the attachment profile 32 so as to leave sufficient space between the blocking wing 64 and the profile 36 to allow the passage of air coming from the fresh air blowing air duct 17.
  • the attachment profile 32 and the profile 36 constitute two separate and independent parts. These two profiles can, however, according to an alternative embodiment, constitute a single part.
  • the blocking wing 64 would also comprise, like the connecting wall 62, passage openings to allow air circulation.
  • the suction profile 34 takes up all the characteristics of the blowing profile 32, except that unlike the latter, it is devoid of a blocking wing.
  • the diffusion of light is in fact blocked, in the ceiling assembly illustrated in the figure 16 , by the separation wall 11 of the blowing plenum 14 and the suction plenum 16 of the room.
  • a suction profile 34 identical to the blowing profile 42 can also be provided without departing from the scope of the invention.
  • lighting means may be provided fixed to the upper part of the hanging profile according to the invention, preferably on the face of the blocking wing 64 facing the wall 4a, 4b so as to obtain lighting at the periphery of the room or the frame.
  • it may also be provided to position near the passage openings 19 a loudspeaker or any other equipment allowing the diffusion of sound in order to ensure efficient transmission of the sound.
  • the blowing and suction profile 6a, 6b can be in the form of two independent parts 70, 71 to be fixed to each other.
  • the first profile part 70 constitutes the fixing wing 60 and partially the horizontal connecting wall 62
  • the second profile part 71 constitutes the remaining part of the horizontal connecting wall 62 and the inclined attachment wing 61.
  • the first profile part 70 is defined in a particularly simple form: that of a longitudinal profile with an L-shaped section, the vertical branch of which constitutes the fixing wing 60 and the horizontal branch 73 constitutes a portion of the horizontal connecting wall 62.
  • the horizontal branch of the L-shaped profile will be provided with an air passage opening 19.
  • the second profile part 71 is slightly more complex and has the general shape of a longitudinal profile with a trapezoidal cross-section, the long base 74, the short base 77 and the lateral side interposed between them 75 of which form the inclined attachment wing 61, the opposite lateral side 76 which is horizontal, forming the remaining part of the horizontal connecting wall 62.
  • the second profile part comprises a longitudinal groove 78 for receiving the end of the horizontal branch 73 of the L of the first profile part 70.
  • An added locking means such as a screw, may be provided to engage in an orifice 79 formed on the upper surface of the end of the horizontal branch of the L to lock it, passing through the thickness of the upper lateral side of the second profile part.
  • a mark 80 may be provided on the external surface of the upper lateral side 76 of the second profile part to correctly position the screw or any other locking means opposite the orifice 79 prior to its insertion therein.
  • This second part of profile 71 comprises on the external surface of its lateral side 75 which is vertical, the aforementioned hook 30 allowing the passage in a deformed configuration then the blocking in a rest configuration of an elastically deformable harpoon 50 for hanging a main stretched canvas 3a.
  • this second part of profile 71 can comprise a second means of attachment of an elastically deformable harpoon of a secondary stretched canvas 3b, as illustrated in the figure 18
  • This second attachment means 81 is for example provided in the form of a longitudinal groove partially closed by at least one edge (two in the figure) for retaining the harpoon of the second canvas, formed from the external surface of the long base 74 of this second profile part, for example immediately under the groove 78 for receiving the end of the first profile part.
  • This second canvas 3b will be able to fulfill the function of collecting and retaining deposits caused by dust and/or insects so that these remain at a distance from the main underlying canvas and cannot be visible from the room through it when, for example, it is intended to be translucent.
  • the second part of the profile may also include various recesses 82 (marked on the figure 19 ) arranged in the thickness of this second profile part, between the two harpoon locking grooves to serve as housings for brackets or fixing sleeves 83 of functional elements arranged in the plenum, or simply allowing the structure of this second profile part 70 to be lightened to optimize the cost.
  • Lugs 86 may be provided projecting from the wall forming these recesses to partition their space and accommodate several brackets or block them in their respective recesses.
  • an inclined groove may be provided made in the thickness of this second profile part parallel to the external surface, in order to serve as a support and fixing for a blocking wing or “screen-forming wing” as presented previously.
  • air passage openings 19 may be provided in this second part of the profile on the constituent walls of the small and large base in communication with each other.
  • These covers 90 may have the form of parallelepiped blocks, an upper face of which is provided with a lateral edge 91 intended to be applied against the contour of the opening 19 that the cover in question closes, and a lower face of which is provided with elastically deformable blades 92 which move away as the opening passes and lock behind the contour which delimits it.
  • the elastic blades extend along the length of the lateral sides of the parallelepiped block, with the exception of the corners thereof.
  • Visual markers 88 in the form of excess thickness or longitudinal beads may be provided on the external surfaces of each profile part 70, 71 in order to easily and precisely connect two profile parts end to end if necessary.
  • the constitution of the suction or blowing profile in two parts thus defined is particularly clever because the second part 71 more complex can be produced in large series with a single dimension, while the first part 70 of extreme simplicity can be produced with different dimensions in particular concerning the length of the branch of the L to be fixed to the second part of the profile to adjust according to the need, by a simple choice of available L profile, the desired spacing between the wall and the edge of the canvas and thus the size of the slot and the air circulation.
  • the L-shaped profile of the figure 19 has a longer horizontal branch which places the edge of the main sheet 3 at a longer distance from the wall 4a than is the edge of the main sheet 3 in the variant of the embodiment of the figure 18 where the horizontal branch of the L-shaped profile is shorter.
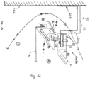
  • FIG 22 represents an alternative embodiment of the blowing and suction profile 6a, 6b of the figure 19 .
  • the second part of profile 71 takes on the characteristics of that illustrated on the figures 18 and 19 .
  • the first part of profile 70 no longer has an L-shaped section, but a section in Z at right angles. More precisely, the first part of profile 70 is made up of two horizontal branches connected to each other by a vertical branch, said horizontal branches extending in opposite directions from each other.
  • the upper horizontal branch, referenced 60 constitutes the fixing wing. It is fixed to the wall 4a via a strip forming a bracket 60b.
  • the lower horizontal branch, referenced 73 constitutes a portion of the horizontal connecting wall 62.
  • the vertical connecting branch, numbered 60a is provided with an air passage opening 19.
  • the opening(s) provided on the first part of the profile 70 like those of the second part of profile 71, may be closed if necessary by covers as described previously.

Landscapes

  • Engineering & Computer Science (AREA)
  • Architecture (AREA)
  • Structural Engineering (AREA)
  • Civil Engineering (AREA)
  • Electromagnetism (AREA)
  • Physics & Mathematics (AREA)
  • General Engineering & Computer Science (AREA)
  • Chemical & Material Sciences (AREA)
  • Mechanical Engineering (AREA)
  • Combustion & Propulsion (AREA)
  • Duct Arrangements (AREA)
  • Vehicle Step Arrangements And Article Storage (AREA)
  • Vehicle Interior And Exterior Ornaments, Soundproofing, And Insulation (AREA)
  • Central Air Conditioning (AREA)
  • Air-Flow Control Members (AREA)
  • Treatment Of Fiber Materials (AREA)

Description

    DOMAINE TECHNIQUE DE L'INVENTION
  • L'invention concerne le domaine des faux-plafonds, et en particulier celui des plafonds tendus.
  • L'invention concerne plus particulièrement un profilé d'accroche d'une toile pour la réalisation d'un plafond tendu dans un local permettant une circulation d'air au sein de celui-ci.
  • L'air mis en circulation peut être issu d'un système de ventilation et / ou de climatisation (chauffage, refroidissement, déhumidification, humidification).
  • ETAT DE LA TECHNIQUE
  • On connaît des réalisations de faux plafond permettant le passage d'air dans le local à traiter. On connaît notamment un système de fixation de faux plafond permettant d'espacer les profilés d'accroche du faux plafond au moyen d'équerres ou d'entretoises fixées à intervalles réguliers et générant ainsi un espace périphérique. A titre d'exemple, il peut être cité la demande de brevet FR2815112 , et aussi le document FR 2 597 906 .
  • Les systèmes ou profilés de l'art antérieur ne permettent toutefois pas de maîtriser précisément la diffusion d'air en périphérie du local. Ils ne permettent pas en outre de s'affranchir des grilles d'aspiration d'air lesquelles sont communément utilisées et qui nuisent à l'esthétisme du local.
  • D'autre part, il est connu du document FR 2 619 531 de doter un profilé d'accroche de toile, dont l'âme centrale est refermée par une lame souple de passage et de blocage d'un harpon non déformable d'accroche de la toile, de différentes perforations sur la lame souple et sur la paroi opposée à son aile de fixation à la paroi murale. Ces perforations se présentant sous la forme de segments d'une largeur inférieure à celles des vis permettant la fixation du profilé à la paroi murale avec une longueur relativement faible, en étant en outre espacées les unes des autres, n'autorisent pas une circulation aisée de l'air entre le plénum et le local, d'autant que l'âme centrale du profilé est pratiquement complètement obturée par la lame souple de retenue du harpon de la toile.
  • Egalement, la demande internationale WO 02/06604 décrit un profilé d'accroche d'une toile dont les deux ailes opposées de fixation à la paroi murale et d'accroche de la toile, sont pourvues de perforations autorisant une circulation d'air au-dessus de la toile, mais dont l'âme centrale est obturée par une lame souple de passage et de blocage d'un harpon non déformable d'une toile, qui en outre obture également l'espace existant entre la paroi murale et la paroi de fixation, empêchant toute circulation d'air entre le plénum et le local séparés l'un de l'autre par la toile.
  • L'invention vise à remédier à ces problèmes en proposant un profilé d'accroche permettant un montage simple et rapide d'un ensemble de plafond permettant la circulation d'air neuf et/ou traité au sein d'un local.
  • L'invention vise également à proposer un ensemble de plafond permettant de maîtriser de manière précise la diffusion d'air en périphérie du local.
  • L'invention vise également à proposer un ensemble de plafond permettant de se soustraire de tout dispositif visible, et notamment des grilles, tout en assurant la circulation de l'air au sein du local concerné et ce qu'il s'agissent d'une circulation liée à la climatisation ou la ventilation du local concerné.
  • OBJET DE L'INVENTION
  • A cet effet, et selon un premier aspect, l'invention propose un profilé d'accroche d'une toile pour la réalisation d'un plafond tendu dans un local à traiter, comme défini par la revendication 1. Le profilé d'accroche comprenant au moins deux ailes reliées entre elles par une paroi de raccordement qui s'étend horizontalement entre le local et un plénum, l'une des ailes étant arrangée pour permettre la fixation du profilé d'accroche sur une paroi murale du local à traiter, une deuxième aile, laquelle constitue une aile d'accroche de la toile, étant pourvue d'une extrémité de blocage d'un harpon d'une toile, la paroi de raccordement et l'aile d'accroche de la toile étant agencées pour définir ensemble une fente non obturée de passage de l'air à travers le profilé et délimitée par l'extrémité de blocage du harpon de l'aile d'accroche de la toile, le profilé comportant au moins une ouverture de passage agencée pour permettre le passage de l'air au travers dudit profilé à partir ou en direction de la fente , caractérisée en ce que l'ouverture de passage est ménagée sur la paroi de raccordement, ledit profilé d'accroche définissant tout le long de la paroi murale, une fente ouverte de passage d'air entre le plénum et le local, dépourvue de tout élément d'obturation ou de gêne du passage d'air et dans lequel le profilé d'accroche comporte au moins un cache d'obturation d'une ouverture de passage, le cache d'obturation permettant de limiter la circulation d'air.
  • Selon l'invention, une deuxième aile du profilé est pourvue d'une extrémité de blocage d'un harpon d'une toile, la paroi de raccordement et l'aile d'accroche étant agencées pour définir ensemble une fente non obturée de passage de l'air à travers le profilé et délimitée d'une part par l'extrémité de blocage du harpon de l'aile d'accroche, le profilé comportant au moins une ouverture de passage agencée pour permettre le passage de l'air au travers dudit profilé à partir ou en direction de la fente.
  • Avantageusement, d'autre part, la fente de passage de l'air est délimitée par la paroi murale ou par l'aile de fixation du profilé.
  • La configuration du profilé selon l'invention permet ainsi de définir tout le long de la paroi murale, une fente ouverte de passage d'air entre le plénum et le local, dépourvue de tout élément d'obturation ou de gêne du passage d'air, contrairement aux arts antérieurs précités. Les ouvertures prévues sur la paroi de raccordement du profilé selon l'invention, qui peuvent représenter chacune une surface ouverte de plusieurs centimètres carrés (par exemple 4 cm2) en étant espacées de moins de 1 cm l'une de l'autre, peuvent former pour un mètre de profilé selon l'invention, une surface ouverte cumulée de plusieurs centaines de centimètres carrés offrant ainsi une possibilité de circulation d'air maximisée.
  • En outre, les ouvertures sont prévues sur le profilé selon l'invention, sur la paroi de raccordement qui s'étend horizontalement entre le local et le plénum, ce qui facilite la circulation d'air entre le local et le plénum.
  • Avantageusement, l'une des ailes, laquelle constitue une aile d'accroche de la toile, converge en direction de l'aile permettant la fixation du profilé d'accroche ou de la paroi murale sur laquelle le profilé d'accroche est fixé. Selon une configuration particulière, l'aile d'accroche de la toile est arrangée pour présenter un angle d'inclinaison par rapport à l'autre aile inférieur à 90 degrés, et de préférence comprise entre 30 et 50 degrés.
  • Avantageusement, la ou les ouvertures de passage est (sont) ménagée(s) sur la paroi de raccordement. Il peut être prévu également, selon une variante de réalisation, que l'aile d'accroche de la toile et la paroi de raccordement comportent toutes deux au moins une ouverture de passage.
  • L'avantage d'un tel arrangement du profilé d'accroche (positionnement des ouvertures de passage sur la paroi de raccordement et de convergence du profilé d'accroche) est d'éviter que l'ouverture de passage donnant sur la dalle supérieure soit visible depuis le local lorsque le plafond tendu est en place.
  • Avantageusement, l'aile d'accroche de la toile est pourvue d'une platine permettant de supporter une paroi de séparation.
  • Avantageusement, les ailes sont arrangées pour définir une fente communiquant avec l'ouverture de passage, ladite fente étant délimitée par l'aile de fixation du profilé sur la paroi ou bien par la paroi même lorsque le profilé d'accroche est fixé sur ladite paroi murale et par l'aile d'accroche de la toile.
  • Avantageusement, le profilé d'accroche comporte un déflecteur ménagé dans la fente et arrangé pour défléchir le flux d'air traversant le profilé en direction de l'ouverture de passage ou de la fente selon que l'air entre par la fente ou par l'ouverture de passage.
  • Idéalement, le profilé selon l'invention est formé par l'association de deux parties distinctes et solidarisées l'une à l'autre, la première partie formant un profilé dont l'une des branches forme l'aile de fixation, la deuxième partie formant un profilé doté d'un moyen de solidarisation à la première partie et d'au moins un moyen d'accroche d'une toile.
  • Dans ce cas, le moyen de solidarisation se présente sous la forme d'une gorge interne d'accueil de l'extrémité d'une branche de la première partie du profilé, réalisée dans l'épaisseur de la deuxième partie de profilé.
  • Selon l'invention le profilé d'accroche est doté d'au moins un cache d'obturation d'une ouverture de passage d'air. Ce ou ces caches sont des pièces rapportées susceptibles d'être positionnées sur certaines ouvertures du profilé pour limiter à cet endroit la circulation d'air, par exemple pour protéger un élément de décoration tel qu'une œuvre d'art positionné à cet endroit de la paroi murale.
  • Le profilé d'accroche selon l'invention a pour avantage comme on le comprendra avec la description détaillée d'exemples de mise en œuvre non limitatifs :
    • ∘ de permettre conjointement le soufflage et l'aspiration d'air
    • ∘ de s'affranchir des grilles aérauliques présentent dans les systèmes de l'art antérieur
    • ∘ de maîtriser la diffusion d'air dans le local
    • ∘ de ne pas voir ce qui se situe au dessus de la fente périphérique
    • ∘ de permettre un montage facile du plafond tendu
    • ∘ de permettre l'association à tout équipement de ventilation ou de climatisation (chauffage, refroidissement, déshumidification, humidification).
  • L'invention concerne également un ensemble de plafond permettant la circulation d'air au sein d'un local à traiter, l'ensemble de plafond comprenant au moins un plafond tendu définissant avec la dalle supérieure du local à traiter sous lequel il est monté un plénum, le plafond tendu comprenant au moins une toile tendue s'étendant entre les parois murales du local à traiter et fixée à celles-ci au moyen de profilés d'accroche, l'un au moins des profilés d'accroche étant un profilé d'accroche tel que décrit précédemment de sorte à permettre le passage de l'air entre le plénum et le local. Ledit ensemble de plafond et les profilés d'accroche permettant, selon une première configuration, le soufflage et l'aspiration d'air au sein d'un même local, et donc dans le même volume et, selon une deuxième configuration le soufflage d'air au sein du local à traiter (ventilation et ou climatisation) et l'aspiration d'air dans un local mitoyen, ledit ensemble de plafond étant équipé d'un système de ventilation et/ou de climatisation relié(s) fluidiquement, au moins en entrée, au plénum du local à traiter.
  • Avantageusement, les ailes du profilé d'accroche sont arrangées pour définir une fente communiquant avec l'ouverture de passage et orientée pour que l'air circule en sortie du plénum le long de la paroi murale sur laquelle ledit profilé est fixé. L'air soufflé le long des parois verticales dotées d'un profilé d'accroche permettant le passage de l'air permettra en effet de tempérer les parois réduisant ainsi l'écart de température entre ces parois et l'air ambiant.
  • Avantageusement, le plénum comporte un premier et un deuxième espaces séparés par une paroi de séparation, l'un des espaces définissant un espace de plénum pour l'entrée d'air dans la pièce, l'autre espace définissant un espace de plénum pour la sortie d'air de la pièce.
  • Avantageusement, l'ensemble de plafond comprend un plénum délimité par un plafond-tendu monté dans un local mitoyen du local à traiter et la dalle supérieure du local mitoyen, ledit plénum étant séparé du plénum du local à traiter par une cloison traversée par au moins un conduit permettant une communication fluidique entre les deux plénums.
  • L'ensemble de plafond est équipé d'un système de ventilation et/ou de climatisation relié(s) fluidiquement, au moins en entrée, au plénum du local à traiter.
  • Avantageusement, le système de climatisation est logé dans le plénum du local mitoyen.
  • L'ensemble de plafond et les profilés d'accroche selon l'invention offrent la possibilité de mettre en œuvre, selon une première configuration, le soufflage et l'aspiration d'air au sein d'un même local, et donc dans le même volume et, selon une deuxième configuration le soufflage d'air au sein du local à traiter (ventilation et ou climatisation) et l'aspiration d'air dans un local mitoyen.
  • Dans le cas ou le soufflage et l'aspiration d'air sont mis en œuvre au sein du même local, le plénum entre la dalle haute et le plafond tendu sera séparé avantageusement en deux volumes distinct et étanches l'un vis à vis de l'autre. Cette séparation peut réalisée de deux manières : soit au moyen d'un profilé « classique » de séparation s'appuyant sur une paroi verticale de séparation, le plafond tendu sera alors doté d'un « séparateur » au droit du profilé de séparation, soit au moyen d'un profil particulier du profilé d'accroche (profilé avec platine permettant la fixation d'une paroi verticale de séparation. Dans ce dernier cas, il n'y aura alors pas nécessité d'installer un séparateur sur le plafond tendu.
  • L'ensemble de plafond et les profilés d'accroche selon l'invention permettent donc de traiter les trois cas de figure suivants :
    • local climatisé et ou ventilé avec aspiration d'air dans un local mitoyen,
    • local climatisé et ou ventilé avec soufflage et aspiration d'air au sein du même local et mise en œuvre d'un séparateur au niveau du plafond tendu.
    • local climatisé et ou ventilé avec soufflage et aspiration d'air au sein du même local et utilisation du profilé spécial aspiration.
  • L'ensemble de plafond ainsi réalisé avec les profilés d'accrochage selon l'invention permet de se passer complètement de grilles de soufflage ou d'aspiration d'air de sorte que l'esthétisme du local est amélioré.
  • Par ailleurs, lors du recours à un système de chauffage ou climatisation, une partie de la puissance sera transmise par rayonnement (chaud ou froid) du plafond, le reste par la circulation d'air soufflé au moyen des profilés (en périphérie du local), générant ainsi un excellent confort thermique pour les occupants.
  • BREVE DESCRIPTION DES FIGURES
  • D'autres objets et avantages de l'invention apparaîtront au cours de la description qui suit, faite en référence aux dessins annexés, dans lesquels les figures 2, 8, 9, 13, 14 et 22 ne sont pas revendiquées:
    • ∘ la figure 1 représente une vue schématique d'un ensemble de plafond ;
    • ∘ la figure 2 représente une vue en perspective d'un profilé de mis en œuvre dans l'ensemble de fixation de la figure 1 ;
    • ∘ les figures 3 à 7 représentent respectivement des variantes de mise en œuvre d'un ensemble de plafond utilisant un profilé de fixation de la figure 2 ;
    • ∘ la figure 8 représente une vue en perspective d'un profilé d'accroche selon un deuxième exemple ;
    • ∘ la figure 9 représente une vue en perspective d'un profilé d'accroche selon un autre exemple ;
    • ∘ les figures 10 à 12 représentent respectivement des variantes de mise en œuvre d'un ensemble de plafond utilisant le profilé de fixation de la figure 9. ;
    • ∘ la figure 13 représente le profilé d'accroche de la figure 9 pourvu d'un grillage de protection ;
    • ∘ la figure 14 représente une vue en perspective d'un profilé d'accroche pourvu d'un filtre ;
    • ∘ la figure 15 représente une vue en perspective d'un profilé d'accroche selon l'invention
    • ∘ la figure 16 représente une vue schématique d'un ensemble de plafond utilisant un autre profilé d'accroche selon l'invention ;
    • ∘ la figure 17 représente une vue en perspective du profilé d'accroche mis en œuvre dans l'ensemble de plafond de la figure 16 ;
    • ∘ la figure 18 représente une vue schématique en coupe d'un profilé d'accroche réalisé en deux parties selon un premier mode de réalisation, monté sur une paroi murale et supportant deux toiles
    • ∘ la figure 19 représente une vue schématique en coupe d'un profilé d'accroche réalisé en deux parties selon un deuxième mode de réalisation, monté sur une paroi murale, supportant une toile et muni d'équerres internes de fixation d'éléments fonctionnels
    • ∘ les figures 20a) à 20d) représentent un premier mode de réalisation d'un cache pour les ouvertures d'un profilé d'accroche selon l'invention par respectivement :
      • ▪ une vue de dessus (figure 20a)
      • ▪ une vue de dessous (figure 20b)
      • ▪ une vue en perspective de trois quart avant (figure 20c)
      • ▪ une vue de côté (figure 20d)
    • ∘ les figures 21a) à 21d) représentent un deuxième mode de réalisation d'un cache pour les ouvertures d'un profilé d'accroche selon l'invention par respectivement :
      • ▪ une vue de dessus (figure 21a)
      • ▪ une vue de dessous (figure 21b)
      • ▪ une vue en perspective de trois quart avant (figure 21c)
      • ▪ une vue de côté (figure 21d)
    • ∘ la figure 22 représente une variante de réalisation du profilé d'accroche de la figure 19.
  • Pour plus de clarté, les éléments identiques ou similaires des différents modes de réalisation sont repérés par des signes de référence identiques sur l'ensemble des figures.
  • DESCRIPTION DETAILLEE DES FIGURES
  • La figure 1 illustre une vue schématique d'un ensemble de plafond permettant la circulation d'air au sein d'un local à traiter 1. Par « local à traiter » on entend un local destiné à recevoir l'air neuf ou à traiter selon le système mis en œuvre (système de ventilation comme illustré sur la figure 1 ou système de climatisation).
  • Dans le mode de réalisation illustré, l'ensemble de plafond met en œuvre à l'intérieur du local à traiter 1 un plafond tendu (ou faux-plafond) formé d'une toile tendue 3 s'étendant entre les parois murales 4a, 4b du local à traiter 1 et fixée à celles-ci via des profilés d'accroche et délimitant, avec la dalle supérieure 8, un plénum 14 et un plénum 16 séparés de façon étanche par une paroi 11 doté d'un profilé de séparation 27.
  • Afin de permettre la circulation de l'air dans le local, deux des parois du local, sont pourvues de profilés d'accroche arrangés pour permettre le passage de l'air entre les plénums 14 et 16 et le local à traiter 1. Selon qu'ils permettent le passage de l'air neuf soufflé ou le passage de l'air aspiré, on parlera de profilé de soufflage 6a et de profilé d'aspiration 6b. Ces profilés sont cependant identiques. Des exemples de profilés de soufflage/d'aspiration seront décrits plus loin.
  • Comme illustré sur la figure 1, les profilés d'aspiration 6b sont fixés sur les parois situées à l'opposé des parois dotées des profilés de soufflage 6a. Cela a pour avantage d'obtenir un balayage d'air optimal du local à traiter 1.
  • L'ensemble de plafond comporte en outre une paroi de séparation 11 verticale disposée dans le plénum 14 pour délimiter deux espaces, l'un des espaces définissant un espace de plénum pour l'entrée d'air dans le local, l'autre espace définissant un espace de plénum pour la sortie d'air du local. On parlera par la suite de plénum de soufflage 14 dans lequel l'air neuf est reçu et de plénum d'aspiration 16 dans lequel l'air aspiré du local à traiter 1 est reçu.
  • Afin d'assurer une séparation étanche entre les deux espaces, la paroi de séparation 11 est rendue solidaire en partie inférieure avec un profilé de séparation 27 reprenant le plafond tendu comme représenté sur la figure 1. Un tel profilé de séparation est connu en soi.
  • Le plénum de soufflage 14 est équipé d'un conduit aéraulique de soufflage 17 d'air neuf traversant la paroi de la portion de la dalle supérieure 8 délimitant le plénum de soufflage. De même le plénum d'aspiration 16 est équipé d'un conduit aéraulique d'aspiration d'air 18 traversant la portion de la dalle supérieure délimitant le plénum d'aspiration.
  • La figure 2 montre un exemple de réalisation d'un profilé de soufflage et d'aspiration 6a, 6b permettant le passage d'air entre le local à traiter 1 et les plénums 14 et 16 associé et mis en œuvre dans l'ensemble de plafond de la figure 1.
  • Le profilé de soufflage et d'aspiration 6a, 6b comporte une première aile verticale 60 et une deuxième aile 61 reliées entre elles par une paroi de raccordement 62 horizontale.
  • La première aile définit une aile de fixation 60 permettant la fixation du profilé sur la paroi murale. Pour ce faire, l'aile de fixation comporte des trous 21 pour le passage de moyens de fixation tels que des vis, rivets ou similaires. Dans le mode de réalisation illustré, l'aile de fixation 60 s'étend depuis la paroi de raccordement et au-dessus de cette dernière (i.e. vers le haut). Elle est prolongée en partie inférieure par une troisième aile 63 verticale.
  • La deuxième aile définit quant à elle une aile d'accroche 61 permettant l'accroche de la toile. L'aile d'accroche converge en direction de la troisième aile. Avantageusement, l'aile d'accroche présente un angle d'inclinaison par rapport à la troisième aile à un angle compris entre 30 et 50 degrés, et de présence 45 degrés. Conformément à la figure 2, cette aile d'accroche 61 porte sur sa paroi interne dirigée vers la paroi murale, un moyen d'accroche 30 pour un harpon 50 d'une toile, configuré pour disposer le harpon de la toile à distance de la paroi murale qu'elle longe de façon à définir une fente de passage pour l'air. Le moyen d'accroche 30 dispose ainsi le harpon de la toile le long du bord inférieur de la paroi d'accroche 61 en laissant subsister entre le harpon et la paroi murale (ou la troisième aile 63 verticale) une fente de passage d'air. Par exemple, la distance séparant l'extrémité d'accroche du moyen 30 peut être comprise entre 0,5 et 5 cm, en étant de préférence comprise entre 1, 5 et 3 cm et de manière encore préférée de l'ordre de 2 cm. Idéalement, comme pour les exemples représentés, le harpon de la toile pourra être prévu élastiquement déformable, et le moyen d'accroche 30, se présenter sous la forme d'un crochet en forme de C en section transversale recourbé vers la paroi interne de la paroi d'accroche 61 de façon à former avec cette paroi interne, une rainure de passage pour le harpon élastiquement déformé, menant à une gorge d'accueil du harpon dans sa configuration non déformée et un rebord de blocage du harpon accueilli dans la gorge et maintenu à distance de la paroi murale 4a par la paroi d'accroche 61 afin de laisser passer l'air.
  • Ainsi, comme illustré, l'aile d'accroche définit avec la troisième aile une fente 22 présentant une ouverture de passage 22a présentant un axe d'ouverture sensiblement parallèle à l'aile de fixation à la paroi murale. Cela permet ainsi d'assurer un soufflage d'air en entrée du local le long de la paroi murale sur laquelle le profilé de soufflage est fixé et en sortie du local (et donc en entrée du plénum) une aspiration d'air présentant une trajectoire sensiblement tangentielle à la paroi murale portant le profilé d'aspiration. La fente permet, avec les ouvertures ménagées dans l'aile d'accroche, le passage d'air entre le plénum et le local.
  • Le profilé de soufflage et d'aspiration 6a, 6b comporte des ouvertures de passage 19 permettant le passage de l'air entre le plénum et la pièce. Dans le mode de réalisation illustré, les ouvertures sont des fenêtres rectangulaires alignées le long de l'aile d'accroche. Il s'agit bien entendu d'un exemple de réalisation, les ouvertures pouvant présenter une autre forme et/ou être agencées différemment. Par ailleurs, le nombre d'ouverture est variable et il peut être prévu une seule ouverture ou plusieurs ouvertures. Il peut également n'y avoir aucune ouverture le profilé ainsi configuré devenant alors un profilé « classique » 7 d'accroche du plafond tendu.
  • Avantageusement, les profilés d'accroche 6a, 6b existent sous différents calibres, ces calibres permettant de proposer différentes largeurs de la fente 22 se situant en partie basse du profilé et donc différentes sections de l'ouverture 22a. Le recours à des profilés de soufflage ainsi calibrés permet de maîtriser parfaitement la vitesse d'air soufflé sur la périphérie des parois équipées de ces profilés. La vitesse d'air est calculée en fonction du débit d'air soufflé, elle est déterminée de sorte à obtenir une portée suffisante du flux d'air soufflé pour atteindre le bas de la paroi verticale tout en respectant des vitesses d'air perçues par les occupants du local très faible et donc un confort optimal. De la même façon le recours à des profilés d'aspiration ainsi calibrés permet de maîtriser la vitesse d'aspiration de sorte à assurer un balayage d'air optimal.
  • Avantageusement, le profilé de soufflage et d'aspiration 6a, 6b comporte un déflecteur 23 (figure 8) pour défléchir le flux d'air en direction des ouvertures de passage ou de la fente de passage selon que l'air entre par la fente de passage ou par les ouvertures de passage. La présence d'un déflecteur a pour avantage d'améliorer le passage de l'air en minimisant la résistance de passage à l'air et donc les pertes de charges aérauliques des profilés. Dans le mode de réalisation illustré sur la figure 8, le déflecteur relie la paroi de raccordement à la troisième aile. Le déflecteur peut être de toute forme (rectiligne, courbe, etc.), la forme optimale respectant cependant un arc de cercle comme montré sur la figure 8.
  • L'air neuf est soufflé dans le plénum de soufflage via le conduit de soufflage traversant la dalle supérieure, dans le plénum de soufflage pour traverser le profilé de soufflage. En sortie du profilé de soufflage, du fait de l'orientation de la fente 22, l'air neuf longe la paroi murale équipée du profilé.
  • L'air aspiré quant à lui est entrainé vers le plafond tendu suivant une trajectoire sensiblement tangentielle à la paroi murale pourvu du profilé d'aspiration pour traverser le profilé d'aspiration. L'air aspiré est ensuite extrait du plénum de soufflage via le conduit d'extraction.
  • Le local mitoyen 2 est représenté équipé d'un plafond tendu. Il est bien entendu évident que celui-ci pourrait ne pas être équipé d'une plafond, le local mitoyen n'étant pas mis à contribution aux fins de la circulation de l'air dans le local à traiter, comme cela est en revanche le cas avec les ensembles de plafond illustrés sur les figures 3 à 7, 11 et 12.
  • La figure 3 représente un mode de réalisation particulier dans lequel l'air neuf est soufflé dans le local à traiter 1 et l'aspiration d'air est réalisée dans un local mitoyen 2.
  • Le local à traiter 1 est équipé d'un plafond tendu 3 délimitant avec la dalle supérieure un plénum. Le plafond tendu est accroché aux parois murales 4a, 4b du local via des profilés d'accrochage. Dans le mode de réalisation illustré, seule l'une des parois murales, la plus éloignée dans l'exemple (paroi 4a), est équipée de profilé permettant le passage de l'air, les parois restantes étant équipées de profilés d'accroche 7 classiques (i.e. n'étant pas arrangés pour laisser passer l'air), ces profilés 7 pouvant également être réalisés au moyen de profilés 6a / 6b non dotés d'ouvertures 19 de passage d'air sur l'aile 61. Dans l'exemple illustré, le profilé est un profilé de soufflage 6a.
  • De même, le local mitoyen 2 est équipé d'un plafond tendu 5 délimitant un plénum avec la dalle supérieure un plénum 15. Le plafond tendu étant accroché aux parois murales du local mitoyen via des profilés d'accrochage, l'un au moins des profilés d'accrochage étant un profilé d'aspiration 6b. Si l'ensemble des parois ne sont pas équipées de profilés d'aspiration 6b, les parois restantes pourront être équipées de profilés classiques 7 d'accroche d'un plafond tendu. Dans l'exemple illustré, seule une paroi, ici la plus éloignée du local à traiter (paroi 4c), est pourvue de profilés d'aspiration.
  • Le plénum 14 du local à traiter 1 forme le plénum de soufflage tandis que le plénum 15 du local mitoyen 2 forme le plénum d'aspiration.
  • Dans le mode de réalisation illustré, l'air aspiré transite entre le volume du local traité 1 et le volume du local mitoyen 2 via une inétanchéité existante ou créée à cet effet entre les 2 locaux, par exemple un détalonnage sous la porte 4 séparant les 2 locaux. L'air aspiré rejoint ensuite le plénum 15 par la fente d'aspiration périphérique 22 générée par la mise en place de profilés d'aspiration 6b.
  • L'air aspiré sera ensuite extrait du plénum du local mitoyen via un conduit aéraulique 18 traversant la dalle supérieure depuis le plénum du local mitoyen.
  • La figure 4 représente un autre mode de réalisation dans lequel l'air en circulation est un air traité en provenance d'un équipement de climatisation 12 situé dans le local mitoyen du local à traiter 1.
  • L'ensemble de plafond reprend l'arrangement de l'ensemble de plafond de la figure 3 dans lequel les conduits d'entrée d'air neuf et d'extraction d'air sont remplacés respectivement par un conduit aéraulique de soufflage 9 raccordé en sortie de l'équipement de climatisation et un conduit aéraulique d'aspiration 10 raccordé en entré de l'équipement de climatisation, le conduit de soufflage traversant la paroi séparant le plénum du local à traiter et le plénum du local mitoyen. Comme précédemment, le plénum du local à traiter forme le plénum de soufflage tandis que le plénum du local mitoyen forme le plénum d'aspiration.
  • L'air traité est soufflé dans le plénum du local à traiter1 par l'équipement de climatisation via le conduit de soufflage lequel passe au travers du profilé de soufflage pour longer la paroi murale équipé du profilé. L'air aspiré transite entre le volume du local traité 1 et le volume du local mitoyen 2 via une inétanchéité entre les 2 locaux. L'air aspiré rejoint ensuite le plénum 15 du local mitoyen par la fente 22 d'aspiration périphérique générée par le profilé d'aspiration 6 où il rejoint l'équipement de climatisation via le conduit aéraulique d'aspiration 10.
  • Dans certaines cas cependant, il n'est pas possible de générer une inétanchéité suffisante entre le local à traiter 1 et un local mitoyen 2 pour véhiculer le débit d'air aspiré. Cela peut être le cas par exemple de locaux devant assurer une isolation acoustique. L'ensemble de plafond illustré sur la figure 5 permet de palier cette contrainte. L'ensemble de plafond mis en œuvre présente un arrangement similaire à l'ensemble de plafond de la figure 1. Il comporte en outre un conduit aéraulique d'aspiration 15 traversant la cloison séparant le plénum d'aspiration du local à traiter et le plénum du local mitoyen dans lequel l'équipement de climatisation est installée ainsi qu'un conduit aéraulique de soufflage 9 traversant la cloison séparant les deux locaux et la paroi de séparation 11 séparant le plénum d'aspiration et le plénum de soufflage du local à traiter. Dans ce cas, le local mitoyen est équipé d'un plafond tendu 5 accroché aux parois murales du local mitoyen via des profilés d'accroche classiques 7 (i.e. n'étant pas arrangés pour laisser passer l'air).
  • Comme dans l'ensemble de plafond de la figure 1, l'air aspiré rejoint le plénum d'aspiration 16 par la fente 22 d'aspiration périphérique générée par la mise en place du profilé d'aspiration 6 associé. L'air aspiré rejoint ensuite la reprise de toute machinerie de climatisation au moyen du conduit aéraulique d'aspiration 10. L'air traité est ensuite remis en circulation via le conduit de soufflage 9.
  • Il peut être également prévu le raccordement des conduits aérauliques d'aspiration 10 et de soufflage 9 respectivement à un conduit aéraulique d'extraction/de sortie 18 et un conduit aéraulique d'entrée 17 d'air neuf communiquant avec l'extérieur du local mitoyen et du plénum associé (figure 6) de sorte à réaliser à la fois la climatisation et à la fois la ventilation du local à traiter 1.
  • L'ensemble de plafond ainsi réalisé permet ainsi de traiter un local très étanche (pour des raisons acoustiques par exemple) par rapport à ses locaux mitoyens 2.
  • La figure 9 illustre une variante de réalisation du profilé d'accroche non revendiquée. Dans cette variante, le profilée d'accroche 24 présentent la même forme que le profilé de la figure 2 si ce n'est qu'il comporte en outre une platine 25 horizontale s'étendant sous les ouvertures de passage, dans une direction opposée à la troisième aile. La platine a pour fonction de supporter une paroi de séparation verticale sans avoir à recourir à la mise en place d'un séparateur visible sur le plafond tendu, comme illustré sur les figures 10 à 12. Cela permet ainsi d'améliorer l'aspect esthétique du plafond tendu tout en assurant la circulation de l'air au sein du local.
  • Comme illustré sur les figures 10 à 12, les profilés d'aspiration 24 sont fixés sur les parois situées à l'opposé des parois dotées des profilés de soufflage. Cela a pour avantage d'obtenir un balayage d'air optimal du local à traiter 1.
  • La platine 25 peut être avantageusement pourvue d'une remontée à son extrémité ou de toute sujétion permettant l'accroche de la paroi verticale de séparation.
  • Avantageusement les profilés soufflage et d'aspiration et de 6a, 6b, 24 peuvent être doté d'un grillage disposé au niveau des ouvertures 19 de manière à les couvrir. La présence d'un grillage permet ainsi d'éviter que toute impureté ou tout insecte puisse accéder au plénum 14, 15, 16) situé entre la dalle haute et le plafond tendu. A titre d'exemple, le profilé d'aspiration et de soufflage 24 a été illustré avec un tel filtre 26 (figure 13).
  • Selon une variante de réalisation particulier, il peut être prévu que les profilés destinés à l'aspiration 6b, 24 soient dotés d'un filtre. Ce filtre pourra alors se substituer aux filtres présents dans les machineries de ventilation et ou climatisation reliées au système. Avantageusement, le filtre est démontable afin de permettre son remplacement ou son nettoyage. La figure 14 montre une possibilité d'intégration d'un tel filtre dans un profilé d'aspiration du type de celui du profilé 24. Dans le mode de réalisation illustré, le filtre 28 est maintenu contre la face intérieure de l'aile d'accroche 61, posé sur l'arrête 20b délimitant la gorge d'accroche 20 de la toile, et est retenu par une languette 28 longitudinale portée par la face intérieure de la paroi de raccordement 62. Par «face intérieure», on entend les faces orientées du côté de la fente 22.
  • Il est bien entendu évident que les profilés d'accroche ne se limitent pas à ceux précédemment décrits et qu'il peut être prévu d'autre configuration sans sortir de l'invention. En particulier, il peut être prévu un profilé ne comportant pas une troisième aile. Dans ce cas, la fente sera délimitée par l'aile d'accroche de la toile et la paroi murale sur laquelle le profilé est fixé. De même il peut être prévu que la troisième aile constitue l'aile de fixation.
  • L'ensemble de plafond est compatible avec toute technologie de climatisation et ou de ventilation. Les équipements de climatisation et/ou de ventilation peuvent être disposées dans le plénum 14 se situant au dessus du local 1 à traiter, dans le plénum 15 de tout local mitoyen au local 1 à traiter mais aussi à tout autre endroit de l'édifice. D'une manière générale on privilégiera la mise en place des équipements à l'extérieur du volume du local à traiter 1 de sorte notamment à ne subir aucune nuisance acoustique liée au fonctionnement de la machinerie.
  • Indépendamment des possibilités de climatisation et ou ventilation du local, l'invention permet la mise en œuvre de tout type de plafond tendu (classique, acoustique...) et permet l'utilisation de tout procédé compatible avec des plafonds tendus, par exemple des systèmes de rétroéclairage, de diffusion de son, etc. En outre un système de bandeau LED pourrait être installé à l'angle entre l'aile 61 et la paroi de raccordement 62 générant ainsi un éclairage périphérique du local sans que le bandeau LED soit visible.
  • De manière générale, au sein du local à traiter au moins une paroi sera équipée d'un profilé de soufflage. Il sera possible de choisir les parois équipées de profilés de soufflage 6 et donc de choisir les parois le long desquelles on souffle l'air traité et ou l'air neuf. Les autres parois peuvent être équipées de profilés classiques 7 d'accroche du plafond tendu. Ce choix permet d'optimiser le confort thermique du local. Il sera en particulier choisi par exemple de souffler le long des parois extérieures du local, ces parois étant généralement plus froides que l'air ambiant en hiver et plus chaudes que l'air ambiant en été.
  • La figure 16 illustre un autre variante de réalisation d'un ensemble de plafond, ce dernier comprenant des moyens lumineux 40 fixés sur la dalle supérieure 8.
  • L'ensemble de plafond illustré présente un plafond tendu formé de deux toiles tendues 3a, 3b s'étendant entre les parois murales 4a, 4b du local à traiter. Lesdites toiles 3a, 3b, disposées parallèles entre elles, sont fixées sur les parois murales à l'aide de deux profilés d'accroche 32, 34, l'un constituant un profilé de soufflage 32, l'autre constituant un profilé d'aspiration 34. Une vue agrandie du profilé de soufflage 32 est illustrée sur la figure 17.
  • De même que dans les modes de réalisation des profilés d'accroche précédemment décrits, le profilé de soufflage 32 comporte une aile de fixation 60 reliée à l'aile d'accroche 61 de toiles par une paroi de raccordement 62. Comme illustré sur la figure 17, lesdites ailes 60, 61 sont arrangées pour que, lorsque le profilé de soufflage 32 est fixé sur la paroi murale 4a, l'aile d'accroche 61 soit inclinée par rapport à la paroi de raccordement en convergeant en direction de la paroi murale 4a. L'aile d'accroche 61 comporte deux gorges d'accroche 20a, 20b desdites toiles 3a, 3b. L'une des gorges est prévue en partie supérieure de l'aile d'accroche 61 avec une ouverture côté intérieur du profilé, l'autre gorge étant ménagée en partie inférieure de l'aile d'accroche 61. Les ouvertures de passage 19 pour le passage de l'air entre le plénum 14 situé au-dessus de la toile tendue supérieure 3b sont portées par la paroi de raccordement 62.
  • Le profilé de soufflage 32 comporte en outre une aile verticale 64 s'étendant depuis la paroi de raccordement 62, parallèlement à l'aile de fixation 60, dans une direction opposée à l'aile d'accroche 61. Dans le mode de réalisation illustré, l'aile verticale 64 est ménagée au niveau de l'extrémité de la paroi de raccordement 62. Cette aile verticale 64 a pour fonction d'empêcher la diffusion de la lumière en provenance des moyens lumineux 40 via les ouvertures de passage 19 et la fente 22 de passage. On parlera par la suite d'aile de blocage 64 (ou aile formant écran).
  • Afin d'éviter toute ombre portée sur les toiles, l'ensemble de plafond comporte avantageusement un profilé 36 de section sensiblement en V fixé sur la dalle supérieure 8 du local, au voisinage du profilé d'accroche 32, comme illustré sur la figure 16. Plus particulièrement, le profilé 36 est disposé par rapport au profilé d'accroche 32 de manière à laisser un espace suffisant entre l'aile de blocage 64 et le profilé 36 pour permettre le passage de l'air en provenance du conduit aéraulique de soufflage 17 d'air neuf.
  • Dans le mode de réalisation illustré, Le profilé d'accroche 32 et le profilé 36 constituent deux pièces distinctes et indépendantes l'une de l'autre. Ces deux profilés peuvent cependant, selon une variante de réalisation, constituer une seule et même pièce. Dans ce cas, l'aile de blocage 64 comprendrait également, comme la paroi de raccordement 62, des ouvertures de passage pour permettre la circulation d'air.
  • Le profilé d'aspiration 34 quant à lui reprend l'ensemble des caractéristiques du profilé de soufflage 32, si ce n'est que contrairement à ce dernier, il est dépourvu d'aile de blocage. La diffusion de la lumière est en effet bloquée, dans l'ensemble de plafond illustré sur la figure 16, par la paroi de séparation 11 du plénum de soufflage 14 et du plénum d'aspiration 16 du local. Il est bien entendu évident qu'il peut être prévu également un profilé d'aspiration 34 identique au profilé de soufflage 42 sans sortir du cadre de l'invention.
  • En complément ou en remplacement des moyens lumineux 40 ménagés dans le plénum 14 de l'ensemble de plafond, il peut être prévu des moyens lumineux fixés en partie haute du profilé d'accroché selon l'invention, de préférence sur la face de l'aile de blocage 64 orientée vers la paroi murale 4a, 4b de sorte à obtenir un éclairage en périphérie du local ou du cadre. Dans ce cas, il sera préféré de prévoir des profilés d'aspiration 34 avec des ailes de blocage 64.
  • Selon un mode de réalisation particulier non illustré, il peut être prévu également de positionner à proximité des ouvertures de passage 19 un haut-parleur ou tout autre équipement permettant la diffusion de son afin d'assurer une transmission efficiente du son.
  • Selon un autre mode de réalisation avantageux, représenté sur les figures 18 et 19, le profilé de soufflage et d'aspiration 6a, 6b peut se présenter sous la forme de deux parties indépendantes 70, 71 à fixer l'une l'autre.
  • Dans l'exemple représenté, la première partie 70 de profilé constitue l'aile de fixation 60 et partiellement la paroi de raccordement horizontale 62, et la deuxième partie de profilé 71 constitue la partie restante de la paroi de raccordement horizontale 62 et l'aile d'accroche inclinée 61.
  • La première partie de profilé 70 est définie sous une forme particulièrement simple : celle d'un profilé longitudinal à section en forme de L dont la branche verticale constitue l'aile de fixation 60 et la branche horizontale 73 constitue une portion de la paroi de raccordement horizontale 62.
  • Pour les besoins de circulation d'air, la branche horizontale du profilé en L sera munie d'ouverture de passage d'air 19.
  • La deuxième partie de profilé 71 est légèrement plus complexe et présente la forme générale d'un profilé longitudinal à section transversale en forme de trapèze, dont la longue base 74, la base courte 77 et le côté latéral interposé entre celles ci 75 forment l'aile d'accroche inclinée 61, le côté latéral opposé 76 qui se retrouve horizontal, formant la partie restante de la paroi de raccordement horizontale 62.
  • Plus précisément, comme visible sur la figure 18, la deuxième partie de profilé comporte une gorge longitudinale 78 d'accueil de l'extrémité de la branche horizontale 73 du L de la première partie de profilé 70. Un moyen de blocage rapporté, tel qu'une vis, pourra être prévu pour s'engager dans un orifice 79 formé à la surface supérieure de l'extrémité de la branche horizontale du L pour la bloquer, en passant à travers l'épaisseur du côté latéral supérieur de la deuxième partie de profilé. Un repère 80 pourra être prévu sur la surface externe du côté latéral supérieur 76 de la deuxième partie de profilé pour positionner correctement la vis ou tout autre moyen de blocage en regard de l'orifice 79 préalablement à son enfoncement dans celui ci.
  • Cette deuxième partie de profilé 71 comprend sur la surface externe de son côté latéral 75 qui se retrouve vertical, le crochet 30 précité permettant le passage dans une configuration déformée puis le blocage dans une configuration au repos d'un harpon élastiquement déformable 50 d'accroche d'une toile tendue principale 3a.
  • Avantageusement, cette deuxième partie de profilé 71, peut comprendre un deuxième moyen d'accroche d'un harpon élastiquement déformable d'une toile tendue secondaire 3b, telle qu'illustré sur la figure 18. Ce deuxième moyen d'accroche 81 est par exemple prévu sous la forme d'une gorge longitudinale refermée partiellement par au moins un rebord (deux sur la figure) de retenue du harpon de la deuxième toile, formée à partir de la surface externe de la longue base 74 de cette deuxième partie de profilé, par exemple immédiatement sous la gorge 78 d'accueil de l'extrémité de la première partie de profilé.
  • Cette deuxième toile 3b pourra remplir la fonction de collecte et retenue de dépôts provoqués par la poussière et/ou des insectes afin que ceux-ci demeurent à distance de la toile principale sous-jacente et ne puissent être visibles depuis le local à travers celle-ci lorsqu'elle est par exemple prévue translucide.
  • La deuxième partie de profilé pourra comprendre en outre différents évidements 82 (repérés sur la figure 19) disposés dans l'épaisseur de cette deuxième partie de profilé, entre les deux gorges de blocage des harpons pour servir de logements pour des équerres ou des manchons de fixation 83 d'éléments fonctionnels disposés dans le plénum, ou permettant simplement d'alléger la structure de cette deuxième partie de profilé 70 pour en optimiser le coût. Des ergots 86 pourront être prévus en saillie sur la paroi formant ces évidements pour cloisonner leur espace et accueillir plusieurs équerres ou bloquer celles-ci dans leurs évidements respectifs.
  • A l'extrémité de la deuxième partie de profilé 71, formant la jonction entre le côté supérieur horizontal et la base longue inclinée, peut être prévue une rainure inclinée réalisée dans l'épaisseur de cette deuxième partie de profilé parallèlement à la surface externe, afin de servir de maintien et de fixation pour une aile de blocage ou « aile formant écran » telle que présentée précédemment.
  • Pour les besoins de circulation d'air, des ouvertures de passage d'air 19 pourront être prévues dans cette deuxième partie de profilé sur les parois constitutives de la petite et de la grande base en communication l'une l'autre.
  • Ces ouvertures, comme celles de la première partie de profilé, pourront être au besoin refermées par des caches prévus à cet effet et illustrés sur les figures 20, 21.
  • Ces caches 90 pourront présenter la forme de pavés parallélépipédiques dont une face supérieure est munie d'un rebord latéral 91 destiné à s'appliquer contre le contour de l'ouverture 19 que le cache considéré referme, et dont une face inférieure est munie de lames élastiquement déformables 92 s'effaçant sur passage de l'ouverture et se bloquant derrière le contour qui la délimite. Dans l'exemple représenté, les lames élastiques s'étendent sur la longueur des côtés latéraux du pavé parallélépipédique, à l'exception des angles de celui-ci
  • Des repères visuels 88 se présentant sous la forme de surépaisseur ou bourrelets longitudinaux pourront être prévus sur les surfaces externes de chaque partie de profilé 70, 71 afin de facilement et précisément raccorder deux parties de profilés bout à bout si nécessaire.
  • La constitution du profilé d'aspiration ou de soufflage en deux parties ainsi définies est particulièrement astucieuse car la deuxième partie 71 plus complexe pourra être réalisée en grande série avec une unique dimension, tandis que la première partie 70 d'une extrême simplicité pourra être réalisée avec des dimensions différentes notamment concernant la longueur de la branche du L à fixer à la deuxième partie de profilé pour ajuster en fonction du besoin, par un simple choix de profilé en L disponible, l'écartement souhaité entre la paroi murale et le bord de la toile et ainsi la taille de la fente et la circulation d'air.
  • Ainsi, le profilé en L de la figure 19 comporte une branche horizontale plus longue qui dispose le bord de la nappe principal 3 à une plus longue distance de la paroi murale 4a que ne l'est le bord de la nappe principale 3 dans la variante de la réalisation de la figure 18 où la branche horizontale du profilé en L est plus courte.
  • La figure 22 représente une variante de réalisation du profilé de soufflage et d'aspiration 6a, 6b de la figure 19. Dans cette variante, la deuxième partie de profilé 71 reprend les caractéristique de celui illustré sur les figures 18 et 19. En revanche, la première partie de profilé 70 présente, non plus une section en L, mais une section en Z à angle droit. Plus précisément, la première partie de profilé 70 est constituée de deux branches horizontales raccordées entre elles par une branche verticale, lesdites branches horizontales s'étendant en direction opposée l'une de l'autre. La branche horizontale supérieure, référencée 60, constitue l'aile de fixation. Elle est fixée à la paroi murale 4a via une réglette formant équerre 60b. La branche horizontale inférieure, référencée 73, constitue une portion de la paroi de raccordement horizontale 62. Afin de permettre la circulation d'air, la branche verticale de raccordement, numérotée 60a, est munie d'ouverture de passage d'air 19. Comme précédemment, la ou les ouverture(s) prévue(s) sur la première partie du profilé 70, comme celles de la deuxième partie de profilé 71, pourront être au besoin refermées par des caches tels que décrits précédemment.
  • L'invention est décrite dans ce qui précède à titre d'exemple. Il est entendu que l'homme du métier est à même de réaliser différentes variantes de réalisation de l'invention sans pour autant sortir du cadre de l'invention, telle que définie par les revendications annexées.

Claims (14)

  1. Profilé d'accroche (6a, 6b, 24, 32, 34) d'une toile pour la réalisation d'un plafond tendu dans un local à traiter (1), le profilé d'accroche comprenant au moins deux ailes (60, 61, 63) reliées entre elles par une paroi de raccordement (62) qui s'étend horizontalement entre le local (1) et un plénum (14, 16), l'une des ailes (63) étant arrangée pour permettre la fixation du profilé d'accroche sur une paroi murale du local à traiter, une deuxième aile, laquelle constitue une aile d'accroche (61) de la toile, étant pourvue d'une extrémité de blocage (30) d'un harpon (50) d'une toile, la paroi de raccordement (62) et l'aile d'accroche (61) de la toile étant agencées pour définir ensemble une fente non obturée de passage de l'air (22) à travers le profilé et délimitée par l'extrémité de blocage (30) du harpon de l'aile d'accroche (61) de la toile, le profilé comportant au moins une ouverture de passage (19) agencée pour permettre le passage de l'air au travers dudit profilé à partir ou en direction de la fente (22), caractérisée en ce que l'ouverture de passage (19) est ménagée sur la paroi de raccordement (62), ledit profilé d'accroche (6a, 6b, 24, 32, 34) définissant tout le long de la paroi murale, une fente ouverte de passage d'air (22) entre le plénum (14, 16) et le local (1), dépourvue de tout élément d'obturation ou de gêne du passage d'air et dans lequel le profilé d'accroche (6a, 6b, 24, 32, 34) comporte au moins un cache d'obturation d'une ouverture de passage, le cache d'obturation permettant de limiter la circulation d'air.
  2. Profilé d'accroche (6a, 6b, 24, 32, 34) selon la revendication 1, caractérisé en ce l'aile d'accroche (61) de la toile converge en direction de l'aile (63) permettant la fixation du profilé d'accroche ou de la paroi murale sur laquelle le profilé d'accroche est fixé.
  3. Profilé d'accroche (6a, 6b, 24, 32, 34) selon la revendication 2, caractérisé en ce qu'il comporte une ouverture de passage (19) ménagée sur l'aile d'accroche (61) de la toile.
  4. Profilé d'accroche (6a, 6b, 24, 32, 34) selon la revendication 2 ou la revendication 3, caractérisé en ce que l'aile d'accroche (61) de la toile est arrangée pour présenter un angle d'inclinaison par rapport à l'autre aile inférieur à 90 degrés, et de préférence comprise entre 30 et 50 degrés.
  5. Profilé d'accroche (6a, 6b, 24, 32, 34) selon l'une quelconque des revendications précédentes, caractérisé en ce que les ailes (61, 63) sont arrangées pour définir une fente (22) communiquant avec l'ouverture de passage (19).
  6. Profilé d'accroche (6a, 6b, 24, 32, 34) selon la revendication précédente, caractérisé en ce que le profilé d'accroche comporte un déflecteur (23) ménagé dans la fente (22) et arrangé pour défléchir le flux d'air traversant le profilé en direction de l'ouverture de passage (19) ou de la fente (22) selon que l'air entre par la fente (22) ou par l'ouverture de passage (19).
  7. Profilé d'accroche (6a, 6b, 24, 32, 34) selon l'une quelconque des revendications précédentes, caractérisé en ce que le profilé d'accroche comporte une platine (25) permettant de supporter une paroi de séparation.
  8. Profilé d'accroche (6a, 6b, 24, 32, 34) selon l'une quelconque des revendications précédentes, caractérisé en ce qu'il est formé par l'association de deux parties distinctes et solidarisées l'une à l'autre, la première partie formant un profilé dont l'une des branches forme l'aile de fixation, la deuxième partie formant un profilé doté d'un moyen de solidarisation à la première partie et d'au moins un moyen d'accroche d'une toile.
  9. Profilé d'accroche (6a, 6b, 24, 32, 34) selon la revendication précédente, caractérisé en ce que le moyen de solidarisation se présente sous la forme d'une gorge interne d'accueil de l'extrémité d'une branche de la première partie réalisée dans l'épaisseur de la deuxième partie de profilé.
  10. Ensemble de plafond permettant la circulation d'air au sein d'un local à traiter (1), l'ensemble de plafond comprenant au moins un plafond tendu définissant avec la dalle supérieure (8) du local à traiter (1) sous lequel il est monté un plénum (14, 16), le plafond tendu comprenant au moins une toile tendue (3, 3a, 3b) s'étendant entre les parois murales (4a, 4b) du local à traiter (1) et fixée à celles-ci au moyen de profilés d'accroche, l'un au moins des profilés d'accroche étant un profilé d'accroche (6a, 6b, 24, 32, 34) selon l'une quelconque des revendications précédentes de sorte à permettre le passage de l'air entre le plénum (14, 16) et le local à traiter (1), ledit ensemble de plafond et les profilés d'accroche (6a, 6b, 24, 32, 34) permettant, selon une première configuration, le soufflage et l'aspiration d'air au sein d'un même local (1), et donc dans le même volume et, selon une deuxième configuration le soufflage d'air au sein du local à traiter (1) (ventilation et ou climatisation) et l'aspiration d'air dans un local mitoyen (2), ledit ensemble de plafond étant équipé d'un système de ventilation et/ou de climatisation relié(s) fluidiquement, au moins en entrée, au plénum (14, 16) du local à traiter (1).
  11. Ensemble de plafond selon la revendication précédente, caractérisé en ce que les ailes du profilé d'accroche (6a, 6b, 24) sont arrangées pour définir une fente (22) communiquant avec l'ouverture de passage (19) et orientée pour que l'air circule en sortie du plénum le long de la paroi murale sur laquelle ledit profilé est fixé.
  12. Ensemble de plafond selon l'une quelconque des deux revendications précédentes, caractérisé en ce que le plénum comporte un premier et un deuxième espaces séparés par une paroi de séparation, l'un des espaces définissant un espace de plénum pour l'entrée d'air dans la pièce, l'autre espace définissant un espace de plénum pour la sortie d'air de la pièce.
  13. Ensemble de plafond selon l'une quelconque des revendications 10 à 12, caractérisé en ce qu'il comprend un plénum (15) délimité par un plafond-tendu monté dans un local mitoyen (2) du local à traiter (1) et la dalle supérieure du local mitoyen, ledit plénum étant séparé du plénum (14, 16) du local à traiter par une cloison traversée par au moins un conduit permettant une communication fluidique entre les deux plénums.
  14. Ensemble de plafond selon l'une quelconque des revendications 10 à 13, caractérisé en ce que le système de climatisation est logé dans le plenum du local mitoyen.
EP17768172.3A 2016-08-24 2017-08-17 Profile d'accroche permettant le passage d'air et ensemble de plafond comprenant un tel profile Active EP3504382B8 (fr)

Priority Applications (4)

Application Number Priority Date Filing Date Title
SI201731282T SI3504382T1 (sl) 2016-08-24 2017-08-17 Profil za obešanje, ki omogoča prehod zraka, in stropni sestav, ki obsega tak profil
SM20220499T SMT202200499T1 (it) 2016-08-24 2017-08-17 Profilo di aggancio che consente il passaggio di aria e gruppo di soffitto comprendente un tale profilo
RS20221149A RS63855B1 (sr) 2016-08-24 2017-08-17 Fiksirajući profil koji omogućava prolaz vazduha i plafonski sklop od kog se sastavlja takav profil
HRP20221500TT HRP20221500T1 (hr) 2016-08-24 2017-08-17 Viseći profil koji omogućuje prolaženje zraka i stropni sklop koji sadrži takav profil

Applications Claiming Priority (3)

Application Number Priority Date Filing Date Title
FR1657910A FR3055342A1 (fr) 2016-08-24 2016-08-24 Profile d'accroche permettant le passage d'air et ensemble de plafond comprenant un tel profile
FR1663456A FR3055343B1 (fr) 2016-08-24 2016-12-28 Profile d'accroche permettant le passage d'air et ensemble de plafond comprenant un tel profile
PCT/FR2017/052238 WO2018037184A1 (fr) 2016-08-24 2017-08-17 Profile d'accroche permettant le passage d'air et ensemble de plafond comprenant un tel profile

Publications (4)

Publication Number Publication Date
EP3504382A1 EP3504382A1 (fr) 2019-07-03
EP3504382B1 EP3504382B1 (fr) 2022-10-19
EP3504382B2 true EP3504382B2 (fr) 2025-05-07
EP3504382B8 EP3504382B8 (fr) 2026-03-04

Family

ID=57796426

Family Applications (1)

Application Number Title Priority Date Filing Date
EP17768172.3A Active EP3504382B8 (fr) 2016-08-24 2017-08-17 Profile d'accroche permettant le passage d'air et ensemble de plafond comprenant un tel profile

Country Status (25)

Country Link
US (1) US10900229B2 (fr)
EP (1) EP3504382B8 (fr)
JP (1) JP7087244B2 (fr)
KR (1) KR102514029B1 (fr)
CN (1) CN109642427B (fr)
AU (1) AU2017315205B2 (fr)
BR (1) BR112019003633B1 (fr)
ES (1) ES2934339T3 (fr)
FI (1) FI3504382T3 (fr)
FR (2) FR3055342A1 (fr)
HR (1) HRP20221500T1 (fr)
HU (1) HUE060864T2 (fr)
LT (1) LT3504382T (fr)
MX (1) MX2019002257A (fr)
MY (1) MY198169A (fr)
PH (1) PH12019500352A1 (fr)
PL (1) PL3504382T3 (fr)
PT (1) PT3504382T (fr)
RS (1) RS63855B1 (fr)
RU (1) RU2745151C2 (fr)
SA (1) SA519401146B1 (fr)
SG (1) SG11201901429UA (fr)
SI (1) SI3504382T1 (fr)
SM (1) SMT202200499T1 (fr)
WO (1) WO2018037184A1 (fr)

Families Citing this family (19)

* Cited by examiner, † Cited by third party
Publication number Priority date Publication date Assignee Title
FR3055342A1 (fr) 2016-08-24 2018-03-02 Jean Marc Scherrer Profile d'accroche permettant le passage d'air et ensemble de plafond comprenant un tel profile
CA3095900A1 (fr) * 2018-03-31 2019-10-03 Certainteed Ceilings Corporation Poutre de plafond suspendu a event et systeme de plafond suspendu
FR3085174B1 (fr) 2018-07-03 2020-12-25 Scherrer Jean Marc Systeme d’accroche pour la realisation d’un faux-plafond tendu permettant le passage d’air
FR3085696B1 (fr) 2018-09-11 2020-12-25 Egis Batiments Plafond rayonnant reversible hybride assurant chauffage, climatisation et ventilation pour le traitement d’ambiance d’un local
PL3663477T3 (pl) * 2018-12-03 2022-09-12 Saint-Gobain Ecophon Ab Układ stropowy i układ budowlany zawierający taki układ stropowy
RU2716623C1 (ru) * 2019-08-26 2020-03-13 Андрей Владимирович Сергелев Способ растяжения натяжного потолка
FR3108641B1 (fr) * 2020-03-24 2022-04-15 Normalu Profilé de cadre pour la réalisation d’une fausse paroi rétroéclairée et une telle fausse paroi rétroéclairée
FR3109623B1 (fr) 2020-04-23 2022-07-15 Scherrer Jean Marc Panneau climatique
FR3112196B1 (fr) 2020-07-02 2022-07-15 Scherrer Jean Marc Ilot climatique
FR3113940B1 (fr) 2020-09-08 2022-08-12 Scherrer Jean Marc Dispositif rayonnant à condensation
US12546501B2 (en) 2020-09-30 2026-02-10 Wall to Wall, LLC System, method and computer program product for improved climate control
FR3115994B1 (fr) 2020-10-13 2023-03-03 Scherrer Jean Marc structure de plafond et installation comprenant une telle structure de plafond comprenant des moyens de stérilisation de l’air
CN114383239A (zh) * 2020-10-19 2022-04-22 黄荣芳 厂房通风散热结构
FR3130014B1 (fr) 2021-12-03 2024-01-19 Scherrer Jean Marc Ilot climatique avec modulation de flux
FR3129959B1 (fr) 2021-12-03 2024-06-21 Damien Lang Plafond diffusant hybride reversible pour elements rayonnants
CN114861280B (zh) * 2022-05-27 2024-10-01 广州市圆方计算机软件工程有限公司 一种整装天花的建模方法及系统
FR3139350B1 (fr) 2022-09-05 2024-08-30 Scherrer Jean Marc Profile pour espaces modulaires utilisant un plenum aeraulique
FR3144647A1 (fr) 2022-12-30 2024-07-05 Jean-Marc Scherrer Panneau climatique extrudé autoportant
FR3151048B1 (fr) 2023-07-10 2025-11-07 Normalu Plafond climatique pour data center

Citations (9)

* Cited by examiner, † Cited by third party
Publication number Priority date Publication date Assignee Title
FR2475093A1 (fr) 1980-02-05 1981-08-07 Scherrer Fernand Profile constituant une lisse exterieure d'un faux plafond ou un faux mur
FR2619531A1 (fr) 1987-08-18 1989-02-24 Nicot Jean Pierre Dispositif pour accrochage de plafonds ou de toiles tendues de toutes natures
FR2627207A1 (fr) 1988-02-12 1989-08-18 Bidini Jean Claude Dispositif et outil de montage de plafonds tendus
US5058340A (en) 1990-03-16 1991-10-22 Muller Jurgen H Custom stretched ceilings
EP0584730B1 (fr) 1992-08-28 1997-06-11 Wilhelmi Werke GmbH & Co. KG Procédé pour revêtir un plafond et revêtement selon le procédé
WO2002031414A1 (fr) 2000-10-09 2002-04-18 Ruhlmann, Jean-Philippe Dispositif de climatisation
FR2870273A1 (fr) 2004-05-11 2005-11-18 Rene Philippe Ruhlmann Dispositif de maintien d'un faux plafond ou faux plancher.
FR3012159A1 (fr) 2013-10-18 2015-04-24 P2R Consulting Plafond technique a installer dans un volume ferme pour creation d'une zone fumoir
FR3055343A1 (fr) 2016-08-24 2018-03-02 Jean-Marc Scherrer Profile d'accroche permettant le passage d'air et ensemble de plafond comprenant un tel profile

Family Cites Families (32)

* Cited by examiner, † Cited by third party
Publication number Priority date Publication date Assignee Title
JPS5980627U (ja) * 1982-11-25 1984-05-31 株式会社東芝 空気調和装置
US4676016B1 (en) * 1985-11-07 1995-09-05 Harold B Phillips Hanger for a wall covering
FR2597906A1 (fr) * 1986-04-25 1987-10-30 Bouttier Dominique Dispositif d'accrochage pour faux plafond souple tendu
US4817699A (en) * 1988-03-30 1989-04-04 Dfb Sales, Inc. Wall track for fabric wall coverings
FR2630476B1 (fr) 1988-04-22 1990-08-24 Scherrer Fernand Faux-plafond constitue par une nappe tendue accrochee, le long de ses bords, a un support fixe aux murs d'une piece d'un batiment
SU1679150A1 (ru) * 1989-09-29 1991-09-23 Московский научно-исследовательский и проектный институт типового и экспериментального проектирования Вентил ционное устройство
US5192348A (en) * 1991-08-21 1993-03-09 Brod & Mcclung-Pace Co. Directional air diffuser panel for clean room ventilation system
FR2699613B1 (fr) * 1992-12-08 1995-03-31 Newmat Sa Accessoire de maintien provisoire à faible distance d'une feuille souple à tendre entre deux supports.
FR2703761B1 (fr) * 1993-04-06 1995-07-13 Ribo Robert Procede et dispositif de climatisation et/ou de chauffage de logements, notamment d'immeubles collectifs.
FR2721051B1 (fr) * 1994-06-14 1996-08-30 Alain Triboix Dispositif pour le montage entre des parois opposées, la tension et le démontage d'une ou plusieurs membranes flexibles.
JPH1061050A (ja) * 1996-08-26 1998-03-03 Ig Tech Res Inc 軒天部の外壁構造
JPH10311118A (ja) * 1997-05-12 1998-11-24 Awano Seizaishiyo:Kk 水滴防止浴室天井構造
JP2000204683A (ja) * 1999-01-12 2000-07-25 Misawa Homes Co Ltd 軒天井構造
FR2811693B1 (fr) * 2000-07-13 2003-02-21 Newmat Sa Profile de lisse d'accrochage d'une nappe tendue, fausse paroi telle que faux-plafond ou faux mur comprenant un tel profile
JP2002327511A (ja) 2001-05-02 2002-11-15 Kyoraku Co Ltd プラスチック製天井材
JP2004027497A (ja) 2002-06-21 2004-01-29 Sekisui House Ltd 軒裏見切
JP4096917B2 (ja) 2004-06-10 2008-06-04 大成建設株式会社 吊り天井の制振構造
US7712263B1 (en) * 2004-08-02 2010-05-11 Randall Lippie Bird repellant device
US20070283656A1 (en) * 2006-06-12 2007-12-13 Anderson Andy W Fabric Wall Panel System and Track
FR2914665B1 (fr) * 2007-04-06 2010-03-26 Normalu Lisse pour fausse paroi a toile tendue
JP2008303697A (ja) 2007-06-08 2008-12-18 Hokkaido 空気清浄機能を有する天井構造
US20100077686A1 (en) * 2008-09-26 2010-04-01 Dockside Canvas Co. Decorative display
RU128227U1 (ru) * 2012-12-10 2013-05-20 Андрей Владимирович Сергелев Система монтажа натяжного полотна и вентиляционная секция для нее
RU142080U1 (ru) * 2014-02-11 2014-06-20 Андрей Владимирович Сергелев Несущий профиль для монтажа натяжного потолка с вентиляционными каналами
US9010046B1 (en) * 2014-06-17 2015-04-21 Novawell Systems, Inc. Molding strip for fabric walls and ceilings
ES2617177T3 (es) * 2014-07-24 2017-06-15 Normalu Vigueta iluminada para una pared falsa de tejido estirado y pared falsa que comprende dicha vigueta
RU150906U1 (ru) * 2014-09-15 2015-03-10 Ольга Викторовна Лисичкина Натяжной потолок
CN204152054U (zh) * 2014-10-27 2015-02-11 嘉兴市樱菲电器有限公司 一种换气吊顶
CN204238405U (zh) * 2014-11-05 2015-04-01 广州康普顿至高建材有限公司 一种吊顶天花的风口
CN105064587B (zh) * 2015-08-18 2017-08-11 浙江宝兰电气有限公司 一种用于室内空气循环净化的多功能吊顶结构
US10024063B2 (en) * 2016-03-01 2018-07-17 Denis P. Friel Weep screed
US10533324B2 (en) * 2017-11-30 2020-01-14 Alabama Metal Industries Corporation Below top of wall ventilation screed device and assembly

Patent Citations (10)

* Cited by examiner, † Cited by third party
Publication number Priority date Publication date Assignee Title
FR2475093A1 (fr) 1980-02-05 1981-08-07 Scherrer Fernand Profile constituant une lisse exterieure d'un faux plafond ou un faux mur
FR2619531A1 (fr) 1987-08-18 1989-02-24 Nicot Jean Pierre Dispositif pour accrochage de plafonds ou de toiles tendues de toutes natures
FR2627207A1 (fr) 1988-02-12 1989-08-18 Bidini Jean Claude Dispositif et outil de montage de plafonds tendus
US5058340A (en) 1990-03-16 1991-10-22 Muller Jurgen H Custom stretched ceilings
EP0584730B1 (fr) 1992-08-28 1997-06-11 Wilhelmi Werke GmbH & Co. KG Procédé pour revêtir un plafond et revêtement selon le procédé
WO2002031414A1 (fr) 2000-10-09 2002-04-18 Ruhlmann, Jean-Philippe Dispositif de climatisation
FR2870273A1 (fr) 2004-05-11 2005-11-18 Rene Philippe Ruhlmann Dispositif de maintien d'un faux plafond ou faux plancher.
FR3012159A1 (fr) 2013-10-18 2015-04-24 P2R Consulting Plafond technique a installer dans un volume ferme pour creation d'une zone fumoir
FR3055343A1 (fr) 2016-08-24 2018-03-02 Jean-Marc Scherrer Profile d'accroche permettant le passage d'air et ensemble de plafond comprenant un tel profile
FR3055342A1 (fr) 2016-08-24 2018-03-02 Jean Marc Scherrer Profile d'accroche permettant le passage d'air et ensemble de plafond comprenant un tel profile

Also Published As

Publication number Publication date
EP3504382B1 (fr) 2022-10-19
RU2019106121A3 (fr) 2020-10-07
KR102514029B1 (ko) 2023-03-24
PH12019500352A1 (en) 2019-05-15
RU2745151C2 (ru) 2021-03-22
FR3055343B1 (fr) 2021-03-19
HRP20221500T1 (hr) 2023-02-03
PT3504382T (pt) 2022-12-30
EP3504382A1 (fr) 2019-07-03
SA519401146B1 (ar) 2022-10-13
EP3504382B8 (fr) 2026-03-04
JP7087244B2 (ja) 2022-06-21
HUE060864T2 (hu) 2023-04-28
US10900229B2 (en) 2021-01-26
AU2017315205A1 (en) 2019-03-14
MX2019002257A (es) 2019-10-14
SMT202200499T1 (it) 2023-01-13
PL3504382T3 (pl) 2023-01-23
MY198169A (en) 2023-08-08
JP2019533099A (ja) 2019-11-14
WO2018037184A1 (fr) 2018-03-01
ES2934339T3 (es) 2023-02-21
CN109642427B (zh) 2022-04-05
US20190186133A1 (en) 2019-06-20
SI3504382T1 (sl) 2023-04-28
LT3504382T (lt) 2023-01-10
KR20190039793A (ko) 2019-04-15
FR3055343A1 (fr) 2018-03-02
AU2017315205B2 (en) 2021-07-08
RU2019106121A (ru) 2020-09-25
FI3504382T3 (en) 2023-01-13
CN109642427A (zh) 2019-04-16
RS63855B1 (sr) 2023-01-31
CA3033061A1 (fr) 2018-03-01
FR3055342A1 (fr) 2018-03-02
BR112019003633B1 (pt) 2023-02-23
SG11201901429UA (en) 2019-03-28
BR112019003633A2 (pt) 2019-05-21

Similar Documents

Publication Publication Date Title
EP3504382B2 (fr) Profile d'accroche permettant le passage d'air et ensemble de plafond comprenant un tel profile
EP2115363B1 (fr) Structure portante pour le cloisonnement et/ou contre-cloisonnement avec chauffage et/ou refroidissement integre.
FR2922919A1 (fr) Paroi amovible destinee a etre montee sur une surface et procede de recouvrement d'une surface par une paroi amovible
FR3055344A1 (fr) Profile d'accroche permettant le passage d'air et ensemble de plafond comprenant un tel profile
CA3033061C (fr) Profile d'accroche permettant le passage d'air et ensemble de plafond comprenant un tel profile
WO2008104700A2 (fr) Dispositif de camouflage pour appareils de climatisation
EP2977687B1 (fr) Systéme de rafraichissement, climatisation ou chauffage à unites separées et caisson renfermant l'une des unités
EP4584448A1 (fr) Profile pour espaces modulaires utilisant un plenum aeraulique
FR2963664A1 (fr) Ensemble de pompe a chaleur et procede de montage d'un tel ensemble de pompe a chaleur dans un bati
EP2309833A1 (fr) Module pour armoires informatiques et leur installation
EP4040052B1 (fr) Système à ensemble de modules chauffants
FR2904018A1 (fr) Construction ventilee
EP3002523B1 (fr) Systeme de rafraichissement, climatisation ou chauffage a moyens de separation d'air telescopiques
FR2620202A1 (fr) Perfectionnements aux dispositifs concourant a la ventilation rationnelle de chacun des locaux d'un meme ensemble
WO2011128755A2 (fr) Dispositif thermodynamique pour chauffer et/ou climatiser un batiment
EP4379270A1 (fr) Dispositif de reduction du bruit d'une unite exterieure de pompe a chaleur, et ensemble de pompe a chaleur afferent
FR3111274A1 (fr) Dispositif de diffusion d’air
FR3133211A1 (fr) Menuiserie équipée d’un volet roulant accessible de l’intérieur
WO2006042991A1 (fr) Dispositif de climatisation d'un local en circuit ferme
FR3108164A1 (fr) Panneau rayonnant réversible, permettant la ventilation d’une pièce, système et construction comprenant un tel panneau
FR2885202A1 (fr) Amelioration en matiere de ventilation des batiments
WO2012022877A1 (fr) Système d'activation du transfert thermique d'une extension solaire à un bâtiment attenant et extension solaire equipee d'un tel systeme
FR2960246A1 (fr) Lanterneau d'eclairage zenithal avec protection solaire
FR3055587A1 (fr) Agencement d'un dispositif de ventilation dans un encadrement structurel de toit et vehicule comportant un tel agencement
FR3022013A3 (fr) Bouche de ventilation reglable pour systeme de circulation d'air

Legal Events

Date Code Title Description
STAA Information on the status of an ep patent application or granted ep patent

Free format text: STATUS: UNKNOWN

STAA Information on the status of an ep patent application or granted ep patent

Free format text: STATUS: THE INTERNATIONAL PUBLICATION HAS BEEN MADE

PUAI Public reference made under article 153(3) epc to a published international application that has entered the european phase

Free format text: ORIGINAL CODE: 0009012

STAA Information on the status of an ep patent application or granted ep patent

Free format text: STATUS: REQUEST FOR EXAMINATION WAS MADE

17P Request for examination filed

Effective date: 20190201

AK Designated contracting states

Kind code of ref document: A1

Designated state(s): AL AT BE BG CH CY CZ DE DK EE ES FI FR GB GR HR HU IE IS IT LI LT LU LV MC MK MT NL NO PL PT RO RS SE SI SK SM TR

AX Request for extension of the european patent

Extension state: BA ME

DAV Request for validation of the european patent (deleted)
DAX Request for extension of the european patent (deleted)
STAA Information on the status of an ep patent application or granted ep patent

Free format text: STATUS: EXAMINATION IS IN PROGRESS

17Q First examination report despatched

Effective date: 20211117

GRAP Despatch of communication of intention to grant a patent

Free format text: ORIGINAL CODE: EPIDOSNIGR1

STAA Information on the status of an ep patent application or granted ep patent

Free format text: STATUS: GRANT OF PATENT IS INTENDED

RIC1 Information provided on ipc code assigned before grant

Ipc: E04B 9/04 20060101ALI20220428BHEP

Ipc: E04B 9/02 20060101ALI20220428BHEP

Ipc: E04B 9/30 20060101AFI20220428BHEP

INTG Intention to grant announced

Effective date: 20220513

GRAS Grant fee paid

Free format text: ORIGINAL CODE: EPIDOSNIGR3

GRAA (expected) grant

Free format text: ORIGINAL CODE: 0009210

STAA Information on the status of an ep patent application or granted ep patent

Free format text: STATUS: THE PATENT HAS BEEN GRANTED

AK Designated contracting states

Kind code of ref document: B1

Designated state(s): AL AT BE BG CH CY CZ DE DK EE ES FI FR GB GR HR HU IE IS IT LI LT LU LV MC MK MT NL NO PL PT RO RS SE SI SK SM TR

REG Reference to a national code

Ref country code: GB

Ref legal event code: FG4D

Free format text: NOT ENGLISH

REG Reference to a national code

Ref country code: CH

Ref legal event code: EP

REG Reference to a national code

Ref country code: IE

Ref legal event code: FG4D

Free format text: LANGUAGE OF EP DOCUMENT: FRENCH

REG Reference to a national code

Ref country code: DE

Ref legal event code: R096

Ref document number: 602017062791

Country of ref document: DE

REG Reference to a national code

Ref country code: AT

Ref legal event code: REF

Ref document number: 1525620

Country of ref document: AT

Kind code of ref document: T

Effective date: 20221115

REG Reference to a national code

Ref country code: RO

Ref legal event code: EPE

REG Reference to a national code

Ref country code: NL

Ref legal event code: FP

REG Reference to a national code

Ref country code: PT

Ref legal event code: SC4A

Ref document number: 3504382

Country of ref document: PT

Date of ref document: 20221230

Kind code of ref document: T

Free format text: AVAILABILITY OF NATIONAL TRANSLATION

Effective date: 20221223

REG Reference to a national code

Ref country code: DK

Ref legal event code: T3

Effective date: 20221220

REG Reference to a national code

Ref country code: SE

Ref legal event code: TRGR

REG Reference to a national code

Ref country code: HR

Ref legal event code: T1PR

Ref document number: P20221500

Country of ref document: HR

REG Reference to a national code

Ref country code: NO

Ref legal event code: T2

Effective date: 20221019

REG Reference to a national code

Ref country code: SK

Ref legal event code: T3

Ref document number: E 40948

Country of ref document: SK

REG Reference to a national code

Ref country code: EE

Ref legal event code: FG4A

Ref document number: E022980

Country of ref document: EE

Effective date: 20221218

REG Reference to a national code

Ref country code: ES

Ref legal event code: FG2A

Ref document number: 2934339

Country of ref document: ES

Kind code of ref document: T3

Effective date: 20230221

REG Reference to a national code

Ref country code: GR

Ref legal event code: EP

Ref document number: 20220402533

Country of ref document: GR

Effective date: 20230210

REG Reference to a national code

Ref country code: HU

Ref legal event code: AG4A

Ref document number: E060864

Country of ref document: HU

REG Reference to a national code

Ref country code: DE

Ref legal event code: R026

Ref document number: 602017062791

Country of ref document: DE

PLBI Opposition filed

Free format text: ORIGINAL CODE: 0009260

PLAX Notice of opposition and request to file observation + time limit sent

Free format text: ORIGINAL CODE: EPIDOSNOBS2

26 Opposition filed

Opponent name: NEWMAT

Effective date: 20230710

PG25 Lapsed in a contracting state [announced via postgrant information from national office to epo]

Ref country code: AL

Free format text: LAPSE BECAUSE OF FAILURE TO SUBMIT A TRANSLATION OF THE DESCRIPTION OR TO PAY THE FEE WITHIN THE PRESCRIBED TIME-LIMIT

Effective date: 20221019

REG Reference to a national code

Ref country code: AT

Ref legal event code: UEP

Ref document number: 1525620

Country of ref document: AT

Kind code of ref document: T

Effective date: 20221019

REG Reference to a national code

Ref country code: HR

Ref legal event code: ODRP

Ref document number: P20221500

Country of ref document: HR

Payment date: 20230727

Year of fee payment: 7

PLBB Reply of patent proprietor to notice(s) of opposition received

Free format text: ORIGINAL CODE: EPIDOSNOBS3

PG25 Lapsed in a contracting state [announced via postgrant information from national office to epo]

Ref country code: AL

Free format text: LAPSE BECAUSE OF FAILURE TO SUBMIT A TRANSLATION OF THE DESCRIPTION OR TO PAY THE FEE WITHIN THE PRESCRIBED TIME-LIMIT

Effective date: 20221019

PGRI Patent reinstated in contracting state [announced from national office to epo]

Ref country code: AL

Effective date: 20221219

PGFP Annual fee paid to national office [announced via postgrant information from national office to epo]

Ref country code: NL

Payment date: 20240723

Year of fee payment: 8

REG Reference to a national code

Ref country code: HR

Ref legal event code: ODRP

Ref document number: P20221500

Country of ref document: HR

Payment date: 20240731

Year of fee payment: 8

PGFP Annual fee paid to national office [announced via postgrant information from national office to epo]

Ref country code: BG

Payment date: 20240725

Year of fee payment: 8

PGFP Annual fee paid to national office [announced via postgrant information from national office to epo]

Ref country code: HR

Payment date: 20240731

Year of fee payment: 8

PGFP Annual fee paid to national office [announced via postgrant information from national office to epo]

Ref country code: GR

Payment date: 20240725

Year of fee payment: 8

Ref country code: DK

Payment date: 20240723

Year of fee payment: 8

PGFP Annual fee paid to national office [announced via postgrant information from national office to epo]

Ref country code: PT

Payment date: 20240725

Year of fee payment: 8

PGFP Annual fee paid to national office [announced via postgrant information from national office to epo]

Ref country code: ES

Payment date: 20240902

Year of fee payment: 8

PGFP Annual fee paid to national office [announced via postgrant information from national office to epo]

Ref country code: CZ

Payment date: 20240726

Year of fee payment: 8

PGFP Annual fee paid to national office [announced via postgrant information from national office to epo]

Ref country code: PL

Payment date: 20240723

Year of fee payment: 8

PGFP Annual fee paid to national office [announced via postgrant information from national office to epo]

Ref country code: SK

Payment date: 20240726

Year of fee payment: 8

PUAH Patent maintained in amended form

Free format text: ORIGINAL CODE: 0009272

STAA Information on the status of an ep patent application or granted ep patent

Free format text: STATUS: PATENT MAINTAINED AS AMENDED

27A Patent maintained in amended form

Effective date: 20250507

AK Designated contracting states

Kind code of ref document: B2

Designated state(s): AL AT BE BG CH CY CZ DE DK EE ES FI FR GB GR HR HU IE IS IT LI LT LU LV MC MK MT NL NO PL PT RO RS SE SI SK SM TR

REG Reference to a national code

Ref country code: DE

Ref legal event code: R102

Ref document number: 602017062791

Country of ref document: DE

REG Reference to a national code

Ref country code: HR

Ref legal event code: PBON

Ref document number: P20221500

Country of ref document: HR

Effective date: 20170817

PG25 Lapsed in a contracting state [announced via postgrant information from national office to epo]

Ref country code: NL

Free format text: LAPSE BECAUSE OF FAILURE TO SUBMIT A TRANSLATION OF THE DESCRIPTION OR TO PAY THE FEE WITHIN THE PRESCRIBED TIME-LIMIT

Effective date: 20221019

PGFP Annual fee paid to national office [announced via postgrant information from national office to epo]

Ref country code: SM

Payment date: 20250924

Year of fee payment: 9

PG25 Lapsed in a contracting state [announced via postgrant information from national office to epo]

Ref country code: PT

Free format text: LAPSE BECAUSE OF FAILURE TO SUBMIT A TRANSLATION OF THE DESCRIPTION OR TO PAY THE FEE WITHIN THE PRESCRIBED TIME-LIMIT

Effective date: 20250916

Ref country code: ES

Free format text: LAPSE BECAUSE OF FAILURE TO SUBMIT A TRANSLATION OF THE DESCRIPTION OR TO PAY THE FEE WITHIN THE PRESCRIBED TIME-LIMIT

Effective date: 20250507

PGFP Annual fee paid to national office [announced via postgrant information from national office to epo]

Ref country code: FI

Payment date: 20250923

Year of fee payment: 9

PGFP Annual fee paid to national office [announced via postgrant information from national office to epo]

Ref country code: LT

Payment date: 20250923

Year of fee payment: 9

Ref country code: DE

Payment date: 20250904

Year of fee payment: 9

PG25 Lapsed in a contracting state [announced via postgrant information from national office to epo]

Ref country code: GR

Free format text: LAPSE BECAUSE OF FAILURE TO SUBMIT A TRANSLATION OF THE DESCRIPTION OR TO PAY THE FEE WITHIN THE PRESCRIBED TIME-LIMIT

Effective date: 20250808

PGFP Annual fee paid to national office [announced via postgrant information from national office to epo]

Ref country code: MC

Payment date: 20250929

Year of fee payment: 9

Ref country code: NO

Payment date: 20250925

Year of fee payment: 9

PGFP Annual fee paid to national office [announced via postgrant information from national office to epo]

Ref country code: TR

Payment date: 20250925

Year of fee payment: 9

Ref country code: IT

Payment date: 20250923

Year of fee payment: 9

Ref country code: LU

Payment date: 20250923

Year of fee payment: 9

PG25 Lapsed in a contracting state [announced via postgrant information from national office to epo]

Ref country code: BG

Free format text: LAPSE BECAUSE OF NON-PAYMENT OF DUE FEES

Effective date: 20250808

PGFP Annual fee paid to national office [announced via postgrant information from national office to epo]

Ref country code: HU

Payment date: 20250919

Year of fee payment: 9

Ref country code: BE

Payment date: 20250923

Year of fee payment: 9

Ref country code: GB

Payment date: 20250916

Year of fee payment: 9

PG25 Lapsed in a contracting state [announced via postgrant information from national office to epo]

Ref country code: HR

Free format text: LAPSE BECAUSE OF FAILURE TO SUBMIT A TRANSLATION OF THE DESCRIPTION OR TO PAY THE FEE WITHIN THE PRESCRIBED TIME-LIMIT

Effective date: 20250817

PGFP Annual fee paid to national office [announced via postgrant information from national office to epo]

Ref country code: FR

Payment date: 20250923

Year of fee payment: 9

Ref country code: AT

Payment date: 20250926

Year of fee payment: 9

PGFP Annual fee paid to national office [announced via postgrant information from national office to epo]

Ref country code: MT

Payment date: 20250925

Year of fee payment: 9

Ref country code: CH

Payment date: 20250923

Year of fee payment: 9

Ref country code: SE

Payment date: 20250923

Year of fee payment: 9

PG25 Lapsed in a contracting state [announced via postgrant information from national office to epo]

Ref country code: CZ

Free format text: LAPSE BECAUSE OF FAILURE TO SUBMIT A TRANSLATION OF THE DESCRIPTION OR TO PAY THE FEE WITHIN THE PRESCRIBED TIME-LIMIT

Effective date: 20221019

PGFP Annual fee paid to national office [announced via postgrant information from national office to epo]

Ref country code: IE

Payment date: 20250915

Year of fee payment: 9

Ref country code: RS

Payment date: 20250929

Year of fee payment: 9

Ref country code: EE

Payment date: 20250927

Year of fee payment: 9

PG25 Lapsed in a contracting state [announced via postgrant information from national office to epo]

Ref country code: SK

Free format text: LAPSE BECAUSE OF FAILURE TO SUBMIT A TRANSLATION OF THE DESCRIPTION OR TO PAY THE FEE WITHIN THE PRESCRIBED TIME-LIMIT

Effective date: 20250507

PGFP Annual fee paid to national office [announced via postgrant information from national office to epo]

Ref country code: IS

Payment date: 20250924

Year of fee payment: 9

PGFP Annual fee paid to national office [announced via postgrant information from national office to epo]

Ref country code: LV

Payment date: 20250923

Year of fee payment: 9

PGFP Annual fee paid to national office [announced via postgrant information from national office to epo]

Ref country code: SI

Payment date: 20250930

Year of fee payment: 9

PGFP Annual fee paid to national office [announced via postgrant information from national office to epo]

Ref country code: MK

Payment date: 20250912

Year of fee payment: 9

REG Reference to a national code

Ref country code: AT

Ref legal event code: MK05

Ref document number: 1525620

Country of ref document: AT

Kind code of ref document: T

Effective date: 20221019

REG Reference to a national code

Ref country code: SE

Ref legal event code: NAV

PG25 Lapsed in a contracting state [announced via postgrant information from national office to epo]

Ref country code: AT

Free format text: LAPSE BECAUSE OF FAILURE TO SUBMIT A TRANSLATION OF THE DESCRIPTION OR TO PAY THE FEE WITHIN THE PRESCRIBED TIME-LIMIT

Effective date: 20221019

Ref country code: DK

Free format text: LAPSE BECAUSE OF FAILURE TO SUBMIT A TRANSLATION OF THE DESCRIPTION OR TO PAY THE FEE WITHIN THE PRESCRIBED TIME-LIMIT

Effective date: 20250507

PGFP Annual fee paid to national office [announced via postgrant information from national office to epo]

Ref country code: AL

Payment date: 20251021

Year of fee payment: 9

PGFP Annual fee paid to national office [announced via postgrant information from national office to epo]

Ref country code: CY

Payment date: 20250924

Year of fee payment: 9

PGFP Annual fee paid to national office [announced via postgrant information from national office to epo]

Ref country code: RO

Payment date: 20251001

Year of fee payment: 9

REG Reference to a national code

Ref country code: CH

Ref legal event code: Q17

Free format text: ST27 STATUS EVENT CODE: U-0-0-Q10-Q17 (AS PROVIDED BY THE NATIONAL OFFICE)

Effective date: 20260204

REG Reference to a national code

Ref country code: NL

Ref legal event code: NE

Effective date: 20260205

PG25 Lapsed in a contracting state [announced via postgrant information from national office to epo]

Ref country code: GR

Free format text: LAPSE BECAUSE OF NON-PAYMENT OF DUE FEES

Effective date: 20240831